JP6233430B2 - ダブルルーメンダイレータ - Google Patents

ダブルルーメンダイレータ Download PDF

Info

Publication number
JP6233430B2
JP6233430B2 JP2016031786A JP2016031786A JP6233430B2 JP 6233430 B2 JP6233430 B2 JP 6233430B2 JP 2016031786 A JP2016031786 A JP 2016031786A JP 2016031786 A JP2016031786 A JP 2016031786A JP 6233430 B2 JP6233430 B2 JP 6233430B2
Authority
JP
Japan
Prior art keywords
lumen
blood vessel
dilator
femoral artery
tubular body
Prior art date
Legal status (The legal status is an assumption and is not a legal conclusion. Google has not performed a legal analysis and makes no representation as to the accuracy of the status listed.)
Active
Application number
JP2016031786A
Other languages
English (en)
Other versions
JP2016116926A (ja
Inventor
剛一 佐野
剛一 佐野
宮川 克也
克也 宮川
裕規 平岡
裕規 平岡
Current Assignee (The listed assignees may be inaccurate. Google has not performed a legal analysis and makes no representation or warranty as to the accuracy of the list.)
Nipro Corp
Original Assignee
Nipro Corp
Priority date (The priority date is an assumption and is not a legal conclusion. Google has not performed a legal analysis and makes no representation as to the accuracy of the date listed.)
Filing date
Publication date
Application filed by Nipro Corp filed Critical Nipro Corp
Priority to JP2016031786A priority Critical patent/JP6233430B2/ja
Publication of JP2016116926A publication Critical patent/JP2016116926A/ja
Application granted granted Critical
Publication of JP6233430B2 publication Critical patent/JP6233430B2/ja
Active legal-status Critical Current
Anticipated expiration legal-status Critical

Links

Images

Landscapes

  • Media Introduction/Drainage Providing Device (AREA)

Description

本発明は、血管内にカテーテルを挿入するための刺入口を拡張するのに用いられるダイレータに関する。
従来から、臨床医療の分野では、カテーテルを血管内に挿入して治療や検査などを施すカテーテル治療が知られている。例えば、バルーンカテーテルを血管内の狭窄部にまで挿入し、そこでバルーンを拡張させて狭窄部を押し広げることにより血流の改善を図る治療や、薬液注入カテーテルを用いて薬液等を血管内の病巣部に注入する治療などが行われている
ところで、カテーテル治療を行う際には、例えば特公平3−1026号公報(特許文献1)などに示されているように、内針部と外套管部とからなる留置針と、ガイドワイヤと、シースと、先細りのテーパ部を有するダイレータとを用いて、カテーテルが血管内に挿入される。
ところが、血管には幾つかの分岐部があり、それらの分岐部は様々な形状を有している。そのため、分岐部の形状や分岐角度によっては、ガイドワイヤを被治療部位が存在する側の分岐血管に進入させることが困難となる場合がある。そのような場合には、カテーテルをガイドワイヤに沿って被治療部位にスムーズに到達させることができず、そのために、術者に対して極めて高度な手技が要求されるといった問題が生じていた。
特公平3−1026号公報
本発明は、上述の事情を背景に為されたものであって、その解決課題は、血管の分岐部の形状や分岐角度に拘わらず、分岐部から進入すべき分岐血管内にガイドワイヤを容易に進入させることを可能としたダイレータを提供することにある。
本発明の第1の態様は、遠位側の先端に向かって次第に小径化するテーパ部が設けられており、血管壁に設けられた刺入口から血管に挿入されて該先端が該血管の治療部位近くの血管分岐部にまで挿し入れられる長さとされて、該テーパ部により該刺入口を拡張すると共に、治療用カテーテルの挿入に先立って刺入口から抜去されるダイレータであって、下肢の胴側付根部分の前記刺入口から浅大腿動脈と深大腿動脈との分岐位置にまで前記先端が至る長さを有しており、該刺入口から大腿動脈に挿し入れられて該深大腿動脈に挿し入れられる第1のガイドワイヤが進退可能に挿通される第1のルーメンと、該刺入口から該大腿動脈に挿し入れられて該浅大腿動脈に挿し入れられる第2のガイドワイヤが進退可能に挿通される第2のルーメンとが設けられており、該浅大腿動脈と該深大腿動脈との分岐位置まで至る遠位側の先端部分において、該第1のルーメンが先端面から軸方向に開口されている一方、該第2のルーメンが外周面から側方に傾斜して開口されていると共に、それら第1及び第2のルーメンが何れも近位側の基端面にまで連続したルーメン構造とされており、下肢の胴側付根部分の前記刺入口から前記浅大腿動脈の病変部へガイドワイヤを導き入れるのに用いられるダブルルーメンダイレータを、特徴としている。
本態様のダイレータは、予め血管内に挿入した第1のガイドワイヤに沿って、遠位側のテーパ部で血管を拡径しつつ血管内に押し進めることができる。そして、血管の分岐部において、第1のガイドワイヤが被治療部位の存在する側とは違う側の分岐血管に進入した場合には、遠位側の先端部分において側方に傾斜して開口した第2のルーメンを通じて第2のガイドワイヤを挿し入れて被治療部位が存在する分岐血管内に容易に進入させることができる。
なお、本態様のダイレータは、例えばシースと組み合わせて用いることも可能である。具体的に例示すると、血管壁に設けられた刺入口から血管に挿入されるシースに対して、本態様のダイレータを挿通可能に組み合わせてイントロデューサを構成しても良い。本発明に基づいて実現されるこのようなイントロデューサを用いれば、ダイレータと共に、ダイレータに外挿されたシースを経皮的に血管に刺し入れることが出来る。そして、シースを残してダイレータを抜去することで、血管への挿入状態で残置されたシースを通じて治療用カテーテル等を血管内に導き入れたりすることが可能となって、治療の作業を一層効率的に行うことが出来る。
本発明の第2の態様は、前記第1の態様に記載のダブルルーメンダイレータであって、前記テーパ部の外周面において、斜め前方に向かって開口する側方開口部を有しており、前記第2ルーメンが該側方開口部を通じて外周面に開口しているものである。
本態様のダイレータでは、ダイレータの中心軸に対して傾斜したテーパ部の外周面に第2のルーメンを開口させたことにより、ダイレータの中心軸に対する第2のルーメンの開口部分の傾斜角度が小さい場合でも、第2のルーメンの開口部分を良好に形成することが可能となる。また、上述のシースと組み合わせてイントロデューサとして用いる場合でも、ダイレータのテーパ部を除く略全長に亘って外周面を覆う長さのシースを採用することが可能となる。
本発明の第3の態様は、前記第1又は第2の態様に記載のダブルルーメンダイレータであって、前記第1のルーメンと前記第2のルーメンが形成された管状本体の遠位側の先端部分において前記第1のルーメンが該管状本体の中心軸側に近づくように曲がって該管状本体の先端面の中央部分で開口していることにより、該管状本体の遠位側の先端部分の外周面には先細りの傾斜面が全周に形成されたテーパ部とされているものである。
本発明に従うダイレータを用いれば、血管への刺入口を拡張させてカテーテル等の挿入を容易とする処置をするのと併せて、血管の分岐部において目的とする分岐血管内へ第2のガイドワイヤを容易に進入させることができる。それ故、ダイレータの軸方向に延び出した第1のガイドワイヤが進入し難い分岐血管内に治療部位がある場合でも、ダイレータやカテーテルを抜き差しする等の面倒な作業を必要とすることなく、カテーテルを分岐血管内の治療部位まで案内する第2のガイドワイヤを分岐血管内に速やかに且つ容易に差し入れることが可能となる。
また、本発明に従うダイレータは、シースと組み合わせてイントロデューサを構成することも可能である。このようなイントロデューサでは、上述のダイレータによる作用効果が有効に発揮されることに加えて、シースの内腔を利用することにより、ダイレータの抜去やカテーテル等の挿入及び抜去を、よりスムーズに行うことが可能となる。
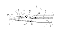
本発明に従う構造を有するダイレータの一実施形態の正面図。 図1に示されたダイレータの遠位端側の縦断面を拡大して示す断面図。 図1に示されたダイレータの使用状態を説明するための縦断面説明図。 本発明に従うダイレータを用いて構成されたイントロデューサの一例を示す正面図。
以下、本発明を更に具体的に明らかにするために、本発明の実施形態について、図面を参照しつつ、詳細に説明する。
先ず、図1には、本発明の一実施形態としてのダブルルーメンのダイレータ10の正面形態が示されている。なお、図1では、血管に挿し入れられる先端部を有する遠位側が図中の左側に示されており、操作部を有する近位側が図中の右側に示されている。
より具体的には、図1,2に示されているように、本実施形態のダイレータ10は、先端部から血管に挿し入れられる管状本体12を備えている。この管状本体12は、全体として血管に挿入可能な細長い略筒状を有しており、弾性的に撓み変形可能な樹脂チューブからなっている。この管状本体12を形成する樹脂材料は、特に限定されるものではないが、人体に無害で耐蝕性を有することや適度な弾性および強度を有すること、加工が容易であること等を考慮して、例えば、ウレタン樹脂やポリオレフィン、フッ素樹脂、ポリアミドなどが採用される。
また、管状本体12の長さや太さは、血管中の治療部位などの条件を考慮して、治療部位近くの血管分岐部にまで管状本体12の遠位部が血管中に挿入されるように、適宜に設定される。例えば末梢血管の治療用の場合には、一般に、その長さが50〜600mm程度とされ、その外径が0.3〜5mm程度とされる。
さらに、管状本体12の近位端には、ダイレータハブ14が設けられている。このダイレータハブ14は、指先で摘んで操作し易いように管状本体12よりも大径で硬質とされている。そして、ダイレータハブ14の軸方向一方(図1中の左方)の端部から管状本体12が延び出している。一方、ダイレータハブ14の軸方向他方(図1中の右方)の端部からは、ポリ塩化ビニル樹脂等の軟質材料からなる細径の第1のチューブ16と第2のチューブ18がそれぞれ延び出している。なお、ダイレータハブ14の軸方向一方の端部には、後述するシース20のシースハブ22に嵌合される嵌合部24が形成されている場合もある(図4参照)。
ダイレータハブ14の軸方向一方の端部から延び出した管状本体12には、その内部をそれぞれ軸方向に延びる第1のルーメン26と第2のルーメン28が形成されている。そして、第1のルーメン26の近位端側の開口部に対して第1のチューブ16が接続されていると共に、第2のルーメン28の近位端側の開口部に対して第2のチューブ18が接続されている。
これにより、第1のチューブ16から第1のルーメン26に対して第1のガイドワイヤ30が挿し入れられるようになっていると共に、第2のチューブ18から第2のルーメン28に対して第2のガイドワイヤ32が挿し入れられるようになっている。なお、第1及び第2のチューブ16,18の近位端側には、ガイドワイヤ挿通用ハブ34,36が、それぞれ取り付けられている。そして、これら第1及び第2のガイドワイヤ30,32は、ガイドワイヤ挿通用ハブ34,36から外方に延び出した近位端側を術者が手指で摘んで押引操作することで、管状本体12の第1及び第2のルーメン26,28に対して進退可能に挿通されている。
また、管状本体12の先端部分は、先端に向かって次第に小径化するテーパ状外周面を有する先細りのテーパ部38とされている。
そして、この管状本体12の遠位側の先端部分において、第1及び第2のルーメン26,28の各遠位側が開口している。特に、第1のルーメン26は、管状本体12の全長に亘って長さ方向(軸方向)に延びており、管状本体12のテーパ部38の先端面に設けられた先端開口部40を通じて開口している。換言すれば、第1のルーメン26の先端開口部40は、管状本体12の軸方向に沿って延びる直線上に開口している。これにより、第1のルーメン26に挿通された第1のガイドワイヤ30の先端部分が、管状本体12の遠位側において、先端開口部40を通じて、テーパ部38の先端面から軸方向外方に向かって真っ直ぐに突出させられるようになっている。
一方、第2のルーメン28は、管状本体12の全長に亘って軸方向に延びているものの、遠位側の先端部近くに屈曲部42が設けられており、この屈曲部42から開口に至るまでの所定長さの部分が、管状本体12の軸方向に対して傾斜して斜め側方に延びている。そして、第2のルーメン28は、管状本体12のテーパ部38の外周面において、斜め前方に向かって開口する側方開口部44を通じて開口している。これにより、第2のルーメン28に挿通された第2のガイドワイヤ32の先端部分が、管状本体12の遠位側において、側方開口部44を通じて、テーパ部38の外周面から斜め軸方向外方に向かって傾斜して突出させられるようになっている。なお、側方開口部44は、必ずしもテーパ部38の外周面に設ける必要はなく、管状本体12の直線部分(略一定の外径寸法で延びる部分)の外周面において、斜め前方に向かって開口して設けられていても良い。
特に、第2のルーメン28では、屈曲部42から側方開口部44に至る部分の内周面が、管状本体12の中心軸:Pと所定の角度(β)をなして斜めに延びる案内面45とされている。これにより、第2のルーメン28内に挿通された第2のガイドワイヤ32の先端部分が、案内面45に設定された傾斜角度(β)と略等しい傾斜角度をもって、側方開口部44から斜め外方に突出されるようになっている。なお、第2のルーメン28において屈曲部42から側方開口部44に至る部分の形状は、第2のガイドワイヤ28の突出方向を斜め前方に案内し得るものであれば良く、図示の如き傾斜角度が連続的に変化する湾曲形状の他、一定の傾斜角度を有する直線傾斜形状や、傾斜角度が段階的に変化する屈曲傾斜形状など、各種の態様が採用可能である。
なお、案内面45と管状本体12の中心軸:Pとのなす傾斜角:βの大きさは、特に限定されるものではないが、好適には5〜45°の範囲内の値とされる。傾斜角:βが5°よりも小さいと、第2のガイドワイヤ28の突出方向を分岐血管に向けて充分な傾斜角度で突出させることが難しくなる一方、傾斜角:βが45°よりも大きいと、屈曲部42における第2のガイドワイヤ28の挿通抵抗が大きくなり過ぎるおそれがある。
次に、末梢血管の分岐血管内に発生した被治療部位に対するカテーテル治療を行う際のダイレータ10の使用方法について説明する。なお、以下の方法は、あくまでも一例であり、本実施形態のダイレータ10の使用方法、具体的にはダイレータ10を利用して血管を拡張させると共に第2のガイドワイヤ32を所望の分岐血管内に挿入する方法は、以下に説明する方法に限定されるものではない。
先ず、ダイレータ10の遠位端を末梢血管などの血管内に挿入するが、これは、従来より公知の手法によって実施される。例えば、先ず、内針部と外套管部とからなる留置針を経皮的に血管に穿刺して、刺入口を形成する。次いで、留置針の内針部を外套管部から抜去した後、留置された外套管部を通じて、第1のガイドワイヤ30を血管内に挿入する。その後、第1のガイドワイヤ30を残したままで、外套管部を抜去する。その後、ダイレータ10の管状本体12と第1のチューブ16とを第1のガイドワイヤ30に外挿して、管状本体12の遠位端を、血管壁に形成された刺入口を通じて、血管内に刺し入れるように挿入する。このとき、留置針の穿刺によって皮下組織や血管壁に形成された刺入口を、ダイレータ10のテーパ部38で押し広げるように拡張する。
次に、図3に示されるように、ダイレータ10の管状本体12を、第1のガイドワイヤ30に沿って血管46内に押し込んで、更に押し進める。
このとき、血管46内に予め挿入された第1のガイドワイヤ30が、血管46の分岐部48において、被治療部位50が存在する第1分岐血管52とは異なる第2分岐血管54内に挿入されていると、管状本体12は、第1のガイドワイヤ30に追従して、第2分岐血管54内に押し込まれる。即ち、本来、挿入されるべき第1分岐血管52とは別の第2分岐血管54内に挿入されることとなる。
その場合には、図3に示されるように、管状本体12を、血管46内において、テーパ部38と側方開口部44とが分岐部48に配置される位置に止める。
その後、第2のチューブ18の近位端に取り付けられるガイドワイヤ挿入用ハブ36から、第2のガイドワイヤ32を、第2のチューブ18を経て第2のルーメン28に挿し入れる。そして、第2のガイドワイヤ32を第2のルーメン28内で前進させることにより、第2のガイドワイヤ32の遠位側の先端を、案内面45で案内させつつ、側方開口部44から側方に突出させる。これにより、第2のガイドワイヤ32の遠位端を第1分岐血管52内に進入させる。
なお、管状本体12の中心軸回りで、第2のルーメン28の側方開口部44の開口方向が第1分岐血管52の位置と異なっている場合には、管状本体12を周方向に回転させることにより、第2のガイドワイヤ32を第1分岐血管52に挿し入れることができる。
また、血管46の分岐部48の形状が、被治療部位50の存在する第1分岐血管52内に第1のガイドワイヤ30を挿入させることが困難な形状となっているために、第1のガイドワイヤ30が、第1分岐血管52とは別の第2分岐血管54内に挿入されてしまっていても、管状本体12の遠位端に設けられた側方開口部44を通じて、第1のガイドワイヤ30とは別の第2のガイドワイヤ32を、第1分岐血管52内に容易に且つ確実に進入させることができる。
従って、このような本実施形態のダイレータ10を用いれば、被治療部位50が分岐部48で分かれた一方の分岐血管(第1分岐血管52)内に存在している場合に、分岐部48の形状に拘わらず、被治療部位50の治療用のカテーテルを、第2のガイドワイヤ32に沿って、被治療部位50にまで極めてスムーズに且つ速やかに到達させることができる。そして、それによって、血管46内での被治療部位50の存在個所に制限されることなく、被治療部位50のカテーテル治療のための手技が飛躍的に簡素化されると共に、そのような手技に要する時間の短縮化が実現されるのである。
より具体的には、例えば、下肢の末端領域において、浅大腿動脈(第1分岐血管52)に被治療部位50が存在している場合に、ガイドワイヤは深大腿動脈(第2分岐血管54)に入りやすく、浅大腿動脈(第1分岐血管52)には入りにくい。その際、本発明に従うダイレータ10によれば、浅大腿動脈(第1分岐血管52)に第2のガイドワイヤ32を極めてスムーズに且つ速やかに到達させることができるのである。
また、管状本体12の先端部分に、X線透視等で造影可能な造影マーカーを装着することも可能である。特に、第2のルーメン28における側方開口部44の位置に造影マーカーを設けることにより、第2のガイドワイヤ32の突出方向を予見可能とすることもできる。具体的には、例えば、ダブルルーメンチューブを用いて、その一方のルーメンの先端部にX線不透過材料を充填して閉鎖させた後、ダブルルーメンチューブの先端部分をテーパ形状に加工することにより、X線不透過材料からなる造影マーカーを第2のルーメン28の先端部分(側方開口部44に近い位置)にだけ設けることが可能となる。なお、第2のルーメン28の側方開口部44は、X線不透過材料で閉鎖された第2のルーメンの先端部分に対してポンチ加工や切削加工等を施すことによって、案内面45をもって形成することができる。
次に、図4には、本発明に従う構造を有するイントロデューサの一実施形態が示されている。図4から明らかなように、本実施形態のイントロデューサ56は、ダイレータ10と、ダイレータ10が挿通されるシース20とを有している。なお、このイントロデューサ56が有するダイレータ10は、先に詳述した本発明に従う構造を有する前記実施形態のダイレータ10と同じ構造とされていることから、重複した説明を割愛する。
より具体的には、イントロデューサ56のシース20は、血管46内に挿入可能な円筒形状のシースチューブ57と、このシースチューブ57の近位端に固定されたシースハブ22とを有している。シースチューブ57は、ダイレータ10の管状本体12よりも短く、シースチューブ57に挿通された管状本体12の先端側のテーパ部38が、シースチューブ57から軸方向に突出している。これにより、管状本体12に対するシースチューブ57の外挿状態下でも、ダイレータ10の先端開口部40および側方開口部44が、何れもシースチューブ57で覆われることなく開口するようになっている。
また、シースチューブ57の近位側の端部に設けられたシースハブ22は、手指で摘み易いように硬質材で形成されており、管状本体12が挿通可能な内腔を有していると共に、シースハブ22の軸方向中間部には、内腔を外部に連通するサイドポート58が側方に突出して設けられている。このサイドポート58にはチューブ60が接続されており、チューブ60の外方先端部には、三方活栓62が取り付けられている。
そして、シースチューブ57がダイレータ10の管状本体12に外挿された状態で、シースハブ22の近位側の端部に対してダイレータハブ14の嵌合部24が嵌め合わされることにより、ダイレータ10とシース20とが相互に組み付けられたイントロデューサ56とされている。
このような構造とされたイントロデューサ56を用いれば、例えば前記実施形態におけるダイレータ10と同様に用いることで、図3に示されている血管46の分岐部48の近くにシースチューブ57の遠位側の開口部を位置させることができる。それ故、シースチューブ57を血管内に残置したままで、ダイレータ10を血管から抜去することにより、残置されたシースチューブ17を利用して、その後のカテーテル等の血管46内への挿入の操作などを一層容易に行うことが可能となる。
以上、本発明の実施形態について詳述したが、本発明はその具体的な記載によって限定されない。例えば、ダイレータ10の管状本体12に対するテーパ部38の外周面は、軸方向で一定の傾斜角度である必要はなく、傾斜角度が軸方向で変化する湾曲凸形や湾曲凹形の外周面を有するテーパ部なども採用可能である。
また、側方開口部44も、ダイレータ10の管状本体12の遠位側の先端部分に設けられておれば良く、その形成位置が、必ずしも、例示されたテーパ部38の外周面である必要はない。例えば、テーパ部38の軸方向長さや側方開口部44の傾斜角度等によっては、テーパ部38の先端面やテーパ部38にまで至らない円筒外周面に開口して、側方開口部44を形成することも可能である。
さらに、前記実施形態では、ダイレータ10の管状本体12の全体が、同一の樹脂材料を用いて一体形成されていた。しかしながら、テーパ部38が設けられる遠位側の先端部分を、その他の部分よりも柔軟性に富んだ別の材料にて構成する等しても良い。それによって、管状本体12を血管46内に押し進める際の血管46の損傷がより効果的に防止され得る。
さらに、側方開口部44に設けられる案内面45は、必ずしも直線的に延びている必要はなく湾曲して延びていても良い。
加えて、本発明は、末梢血管用のダイレータやイントロデューサ以外にも、例えば心血管などの末梢血管以外の血管用のダイレータやイントロデューサとしても同様に適用可能であり、その他にも用途限定されるものでない。
本発明はもともと以下に記載の発明を含むものであり、その構成および作用効果等に関して、付記しておく。
本発明の第1の態様は、遠位側の先端に向かって次第に小径化するテーパ部が設けられており、血管壁に設けられた刺入口から血管に挿入されて該先端が該血管の治療部位近くの血管分岐部にまで挿し入れられる長さとされて、該テーパ部により該刺入口を拡張すると共に、治療用カテーテルの挿入に先立って刺入口から抜去されるダイレータであって、第1のガイドワイヤが進退可能に挿通される第1のルーメンと、第2のガイドワイヤが進退可能に挿通される第2のルーメンとを設け、遠位側の先端部分において、該第1のルーメンを先端面から軸方向に開口させる一方、該第2のルーメンを外周面から側方に傾斜して開口させると共に、それら第1及び第2のルーメンが何れも近位側の基端面にまで連続したルーメン構造とされているダブルルーメンのダイレータを、特徴としている。
本態様のダイレータは、予め血管内に挿入した第1のガイドワイヤに沿って、遠位側のテーパ部で血管を拡径しつつ血管内に押し進めることができる。そして、血管の分岐部において、第1のガイドワイヤが被治療部位の存在する側とは違う側の分岐血管に進入した場合には、遠位側の先端部分において側方に傾斜して開口した第2のルーメンを通じて第2のガイドワイヤを挿し入れて被治療部位が存在する分岐血管内に容易に進入させることができる。
なお、本態様のダイレータは、例えばシースと組み合わせて用いることも可能である。具体的に例示すると、血管壁に設けられた刺入口から血管に挿入されるシースに対して、本態様のダイレータを挿通可能に組み合わせてイントロデューサを構成しても良い。本発明に基づいて実現されるこのようなイントロデューサを用いれば、ダイレータと共に、ダイレータに外挿されたシースを経皮的に血管に刺し入れることが出来る。そして、シースを残してダイレータを抜去することで、血管への挿入状態で残置されたシースを通じて治療用カテーテル等を血管内に導き入れたりすることが可能となって、治療の作業を一層効率的に行うことが出来る。
本発明の第2の態様は、前記第1の態様に記載のダイレーターであって、前記テーパ部の外周面において、斜め前方に向かって開口する側方開口部を有しており、前記第2ルーメンが該側方開口部を通じて外周面に開口しているものである。
本態様のダイレータでは、ダイレータの中心軸に対して傾斜したテーパ部の外周面に第2のルーメンを開口させたことにより、ダイレータの中心軸に対する第2のルーメンの開口部分の傾斜角度が小さい場合でも、第2のルーメンの開口部分を良好に形成することが可能となる。また、上述のシースと組み合わせてイントロデューサとして用いる場合でも、ダイレータのテーパ部を除く略全長に亘って外周面を覆う長さのシースを採用することが可能となる。
10:ダイレータ、20:シース、26:第1のルーメン、28:第2のルーメン、30:第1のガイドワイヤ、32:第2のガイドワイヤ、38:テーパ部、45:案内面、46:血管、56:イントロデューサ

Claims (3)

  1. 遠位側の先端に向かって次第に小径化するテーパ部が設けられており、血管壁に設けられた刺入口から血管に挿入されて該先端が該血管の治療部位近くの血管分岐部にまで挿し入れられる長さとされて、該テーパ部により該刺入口を拡張すると共に、治療用カテーテルの挿入に先立って刺入口から抜去されるダイレータであって、
    下肢の胴側付根部分の前記刺入口から浅大腿動脈と深大腿動脈との分岐位置にまで前記先端が至る長さを有しており、該刺入口から大腿動脈に挿し入れられて該深大腿動脈に挿し入れられる第1のガイドワイヤが進退可能に挿通される第1のルーメンと、該刺入口から該大腿動脈に挿し入れられて該浅大腿動脈に挿し入れられる第2のガイドワイヤが進退可能に挿通される第2のルーメンとが設けられており、該浅大腿動脈と該深大腿動脈との分岐位置まで至る遠位側の先端部分において、該第1のルーメンが先端面から軸方向に開口されている一方、該第2のルーメンが外周面から側方に傾斜して開口されていると共に、それら第1及び第2のルーメンが何れも近位側の基端面にまで連続したルーメン構造とされており、下肢の胴側付根部分の前記刺入口から前記浅大腿動脈の病変部へガイドワイヤを導き入れるのに用いられることを特徴とするダブルルーメンダイレータ。
  2. 前記テーパ部の外周面において、斜め前方に向かって開口する側方開口部を有しており、前記第2ルーメンが該側方開口部を通じて外周面に開口している請求項1に記載のダブルルーメンダイレータ。
  3. 前記第1のルーメンと前記第2のルーメンが形成された管状本体の遠位側の先端部分において前記第1のルーメンが該管状本体の中心軸側に近づくように曲がって該管状本体の先端面の中央部分で開口していることにより、該管状本体の遠位側の先端部分の外周面には先細りの傾斜面が全周に形成されたテーパ部とされている請求項1又は2に記載のダブルルーメンダイレータ。
JP2016031786A 2016-02-23 2016-02-23 ダブルルーメンダイレータ Active JP6233430B2 (ja)

Priority Applications (1)

Application Number Priority Date Filing Date Title
JP2016031786A JP6233430B2 (ja) 2016-02-23 2016-02-23 ダブルルーメンダイレータ

Applications Claiming Priority (1)

Application Number Priority Date Filing Date Title
JP2016031786A JP6233430B2 (ja) 2016-02-23 2016-02-23 ダブルルーメンダイレータ

Related Parent Applications (1)

Application Number Title Priority Date Filing Date
JP2011102697A Division JP5936093B2 (ja) 2011-05-02 2011-05-02 ダブルルーメンダイレータ

Publications (2)

Publication Number Publication Date
JP2016116926A JP2016116926A (ja) 2016-06-30
JP6233430B2 true JP6233430B2 (ja) 2017-11-22

Family

ID=56243397

Family Applications (1)

Application Number Title Priority Date Filing Date
JP2016031786A Active JP6233430B2 (ja) 2016-02-23 2016-02-23 ダブルルーメンダイレータ

Country Status (1)

Country Link
JP (1) JP6233430B2 (ja)

Families Citing this family (2)

* Cited by examiner, † Cited by third party
Publication number Priority date Publication date Assignee Title
KR102029221B1 (ko) * 2017-08-08 2019-10-07 순천향대학교 산학협력단 뇌혈관 질환 시술용 y-카테터
CN116407725B (zh) * 2021-12-30 2026-02-03 先健科技(深圳)有限公司 双向可调弯鞘管及介入器械

Family Cites Families (4)

* Cited by examiner, † Cited by third party
Publication number Priority date Publication date Assignee Title
WO2001045785A2 (en) * 1999-12-15 2001-06-28 Advanced Cardiovascular Systems, Inc. Catheter assembly and method of use
JP2003102745A (ja) * 2001-09-28 2003-04-08 Kitazato Supply:Co Ltd 医療用レーザ照射用部材挿入用穿刺針、医療用レーザ照射用部材挿入用カテーテルおよび医療用レーザ発生装置
WO2006126642A1 (ja) * 2005-05-26 2006-11-30 Kaneka Corporation カテーテル
JP2009082566A (ja) * 2007-10-01 2009-04-23 Kaneka Corp カテーテル

Also Published As

Publication number Publication date
JP2016116926A (ja) 2016-06-30

Similar Documents

Publication Publication Date Title
US20230241355A1 (en) Guide for intravascular device
US9662477B2 (en) Microaccess kit comprising a tapered needle
JP6882275B2 (ja) シースレスガイドカテーテルアセンブリ
EP2133115B1 (en) Guide sheath dilator
US20170028170A1 (en) Guide catheter extension device and methods of use for cardiology procedures
EP3169256B1 (en) Eus guided access device
AU2018278905B2 (en) Method for aspiration of bile
JP2023178362A (ja) 閉塞具、シース、およびその使用方法
EP3662852A1 (en) Vascular access devices
US11576660B2 (en) Accessory device for EUS-FNA needle for guidewire passage
WO2015146408A1 (ja) カテーテル組立体および内カテーテル
US20150265310A1 (en) Vascular introducer including expandable passage member
JP2018050722A (ja) カテーテルおよびその使用方法
JP5936093B2 (ja) ダブルルーメンダイレータ
JP6914651B2 (ja) バルーンカテーテル及びそれを用いた処置方法
JP6233430B2 (ja) ダブルルーメンダイレータ
US20220080163A1 (en) Balloon catheter
JP2018050723A (ja) サポートカテーテルおよびその使用方法
CN111840752A (zh) 血管进入系统
JPWO2015141392A1 (ja) カテーテル及びカテーテルセット
JP2016185277A (ja) イントロデューサーシースおよびイントロデューサー組立体
KR20180128455A (ko) 무외장 카테터 삽입용 신속 교환 확장기
WO2024157627A1 (ja) 静脈血栓治療用カテーテル

Legal Events

Date Code Title Description
A977 Report on retrieval

Free format text: JAPANESE INTERMEDIATE CODE: A971007

Effective date: 20170118

A131 Notification of reasons for refusal

Free format text: JAPANESE INTERMEDIATE CODE: A131

Effective date: 20170216

TRDD Decision of grant or rejection written
A01 Written decision to grant a patent or to grant a registration (utility model)

Free format text: JAPANESE INTERMEDIATE CODE: A01

Effective date: 20170926

A61 First payment of annual fees (during grant procedure)

Free format text: JAPANESE INTERMEDIATE CODE: A61

Effective date: 20171009

R150 Certificate of patent or registration of utility model

Ref document number: 6233430

Country of ref document: JP

Free format text: JAPANESE INTERMEDIATE CODE: R150

R250 Receipt of annual fees

Free format text: JAPANESE INTERMEDIATE CODE: R250

R250 Receipt of annual fees

Free format text: JAPANESE INTERMEDIATE CODE: R250