JP6229582B2 - 情報処理装置,文字入力プログラム及び文字入力方法 - Google Patents
情報処理装置,文字入力プログラム及び文字入力方法 Download PDFInfo
- Publication number
- JP6229582B2 JP6229582B2 JP2014087203A JP2014087203A JP6229582B2 JP 6229582 B2 JP6229582 B2 JP 6229582B2 JP 2014087203 A JP2014087203 A JP 2014087203A JP 2014087203 A JP2014087203 A JP 2014087203A JP 6229582 B2 JP6229582 B2 JP 6229582B2
- Authority
- JP
- Japan
- Prior art keywords
- input
- character
- representative character
- unit
- representative
- Prior art date
- Legal status (The legal status is an assumption and is not a legal conclusion. Google has not performed a legal analysis and makes no representation as to the accuracy of the status listed.)
- Expired - Fee Related
Links
Images
Landscapes
- Input From Keyboards Or The Like (AREA)
- User Interface Of Digital Computer (AREA)
Description
図18は、従来例としての情報処理装置における文字入力画面を例示する図である。
情報処理装置7は、スマートフォンやタブレットPersonal Computer(PC)であり、入力装置と組み合わされてタッチパネルとして機能するディスプレイ80を備える。
入力文字表示画面83は、ユーザによって入力された文字が表示される。
文字入力画面81は、フリック入力方式のソフトウェアキーボードが表示され、「あ」段の文字に対応する10個の文字入力キー(主キー)を含む。具体的には、文字入力画面81は、「あ」段の文字である「あ」,「か」,「さ」,「た」,「な」,「は」,「ま」,「や」,「ら」及び「わ」に対応する主キーを含む。
フリック入力においては、ユーザの指がタッチした主キーと、タッチした状態で指がスライド(フリック)した方向との組み合わせにより、入力が認識される。
また、近年ではユーザが指をディスプレイに触れずに近づけただけでも反応するチューニング(ホバー入力)機能を有するフリック入力方式も知られている。チューニング機能を有するフリック入力方式においては、ユーザが意図しない文字が入力として認識される可能性が増加する。
なお、前記目的に限らず、後述する発明を実施するための形態に示す各構成により導かれる作用効果であって、従来の技術によっては得られない作用効果を奏することも本発明の他の目的の1つとして位置付けることができる。
また、各図は、図中に示す構成要素のみを備えるという趣旨ではなく、他の機能等を含むことができる。
〔A〕実施形態の一例
〔A−1〕システム構成
図1は実施形態の一例としての情報処理装置の機能構成を模式的に示す図であり、図2は実施形態の一例としての情報処理装置における画面表示を例示する図である。
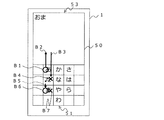
図2に示す例において、ディスプレイ50には文字入力画面51及び入力文字表示画面53が表示される。
文字入力画面51は、フリック入力方式のソフトウェアキーボードが表示され、「あ」段の文字(代表文字)に対応する10個の文字入力キー(主キー,代表文字ボタン)を含む。具体的には、文字入力画面51は、「あ」段の文字である「あ」,「か」,「さ」,「た」,「な」,「は」,「ま」,「や」,「ら」及び「わ」に対応する主キーを含む。
以下、各図において、ディスプレイ50上に示す「○(太丸)」はユーザの指がディスプレイ50をタッチ(選択)していることを示し、「×」はタッチされているユーザの指がディスプレイ50から離されて確定入力されたことを示す。また、以下、各図において、ディスプレイ50上に示す「太実線矢印」はユーザの指がディスプレイ50にタッチされている状態で矢印の示す方向にフリック(スライド,移動)されていることを示し、「太破線矢印」はユーザの指がディスプレイ50から離れている状態で矢印の示す方向に移動されていることを示す。
ユーザの指が「あ」に対応する文字に対応する主キーをタッチすると(図3(a)の符号A1参照)、ディスプレイ50に入力ガイド画面52が表示される。
入力ガイド画面52は、ユーザの指によって主キーがタッチされると表示され、タッチされた主キーに対応する文字の行に属する5文字(1文字の代表文字及び4文字の関連文字)が表示される。図3(a)においては、「あ」に対応する主キーがタッチされているため、入力ガイド画面52には「あ」行に属する「あ」,「い」,「う」,「え」及び「お」が表示されている。なお、図3(a)においては説明のため入力ガイド画面52を入力文字表示画面52上に表示しているが、これに限定されるものではない。例えば、入力ガイド画面52を文字入力画面51上に表示しても良く、この場合には入力ガイド画面52の中心に表示される文字と文字入力画面51の対応する主キーとを重ねることが望ましい。また、入力ガイド画面52を表示しなくても良い。
ユーザの指がディスプレイ50にタッチされた状態で図面上方向にフリックされると(図3(b)の符号A2,A3参照)、入力ガイド画面52において確定入力されようとしている文字として「う」が示される。
次に、ユーザの指がディスプレイ50から離れた状態で図3(c)の符号A4で示した位置から移動される(図3(d)の符号A5参照)。そして、ユーザの指が「ま」に対応する主キーをタッチすると(図3(d)の符号A6参照)、入力ガイド画面52が表示される。
このように、フリック入力においては、ユーザの指がタッチした主キーと、タッチした状態で指がフリックした方向との組み合わせにより、入力が認識される。
図4は実施形態の一例としての情報処理装置における誤入力例を説明する図であり、図5(a)〜(f)はその誤入力例を詳細に説明する図である。
ユーザの指がディスプレイ50の「あ」に対応する主キーをタッチすると(図4及び図5(a)の符号B1参照)、図5(a)に示すように「あ」が確定入力されようとしている状態で入力ガイド画面52が表示される。
ここで、「う」を入力するためには、ユーザは図4及び図5(b)の符号B2で示す位置で指を離さなければならない。
そして、ユーザは「た」に対応する主キー上で指を離すと(図4及び図5(d)の符号B4参照)、図5(d)に示すように入力文字表示画面53に「お」が表示され、「お」が確定入力される。
そして、図4及び図5(e)の符号B6で示した位置でユーザの指がディスプレイ50から離されると(図4及び図5(f)の符号B7参照)、図4及び図5(f)に示すように入力文字表示画面53に「ま」が表示され、「ま」が確定入力される。
そこで、図1に示すように、本実施形態の一例における情報処理装置1は、Central Processing Unit(CPU)10,メモリ20,記憶装置30,媒体読み書き装置40,ディスプレイ50及び入力装置60を備える。
媒体読み書き装置40は、記録媒体RMが装着可能に構成される。媒体読み書き装置40は、記録媒体RMが装着された状態において、記録媒体RMに記録されている情報を読み取り可能に構成される。本例では、記録媒体RMは可搬性を有する。記録媒体RMは、コンピュータ読取可能な記録媒体であって、例えば半導体メモリである。なお、記録媒体RMは、フレキシブルディスク,CD(CD−ROM,CD−R,CD−RW等),DVD(DVD−ROM,DVD−RAM,DVD−R,DVD+R,DVD−RW,DVD+RW,HD DVD等),ブルーレイディスク,磁気ディスク,光ディスク又は光磁気ディスク等であっても良い。
入力装置60は、ユーザが各種の入力操作を行なうためのインタフェースであり、例えば抵抗膜方式や静電容量方式の接触センサである。
本実施形態の一例においては、ディスプレイ50及び入力装置60が協働することにより、タッチパネルとして機能する。
なお、これらの認識部11,第1方向決定部12,決定部13,第2方向決定部14,補助部15及び格納処理部16としての機能を実現するためのプログラム(文字入力プログラム)は、例えば前述した記録媒体RMに記録された形態で提供される。そして、コンピュータは媒体読み書き装置40を介してその記録媒体RMからプログラムを読み取って内部記憶装置または外部記憶装置に転送し格納して用いる。又、そのプログラムを、例えば磁気ディスク,光ディスク,光磁気ディスク等の記憶装置(記録媒体)に記録しておき、その記憶装置から通信経路を介してコンピュータに提供してもよい。
第1認識部11aは、連続する2つのタッチ入力操作のうち、ユーザによって1番目にタッチされた主キーを認識する。言い換えれば、第1認識部11aは、代表文字に対応する複数の代表文字ボタンのうち、選択された第1代表文字ボタンを認識する。
第2認識部11bは、連続する2つのタッチ入力操作のうち、ユーザによって2番目にタッチされた主キーを認識する。言い換えれば、第2認識部11bは、後述するように決定部13によって入力文字が決定された後に、複数の代表文字ボタンのうち、選択された第2代表文字ボタンを認識する。
第1方向決定部12は、1番目にタッチされた主キーについて、ユーザの指がフリックされた方向(フリック方向)を決定する。言い換えれば、第1方向決定部12は、第1代表文字ボタンの位置と選択の確定入力がされた(ユーザの指がディスプレイ50から離された)位置とによって特定される第1方向を決定する。
図6においては、図4及び図5(a)〜(f)を用いて説明した誤入力例に基づいて、誤入力判断処理を説明する。図6に示す符号C1は図4及び図5(c)に示した符号B3に対応し、図6に示す符号C2は図4及び図5(e)に示した符号B5に対応する。
決定部13は、入力されたフリック方向に基づき、タッチされた主キーに対応する文字の行に属する複数の文字の中から、入力文字を決定する。言い換えれば、決定部13は、第1方向に基づき、第1代表文字ボタンに対応する代表文字及び第1代表文字ボタンに対応する代表文字に関連する複数の関連文字の中から、入力文字を決定する。
第2方向決定部14は、1番目にタッチされた主キーの位置と2番目にタッチされた主キーの位置とによって特定される移動方向を算出(決定)する。言い換えれば、第2方向決定部14は、第1代表文字ボタンの位置と第2代表文字ボタンの位置とによって特定される第2方向を決定する。
図6に示す例において、第2方向決定部14は、「あ」に対応する主キーの位置から「ま」に対応する主キーの位置までの移動方向(図面下方向)を算出する(符号C2参照)。
具体的には、補助部15は、フリック方向と移動方向とのなす角の大きさが閾値(例えば50度)未満の場合に、入力補助処理を行なう。つまり、補助部15は、なす角が閾値未満の場合に、ユーザが意図しない位置で指をディスプレイ50から離したことにより、誤った文字が入力された可能性があると判定する。
図1に示すように、補助部15は、入力補助処理を実現するために、提示部15a及び修正部15bとして機能する。
具体的には、提示部15aは、認識された主キーに対して第1方向決定部12により決定されたフリック方向に対向する方向(反対方向)にフリックすることによって入力される文字を、入力文字の修正候補として提示する。言い換えれば、提示部15aは、第1方向に対向する方向に基づき、第1代表文字ボタンに対応する代表文字に関連する複数の関連文字の中から、入力文字の修正候補を選択して提示する。
なお、提示部15aは、後述する格納処理部16が記録する修正履歴情報に基づき、算出されたフリック方向に対向する方向にフリックすることによって入力される文字又は1番目に入力された文字の主キーに対応する文字以外の文字を、修正候補として提示しても良い。
図7においては、図4及び図5(a)〜(f)を用いて説明した誤入力例に基づいて、誤入力判断処理を説明する。
図7に示すように、提示部15aは、決定部13によって入力文字として決定された「おま」という単語に加えて、「うま」及び「あま」という単語を修正候補として、入力文字表示画面53に表示する。具体的には、提示部15aは、入力文字として決定された「おま」の1文字目の「お」のフリック方向(図5(c)の図面下方向)に対向する方向にフリックすることによって入力される文字「う」を含む単語を、修正候補として提示する。また、提示部15aは、入力文字として決定された「おま」の1文字目の「お」が属する主キーに対応する文字「あ」を含む単語を、修正候補として提示する。
提示部15aは、決定部13によって入力文字として決定された「ほおわ」という単語に加えて、「ほうわ」及び「ほあわ」という単語を修正候補として、入力文字表示画面53に表示する。
提示部15aは、入力文字として決定された「ほおわ」の2文字目の「お」のフリック方向に対向する方向にフリックすることによって入力される文字「う」を含む単語を、修正候補として提示する。また、提示部15aは、入力文字として決定された「ほおわ」の2文字目の「お」が属する主キーに対応する文字「あ」を含む単語を、修正候補として提示する。
修正部15bは、決定部が決定した入力文字を自動的に修正する。
具体的には、修正部15bは、算出されたフリック方向に対向する方向にフリックすることによって入力される文字によって、入力文字を修正する。また、修正部15bは、1番目に入力された文字の主キーに対応する文字によって、入力文字を修正する。なお、修正部15bは、後述する格納処理部16が記録する修正履歴情報に基づき、算出されたフリック方向に対向する方向にフリックすることによって入力される文字又は1番目に入力された文字の主キーに対応する文字以外の文字によって、入力文字を修正しても良い。
図9(a),(b)においても、上述した図8と同様に、ユーザが「ほうわ(飽和)」と入力しようとしたが、誤って「ほおわ」と入力されてしまった例について説明する。
図9(a),(b)に示すように、修正部15bは、決定部13によって入力文字として決定された「ほおわ」という単語を自動的に修正して、入力文字表示画面53に表示する。
例えば、誤認識率が閾値以上である場合には修正部15bは入力文字の自動修正を行ない、誤認識率が閾値未満の場合には修正部15bは入力文字の自動修正を行なわずに提示部15aによる修正候補の提示のみを行なう。また、ユーザの設定は、例えば「強」又は「弱」を設定することができる。ユーザの設定が「強」の場合には修正部15bは入力文字の自動修正を行ない、ユーザの設定が「弱」の場合には修正部15bは入力文字の自動修正を行なわずに提示部15aによる修正候補の提示のみを行なう。
格納処理部16は、連続した2つの文字入力操作に基づき、修正履歴情報を作成して、記憶装置30又は記録媒体RMに格納する。具体的には、格納処理部16は、一連の文字入力操作の後にユーザによる修正操作があった場合には、誤入力が発生したと認識する。そして、格納処理部16は、1番目の入力文字と2番目に選択された主キーに対応する文字とユーザによる修正操作の内容とを対応付けて、修正履歴情報として記憶装置30又は記録媒体RMに格納する。
ここで、格納処理部16による修正履歴情報の格納処理に用いる格納変数について説明する。
格納処理部16は、以下の格納変数を含む修正履歴情報R(key(i),key(j))を記憶装置30又は記録媒体RMに格納する。
cは誤認識判定回数であり、補助部15によって誤認識の可能性があると判定された場合に格納処理部16はcを+1インクリメントする。
sは修正操作回数であり、ユーザによって入力文字の修正操作が行なわれた場合に格納処理部16はsを+1インクリメントする。ここで、修正操作とは、例えば、ユーザが提示部15aによって提示された修正候補の中から意図する入力文字を選択することや、ユーザが修正部15bによって自動修正された入力文字を容認すること、ユーザが入力文字を削除して再入力することである。
つまり、格納処理部16は、誤認識判定回数cと修正操作回数sとを記憶装置30又は記録媒体RMに逐次格納する。そして、格納処理部16は、誤認識判定回数cと修正操作回数sとに基づき、誤認識率wを算出し、記憶装置30又は記録媒体RMに逐次格納する。
本実施形態の一例における情報処理装置1は、図示しないネットワークインタフェースを介して、作成した修正履歴情報を同一又は類似の入力インタフェースを備える他の情報処理装置1と共有しても良い。これにより、同一のユーザが複数の情報処理装置1を使用する場合に、複数の情報処理装置1で同様の入力補助処理を実現することができる。なお、修正履歴情報を他の情報処理装置1と共有する場合には、情報処理装置1毎に補正量を修正することができる。
図10に示す例においては、ディスプレイ50の短手方向(図面右方向)にx軸を定義し、ディスプレイ50の長手方向(図面上方向)にy軸を定義する。
図11(a)は実施形態の一例としての情報処理装置におけるx軸方向の主キーインデックスと座標との関係を例示するテーブルであり、図11(b)はそのy軸方向の主キーインデックスと座標との関係を例示するテーブルである。
key(i)=(Xi,Yi,Fi)
で表わす。
Key_m(i)=(mxi,myi)
で表わす。
図11(a)に示すように、主キーのx軸方向のインデックスとしてXi=1,2,3を定義する。そして、Xi=1,2,3に対して、x軸方向の座標mxi=240,360,480(単位は例えばピクセル)をそれぞれ対応づける。
図11(b)に示すように、主キーのy軸方向のインデックスとしてYi=1,2,3,4を定義する。そして、Yi=1,2,3,4に対して、y軸方向の座標myi=50,150,250,350(単位は例えばピクセル)をそれぞれ対応づける。
図12は、実施形態の一例としての情報処理装置における主キーインデックスと座標との関係を例示するテーブルである。
認識部11は、ユーザによるタッチ入力があった座標Key_m(i)を認識し、図12に示すテーブルを参照することによって、主キーインデックス(Xi,Yi)を認識する。
図13は、実施形態の一例としての情報処理装置におけるフリックインデックスとフリックベクトルとの関係を例示する図である。
Key_f(i)=(fxi,fyi)
で表わす。
図13に示すように、フリックインデックスFi=1,2,3,4,5を定義する。そして、Fi=1に対して、主キーをタッチしてフリックされずにディスプレイ50からユーザの指が離れたことを示すフリックベクトルKey_f(i)=(0,0)を対応付ける。また、Fi=2,3,4,5に対して、主キーをタッチしてから左,上,右及び下方向にユーザの指がフリックされたことを示すフリックベクトルKey_f(i)=(−1,0),(0,1),(1,0),(0,−1)をそれぞれ対応付ける。
図10に示した座標平面上においては、主キー「あ」がタッチされている状態の入力ガイド画面52が表示されている。そのため、文字「あ」はFi=1,Key_f(i)=(0,0)であり、文字「い」はFi=2,Key_f(i)=(−1,0)であり、文字「う」はFi=3,Key_f(i)=(0,1)であり、文字「え」はFi=4,Key_f(i)=(1,0)であり、文字「お」はFi=5,Key_f(i)=(0,−1)である。
key_v(i)=(mxi,myi,fxi,fyi)
を定義することができる。
決定部13は、入力ベクトルkey_v(i)に基づき、図11〜図13に示したテーブルを用いて、入力インデックスkey(i)を認識する。そして、格納処理部16は、決定部13によって認識された入力インデックスkey(i)を記憶装置30又は記録媒体RMに逐次格納する。
このような、補助部15による入力補助処理を行なうか否かの判定処理の詳細を説明する。
補助部15は、最新の入力(i)と1つ前の入力(j)とを比較する(j=i−1)。具体的には、補助部15は、入力(j)のフリックベクトルと入力(j)に対応する主キーから入力(i)に対応する主キーまでの主キー間ベクトルとのなす角の大きさが閾値未満である場合に、誤認識の可能性があると判定し、入力補助処理を行なう。
図14は、実施形態の一例としての情報処理装置における文字入力プログラムの構成を例示する図である。
本実施形態の一例における文字入力プログラム100は、例えば、ユーザアプリケーション110,文字入力モジュール120,入出力モジュール130及びOS140を含む。
OS140は、情報処理装置1のハードウェアの管理などの基本機能を実現するシステムソフトウェアである。
入出力モジュール130は、画面表示モジュール131及びタッチパネル入力格納モジュール132として機能する。
文字入力モジュール120は、テキスト編集モジュール121,文字変換モジュール122,フリック入力誤認識制御モジュール123及びフリック入力認識モジュール124として機能する。
文字変換モジュール122は、入力された文字を変換するモジュールであり、例えば入力されたひらがな文字を漢字やカタカナ文字に変換する。
フリック入力認識モジュール124は、フリック入力された文字を認識するためのモジュールである。CPU10は、フリック入力認識モジュールを実行することにより、認識部11,第1方向決定部12及び決定部13として機能する。
上述の如く構成された実施形態の一例としての情報処理装置における文字入力処理を、図15及び図16に示すフローチャート(ステップS1〜S12)に従って説明する。具体的には、図15にステップS1〜S8の処理を示し、図16にステップS9〜S12の処理を示す。
key(i)=(Xi,Yi,Fi)
として、記憶装置30又は記録媒体RMに格納する。
key(j)=(Xj,Yj,Fj),
j=i−1
を調べる(図15のステップS2)。
key(j)が誤認識された入力である可能性がない場合には(図15のステップS3のNoルート参照)、図16のステップS11へ移行する。
補助部15は、誤認識率wが所定値以上であるかを判定する(図15のステップS5)。
一方、誤認識率wが所定値以上である場合には(図15のステップS5のYesルート参照)、修正部15bは、入力文字の自動修正を行なうかを判定する(図15のステップS6)。
一方、自動修正を行なう場合には(図15のステップS6のYesルート参照)、修正部15bは、入力文字の自動修正を行ない(図15のステップS8)、修正した入力文字を表示する。そして、図16のステップS9へ移行する。なお、提示部15aは、修正部15bによって自動修正された入力文字とともに、入力文字の修正候補の提示を行なっても良い。
修正操作がなかった場合には(図16のステップS9のNoルート参照)、図16のステップS11へ移行する。
一方、修正操作があった場合には(図16のステップS9のYesルート参照)、格納処理部16は、修正履歴情報R(key(i),key(j))をアップデートする(図16のステップS10)。
入力操作があった場合には(図16のステップS11のYesルート参照)、図15のステップS1に戻る。
一方、入力操作がない場合には(図16のステップS11のNoルート参照)、CPU10は、必要に応じて入力文字の変換を行ない、入力文字の確定を行なう(図16のステップS12)。そして、文字入力処理が終了する。
このように、上述した実施形態の一例における情報処理装置1によれば、誤入力を減少させることできる。
具体的には、第1方向決定部12は、第1代表文字ボタンの位置と選択の確定入力がされた位置とによって特定される第1方向を決定する。また、第2方向決定部14は、第1代表文字ボタンの位置と第2代表文字ボタンの位置とによって特定される第2方向を算出する。そして、補助部15は、第1方向と第2方向とに基づき、入力補助処理を行なう。
提示部15aは、第1方向に対向する方向に基づき、第1代表文字ボタンに対応する代表文字に関連する複数の関連文字の中から、入力文字の修正候補を提示する。また、提示部15aは、第1代表文字ボタンに対応する代表文字を、修正候補として提示する。これにより、ユーザが提示された修正候補の中から意図する文字を選択することによって、誤入力した文字の修正作業を効率的に行なうことができる。
格納処理部16は、入力文字と第2代表文字ボタンに対応する代表文字とユーザによる修正操作の記録とを対応付けて、修正履歴情報として記憶装置に格納する。これにより、誤入力補助処理の精度を向上させることができる。
開示の技術は上述した実施形態に限定されるものではなく、本実施形態の趣旨を逸脱しない範囲で種々変形して実施することができる。本実施形態の各構成及び各処理は、必要に応じて取捨選択することができ、あるいは適宜組み合わせてもよい。
上述した実施形態の一例においては、ひらがな入力における文字入力処理について説明したが、これに限定されるものではない。
図17は、実施形態の一例としての情報処理装置における文字入力画面の座標系の第2の例を示す図である。
図17に示す例においては、ディスプレイ50の座標軸X,Yと文字入力画面の座標軸x,yとは一致しておらず、互いに直交している。このように、文字入力画面51の座標系やディスプレイ50上における表示位置は、種々変更することができる。
〔C〕付記
(付記1)
代表文字に対応する複数の代表文字ボタンのうち、選択された第1代表文字ボタンを認識する第1認識部と、
前記第1代表文字ボタンの位置と前記選択の確定入力がされた位置とによって特定される第1方向を決定する第1方向決定部と、
前記第1方向に基づき、前記第1代表文字ボタンに対応する代表文字及び前記第1代表文字ボタンに対応する代表文字に関連する複数の関連文字の中から、入力文字を決定する決定部と、
前記入力文字が決定された後に、前記複数の代表文字ボタンのうち、選択された第2代表文字ボタンを認識する第2認識部と、
前記第1代表文字ボタンの位置と前記第2代表文字ボタンの位置とによって特定される第2方向を決定する第2方向決定部と、
前記第1方向と前記第2方向とに基づき、入力補助処理を行なう補助部と、
を備えることを特徴とする、情報処理装置。
前記補助部は、前記第1方向と前記第2方向とのなす角の大きさが閾値未満の場合に、前記入力補助処理を行なう、
ことを特徴とする、付記1に記載の情報処理装置。
(付記3)
前記補助部は、前記第1方向に対向する方向に基づき、前記第1代表文字ボタンに対応する代表文字に関連する複数の関連文字の中から、前記入力文字の修正候補を提示する提示部
を備えることを特徴とする、付記1又は2に記載の情報処理装置。
前記提示部は、前記第1代表文字ボタンに対応する代表文字を、前記修正候補として提示する、
ことを特徴とする、付記3に記載の情報処理装置。
(付記5)
前記入力文字と前記第2代表文字ボタンに対応する代表文字とユーザによる修正操作の記録とを対応付けて、修正履歴情報として記憶装置に格納する格納処理部を備え、
前記提示部は、前記修正履歴情報に基づき、前記修正候補を提示するか否かを決定する、
ことを特徴とする、付記3又は4に記載の情報処理装置。
前記提示部は、前記修正履歴情報に基づき、複数の前記修正候補を提示する順位を入れ替える、
ことを特徴とする、付記5に記載の情報処理装置。
(付記7)
前記補助部は、前記入力文字を修正する修正部
を備えることを特徴とする、付記1〜4のいずれか1項に記載の情報処理装置。
前記入力文字と前記第2代表文字ボタンに対応する代表文字とユーザによる修正操作の記録とを対応付けて、修正履歴情報として記憶装置に格納する格納処理部を備え、
前記修正部は、前記修正履歴情報に基づき、前記修正を行なうか否かを決定する、
ことを特徴とする、付記7に記載の情報処理装置。
前記格納処理部は、当該情報処理装置を使用するユーザ毎に前記修正履歴情報を前記記憶装置に格納する、
ことを特徴とする、付記5,6又は8に記載の情報処理装置。
(付記10)
情報処理装置が備えるコンピュータに、
代表文字に対応する複数の代表文字ボタンのうち、選択された第1代表文字ボタンを認識し、
前記第1代表文字ボタンの位置と前記選択の確定入力がされた位置とによって特定される第1方向を決定し、
前記第1方向に基づき、前記第1代表文字ボタンに対応する代表文字及び前記第1代表文字ボタンに対応する代表文字に関連する複数の関連文字の中から、入力文字を決定し、
前記入力文字が決定された後に、前記複数の代表文字ボタンのうち、選択された第2代表文字ボタンを認識し、
前記第1代表文字ボタンの位置と前記第2代表文字ボタンの位置とによって特定される第2方向を決定し、
前記第1方向と前記第2方向とに基づき、入力補助処理を行なう、
処理を実行させることを特徴とする、文字入力プログラム。
前記第1方向と前記第2方向とのなす角の大きさが閾値未満の場合に、前記入力補助処理を行なう、
処理を前記コンピュータに実行させることを特徴とする、付記10に記載の文字入力プログラム。
前記第1方向に対向する方向に基づき、前記第1代表文字ボタンに対応する代表文字に関連する複数の関連文字の中から、前記入力文字の修正候補を提示する、
処理を前記コンピュータに実行させることを特徴とする、付記10又は11に記載の文字入力プログラム。
前記第1代表文字ボタンに対応する代表文字を、前記修正候補として提示する、
処理を前記コンピュータに実行させることを特徴とする、付記12に記載の文字入力プログラム。
(付記14)
前記入力文字を修正する、
処理を前記コンピュータに実行させることを特徴とする、付記10〜13のいずれか1項に記載の文字入力プログラム。
前記入力文字を修正する場合に、前記入力文字を修正候補として提示する、
処理を前記コンピュータに実行させることを特徴とする、付記14に記載の文字入力プログラム。
(付記16)
情報処理装置において、
代表文字に対応する複数の代表文字ボタンのうち、選択された第1代表文字ボタンを認識し、
前記第1代表文字ボタンの位置と前記選択の確定入力がされた位置とによって特定される第1方向を決定し、
前記第1方向に基づき、前記第1代表文字ボタンに対応する代表文字及び前記第1代表文字ボタンに対応する代表文字に関連する複数の関連文字の中から、入力文字を決定し、
前記入力文字が決定された後に、前記複数の代表文字ボタンのうち、選択された第2代表文字ボタンを認識し、
前記第1代表文字ボタンの位置と前記第2代表文字ボタンの位置とによって特定される第2方向を決定し、
前記第1方向と前記第2方向とに基づき、入力補助処理を行なう、
ことを特徴とする、文字入力方法。
前記第1方向と前記第2方向とのなす角の大きさが閾値未満の場合に、前記入力補助処理を行なう、
ことを特徴とする、付記16に記載の文字入力方法。
(付記18)
前記第1方向に対向する方向に基づき、前記第1代表文字ボタンに対応する代表文字に関連する複数の関連文字の中から、前記入力文字の修正候補を提示する、
ことを特徴とする、付記16又は17に記載の文字入力方法。
前記第1代表文字ボタンに対応する代表文字を、前記修正候補として提示する、
ことを特徴とする、付記18に記載の文字入力方法。
10 CPU(コンピュータ)
11 認識部
11a 第1認識部
11b 第2認識部
12 第1方向決定部
13 決定部
14 第2方向決定部
15 補助部
15a 提示部
15b 修正部
16 格納処理部
100 文字入力プログラム
110 ユーザアプリケーション
120 文字入力モジュール
121 テキスト編集モジュール
122 文字変換モジュール
123 フリック入力誤認識制御モジュール
124 フリック入力認識モジュール
130 入出力モジュール
131 画面表示モジュール
132 タッチパネル入力格納モジュール
140 OS
20 メモリ
30 記憶装置
40 媒体読み書き装置
50 ディスプレイ
51 文字入力画面
52 入力ガイド画面
53 入力文字表示画面
60 入力装置
7 情報処理装置
80 ディスプレイ
81 文字入力画面
82 入力ガイド画面
83 入力文字表示画面
RM 記録媒体
Claims (11)
- 代表文字に対応する複数の代表文字ボタンのうち、選択された第1代表文字ボタンを認識する第1認識部と、
前記第1代表文字ボタンの位置と前記選択の確定入力がされた位置とによって特定される第1方向を決定する第1方向決定部と、
前記第1方向に基づき、前記第1代表文字ボタンに対応する代表文字及び前記第1代表文字ボタンに対応する代表文字に関連する複数の関連文字の中から、入力文字を決定する決定部と、
前記入力文字が決定された後に、前記複数の代表文字ボタンのうち、選択された第2代表文字ボタンを認識する第2認識部と、
前記第1代表文字ボタンの位置と前記第2代表文字ボタンの位置とによって特定される第2方向を決定する第2方向決定部と、
前記第1方向と前記第2方向とに基づき、入力補助処理を行なう補助部と、
を備えることを特徴とする、情報処理装置。 - 前記補助部は、前記第1方向と前記第2方向とのなす角の大きさが閾値未満の場合に、前記入力補助処理を行なう、
ことを特徴とする、請求項1に記載の情報処理装置。 - 前記補助部は、前記第1方向に対向する方向に基づき、前記第1代表文字ボタンに対応する代表文字に関連する複数の関連文字の中から、前記入力文字の修正候補を提示する提示部
を備えることを特徴とする、請求項1又は2に記載の情報処理装置。 - 前記提示部は、前記第1代表文字ボタンに対応する代表文字を、前記修正候補として提示する、
ことを特徴とする、請求項3に記載の情報処理装置。 - 前記入力文字と前記第2代表文字ボタンに対応する代表文字とユーザによる修正操作の記録とを対応付けて、修正履歴情報として記憶装置に格納する格納処理部を備え、
前記提示部は、前記修正履歴情報に基づき、前記修正候補を提示するか否かを決定する、
ことを特徴とする、請求項3又は4に記載の情報処理装置。 - 前記提示部は、前記修正履歴情報に基づき、複数の前記修正候補を提示する順位を入れ替える、
ことを特徴とする、請求項5に記載の情報処理装置。 - 前記補助部は、前記入力文字を修正する修正部
を備えることを特徴とする、請求項1〜4のいずれか1項に記載の情報処理装置。 - 前記入力文字と前記第2代表文字ボタンに対応する代表文字とユーザによる修正操作の記録とを対応付けて、修正履歴情報として記憶装置に格納する格納処理部を備え、
前記修正部は、前記修正履歴情報に基づき、前記修正を行なうか否かを決定する、
ことを特徴とする、請求項7に記載の情報処理装置。 - 前記格納処理部は、当該情報処理装置を使用するユーザ毎に前記修正履歴情報を前記記憶装置に格納する、
ことを特徴とする、請求項5,6又は8に記載の情報処理装置。 - 情報処理装置が備えるコンピュータに、
代表文字に対応する複数の代表文字ボタンのうち、選択された第1代表文字ボタンを認識し、
前記第1代表文字ボタンの位置と前記選択の確定入力がされた位置とによって特定される第1方向を決定し、
前記第1方向に基づき、前記第1代表文字ボタンに対応する代表文字及び前記第1代表文字ボタンに対応する代表文字に関連する複数の関連文字の中から、入力文字を決定し、
前記入力文字が決定された後に、前記複数の代表文字ボタンのうち、選択された第2代表文字ボタンを認識し、
前記第1代表文字ボタンの位置と前記第2代表文字ボタンの位置とによって特定される第2方向を決定し、
前記第1方向と前記第2方向とに基づき、入力補助処理を行なう、
処理を実行させることを特徴とする、文字入力プログラム。 - 情報処理装置において、
代表文字に対応する複数の代表文字ボタンのうち、選択された第1代表文字ボタンを認識し、
前記第1代表文字ボタンの位置と前記選択の確定入力がされた位置とによって特定される第1方向を決定し、
前記第1方向に基づき、前記第1代表文字ボタンに対応する代表文字及び前記第1代表文字ボタンに対応する代表文字に関連する複数の関連文字の中から、入力文字を決定し、
前記入力文字が決定された後に、前記複数の代表文字ボタンのうち、選択された第2代表文字ボタンを認識し、
前記第1代表文字ボタンの位置と前記第2代表文字ボタンの位置とによって決定される第2方向を算出し、
前記第1方向と前記第2方向とに基づき、入力補助処理を行なう、
ことを特徴とする、文字入力方法。
Priority Applications (1)
| Application Number | Priority Date | Filing Date | Title |
|---|---|---|---|
| JP2014087203A JP6229582B2 (ja) | 2014-04-21 | 2014-04-21 | 情報処理装置,文字入力プログラム及び文字入力方法 |
Applications Claiming Priority (1)
| Application Number | Priority Date | Filing Date | Title |
|---|---|---|---|
| JP2014087203A JP6229582B2 (ja) | 2014-04-21 | 2014-04-21 | 情報処理装置,文字入力プログラム及び文字入力方法 |
Publications (2)
| Publication Number | Publication Date |
|---|---|
| JP2015207143A JP2015207143A (ja) | 2015-11-19 |
| JP6229582B2 true JP6229582B2 (ja) | 2017-11-15 |
Family
ID=54603902
Family Applications (1)
| Application Number | Title | Priority Date | Filing Date |
|---|---|---|---|
| JP2014087203A Expired - Fee Related JP6229582B2 (ja) | 2014-04-21 | 2014-04-21 | 情報処理装置,文字入力プログラム及び文字入力方法 |
Country Status (1)
| Country | Link |
|---|---|
| JP (1) | JP6229582B2 (ja) |
Families Citing this family (1)
| Publication number | Priority date | Publication date | Assignee | Title |
|---|---|---|---|---|
| JP6691818B2 (ja) * | 2016-05-23 | 2020-05-13 | シャープ株式会社 | インターフェース、文字入力ガイド方法及びプログラム |
Family Cites Families (5)
| Publication number | Priority date | Publication date | Assignee | Title |
|---|---|---|---|---|
| US7098896B2 (en) * | 2003-01-16 | 2006-08-29 | Forword Input Inc. | System and method for continuous stroke word-based text input |
| US8949743B2 (en) * | 2008-04-22 | 2015-02-03 | Apple Inc. | Language input interface on a device |
| EP2717129A1 (en) * | 2011-05-25 | 2014-04-09 | NEC CASIO Mobile Communications, Ltd. | Input device, input method, and program |
| JP2013047872A (ja) * | 2011-08-29 | 2013-03-07 | Sharp Corp | 文字入力装置、文字入力方法及びコンピュータプログラム |
| JP2014150323A (ja) * | 2013-01-31 | 2014-08-21 | Sharp Corp | 文字入力装置 |
-
2014
- 2014-04-21 JP JP2014087203A patent/JP6229582B2/ja not_active Expired - Fee Related
Also Published As
| Publication number | Publication date |
|---|---|
| JP2015207143A (ja) | 2015-11-19 |
Similar Documents
| Publication | Publication Date | Title |
|---|---|---|
| US8739055B2 (en) | Correction of typographical errors on touch displays | |
| US9547430B2 (en) | Provision of haptic feedback for localization and data input | |
| US8760424B2 (en) | Touch enhanced interface | |
| US10126941B2 (en) | Multi-touch text input | |
| US9811193B2 (en) | Text entry for electronic devices | |
| US20120203544A1 (en) | Correcting typing mistakes based on probabilities of intended contact for non-contacted keys | |
| RU2623885C2 (ru) | Запись формулы для ограниченного устройства отображения | |
| JP5947887B2 (ja) | 表示制御装置、制御プログラム、および表示装置の制御方法 | |
| US10346038B2 (en) | Braille data entry using continuous contact virtual keyboard | |
| US8640026B2 (en) | Word correction in a multi-touch environment | |
| CN103218146B (zh) | 呈现用于数据输入的不同键区配置的方法及其便携式装置 | |
| CN106164893A (zh) | 用于输入与多输入目标相关联的一个或多个输入的系统和方法 | |
| JP2015523657A (ja) | 単語又は文字列を修正する方法とこの方法を具現した入力装置 | |
| JP6230992B2 (ja) | キーボードレイアウトを提供するユーザインタフェース提供装置及び方法 | |
| US8922492B2 (en) | Device and method of inputting characters | |
| JP2016218963A (ja) | 情報処理装置、入力制御プログラム及び入力制御方法 | |
| JP2014056389A (ja) | 文字認識装置、文字認識方法及びプログラム | |
| JP6599504B2 (ja) | タッチエラー校正方法およびそのシステム | |
| JP6229582B2 (ja) | 情報処理装置,文字入力プログラム及び文字入力方法 | |
| JP6217459B2 (ja) | 文字入力システム用のプログラムおよび情報処理装置 | |
| JP5977764B2 (ja) | 拡張キーを利用した情報入力システム及び情報入力方法 | |
| CN102375655A (zh) | 一种字母输入的处理方法及系统 | |
| KR101219300B1 (ko) | 한글입력수정방법 | |
| JP2005275635A (ja) | 仮名文字入力方法および仮名文字入力プログラム | |
| JP6244676B2 (ja) | 操作支援プログラム及び操作支援方法並びに情報処理装置 |
Legal Events
| Date | Code | Title | Description |
|---|---|---|---|
| A621 | Written request for application examination |
Free format text: JAPANESE INTERMEDIATE CODE: A621 Effective date: 20170110 |
|
| A977 | Report on retrieval |
Free format text: JAPANESE INTERMEDIATE CODE: A971007 Effective date: 20170907 |
|
| TRDD | Decision of grant or rejection written | ||
| A01 | Written decision to grant a patent or to grant a registration (utility model) |
Free format text: JAPANESE INTERMEDIATE CODE: A01 Effective date: 20170919 |
|
| A61 | First payment of annual fees (during grant procedure) |
Free format text: JAPANESE INTERMEDIATE CODE: A61 Effective date: 20171002 |
|
| R150 | Certificate of patent or registration of utility model |
Ref document number: 6229582 Country of ref document: JP Free format text: JAPANESE INTERMEDIATE CODE: R150 |
|
| S111 | Request for change of ownership or part of ownership |
Free format text: JAPANESE INTERMEDIATE CODE: R313113 |
|
| R350 | Written notification of registration of transfer |
Free format text: JAPANESE INTERMEDIATE CODE: R350 |
|
| LAPS | Cancellation because of no payment of annual fees |
