JP6198822B2 - 最小侵襲性の医療器具 - Google Patents

最小侵襲性の医療器具 Download PDF

Info

Publication number
JP6198822B2
JP6198822B2 JP2015519436A JP2015519436A JP6198822B2 JP 6198822 B2 JP6198822 B2 JP 6198822B2 JP 2015519436 A JP2015519436 A JP 2015519436A JP 2015519436 A JP2015519436 A JP 2015519436A JP 6198822 B2 JP6198822 B2 JP 6198822B2
Authority
JP
Japan
Prior art keywords
sensor
substrate
medical device
electrical
optical fiber
Prior art date
Legal status (The legal status is an assumption and is not a legal conclusion. Google has not performed a legal analysis and makes no representation as to the accuracy of the status listed.)
Expired - Fee Related
Application number
JP2015519436A
Other languages
English (en)
Other versions
JP2015524285A5 (ja
JP2015524285A (ja
Inventor
ロナルト デッケル
ロナルト デッケル
ヴィンセント アドリアヌス ヘンネケン
ヴィンセント アドリアヌス ヘンネケン
レンス アントニア コルネリア ファン
レンス アントニア コルネリア ファン
Current Assignee (The listed assignees may be inaccurate. Google has not performed a legal analysis and makes no representation or warranty as to the accuracy of the list.)
Koninklijke Philips NV
Original Assignee
Koninklijke Philips NV
Priority date (The priority date is an assumption and is not a legal conclusion. Google has not performed a legal analysis and makes no representation as to the accuracy of the date listed.)
Filing date
Publication date
Application filed by Koninklijke Philips NV filed Critical Koninklijke Philips NV
Publication of JP2015524285A publication Critical patent/JP2015524285A/ja
Publication of JP2015524285A5 publication Critical patent/JP2015524285A5/ja
Application granted granted Critical
Publication of JP6198822B2 publication Critical patent/JP6198822B2/ja
Expired - Fee Related legal-status Critical Current
Anticipated expiration legal-status Critical

Links

Images

Classifications

    • AHUMAN NECESSITIES
    • A61MEDICAL OR VETERINARY SCIENCE; HYGIENE
    • A61BDIAGNOSIS; SURGERY; IDENTIFICATION
    • A61B5/00Measuring for diagnostic purposes; Identification of persons
    • A61B5/68Arrangements of detecting, measuring or recording means, e.g. sensors, in relation to patient
    • A61B5/6846Arrangements of detecting, measuring or recording means, e.g. sensors, in relation to patient specially adapted to be brought in contact with an internal body part, i.e. invasive
    • A61B5/6847Arrangements of detecting, measuring or recording means, e.g. sensors, in relation to patient specially adapted to be brought in contact with an internal body part, i.e. invasive mounted on an invasive device
    • AHUMAN NECESSITIES
    • A61MEDICAL OR VETERINARY SCIENCE; HYGIENE
    • A61BDIAGNOSIS; SURGERY; IDENTIFICATION
    • A61B1/00Instruments for performing medical examinations of the interior of cavities or tubes of the body by visual or photographical inspection, e.g. endoscopes; Illuminating arrangements therefor
    • A61B1/00002Operational features of endoscopes
    • A61B1/00011Operational features of endoscopes characterised by signal transmission
    • A61B1/00013Operational features of endoscopes characterised by signal transmission using optical means
    • AHUMAN NECESSITIES
    • A61MEDICAL OR VETERINARY SCIENCE; HYGIENE
    • A61BDIAGNOSIS; SURGERY; IDENTIFICATION
    • A61B1/00Instruments for performing medical examinations of the interior of cavities or tubes of the body by visual or photographical inspection, e.g. endoscopes; Illuminating arrangements therefor
    • A61B1/00064Constructional details of the endoscope body
    • A61B1/0011Manufacturing of endoscope parts
    • AHUMAN NECESSITIES
    • A61MEDICAL OR VETERINARY SCIENCE; HYGIENE
    • A61BDIAGNOSIS; SURGERY; IDENTIFICATION
    • A61B1/00Instruments for performing medical examinations of the interior of cavities or tubes of the body by visual or photographical inspection, e.g. endoscopes; Illuminating arrangements therefor
    • A61B1/04Instruments for performing medical examinations of the interior of cavities or tubes of the body by visual or photographical inspection, e.g. endoscopes; Illuminating arrangements therefor combined with photographic or television appliances
    • A61B1/05Instruments for performing medical examinations of the interior of cavities or tubes of the body by visual or photographical inspection, e.g. endoscopes; Illuminating arrangements therefor combined with photographic or television appliances characterised by the image sensor, e.g. camera, being in the distal end portion
    • A61B1/051Details of CCD assembly
    • AHUMAN NECESSITIES
    • A61MEDICAL OR VETERINARY SCIENCE; HYGIENE
    • A61BDIAGNOSIS; SURGERY; IDENTIFICATION
    • A61B1/00Instruments for performing medical examinations of the interior of cavities or tubes of the body by visual or photographical inspection, e.g. endoscopes; Illuminating arrangements therefor
    • A61B1/06Instruments for performing medical examinations of the interior of cavities or tubes of the body by visual or photographical inspection, e.g. endoscopes; Illuminating arrangements therefor with illuminating arrangements
    • A61B1/063Instruments for performing medical examinations of the interior of cavities or tubes of the body by visual or photographical inspection, e.g. endoscopes; Illuminating arrangements therefor with illuminating arrangements for monochromatic or narrow-band illumination
    • AHUMAN NECESSITIES
    • A61MEDICAL OR VETERINARY SCIENCE; HYGIENE
    • A61BDIAGNOSIS; SURGERY; IDENTIFICATION
    • A61B1/00Instruments for performing medical examinations of the interior of cavities or tubes of the body by visual or photographical inspection, e.g. endoscopes; Illuminating arrangements therefor
    • A61B1/06Instruments for performing medical examinations of the interior of cavities or tubes of the body by visual or photographical inspection, e.g. endoscopes; Illuminating arrangements therefor with illuminating arrangements
    • A61B1/0661Endoscope light sources
    • A61B1/0684Endoscope light sources using light emitting diodes [LED]
    • AHUMAN NECESSITIES
    • A61MEDICAL OR VETERINARY SCIENCE; HYGIENE
    • A61BDIAGNOSIS; SURGERY; IDENTIFICATION
    • A61B1/00Instruments for performing medical examinations of the interior of cavities or tubes of the body by visual or photographical inspection, e.g. endoscopes; Illuminating arrangements therefor
    • A61B1/06Instruments for performing medical examinations of the interior of cavities or tubes of the body by visual or photographical inspection, e.g. endoscopes; Illuminating arrangements therefor with illuminating arrangements
    • A61B1/07Instruments for performing medical examinations of the interior of cavities or tubes of the body by visual or photographical inspection, e.g. endoscopes; Illuminating arrangements therefor with illuminating arrangements using light-conductive means, e.g. optical fibres
    • AHUMAN NECESSITIES
    • A61MEDICAL OR VETERINARY SCIENCE; HYGIENE
    • A61BDIAGNOSIS; SURGERY; IDENTIFICATION
    • A61B17/00Surgical instruments, devices or methods
    • A61B17/00234Surgical instruments, devices or methods for minimally invasive surgery
    • AHUMAN NECESSITIES
    • A61MEDICAL OR VETERINARY SCIENCE; HYGIENE
    • A61BDIAGNOSIS; SURGERY; IDENTIFICATION
    • A61B5/00Measuring for diagnostic purposes; Identification of persons
    • A61B5/0059Measuring for diagnostic purposes; Identification of persons using light, e.g. diagnosis by transillumination, diascopy, fluorescence
    • A61B5/0082Measuring for diagnostic purposes; Identification of persons using light, e.g. diagnosis by transillumination, diascopy, fluorescence adapted for particular medical purposes
    • A61B5/0084Measuring for diagnostic purposes; Identification of persons using light, e.g. diagnosis by transillumination, diascopy, fluorescence adapted for particular medical purposes for introduction into the body, e.g. by catheters
    • AHUMAN NECESSITIES
    • A61MEDICAL OR VETERINARY SCIENCE; HYGIENE
    • A61BDIAGNOSIS; SURGERY; IDENTIFICATION
    • A61B5/00Measuring for diagnostic purposes; Identification of persons
    • A61B5/68Arrangements of detecting, measuring or recording means, e.g. sensors, in relation to patient
    • A61B5/6846Arrangements of detecting, measuring or recording means, e.g. sensors, in relation to patient specially adapted to be brought in contact with an internal body part, i.e. invasive
    • A61B5/6847Arrangements of detecting, measuring or recording means, e.g. sensors, in relation to patient specially adapted to be brought in contact with an internal body part, i.e. invasive mounted on an invasive device
    • A61B5/6852Catheters
    • AHUMAN NECESSITIES
    • A61MEDICAL OR VETERINARY SCIENCE; HYGIENE
    • A61BDIAGNOSIS; SURGERY; IDENTIFICATION
    • A61B5/00Measuring for diagnostic purposes; Identification of persons
    • A61B5/72Signal processing specially adapted for physiological signals or for diagnostic purposes
    • A61B5/7271Specific aspects of physiological measurement analysis
    • A61B5/7278Artificial waveform generation or derivation, e.g. synthesizing signals from measured signals
    • AHUMAN NECESSITIES
    • A61MEDICAL OR VETERINARY SCIENCE; HYGIENE
    • A61BDIAGNOSIS; SURGERY; IDENTIFICATION
    • A61B8/00Diagnosis using ultrasonic, sonic or infrasonic waves
    • A61B8/12Diagnosis using ultrasonic, sonic or infrasonic waves in body cavities or body tracts, e.g. by using catheters
    • AHUMAN NECESSITIES
    • A61MEDICAL OR VETERINARY SCIENCE; HYGIENE
    • A61BDIAGNOSIS; SURGERY; IDENTIFICATION
    • A61B90/00Instruments, implements or accessories specially adapted for surgery or diagnosis and not covered by any of the groups A61B1/00 - A61B50/00, e.g. for luxation treatment or for protecting wound edges
    • A61B90/36Image-producing devices or illumination devices not otherwise provided for
    • A61B90/361Image-producing devices, e.g. surgical cameras
    • GPHYSICS
    • G02OPTICS
    • G02BOPTICAL ELEMENTS, SYSTEMS OR APPARATUS
    • G02B6/00Light guides; Structural details of arrangements comprising light guides and other optical elements, e.g. couplings
    • G02B6/24Coupling light guides
    • G02B6/42Coupling light guides with opto-electronic elements
    • G02B6/4201Packages, e.g. shape, construction, internal or external details
    • G02B6/4202Packages, e.g. shape, construction, internal or external details for coupling an active element with fibres without intermediate optical elements, e.g. fibres with plane ends, fibres with shaped ends, bundles
    • HELECTRICITY
    • H04ELECTRIC COMMUNICATION TECHNIQUE
    • H04BTRANSMISSION
    • H04B10/00Transmission systems employing electromagnetic waves other than radio-waves, e.g. infrared, visible or ultraviolet light, or employing corpuscular radiation, e.g. quantum communication
    • H04B10/11Arrangements specific to free-space transmission, i.e. transmission through air or vacuum
    • HELECTRICITY
    • H04ELECTRIC COMMUNICATION TECHNIQUE
    • H04BTRANSMISSION
    • H04B10/00Transmission systems employing electromagnetic waves other than radio-waves, e.g. infrared, visible or ultraviolet light, or employing corpuscular radiation, e.g. quantum communication
    • H04B10/25Arrangements specific to fibre transmission
    • AHUMAN NECESSITIES
    • A61MEDICAL OR VETERINARY SCIENCE; HYGIENE
    • A61BDIAGNOSIS; SURGERY; IDENTIFICATION
    • A61B17/00Surgical instruments, devices or methods
    • A61B2017/00017Electrical control of surgical instruments
    • A61B2017/00022Sensing or detecting at the treatment site
    • AHUMAN NECESSITIES
    • A61MEDICAL OR VETERINARY SCIENCE; HYGIENE
    • A61BDIAGNOSIS; SURGERY; IDENTIFICATION
    • A61B17/00Surgical instruments, devices or methods
    • A61B17/00234Surgical instruments, devices or methods for minimally invasive surgery
    • A61B2017/00292Surgical instruments, devices or methods for minimally invasive surgery mounted on or guided by flexible, e.g. catheter-like, means
    • A61B2017/00296Surgical instruments, devices or methods for minimally invasive surgery mounted on or guided by flexible, e.g. catheter-like, means mounted on an endoscope
    • AHUMAN NECESSITIES
    • A61MEDICAL OR VETERINARY SCIENCE; HYGIENE
    • A61BDIAGNOSIS; SURGERY; IDENTIFICATION
    • A61B17/00Surgical instruments, devices or methods
    • A61B2017/00831Material properties
    • A61B2017/00902Material properties transparent or translucent
    • A61B2017/00911Material properties transparent or translucent for fields applied by a magnetic resonance imaging system
    • AHUMAN NECESSITIES
    • A61MEDICAL OR VETERINARY SCIENCE; HYGIENE
    • A61BDIAGNOSIS; SURGERY; IDENTIFICATION
    • A61B17/00Surgical instruments, devices or methods
    • A61B17/22Implements for squeezing-off ulcers or the like on inner organs of the body; Implements for scraping-out cavities of body organs, e.g. bones; for invasive removal or destruction of calculus using mechanical vibrations; for removing obstructions in blood vessels, not otherwise provided for
    • A61B2017/22038Implements for squeezing-off ulcers or the like on inner organs of the body; Implements for scraping-out cavities of body organs, e.g. bones; for invasive removal or destruction of calculus using mechanical vibrations; for removing obstructions in blood vessels, not otherwise provided for with a guide wire
    • A61B2017/22042Details of the tip of the guide wire
    • AHUMAN NECESSITIES
    • A61MEDICAL OR VETERINARY SCIENCE; HYGIENE
    • A61BDIAGNOSIS; SURGERY; IDENTIFICATION
    • A61B90/00Instruments, implements or accessories specially adapted for surgery or diagnosis and not covered by any of the groups A61B1/00 - A61B50/00, e.g. for luxation treatment or for protecting wound edges
    • A61B90/36Image-producing devices or illumination devices not otherwise provided for
    • A61B90/37Surgical systems with images on a monitor during operation
    • A61B2090/378Surgical systems with images on a monitor during operation using ultrasound
    • A61B2090/3782Surgical systems with images on a monitor during operation using ultrasound transmitter or receiver in catheter or minimal invasive instrument
    • A61B2090/3784Surgical systems with images on a monitor during operation using ultrasound transmitter or receiver in catheter or minimal invasive instrument both receiver and transmitter being in the instrument or receiver being also transmitter
    • AHUMAN NECESSITIES
    • A61MEDICAL OR VETERINARY SCIENCE; HYGIENE
    • A61BDIAGNOSIS; SURGERY; IDENTIFICATION
    • A61B2562/00Details of sensors; Constructional details of sensor housings or probes; Accessories for sensors
    • A61B2562/22Arrangements of medical sensors with cables or leads; Connectors or couplings specifically adapted for medical sensors
    • A61B2562/225Connectors or couplings
    • A61B2562/228Sensors with optical connectors
    • AHUMAN NECESSITIES
    • A61MEDICAL OR VETERINARY SCIENCE; HYGIENE
    • A61BDIAGNOSIS; SURGERY; IDENTIFICATION
    • A61B5/00Measuring for diagnostic purposes; Identification of persons
    • A61B5/0002Remote monitoring of patients using telemetry, e.g. transmission of vital signals via a communication network
    • A61B5/0015Remote monitoring of patients using telemetry, e.g. transmission of vital signals via a communication network characterised by features of the telemetry system
    • A61B5/0017Remote monitoring of patients using telemetry, e.g. transmission of vital signals via a communication network characterised by features of the telemetry system transmitting optical signals
    • AHUMAN NECESSITIES
    • A61MEDICAL OR VETERINARY SCIENCE; HYGIENE
    • A61BDIAGNOSIS; SURGERY; IDENTIFICATION
    • A61B5/00Measuring for diagnostic purposes; Identification of persons
    • A61B5/02Detecting, measuring or recording for evaluating the cardiovascular system, e.g. pulse, heart rate, blood pressure or blood flow
    • A61B5/021Measuring pressure in heart or blood vessels
    • A61B5/0215Measuring pressure in heart or blood vessels by means inserted into the body
    • AHUMAN NECESSITIES
    • A61MEDICAL OR VETERINARY SCIENCE; HYGIENE
    • A61BDIAGNOSIS; SURGERY; IDENTIFICATION
    • A61B5/00Measuring for diagnostic purposes; Identification of persons
    • A61B5/68Arrangements of detecting, measuring or recording means, e.g. sensors, in relation to patient
    • A61B5/6846Arrangements of detecting, measuring or recording means, e.g. sensors, in relation to patient specially adapted to be brought in contact with an internal body part, i.e. invasive
    • A61B5/6847Arrangements of detecting, measuring or recording means, e.g. sensors, in relation to patient specially adapted to be brought in contact with an internal body part, i.e. invasive mounted on an invasive device
    • A61B5/6851Guide wires
    • GPHYSICS
    • G02OPTICS
    • G02BOPTICAL ELEMENTS, SYSTEMS OR APPARATUS
    • G02B6/00Light guides; Structural details of arrangements comprising light guides and other optical elements, e.g. couplings
    • G02B6/24Coupling light guides
    • G02B6/42Coupling light guides with opto-electronic elements
    • G02B6/4201Packages, e.g. shape, construction, internal or external details
    • G02B6/4219Mechanical fixtures for holding or positioning the elements relative to each other in the couplings; Alignment methods for the elements, e.g. measuring or observing methods especially used therefor
    • G02B6/4236Fixing or mounting methods of the aligned elements
    • G02B6/4239Adhesive bonding; Encapsulation with polymer material
    • YGENERAL TAGGING OF NEW TECHNOLOGICAL DEVELOPMENTS; GENERAL TAGGING OF CROSS-SECTIONAL TECHNOLOGIES SPANNING OVER SEVERAL SECTIONS OF THE IPC; TECHNICAL SUBJECTS COVERED BY FORMER USPC CROSS-REFERENCE ART COLLECTIONS [XRACs] AND DIGESTS
    • Y10TECHNICAL SUBJECTS COVERED BY FORMER USPC
    • Y10TTECHNICAL SUBJECTS COVERED BY FORMER US CLASSIFICATION
    • Y10T29/00Metal working
    • Y10T29/49Method of mechanical manufacture
    • Y10T29/49002Electrical device making
    • Y10T29/49117Conductor or circuit manufacturing
    • Y10T29/49169Assembling electrical component directly to terminal or elongated conductor
    • Y10T29/49171Assembling electrical component directly to terminal or elongated conductor with encapsulating

Landscapes

  • Health & Medical Sciences (AREA)
  • Life Sciences & Earth Sciences (AREA)
  • Surgery (AREA)
  • Engineering & Computer Science (AREA)
  • Physics & Mathematics (AREA)
  • Medical Informatics (AREA)
  • Biomedical Technology (AREA)
  • Heart & Thoracic Surgery (AREA)
  • Veterinary Medicine (AREA)
  • Molecular Biology (AREA)
  • Animal Behavior & Ethology (AREA)
  • General Health & Medical Sciences (AREA)
  • Public Health (AREA)
  • Pathology (AREA)
  • Biophysics (AREA)
  • Nuclear Medicine, Radiotherapy & Molecular Imaging (AREA)
  • Optics & Photonics (AREA)
  • Radiology & Medical Imaging (AREA)
  • Manufacturing & Machinery (AREA)
  • Signal Processing (AREA)
  • General Physics & Mathematics (AREA)
  • Oral & Maxillofacial Surgery (AREA)
  • Electromagnetism (AREA)
  • Computer Networks & Wireless Communication (AREA)
  • Microelectronics & Electronic Packaging (AREA)
  • Artificial Intelligence (AREA)
  • Computer Vision & Pattern Recognition (AREA)
  • Physiology (AREA)
  • Psychiatry (AREA)
  • Endoscopes (AREA)
  • Ultra Sonic Daignosis Equipment (AREA)

Description

本発明は、近位端及び遠位端をもつ最小侵襲性の医療器具であって、医療器具の遠位端に配置されるセンサ装置を有する医療器具に関する。センサ装置は、電気センサ信号の形でセンサデータを生成するように構成されるセンサ、特に超音波トランスデューサ又はカメラ医用イメージングセンサ、を有する。本発明は更に、このような最小侵襲性の医療器具を製造する方法に関する。本発明は更に、このようなセンサ装置及びこのようなセンサ装置を製造する方法に関する。
最小侵襲性の医療器具の先端にインテリジェントセンサの形の電子機能を組み込む傾向がある。これらのセンサは、医師が、身体を通して医療器具をガイドすることを支援することができ、又はより正確な診断を可能にすることができる。例えば、内視鏡の先端部における光学カメラ又は超音波トランスデューサのようなセンサの使用が良く知られている。しかしながら、このような電子機能は、例えばカテーテル又は(カテーテル)ガイドワイヤのようなより小さい医療器具においても企図される。
例えば、文献"Flex-to-Rigid (F2R): A Novel Ultra-Flexible Technology for Smart Invasive Medical Instruments", Benjamin Mimoun, Vincent Henneken, Ronald Dekker, published in "Stretchable Electronics and Conformal Biointerfaces (Mater. Res. Soc. Symp. Proc. Volume 1271E, Warrendale, PA, 2010), paper 1271-JJ05-09" (see also ectm.ewi.tudelft.nl/linkto/ectm_publications.php)は、特にスマートな又は最小侵襲性の医療器具において使用される、超可撓性の相互接続によって相互接続される部分的に可撓性の小型センサを製造する技術を開示しており、その内容は、参照によって本願明細書に盛り込まれるものとする。
小さいサイズのこのようなセンサ又はセンサ装置が企図される場合、概して、データ圧縮ハードウェアは、医療器具の遠位先端部に含められることができない。従って、センサデータの相対的に高いデータレートが、例えば超音波トランスデューサ又はカメラから生成される。高データレートのために、一般に、例えば同軸ケーブルのような、明確に定義された特性インピーダンスをもつ電気ワイヤが必要とされる。しかしながら、最も小さい同軸ケーブルでも、数百μmの直径を有する。例えば、ただ1つの同軸ケーブルしか、最小侵襲性の医療器具に組み込まれることができないことがあり(例えばガイドワイヤは300μmの直径を有する)、これはデータレートを制限する。このように、高データレートは、これまでのところ、医療器具の遠位端から近位端まで延在する電気ワイヤの使用を必要としており、これは、多くの空間を必要とする。しかしながら、多くの空間を必要とするこのようなワイヤの使用は、医療器具をより大きくし、これは、特に最小侵襲性の医療器具においては望ましくない。従って、データレートと医療器具のサイズとの間のトレードオフが行われなければならない。
本発明の目的は、改良された最小侵襲性の医療器具、特に小型の医療器具を提供するとともに、最小侵襲性の医療器具の遠位端から近位端まで高データレートでのセンサデータの送信を可能にする最小侵襲性の医療器具、及びこれを製造する方法を提供することである。
本発明の第1の見地において、近位端及び遠位端を有する最小侵襲性の医療器具であって、医療器具の遠位端に配置されるセンサ装置を有し、センサ装置が、電気センサ信号の形でセンサデータを生成するように構成されるセンサを有する、医療器具が提示される。センサ装置は更に、電気センサ信号を光学信号に変換するように構成されるとともに電気センサ信号を入力する電気入力部及び光学信号を送信する光出力部を有するデータ変換装置を有する。センサ装置は更に、遠位端から近位端まで光学信号を送信するように構成される光ファイバを有し、光ファイバは、光学信号を受信するためにデータ変換装置の出力部に結合され、光ファイバは、器具の遠位端から近位端まで延在する。
本発明の他の見地において、近位端及び遠位端を有する最小侵襲性の医療器具を製造する方法であって、センサ装置を製造するステップを有し、該ステップは、電気センサ信号の形でセンサデータを生成するように構成されるセンサを提供するステップと、電気センサ信号を光学信号に変換するように構成されるとともに、電気センサ信号を入力する電気入力部及び光学信号を送信する光出力部を有するデータ変換装置を提供するステップと、遠位端から近位端まで光学信号を送信するように構成される光ファイバを提供するステップと、光学信号を受信するためにデータ変換装置の出力部に光ファイバを結合するステップと、を含む。方法は更に、光ファイバが器具の遠位端から近位端まで延在するようにして、センサ装置を医療器具の遠位端に配置するステップを有する。
本発明の他の見地において、このようなセンサ装置が提示される。本発明の他の見地において、このようなセンサ装置を製造する方法が提示される。
本発明の基本的な考えは、医療器具の遠位端から近位端まで高データレートのセンサデータを送信するために光ファイバを使用することである。これは、医療器具の遠位端又は先端からの高速光データリンクを提供する。小さいサイズの最小侵襲性の医療器具が予定される場合、データ圧縮ハードウェアは、遠位端に含められることができず、ゆえに、相対的に高いデータレートが遠位端で生成され、装置の近位端に光データリンクを通じて送信される。センサによって生成される電気センサ信号を、光ファイバによって送信されることができる光学信号に変えるために、データ変換装置が使用される。特に、光ファイバは、第1の端部及び第2の端部を有し、第1の端部が、データ変換装置の光出力部に結合され、第2の端部が、装置の近位端に配置され、例えば信号処理装置に接続する。このようにして、なお小型医療器具を提供しながら、高データレートでのセンサデータの送信を可能にする最小侵襲性の装置が提供される。更に、電気ワイヤの代わりに光ファイバを使用することにより、信号は、電気的に絶縁される。これは、医療装置を、より一層MRI互換性のあるものにし、及び/又は(例えばグランドループ又はRFI(ラジオ周波妨害)を通じて)ノイズを低減する。
1つの例において、センサは、医用イメージングセンサでありうる。医用イメージングセンサは、(例えば患者の身体又はその一部の)画像を表現するセンサデータを生成することができる。医療イメージングセンサは、大量のセンサデータを、ゆえに高データレートを生成することができ、これは、高データレート送信を必要とする。1つの例において、センサは、超音波を送信し及び/又は受信するように構成される超音波トランスデューサ、特に容量性マイクロマシン加工超音波トランスデューサ(CMUT)でありうる。他の例では、センサは、カメラでありうる。これらは、特に医療イメージングに有用なセンサである。しかしながら、概して、他のタイプの任意のセンサ、特に高データレートを生成するセンサが、使用されることができることが理解されるであろう。
本発明の好適な実施形態は従属請求項に規定される。請求項に記載の最小侵襲性の医療器具を製造する方法が、請求項に記載の医療器具及び従属請求項に規定されるものと同様の及び/又は同一の好適な実施形態を有することが理解されるべきである。更に、センサ装置、又はセンサ装置を製造する方法は、請求項に記載の医療器具又はこれを製造する方法と同様の及び/又は同一の好適な実施形態を有することが理解されるべきである。
一実施形態において、センサ装置は更に、第1の表面及び第2の表面を有する基板を有し、データ変換装置が、第1の表面に配置される。このようにして、データ変換装置の良好な支持体が提供される。対応する方法において、センサ装置の製造は更に、第1の表面及び第2の表面を有する基板を提供するステップと、第1の基板表面にデータ変換装置を配置するステップと、を含む。
他の実施形態又は変形例において、光ファイバは、第2の基板表面から第1の基板表面へ向けて延在する基板の孔に配置される。このようにして、光ファイバをデータ変換装置に結合させる簡単なやり方が提供される。特に、孔は、表面基板に垂直に配置されうる。このようにして、光ファイバは、表面基板に対し垂直に配置される。特に、孔は、光ファイバの第1の端部がデータ変換装置の出力部に結合されるように、配置されることができる。例えば、データ変換装置は、第1の基板表面へ向けて、特に光ファイバの第1の端部が位置する領域に、光学信号を送信するように配置されることができる。対応する方法において、センサ装置の製造は更に、例えばエッチングによって、基板に、第2の基板表面から第1の基板表面に向かって延在する孔を設けるステップと、光ファイバを孔に配置するステップと、を含む。他の実施形態又は変形例において、基板は、ベース層及びベース層上の少なくとも1つの絶縁層を有し、絶縁層が、少なくとも第1の基板表面を形成する。このようにして、絶縁層を使用することによって、ベース層が導電性又は半導電性である場合であっても、第1の基板表面上に電気接続又は電気接続部が作られることができる。特に、基板ベース層は、シリコンで作られることができ、及び/又は、絶縁層は、酸化シリコンで作られることができる。シリコンを使用するということは、製造が容易であり及び/又は安価である。対応する方法において、基板を提供するステップは、ベース層を提供するステップと、ベース層上に少なくとも1つの絶縁層を提供するステップと、を含み、絶縁層が、少なくとも第1の基板表面を形成する。例えば、絶縁層は、酸化処理によって提供されることができる。
これらの実施形態の変形又は変更において、孔は、第1の基板表面を形成する絶縁層のところで終端する。特に、孔は、ブラインド孔でありうる。このようにして、絶縁層は、光ファイバからデータ変換装置の出力を絶縁するが、光学信号がなお通過するに十分な薄さである。従って、絶縁層は、特に光学的に透明でありうる。更に、基板の孔内に光ファイバを配置する容易な製造方法は、このようにして提供されることができる。対応する方法において、孔を設けるステップは、第1の基板表面を形成する絶縁層のところで終えられ又は終わる。例えば、孔は、第2の基板表面からエッチングされ、基板のベース層を通り、絶縁層のところで終わる。
他の実施形態又は変形例において、光ファイバは、基板に固定的に接続される。このようにして、(複数の)光ファイバが、基板及びゆえにセンサ装置に永続的に取り付けられることができる。従って、光ファイバは、データ変換装置の出力部に永続的に結合されることができる。これは、より良好な光学結合を提供する。例えば、光ファイバと光出力部との間の着脱可能な接続部又はエアギャップと比べて小さいデバイスが、提供されることができる。特に、光学的に透明な接着剤が、光ファイバを基板に固定的に接続するために使用されることができる。例えば、基板と光ファイバとの間の孔の残りの空間は、光学的に透明な接着剤で充填たされることができる。対応する方法において、光出力部に光ファイバを結合することは、特に光学的に透明な接着剤を使用して、光ファイバを基板に固定的に接続することを含む。
他の実施形態又は変形例において、センサ装置は更に、器具の遠位端から近位端部まで延在する電気ワイヤを含む。このようにして、装置が、電力供給されることができ(例えば、電気ワイヤが、センサ装置への電力供給のために使用されることができる)、及び/又は付加の機能が提供されることができる。例えば、電気ワイヤは、低スピードのデータ伝送(例えば制御信号の伝送)のために使用されることができる。対応する方法において、センサ装置を製造することは、器具の遠位端から近位端まで延在する電気ワイヤを提供することを更に含む。
他の実施形態又は変形例において、電気ワイヤは、基板の、第1の基板表面から第2の基板表面まで延在するスルーホールを通じて配置される。このようにして、電気ワイヤ及び光ファイバの基板(例えばシリコンチップ)に対する同時接続が提供されることができる。これは、特に製造するのが容易である。対応する方法において、センサ装置を製造することは、第1の基板表面から第2の基板表面まで延在するスルーホールを基板に設けるステップと、スルーホールを通じて電気ワイヤを配置するステップと、を含む。例えば、スルーホールは、基板を通してエッチングされることができる。
別の実施形態又は変形例において、電気ワイヤは、基板に固定的に接続される。このようにして、電気ワイヤは、基板及びゆえにセンサ装置に永続的に取り付けられることができる。例えば、ハンダ接続が、電気ワイヤを固定的に基板に接続するために使用されることができる。特に、光ファイバ及び電気ワイヤの両方が、基板に固定的に接続されることができる。対応する方法において、センサ装置を製造することは、電気ワイヤを基板に固定的に接続することを更に含む。
他の実施形態又は変形例において、センサは、医療器具の長さ方向において、データ変換装置が配置される基板より上に又は下に位置付けられる第2の基板に配置される。こうして、センサ及びデータ変換装置は、それぞれ異なる又は別個の基板上に配置される。このようにして、小型医療器具が提供されることができる。対応する方法において、センサ装置を製造することは更に、センサが配置される第2の基板を提供するステップと、医療器具の長さ方向において、データ変換装置が配置される基板より上又は下に第2の基板を位置付けるステップとを含む。
他の実施形態又は変形例において、センサ装置は、電気センサ信号を前処理するように構成される前処理電子回路を有し、前処理電子回路は、電気センサ信号を受け取る入力部と、前処理された電気センサ信号をデータ変換装置に送信する出力部と、を有する。このようにして、前処理は、医療器具の遠位端又は先端部で行われることができる。例えば、前処理は、データ変換装置による変換及び/又は光ファイバを通じた送信のために電気信号を適合させることができる。しかしながら、前処理電子回路は、概して、高いデータ圧縮を提供することはできない。前処理電子回路は、概して、多くの空間を必要としない。こうして、前処理電子回路は、医療器具の遠位端において、センサ装置に容易に組み込まれることができる。このようにして、センサからの生センサデータ又は信号は、近位端に送信される必要がなく、センサデータは、前処理されることができる。例えば、前処理電子回路は、(例えば電気センサ信号が光ファイバを通じて送信されることができるように)電気センサ信号を増幅し及び/又は多重化するように構成されることができる。特に、前処理電子回路は、センサを制御するために使用される電子回路、例えば特定用途向け集積回路(ASIC)でありえ、又はそのような回路に組み込まれることができ、又はその一部でありうる。対応する方法において、センサ装置を製造することは、このような前処理電子回路を提供するステップを更に含む。
別の実施形態又は変形例において、前処理電子回路は、医療器具の長さ方向において、データ変換装置が配置される基板より上又は下に位置付けられる第3の基板に配置される。こうして、前処理電子回路及びデータ変換装置は、それぞれ異なる又は別個の基板上に配置される。このようにして、小型の医療器具が提供される。対応する方法において、センサ装置を製造することは、前処理電子回路が配置される第3の基板を提供するステップと、医療器具の長さ方向において、データ変換装置が配置される基板より上又は下に第3の基板を位置付けるステップと、を含む。
他の実施形態又は変形例において、器具は、細長いガイドワイヤコアを有するガイドワイヤである。ガイドワイヤは、特に有用な最小侵襲性の医療器具である。
この実施形態の変形例において、光ファイバは、ガイドワイヤコアを形成する。このようにして、医療装置はより安価であり、及び/又は医療器具のサイズが更に低減されることができる。光ファイバは、近位端にセンサデータを送信するために使用されるだけでなく、ガイドワイヤの機械的コア又は支持体としても使用される。
他の実施形態又は変形例において、データ変換装置は、垂直共振器面発光レーザ(VCSEL)、発光ダイオード(LED)又はダイナミックミラー装置(DMD)である。このようにして、安価な及び/又は小さい装置が提供されることができる。VCSELは、特に、第1の基板表面に向けて光信号を送信するのに有用である。
他の実施形態又は変形例において、データ変換装置は、光学信号を電気信号に変換するようにも構成される。このようにして、データ変換装置は、信号を両方向に変換することができる。この場合、光ファイバは、遠位端への及び遠位端からの両方において高速光データリンクを提供する。これは、双方向通信を可能にする。例えば、データ変換装置は、フォトダイオード(例えばVCSELの下にあり又はそれを囲む)を有するVCSELでありうる。例えば、電気信号は、センサを駆動し及び/又は制御するために使用されることができる。
本発明のこれら及び他の見地は、以下記述される実施形態から明らかであり、それらを参照して以下に記述される。
一実施形態による最小侵襲性の医療器具の概略図。 一実施形態による医療器具のセンサ装置の一部の概略断面図。 別の実施形態による医療器具のセンサ装置の一部の概略断面図。 図3のセンサ装置を製造する方法を示す図。 図3のセンサ装置を製造する方法を示す図。 図3のセンサ装置を製造する方法を示す図。 図3のセンサ装置を製造する方法を示す図。 一実施形態による医療器具の概略断面図。 図5の医療器具の遠位端の斜視図。 図5のセンサ装置の、その製造終了時の概略断面図。 別の実施形態による医療器具の概略断面図。 他の実施形態による医療器具の一部の概略断面図。
図1は、一実施形態による最小侵襲性の医療器具100の概略図を示す。最小侵襲性の医療器具100(又は最小侵襲性の医療装置とも呼ばれる)は、近位端100b及び遠位端100a(又は遠位先端部とも呼ばれる)を有する。医療侵襲介入において、遠位端100aは、介入が行われる患者の身体の解剖学的部位に配置される。最小侵襲性の医療器具100は、医療器具の遠位端100aに配置されるセンサ装置10を含む。センサ装置10は、電気センサ信号の形でセンサデータを生成するように構成されるセンサ20を含む。センサ20は、電気センサ信号を送信するセンサ出力部21を有する。センサ装置は、電気センサ信号を光学信号に変換するように構成されるデータ変換装置40を更に有する。データ変換装置40は、センサ20から、特にセンサ出力部21から、電気センサ信号を受け取る電気入力部41を有する。センサ出力部21は、電気接続25を通じてデータ変換装置40の電気入力部41に接続される。データ変換装置40は、光学信号を送信する光出力部42を更に有する。センサ装置10は、遠位端100aから近位端100bへ光学信号を送信するように構成される光ファイバ50、特に光ガラスファイバ、を更に有する。例えば、光ファイバ50の長さは、遠位端100aから近位端100bに達するに十分長い。光ファイバ100は、第1の端部50a及び第2の端部50bを有する。光ファイバ50は、光学信号を受け取るために、データ変換装置40の光出力部42に結合される。より具体的には、光ファイバ50の第1の端部50aが、データ変換装置40の出力部42に結合される。光ファイバ50は、医療器具100の遠位端100aから近位端100bまで延在する。光ファイバ50の第2の端部50bは、医療器具100の近位端100bに配置される。こうして、光ファイバは、医療器具100の遠位端100aから近位端100bまでセンサ20の高データレートのセンサデータを送信するために使用される。これは、医療器具100の遠位端100aから及び/又は遠位端100aへの高速光学データリンクを提供する。1つの光ファイバ50のみが図面に示されているが、任意の数又は複数の光ファイバは、使用されることができる。
図1に示される実施形態において、光ファイバ50の第2の端部50bは、例えば医用イメージングのためにセンサデータ又は電気センサ信号を読み出し及び/又は処理するように構成される信号処理装置120に接続される。例えば、信号処理装置120は、(光ファイバ50から受け取られる)光学信号を電気信号に戻すように変換するように構成されることができる。更に、信号処理装置120は、(例えばアプリケーションによって必要とされる場合)デジタルドメインで電気信号を処理するように構成されることができる。
このような最小侵襲性の医療器具100を製造する対応する方法は、最初に、このようなセンサ装置10を製造するステップを含む。センサ装置10を製造するステップは、センサ20を提供し、データ変換装置40を提供し、光ファイバ50を提供し、データ変換装置40の出力部42に光ファイバ50を結合することを含む。医療器具100を製造する方法は、センサ装置10を医療器具100の遠位端に配置するステップを更に含む。光ファイバ50は、器具100の遠位端100aから近位端100bまで延在する。
この記述において、図に示されるセンサ20は、超音波を送信し及び/又は受信するように構成される超音波トランスデューサであり、特に容量性マイクロマシン加工超音波トランスデューサ(CMUT)である。これは、特に医用イメージングのために、最小侵襲性の装置にとって特に有用なセンサである。超音波トランスデューサは、多量のセンサデータ(ゆえに高データレート)を生成し、これは、高データレート伝送を必要とする。特に、超音波トランスデューサ20は、互いに隣り合わせで配置される複数の超音波トランスデューサセル22、特にCMUTセルを含む。しかしながら、センサは、画像(例えば患者の身体又はその一部)を表すセンサデータを生成する任意の他の種類の医用イメージングセンサでありうることが理解されるであろう。例えば、センサは、カメラ(例えばCCDチップ又はCMOS画像センサチップ)である。医用イメージングセンサは、多量のセンサデータを、ゆえに高データレートを生成し、これは、高データレート伝送を必要とする。しかしながら、概して他のタイプの任意のセンサ、特に高データレートを生成するセンサが、使用されることができることが理解されるであろう。概して、センサは、圧力センサのような低データレートを生成するセンサでありうる。しかしながら、ここに記述される高速光学データリンクは、超音波トランスデューサ又はカメラのような、特に高データレートを生成するセンサに有用である。
図2は、一実施形態による医療器具100、特に図1に関して説明された医療器具のセンサ装置10の一部の概略断面図を示す。センサ装置10は、特に図1に関して説明されたように、センサ(図2には不図示)、データ変換装置40及び光ファイバ50を有する。センサ装置10は、第1の表面30a及び第2の表面30bを有する基板30(例えばシリコンチップ)を更に含む。データ変換装置40は、第1の基板表面30aに配置され又は取り付けられる。図2に示されるこの実施形態において、光ファイバ50は、基板30の孔34に配置されている。孔34は、第2の基板表面30bから第1の基板表面30aへ向けて延在する。孔34は、基板表面30a、30bに対して垂直に配置される。従って、孔34に配置される光ファイバ50もまた、基板表面30a、30bに対して垂直に配置される。孔34は、光ファイバ50の第1の端部50aがデータ変換装置40の出力部42に結合されるように配置される。言い換えると、データ変換装置40は、第1の基板表面30aへ向けて、光ファイバ50の第1の端部50aが位置する領域に、光学信号を送信するように配置される。光ファイバ50の中心が、光出力部から送信される光学信号又は光のすべてを受信するように、第1の端部50a又は孔34が、光出力部42に中心を合わせるように配される。光ファイバの第2の端部50bは、医療器具の近位端100bに配置される。これを示すために、光ファイバは、図2において切断面で示されている。
図2に示されるこの実施形態において、基板は、(例えばシリコンで作られる)ベース層31、及びベース層31上の第1の絶縁層32(例えば酸化シリコンのような酸化物)を有し、第1の絶縁層32が、第1の基板表面30aを形成する。絶縁層32は、電気的に絶縁している。この第1の絶縁層32を使用することによって、ベース層31が導電性又は半導電性であっても、データ変換装置40への電気接続を提供する電気接続部46が、第1の基板30a上に配置されることができる。例えば、ベース層30は、シリコンで作られることができる。この場合、絶縁層は、シリコンを酸化することによって形成されうる酸化シリコンで作られることができる。任意に、基板30は、ベース層31上に第2の絶縁層33を有することができ、第2の絶縁層33は、図2に示されるように第2の基板表面30bを形成する。
図2に示されるこの実施形態において、孔34は、第1の基板表面30aを形成する第1の絶縁層32のところで終端する。従って、孔34は、ブラインド孔である。第1の絶縁層32は、光学的に透明である。例えば、酸化シリコンは、光学的に透明である。第1の絶縁層32は、光ファイバ50からデータ変換装置40の光学出力部42を絶縁するが、光学信号が絶縁層32を通過するに十分薄い。光ファイバ50は、基板30に固定的に接続される。言い換えると、光ファイバ50は、基板30に永続的に取り付けられる。こうして、光ファイバ50は、データ変換装置40の出力部42に永続的に結合される。特に、光学的に透明な接着剤52が、光ファイバ50を基板30に固定的に接続するために使用される。図2から分かるように、孔34の残りの空間、特に基板30(又はその絶縁層32)と光ファイバ50との間の空間は、光学的に透明な接着剤52で充填される。これは、光学結合を改善する。更に、図2から分かるように、光学的に透明なアンダーフィル材48が、データ変換装置40と第1の基板表面30aとの間に、特にデータ変換装置40の光出力部42と第1の基板表面30a(又は光ファイバ50の第1の端部50a)との間に、配置される。これは光学結合をより一層改善する。
この記述において、図に示されるデータ変換装置40は、垂直共振器面発光レーザ(VCSEL)である。VCSEL40は、電気センサ信号を入力する電気入力部を有する。図2において、特にセンサ20からデータ変換装置40への電気接続を提供するための電気接続部46は、ソルダーバンプ47によってVCSEL 40又はその入力部に接続される。VCSEL40は、レーザ光を生成する活性領域44を含む。特に、活性領域44は、第1のミラー(又はブラッグ反射体)と、第2のミラー(又はブラッグ反射体)と、第1及び第2のミラーの間に配置されるレーザキャビティ(又は量子井戸)とを含む。VCSEL40は、光出力部42を更に含む。光出力部42は、第1の基板表面30aに対向する。光出力部42は、生成されたレーザ光を受け取り、光学信号としてそれを送信する又は放出する。VCSEL40は、第1の基板表面30aへ向けて光学信号を送信するのに特に有用である。しかしながら、概して、電気センサ信号を光学信号に変換するように構成される任意の他のタイプのデータ変換装置が使用されることができることが理解される。例えば、データ変換装置は、発光ダイオード(LED)又はダイナミックミラー装置(DMD)でありうる。
データ変換装置40は、(光ファイバ50を通じて送信された)光学信号を、(例えばセンサを駆動する及び/又は制御するための)電気信号に変換するようにも構成されることができる。このようにして、データ変換装置40は、信号を両方向に変換することができる。従って、光ファイバ50は、遠位端100aからの及び遠位端100aへの両方において高速光学データリンクを提供する。これは双方向通信を可能にする。前述したようにデータ変換装置がVCSELである場合、例えば、フォトダイオードは、VCSEL又はその活性領域の下に又はそれを囲んで配置される。
図3は、別の実施形態による医療器具100のセンサ装置10の一部の概略断面図を示す。図3の実施形態は図2の実施形態に基づくので、図2の実施形態についてなされたのと同じ説明が、図3の実施形態にも当てはまる。図3に示される実施形態において、センサ装置10は、付加的に、医療器具100の遠位端100aから近位端100bまで延在する電気ワイヤ60を有する。電気ワイヤ60は、第1の端部60a及び第2の端部60bを含む。第1の端部60aは、センサ装置10に、ゆえに医療器具の遠位端100aに、配置される。第2の端部60bは、医療器具の近位端100bに配置される。これを示すために、電気ワイヤが、図3に切断面で示されている。図3の実施形態において、互いに隣り合って配置される2つの電気ワイヤ60が示される。しかしながら、任意の他の(適切な)数の電気ワイヤが使用されることができる。例えば、電気ワイヤ60は、センサ装置への電力供給のために又は(例えば制御信号の)低速データ伝送のために使用されることができる。
電気ワイヤ60は、基板30のスルーホール63を通じて配置され、スルーホール63は、第1の基板表面30aから第2の基板表面30bまで、又はその逆に延在する。光ファイバ50用の孔34及び電気ワイヤ60用のスルーホール63を提供することによって、基板30に対する光ファイバ50及び電気ワイヤ60の同時接続が、例えば1つの処理ステップの中で容易に提供されることができる。電気ワイヤ60は、導電性コア61及びコア61を囲む絶縁体62を含む。絶縁体62は、導電性コア61を電気的に絶縁する。図3から分かるように、電気ワイヤ60又はコア61は、基板30に固定的に接続される。言い換えると、電気ワイヤ60は、基板30に永続的に取り付けられる。第1の端部60bにおいて、電気ワイヤ60は、絶縁フリーな部分を有する。例えば、図3から分かるように、ハンダ接合部64は、第1の端部60aの電気ワイヤ60又はコア61を固定的に基板30に接続するために使用されることができる。図3から分かるように、その第1の端部60aにおける電気ワイヤ60のコア61は、ハンダ接合部64によって、第1の基板表面30a上の電気接続65に接続される。要するに、図3の実施形態において、光ファイバ50及び電気ワイヤ60は、基板に固定して接続される。光ファイバ50は、光学的に透明な接着剤52によって、固定的に接続され、電気ワイヤ60は、ハンダ接合部又は接続部によって固定的に接続される。
せンサ装置10を製造する方法は、図4a乃至図4dに関して更に詳しく説明される。図4a乃至図4dの各々は、図3のセンサ装置10を製造する方法の異なるステップを示す。センサ装置10の製造は、第1の表面31及び第2の表面30bを有する基板30(例えばシリコンチップ)を提供することから始める。例えば、図4aに示すように、ベース層31(例えばシリコンで作られる)が提供されることができ、例えば酸化シリコンのような酸化物で作られる絶縁層32が、(例えば熱酸化によって)ベース層31に設けられることができる。絶縁層32は、第1の基板表面30aを形成する。センサ20が、第1の基板表面30a上に、より具体的には絶縁層32(図4aには不図示)上に提供されることができる。その後、図4bを参照して、孔34が、(例えばエッチングによって)基板30に設けられ、孔34は、第2の基板表面30bから第1の基板表面30aへ向けて延在する。図4bから分かるように、孔34を設けるステップは、絶縁層32で終わる。この場合、孔34は、第2の基板表面30bから基板ベース層31を通ってエッチングされ、絶縁層32で終了する。図4bに示されるように、更に、スルーホール63が基板30に設けられ、スルーホール63は、第2の基板表面30bから第1の基板表面30aまで延在する。この場合、スルーホール63は、第2の基板表面30bから基板30を貫いてエッチングされる。特に、孔34を設ける(例えばエッチング)ステップ及びスルーホール63を設ける(例えばエッチング)ステップは、1つの処理ステップにおいて実施される。任意には、図4bに示されるように、孔34及びスルーホール63を設ける(例えばエッチングの)とき、サポート層49(例えばポリイミドで作られる)が使用されることができる。
次に、図4cを参照して、データ変換装置40が提供される。データ変換装置40は、第1の基板表面30a上に配置される。この場合、第1の基板表面30a上に配置される電気接続部46に対して電気接続が設けられる。図4dから分かるように、光ファイバ50が提供される。光ファイバ50(又はその第1の端部50a)が、データ変換装置40の光出力部42に結合される。これは、孔34に光ファイバ50を配置することによって行われる。次に、光ファイバ50を基板30に固定的に接続するために、光学的に透明な接着剤52が、孔34の残りの空間に充填される。最後に、電気ワイヤ60(図3を参照)が提供される。電気ワイヤ60が、スルーホール63を通して配置される。電気ワイヤ60を基板30に固定的に接続するために、ハンダ接合部64が、使用されることができる。上述のステップは、任意の他の適切な順序で実施されることもできることが理解されるであろう。
図5は、一実施形態による医療器具100の概略断面図を示し、図5aは、図5の医療器具100の遠位端100aの斜視図を示す。図3を参照して記述されたセンサ装置10の一部が、本実施形態において使用される。従って、以前の実施形態における説明は、図5の実施形態に当てはまる。図5に示される実施形態において、センサ装置10は、電気センサ信号を前処理するように構成される前処理電子回路70を更に有する。従って、前処理は、医療器具100の遠位端100aにおいて行われる。例えば、前処理電子回路70は、電気センサ信号を増幅し及び/又は多重化するように構成されることができる。このようにして、センサ20からの生センサデータ又は信号が、近位端100bに送信される必要はなく、センサデータが前処理されることができる(例えば調整される)。前処理電子回路は、特に、センサ20を制御するために使用される電子回路でありえ、又はかかる電子回路であり、又はその中に組み込まれ、又はその一部でありうる。例えば、前処理電子回路は、特定用途向け集積回路(ASIC)でありうる。前処理電子回路70は、センサ20から電気センサ信号を受け取るための入力部71を含む。特に、前処理電子回路は、センサから電気センサ信号を受け取るための複数の入力ポートを含む。電気接続部25aが、センサ20又はセンサ出力21と、電子回路70又はその入力部71との間に提供される。前処理電子回路70は更に、データ変換装置40に前処理された電気センサ信号を送信するための出力部72を更に有する。電気接続部25bが、電子回路70又はその出力部72と、データ変換装置40又はその入力41との間に提供される。図5の実施形態において(図5a参照)、電気接続部25a、25bは、可撓性の電気接続である。前処理電子回路70は、図1乃至図4を参照して記述された実施形態のいずれかと関連して使用されることもできることが理解されるであろう。
更に、図5の実施形態において、センサ20(この場合、超音波トランスデューサセル22)は、医療器具100の長さ方向L(この場合、近位端100bから遠位端100aに向かう方向に規定される)において、データ変換装置40が配置される第1の基板30より上に位置付けられる第2の基板80に配置される。従って、センサ20及びデータ変換装置40は、2つの別個の基板30、80に配置される。更に、前処理電子回路70は、長さ方向Lにおいて、データ変換装置40が配置される第1の基板30より上に位置付けられる第3の基板90に配置される。従って、ここでも、前処理電子回路70及びデータ変換装置40は、2つの別個の基板30、90に配置される。言い換えると、データ変換装置40、センサ20及び前処理電子回路70の各々は、それぞれ別個の基板に配置される。図5の実施形態において、第3の基板90は、第2の基板80の下であって、第1の基板30と第2の基板80との間に位置付けられる。センサ20を有する第2の基板80は、最適なやり方でセンスし又はセンサデータを生成するために、器具100の最も遠位部分に配置される。
更に、図5の実施形態において、医療器具100は、細長いガイドワイヤコア110(例えばステンレス鋼で作られる)を有するガイドワイヤである。図5aから分かるように、第1の基板30、第2の基板80及び第3の基板90の各々は、ガイドワイヤコア110を囲むディスクである。ガイドワイヤは、ガイドワイヤを囲む(例えば、基板30、80、90を囲む)伸縮自在のシースを更に含むことができる。しかしながら、概して、任意の他の適切な最小侵襲性の医療器具が使用されることができることが理解されるであろう。
図5bは、その製造終了時の図5のセンサ装置10の概略断面図を示す。対応する製造方法は、データ変換装置40が配置される第1の基板30を提供するステップと、センサ20が配置される第2の基板80を提供するステップと、前処理電子回路70が配置される第3の基板90を提供するステップと、を含む。図5bの実施形態において、第1の基板30、第2の基板80及び第3の基板90は、単一の連続する基板から形成される。基板30、80、90は、1つの連続する基板内に別個の孔85、95をエッチングすることによって、互いに分離される。このようにして、基板30、80、90を有するセンサ装置10が、容易に製造されることができる。
センサ装置10が図5bに示されるように製造された後、第2の基板80及び第3の基板90は、長さ方向Lにおいて、第1の基板30より上に(図5又は図5aを参照)に各々位置付けられる。可撓性の電気接続部25a、25bが、それぞれ異なる基板30、80、90上のセンサ20、電子回路70、及びデータ変換装置40の間の電気接続を各々提供する。
図6は、別の実施形態による医療器具100の概略断面図を示す。図6の実施形態は、光ファイバ50がガイドワイヤコア110を形成するという点で図5の実施形態とは異なる。図5のガイドワイヤコア110は、光ファイバ50によって置き換えられている。こうして、光ファイバ50は、近位端にセンサ20(図6において表示されない)のセンサデータを送信するためだけでなく、ガイドワイヤの機械的コア110又は支持体としても使用される。例えば、図6の実施形態において、センサ20は、1又は複数の基板の周囲に、特にガイドワイヤの外周の周りに沿って曲げられて、配置されることができる。
更に、図6の実施形態は、電子回路70を有する第3の基板90が、長さ方向Lにおいて、データ変換装置40を有する第1の基板30の下に位置付けられる点で、図5の実施形態と異なる。光ファイバ50を有する第1の基板30が、医療器具100の最も遠位部分に機械的サポートを提供するために、器具100の最も遠位部分に配置される。
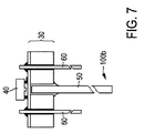
更に、図6の実施形態は、電気ワイヤ60が付加の基板92に配置される点で、図5の実施形態と異なる。従って、データ変換装置40及び電気ワイヤ60は、2つの別個の基板に配置される。付加の基板92は、長さ方向Lにおいて、第1の基板30の下であって且つ第3の基板90の下に位置付けられる。しかしながら、電気ワイヤ60は任意の他の適切なやり方で配置されることもできることが理解されるであろう。例えば、図7は、他の実施形態による医療器具の一部の概略断面図を示す。図7のこの実施形態において、電気ワイヤ60は、データ変換装置40と同じ基板30に配置される。
ガイドワイヤがここに記述されているが、最小侵襲性の医療器具は、任意のタイプの最小侵襲性の医療器具でありうることが理解されるであろう。例えば、最小侵襲性の医療器具は、カテーテル、ガイドワイヤ、腹腔鏡器具又は内視鏡でありうる。最小侵襲性の医療器具は、例えば、10000μm又はそれより小さい直径、特に8000μm又はそれより小さい直径、特に3000μm又はそれより小さい直径、特に1000μm又はそれより小さい直径、特に500μm又はそれより小さい直径、特に300μm又はそれより小さい直径を有することができる。具体的な例としては、腹腔鏡器具は、例えば8mm〜3mmの直径を有することができ、カテーテルは、3mm〜1mmの直径を有することができ、及び/又はガイドワイヤは、0.5mm未満の直径を有することができる。例えば、最小侵襲性の医療器具は、スマート医療器具でありうる。スマート医療器具は、その遠位端においてセンサ及びセンサエレクトロニクス(例えばASIC)を含む。
本発明は、図面及び上述の記述において詳しく図示され記述されるが、このような図示及び記述は、制限的なものではなく、説明的又は例示的なものとして考えられるべきである。本発明は、開示される実施形態に制限されない。開示される実施形態に対する他の変更が、図面、開示及び添付の特許請求の範囲の検討から、請求項に記載の本発明を実施する際に当業者によって理解され達成されることができる。
請求項において、「含む、有する(comprising)」という語は、他の構成要素又はステップを除外せず、不定冠詞「a」又は「an」は、複数性を除外しない。単一の構成要素又は他のユニットが、請求項に列挙されるいくつかのアイテムの機能を果たすことができる。特定の手段が相互に異なる従属請求項に列挙されているという単なる事実は、これらの手段の組み合わせが有利に使用されることができないことを示さない。
請求項における参照符号は、本発明の範囲を制限するものとして解釈されるべきでない。

Claims (14)

  1. 近位端及び遠位端を有する最小侵襲性の医療器具であって、前記医療器具の遠位端に配されるセンサ装置を有し、前記センサ装置が、
    電気センサ信号の形でセンサデータを生成するセンサと、
    前記電気センサ信号を光学信号に変換するデータ変換装置であって、前記電気センサ信号を受け取る電気入力部及び前記光学信号を送信する光出力部を有するデータ変換装置と、
    前記遠位端から前記近位端へ前記光学信号を送信する光ファイバであって、前記光学信号を受け取るために前記データ変換装置の出力部に結合され、前記医療器具の前記遠位端から前記近位端まで延在する光ファイバと、
    を有し、前記医療器具が、細長いガイドワイヤコアを有するガイドワイヤであり、前記光ファイバが前記ガイドワイヤコアを形成する、医療器具。
  2. 前記センサ装置が、第1の基板表面及び第2の基板表面をもつ基板を有し、前記データ変換装置が前記第1の基板表面に配される、請求項1に記載の医療器具。
  3. 前記光ファイバが、前記基板の孔に配され、前記孔は、前記第2の基板表面から前記第1の基板表面に向かって延在する、請求項2に記載の医療器具。
  4. 前記基板は、シリコンで作られたベース層と、前記ベース層上の、酸化シリコンで作られた少なくとも1つの絶縁層と、を有し、前記絶縁層は、少なくとも前記第1の基板表面を形成する、請求項2に記載の医療器具。
  5. 前記孔は、前記第1の基板表面を形成する絶縁層のところで終端する、請求項3又は4に記載の医療器具。
  6. 前記光ファイバが前記基板に固定的に接続される、請求項2に記載の医療器具。
  7. 前記センサ装置が、前記医療器具の前記遠位端から前記近位端まで延在する電気ワイヤを更に有する、請求項1又は2に記載の医療器具。
  8. 前記電気ワイヤが、前記第1の基板表面から前記第2の基板表面まで延在する前記基板内のスルーホールを通じて配される、請求項2を引用する請求項7に記載の医療器具。
  9. 前記センサが第2の基板に配置され、前記第2の基板は、前記医療器具の長さ方向において、前記データ変換装置が配される基板より上又は下に位置付けられる、請求項2に記載の医療器具。
  10. 前記センサ装置が、前記電気センサ信号を前処理する前処理電子回路を有し、前記前処理電子回路が、前記電気センサ信号を受け取る入力部と、前処理された電気センサ信号を前記データ変換装置に送信する出力部と、を有する、請求項1又は2に記載の医療器具。
  11. 前記前処理電子回路が第3の基板に配され、前記第3の基板は、前記医療器具の長さ方向において、前記データ変換装置が配される基板より上又は下に位置付けられる、請求項2を引用する請求項10に記載の医療器具。
  12. 前記データ変換装置が、垂直共振器面発光レーザ(VCSEL)、発光ダイオード(LED)又はダイナミックミラー装置(DMD)である、請求項1に記載の医療器具。
  13. 前記データ変換装置が更に、光学信号を電気信号に変換するように構成される、請求項1に記載の医療器具。
  14. 近位端及び遠位端を有する最小侵襲性の医療器具を製造する方法であって、センサ装置を製造するステップを含み、前記センサ装置を製造するステップが、
    電気センサ信号の形でセンサデータを生成するセンサを提供するステップと、
    電気センサ信号を光学信号に変換するデータ変換装置であって、電気センサ信号を受け取る電気入力部及び光学信号を送信する光出力を有するデータ変換装置を提供するステップと、
    前記遠位端から前記近位端まで光学信号を送信する光ファイバを提供するステップと、
    光学信号を受け取るために、前記光ファイバを前記データ変換装置の出力部に結合するステップと、
    を含み、前記方法が更に、
    前記光ファイバが前記医療器具の前記遠位端から前記近位端まで延在するように及び前記光ファイバが前記医療器具のガイドワイヤコアを形成するように、前記センサ装置を前記医療器具の前記遠位端に配するステップ
    を含む、方法。
JP2015519436A 2012-07-02 2013-06-25 最小侵襲性の医療器具 Expired - Fee Related JP6198822B2 (ja)

Applications Claiming Priority (3)

Application Number Priority Date Filing Date Title
US201261666958P 2012-07-02 2012-07-02
US61/666,958 2012-07-02
PCT/IB2013/055199 WO2014006536A2 (en) 2012-07-02 2013-06-25 Minimally invasive medical instrument

Publications (3)

Publication Number Publication Date
JP2015524285A JP2015524285A (ja) 2015-08-24
JP2015524285A5 JP2015524285A5 (ja) 2016-08-12
JP6198822B2 true JP6198822B2 (ja) 2017-09-20

Family

ID=49226201

Family Applications (1)

Application Number Title Priority Date Filing Date
JP2015519436A Expired - Fee Related JP6198822B2 (ja) 2012-07-02 2013-06-25 最小侵襲性の医療器具

Country Status (5)

Country Link
US (1) US9730636B2 (ja)
EP (1) EP2866673B1 (ja)
JP (1) JP6198822B2 (ja)
CN (1) CN104519804B (ja)
WO (1) WO2014006536A2 (ja)

Families Citing this family (13)

* Cited by examiner, † Cited by third party
Publication number Priority date Publication date Assignee Title
WO2016189679A1 (ja) * 2015-05-27 2016-12-01 オリンパス株式会社 撮像装置および内視鏡
CN109069125B (zh) 2016-02-18 2021-06-01 波士顿科学国际有限公司 具有声波可视化能力的系统
WO2018037551A1 (ja) 2016-08-26 2018-03-01 オリンパス株式会社 内視鏡用光モジュール、内視鏡、および内視鏡用光モジュールの製造方法
EP3586714B1 (en) * 2017-03-08 2024-03-20 Sony Olympus Medical Solutions Inc. Medical device and method for manufacturing medical device
WO2018173261A1 (ja) * 2017-03-24 2018-09-27 オリンパス株式会社 内視鏡および光電複合モジュール
WO2019038930A1 (ja) 2017-08-25 2019-02-28 オリンパス株式会社 内視鏡用光モジュール、内視鏡、および内視鏡用光モジュールの製造方法
WO2019038929A1 (ja) * 2017-08-25 2019-02-28 オリンパス株式会社 内視鏡用光モジュール、内視鏡、および内視鏡用光モジュールの製造方法
EP3456267A1 (en) * 2017-09-14 2019-03-20 Koninklijke Philips N.V. Ultrasound image processing
EP3530178A1 (en) * 2018-02-27 2019-08-28 Koninklijke Philips N.V. A sensor arrangement for mounting on a guidewire or catheter
WO2019207744A1 (ja) * 2018-04-26 2019-10-31 オリンパス株式会社 内視鏡用光モジュール、内視鏡、および内視鏡用光モジュールの製造方法
WO2019224942A1 (ja) * 2018-05-23 2019-11-28 オリンパス株式会社 内視鏡用光モジュール、内視鏡、および内視鏡用光モジュールの製造方法
TWM576855U (zh) * 2018-12-12 2019-04-21 榮晶生物科技股份有限公司 Endoscope device and its cable assembly
CN116419706A (zh) * 2020-09-25 2023-07-11 波士顿科学国际有限公司 医学成像装置

Family Cites Families (21)

* Cited by examiner, † Cited by third party
Publication number Priority date Publication date Assignee Title
US6485413B1 (en) * 1991-04-29 2002-11-26 The General Hospital Corporation Methods and apparatus for forward-directed optical scanning instruments
US6134003A (en) * 1991-04-29 2000-10-17 Massachusetts Institute Of Technology Method and apparatus for performing optical measurements using a fiber optic imaging guidewire, catheter or endoscope
US5377388A (en) 1993-12-27 1995-01-03 Decor Concepts, Inc. Safety cap
JPH09122121A (ja) * 1995-10-30 1997-05-13 Omron Corp 生体内超音波強度モニタ装置、生体内結石破砕治療装置、超音波温熱治療装置、及び体内挿入器具姿勢検出装置
JP2001515382A (ja) * 1997-03-06 2001-09-18 マサチューセッツ インスティチュート オブ テクノロジー 生体組織の光学走査用機器
US20040034311A1 (en) * 2000-05-19 2004-02-19 Albert Mihalcik Guidewire with viewing capability
US7992573B2 (en) * 2001-06-19 2011-08-09 The Trustees Of The University Of Pennsylvania Optically guided system for precise placement of a medical catheter in a patient
US6798954B2 (en) 2001-07-24 2004-09-28 3M Innovative Properties Company Packaged optical micro-mechanical device
JP2003210461A (ja) * 2002-01-22 2003-07-29 Hitachi Cable Ltd 超音波内視鏡用プローブケーブル
US7481793B2 (en) * 2003-12-10 2009-01-27 Boston Scientic Scimed, Inc. Modular steerable sheath catheters
US6952530B2 (en) 2003-12-19 2005-10-04 The Aerospace Corporation Integrated glass ceramic systems
US7559925B2 (en) 2006-09-15 2009-07-14 Acclarent Inc. Methods and devices for facilitating visualization in a surgical environment
CN101128151A (zh) * 2004-11-02 2008-02-20 宾夕法尼亚大学受托人 用于在病人体内精确放置医用导管的光学引导系统
JP2007260066A (ja) * 2006-03-28 2007-10-11 Pentax Corp 内視鏡装置
US20070286231A1 (en) * 2006-05-29 2007-12-13 Pentax Corporation Optical signal transmitting and receiving apparatus
US8934741B2 (en) 2007-11-16 2015-01-13 Brphotonics Produtos Optoelectronicos LTDA Integrated circuit with optical data communication
US20110144502A1 (en) * 2009-12-15 2011-06-16 Tea Time Partners, L.P. Imaging guidewire
JP2012069882A (ja) 2010-09-27 2012-04-05 Panasonic Corp 光モジュール
JP5704878B2 (ja) 2010-09-30 2015-04-22 オリンパス株式会社 光電気変換コネクタ、光伝送モジュール、撮像装置および内視鏡
JP2013202120A (ja) * 2012-03-27 2013-10-07 Asahi Intecc Co Ltd ガイドワイヤ
EP2856098B1 (en) * 2012-05-25 2019-10-16 Vascular Imaging Corporation Optical fiber pressure sensor

Also Published As

Publication number Publication date
US9730636B2 (en) 2017-08-15
CN104519804B (zh) 2018-01-30
WO2014006536A2 (en) 2014-01-09
US20150342530A1 (en) 2015-12-03
WO2014006536A3 (en) 2014-03-13
EP2866673A2 (en) 2015-05-06
CN104519804A (zh) 2015-04-15
JP2015524285A (ja) 2015-08-24
EP2866673B1 (en) 2020-03-18

Similar Documents

Publication Publication Date Title
JP6198822B2 (ja) 最小侵襲性の医療器具
US9762329B2 (en) Optical transmission module and imaging device
US11576649B2 (en) Rotational intravascular ultrasound probe with an active spinning element
JP6334561B2 (ja) 血管内超音波画像化装置、インターフェースアーキテクチャ、および製造方法
JP5657673B2 (ja) 小径ビデオカメラヘッドおよび可視化プローブおよびそれらを組み込んだ医療機器
US8696600B2 (en) Medical guide wire assembly
JP2006166985A (ja) 体腔内診断用超音波プローブ、および体腔内診断用超音波プローブの作製方法
JP6724001B2 (ja) 内視鏡システム
US20130261467A1 (en) Method for forming an ultrasound device, and associated apparatus
JP2015524285A5 (ja)
CN109922737A (zh) 无线管腔内成像设备和相关联的设备、系统和方法
CN115316940A (zh) 利用光束成形的透明超声换能器及其组装方法
JP5666873B2 (ja) 超音波診断装置
WO2015045615A1 (ja) 撮像モジュールおよび内視鏡装置
EP3788937A1 (en) Sensor arrangement, imaging device, medical device and method of operating a sensor arrangement
JP2010042042A (ja) 超音波診断装置
CN120131075B (zh) 超声成像系统及设备
JP4373690B2 (ja) 固体撮像素子、電子内視鏡
JP2016101317A (ja) 音響プローブ
US20210257400A1 (en) Image pickup apparatus for endoscope and endoscope
JP4303008B2 (ja) 固体撮像素子、電子内視鏡
JP2003210461A (ja) 超音波内視鏡用プローブケーブル
JP4394361B2 (ja) 固体撮像素子、電子内視鏡
EP3788938A1 (en) Sensor arrangement for an endoscope, endoscope, and method of operating a sensor arrangement
WO2023053954A1 (ja) 光送信モジュールおよび内視鏡

Legal Events

Date Code Title Description
A521 Request for written amendment filed

Free format text: JAPANESE INTERMEDIATE CODE: A523

Effective date: 20160621

A621 Written request for application examination

Free format text: JAPANESE INTERMEDIATE CODE: A621

Effective date: 20160621

A977 Report on retrieval

Free format text: JAPANESE INTERMEDIATE CODE: A971007

Effective date: 20170131

RD04 Notification of resignation of power of attorney

Free format text: JAPANESE INTERMEDIATE CODE: A7424

Effective date: 20170214

A131 Notification of reasons for refusal

Free format text: JAPANESE INTERMEDIATE CODE: A131

Effective date: 20170221

A521 Request for written amendment filed

Free format text: JAPANESE INTERMEDIATE CODE: A523

Effective date: 20170519

TRDD Decision of grant or rejection written
A01 Written decision to grant a patent or to grant a registration (utility model)

Free format text: JAPANESE INTERMEDIATE CODE: A01

Effective date: 20170817

A61 First payment of annual fees (during grant procedure)

Free format text: JAPANESE INTERMEDIATE CODE: A61

Effective date: 20170822

R150 Certificate of patent or registration of utility model

Ref document number: 6198822

Country of ref document: JP

Free format text: JAPANESE INTERMEDIATE CODE: R150

R250 Receipt of annual fees

Free format text: JAPANESE INTERMEDIATE CODE: R250

R250 Receipt of annual fees

Free format text: JAPANESE INTERMEDIATE CODE: R250

LAPS Cancellation because of no payment of annual fees