JP6164035B2 - ハードディスクドライブ搭載装置及び情報処理装置 - Google Patents

ハードディスクドライブ搭載装置及び情報処理装置 Download PDF

Info

Publication number
JP6164035B2
JP6164035B2 JP2013212888A JP2013212888A JP6164035B2 JP 6164035 B2 JP6164035 B2 JP 6164035B2 JP 2013212888 A JP2013212888 A JP 2013212888A JP 2013212888 A JP2013212888 A JP 2013212888A JP 6164035 B2 JP6164035 B2 JP 6164035B2
Authority
JP
Japan
Prior art keywords
hard disk
disk drive
guide
guide pin
groove
Prior art date
Legal status (The legal status is an assumption and is not a legal conclusion. Google has not performed a legal analysis and makes no representation as to the accuracy of the status listed.)
Expired - Fee Related
Application number
JP2013212888A
Other languages
English (en)
Other versions
JP2015076113A (ja
Inventor
孝志 齊藤
孝志 齊藤
Current Assignee (The listed assignees may be inaccurate. Google has not performed a legal analysis and makes no representation or warranty as to the accuracy of the list.)
Fujitsu Ltd
Original Assignee
Fujitsu Ltd
Priority date (The priority date is an assumption and is not a legal conclusion. Google has not performed a legal analysis and makes no representation as to the accuracy of the date listed.)
Filing date
Publication date
Application filed by Fujitsu Ltd filed Critical Fujitsu Ltd
Priority to JP2013212888A priority Critical patent/JP6164035B2/ja
Priority to US14/508,064 priority patent/US20150103482A1/en
Publication of JP2015076113A publication Critical patent/JP2015076113A/ja
Application granted granted Critical
Publication of JP6164035B2 publication Critical patent/JP6164035B2/ja
Expired - Fee Related legal-status Critical Current
Anticipated expiration legal-status Critical

Links

Images

Classifications

    • GPHYSICS
    • G11INFORMATION STORAGE
    • G11BINFORMATION STORAGE BASED ON RELATIVE MOVEMENT BETWEEN RECORD CARRIER AND TRANSDUCER
    • G11B33/00Constructional parts, details or accessories not provided for in the other groups of this subclass
    • G11B33/12Disposition of constructional parts in the apparatus, e.g. of power supply, of modules
    • G11B33/125Disposition of constructional parts in the apparatus, e.g. of power supply, of modules the apparatus comprising a plurality of recording/reproducing devices, e.g. modular arrangements, arrays of disc drives
    • G11B33/127Mounting arrangements of constructional parts onto a chassis
    • G11B33/128Mounting arrangements of constructional parts onto a chassis of the plurality of recording/reproducing devices, e.g. disk drives, onto a chassis

Landscapes

  • Engineering & Computer Science (AREA)
  • Cooling Or The Like Of Electrical Apparatus (AREA)
  • Microelectronics & Electronic Packaging (AREA)
  • Computer Hardware Design (AREA)
  • General Engineering & Computer Science (AREA)

Description

本出願はハードディスクドライブ搭載装置、及びこのハードディスクドライブ搭載装置を組み込んだ情報処理装置に関する。
近年、データセンタ等に設置されるサーバ装置やストレージ装置は、大量のデータ処理を行なっており、データを記憶するためのハードディスクドライブを数多く実装している。それら装置に搭載されているハードディスクドライブは接続コネクタの構造上、コネクタを接続・抜去するにはユニットを長手方向(水平方向)に挿抜する必要がある。
そのため、図1Aに示す情報処理装置であるサーバ搭載ラック50のように、ハードディスクドライブの保守・増設作業を容易に行なうために、通常ハードディスクドライブはレール及びイジェクタを一体化したユニット構造となっている。そして、サーバ搭載ラック50の前面側からハードディスクドライブを着脱する構造となっているものが一般的である。図1Aに示されるサーバ搭載ラック50では、複数のハードディスクドライブを搭載するラックマウントサーバ装置10が何段にも渡って積み重ねられている。そして、ハードディスクドライブ1の交換時には図1Bに示すように、ハードディスクドライブ1がサーバ搭載ラック50から引き出されたラックマウントサーバ装置10から取り出される。
ラックマウントサーバ装置10の前面と背面はアクセスが容易なエリアAEであり、側面はアクセスが困難なエリアADである。ラックマウントサーバ装置10には、複数のハードディスクドライブ1を縦横方向に並べて収容する前面シェルフ10Sがあり、その後方にファン2、CPU3,メモリ4や拡張PCIボード5等が配置されている。ハードディスクドライブ1の側面には固定/挿抜用フレーム1Fが設けられており、この固定/挿抜用フレーム1Fを利用してハードディスクドライブ1は前面シェルフ10Sに収容される。
図2Aは、図1Bに示したラックマウントサーバ装置10のハードディスク搭載部である前面シェルフ10Sから1つのハードディスクドライブ1を抜き出す様子を示すものであり、図2Bは図2Aを側面から見た状態を示している。ハードディスクドライブ1の前面には着脱用部材1Uが設けられており、ハードディスクドライブ1をラックマウントサーバ装置10の前面シェルフ10Sから取り出す際には着脱用部材1Uを使用する。前面シェルフ10Sの壁面にはハードディスクドライブ1を取り付けるためのガイド11があり、ハードディスクドライブ1はガイド11に沿って接続/抜去が可能である。
着脱用部材1Uを使用してハードディスクドライブ1を前面シェルフ10Sから引き出すと、前面シェルフ10Sの背面側に設けられたバックプレーン(回路基板)33にある接続コネクタ33Cとハードディスクドライブ1のコネクタ1Cとの接続が外れる。このように、ハードディスクドライブ1を前面シェルフ10Sから取り出す際に使用する着脱用部材1Uについては、類似の構成が特許文献1に開示されている。
一方、今後も更なるデータ容量の増加が予想され、より大容量のハードディスクドライブを搭載した装置が必要となる。ところが、図1Bに示したようなハードディスクドライブ1を前面シェルフ10Sにしか搭載しないラックマウントサーバ装置10は、装置前面にある前面シェルフ10Sのスペースが、装置全体のサイズに比べて小さい。このため、どうしてもラックマウントサーバ装置10に搭載できるハードディスクドライブの台数が限られてくる。
そのため、ハードディスクドライブの搭載密度を上げるには、ラックマウントサーバ装置10の前方のみではなく、ラックマウントサーバ装置10の中央部にもハードディスクドライブ1を搭載することが考えられる。図3Aは前面シェルフ10Sの後方のラックマウントサーバ装置10の中央部にハードディスクドライブ1を搭載した例を示すものである。
このように、ラックマウントサーバ装置10の中央部にもハードディスクドライブ1を搭載した場合、保守・増設作業時には、図3Bに示すように、ハードディスクドライブ1を水平方向に移動してコネクタの抜去をしてから上方へ取り外す必要がある。逆に、ハードディスクドライブ1の取付け時には、ハードディスクドライブ1を上方から挿入してから水平方向に移動してコネクタの接続を行なう必要がある。
その結果、保守・増設時の作業性を維持したままハードディスクドライブ1を取り出す場合には、前述の着脱用部材1U等でハードディスクドライブ1の接続を解除した後、ハードディスクドライブ1をガイド11より前方に引き出し切った後に上方へ取り出すことになる。このため、ラックマウントサーバ装置10の中央部に、ハードディスクドライブ1の増設・保守作業エリアMA(作業スペース)を確保しなければならず、ハードディスクドライブ1の実装密度が低下してしまうという問題がある。
そこで、図4A、図4Bに示すように、ハードディスクドライブ1を取付金具13とネジ15で基板17上のブラケット14に固定し、ハードディスクドライブ1とラックマウントサーバ装置10との接続をケーブル12で行う構造が考えられた。この構造では、ハードディスクドライブ1を水平方向に移動させず、ケーブルコネクタ12Cをハードディスクドライブ1のコネクタ1Cから外せば、ハードディスクドライブ1を開口部16から上方へ直接引き出すことができ、増設・保守作業エリアMAを小さくできる。
特表2002−503376号公報
しかしながら、ケーブルを使用する接続構造の場合、ハードディスクドライブの実装密度は改善できるが、保守・増設時の作業性が著しく低下してしまうという課題がある。更に、装置稼動状態での作業の場合は通電状態での作業となる為、安全面や機能的な保護等が必要となり、余分な機構が必要となる事から、結局、実装密度の低下を招き、さらにコストアップの要因ともなる。
ところで、図4Aに示した構造をとった場合、ハードディスクドライブ1の周囲に増設・保守作業エリアMAが確保でき、ハードディスクドライブ1側及び筐体10A側に着脱及び固定用の機構部品(取付金具13、ブラケット14等)が配置される。一方、ハードディスクドライブ1は発熱する為、冷却風CAを流して冷却する必要がある。しかし、増設・保守作業エリアMAが装置中央部にあると、図5A、図5Bに示すように、冷却風CAがその空間に流れてしまい、ハードディスクドライブ1の内部が冷却され難いという課題がある。又、着脱用の取付金具13、ブラケット14が障害物となり、ハードディスクドライブ1に冷却風CAが当たりづらくなる事による冷却性能の低下や、冷却風CAを正しく流す為の整流用機構を設ける為に、さらなる部品追加が必要となり、コストアップの要因となる。
また、図6Aに示すようなサイズのラックマウントサーバ装置20では、前面シェルフ20Sに複数のハードディスクドライブ1が積み重ねられ、筐体20Aの中央部にマザーボード6が設けられている。そして、マザーボード6の上にはヒートシンク3Hを備えたCPU3、メモリ4、拡張PCIボード5等が実装されており、ヒートシンク3Hを備えたCPU3やメモリ4等の背の低い部品の上方には部品のない未使用エリアSPがあった。このような場合、図6Bに示すように、未使用エリアSPに冷却ダクト7を設けて冷却風CAが効率良くヒートシンク3Hを備えたCPU3やメモリ4を冷却することが行われるが、未使用エリアSPが無駄なスペースとなっていた。
1つの側面では、本出願は、装置筐体の上方向よりハードディスクドライブの挿抜作業な可能なハードディスクドライブ着脱機構を設けたハードディスクドライブ搭載装置の提供を目的とする。また、このようなハードディスクドライブ搭載装置を複数積み重ねて形成される情報処理装置の提供も目的とする。
実施形態の一観点によれば、両側面にガイドピンが突設されたガイドピン付のハードディスクドライブが交換可能に搭載されるラックマウント型のハードディスクドライブ搭載装置であって、ハードディスクドライブ搭載装置の筐体内のハードディスクドライブの搭載エリアに、1つのハードディスクドライブの搭載部分毎に、搭載部分に対してハードディスクドライブを独立に着脱できるハードディスクドライブ着脱機構が設けられており、ハードディスクドライブ着脱機構が、ガイドピンを受け入れるガイド溝を備えた固定レールと、固定レールに対して移動可能に重なり、ガイド溝に入った前記ガイドピンをガイドピン駆動溝によって移動させる移動レールとを備え、ガイド溝にガイドピンが挿入された時に、固定レールの一端側に移動レールを移動させると搭載部分にハードディスクドライブが搭載され、搭載部分にハードディスクドライブが搭載された状態で固定レールの他端側に移動レールを移動させると、搭載部分からハードディスクドライブが取り出せる状態になるハードディスクドライブ搭載装置が提供される。
また、実施形態の他の観点によれば、両側面にガイドピンが突設されたガイドピン付のハードディスクドライブ及び前面に着脱用部材を有するガイドピン無しのハードディスクドライブが交換可能に搭載されるラックマウント型のハードディスクドライブ搭載装置であって、ハードディスクドライブ搭載装置の筐体内に、ガイドピン付のハードディスクドライブを搭載する第1の搭載エリアと、ガイドピン無しのハードディスクドライブを搭載する第2の搭載エリアとを備え、第2の搭載エリアが筐体の前面側に設けられ、第1の搭載エリアが第2の搭載エリアよりも背面側に設けられ、第1の搭載エリアには、1つのガイドピン付のハードディスクドライブの搭載部分毎に、搭載部分に対してガイドピン付のハードディスクドライブを独立に着脱できるハードディスクドライブ着脱機構が設けられ、ハードディスクドライブ着脱機構が、ガイドピンを受け入れるガイド溝を備えた固定レールと、固定レールに対して移動可能に重なり、ガイド溝に入ったガイドピンをガイドピン駆動溝によって移動させる移動レールとを備え、ガイド溝にガイドピンが挿入された時に固定レールの一端側に移動レールを移動させると、搭載部分にガイドピン付のハードディスクドライブが搭載され、搭載部分にハードディスクドライブが搭載された状態で固定レールの他端側に移動レールを移動させると、搭載部分からガイドピン付のハードディスクドライブが取り出せる状態になるハードディスクドライブ搭載装置が提供される。
図1Aは複数のラックマウントサーバ装置を搭載するサーバ搭載ラックの関連技術における構造を示す部分斜視図である。 図1Bは図1Aに示したサーバ搭載ラックから取り出した1つのラックマウントサーバ装置と、このラックマウントサーバ装置のハードディスク搭載部から取り出したハードディスクドライブを示す斜視図である。 図2Aは図1Bに示したラックマウントサーバ装置の前面セルから1つのハードディスクドライブを抜き出す様子を示す部分平面図である。 図2Bは図2Aの側面図である。 図3Aは図1Aに示したサーバ搭載ラックから取り出した1つのラックマウントサーバ装置におけるハードディスクドライブの増設・保守作業エリアを示す部分平面図である。 図3Bは図3Aに示したラックマウントサーバ装置から取り出す又は挿入する1つのハードディスクドライブを、増設・保守作業エリアにおいて取り外す又は挿入する動作を説明する説明図である。 図4Aは図1Bに示したラックマウントサーバ装置のハードディスク搭載部においてハードディスクドライブとラック側のコネクタとを接続する別の関連技術の接続構造を示す部分平面図である。 図4Bは図4Aに示したハードディスクドライブの増設・保守作業エリアからハードディスクドライブを垂直方向に取り出す様子を示す側面図である。 図5Aは図4Aに示したラックマウントサーバ装置のハードディスク搭載部の中を冷却風が流れる様子を示す平面図である。 図5Bは図5Aに示したハードディスクユニットの中を冷却風が流れる様子を示す側面図である。 図6Aは図1Bに示したラックマウントサーバ装置の内部の未使用エリアを示すラックマウントサーバ装置の側面図である。 図6Bは図6Aに示した未使用エリアに冷却ダクトが設けられている状態を示す側面図である。 図7Aは本出願のラックマウントサーバ装置に搭載するハードディスクドライブの構造を示す斜視図である。 図7Bは本出願の第1の実施例のラックマウントサーバ装置から1つのハードディスクドライブを取り出す様子を説明する斜視図である。 図8Aは図7Bに示した本出願の第1の実施例のラックマウントサーバ装置に設けられた1つのハードディスクドライブ着脱機構の構造を示す組立斜視図である。 図8Bは図7Bに示した本出願の第1の実施例のラックマウントサーバ装置に設けられたハードディスクドライブ着脱機構の、ハードディスクドライブが無い状態の構造を示す部分斜視図である。 図9Aはハードディスクドライブに突設したガイドピンと、本出願の第1の実施例のラックマウントサーバ装置の固定レールと移動レールとの関係を説明する組立斜視図である。 図9Bは移動レールに取り付けられたレバーが開いている状態から閉じた状態まで移動した時の固定レールに対する移動レールの動作を説明する遷移図である。 図9Cは移動レールに取り付けられたレバーが閉じている状態から開いた状態まで移動した時の固定レールに対する移動レールの動作を説明する遷移図である。 図10Aは図9Aに示したハードディスクドライブのガイドピンが、レバーが開いた状態のラックマウントサーバ装置の固定レールのガイド溝に挿入された状態を示すハードディスクドライブ着脱機構の側面図である。 図10Bは図10Aに示したラックマウントサーバ装置のA−A線における断面図である。 図10Cは図10Aに示した状態から、ハードディスクドライブのガイドピンが固定レールのガイド溝の垂直部の底面まで達した状態を示すハードディスクドライブ着脱機構の側面図である。 図10Dは図10Cに示した状態から、ハードディスクドライブのガイドピンが固定レールのガイド溝の水平部を移動している状態を示すハードディスクドライブ着脱機構の側面図である。 図10Eは図10Dに示した状態から、ハードディスクドライブのガイドピンが固定レールのガイド溝の水平部の端部まで移動し終えた状態を示すハードディスクドライブ着脱機構の側面図である。 図10Fは図10Eに示したラックマウントサーバ装置のB−B線における断面図である。 図11Aは、図10Eに示した状態からレバーを引き上げる時の固定レール、移動レール及びハードディスクドライブのガイドピンの動作を示すハードディスクドライブ着脱機構の側面図である。 図11Bは図11Aの状態からレバーが更に引き上げられ、ハードディスクドライブのガイドピンが固定レールのガイド溝の水平部と垂直部の交差部まで移動した状態を示すハードディスクドライブ着脱機構の側面図である。 図11Cは図11Bに示した状態からレバーが更に引き上げられ、ハードディスクドライブのガイドピンが固定レールのガイド溝の垂直部を移動している状態を示すハードディスクドライブ着脱機構の側面図である。 図11Dは図11Cに示した状態からレバーが更に引き上げられ、レバーが完全に開いた状態を示すハードディスクドライブ着脱機構の側面図である。 図12Aは図7Bに示した本出願のハードディスクドライブ着脱機構を備えた第1の実施例のラックマウントサーバ装置における冷却風の流れを示す部分平面図である。 図12Bは図12Aに示したラックマウントサーバ装置における冷却風の流れを側面側から見た側面図である。 図13Aは、図7Bに示したラックマウントサーバ装置の上に保守用カバーが取り付けられたラックマウントサーバ装置が、サーバ搭載ラックに搭載された状態を示す斜視図である。 図13Bは図13Aに示したラックマウントサーバ装置がサーバ搭載ラックから引き出され、保守用カバーが外された状態を示す斜視図である。 図13Cは図13Aに示したラックマウントサーバ装置を側面から見た側面図である。 図14Aはサーバ搭載ラックに搭載された本出願の第2の実施例のラックマウントサーバ装置を示す斜視図である。 図14Bは図14Aに示したラックマウントサーバ装置を側面から見た側面図である。 図15Aは、サーバ搭載ラックに搭載可能な第2の実施例の変形例のラックマウントサーバ装置を示す斜視図である。 図15Bは図15Aに示したラックマウントサーバ装置内を流れる冷却風の状態を説明する側面図である。 図16Aは本出願の第1の実施例のラックマウントサーバ装置に搭載される別の構造のハードディスクドライブ着脱機構を示す側面図である。 図16Bは図16Aの状態からレバーが引き上げられた時の、固定レール、移動レール及びハードディスクドライブのガイドピンの状態を示すハードディスクドライブ着脱機構の側面図である。 図16Cは図16Bの状態からレバーが更に引き上げられて完全に開いた時の、固定レール、移動レール及びハードディスクドライブのガイドピンの状態を示すハードディスクドライブ着脱機構の側面図である。 図17Aは本出願のラックマウントサーバ装置に設けられる更に別の構造を備えたハードディスクドライブ着脱機構の斜視図である。 図17Bは本出願の更に別の構造を備えたハードディスクドライブ着脱機構の引出しロッドに指を掛けて移動レールを引き出す状態を示すハードディスクドライブ着脱機構の側面図である。 図17Cは図17Bの状態から引出しロッドが更に引っ張られた時の、固定レール、移動レール及びハードディスクドライブのガイドピンの状態を示すハードディスクドライブ着脱機構の側面図である。 図17Dは図17Cの状態から引出しロッドが、最大引出し位置まで引き出された時の、固定レール、移動レール及びハードディスクドライブのガイドピンの状態を示すハードディスクドライブ着脱機構の側面図である。 図18はサーバ搭載ラックに搭載された本出願のハードディスクドライブ着脱機構を備えたラックマウントサーバ装置から、1つのハードディスクドライブを活性交換する場合の交換手順を、比較技術における交換手順と比較して示すフロー図である。
以下、添付図面を用いて本出願に係るハードディスクドライブ搭載装置の実施の形態を、具体的な実施例に基づいて詳細に説明する。なお、以下に説明する実施例ではハードディスクドライブ(HDD)を説明するが、ハードディスクドライブと同様の形状を持つ装置であれば、本機構は適用可能である。例えば、光ディスク装置やシリコンディスクと呼ばれるSSD(ソリッドステートドライブ:固体型ドライブ)にも適用が可能である。
図7Aは本出願のハードディスクドライブ搭載装置に搭載するハードディスクドライブ8の構造を示すものである。本出願のハードディスクドライブ搭載装置に搭載するハードディスクドライブ8は、両側面にガイドピン8Pが2本ずつ突設され、両側面に隣接する一方の端部にコネクタ8Cが設けられたものである。
図7Bは、ラックマウントサーバ装置から引き出されたハードディスクドライブ搭載装置である本出願の第1の実施例のラックマウントサーバ装置10から、1つのハードディスク8を取り出す様子を示すものである。第1の実施例のラックマウントサーバ装置10の筐体10Aは1Uサイズの高さを備えており、高さ方向に1つのハードディスクドライブを収容することができる。ラックマウントサーバ装置10にはハードディスクドライブの搭載エリアHAがあり、この搭載エリアHAに複数のハードディスクドライブ8が縦横方向に並んで搭載されている。第1の実施例のラックマウントサーバ装置10には、ハードディスクドライブ着脱機構30が、ラックマウントサーバ装置10に搭載するハードディスクドライブ8の数と同数だけ設けられている。ハードディスクドライブ着脱機構30には操作レバー34があり、この操作レバー34を持ち上げるとハードディスクドライブ8が搭載エリアHAから取り出される。
図8Aは、図7Bに示した本出願の第1の実施例のラックマウントサーバ装置10に設けられている1つのハードディスクドライブ着脱機構30の構造を示すものである。ハードディスクドライブ着脱機構30には、2枚の固定レール31と移動レール32、回路基板33及び操作レバー34を備えている。2枚の固定レール31は平行に配置されており、回路基板33は、固定レール31の各個の一方の端部の間に設けられており、ハードディスクドライブ8に接続する接続コネクタ33Cを備えている。
固定レール31の両側には、移動レール32を摺動させるためのスライドガイド31Gが設けられている。よって、移動レール32は、固定レール31のスライドガイド31Gで挟まれた空間内を、回路基板33に対して離れる方向或いは近づく方向に摺動可能である。移動レール32は、固定レール31の両側に設けることができる。2枚の固定レール31には夫々ハードディスクドライブ8にあるガイドピン8Pの位置に対応するガイド溝35がある。ガイド溝35は、ハードディスクドライブ8の搭載時にガイドピン8Pを受け入れる垂直溝35Vと、垂直溝35V内のガイドピン8Pを回路基板33側に移動させる水平溝35Hとを備えている。
垂直溝35Vの深さは、ガイドピン8Pが垂直溝35Vの底部に達した時に、ハードディスクドライブ8に設けられたコネクタ8Cが、回路基板33に設けられた接続コネクタ33Cと水平位置において一致する深さである。また、水平溝35Hの長さは、ガイドピン8Pが水平溝35Hの最奥部まで移動した時に、ハードディスクドライブ8に設けられたコネクタ8Cが回路基板33に設けられた接続コネクタ33Cに接続される長さである。
一方、2枚の移動レール32には夫々、ガイドピン駆動溝36がガイド溝35と同じ間隔で設けられている。ガイドピン駆動溝36は、回路基板33に近い側に斜面部36S、遠い側に垂直部36Vを備えている。移動レール32が固定レール31に設けられたスライドガイド31Gの間に摺動可能に嵌め込まれると、移動レール32の摺動時に、斜面部36S又は垂直部36Vの何れかがガイド溝35に重なる。
また、ハードディスクドライブ着脱機構30には、固定レール31に対して移動レール32を移動させることができる移動レール駆動部材である操作レバー34が設けられている。操作レバー34は、2本の長棒34A、2本の短棒34B及び1本の連絡棒34Cを備えた略U字状をしている。長棒34Aは固定レール31と同程度の長さを備え、短棒34Bは長棒34Aに対して回路基板33側の端部に所定角度で接続され、連絡棒34Cは2本の長棒34Aの他方の端部を接続している。長棒34Aと短棒34Bの接続部には軸孔34Hがあり、長棒34Aと短棒34Bの接続部は、軸孔34Hに挿通されるピン37によって固定レール31の回路基板33側の端部に回転可能に接続される。また、短棒34Bの自由端部には長孔34Lがあり、移動レール32の回路基板33側の端部に設けられた軸孔32Hに挿通されたピン38がこの長孔34Lに挿入される。
操作レバー34がこのように固定レール31と移動レール32に連結された状態では、操作レバー34の長棒34Aを固定レール31に対して回転させると、短棒34Bによって移動レール32が固定レール31に対して移動する。そして、ハードディスクドライブ8がハードディスクドライブ着脱機構30の中に搭載された状態では、連絡棒34Cが固定レール31の他方の端部の位置に移動して、操作レバー34が閉じた状態となる。図8Bは、図7Bに示した本出願の第1の実施例のラックマウントサーバ装置10に設けられたハードディスクドライブ着脱機構30の中にハードディスクドライブ8が無い状態を示すものであり、操作レバー34の移動範囲を示している。
図9Aは、ハードディスクドライブ8に突設されたガイドピン8Pと、ラックマウントサーバ装置10に設けられたハードディスクドライブ着脱機構30の固定レール31と移動レール32との関係を説明するものである。移動レール32は固定レール31に設けられたスライドガイド31Gの間に挿入される。そして、ハードディスクドライブ8をハードディスクドライブ着脱機構30に取り付ける場合は、ガイドピン8Pが固定レール31に設けられたガイド溝35に挿入される。
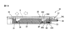
ここで、ハードディスクドライブ着脱機構30にハードディスクドライブ8を搭載する時のハードディスクドライブ着脱機構30の動作を、図9Bと、図10Aから図10Fを用いて説明する。ハードディスクドライブ8がハードディスクドライブ着脱機構30に搭載されていない状態では、図10A及び図9Bの一番上の図に示すように、操作レバー34は固定レール31から立ち上った状態(開いた状態)にある。そして、移動レール32は回路基板33から最も遠い位置に移動した位置にある。この状態では、ガイドピン駆動溝36の斜面部36Sは、ガイド溝35の垂直溝35Vに重なっている。
ハードディスクドライブ着脱機構30の中にハードディスクドライブ8が搭載され、ガイドピン8Pが垂直溝35V内に挿入されると、ガイドピン8Pは、図10A,図10Bに示すように、垂直溝35V内でガイドピン駆動溝36の斜面部36Sに当接して止まる。図10Bは図10AのA−A線における断面を示している。この状態で操作レバー34を倒して回転させ、移動レール32を回路基板33側に移動させると、図10Aに示す斜面部36Sが垂直溝35Vに重なった状態では、斜面部36Sがガイドピン8Pを保持しながら垂直溝35V内で降下させる。
操作レバー34を更に回転させるとガイドピン8Pが垂直溝35Vの最下部まで移動し、図10Cに示す状態となる。この状態は、図9Bの2番目の図にも示すように、斜面部36Sが水平溝35Hに重なった状態である。図10Cに示す状態から操作レバー34を更に回転させると、図9Bの3番目の図に示すように、ガイドピン駆動溝36の垂直部36Vが垂直溝35Vの中に移動する。この後は、図10Dに示すようにガイドピン駆動溝36の垂直部36Vがガイドピン8Pを押してガイド溝35の水平溝35H内で回路基板33側に移動させる。そして、ガイドピン8Pがガイド溝35の水平溝35H内で回路基板33側に移動する過程で、ハードディスクドライブ8のコネクタ8Cが回路基板33にある接続コネクタ33Cに結合されていく。
操作レバー34が固定レール31に重なる位置まで回転させると、図9Bの最も下の図に示すように、ガイドピン駆動溝36の斜面部36Sが水平溝35Hに重ならなくなる。そしてこの状態では、ガイドピン8Pがガイドピン駆動溝36の垂直部36Vとガイド溝35の水平溝35Hの端部との間に挟まれて固定される。この状態では、ハードディスクドライブ8のコネクタ8Cが回路基板33にある接続コネクタ33Cに結合している。図10Fは図10EのB−B線における状態を示すものである。
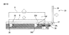
次に、ハードディスクドライブ着脱機構30からハードディスクドライブ8を取り外す時のハードディスクドライブ着脱機構30の動作を、図9Cと、図11Aから図11Fを用いて説明する。図11Aの状態は、図10Eに示した状態と同じである。この状態から操作レバー34を引き上げると、図9Cの最も下の図に示すように、ガイドピン駆動溝36の斜面部36Sが、ガイドピン8Pに当接してこれを押す。
操作レバー34を引き上げると、図11Bに示すようにガイドピン8Pがガイドピン駆動溝36の斜面部36Sに押されてガイド溝35の水平溝35H内を移動し、やがて図9Cの下から2番目の図に示すガイド溝35の垂直溝35Vに当接して水平移動が止まる。ガイドピン8Pがガイド溝35の水平溝35H内を移動する過程で、ハードディスクドライブ8のコネクタ8Cが回路基板33の接続コネクタ33Cから抜去される。操作レバー34を更に引き上げると、ガイドピン8Pは図9Cの上から2番目の図に示す斜面部36Sに押されて今度はガイド溝35の垂直溝35Vの中を上昇する。この状態が図11Cに示される。
操作レバー34が固定レール31に対して垂直の状態まで引き上げられると、操作レバー34はこれ以上回転できなくなり、ガイドピン8Pは図11Dに示す位置までガイド溝35の垂直溝35Vの中を上昇する。この時、ガイドピン8Pは図9Cの1番上の図に示すガイドピン駆動溝36の斜面部36Sに保持されている。ガイドピン8Pが図11Dに示す位置まで上昇した状態では、ハードディスクドライブ8の上部がハードディスクドライブ着脱機構30から露出している。そこで、露出部を掴んでハードディスクドライブ8を上に引き上げることにより、ハードディスクドライブ8をハードディスクドライブ着脱機構30から取り外すことができる。
図12Aは、図7Bに示した本出願のハードディスクドライブ着脱機構30を備えた第1の実施例のラックマウントサーバ装置10における筐体10A内を流れる冷却風CAの流れを示すものである。また、図12Bは図12Aに示したラックマウントサーバ装置10の筐体10Aにおける冷却風CAの流れを側面側から見た側面図である。ハードディスクドライブ着脱機構30を使用することにより、ハードディスクドライブ8の間に余分なスペースが無くなる。又、ハードディスクドライブ8自体には冷却風CAの流れを妨げるような機構が不要なため、冷却風CAがハードディスクドライブ8の表面に多く流れ込み、発熱部分を効率よく冷却する事が可能となる。
図13Aは、図7Bに示したラックマウントサーバ装置10が情報処理装置であるサーバ搭載ラック50から引き出された状態を示すものである。ラックマウントサーバ装置10の筐体10Aの側面には、サーバ搭載ラック50よりラックマウントサーバ装置10を引き出す為のスライドレール51が設けられている。ラックマウントサーバ装置10の内部には、図13Bに示すように、サーバの主要機能を構成するマザーボード6や電源ユニット9、冷却ファン2等が搭載されている。また、ラックマウントサーバ装置10の内部には、ハードディスクドライブ8を着脱可能に搭載するための、固定レール31、移動レール32及び操作レバー34を備えるハードディスクドライブ着脱機構30が設けられている。
ラックマウントサーバ装置10のハードディスクドライブ着脱機構30には、図13Cに示すように、ガイドピン8Pが両側面に設けられたハードディスク8を搭載する。また、ハードディスク8の搭載部の上部には、装置稼動状態でもハードディスクドライブ8の部分のみを部分的に開閉可能な保守用カバー18を設ける。なお、図13Bには、図13A、図13Cに示した保守用カバー18の図示が省略されている。
本出願のように、ハードディスクドライブ着脱機構を使用してハードディスクドライブを搭載する事により、ハードディスクドライブ自体に挿抜用の機構を設ける必要が無く、また作業スペースを最小限に抑えることができる為、ハードディスクドライブが容易に着脱可能となる。また、ハードディスクドライブの実装密度の向上及び部品コストを低減する事が可能となる。更に、実装密度が向上することにより、冷却経路が最適化され、冷却性能を向上させることが可能となる。
なお、第1の実施例では、ハードディスクドライブ着脱機構30を搭載したラックマウントサーバ装置10について説明したが、ハードディスクドライブ着脱機構30は、CPU等を搭載しないストレージ装置にも搭載することが可能である。
図14Aは、サーバ搭載ラック50に搭載された本出願の第2の実施例のラックマウントサーバ装置20が、筐体20Aに取り付けられたスライドレール51を使用してサーバ搭載ラック50から引き出された状態を示すものである。第1の実施例のラックマウントサーバ装置10は、高さが最小限のサイズ(1Uサイズ)であった。これに対し、第2の実施例のラックマウントサーバ装置20は高さがこれより高いサイズ(例えば2Uサイズ)を有する点が第1の実施例のラックマウントサーバ装置10と相違する点である。第2の実施例のラックマウントサーバ装置20は2Uサイズの高さを有するので、前面シェルフ20Sには筐体20Aの高さ方向に3段にハードディスクドライブ1が積み重ねられている。ラックマウントサーバ装置20の前面シェルフ20Sに搭載されるハードディスクドライブ1は、前面シェルフ20Sに対して前方(正面側)から着脱できるので、ハードディスクドライブ1の両側面にはガイドピンは設けられていない。
図14Bは、図14Aに示したラックマウントサーバ装置20を側面から見たものである。ラックマウントサーバ装置20内には、前面から着脱作業可能なハードディスクドライブ1を搭載する前面シェルフ20Sがある。前面シェルフ20Sの後方には、サーバの主要機能を構成するマザーボード6、冷却ファン2、ヒートシンク3Hを備えたCPU3,メモリ4及び拡張用のPCIボード(図示せず)等が搭載されている。2Uサイズのラックマントサーバ装置20では、前述のように、ヒートシンク3Hを備えたCPU3やメモリ4の背が低いので、マザーボード6の上部に未使用エリアがある。
そこで、第2の実施例では、第1の実施例のラックマントサーバ装置10に設けたハードディスクドライブ着脱機構30を、筐体20Aにスペーサ29等を用いてマザーボード6に干渉しないように取り付ける。ハードディスクドライブ着脱機構30には、ガイドピン8Pを備えるハードディスクドライブ8を搭載し、ハードディスクドライブ着脱機構30の上部には装置稼動状態で取り外し可能な上部カバー28を設ける。
通常の2Uサイズのラックマウントサーバ装置では、マザーボードの主要機能が搭載されている部分と、拡張PCIボードや冷却ファン、ハードディスク等が搭載される部分では、搭載部品の高さの違いにより、CPUやメモリの上部に未使用エリアが発生していた。一方、本出願の第2の実施例のラックマウントサーバ装置20では、未使用エリアにハードディスクドライブ着脱機構30を設けてハードディスクドライブ8を搭載し、ハードディスクドライブ8の搭載数を増やしている。そして、ハードディスクドライブ着脱機構30は主に、固定レール31、移動レール32及び操作レバー34で構成され、ハードディスクドライブ8を取り除けば、底面部分が開いている為、マザーボード6上のCPU3やメモリ4等の保守・増設作業性を極力損なわない。このように、第2の実施例のラックマウントサーバ装置20では、本来デッドスペースとなる所に、ハードディスクドライブ8を搭載できるため、未使用エリアを有効活用する事ができ、高密度実装が可能となる。
図15Aは、サーバ搭載ラックに搭載可能な第2の実施例の変形実施例の2Uサイズのラックマウントサーバ装置20を示すものである。また、図15Bは、図15Aに示したラックマウントサーバ装置20の内部構造及び内部を流れる冷却風CAの状態を説明するものである。本変形実施例では、前面から着脱可能なハードディスクドライブ1を搭載している前面シェルフ20Sの一部(下部)に、マザーボード6を配置し、その上のCPU3を実装している。そして、ラックマウントサーバ装置20の前面には吸気口21を設けて冷却風CAがより多くCPU3に当たるようにしている。
一方、CPU3をラックマウントサーバ装置20の前面に実装することにより、前面シェルフ20Sに搭載できなくなったハードディスクドライブ1については、これと同様の記憶容量を持つガイドピン8P付のハードディスクドライブ8に変更する。そして、変更したハードディスクドライブ8をハードディスクドライブ着脱機構30を用いて第2実施例と同様に、マザーボード6の上部空間にスペーサ29を用いて搭載する。ハードディスクドライブ着脱機構30の下方のマザーボード6にはメモリ4等を実装することができる。
通常、ハードディスクドライブを大量にラックマウントサーバ装置に搭載すると、ハードディスクドライブは吸気口のある装置前面部に配置されてしまう。このため、ハードディスクドライブが障害物となり、冷却風のラックマウントサーバ装置内への流入量が下がってしまい、サーバ用等の発熱量の高いCPUを冷却する場合の冷却風による冷却効率が低下していた。
しかし、ラックマウントサーバ装置の前面にあったハードディスクドライブを装置内部に搭載する事により、ハードディスクドライブの搭載台数は維持したまま、冷却風による冷却効率が最も良い場所に、最も冷却する必要のあるCPUを配置する事が可能となる。これにより、CPUの冷却効率を大幅に改善する事ができ、また冷却ファンの能力を抑える事が可能となる為、電力を削減する事も可能となる。
図16Aは本出願の第1の実施例のラックマウントサーバ装置10に搭載される別の構造のハードディスクドライブ着脱機構30Aを示すものである。図8A,図8Bに示した構造のハードディスクドライブ着脱機構30では、操作レバー34の回転基部が回路基板33側にあり、連絡棒34Cが回路基板33から遠い側の固定レール31の端部側にあった。一方、図16Aに示すハードディスクドライブ着脱機構30Aでは、操作レバー34の回転基部が回路基板33から遠い側にあり、連絡棒34Cが回路基板33側の固定レール31の端部側にある。ハードディスクドライブ着脱機構30Aにおける固定レール31及び移動レール32の構造は、ハードディスクドライブ着脱機構30における固定レール31及び移動レール32の構造と同じである。
したがって、ハードディスクドライブ着脱機構30Aの動作は、操作レバー34の引き上げ方向が異なるだけで、その他の動作はハードディスクドライブ着脱機構30の動作と全く同じである。そして、図16Aの状態が図11Aの状態に対応し、図16Bの状態が図11Bの状態に対応し、図16Cの状態が図11Dの状態に対応する。よって、同じ構成部材には同じ符号を付してその動作説明を省略する。
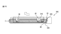
図17Aは、本出願のラックマウントサーバ装置に設けられる更に別の構造を備えたハードディスクドライブ着脱機構30Cを示すものである。ハードディスクドライブ着脱機構30Cには操作レバーはなく、移動レール32の回路基板33から遠い側の端部に、両端部を接続する操作ロッド39が設けられている。ハードディスクドライブ着脱機構30,30Aでは、操作レバー34を固定レール31に対して回転させることによって移動レール32を移動させていた。一方、本実施例のハードディスクドライブ着脱機構30Cでは、操作ロッド39を外部から引いたり押したりすることによって移動レール32を移動させている。このため、移動レール32の回路基板33側の端部には、移動レール32の最大引出し位置を定めるストッパ32Sが設けられている。移動レール32はこのストッパ32Sが固定レール31に設けられたスライドガイド31Gの端部に当接する位置まで引き出すことができる。
図17Bは、ハードディスクドライブ着脱機構30Cの操作ロッド39に指Fを掛けて移動レール32を引き出す状態を示すものであり、ハードディスクドライブ8、固定レール31及び移動レール32の状態は図11Aに示す状態と同じである。図17Cは、図17Bの状態から操作ロッド39が更に引っ張られた状態を示しており、ハードディスクドライブ8、固定レール31及び移動レール32の状態は図11Bに示す状態と同じである。図17Dは、図17Cの状態から操作ロッド39が、最大引出し位置まで引き出された状態を示しており、ハードディスクドライブ8、固定レール31及び移動レール32の状態は図11Dに示す状態と同じである。ハードディスクドライブ着脱機構において、固定レールに対して移動レールを移動させる部材は、操作レバーや操作ロッドに限定されるものではない。
図18は、サーバ搭載ラックに搭載された本出願のハードディスクドライブ着脱機構を備えたラックマウントサーバ装置から、1つのハードディスクドライブを活性交換する場合の交換手順を、比較技術における交換手順と比較して示すフロー図である。図18にはハードディスクドライブはHDDと記載してある。
通常、ラックマウントサーバ装置の内部にハードディスクドライブを搭載した場合には、ハードディスクドライブが通電状態の時にハードディスクドライブに接触して作業する必要がある。しかし、本出願のハードディスクドライブ着脱機構を備えたラックマウントサーバ装置では、ハードディスクドライブに直接触れる事無く、電気的な接続及び解除ができる。このため、危険防止や誤動作防止の為のハードディスク単体を保護するカバーやその他の機構部品が不要となる。これらにより、実装密度の向上や不要部品削減によるコスト低減、さらには冷却的にも不要な部品やスペースが無くなる事で、冷却経路が単純化され冷却対象のハードディスクドライブを効率的に冷却可能となる事から、冷却性能を向上させる事ができる。
以上、本出願を特にその好ましい実施の形態を参照して詳細に説明した。本出願の容易な理解のために、本出願の具体的な形態を以下に付記する。
(付記1) 両側面にガイドピンが突設されたガイドピン付のハードディスクドライブが交換可能に搭載されるハードディスクドライブ搭載装置であって、
前記ハードディスクドライブ搭載装置の筐体内の前記ハードディスクドライブの搭載エリアに、1つの前記ハードディスクドライブの搭載部分毎に、前記搭載部分に対して前記ハードディスクドライブを独立に着脱できる機構が設けられており、
前記機構が、
前記ガイドピンを受け入れるガイド溝を備えた固定レールと、
該固定レールに対して隣接し、前記ガイド溝に入った前記ガイドピンを駆動溝によって移動させる移動レールとを備え、
前記ガイド溝に前記ガイドピンが挿入された時に前記固定レールの一端側に前記移動レールを移動させると、前記搭載部分に前記ハードディスクドライブが搭載され、前記搭載部分に前記ハードディスクドライブが搭載された状態で前記固定レールの他端側に前記移動レールを移動させると、前記搭載部分から前記ハードディスクドライブが取り出せる状態になるハードディスクドライブ搭載装置。
(付記2) 両側面にガイドピンが突設されたガイドピン付のハードディスクドライブ及び前面に着脱用部材を有するガイドピン無しのハードディスクドライブが、交換可能に搭載されるハードディスクドライブ搭載装置であって、
前記ハードディスクドライブ搭載装置の筐体内に、前記ガイドピン付のハードディスクドライブを搭載する第1の搭載エリアと、前記ガイドピン無しのハードディスクドライブを搭載する第2の搭載エリアとを備え、
前記第2の搭載エリアが前記筐体の前面側に設けられ、前記第1の搭載エリアが前記第2の搭載エリアよりも背面側に設けられ、
前記第1の搭載エリアには、前記ガイドピン付のハードディスクドライブの搭載部分毎に、前記搭載部分に対して前記ガイドピン付のハードディスクドライブを独立に着脱できる機構が設けられ、
前記機構が、
前記ガイドピンを受け入れるガイド溝を備えた固定レールと、
該固定レールに対して隣接し、前記ガイド溝に入った前記ガイドピンを駆動溝によって移動させる移動レールとを備え、
前記ガイド溝に前記ガイドピンが挿入された時に前記固定レールの一端側に前記移動レールを移動させると、前記搭載部分に前記ガイドピン付のハードディスクドライブが搭載され、前記搭載部分に前記ハードディスクドライブが搭載された状態で前記固定レールの他端側に前記移動レールを移動させると、前記搭載部分から前記ガイドピン付のハードディスクドライブが取り出せる状態になる付記1に記載のハードディスクドライブ搭載装置。
(付記3) 前記固定レールが平行に配置された2枚の固定レールであり、
前記固定レールの各個の一方の端部の間に、前記ガイドピン付のハードディスクドライブに接続する接続コネクタを備えた基板が設けられており、
前記移動レールは、前記固定レールの内側を、前記基板に対して離れる方向或いは近づく方向に摺動可能であり、
前記ガイド溝は、前記ハードディスクドライブの搭載時に前記ガイドピンを受け入れる垂直溝と、前記垂直溝内の前記ガイドピンを前記基板側に移動させる水平溝とを備えており、
前記駆動溝は、前記基板に近い側に斜面部、遠い側に垂直部を備え、前記移動レールの摺動時に、前記斜面部又は前記垂直部を前記ガイドピンに当接させて前記ガイドピンを前記ガイド溝内で移動させる付記1又は2に記載のハードディスクドライブ搭載装置。
(付記4) 前記移動レールに、外力の印加により前記移動レールを移動させる移動レール駆動部材が設けられている付記1から3の何れかに記載のハードディスクドライブ搭載装置。
(付記5) 前記垂直溝の深さは、前記ガイドピンが前記垂直溝の底部に達した時に、前記ハードディスクドライブに設けられたコネクタが前記基板に設けられた接続コネクタと水平位置において一致する深さであり、
前記水平溝の長さは、前記ガイドピンが前記水平溝の端部まで移動した時に、前記ハードディスクドライブに設けられたコネクタが前記基板に設けられた接続コネクタに接続される長さである付記1から4の何れかに記載のハードディスクドライブ搭載装置。
(付記6) 前記ハードディスクドライブ着脱機構の隣接部に設けられる前記固定レールは1つであり、前記移動レールは前記固定レールの両側に配置される付記1から5の何れかに記載のハードディスクドライブ搭載装置。
(付記7) 前記ハードディスクドライブの両側面には、夫々2本のガイドピンが同じ位置に突設されており、
前記固定レールには前記ガイド溝 が2箇所に設けられており、
前記移動レールには前記駆動溝が2箇所に設けられている付記1から6の何れか記載のハードディスクドライブ搭載装置。
(付記8) 前記移動レール駆動部材が、2本の長棒、2本の短棒及び1本の連絡棒を備えたレバーであり、
前記長棒は前記固定レールと同程度の長さを備え、前記短棒は前記長棒に対して前記基板側の端部で折れ曲がって接続され、前記連絡棒は前記2本の長棒の他方の端部を接続し、
前記長棒と前記短棒の接続部は前記固定レールの前記基板側の端部に軸支され、
前記短棒の自由端部は、前記移動レールの前記基板側の端部に長孔を介して連結され、
前記ガイドピン付のハードディスクドライブが前記ハードディスクドライブ着脱機構の中に搭載された状態では、前記連絡棒が前記固定レールの前記他方の端部の位置にあって、前記レバーが閉じた状態である付記1から7の何れかに記載のハードディスクドライブ搭載装置。
(付記9) 前記移動レール駆動部材(34)が、2本の長棒、2本の短棒及び1本の連絡棒を備えたレバーであり、
前記長棒は前記固定レールと同程度の長さを備え、前記短棒は前記長棒に対して前記基板側の端部で折れ曲がって接続され、前記連絡棒は前記2本の長棒の他方の端部を接続し、
前記短棒の自由端部は、前記固定レールの前記基板と反対側の端部に軸支され、
前記短棒と前記長棒の接続部の近傍は、前記移動レールの前記基板と反対側の端部に長孔を介して連結され、
前記ガイドピン付のハードディスクドライブが前記ハードディスクドライブ着脱機構の中に搭載された状態では、前記連絡棒が前記固定レールの前記基板側の端部の位置にあって、前記レバーが閉じた状態である付記1から7の何れかに記載のハードディスクドライブ搭載装置。
(付記10) 前記移動レール駆動部材が前記移動レールの前記基板と反対側の端部同士を連結するロッドであり、
前記移動レールの前記基板側の端部には、前記移動レールの移動距離を制限するストッパが設けられていて、
前記ガイドピン付のハードディスクドライブが前記ハードディスクドライブ着脱機構の中に搭載された状態では、前記ロッドは前記固定レールの前記他方の端部の位置にある付記1から7の何れかに記載のハードディスクドライブ搭載装置。
(付記11) 前記移動レールが前記基板に最も近い位置に移動した状態にある時は、前記ガイドピン駆動溝の前記斜面部は、前記ガイド溝の水平溝の端部の外にあり、
前記移動レールを前記基板側から離す方向に移動させると、前記斜面部が前記水平溝に重なった状態では、前記斜面部が前記ガイドピンを前記垂直溝方向に移動させ、前記斜面部が前記垂直溝に重なった状態では、前記斜面部が前記ガイドピンを前記垂直溝内で押し上げる付記1から10の何れかに記載のハードディスクドライブ搭載装置。
(付記12) 前記移動レールが前記基板から最も遠い位置に移動した状態にある時は、前記ガイドピン駆動溝の前記斜面部は、前記ガイド溝の垂直溝に重なっており、
前記ハードディスクドライブ着脱機構の中に前記ガイドピン付のハードディスクドライブが搭載され、前記ガイドピンが前記垂直溝内に挿入された状態で、前記移動レールを前記基板側に移動させると、前記斜面部が前記垂直溝に重なった状態では、前記斜面部が前記ガイドピンを保持しながら前記垂直溝内で降下させ、前記斜面部が前記水平溝に重なった状態では、前記ガイドピン駆動溝の垂直部が前記ガイドピンを押して前記水平溝内で前記基板側に移動させる付記1から11の何れかに記載のハードディスクドライブ搭載装置。
(付記13) 前記ハードディスクドライブ搭載装置がラックマウントサーバ装置であり、
前記ガイドピン付のハードディスクドライブの搭載エリアが前記筐体の前面側に配置されており、
前記筐体の背面側に少なくとも冷却ファン、回路基板、及び電源ユニットが設けられている付記1に記載のハードディスクドライブ搭載装置。
(付記14) 前記ガイドピン付のハードディスクドライブの搭載エリアには、前記機構が横方向及び奥行方向に並んで配置されており、
横方向に並んだ前記機構の上には、前記機構を覆う保守用カバーが設けられている付記13に記載のハードディスクドライブ搭載装置。
(付記15) 前記ハードディスクドライブ搭載装置がストレージ装置であって、
前記ストレージ装置には前記ガイドピン付のハードディスクドライブの搭載エリアだけが設けられている付記1に記載のハードディスクドライブ搭載装置。
(付記16) ラック内にハードディスクドライブ搭載装置を積み重ねて搭載した情報処理装置であって、
前記ハードディスクドライブ搭載装置には、両側面にガイドピンが突設されたガイドピン付のハードディスクドライブが交換可能に搭載され、
前記ハードディスクドライブ搭載装置の筐体内の前記ハードディスクドライブの搭載エリアに、1つの前記ハードディスクドライブの搭載部分に対して1つ設けられ、前記搭載部分に対して前記ハードディスクドライブを独立に着脱できる機構を備え、前記機構が、
前記ガイドピンを受け入れるガイド溝を備えた固定レールと、
該固定レールに対して隣接し、前記ガイド溝に入った前記ガイドピンを駆動溝によって移動させる移動レールとを備え、
ハードディスクドライブ搭載装置では、前記ガイド溝に前記ガイドピンが挿入された時に、前記固定レールの一端側に前記移動レールを移動させると、前記搭載部分に前記ハードディスクドライブが搭載され、前記固定レールの他端側に前記移動レールを移動させると、前記搭載部分から前記ハードディスクドライブが取り出せる状態になる情報処理装置。
(付記17) ラック内にハードディスクドライブ搭載装置を積み重ねて搭載した情報処理装置であって、
両側面にガイドピンが突設されたガイドピン付のハードディスクドライブ及び前面に着脱用部材を有するガイドピン無しのハードディスクドライブが交換可能に搭載され、
前記ハードディスクドライブ搭載装置の筐体内に、前記ガイドピン付のハードディスクドライブを搭載する第1の搭載エリアと、前記ガイドピン無しのハードディスクドライブを搭載する第2の搭載エリアとを備え、
第2の搭載エリアが前記筐体の前面側に設けられ、前記第1の搭載エリアが前記第2の搭載エリアよりも背面側に設けられ、
前記第1の搭載エリアは、1つの前記ガイドピン付のハードディスクドライブの搭載部分に対して1つ設けられ、前記搭載部分に対して前記ガイドピン付のハードディスクドライブを独立に着脱できる機構を備え、前記機構が、
前記ガイドピンを受け入れるガイド溝を備えた固定レールと、
該固定レールに対して隣接し、前記ガイド溝に入った前記ガイドピンを駆動溝によって移動させる移動レールとを備え、
ハードディスクドライブ搭載装置では、前記ガイド溝に前記ガイドピンが挿入された時に、前記固定レールの一端側に前記移動レールを移動させると、前記搭載部分に前記ガイドピン付のハードディスクドライブが搭載され、前記固定レールの他端側に前記移動レールを移動させると、前記搭載部分から前記ガイドピン付のハードディスクドライブが取り出せる状態になる情報処理装置。
1 ハードディスク
2 ファン
3 CPU
4 メモリ
5 拡張PCIボード
6 マザーボード
8 ハードディスクドライブ(HDD)
8P ガイドピン
10、20 ラックマウントサーバ装置
30 HDD着脱機構
31 固定レール
32 移動レール
33 回路基板
34 操作レバー
35 ガイド溝
36 ガイドピン駆動溝
39 操作ロッド
50 サーバ搭載ラック
51 スライドレール

Claims (5)

  1. 両側面にガイドピンが突設されたガイドピン付のハードディスクドライブが交換可能に搭載されるハードディスクドライブ搭載装置であって、
    前記ハードディスクドライブ搭載装置の筐体内の前記ハードディスクドライブの搭載エリアには、前記ハードディスクドライブが、高さ方向に1つずつ隣接した状態で複数個搭載されており、
    前記搭載エリアの、1つの前記ハードディスクドライブの搭載部分毎に、前記搭載部分に対して前記ハードディスクドライブを独立に着脱できる機構が設けられており、
    前記機構が、
    前記ガイドピンを受け入れるガイド溝を備えた平行に配置された2枚の固定レールと、
    前記固定レールの各個の一方の端部の間に設けられ、前記ガイドピン付のハードディスクドライブに接続する接続コネクタを備えた基板と、
    該固定レールの内側に隣接して設けられ、前記ガイド溝に重なる駆動溝を備えると共に、前記基板に対して離れる方向或いは近づく方向に摺動可能な移動レールを備え、
    前記ガイド溝は、前記ハードディスクドライブの搭載時に前記ガイドピンを受け入れる垂直溝と、前記垂直溝内の前記ガイドピンを前記基板側に移動させる水平溝とを備えており、
    前記ハードディスクドライブの搭載時に前記ガイド溝に受け入れられた前記ガイドピンは、前記駆動溝にも挿入されるようになっており、
    前記駆動溝は、前記基板に近い側に斜面部、遠い側に垂直部を備えており、前記移動レールが摺動すると、前記斜面部又は前記垂直部を前記ガイドピンに当接させて前記ガイドピンを前記ガイド溝内で移動させるようになっており、
    前記ガイド溝に前記ガイドピンが挿入された時に前記固定レールの一端側に前記移動レールを移動させると、前記機構内に前記ハードディスクドライブが搭載され、前記機構内に前記ハードディスクドライブが搭載された状態で前記固定レールの他端側に前記移動レールを移動させると、前記機構内から前記ハードディスクドライブが取り出せる状態になるハードディスクドライブ搭載装置。
  2. 両側面にガイドピンが突設されたガイドピン付のハードディスクドライブ及び前面に着脱用部材を有するガイドピン無しのハードディスクドライブが、交換可能に搭載されるハードディスクドライブ搭載装置であって、
    前記ハードディスクドライブ搭載装置の筐体内に、前記ガイドピン付のハードディスクドライブを搭載する第1の搭載エリアと、前記ガイドピン無しのハードディスクドライブを搭載する第2の搭載エリアとを備え、
    前記第2の搭載エリアが前記筐体の前面側に設けられ、前記第1の搭載エリアが前記第2の搭載エリアよりも背面側に設けられ、
    前記第1の搭載エリアには、前記ガイドピン付のハードディスクドライブの搭載部分毎に、前記搭載部分に対して前記ガイドピン付のハードディスクドライブを独立に着脱できる機構が設けられ、
    前記機構が
    前記ガイドピンを受け入れるガイド溝を備えた平行に配置された2枚の固定レールと、
    前記固定レールの各個の一方の端部の間に設けられ、前記ガイドピン付のハードディスクドライブに接続する接続コネクタを備えた基板と、
    該固定レールの内側に隣接して設けられ、前記ガイド溝に重なる駆動溝を備えると共に、前記基板に対して離れる方向或いは近づく方向に摺動可能な移動レールを備え、
    前記ガイド溝は、前記ガイドピン付のハードディスクドライブの搭載時に前記ガイドピンを受け入れる垂直溝と、前記垂直溝内の前記ガイドピンを前記基板側に移動させる水平溝とを備えており、
    前記ガイドピン付のハードディスクドライブの搭載時に前記ガイド溝に受け入れられた前記ガイドピンは、前記駆動溝にも挿入されるようになっており、
    前記駆動溝は、前記基板に近い側に斜面部、遠い側に垂直部を備えており、前記移動レールが摺動すると、前記斜面部又は前記垂直部を前記ガイドピンに当接させて前記ガイドピンを前記ガイド溝内で移動させるようになっており、
    前記ガイド溝に前記ガイドピンが挿入された時に前記固定レールの一端側に前記移動レールを移動させると、前記機構内に前記ガイドピン付のハードディスクドライブが搭載され、前記機構内に前記ガイドピン付のハードディスクドライブが搭載された状態で前記固定レールの他端側に前記移動レールを移動させると、前記機構内から前記ガイドピン付のハードディスクドライブが取り出せる状態になるハードディスクドライブ搭載装置。
  3. 前記移動レールに、外力の印加により前記移動レールを移動させる移動レール駆動部材が設けられている請求項1または2に記載のハードディスクドライブ搭載装置。
  4. ラック内に、請求項1に記載のハードディスクドライブ搭載装置積み重ねられて搭載された情報処理装置。
  5. ラック内に、請求項2に記載のハードディスクドライブ搭載装置積み重ねられて搭載された情報処理装置。
JP2013212888A 2013-10-10 2013-10-10 ハードディスクドライブ搭載装置及び情報処理装置 Expired - Fee Related JP6164035B2 (ja)

Priority Applications (2)

Application Number Priority Date Filing Date Title
JP2013212888A JP6164035B2 (ja) 2013-10-10 2013-10-10 ハードディスクドライブ搭載装置及び情報処理装置
US14/508,064 US20150103482A1 (en) 2013-10-10 2014-10-07 Hard disk drive mounting device and information processing apparatus

Applications Claiming Priority (1)

Application Number Priority Date Filing Date Title
JP2013212888A JP6164035B2 (ja) 2013-10-10 2013-10-10 ハードディスクドライブ搭載装置及び情報処理装置

Publications (2)

Publication Number Publication Date
JP2015076113A JP2015076113A (ja) 2015-04-20
JP6164035B2 true JP6164035B2 (ja) 2017-07-19

Family

ID=52809472

Family Applications (1)

Application Number Title Priority Date Filing Date
JP2013212888A Expired - Fee Related JP6164035B2 (ja) 2013-10-10 2013-10-10 ハードディスクドライブ搭載装置及び情報処理装置

Country Status (2)

Country Link
US (1) US20150103482A1 (ja)
JP (1) JP6164035B2 (ja)

Families Citing this family (8)

* Cited by examiner, † Cited by third party
Publication number Priority date Publication date Assignee Title
US9798362B2 (en) * 2015-11-13 2017-10-24 Facebook, Inc. Storage device storage tray with leaf spring retainers
US9690335B2 (en) 2015-11-13 2017-06-27 Facebook, Inc. Storage device storage tray
US9733679B1 (en) * 2016-04-13 2017-08-15 Quanta Computer Inc. Component tray
JP6442066B2 (ja) * 2016-05-16 2018-12-19 株式会社ExaScaler 液浸冷却用電子機器
EP3460626A4 (en) * 2016-05-16 2020-01-01 Exascaler Inc. Liquid immersion cooled electronic device
US11009925B2 (en) 2016-05-16 2021-05-18 Exascaler Inc. Electronic device for liquid immersion cooling
US10192589B2 (en) * 2017-01-09 2019-01-29 Quanta Computer Inc. Compact tool-less hard drive disk carrier
CN107170475A (zh) * 2017-06-21 2017-09-15 深圳市江波龙电子有限公司 安装骨架、固态硬盘存储组件以及固态硬盘

Family Cites Families (4)

* Cited by examiner, † Cited by third party
Publication number Priority date Publication date Assignee Title
JP3698360B2 (ja) * 2001-07-13 2005-09-21 インターナショナル・ビジネス・マシーンズ・コーポレーション 電子機器および電子機器を格納したラック
JP4105121B2 (ja) * 2004-05-14 2008-06-25 富士通株式会社 電子機器の筐体構造、及びディスクアレイ装置
CN102999120A (zh) * 2011-09-16 2013-03-27 鸿富锦精密工业(深圳)有限公司 数据存储器固定装置
CN103294140A (zh) * 2012-03-02 2013-09-11 鸿富锦精密工业(深圳)有限公司 硬盘固定装置及硬盘固定组合

Also Published As

Publication number Publication date
JP2015076113A (ja) 2015-04-20
US20150103482A1 (en) 2015-04-16

Similar Documents

Publication Publication Date Title
JP6164035B2 (ja) ハードディスクドライブ搭載装置及び情報処理装置
US8427823B2 (en) Mounting device for storage device
US9019708B2 (en) Apparatus and systems having storage devices in a side accessible drive sled
JP4545191B2 (ja) 通信装置及び情報処理装置
US7068498B2 (en) Computer system with slidable motherboard
US7952883B2 (en) Electronic apparatus and in-rack electronic apparatus
TWI512427B (zh) 電子裝置與系統及在電子裝置之外殼中安裝碟片儲存驅動機之方法
US20110222234A1 (en) Storage enclosure, carrier and methods
JP3698360B2 (ja) 電子機器および電子機器を格納したラック
JP2009032068A (ja) ブレードサーバの実装構造
US9934824B2 (en) Hard disk drive assembly with field-separable mechanical module and drive control
US20070247804A1 (en) High-density disk array device
CN103869917B (zh) 电源供应模块及服务器
TWI449035B (zh) 驅動盒
CN108508983B (zh) 可插入至伺服器架的橇状结构及伺服器架系统
US8804278B1 (en) Cooling of hard disk drives with separate mechanical module and drive control module
CN104423491B (zh) 可连动插拔的旋转模块
TWM522544U (zh) 可旋取儲存裝置之伺服器
US11369036B2 (en) Anti-reflow cover for a computer system component module
US8908326B1 (en) Hard disk drive mechanical modules with common controller
US11495267B2 (en) Data storage retainer systems, methods, and devices
JP5792427B2 (ja) ディスクアレイ装置
JP2007183735A (ja) 電子装置
JP5803130B2 (ja) 電子機器
CN102007827B (zh) 用于处于维护位置的计算机元件的风扇

Legal Events

Date Code Title Description
A621 Written request for application examination

Free format text: JAPANESE INTERMEDIATE CODE: A621

Effective date: 20160606

A977 Report on retrieval

Free format text: JAPANESE INTERMEDIATE CODE: A971007

Effective date: 20161207

A131 Notification of reasons for refusal

Free format text: JAPANESE INTERMEDIATE CODE: A131

Effective date: 20161220

A521 Request for written amendment filed

Free format text: JAPANESE INTERMEDIATE CODE: A523

Effective date: 20170214

TRDD Decision of grant or rejection written
A01 Written decision to grant a patent or to grant a registration (utility model)

Free format text: JAPANESE INTERMEDIATE CODE: A01

Effective date: 20170523

A61 First payment of annual fees (during grant procedure)

Free format text: JAPANESE INTERMEDIATE CODE: A61

Effective date: 20170605

R150 Certificate of patent or registration of utility model

Ref document number: 6164035

Country of ref document: JP

Free format text: JAPANESE INTERMEDIATE CODE: R150

LAPS Cancellation because of no payment of annual fees