JP6069874B2 - プラズマ処理装置 - Google Patents

プラズマ処理装置 Download PDF

Info

Publication number
JP6069874B2
JP6069874B2 JP2012084742A JP2012084742A JP6069874B2 JP 6069874 B2 JP6069874 B2 JP 6069874B2 JP 2012084742 A JP2012084742 A JP 2012084742A JP 2012084742 A JP2012084742 A JP 2012084742A JP 6069874 B2 JP6069874 B2 JP 6069874B2
Authority
JP
Japan
Prior art keywords
processing
electrode rod
chamber
plasma
target
Prior art date
Legal status (The legal status is an assumption and is not a legal conclusion. Google has not performed a legal analysis and makes no representation as to the accuracy of the status listed.)
Expired - Fee Related
Application number
JP2012084742A
Other languages
English (en)
Other versions
JP2013214446A (ja
Inventor
米澤 朋子
朋子 米澤
Current Assignee (The listed assignees may be inaccurate. Google has not performed a legal analysis and makes no representation or warranty as to the accuracy of the list.)
IHI Corp
Original Assignee
IHI Corp
Priority date (The priority date is an assumption and is not a legal conclusion. Google has not performed a legal analysis and makes no representation as to the accuracy of the date listed.)
Filing date
Publication date
Application filed by IHI Corp filed Critical IHI Corp
Priority to JP2012084742A priority Critical patent/JP6069874B2/ja
Publication of JP2013214446A publication Critical patent/JP2013214446A/ja
Application granted granted Critical
Publication of JP6069874B2 publication Critical patent/JP6069874B2/ja
Expired - Fee Related legal-status Critical Current
Anticipated expiration legal-status Critical

Links

Images

Landscapes

  • Plasma Technology (AREA)
  • Chemical Vapour Deposition (AREA)
  • Drying Of Semiconductors (AREA)

Description

本発明は、真空チャンバ内でプラズマを発生させて処理対象の被処理面に薄膜を生成したり、エッチングを行ったりするプラズマ処理装置に関する。
従来、特許文献1〜3に示されるプラズマ処理装置(プラズマCVD装置)が知られている。これらのプラズマ処理装置は、真空状態に減圧可能な処理室を有する真空チャンバを備えており、この真空チャンバの天井部に、高周波電源に電気的に接続された複数のコネクタが配設されている。また、処理室内には、複数本の電極棒を有するアレイアンテナユニットが設けられており、このアレイアンテナユニットの電極棒が、複数のコネクタそれぞれに接続されている。
そして、真空状態に減圧された処理室内に、処理対象である基板を保持する基板搬送用の台車を搬送するとともに、当該基板をアレイアンテナユニットに対向させた状態で、真空チャンバ内に反応ガスを供給しつつ、電極棒に高周波電力を供給する。これにより、真空雰囲気中にプラズマが発生するとともに、プラズマによって分解された反応ガスの成分が基板の表面に付着し、非結晶シリコン膜または微結晶シリコン膜などの薄膜が基板表面に生成されることとなる。
特開2007−262541号公報 特開2003−86581号公報 特開2003−109798号公報
従来のプラズマ処理装置においては、複数本の電極棒が並列に配置されている。したがって、処理対象の被処理面が平面状である場合には、当該被処理面に対して薄膜生成やエッチング等のプラズマ処理を均一に施すことが可能である。しかしながら、例えば、本体に孔状または凹み状の対象空間が形成され、この対象空間に面する部分を被処理面とする処理対象等、処理対象の形状や被処理面の位置によっては、プラズマ処理を施すことができない。
本発明は、特に、孔状または凹み状の空間に面する被処理面を備えた処理対象に対してもプラズマ処理を施すことが可能なプラズマ処理装置を提供することを目的としている。
上記課題を解決するために、本発明のプラズマ処理装置は、孔状または凹み状の対象空間に面する被処理面を備えた処理対象にプラズマ処理を施すプラズマ処理装置であって、真空状態に減圧可能な処理室にガス供給源から反応ガスが供給される真空チャンバと、処理室内に設けられ、交流電源の給電側に接続される直線形状の給電側電極棒、および、交流電源の接地側に接続される直線形状かつ円筒形状であり、内部に反応ガスの供給路が形成された接地側電極棒が、給電側電極棒および接地側電極棒の先端同士を通電可能に接続する接続部材により接続されて対向配置されるとともに、交流電源からの電力供給によって両電極棒の周囲にプラズマを発生させるアンテナ体と、処理対象の被処理面によって囲繞される対象空間の中央にアンテナ体を進入させた状態で、処理対象を処理室内に保持する処理対象保持手段と、を備えたことを特徴とする。
本発明によれば、特に、孔状または凹み状の空間に面する被処理面を備えた処理対象に対してもプラズマ処理を施すことができる。
(a)は真空チャンバの断面図、(b)は真空チャンバの上面図である。 第1電極棒および第2電極棒の部分断面図である。 アンテナ体と処理対象との相対位置関係を示す図である。 プラズマ処理について説明する図である。 他の処理対象を説明する図である。 変形例におけるアンテナ体と処理対象との相対位置関係を示す図である。
以下に添付図面を参照しながら、本発明の好適な実施形態について詳細に説明する。かかる実施形態に示す寸法、材料、その他具体的な数値等は、発明の理解を容易とするための例示にすぎず、特に断る場合を除き、本発明を限定するものではない。なお、本明細書及び図面において、実質的に同一の機能、構成を有する要素については、同一の符号を付することにより重複説明を省略し、また本発明に直接関係のない要素は図示を省略する。
本実施形態のプラズマ処理装置は、処理対象の被処理面に薄膜を生成するプラズマCVD装置や、処理対象の被処理面をエッチング加工するプラズマエッチング装置として用いることが可能であるが、ここでは、プラズマ処理装置をプラズマCVD装置として用いる場合について説明する。
図1(a)は真空チャンバの断面図、図1(b)は真空チャンバの上面図である。真空チャンバ1は、筐体2を備えて構成されている。この筐体2は、天井部2aと、側面部2bと、この側面部2bの下端に設けられた底面開口部2cと、を備えている。
また、真空チャンバ1の下方には、処理対象となるワークWを搬送するための搬送チャンバ100が設けられている。この搬送チャンバ100は、ワークWが載置された搬送台車101を搬送するものであり、搬送台車101は、ガイドレール102にガイドされて真空チャンバ1の下方まで搬送されることとなる。
そして、真空チャンバ1と搬送チャンバ100とは、真空チャンバ1の底面開口部2cを介して接続されている。両チャンバ1、100の接続部には、ゲートバルブ103が開閉自在に設けられており、ゲートバルブ103が開状態にある場合には、両チャンバ1、100が連通し、ゲートバルブ103が図示のように閉状態にある場合には、両チャンバ1、100の連通が遮断されることとなる。このように、ゲートバルブ103が閉状態となると、真空チャンバ1内に設けられた処理室3が、外部から完全に密閉された状態となる。これにより、真空チャンバ1に接続された真空ポンプ4を駆動すれば、処理室3が減圧されて真空状態に維持されることとなる。
なお、搬送チャンバ100には、搬送台車101を昇降する昇降装置104が設けられており、真空チャンバ1の下方まで搬送されたワークWは、昇降装置104によって、搬送台車101と一体となって上昇する。一方、真空チャンバ1には、ワーク保持装置5が設けられており、底面開口部2cから処理室3内に搬入されたワークWは、このワーク保持装置5によって、所定の処理位置に保持されることとなる。
そして、真空チャンバ1の天井部2aには、第1天井側コネクタ6および第2天井側コネクタ7が設けられており、第1天井側コネクタ6には、第1電極棒8の上端が接続され、第2天井側コネクタ7には、第2電極棒9の上端が接続されている。第1天井側コネクタ6および第2天井側コネクタ7は、図1(b)からも明らかなように、天井部2aの中央に1つずつ設けられている。したがって、第1電極棒8および第2電極棒9も、処理室3の中央位置において、天井部2aから垂下支持されることとなる。
なお、両電極棒8、9は、その下端が接続部材10によって通電可能に接続されており、これら第1電極棒8、第2電極棒9および接続部材10によってアンテナ体Aが構成されることとなる。
そして、第1天井側コネクタ6は、高周波電力(本実施形態では85MHzの交流電力)を供給する高周波電源21の供給側(給電側)に接続され、第2天井側コネクタ7は、高周波電源21の接地側に接続されている。また、第2天井側コネクタ7にはガス供給源22が接続されており、このガス供給源22から供給される反応ガスが、第2天井側コネクタ7に接続された第2電極棒9から、処理室3内に噴出可能となっている。
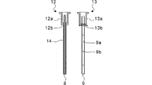
図2は、第1電極棒8および第2電極棒9の部分断面図である。第1電極棒8の上端部には、真空チャンバ1の天井部2aに設けられた第1天井側コネクタ6に接続可能な第1アンテナ側コネクタ12が固定されている。また、第2電極棒9の上端部には、真空チャンバ1の天井部2aに設けられた第2天井側コネクタ7に接続可能な第2アンテナ側コネクタ13が固定されている。
第1アンテナ側コネクタ12は、円筒状の本体12aを備えており、この本体12aの底面部12bに、第1電極棒8が貫通した状態で固定されている。また、第2アンテナ側コネクタ13も、円筒状の本体13aを備えており、この本体13aの底面部13bに、第2電極棒9が貫通した状態で固定されている。
第1電極棒8は、その外周にセラミックスまたは樹脂などの誘電体からなる被覆部材14を備えている。一方、第2電極棒9は円筒形状をなしており、その長手方向に延在するガス供給路9aが内部に形成されている。また、第2電極棒9は、ガス供給路9aに垂直に連通する噴出孔9bを備えている。この第2電極棒9は、上述したように、処理室3内に垂下支持されたときに、第2天井側コネクタ7に接続されて、上記したガス供給源22とガス供給路9aと、が連通する関係をなしている。したがって、第2電極棒9が処理室3内に垂下支持された状態で、ガス供給源22から反応ガスが供給されることにより、噴出孔9bから処理室3に向けて反応ガスが噴出することとなる。
図3は、処理室3内に搬入されたワークWと、アンテナ体Aとの相対位置関係を示す図である。この図に示すように、本実施形態においては、処理対象であるワークWが円筒状に構成されており、処理室3内にワークWが搬入されると、アンテナ体AがワークWの内部に形成される対象空間Xに挿通する。そして、ワークWは、対象空間Xに面する内周面を被処理面W1としており、この被処理面W1によって囲繞される対象空間Xの中央にアンテナ体Aが配置されることとなる。
図4は、本実施形態のプラズマ処理装置によるプラズマ処理について説明する図である。まず、真空チャンバ1の処理室3を密閉するとともに、真空ポンプ4を駆動して処理室3を真空状態に減圧する。この状態で、内部が真空状態に維持された搬送チャンバ100において、ワークWが載置された搬送台車101を真空チャンバ1の下方まで搬送する。そして、ゲートバルブ103を開いて両チャンバ1、100を連通させるとともに、昇降装置104を駆動して搬送台車101を上昇させ、処理室3内にワークWを搬入する。
その後、図示のように、ワーク保持装置5によってワークWを処理室3内に保持するとともに、ゲートバルブ103を閉じて、真空チャンバ1と搬送チャンバ100との連通を遮断して処理室3を密閉する。この状態で、ガス供給源22から第2電極棒9に反応ガスを供給して、噴出孔9bから真空チャンバ1内に反応ガスを噴出させるとともに、高周波電源21によってアンテナ体Aに高周波電力を供給する。これにより、アンテナ体Aすなわち両電極棒8、9の周囲にプラズマが発生し、このプラズマによって分解された反応ガスの成分がワークWの被処理面W1に付着する。このようにして、被処理面W1の表面に、非結晶シリコン膜または微結晶シリコン膜などの薄膜が成膜されることとなる。
以上のように、本実施形態によれば、孔状の対象空間Xに面する被処理面W1を備えたワークWに対しても確実にプラズマ処理を施すことができる。
なお、上記実施形態においては、被処理面W1に対して薄膜を生成する場合について説明したが、被処理面W1に対してエッチング加工を施す場合にも、上記と同様の効果を実現することができる。
また、上記実施形態においては、処理対象が円筒状であって、その内周面を被処理面とする場合について説明したが、処理対象の形状はこれに限らず、例えば、図5に示すように、処理対象の底面が閉塞されている有底筒状体であっても、上記実施形態により、均一なプラズマ処理を施すことが可能である。
また、上記実施形態においては、円環状に湾曲する被処理面を備えた処理対象にプラズマ処理を施す場合について説明したが、上記実施形態のプラズマ処理装置は、被処理面の一部が所定の角度で屈曲する処理対象に対しても適用可能である。いずれにしても、処理対象は、孔状または凹み状の対象空間に面する被処理面を備えており、アンテナ体が対象空間に進入可能な構成であればよい。また、上記各実施形態においては、両電極棒8、9を鉛直方向に沿って配置することとしたが、例えば、図6に示すように、両電極棒8、9を水平方向に沿って配置する等、両電極棒8、9の向き等は特に問わない。
以上、添付図面を参照しながら本発明の好適な実施形態について説明したが、本発明はかかる実施形態に限定されないことは言うまでもない。当業者であれば、特許請求の範囲に記載された範疇において、各種の変更例または修正例に想到し得ることは明らかであり、それらについても当然に本発明の技術的範囲に属するものと了解される。
本発明は、真空チャンバ内でプラズマを発生させて処理対象の被処理面にプラズマ処理を施すプラズマ処理装置に利用することができる。
1 真空チャンバ
3 処理室
5 ワーク保持装置
8 第1電極棒
9 第2電極棒
10 接続部材
21 高周波電源
22 ガス供給源
A アンテナ体
W ワーク
W1 被処理面
X 対象空間

Claims (1)

  1. 孔状または凹み状の対象空間に面する被処理面を備えた処理対象にプラズマ処理を施すプラズマ処理装置であって、
    真空状態に減圧可能な処理室にガス供給源から反応ガスが供給される真空チャンバと、
    前記処理室内に設けられ、交流電源の給電側に接続される直線形状の給電側電極棒、および、前記交流電源の接地側に接続される直線形状かつ円筒形状であり、内部に前記反応ガスの供給路が形成された接地側電極棒が、該給電側電極棒および該接地側電極棒の先端同士を通電可能に接続する接続部材により接続されて対向配置されるとともに、交流電源からの電力供給によって両電極棒の周囲にプラズマを発生させるアンテナ体と、
    前記処理対象の前記被処理面によって囲繞される前記対象空間の中央に前記アンテナ体を進入させた状態で、前記処理対象を前記処理室内に保持する処理対象保持手段と、を備えたことを特徴とするプラズマ処理装置。
JP2012084742A 2012-04-03 2012-04-03 プラズマ処理装置 Expired - Fee Related JP6069874B2 (ja)

Priority Applications (1)

Application Number Priority Date Filing Date Title
JP2012084742A JP6069874B2 (ja) 2012-04-03 2012-04-03 プラズマ処理装置

Applications Claiming Priority (1)

Application Number Priority Date Filing Date Title
JP2012084742A JP6069874B2 (ja) 2012-04-03 2012-04-03 プラズマ処理装置

Publications (2)

Publication Number Publication Date
JP2013214446A JP2013214446A (ja) 2013-10-17
JP6069874B2 true JP6069874B2 (ja) 2017-02-01

Family

ID=49587652

Family Applications (1)

Application Number Title Priority Date Filing Date
JP2012084742A Expired - Fee Related JP6069874B2 (ja) 2012-04-03 2012-04-03 プラズマ処理装置

Country Status (1)

Country Link
JP (1) JP6069874B2 (ja)

Cited By (1)

* Cited by examiner, † Cited by third party
Publication number Priority date Publication date Assignee Title
WO2019148519A1 (zh) * 2018-02-02 2019-08-08 深圳丰盛装备股份有限公司 一种管式pecvd的电极机构

Family Cites Families (5)

* Cited by examiner, † Cited by third party
Publication number Priority date Publication date Assignee Title
JP3477442B2 (ja) * 2000-02-24 2003-12-10 三菱重工業株式会社 プラズマ処理装置及び炭素被覆形成プラスチック容器の製造方法
JP5309426B2 (ja) * 2006-03-29 2013-10-09 株式会社Ihi 微結晶シリコン膜形成方法及び太陽電池
JP2008010270A (ja) * 2006-06-28 2008-01-17 Tsukishima Kikai Co Ltd プラズマ処理装置およびプラズマ処理方法
JP2013214445A (ja) * 2012-04-03 2013-10-17 Ihi Corp プラズマ処理装置
JP6010981B2 (ja) * 2012-04-03 2016-10-19 株式会社Ihi プラズマ処理装置

Cited By (1)

* Cited by examiner, † Cited by third party
Publication number Priority date Publication date Assignee Title
WO2019148519A1 (zh) * 2018-02-02 2019-08-08 深圳丰盛装备股份有限公司 一种管式pecvd的电极机构

Also Published As

Publication number Publication date
JP2013214446A (ja) 2013-10-17

Similar Documents

Publication Publication Date Title
KR102242988B1 (ko) 플라즈마 처리장치
KR102121655B1 (ko) 플라즈마 처리 장치
KR102334484B1 (ko) 전력공급부 커버 구조체 및 반도체 제조 장치
CN101720500B (zh) 具有单一平面天线的电感耦合双区域处理室
CN105097405B (zh) 等离子体处理装置和应用于等离子体处理装置的排气构造
KR20140094475A (ko) 탑재대 및 플라즈마 처리 장치
KR102132045B1 (ko) 가스 공급 방법 및 플라즈마 처리 장치
KR102377280B1 (ko) 도브테일 홈 가공 방법 및 기판 처리 장치
CN102142357A (zh) 等离子处理装置
KR101802559B1 (ko) 기판 처리 장치
KR101974420B1 (ko) 기판처리장치 및 방법
JP2010502016A (ja) 処理システムでワークピースを扱うための装置及び方法
KR20180014656A (ko) 기판 처리 장치 및 기판 처리 방법
JP6069874B2 (ja) プラズマ処理装置
JP2013214445A (ja) プラズマ処理装置
JP5935461B2 (ja) プラズマ処理装置
JP4865352B2 (ja) プラズマ処理装置及びプラズマ処理方法
JP6010981B2 (ja) プラズマ処理装置
JP4838552B2 (ja) 基板処理装置および半導体集積回路の製造方法
JP2007063640A (ja) 基板処理装置
JP5780023B2 (ja) プラズマcvd装置およびプラズマcvd装置を用いた成膜方法
JP7300609B2 (ja) プラズマ処理装置
JP5703999B2 (ja) プラズマ処理装置のアンテナ構造
JP6832500B2 (ja) プラズマ処理装置
JP6574588B2 (ja) プラズマ処理装置

Legal Events

Date Code Title Description
A621 Written request for application examination

Free format text: JAPANESE INTERMEDIATE CODE: A621

Effective date: 20150224

A977 Report on retrieval

Free format text: JAPANESE INTERMEDIATE CODE: A971007

Effective date: 20160120

A131 Notification of reasons for refusal

Free format text: JAPANESE INTERMEDIATE CODE: A131

Effective date: 20160126

A521 Written amendment

Free format text: JAPANESE INTERMEDIATE CODE: A523

Effective date: 20160318

A131 Notification of reasons for refusal

Free format text: JAPANESE INTERMEDIATE CODE: A131

Effective date: 20160614

A521 Written amendment

Free format text: JAPANESE INTERMEDIATE CODE: A523

Effective date: 20160808

TRDD Decision of grant or rejection written
A01 Written decision to grant a patent or to grant a registration (utility model)

Free format text: JAPANESE INTERMEDIATE CODE: A01

Effective date: 20161206

A61 First payment of annual fees (during grant procedure)

Free format text: JAPANESE INTERMEDIATE CODE: A61

Effective date: 20161219

R151 Written notification of patent or utility model registration

Ref document number: 6069874

Country of ref document: JP

Free format text: JAPANESE INTERMEDIATE CODE: R151

LAPS Cancellation because of no payment of annual fees