JP6040407B2 - 遊技機 - Google Patents

遊技機 Download PDF

Info

Publication number
JP6040407B2
JP6040407B2 JP2013147466A JP2013147466A JP6040407B2 JP 6040407 B2 JP6040407 B2 JP 6040407B2 JP 2013147466 A JP2013147466 A JP 2013147466A JP 2013147466 A JP2013147466 A JP 2013147466A JP 6040407 B2 JP6040407 B2 JP 6040407B2
Authority
JP
Japan
Prior art keywords
game
special
display
command
start memory
Prior art date
Legal status (The legal status is an assumption and is not a legal conclusion. Google has not performed a legal analysis and makes no representation as to the accuracy of the status listed.)
Active
Application number
JP2013147466A
Other languages
English (en)
Other versions
JP2015019682A (ja
Inventor
園田 欽章
欽章 園田
亀井 欽一
欽一 亀井
Original Assignee
株式会社ソフイア
Priority date (The priority date is an assumption and is not a legal conclusion. Google has not performed a legal analysis and makes no representation as to the accuracy of the date listed.)
Filing date
Publication date
Application filed by 株式会社ソフイア filed Critical 株式会社ソフイア
Priority to JP2013147466A priority Critical patent/JP6040407B2/ja
Publication of JP2015019682A publication Critical patent/JP2015019682A/ja
Application granted granted Critical
Publication of JP6040407B2 publication Critical patent/JP6040407B2/ja
Active legal-status Critical Current
Anticipated expiration legal-status Critical

Links

Images

Landscapes

  • Display Devices Of Pinball Game Machines (AREA)

Description

本発明は、変動表示ゲームを行う遊技機に関する。
従来、遊技機の代表例としてパチンコ機がある。パチンコ機では、遊技盤の遊技領域に設けられた始動口(始動領域)に遊技球が入賞すること(始動入賞)に基づいて、変動表示装置に表示される複数の識別情報(図柄、記号など)を変動表示する変動表示ゲームを開始し、変動表示ゲームの停止結果が予め定めた特別結果となった場合に、遊技者にとって有利な特別遊技状態を発生させるものがある。また、このパチンコ機では、始動入賞に基づき変動表示ゲームの実行に関連する乱数を抽出して、変動表示ゲームの実行権利となる始動記憶として所定数を上限に記憶し、始動記憶に対応する始動記憶表示を所定の表示部に表示するものもある。
従来のパチンコ機として、特図始動記憶に基づく変動表示ゲームが開始されるときに、所定の表示部からこれとは異なる特定表示部(始動記憶の消化領域)に移動表示した始動記憶表示に対応して、特図変動表示ゲームの進行に関連する始動記憶関連報知を実行するものがある(例えば、特許文献1参照)。
特開2013−66654号公報
しかしながら、上記の従来のパチンコ機では単に特図始動記憶関連報知を行うだけで単調であり、遊技の興趣を高めることに関してまだ改善の余地があった。
そこで、本発明は、遊技機において遊技の興趣を高めることを目的とする。
本発明の代表的な一形態では、始動領域への遊技球の入賞に基づき、識別情報を変動表示する特図変動表示ゲームを表示可能な表示装置を備え、前記特図変動表示ゲームの結果が予め定めた特別結果となった場合に、遊技者にとって有利な遊技状態を発生させる遊技機において、前記始動領域への遊技球の入賞に基づき、前記特図変動表示ゲームの実行に関連する乱数を抽出し当該特図変動表示ゲームの実行権利となる始動記憶として所定数を上限に記憶する始動入賞記憶手段と、前記始動入賞記憶手段に記憶されている始動記憶に対応する始動記憶表示を所定の表示部に表示する始動記憶表示手段と、前記始動入賞記憶手段に記憶されている始動記憶に基づく前記特図変動表示ゲームが開始されるときに、当該特図変動表示ゲームに対応する始動記憶表示を前記所定の表示部から当該所定の表示部とは異なる特定表示部に移動するように当該特定表示部に始動記憶対応表示を表示するとともに、当該始動記憶対応表示によって、実行中の特図変動表示ゲームの期待度を報知するように当該特図変動表示ゲームに関連する始動記憶関連報知を実行する始動記憶関連報知制御手段と、前記始動記憶がある場合、当該始動記憶に基づいて特図変動表示ゲームが実行される以前に、当該特図変動表示ゲームの結果を事前判定可能な事前判定手段と、前記事前判定手段の判定結果に基づいて、前記始動記憶に対応する特図変動表示ゲームの期待度を前記始動記憶表示の表示態様によって報知可能な事前判定結果報知手段と、を備え、前記始動記憶対応表示と前記始動記憶表示は、各々、複数の態様で表示可能なメインオブジェクトと、複数の態様で表示可能なサブオブジェクトから構成され、前記始動記憶関連報知制御手段と前記事前判定結果報知手段は、前記メインオブジェクトの態様と前記サブオブジェクトの態様の組み合わせによって、それぞれ、実行中の特図変動表示ゲームの期待度と前記始動記憶に対応する特図変動表示ゲームの期待度を報知可能であり、前記事前判定結果報知手段は、所定条件に基づいて、表示中のサブオブジェクトとは異なる態様のサブオブジェクトを追加することで、前記始動記憶表示の表示態様を表示中の態様よりも期待度の高い態様に変更可能である
なお、始動入賞記憶手段は、例えば、遊技制御装置である。始動記憶表示手段は、例えば、演出制御装置である。始動記憶関連報知制御手段は、例えば、演出制御装置である。始動記憶関連報知は、例えば、消化される始動記憶に対応する始動記憶対応表示や、実行中の特図変動表示ゲームの進行に関連する特図予告表示である。
本発明の一形態によれば、遊技機において遊技の興趣を高めることができる。
本発明の第1の実施の形態の遊技機の斜視図である。 本発明の第1の実施の形態の遊技機に備えられる遊技盤の正面図である。 本発明の第1の実施の形態の風車を示す斜視図である。 本発明の第1の実施の形態の風車を示す後面図である。 本発明の第1の実施の形態の風車を示す側面図である。 本発明の第1の実施の形態の風車を示す軸方向に沿った断面図である。 本発明の第1の実施の形態の風車の他の構成例を示す斜視図である。 本発明の第1の実施の形態の風車の他の構成例を示す後面図である。 本発明の第1の実施の形態の風車の他の構成例を示す上面図である。 本発明の第1の実施の形態の風車の他の構成例を示す正面図(前面図)である。 本発明の第1の実施の形態の風車のさらに他の構成例を示す後面図である。 本発明の第1の実施の形態の遊技盤の拡大図である。 本発明の第1の実施の形態の遊技機の遊技制御装置を中心とする制御系を示すブロック構成図である。 本発明の第1の実施の形態の遊技機の演出制御装置を中心とする制御系を示すブロック構成図である。 本発明の第1の実施の形態のメイン処理の前半部のフローチャートである。 本発明の第1の実施の形態のメイン処理の後半部のフローチャートである。 本発明の第1の実施の形態のタイマ割込み処理の手順を示すフローチャートである。 本発明の第1の実施の形態のコマンド送信処理の手順を示すフローチャートである。 本発明の第1の実施の形態の演出制御コマンド送信処理の手順を示すフローチャートである。 本発明の第1の実施の形態の演出制御コマンド出力処理の手順を示すフローチャートである。 本発明の第1の実施の形態のコマンドデータ出力処理の手順を示すフローチャートである。 本発明の第1の実施の形態の特図ゲーム処理の手順を示すフローチャートである。 本発明の第1の実施の形態の始動口スイッチ監視処理の手順を示すフローチャートである。 本発明の第1の実施の形態の特図始動口スイッチ共通処理の手順を示すフローチャートである。 本発明の第1の実施の形態の特図保留情報判定処理の手順を示すフローチャートである。 本発明の第1の実施の形態の特図普段処理の手順を示すフローチャートである。 本発明の第1の実施の形態の特図1変動開始処理の手順を示すフローチャートである。 本発明の第1の実施の形態の特図2変動開始処理の手順を示すフローチャートである。 本発明の第1の実施の形態の普図ゲーム処理を示すフローチャートである。 本発明の第1の実施の形態のゲートスイッチ監視処理を示すフローチャートである。 本発明の第1の実施の形態の普電入賞スイッチ監視処理を示すフローチャートである。 本発明の第1の実施の形態の普図普段処理の前半部を示すフローチャートである。 本発明の第1の実施の形態の普図普段処理の後半部を示すフローチャートである。 本発明の第1の実施の形態の普図普段処理移行設定処理1を示すフローチャートである。 本発明の第1の実施の形態の普図変動中処理移行設定処理を示すフローチャートである。 (A)本発明の第1の実施の形態の普図変動中処理を示すフローチャートである。(B)普図変動中処理中の普図表示中処理移行設定処理を示すフローチャートである。 本発明の第1の実施の形態の普図表示中処理を示すフローチャートである。 本発明の第1の実施の形態の普図当り中処理移行設定処理を示すフローチャートである。 本発明の第1の実施の形態の普図当り中処理を示すフローチャートである。 本発明の第1の実施の形態の普電作動移行設定処理を示すフローチャートである。 本発明の第1の実施の形態の演出制御装置の主制御用マイコン(1stCPU)710によって実行されるメイン処理の手順を示すフローチャートである。 本発明の第1の実施の形態の1stシーン制御処理の手順を示すフローチャートである。 本発明の第1の実施の形態のコマンド受信割込み処理の手順を示すフローチャートである。 本発明の第1の実施の形態の先読みコマンド受信処理の手順を示すフローチャートである。 本発明の第1の実施の形態の先読み予告態様(保留変化予告態様)の一例を示す図である。 本発明の第1の実施の形態の先読み予告振分テーブルの一例を示す図である。(I)ははずれの場合の先読み予告振分テーブル1、(II)は大当りの場合の先読み予告振分テーブル2である。 本発明の第1の実施の形態の変動中処理の手順を示すフローチャートである。 本発明の第1の実施の形態の始動記憶関連報知処理の手順を示すフローチャートである。 本発明の第1の実施の形態の普図停止図柄、普図予告表示、普電開放種類を対応付けるテーブルである。 本発明の第1の実施の形態の演出制御装置の映像制御用マイコン(2ndCPU)によって実行されるメイン処理の手順を示すフローチャートである。 本発明の第1の実施の形態の通常ゲーム処理の手順を示すフローチャートである。 本発明の第1の実施の形態において特図変動表示ゲームの実行中(変動中)に行われる演出例を示す図である。 本発明の第1の実施の形態において始動記憶消化領域で普図予告表示が行われる例を示す図である。 本発明の第1の実施の形態において始動記憶消化領域で普図予告表示が行われる他の例を示す図である。 本発明の第1の実施の形態の他の遊技盤の例を示す概略図である。 本発明の第1の実施の形態において始動記憶消化領域で特図予告表示が行われる例を示す図である。 本発明の第1の実施の形態の普図予告表示及び特図予告表示の構成例を示す図である。 本発明の第1の実施の形態の変形例1に係る始動記憶関連報知処理の手順を示すフローチャートである。 本発明の第1の実施の形態の変形例1に係る(A)特図予告表示設定処理、(B)普図当り表示設定処理、(C)普図はずれ表示設定処理の手順を示すフローチャートである。 本発明の第1の実施の形態の変形例1に係る特図予告表示の例を示す図である。 本発明の第1の実施の形態の変形例1に係る普図予告表示の例を示す図である。 本発明の第1の実施の形態の変形例1において特図変動表示ゲームの実行中(変動中)に行われる演出例を示す図である。 本発明の第1の実施の形態の変形例1において特図変動表示ゲームの実行中(変動中)に行われる演出例を時系列で示す図である。 本発明の第1の実施の形態の変形例2において特図変動表示ゲームの変動中に行われる保留変化予告(保留表示演出)の演出例を時系列で示す図である。 本発明の第1の実施の形態の変形例2における先読み予告態様を示す図である。 本発明の第1の実施の形態の変形例2において大当り中(特別遊技状態中)に行われる保留変化予告(保留表示演出)の演出例を時系列で示す図である。 本発明の第1の実施の形態の変形例2における始動記憶表示の他の構成例を時系列で示す図である。 本発明の第1の実施の形態の変形例2における始動記憶表示のさらに他の構成例を示す図である。 本発明の第1の実施の形態の変形例2における始動記憶表示のさらに他の構成例を示す別の図である。 本発明の第1の実施の形態の変形例2の保留変化予告(保留表示演出)に係る他の演出例を時系列で示す図である。 本発明の第1の実施の形態の変形例3に係る先読みコマンド受信処理の手順を示すフローチャートである。 本発明の第1の実施の形態の変形例3に係る会話設定処理の手順を示すフローチャートである。 本発明の第1の実施の形態の変形例3において前後の始動記憶表示のペアによって行われる先読み予告の態様を示す図である。 本発明の第1の実施の形態の変形例3における会話演出の一例を示す図である。 本発明の第1の実施の形態の変形例4における普図予告表示や特図予告表示のサブ演出オブジェクトの他の表示態様を示す図である。 本発明の第1の実施の形態の変形例4において、特図予告表示のサブ演出オブジェクトの表示態様が時間経過とともに変化する例を示す図である。 本発明の第1の実施の形態の変形例4において、特図予告表示のサブ演出オブジェクトの表示態様が時間経過とともに変化する他の例(擬似連続演出の例)を示す図である。 本発明の第1の実施の形態の変形例4に係る始動記憶関連報知処理の手順を示すフローチャートである。 本発明の第1の実施の形態の変形例4において、特図予告表示のサブ演出オブジェクトの表示態様が時間経過とともに変化するさらに他の例(擬似連続演出の例)を示す図である。 本発明の第1の実施の形態の変形例5に係る普図予告表示と特図予告表示のメイン演出オブジェクトの態様を示す図である。 本発明の第2の実施の形態の遊技機の演出制御装置を中心とする制御系を示すブロック構成図である。 本発明の第2の実施の形態の機種情報受信処理の手順を示すフローチャートである。 本発明の第2の実施の形態において演出制御装置のバックアップメモリに機種情報が記憶されている状況を示す図である。 本発明の第2の実施の形態において再使用情報を表示する例を示す図である。 本発明の第2の実施の形態において演出制御装置が再使用(再利用)される例を示す図である。 本発明の第2の実施の形態において演出制御装置の一部が再使用(再利用)される例を示す図である。 本発明の第2の実施の形態の変形例1のエラー記憶処理の手順を示すフローチャートである。 本発明の第2の実施の形態の変形例1のエラー履歴表示処理の手順を示すフローチャートである。 本発明の第2の実施の形態の変形例1のエラー履歴の表示例を示す図である。 本発明の第2の実施の形態の変形例1に関連して、不正が行われる様子を示す図である。 本発明の第3の実施の形態の時間調整処理の手順を示すフローチャートである。 本発明の第3の実施の形態において、遊技機間でイベントタイマを同期させる(時刻合わせする)様子を示す図である。 本発明の第3の実施の形態のイベント発生処理の手順を示すフローチャートである。 本発明の第3の実施の形態の途中停電処理の手順を示すフローチャートである。 本発明の第3の実施の形態のRTC継続処理の手順を示すフローチャートである。 本発明の第3の実施の形態の他のイベント発生処理の手順を示すフローチャートである。 本発明の第3の実施の形態において電池に不具合がない場合及び不具合がある場合の様子を示す図である。 本発明の第3の実施の形態の電池不具合報知処理の手順を示すフローチャートである。 本発明の第3の実施の形態の変形例1のイベント中止処理の手順を示すフローチャートである。 本発明の第3の実施の形態の変形例2において、所定の特別演出(イベント)を発生させる様子を示す図である。
以下、図面を参照して、本発明による遊技機の実施形態について説明する。なお、実施形態の説明における前後左右とは、遊技盤に向かって見た方向(遊技者から見た方向)を指すものとする。
(第1の実施の形態)
〔遊技機の構成〕
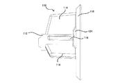
図1は、本発明の第1の実施の形態の遊技機1の斜視図である。
遊技機1は、島設備に固定される本体枠2にヒンジ3を介して右側部が開閉回動自在に取り付けられる開閉枠4を備える。開閉枠4は、前面枠5及びガラス枠(遊技枠)6によって構成される。
前面枠5には、遊技盤30(図2参照)が配設されるとともに、遊技盤30の前面を覆うカバーガラス6aを備えたガラス枠6が取り付けられる。前面枠5及びガラス枠6は、それぞれ個別に開放することが可能となっている。例えば、ガラス枠6のみを開放して遊技盤30の遊技領域31(図2参照)にアクセスすることができる。また、前面枠5をガラス枠6が開放されていない状態で開放することによって、遊技盤30の裏側に配置された遊技制御装置600(図13参照)等にアクセスすることができる。
ガラス枠6のカバーガラス6aの周囲には、装飾部材7が配設されている。装飾部材7の内部にはLED(発光ダイオード:光源)等によって構成された枠装飾装置21(図14参照)が収容されており、枠装飾装置21を制御することによって装飾部材7における発光状態を調整することができる。
ガラス枠6の上部には照明ユニット8が配設され、照明ユニット8の左右両側には可動式照明9が配設される。照明ユニット8は、内部にLED等の照明部材を収容しており、遊技状態に応じて発光演出を行う。可動式照明9は、LED等の照明部材と、照明部材を駆動する照明駆動モータ等から構成される枠演出装置22(図14参照)とを備える。可動式照明9の枠演出装置22は、遊技状態に応じて照明部材を駆動、例えば回転駆動するように制御される。なお、照明ユニット8及び可動式照明9の内部に配設される照明部材も、枠装飾装置21(図14参照)の一部を構成している。
遊技機1は、効果音や警報音、報知音等を発する上スピーカー10a及び下スピーカー10bを備える。上スピーカー10aはガラス枠6の上両側部に配置され、下スピーカー10bは上皿ユニット11を構成する上皿11aの下方に配置される。
左側部に配設される可動式照明9の右上方には、遊技機1における異常を報知するための遊技状態報知LED12が設けられている。遊技機1において異常が発生した場合には、遊技状態報知LED12が点灯又は点滅するとともに、上スピーカー10a及び下スピーカー10bから異常を報知するための報知音が出力される。
遊技機1で発生する異常には、遊技機1の故障及び不正行為の実施等が含まれる。不正行為には、例えば、発射された遊技球の軌道を磁石によって不正に操作する行為や遊技機1を振動させる行為等が含まれる。これらの不正行為は、磁気センサスイッチ23(図13参照)によって磁気を検出したり、振動センサスイッチ24(図13参照)によって振動を検出したりすることで検知される。
また、不正に開閉枠4を開放する行為も不正行為に含まれる。前面枠5の開閉状態は前面枠開放検出スイッチ25(図13参照)によって検出され、ガラス枠6の開閉状態はガラス枠開放検出スイッチ26(図13参照)によって検出される。
ガラス枠6の下部には、上皿11aを含む上皿ユニット11が備えられる。上皿11aに貯留された遊技球は、前面枠5の下部に設けられる球発射装置(図示省略)に供給される。
ガラス枠6の下方位置において前面枠5に固定される固定パネル13には、下皿14と、球発射装置を駆動するための操作部15とが備えられる。遊技者が操作部15を回動操作することによって、球発射装置は上皿11aから供給された遊技球を遊技盤30の遊技領域31(図2参照)に発射する。下皿14には、当該下皿14に貯留された遊技球を外部へ排出するための球抜き機構16が設けられる。
球発射装置(発射手段)は、遊技領域31に遊技球を発射する勢(速度)である発射勢を、遊技者による操作部15の操作に対応して変更でき、発射勢の異なる種々の発射態様で遊技球を発射できる。球発射装置は、遊技者による操作部15の操作に対応して、第1の発射勢で遊技球を発射する第1発射態様と、第1の発射勢とは異なる第2の発射勢で遊技球を発射する第2発射態様と、で発射可能である。例えば、第1発射態様は、左打ちと右打ちのうちの一方であり、第2発射態様は、左打ちと右打ちのうちの他方である。左打ち、右打ちとは、それぞれ、遊技領域31(図2参照)の左側、右側において遊技球を流下させる態様である。
上皿ユニット11には、遊技者からの操作入力を受け付けるための演出ボタン17が上皿11aの手前側に配設されている。遊技者が演出ボタン17を操作することによって、変動表示装置(表示装置、変動表示手段)35(図2参照)での変動表示ゲームにおいて遊技者の操作を介入させた演出を行うことができ、また通常遊技状態においては演出パターン(演出態様)を変更することができる。変動表示ゲームには、特図変動表示ゲームと普図変動表示ゲーム(普図ゲーム、特定変動表示ゲーム)が含まれるが、本明細書では単に変動表示ゲームとした場合には特図変動表示ゲームを指すものとする。
なお、通常遊技状態(通常状態)とは、特定の遊技状態が発生していない遊技状態である。特定の遊技状態とは、例えば特図変動表示ゲームの結果が大当りになる確率が高い確変遊技状態(高確率状態、確率変動状態)、変動時間の短縮機能が作動して特図変動表示ゲームの単位時間当たりの実行数を向上させることが可能な時短遊技状態(時短状態)、大当り遊技状態(特別遊技状態)等である。また、高確率状態に対応して通常遊技状態を低確率状態ともいう。なお、確変遊技状態(潜伏確変遊技状態を除く)と時短遊技状態とでは、後述の普電サポートが実行される。
ガラス枠6の装飾部材7の下部には、遊技者が遊技球を借りる場合に操作する球貸ボタン18と、カードユニット(図示省略)からプリペイドカード等を排出させるために操作される排出ボタン19とが配設される。また、球貸ボタン18及び排出ボタン19の間には、プリペイドカード等の残高を表示する残高表示部20が設けられる。
図2は、本発明の第1の実施の形態の遊技機1に備えられる遊技盤30の正面図である。
遊技盤30は、各種部材の取り付けベースとなる平板状の遊技盤本体32(木製又は合成樹脂製)を備え、該遊技盤本体32の前面にガイドレール33で囲まれた略円形状の遊技領域31を有している。また、遊技盤本体32の前面であってガイドレール33の外側には、前面構成部材(サイドケース)が取り付けられている。さらに、遊技領域31の右下側の前面構成部材は、前面の中央部が黒色透明の証紙プレートで覆われている。そして、このガイドレール33で囲まれた遊技領域31内に球発射装置から遊技球を発射して遊技を行うようになっている。遊技領域31には、打球方向変換部材としての風車110や多数の障害釘160などが配設されており、発射された遊技球はこれらの打球方向変換部材により転動方向を変えながら遊技領域31を流下する。
遊技領域31の略中央には、変動表示ゲームの表示領域となる窓部を形成するセンターケース34が取り付けられている。センターケース34に形成された窓部の後方には、複数の識別情報を変動表示(可変表示)する変動表示ゲームの演出を実行可能な演出表示装置としての変動表示装置(表示装置)35が配置されている。変動表示装置35は、例えば、液晶ディスプレイなどの表示部35aを備え、センターケース34の窓部を介して遊技盤30の前面側から表示内容が視認可能となるように配置される。なお、変動表示装置35は、液晶ディスプレイを備えるものに限らず、EL、CRT等のディスプレイを備えるものであってもよい。
変動表示装置35において、表示画面の画像を表示可能な領域(表示領域)には、特図変動表示ゲームを表示する複数の特図変動表示領域が設けられており、各特図変動表示領域に識別情報(特別図柄)や変動表示ゲームを演出するキャラクタが表示される。その他、表示画面には遊技の進行に基づく画像(例えば、大当り表示、ファンファーレ表示、エンディング表示等)が表示される。
遊技領域31のセンターケース34の右側には、普通図柄始動ゲート(普図始動ゲート、普図始動領域、所定領域)36が設けられている。普図始動ゲート36の内部には、該普図始動ゲート36を通過した遊技球を検出するためのゲートスイッチ(SW)603(図13参照)が設けられている。そして、遊技領域31内に打ち込まれた遊技球が普図始動ゲート36内を通過(所定条件の成立)すると、普図変動表示ゲーム(特定変動表示ゲーム)が実行される。なお、普通図柄始動ゲート36は、障害釘160で入球の調整ができる。
さらに、センターケース34の左下側には、一般入賞口40が配置され、センターケース34の右下側にも、一般入賞口40が配置されている。また、一般入賞口40への遊技球の入賞は、一般入賞口40に備えられた入賞口スイッチ(SW)604a〜604m(図13参照)によって検出される。
また、センターケース34の下方には、特図変動表示ゲームの開始条件を与える第1始動入賞口(第1始動入賞領域、第1特図入賞口、始動口1)37aが設けられ、その直下には遊技球が流入し易い開状態に変換する開閉部材37cを備えるとともに内部に第2始動入賞口(第2始動入賞領域、第2特図入賞口、始動口2)37bが配設されている。そして、遊技球が第1始動入賞口37a又は第2始動入賞口37bに入賞した場合には、補助遊技として特図変動表示ゲームが実行される。すなわち、第1始動入賞口37a又は第2始動入賞口37bに遊技球が入賞することが特図変動表示ゲームを開始するための始動条件となっており、第1始動入賞口37a及び第2始動入賞口37bが当該始動条件を発生させる変動始動入賞装置をなしている。なお、第1始動入賞口37aと第2始動入賞口37bは、障害釘160で入球の調整ができる。
第2始動入賞口37bの開閉部材37cは、常時は閉じた閉状態(遊技者にとって不利な状態)を保持している。ただし、第2始動入賞口37bは、開閉部材37cが閉じた状態では遊技球が入賞できないように構成されている。
そして、普図変動表示ゲームの結果が所定の停止表示態様となった場合には、開閉部材37cは、駆動装置としての普電ソレノイド27(図13参照)によって、開いて第2始動入賞口37bに遊技球が流入し易い開状態(遊技者にとって有利な状態)に変化させられるように構成されている。
さらに遊技領域31の第1始動入賞口37aの右方には、大入賞口ソレノイド28(図13参照)によって上端側が手前側に倒れる方向に回動して開放可能になっているアタッカ形式の開閉扉41aを有する大入賞口を備えた特別変動入賞装置41が設けられている。特別変動入賞装置41は、特図変動表示ゲームの結果によって大入賞口を閉じた状態(遊技者にとって不利な閉塞状態)から開放状態(遊技者にとって有利な状態、特別遊技状態)に変換し、大入賞口内への遊技球の流入を容易にさせることで、遊技者に所定の遊技価値(賞球)を付与するようになっている。なお、各大入賞口の内部(入賞領域)には、当該大入賞口に入った遊技球を検出する検出手段としてのカウントスイッチ605(図13参照)が配設されている。
一般入賞口40、第1始動入賞口37a、第2始動入賞口37b、及び特別変動入賞装置41の大入賞口に遊技球が入賞すると、払出制御装置640(図13参照)は、入賞した入賞口の種類に応じた数の賞球を払出装置から前面枠5の上皿11a又は下皿14に排出するように制御する。また、特別変動入賞装置41の下方には、入賞口などに入賞しなかった遊技球を回収するアウト口42が設けられている。
また、遊技領域31の外側(例えば、遊技盤30の右下部)には、変動表示装置35における特図変動表示ゲーム(第1特図変動表示ゲーム、第2特図変動表示ゲーム)、及び普図始動ゲート36への入賞(入球)をトリガとする普図変動表示ゲームを実行する一括表示装置50が設けられている。さらに、一括表示装置50には、現在の遊技状態などの情報を表示する表示部が設けられている。
一括表示装置50は、7セグメント型の表示器(LEDランプ)等で構成された変動表示ゲーム用の第1特図変動表示部(特図1表示器)51及び第2特図変動表示部(特図2表示器)52と、普図変動表示ゲーム用の変動表示部(普図表示器)53と、同じくLEDランプで構成された各変動表示ゲームの始動記憶数報知用の記憶表示部(特図1保留表示器54、特図2保留表示器55、普図保留表示器56)を備える。
また、一括表示装置50には、大当りが発生すると点灯して大当り発生を報知する第1遊技状態表示部(第1遊技状態表示器)57、時短遊技状態が発生すると点灯して時短遊技状態発生を報知する第2遊技状態表示部(第2遊技状態表示器)60、遊技機1の電源投入時に大当りの確率状態が高確率状態となっているエラーを表示するエラー表示器58、大当り時のラウンド数(特別変動入賞装置41の開閉扉41aの開閉回数)を表示するラウンド表示部59が設けられている。
特図1表示器51又は特図2表示器52における特図変動表示ゲームは、変動表示ゲームの実行中、すなわち、変動表示装置35において飾り特図変動表示ゲームを行っている間は、7セグメント型の表示器のセグメントを点滅させることによって、特別識別情報(特図、特別図柄)を所定時間ごとに切り替える変動表示を行う。
そして、特別識別情報の変動表示の開始時点で決定されている変動時間が経過すると、変動表示ゲームの結果に対応する特別識別情報で変動表示を停止して、特図1表示器51又は特図2表示器52における特図変動表示ゲームを終了する。
普図表示器53は、変動中はランプを点滅させて変動中であることを表示(特定識別情報を変動表示)する。そして、ゲームの結果が「はずれ」のときは、例えばランプを消灯状態にし、ゲームの結果が「当り」のときはランプを点灯状態にしてゲーム結果を表示する。
特図1保留表示器54は、特図1表示器51の変動開始条件となる第1始動入賞口37aへの入賞によって発生した始動記憶のうち未消化の始動記憶数(=保留数、特図1保留数)を表示する。始動記憶は、変動表示ゲームの実行に関する情報の記憶であり、変動表示ゲームの実行権利となる。具体的には、LEDランプが4つ設けられ、保留数が「0」のときは4つのランプを全て消灯状態にし、保留数が「1」のときはランプ1のみを点灯状態にする。また、保留数が「2」のときはランプ1と2を点灯状態にし、保留数が「3」のときはランプ1と2と3を点灯状態にし、保留数が「4」のときは4つのランプ1〜4をすべて点灯状態にする。
特図2保留表示器55は、特図2表示器52の変動開始条件となる第2始動入賞口37bへの入賞によって発生した始動記憶のうち未消化の始動記憶数(=保留数、特図2保留数)を、特図1保留表示器54と同様にして表示する。
普図保留表示器56は、普図表示器53の変動開始条件となる普図始動記憶数(=普図保留数)を表示する。例えばLEDランプが2つ設けられる場合は、普図保留数が「0」のときはランプ1と2を消灯状態にし、普図保留数が「1」のときはランプ1のみを点灯状態にする。また、普図保留数が「2」のときはランプ1と2を点灯状態にし、普図保留数が「3」のときはランプ1を点滅、ランプ2を点灯状態にし、普図保留数が「4」のときはランプ1と2を点滅状態にする。
第1遊技状態表示器57は、例えば通常の遊技状態の場合にはランプを消灯状態にし、大当りが発生している場合にはランプを点灯状態にする。第2遊技状態表示器60は、例えば通常の遊技状態の場合にはランプを消灯状態にし、時短遊技状態が発生している場合にはランプを点灯状態にする。
エラー表示器58は、例えば遊技機1の電源投入時に大当りの確率状態が低確率状態の場合にはランプを消灯状態にし、遊技機1の電源投入時に大当りの確率状態が高確率状態の場合にはランプを点灯状態にする。
ラウンド表示部59は、例えば、通常の遊技状態の場合にはランプを消灯状態にし、大当りが発生した場合にはその大当りのラウンド数に対応するランプ(2ラウンド(2R)又は15ラウンド(15R))を点灯状態にする。なお、ラウンド表示部59は7セグメント型の表示器で構成してもよい。
遊技機1では、球発射装置(図示省略)によって打ち出された遊技球は、ガイドレール33の内周壁に沿って区画された発射球案内通路43を通って遊技領域31内に発射され、方向変換部材(図示省略)によって落下方向を変えながら遊技領域31を流下する。発射球案内通路43はガイドレール33と内レール44とによって形成されており、発射球案内通路43の出口に位置する内レール44の端部には弁体46が設けられる。弁体46の下端は内レール44に固定され、弁体46は発射球案内通路43の出口を塞ぐように配設される。弁体46は、金属板からなる板ばね部材であり、発射球案内通路43から遊技領域31に発射される遊技球の通過を許容する一方、遊技領域31側から発射球案内通路43への遊技球の逆流を禁止する。
ここで、本発明の第1の実施の形態の遊技機1における遊技の流れ、及び変動表示ゲーム(普図変動表示ゲーム、特図変動表示ゲーム)の詳細について説明する。
前述のように、本発明の第1の実施の形態の遊技機1では、図示しない球発射装置から遊技領域31に向けて遊技球(パチンコ球)が打ち出されることによって遊技が行われる。打ち出された遊技球は、遊技領域31内の各所に配置された風車110や障害釘160等の方向転換部材によって転動方向を変えながら遊技領域31を流下し、普図始動ゲート36、一般入賞口40、第1始動入賞口37a、第2始動入賞口37b又は特別変動入賞装置41に入賞(入球)するか、遊技領域31の最下部に設けられたアウト口42へ流入し遊技領域31から排出される。そして、一般入賞口40、第1始動入賞口37a、第2始動入賞口37b又は特別変動入賞装置41に遊技球が入賞すると、入賞した入賞口の種類に応じた数の賞球が、払出制御装置640によって制御される払出ユニットから、前面枠5の上皿11a又は下皿14に排出される。
前述のように、普図始動ゲート36内には、該普図始動ゲート36を通過(入球)した遊技球を検出するゲートスイッチ603(図13参照)が設けられている。普図始動ゲート36は、例えば、非接触型のスイッチである。遊技領域31内に打ち込まれた遊技球が普図始動ゲート36(普図始動領域)内を通過すると、ゲートスイッチ603によって検出され、普図変動表示ゲームが実行される。
また、普図変動表示ゲームを開始できない状態、例えば、既に普図変動表示ゲームが行われ、その普図変動表示ゲームが終了していない場合や、普図変動表示ゲームの結果が当りとなって第2始動入賞口37bが開放状態に変換されている場合に、普図始動ゲート36を遊技球が通過(入球)すると、普図始動記憶数の上限数未満ならば、普図始動記憶数が加算(+1)されて普図始動記憶が1つ記憶されることとなる。普図始動記憶の数は、一括表示装置50の普図保留表示器56に表示される。このように、遊技制御装置600は、普図始動記憶を記憶保持する普図始動記憶手段として機能する。
また、普図始動記憶(普図保留)には、普図変動表示ゲームの当りはずれを決定するための当り判定用乱数値(所定の乱数、普図乱数値)が記憶されるようになっていて、この当り判定用乱数値が判定値と一致した場合に、当該普図変動表示ゲームが当りとなって特定の結果態様(特定結果)が導出されることとなる。なお、当り判定用乱数値についての詳細は後述する。
普図変動表示ゲームは、一括表示装置50に設けられた変動表示部(普図表示器)53で実行されるようになっている。普図表示器53は、普図図柄を表示する普図変動表示手段又は普図表示領域として機能し、普通識別情報(普図、普通図柄、第1識別情報)として、点灯状態の場合に当りを示し、消灯状態の場合にはずれを示すLEDから構成され、このLEDを点滅表示することで普通識別情報の変動表示を行い、所定の変動表示時間の経過後、LEDを点灯又は消灯することで結果を表示するようになっている。遊技制御装置600は、普図始動ゲート36への入球、若しくは各普図始動記憶に基づいて、普図表示器53で普図変動表示ゲームを行う。
なお、普通識別情報として例えば数字、記号、キャラクタ図柄などを用い、これを所定時間変動表示させた後、停止表示させることにより行うように構成してもよい。この普図変動表示ゲームの停止結果が特定結果となれば、普図の当りとなって、第2始動入賞口37bの開閉部材37cが所定時間(例えば、0.3秒間)開放される開放状態(遊技者に有利な特定状態)となる。これにより、第2始動入賞口37bに遊技球が入賞し易くなり、第2特図変動表示ゲームが実行される回数が多くなる。
普図始動ゲート36への通過検出時に抽出した普図乱数値が当り値であるときには、普図表示器53(普図変動表示手段)に表示される普通図柄が当り状態で停止し、当り状態となる。このとき、第2始動入賞口37bは、内蔵されている普電ソレノイド27(図13参照)が駆動されることにより、開閉部材37cが所定の時間(例えば、0.3秒間)だけ開放する状態に変換され、第2始動入賞口37bへの遊技球の入賞が許容される。
第1始動入賞口37aへの入賞球及び第2始動入賞口37bへの入賞球は、それぞれ内部に設けられた第1始動口スイッチ601(図13参照)と第2始動口スイッチ602(図13参照)によって検出される。第1始動入賞口37aに入賞した遊技球は第1特図変動表示ゲームの始動入賞球として検出され、4個を限度に記憶されるとともに、第2始動入賞口37bに入賞した遊技球は第2特図変動表示ゲームの始動入賞球として検出され、4個を限度に記憶される。
また、この始動入賞球の検出時にそれぞれ大当り乱数値や大当り図柄乱数値、並びに各変動パターン乱数値が抽出され、抽出された乱数値は、遊技制御装置600(図13参照)内の特図記憶領域(RAMの一部)に特図始動入賞記憶(始動記憶)として各々所定回数分(例えば、最大で4回分)を限度に記憶される。そして、この特図始動入賞記憶の記憶数は、一括表示装置50の始動入賞数報知用の記憶表示部(特図1保留表示器54、特図2保留表示器55)に表示されるとともに、センターケース34の変動表示装置35においても表示される。このように、遊技制御装置600は、始動記憶を記憶保持する始動入賞記憶手段として機能する。
遊技制御装置600は、第1始動入賞口37a又は第2始動入賞口37bへの入賞、若しくは各始動記憶に基づいて、特図表示器(変動表示装置、特図1表示器51又は特図2表示器52)で第1特図変動表示ゲーム又は第2特図変動表示ゲームを行う。
第1特図変動表示ゲーム及び第2特図変動表示ゲームは、複数の特別図柄(特図、第2識別情報)を変動表示したのち、所定の結果態様を停止表示することで行われる。また、変動表示装置35にて各特図変動表示ゲームに対応して複数種類の識別情報(例えば、数字、記号、キャラクタ図柄など)を変動表示させる飾り特図変動表示ゲームが実行されるようになっている。
変動表示装置35における飾り特図変動表示ゲームは、例えば前述した数字等で構成される飾り特別図柄(第2識別情報)が左(第一特別図柄)、右(第二特別図柄)、中(第三特別図柄)の順に変動表示を開始して、所定時間後に変動している図柄を順次停止させて、特図変動表示ゲームの結果を表示することで行われる。また、変動表示装置35では、特図入賞記憶の記憶数に対応する飾り特別図柄による飾り特図変動表示ゲームを行うとともに、興趣向上のためにキャラクタの出現など多様な演出表示が行われる。
さらに、第1始動入賞口37a又は第2始動入賞口37bへの入賞が所定のタイミングでなされたとき(具体的には、入賞検出時の当り乱数値が当り値であるとき)には特図変動表示ゲームの結果として表示図柄により特定の結果態様(特別結果態様)が導出されて、大当り状態(特別遊技状態)となる。また、これに対応して変動表示装置35の表示態様も特別結果態様(例えば、「7,7,7」等のゾロ目数字のいずれか)となる。
このとき、特別変動入賞装置41は、大入賞口ソレノイド28(図13参照)への通電によって、大入賞口が所定の時間(例えば、30秒)だけ、遊技球を受け入れない閉状態(遊技者に不利な状態)から遊技球を受け入れやすい開状態(遊技者に有利な状態)に変換される。すなわち、特別変動入賞装置41に備えられた大入賞口が所定の時間又は所定数の遊技球が入賞するまで大きく開くので、この間遊技者は多くの遊技球を獲得することができるという特典が付与される。
なお、特図1表示器51、特図2表示器52は、別々の表示器でもよいし同一の表示器でもよいが、各特図変動表示ゲームが同時に実行されないようにする。また、変動表示装置35における飾り特図変動表示ゲームについても、第1特図変動表示ゲームと第2特図変動表示ゲームとを別々の表示装置や別々の表示領域で実行するようにしてもよいし、同一の表示装置や表示領域で実行するようにしてもよい。この場合、第1特図変動表示ゲーム及び第2特図変動表示ゲームに対応する飾り特図変動表示ゲームが同時に実行されないようにする。
また、第1特図変動表示ゲーム(第2特図変動表示ゲーム)が開始可能な状態で、かつ、始動記憶数が0の状態で、第1始動入賞口37a(第2始動入賞口37b)に遊技球が入賞すると、始動権利の発生に伴って始動記憶(特図始動記憶)が記憶される。このとき、始動記憶数が1加算されるとともに、直ちに始動記憶に基づいて、第1特図変動表示ゲーム(第2特図変動表示ゲーム)が開始され、この際に始動記憶数が1減算される。なお、第1特図変動表示ゲームを実行するための始動記憶を第1特図始動記憶、第2特図変動表示ゲームを実行するための始動記憶を第2特図始動記憶とする。
一方、第1特図変動表示ゲーム(第2特図変動表示ゲーム)が直ちに開始できない状態、例えば、既に第1特図変動表示ゲーム又は第2特図変動表示ゲームが行われ、その特図変動表示ゲームが終了していない状態や、特別遊技状態となっている場合に、第1始動入賞口37a(第2始動入賞口37b)に遊技球が入賞すると、始動記憶数が上限数未満ならば、始動記憶数が1加算されて始動記憶が1つ記憶される。そして、始動記憶数が1以上となった状態で、第1特図変動表示ゲーム(第2特図変動表示ゲーム)が開始可能な状態(前回の特図変動表示ゲームの終了若しくは特別遊技状態の終了)となると、始動記憶数が1減算されるとともに、記憶された始動記憶に基づいて第1特図変動表示ゲーム(第2特図変動表示ゲーム)が開始される。
なお、以下の説明において、第1特図変動表示ゲームと第2特図変動表示ゲームを区別しない場合は、単に特図変動表示ゲームと称する。
また、特に限定されるわけではないが、前述した第1始動入賞口37a内の第1始動口スイッチ601、第2始動入賞口37b内の第2始動口スイッチ602、ゲートスイッチ603、入賞口スイッチ604a〜604n、カウントスイッチ605には、磁気検出用のコイルを備え該コイルに金属が近接すると磁界が変化する現象を利用して遊技球を検出する非接触型の磁気近接センサ(以下、近接スイッチと称する)が使用されている。前面枠5に前面枠開放検出スイッチ25やガラス枠6に設けられたガラス枠開放検出スイッチ26には、機械的な接点を有するマイクロスイッチを用いることができる。
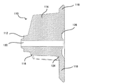
〔風車の構成〕
次に、図3−図12を参照して、風車110について説明する。図3は、本発明の第1の実施の形態の風車110を示す斜視図であり、図4は、第1の実施の形態の風車110を後方(遊技者側と反対側)から見た後面図である。図5は、第1の実施の形態の風車110を側面から見た側面図であり、図6は、第1の実施の形態の風車110の軸方向に沿った断面図である。
風車状の部材である風車110は、遊技盤30の遊技領域31の下部で第1始動入賞口37aに向けて直線状に配列された障害釘160の列163の端付近に位置する。列163の端の障害釘160aが風車110に近接する(図12参照)。風車110は、円筒状の軸部112と、軸部112から外側に放射状に延在するように設けた複数の翼部114とを有する。風車110の軸部112には、突出部116が設けられる。突出部116は、隣り合う翼部114の間で、軸部112から外側に放射状に延びて突出する。円筒状の軸部112の中心軸に対して軸部112から略半径方向への高さ(長さ)に関して、突出部116の高さ(長さ)は当該翼部114よりも低い(短い)。翼部114と突出部116は、軸部112の軸方向に沿って延在するように設けられている。
翼部114と軸部112の前面側(遊技者側)には、装飾部としても機能する略円盤状の傘部118が接続して設けられる。傘部118の円周状の先端はテーパ状に先細りになっている。傘部118の前側には、軸部112の前面に対峙して円状の凹部126が設けられて、軸部112の前面の一部は前方(遊技者側)を臨む。円筒状の軸部112の内部は、釘を通すための貫通孔120となっている。釘を前方(遊技者側)から通して釘先端を遊技盤30に埋設することによって、風車110は、釘の周りで回転可能な状態で遊技盤30に取付けられる。この場合に、凹部126には、釘の頭部が収納できる。また、凹部126によって傘部118の装飾効果が得られるとともに、傘部118の材料費が低下する。
補強部124は、隣り合う二つの翼部114を繋ぐように設けられ、また、突出部116の遊技者側前端(根元部)に接続して突出部116の前端を覆う。このため、補強部124は、翼部114と突出部116の強度を増加させ、翼部114と突出部116に遊技球が衝突して破損することを防止できる。補強部124は、傘部118の前側の凹部126に位置的に対応して設けられてもよい。
なお、本実施形態において、風車110は、上記の軸部112、翼部114、突出部116、傘部118を含んだ形で樹脂材料を用いて一体成型される。一方、各部を独立に成型してから接続して組立ることもできるが、この場合には各部を異なる材料で作製してもよい。
風車110の軸部112とこれに近接する障害釘160aとの隙間170が広がると、この隙間170を遊技球が通り抜け落下し易く(こぼれ易く)なり、第1始動入賞口37aへの遊技球の入球が困難になり入球割合が設計値から外れてしまうなど問題となる可能性がある(図12の遊技盤拡大図の矢印参照)。しかし、この隙間を狭めるために、軸部112を太くすると風車110を作製する材料費が高くなり、傘部118のサイズを小さくすると、装飾部材としての風車110の装飾性が低下する。本実施形態では、突出部116によって、軸部112と近接する障害釘160aとの間の隙間が埋められて、この隙間を遊技球が通り抜け難くなる。即ち、軸部112に設けられた突出部116と近接する障害釘160aとの間隔は狭いため、風車110において、遊技球が隙間170を通ってこぼれて落下することが防止される。
図7と図8は、各々、風車110の他の構成例を示す斜視図と後面図である。図7と図8のように、風車110の傘部118の後側には、隣り合う二つの翼部114の間で円弧状の凸部127が設けられてもよい。凸部127の両端には凸部127の強度を向上させる補強部128が設けられ、凸部127は補強部128を介して翼部114に連結される。補強部128は、翼部114と傘部118の接続箇所を覆うように設けられるため、翼部114の強度も向上できる。軸部112を中心とする円弧状の凸部127は、翼部114の半径方向外側の端部と略同一円上になるように配置されている。
円弧状の凸部127は、風車110内で翼部114などに当たって跳ねた遊技球が、そのままカバーガラス6a側の斜め前方に向かって風車110から飛び出すことを防止する。斜め前方に向かって跳ねた遊技球は、凸部127に衝突して進路が変えられるか風車110内に引き戻されるため、風車110内に入った遊技球は、遊技盤3の盤面側に誘導され、風車110からの遊技球の跳ね方が安定することになる。
図9(A)(B)の上面図のように、風車110の円弧状の凸部127は、円周方向において傾斜する傾斜面を有してもよい。例えば、風車110を上方から見た場合に、凸部127が所定の傾斜角で傾斜するようにしてよい。図9(A)のような右傾斜の凸部127の場合に、風車110の上側に位置している二つの翼部114a、114bの間に遊技球が乗ったときに、遊技球は右側の広い空間に入り易くなり、遊技球は右側の翼部114aに当たって、風車110は右周り(前方から見て時計回り)に回転し遊技球が遊技盤30の内側(右側)に誘導されることになる。一方、図9(B)のような左傾斜の凸部127の場合に、風車110の上側に位置している二つの翼部114a、114bの間に遊技球が乗ったときに、遊技球は左側の広い空間に入り易くなり、遊技球は左側の翼部114bに当たって、風車110は左周り(前方から見て反時計回り)に回転し遊技球が遊技盤30の外側(左側)に誘導されることになる。
このように凸部127に傾斜を設けることによって、風車110に乗った遊技球を遊技盤30の内側(中央側、ステージ150側)又は外側(外部側)の一方の側に誘導することができる。また、遊技盤30の内側又は外側に誘導される遊技球の割合は、凸部127の傾斜の大きさ(傾斜角)によって調整できる。
なお、図10(A)の正面透視図のように、風車110の三つの凸部127の全てではなくそのうちの一つのだけ凸部127aを円周方向に沿って傾斜して、例えばステージ150側へ遊技球を誘導するようにし、図10(B)の正面図のように、傘部118の前面(正面)にその旨(例えば「ステージへ」)と表示する構成としてもよい。
なお、図11の後面図のように風車110に乗った遊技球を遊技盤30の内側又は外側の一方の側に誘導するために、突出部116の半径方向外側に軸方向に平行な傾斜面117を設ける構成も採用できる。図11の例では、遊技球が傾斜面117に当たって傾斜面117を臨む側の翼部114へと流れて、風車110は後方から見て時計回り(前方から見て反時計回り)に回転し易くなり、遊技球が遊技盤30の外側に誘導され易くなる。
〔遊技制御装置〕
次に、図13を参照して、遊技機1に備えられる遊技制御装置600について説明する。図13は、本発明の第1の実施の形態の遊技機1の遊技制御装置600を中心とする制御系を示すブロック構成図である。
図13に示す遊技制御装置600は、遊技機1における遊技を統括的に制御する主制御装置(主基板)である。遊技制御装置600には、電源装置800、払出制御装置640、及び演出制御装置700が接続される。遊技制御装置600は、払出制御装置640や演出制御装置700に制御信号(コマンド)を送信する送信手段を有し、各種処理の実行を指示する。さらに、遊技制御装置600には、各種スイッチや制御対象のソレノイド等が接続される。
遊技制御装置600は、各種演算処理を行うCPU部610と、各種信号の入力を受け付ける入力部620と、各種信号や制御信号を出力する出力部630とを備える。CPU部610、入力部620、及び出力部630は、互いにデータバス680によって接続される。
入力部620は、スイッチベース等に設けられた各種スイッチから出力される信号や払出制御装置640から出力される信号を受け付ける。この入力部620は、近接インターフェース(I/F)621及び入力ポート622、623を備える。
入力ポート622、623は、近接I/F621を介して入力される信号を受け付けたり、外部から入力される信号を直接受け付けたりする。入力ポート622、623に入力した情報は、データバス680を介してCPU部610等に提供される。
近接I/F621は、各種スイッチから出力された信号を受け付け、それら入力信号を変換して入力ポート622に出力するインターフェースである。近接I/F621には、第1始動口スイッチ601、第2始動口スイッチ602、ゲートスイッチ603、入賞口スイッチ604a〜604n、及びカウントスイッチ605が接続される。
第1始動口スイッチ601は、遊技球が第1始動入賞口37aに入賞したことを検出するスイッチである。第2始動口スイッチ602は、遊技球が第2始動入賞口37bに入賞したことを検出するスイッチである。ゲートスイッチ603は、遊技球が普図始動ゲート36を通過したことを検出するスイッチである。入賞口スイッチ604a〜604nは、遊技球が一般入賞口40に入賞したことを検出するスイッチである。
第1始動口スイッチ601及び第2始動口スイッチ602の検出信号は、入力ポート622に出力されるとともに、CPU部610の反転回路612を介して遊技用マイコン(マイクロコンピュータ)611に出力される。これは、遊技用マイコン611の信号入力端子がロウレベルを有効レベルとして検知するように設計されているためである。
カウントスイッチ605は、遊技球が大入賞口に入賞したことを検出するスイッチである。カウントスイッチ605によって遊技球の入賞が検出されると、入賞した遊技球の数がカウントされ、カウントされた遊技球の数が遊技制御装置600に備えられたメモリに記憶される。
近接I/F621への入力信号の電圧は通常時には所定範囲内となっているため、近接I/F621によれば、各種スイッチからの信号の電圧値に基づいて各種スイッチにおけるリード線の断線、ショート、電圧値異常等を検出できる。このような異常を検出すると、近接I/F621は、異常検知出力端子から異常を示す信号を出力する。
また、入力ポート622には磁気センサスイッチ23及び振動センサスイッチ24からの信号が直接入力され、入力ポート623には前面枠開放検出スイッチ(SW)25及びガラス枠開放検出スイッチ(SW)26からの信号が直接入力される。入力ポート623には、払出制御装置640からの各種信号も入力される。
磁気センサスイッチ23は、発射された遊技球の軌道を磁石によって操作する不正行為を検出するために磁力を検出する。振動センサスイッチ24は、遊技機1を振動させる不正行為を検出するために遊技機1の振動を検出する。
前面枠開放検出SW25は、前面枠5が開放されたことを検出する。前面枠開放検出SW25は、前面枠5が本体枠2から開放されるとオンに設定され、前面枠5が本体枠2に閉止されるとオフに設定される。
ガラス枠開放検出SW26は、ガラス枠6が開放されたことを検出する。ガラス枠開放検出SW26は、ガラス枠6が前面枠5から開放されるとオンに設定され、ガラス枠6が前面枠5に閉止されるとオフに設定される。
遊技制御装置600のCPU部610は、遊技用マイコン611と、反転回路612と、水晶発振器613とを備える。
遊技用マイコン611は、CPU611a、ROM611b、及びRAM611cを有しており、入力部620を介して入力された信号に基づいてROM611bに記憶されたプログラムを実行して大当り抽選等の各種処理を実行する。遊技用マイコン611は、出力部630を介して、遊技状態報知LED12、一括表示装置50、普電ソレノイド27、大入賞口ソレノイド28、演出制御装置700、及び払出制御装置640に制御信号を送信し、遊技機1を統括的に制御する。遊技用マイコン611は、チップセレクトで、信号を入力又は出力するポートを選択している。
ROM611bは、不揮発性の記憶媒体であり、遊技制御のためのプログラムやデータ等を記憶する。ROM611bは、例えば、特図変動表示ゲームの実行時間、演出内容、リーチ状態の発生の有無などを規定する変動パターンを決定するための変動パターン振り分け情報を記憶している。
変動パターン振り分け情報とは、始動記憶として記憶されている変動パターン乱数1〜3をCPU611aが参照して変動パターンを決定するための振り分け情報である。また、変動パターン振り分け情報には、結果がはずれとなる場合に選択されるはずれ変動パターン振り分け情報、結果が15R当りや2R当りとなる場合に選択される大当り変動パターン振り分け情報等が含まれる。例えば、特図変動表示ゲームがリーチなしの変動パターン(短縮変動と通常変動を含む)に係る変動パターン振り分け情報、特図変動表示ゲームにてノーマル(N)リーチを実行する変動パターンに係る変動パターン振り分け情報、特図変動表示ゲームにてスペシャル(SP)1リーチを実行する変動パターンに係る変動パターン振り分け情報、特図変動表示ゲームにてスペシャル(SP)2リーチを実行する変動パターンに係る変動パターン振り分け情報、大当りとなる特図変動表示ゲームにてスペシャル(SP)3リーチを実行する変動パターンに係る変動パターン振り分け情報等がある。さらに、これらのパターン振り分け情報には、後半変動パターン振り分け情報、前半変動パターン振り分け情報が含まれている。
ここでリーチ状態(単にリーチとも呼ぶ)とは、飾り特図変動表示ゲームにおいて、複数の識別情報(特別図柄)のうち既に導出表示されている識別情報の表示結果が飾り特図変動表示ゲームの特別結果態様となる条件を満たしている表示状態をいう。また、例えば、特別結果態様が揃った状態を維持しながら複数の特図変動表示領域による変動表示を行う状態(いわゆる全回転リーチ)もリーチ状態に含まれる。
本実施形態では、リーチ状態は、特に、複数の識別情報が特別結果態様を発生可能な識別情報で停止し、最後に停止する識別情報が変動している状態である。また、リーチ状態には、大当り遊技状態(特別遊技状態)の予告演出となる複数のリーチ演出が含まれる。特別結果態様が導出されて大当り(特別遊技状態)となる可能性が異なる(期待度又は信頼度が異なる)リーチ演出として、ノーマルリーチ、スペシャル(SP)1リーチ、スペシャル(SP)2リーチ、スペシャル(SP)3リーチ等が設定されている。なお、これらリーチ系統(リーチ種類)について大当りの期待度は、リーチなし<ノーマルリーチ<スペシャル1リーチ<スペシャル2リーチ<スペシャル3リーチの順に高くなるようになっている。
RAM611cは、揮発性の記憶媒体であり、遊技制御に必要な情報(例えば、乱数値など)を一時的に記憶するワークエリアとして利用される。ROM611b又はRAM611cとして、EEPROMのような電気的に書換え可能な不揮発性メモリを用いてもよい。
反転回路612は、近接I/F621を介して入力された信号(第1始動口スイッチ601及び第2始動口スイッチ602からの信号)の論理値を反転させて遊技用マイコン611に出力する。
水晶発振器613は、タイマ割込み、システムクロック信号、大当り抽選等を行うためのハード乱数の動作クロック源として構成されている。
遊技制御装置600の出力部630は、ポート631a〜631eと、バッファ632a、632bと、ドライバ633a〜633dと、フォトカプラ634とを備える。
ポート631a〜631eは、データバス680を介して入力された信号を受け付ける。
バッファ632a、632bは、データバス680やポート631a、631bを介して入力された信号を一時的に保持する。
ドライバ633a〜633dは、ポート631c〜631eを介して入力される信号から各種駆動信号を生成して各装置に出力する。
フォトカプラ634は、外部の検査装置670に接続可能に構成されており、入出力される各種信号からノイズを除去して各種信号の波形を整形する。フォトカプラ634と検査装置670との間は、シリアル通信によって情報が送受信される。
払出制御装置640には、ポート631aを介してパラレル通信によってCPU部610から出力された情報が送信される。払出制御装置640に対しては片方向通信を担保する必要がないため、ポート631aから払出制御装置640の払出制御基板に制御信号が直接送信される。
また、払出制御装置640は、発射制御装置690に発射許可信号を出力する。発射制御装置690は、発射許可信号が入力されている場合にのみ遊技球を遊技領域31に発射することが可能となっている。
さらに、払出制御装置640は、遊技制御装置600からの賞球指令信号に基づいて払出ユニット(図示省略)から賞球を排出させたり、カードユニット(図示省略)からの貸球要求信号に基づいて払出ユニットから貸球を排出させたりする。払出制御装置640は、球切れや故障等の障害が発生した場合に、払出異常ステータス信号やシュート球切れスイッチ信号、オーバーフロースイッチ信号を遊技制御装置600に出力する。
払出異常ステータス信号は、遊技球の払い出しが正常に行われていない場合に出力される信号である。シュート球切れスイッチ信号は、払い出し前において遊技球が不足している場合に出力される信号である。オーバーフロースイッチ信号は、下皿14(図1参照)に所定量以上の遊技球が貯留されている場合に出力される信号である。
演出制御装置700には、出力部630のポート631aからのデータストローブ信号(SSTB)及びポート631bからの8bitのデータ信号がバッファ632aを介して入力する。データストローブ信号(SSTB)は、データの有効又は無効を示す1bitの信号である。バッファ632aからの8+1bitの信号(サブコマンド)は、パラレル通信で出力される。バッファ632aは、演出制御装置700から遊技制御装置600に信号を送信できないようにして片方向通信を担保するために設けられている。演出制御装置700に送信されるサブコマンドには、変動開始コマンド、客待ちデモコマンド、ファンファーレコマンド、確率情報コマンド、及びエラー指定コマンド等の演出制御指令信号が含まれる。なお、変動開始コマンドには、変動パターンコマンドが含まれる。
大入賞口ソレノイド28及び普電ソレノイド27には、ポート631c及びドライバ633aを介して、CPU部610から出力された信号が入力する。大入賞口ソレノイド28は特別変動入賞装置41の開閉扉41a(図2参照)を回動させる。
一括表示装置50は、遊技状態報知LED12及び状態表示器等から構成されている。状態表示器のLEDのアノード端子はセグメント線を介してドライバ633cに接続し、このドライバ633cとポート631dとが接続している。状態表示器のLEDのカソード端子はデジット線を介してドライバ633bと接続し、このドライバ633bとポート631cとが接続している。状態表示器のLEDのアノード端子にはドライバ633cからのオン/オフ駆動信号が入力され、一括表示装置50のLEDのカソード端子からはドライバ633bにオン/オフ駆動信号が出力される。
外部情報端子660は、特図変動表示ゲームの開始を示すスタート信号や大当り遊技状態の発生を示す特賞信号等の遊技データを情報収集装置に出力するための端子である。遊技データは、ポート631e及びドライバ633dを介して外部情報端子660に出力される。
遊技制御装置600は、中継基板650を介して、外部の試射試験装置に接続可能に構成されている。試射試験装置は、所定機関において遊技機1の型式試験を行うための装置である。試射試験装置には、第1始動口スイッチ601、第2始動口スイッチ602、ゲートスイッチ603、入賞口スイッチ604a〜604n、及びカウントスイッチ605からの信号や、大入賞口ソレノイド28及び普電ソレノイド27に出力される信号等、試射試験に必要な信号が入力される。
遊技制御装置600は、入力部620に設けられるシュミット回路624を介して、電源装置800に接続している。シュミット回路624は、電源の立ち上がり時や電源遮断時において遊技機1の動作が不安定になることを防ぐために、入力信号の揺らぎ(ノイズ)を除去する回路である。シュミット回路624には、電源装置800からの停電監視信号や初期化スイッチ信号、リセット信号が入力される。
電源装置800は、24Vの交流電源からDC32Vの直流電圧を生成するAC−DCコンバータや、DC32Vの電圧からDC12V、DC5V等のより低いレベルの直流電圧を生成するDC−DCコンバータを有する通常電源部810と、遊技用マイコン611の内部のRAM611cに対して停電時に電源電圧を供給するバックアップ電源部820と、停電監視回路や初期化スイッチを有しており、遊技制御装置600に停電の発生、回復を知らせる停電監視信号や初期化スイッチ信号、リセット信号等の制御信号を出力する制御信号生成部830とを備える。
遊技制御装置600及び該遊技制御装置600によって駆動されるソレノイドやモータなどの電子部品には、電源装置800で生成されたDC32V,DC12V,DC5Vなど所定のレベルの直流電圧が供給される。
本実施の形態では、電源装置800は、遊技制御装置600と別個に構成されているが、バックアップ電源部820及び制御信号生成部830は、別個の基板上あるいは遊技制御装置600と一体、すなわち、主基板上に設けるように構成してもよい。遊技盤30及び遊技制御装置600は機種変更の際に交換の対象となるので、実施例のように、電源装置800若しくは主基板とは別の基板にバックアップ電源部820及び制御信号生成部830を設けることにより、交換の対象から外しコストダウンを図ることができる。
バックアップ電源部820は、遊技用マイコン611のRAM611cに記憶された遊技データをバックアップするための電源である。バックアップ電源部820は、電解コンデンサのような大容量のコンデンサ1つで構成することができる。
また、バックアップ電源は、遊技制御装置600の遊技用マイコン611(特に内蔵RAM)に供給され、停電中あるいは電源遮断後もRAM611cに記憶されたデータが保持されるようになっている。遊技制御装置600は、停電復旧後、RAM611cに保持された遊技データに基づいて、停電前の遊技状態に復旧させる。なお、バックアップ電源部820は、遊技データを2〜3日以上保持させることが可能となっている。
制御信号生成部830は、DC12V及びDC5Vを生成するスイッチングレギュレータの入力電圧(保証DC32V)を監視する。検出電圧がDC17.2V〜DC20.0Vのときに停電と判定し、制御信号生成部830から停電監視信号が出力される。停電監視信号は、シュミット回路624を経由して、入力部620の入力ポート623に入力する。停電監視信号の出力後には、停電監視回路はリセット信号を出力する。リセット信号は、シュミット回路624を経由して、遊技用マイコン611及び出力部630の各ポート631a〜631eに入力する。遊技制御装置600は、停電監視信号を受け付けると所定の停電処理を行い、リセット信号を受け付けた後にCPU部610の動作を停止させる。
制御信号生成部830は初期化スイッチ(図示省略)を備えており、電源投入時に初期化スイッチがON状態となっている場合に、制御信号生成部830から初期化スイッチ信号が出力される。初期化スイッチ信号は、シュミット回路624を介して、入力部620の入力ポート623に入力する。初期化スイッチ信号は、遊技用マイコン611のRAM611c及び払出制御装置640のRAMに記憶されている情報を強制的に初期化する信号である。
〔演出制御装置〕
図14を参照して、遊技機1に備えられる演出制御装置700について説明する。図14は、本発明の第1の実施の形態の遊技機1の演出制御装置700を中心とする制御系を示すブロック構成図である。
図14に示す演出制御装置700は、遊技制御装置600の遊技用マイコン611と同様にアミューズメントチップ(IC)からなる主制御用マイコン(1stCPU)710と、主制御用マイコン710の制御下で映像制御等を行う映像制御用マイコン(2ndCPU)720と、映像制御用マイコン720からのコマンドやデータに従って変動表示装置35(図2参照)への映像表示のための画像処理を行うVDP(Video Display Processor)730と、各種メロディや効果音等を上スピーカー10a及び下スピーカー10bから再生させる音源LSI705とを備える。
主制御用マイコン710と映像制御用マイコン720には、各CPUが実行するプログラムを格納したPROM(Programmable Read Only Memory)702、703がそれぞれ接続される。
VDP730には、キャラクタ画像や映像データが記憶された画像ROM704が接続される。
音源LSI705には、音声データ等が記憶された音声ROM706が接続される。
主制御用マイコン(マイクロコンピュータ)710は、遊技制御装置600の遊技用マイコン611から送信されたコマンドを解析し、映像制御用マイコン720に出力映像の内容を指示したり、音源LSI705に再生音の内容を指示したりする。また、主制御用マイコン710は、遊技制御装置600からの制御コマンドに基づいて、LED等の点灯制御、各種モータの駆動制御、演出時間の管理等の処理も実行する。
主制御用マイコン710及び映像制御用マイコン720の作業領域を提供するRAM711、721は、それぞれのチップ内部に設けられている。なお、作業領域を提供するRAM711、721はチップの外部に設けるようにしてもよい。
主制御用マイコン710と映像制御用マイコン720との間、主制御用マイコン710と音源LSI705との間は、それぞれシリアル方式でデータの送受信が行われるように構成されている。これに対して、主制御用マイコン710とVDP730との間は、パラレル方式でデータの送受信が行われるように構成されている。パラレル方式でデータを送受信することで、シリアル方式の場合よりも短時間のうちにコマンドやデータを送信することができる。
VDP730には、画像ROM704から読み出されたキャラクタ等の画像データを展開したり加工したりするのに使用されるVRAM(ビデオRAM)731、画像を拡大、縮小処理するためのスケーラ732、及びLVDS(小振幅信号伝送)方式で変動表示装置35へ送信する映像信号を生成する信号変換回路733が設けられる。
VDP730から主制御用マイコン710へは、変動表示装置35の映像と、前面枠5や遊技盤30に設けられるLED等の点灯とを同期させるために垂直同期信号VSYNCが出力される。また、VDP730から映像制御用マイコン720へは、VRAM731への描画の終了等処理状況を知らせるため割込み信号INT0〜n及び映像制御用マイコン720からのコマンドやデータの受信待ちの状態にあることを知らせるためのウェイト信号WAITが出力される。
映像制御用マイコン720から主制御用マイコン710へは、映像制御用マイコン720が正常に動作していることを知らせるとともにコマンドの送信タイミングを与える同期信号SYNCが出力される。
主制御用マイコン710と音源LSI705との間においては、ハンドシェイク方式でコマンドやデータの送受信を行うために、呼び掛け信号CTSと応答信号RTSが交換される。
なお、映像制御用マイコン720には、主制御用マイコン710よりも高速処理が可能なCPUが使用されている。主制御用マイコン710とは別に映像制御用マイコン720を設けて処理を分担させることによって、主制御用マイコン710のみでは実現困難な大画面で動きの速い映像を変動表示装置35に表示させることが可能となるとともに、映像制御用マイコン720と同等な処理能力を有するCPUを2個使用する場合に比べてコストの上昇を抑制することができる。
演出制御装置700は、遊技制御装置600から送信されるコマンドを受信するためのインタフェースチップ(コマンドI/F)701を備えている。演出制御装置700は、コマンドI/F701を介して、遊技制御装置600から送信された変動開始コマンド、客待ちデモコマンド、ファンファーレコマンド、確率情報コマンド、及びエラー指定コマンド等を演出制御指令信号として受信する。遊技制御装置600の遊技用マイコン611はDC5Vで動作し、演出制御装置700の主制御用マイコン710はDC3.3Vで動作するため、コマンドI/F701には信号のレベル変換の機能が設けられている。
演出制御装置700には、センターケース34や遊技盤30に設けられるLEDランプ等を含む盤装飾装置760を制御する盤装飾LED制御回路741、前面枠5等に設けられるLED等を含む枠装飾装置21を制御する枠装飾LED制御回路742、変動表示装置35における演出表示と協働して演出効果を高める装飾部材7等を含む盤演出装置770を駆動制御する盤演出モータ/SOL(ソレノイド)制御回路743、可動式照明9の照明駆動モータ等を含む枠演出装置22を駆動制御する枠演出モータ制御回路744が設けられている。これらの制御回路(741〜744)は、アドレス/データバス740を介して主制御用マイコン710に接続されている。
また、演出制御装置700には、演出ボタン17(図1参照)が操作されたことを検知する演出ボタンSW(スイッチ)751や各種駆動モータが駆動されたことを検知する演出モータSW(スイッチ)752a〜752nや第一と第二センサ87、89のオン/オフ状態を検出して主制御用マイコン710へ検出信号を送信する入力回路750、上スピーカー10a及び下スピーカー10bを駆動するオーディオパワーアンプ等からなるアンプ回路707、708が設けられている。
さらに、演出制御装置700には、リアルタイムクロック(RTC)780が設けられる。リアルタイムクロック(RTC)780は、リアルタイムクロック手段として機能し、これに電力を供給する電池781(蓄電装置、電源手段)を有し、現在時刻を計時可能であり、主制御用マイコン710に時刻の信号を入力する。なお、電池781を内部電源としてリアルタイムクロック(RTC)780の内部に設けてもよい。
電源装置800の通常電源部810は、演出制御装置700及び当該演出制御装置700によって制御される電子部品に対して所定レベルの直流電圧を供給するために、複数種類の電圧を生成可能に構成されている。具体的には、駆動モータやソレノイドを駆動するためのDC32V、液晶パネル等からなる変動表示装置35を駆動するためのDC12V、コマンドI/F701の電源電圧となるDC5Vの他に、上スピーカー10a及び下スピーカー10bを駆動するためのDC18Vや、これらの直流電圧の基準としたり電源モニタランプを点灯させたりするのに使用するNDC24Vの電圧を生成することが可能となっている。
電源装置800の制御信号生成部830により生成されたリセット信号RSTは、主制御用マイコン710、映像制御用マイコン720、VDP730、音源LSI705、各種制御回路(741〜744、707、708)に供給され、これらをリセット状態にする。電源装置800は、映像制御用マイコン720が有する汎用ポートを利用して、VDP730に対するリセット信号を生成して供給する機能を有している。これにより、映像制御用マイコン720とVDP730の動作の連携性を向上させることができる。
以上のように、演出制御装置700は、遊技制御装置600から送信されたコマンドに基づいて演出制御を行う演出制御手段として機能し、変動表示装置35に表示される表示内容を制御する表示制御手段、及び、スピーカー10から効果音等を出力する音出力制御手段としての機能を有する。
以上が本発明の第1の実施の形態における遊技機1の構成である。続いて、遊技制御装置600による具体的な制御について説明する。
〔メイン処理(遊技制御装置)〕
まず、遊技制御装置600が実行するメイン処理について説明する。図15は、本発明の第1の実施の形態のメイン処理の前半部のフローチャートである。図16は、本発明の第1の実施の形態のメイン処理の後半部のフローチャートである。なお、遊技制御装置600が実行する処理のフローチャートにおいて、ステップの符号(番号)は「A****」と表されている。
メイン処理は、遊技機1の電源投入時に実行が開始される。例えば、遊技場で営業を開始するために遊技機の電源を投入する場合や停電から復帰した場合に実行される。
遊技制御装置600は、メイン処理が実行されると、まず、割込みを禁止する(A101)。次いで、割込みが発生した場合に実行されるジャンプ先を示すベクタアドレスを設定する割込みベクタ設定処理を実行する(A102)。さらに、割込みが発生したときにレジスタ等の値を退避する領域の先頭アドレスであるスタックポインタを設定する(A103)。さらに、割込み処理のモードを設定する(A104)。
次に、遊技制御装置600は、払出制御装置(払出基板)640のプログラムが正常に起動するまで待機する(A105)。例えば、4ミリ秒間待機する。このように制御することによって、電源投入の際に、払出制御装置640の起動が完了する前に、遊技制御装置600が先に起動してコマンドを当該払出制御装置640に送信してしまうことによって、送信されたコマンドを払出制御装置640が取りこぼすことを回避することができる。
その後、遊技制御装置600は、RAMやEEPROM等の読出し書込み可能なRWM(リードライトメモリ)に対するアクセスを許可する(A106)。さらに、全出力ポートをオフ(出力が無い状態)に設定する(A107)。また、遊技用マイコン611に予め搭載されているシリアルポートを使用しない状態に設定する(A108)。本実施形態では、払出制御装置640や演出制御装置700とパラレル通信を行っているため、シリアルポートを使用しないためである。
続いて、遊技制御装置600は、電源装置800内の初期化スイッチ信号がオンに設定されているか否か判定する(A109)。初期化スイッチ信号は、遊技機1に電源が投入された場合に、初期化された状態で遊技を開始するか否かを設定するための信号である。
例えば、閉店時などに確変状態のまま電源が切断され、翌日の開店時に電源が投入された場合には、初期化された状態で遊技が開始されるように、初期化スイッチ信号がオンに設定される。一方、停電発生後に再度電源が投入された場合には、遊技を可能な限り停電前の遊技状態に近い状態で再開するために、遊技機が初期化されないように、初期化スイッチ信号がオフに設定される。
遊技制御装置600は、初期化スイッチ信号がオフに設定されている場合には(A109の結果が「N」)、RWM内の停電検査領域のデータをチェックした後(A110)、停電復旧か否か判定する(A111)。
遊技制御装置600は、停電復旧であると判定した場合には(A111の結果が「Y」)、チェックサムと呼ばれる検証用データを算出するチェックサム算出処理を実行する(A112)。
遊技制御装置600は、算出されたチェックサムが正常か異常かを判定する(A113)。即ち、遊技制御装置600は、チェックサム算出処理で算出されたチェックサムの値と、電源切断時に算出されたチェックサムの値とを比較し、これらの値が一致するか否かを判定する。
一方、遊技制御装置600は、初期化スイッチ信号がオンに設定されている場合(A109の結果が「Y」)、停電復旧でない場合(A111の結果が「N」)、チェックサムが正常でない場合には(A113の結果が「N」)、図16のA132からA134までの初期化処理を実行する。初期化処理の詳細については後述する。
遊技制御装置600は、チェックサムが正常である場合には(A113の結果が「Y」)、停電処理が正常に実行されたため、停電前の状態に復旧させるための処理を実行する(図16のA114〜A119)。具体的には、RWM内の初期化すべき領域に停電復旧時の初期値をセーブ(格納)し(A114)、エラー関連の情報、及び不正行為を監視するための情報を記憶する領域をリセットする(A115)。
次に、遊技制御装置600は、RWM内の遊技状態を記憶する領域から停電発生時の遊技状態が高確率状態であったか否かを判定する(A116)。高確率でないと判定された場合には(A116の結果が「N」)、A119以降の処理を実行する。
また、遊技制御装置600は、停電発生時の遊技状態が高確率状態であったと判定された場合には(A116の結果が「Y」)、高確率報知フラグをオンに設定して高確率報知フラグ領域にセーブ(保存)する(A117)。続いて、一括表示装置50に設けられる高確率報知LED(エラー表示器58)をオン(点灯)に設定する(A118)。
さらに、遊技制御装置600は、特図ゲーム処理番号に対応する停電復旧時のコマンドを演出制御装置700に送信する(A119)。特図ゲーム処理番号は、特図ゲームの状態を示す番号であり、停電発生時にRWMの所定の領域に記憶されている。このように、特図ゲーム処理番号に対応する停電復旧時のコマンドを演出制御装置700に送信することによって、可能な限り停電発生前に近い状態で遊技を再開することができるのである。
ここで、初期化処理を実行する場合について説明する。前述のように、初期化処理は、正常に電源が切断された遊技機を起動する場合や停電発生前の状態に復帰できない場合に実行される。
遊技制御装置600は、初期化処理において、まず、CPUが使用するRAM内の作業領域をリセット(A132)。そして、初期化された領域に電源投入時用の初期値をセーブ(保存)する(A133)。
続いて、遊技制御装置600は、電源投入時のコマンドを演出制御装置700に送信し(A134)、A120以降の処理を実行する。
遊技制御装置600は、A119又はA134の処理が終了すると、遊技用マイコン611(クロックジェネレータ)内のタイマ割込み信号及び乱数更新トリガ信号(CTC)を発生するCTC(Counter/Timer Circuit)回路を起動させる(A120)。
なお、CTC回路は、遊技用マイコン611内のクロックジェネレータに設けられている。クロックジェネレータは、水晶発振器613からの発振信号(原クロック信号)を分周する分周回路と、前述したCTC回路とを備えている。タイマ割込み信号は、分周された信号に基づいてCPU611aに所定周期(例えば、4ミリ秒)のタイマ割込みを発生させるための信号である。乱数更新トリガ信号(CTC)は、分周された信号に基づいて乱数生成回路に供給され、乱数生成回路が乱数を更新するトリガとなる。
遊技制御装置600は、CTC回路を起動すると、乱数生成回路の起動設定を行う(A121)。具体的には、CPU611aが乱数生成回路内の所定のレジスタ(CTC更新許可レジスタ)に乱数生成回路を起動させるためのコード(指定値)を設定するなどの処理を実行する。さらに、電源投入時の乱数生成回路内の所定のレジスタ(ソフト乱数レジスタ1〜n)の値を、対応する各種初期値乱数の初期値(スタート値)としてRWMの所定領域にセーブする(A122)。その後、遊技制御装置600は、割込みを許可する(A123)。
なお、本実施形態のCPU611a内の乱数生成回路では、電源投入毎にソフト乱数レジスタの初期値が変更されるように構成されており、ソフト乱数レジスタの初期値に基づいて各種初期値乱数の初期値(スタート値)を設定することによって、ソフトウェアで生成される乱数の規則性を崩すことが可能となり、遊技者による不正な乱数の取得を困難にすることができる。各種初期値乱数には、例えば、大当り図柄を決定する乱数(大当り図柄乱数1、大当り図柄乱数2)、普図変動表示ゲームの当りを決定する乱数(当り乱数)が含まれる。
続いて、遊技制御装置600は、各種初期値乱数の値を更新して乱数の規則性を崩すための初期値乱数更新処理を実行する(A124)。また、本実施形態では、大当り乱数は乱数生成回路において生成される乱数を使用して生成するように構成されている。すなわち、大当り乱数はハードウェアで生成されるハード乱数であり、大当り図柄乱数、当り乱数、変動パターン乱数はソフトウェアで生成されるソフト乱数である。なお、各種乱数の発生源は前述の態様に限定されるわけではなく、大当り乱数がソフトウェア乱数であってもよいし、大当り図柄乱数、当り乱数、変動パターン乱数がハードウェア乱数であってもよい。
さらに、遊技制御装置600は、停電監視信号がオンであるか否かを判定する(A125)。停電監視信号がオンでない場合、すなわち、停電していない場合には(A125の結果が「N」)、A124の初期値乱数更新処理を再び実行し、A124からA125までの処理を繰り返し実行する(ループ処理)。
また、初期値乱数更新処理(A124)の前に割り込みを許可(A123)することによって、初期値乱数更新処理中にタイマ割込みが発生した場合に、割込み処理を優先して実行することが可能となる。したがって、初期値乱数更新処理の実行が完了するまでタイマ割込み処理を実行できないために、割込み処理に含まれる各種処理を実行する時間が不足してしまうことを回避できる。
なお、初期値乱数更新処理(A124)は、メイン処理の他に、タイマ割込み処理で初期値乱数更新処理を実行してもよい。ただし、タイマ割込み処理で初期値乱数更新処理を実行する場合には、両方の処理で初期値乱数更新処理が実行されることを回避するため、メイン処理における初期値乱数更新処理の実行時に割込みを禁止し、初期値乱数を更新後に割込みを解除する必要がある。しかし、本実施形態のようにタイマ割込み処理で初期値乱数更新処理を実行せず、メイン処理でのみ初期値乱数更新処理を実行すれば、初期値乱数更新処理の前に割込みを解除しても問題が生じることはなく、さらに、メイン処理が簡素化されるという利点がある。
一方、遊技制御装置600は、停電監視信号がオンに設定されている場合には(A135の結果が「Y」)、停電が発生したものと見なして停電発生時の処理を実行する(A126〜A131)。
遊技制御装置600は、割込みを禁止し(A126)、全出力ポートをオフに設定する(A127)。その後、停電復旧検査領域に停電復旧検査領域チェックデータをセーブする(A128)。
さらに、遊技制御装置600は、RWMの電源遮断時のチェックサムを算出するチェックサム算出処理を実行し(A129)、算出されたチェックサムの値をRWMのチェックサム領域にセーブ(保存)する(A130)。最後に、RWMの内容が変更されないように、RWMへのアクセスを禁止し(A131)、遊技機1の電源が遮断されるまで待機する。このように、停電復旧検査領域にチェック用のデータをセーブするとともに、電源遮断時のチェックサムを算出して記憶させることで、電源の遮断の前にRWMに記憶されていた情報が正しくバックアップされているか否かを電源再投入時に判定することが可能となる。
〔タイマ割込み処理(遊技制御装置)〕
次に、タイマ割込み処理について説明する。図17は、本発明の第1の実施の形態のタイマ割込み処理の手順を示すフローチャートである。
タイマ割込み処理は、クロックジェネレータ内のCTC回路によって生成される周期的(例えば、1ミリ秒周期)なタイマ割込信号がCPU611aに入力されることによって開始される。
タイマ割込み処理が開始されると、遊技制御装置600は、まず、所定のレジスタに保持されている値をRWMに移すことによってレジスタを退避させる(A301)。なお、本実施形態では遊技用マイコンとしてZ80系のマイコンを使用している。Z80系のマイコンには、表レジスタと裏レジスタが備えられており、表レジスタに保持されている値を裏レジスタに退避させることでA301の処理を実装することが可能である。
次に、遊技制御装置600は、入力部620を介して入力される各種センサやスイッチなどからの入力信号を取り込み、各入力ポートの状態を読み込む入力処理を実行する(A302)。各種センサには、第1始動口スイッチ601、第2始動口スイッチ602、普図のゲートスイッチ603、カウントスイッチ605などが含まれる。また、入力処理では、入力信号にチャタリング除去等を行って入力情報を確定させる。
さらに、遊技制御装置600は、各種処理でセットされた遊技制御に関する出力データを、演出制御装置700及び払出制御装置640に送信するための出力処理を実行する(A303)。出力データは、ソレノイド等のアクチュエータの駆動制御などを行うための情報であり、制御対象となるソレノイドには、例えば、大入賞口ソレノイド28、普電ソレノイド27が含まれる。また、出力処理では、遊技機における遊技データを収集する情報収集装置665に遊技データを出力する処理も含まれる。
次に、遊技制御装置600は、各種処理で送信バッファにセットされたコマンドを演出制御装置700や払出制御装置640等に送信(出力)するコマンド送信処理を実行する(A304)。具体的には、特図変動表示ゲームにおける識別情報の変動パターンを指定する変動パターンコマンド、及び停電から復旧した場合に演出制御装置700に停電復旧処理を実行させる停電復旧コマンドを演出制御装置700に送信したり、払出装置から払い出す賞球数を指定する賞球コマンドを払出制御装置640に送信したりする。
さらに、遊技制御装置600は、大当り図柄乱数1及び大当り図柄乱数2を更新する乱数更新処理1を実行し(A305)、続いて特図変動表示ゲームにおける変動パターンを決定するための変動パターン乱数を更新する乱数更新処理2を実行する(A306)。乱数更新処理1及び乱数更新処理2では、各種乱数にランダム性を付与するために、各種乱数に対応するカウンタ(大当り乱数カウンタ、当り乱数カウンタ、演出決定用乱数カウンタなど)の値を1ずつ加算する。
その後、遊技制御装置600は、各種入賞口スイッチなどを監視したり、枠の不正な開放などのエラーを監視したりする入賞口スイッチ/エラー監視処理が実行される(A307)。各種入賞口スイッチには、例えば、第1始動口スイッチ601、第2始動口スイッチ602、ゲートスイッチ603、入賞口スイッチ604a〜604n、カウントスイッチ605が含まれる。入賞口スイッチ/エラー監視処理では、これらのスイッチから正常な信号が入力されているか否かを監視したりする。エラーの監視としては、前面枠5やガラス枠6が不正に開放されていないかなどを対象としている。
さらに、遊技制御装置600は、特図変動表示ゲームに関する処理を行う特図ゲーム処理を実行する(A308)。なお、特図ゲーム処理の詳細については、図22にて後述する。
続いて、遊技制御装置600は、普図変動表示ゲームに関する処理を行う普図ゲーム処理を実行する(A309)。
次に、遊技制御装置600は、特図変動ゲームの表示や遊技に関する各種情報を表示するセグメントLEDの表示内容を制御するセグメントLED編集処理を実行する(A310)。具体的には、特図変動表示ゲーム及び普図変動表示ゲームの結果をセグメントLED(例えば、一括表示装置50)に出力するためのパラメータを編集する。
遊技制御装置600は、磁気センサスイッチ23や振動センサスイッチ24からの検出信号をチェックし、異常があるか否かを判定する磁石エラー監視処理を実行する(A311)。異常の発生を検出した場合には、スピーカー10から報知音を出力したり、遊技状態報知LED12を点灯させたりするなどして外部に報知する。
次に、遊技制御装置600は、外部情報端子660から出力する各種信号を編集する外部情報編集処理を実行する(A312)。
そして、遊技制御装置600は、割込み要求をクリアして割込みの終了を宣言する(A313)。その後、A301の処理で一時退避されていたレジスタを復帰させ(A314)、禁止設定されていた外部機器による割込み及びタイマ割込みを許可し(A315)、タイマ割込み処理を終了し、メイン処理に復帰する。
〔コマンド送信処理〕
次に、前述のタイマ割込み処理(図17)におけるコマンド送信処理(A304)の詳細について説明する。図18は、本発明の第1の実施の形態のコマンド送信処理の手順を示すフローチャートである。
遊技制御装置600は、コマンド送信処理において、演出制御装置700に対する演出制御コマンドを送信する演出制御コマンド送信処理(A501)と、払出制御装置640に対する払出コマンドを送信する払出コマンド送信処理(A502)とを実行する。
〔演出制御コマンド送信処理〕
次に、前述のコマンド送信処理(図18)における演出制御コマンド送信処理(A501)の詳細について説明する。図19は、本発明の第1の実施の形態の演出制御コマンド送信処理の手順を示すフローチャートである。
遊技制御装置600は、まず、送信コマンドをRWMに設定するときに「+1」されるライトカウンタの値と、RWMから送信コマンドを読み出すときに「+1」されるリードカウンタの値とを比較して、コマンドが設定されているかをチェックする(A601)。具体的には、ライトカウンタの値とリードカウンタの値とが同一であればコマンドが設定されていないと判定し、ライトカウンタの値とリードカウンタの値とが一致していない場合には、未送信のコマンドが設定されていると判定する(A602)。
遊技制御装置600は、コマンドが設定されていないと判定した場合に(A602の結果が「N」)、今回の処理を終了し、コマンドが設定されていると判定した場合に(A602の結果が「Y」)、リードカウンタを更新(+1)する(A603)。次に、リードカウンタの値に対応するコマンド送信領域(MODE(上位バイト))からコマンドをロードする(A604)。そして、ロードしたコマンドが入っていた領域をリセットする(A605)。さらに、リードカウンタの値に対応するコマンド送信領域(ACTION(下位バイト))からコマンドをロードする(A606)。次に、ロードしたコマンドが入っていた領域をリセットする(A607)。そして、演出制御コマンド出力処理を行い(A608)、今回の演出制御コマンド送信処理を終了する。
次に、上述の演出制御コマンド送信処理(図19)における演出制御コマンド出力処理(A608)の詳細について説明する。図20は、本発明の第1の実施の形態の演出制御コマンド出力処理の手順を示すフローチャートである。
遊技制御装置600は、まず、コマンド(MODE)出力中を示すストローブ信号のオフ時間を準備して(A701)、コマンドデータ出力処理を実行する(A702)。その後、コマンド(ACTION)を出力し(A703)、コマンド(ACTION)出力中を示すストローブ信号のオフ時間を準備してから(A704)、コマンドデータ出力処理を実行する(A705)。
次に、前述の演出制御コマンド出力処理(図20)におけるコマンドデータ出力処理(A702、A705)の詳細について説明する。図21は、本発明の第1の実施の形態のコマンドデータ出力処理の手順を示すフローチャートである。
遊技制御装置600は、まず、ポートの直前の状態が失われないようにするため、演出制御コマンド出力のストローブ信号を含む出力ポート631aのポート状態保持データをロードする(A801)。そして、演出制御コマンドを出力ポート631bへ出力(A802)し、出力ポート631aへはストローブ信号を除く信号を直前の状態に保持してオフ状態(データの読取り無効を示す例えばロウレベル)のストローブ信号を付加して出力する(A803)。そして、次のA804で、ストローブ信号をオフ状態にすべき時間(オフ時間)が終了したか否か判定する。ここで、オフ時間が終了していないと判定する場合に(A804の結果が「N」)、A802へ戻って上記処理を繰り返す。
一方、遊技制御装置600は、オフ時間が終了したと判定する場合に(A804の結果が「Y」)、ストローブ信号のオン状態(データの読取り有効を示す例えばハイレベル)の時間を設定する(A805)。続いて、A801でロードしたデータを保持するレジスタ上で、出力ポート631aのストローブ信号を除く信号を直前の状態に保持したままストローブ信号をオン状態に設定する(A806)。そして、演出制御コマンドを出力し(A807)、オン状態(ハイレベル)のストローブ信号を出力する(A808)。
そして、遊技制御装置600は、ストローブ信号をオン状態にすべき時間(オン時間)が終了したか否か判定する(A809)。ここで、オン時間が終了していない場合に(A809の結果が「Y」)、A807へ戻って上記処理を繰り返す。また、A809で、オン時間が終了した場合に(A809の結果が「Y」)、A810へ移行して、オフ状態のストローブ信号を設定してから(A811)、オフ状態のストローブ信号を出力して(A812)、当該コマンドデータ出力処理を終了する。A807で演出制御コマンドを再度出力しているのは、A807〜A809のループ処理中に停電が発生した場合に、出力中の演出制御コマンドが停電復帰後に出力されなくなるのを回避するためである。また、ノイズによって、コマンドコードが変わってしまうのを回避することもできる。なお、このA804及びA809は、各々の処理のみをループさせることも可能である。
〔特図ゲーム処理〕
次に、前述したタイマ割込み処理における特図ゲーム処理(A308)の詳細について説明する。図22は、本発明の第1の実施の形態の特図ゲーム処理の手順を示すフローチャートである。
特図ゲーム処理では、第1始動口スイッチ601及び第2始動口スイッチ602による入力信号の監視、特図変動表示ゲームに関する処理全体の制御、特図(識別図柄、識別情報)の表示の設定を行う。特図ゲーム処理を実行する遊技制御装置600は、特図制御手段(第2制御手段)を構成する。
特図ゲーム処理が開始されると、遊技制御装置600は、まず、第1始動口スイッチ601及び第2始動口スイッチ602の入賞を監視する始動スイッチ監視処理を実行する(A1201)。
始動口スイッチ監視処理では、第1始動入賞口37a、第2始動入賞口37bに遊技球の入賞があると、各種乱数(大当り乱数など)の抽出を行い、当該入賞に基づく特図変動表示ゲームの開始前の段階で入賞に基づく遊技結果を事前に判定する遊技結果事前判定を行う。なお、始動口スイッチ監視処理の詳細については、図23にて後述する。
次に、遊技制御装置600は、カウントスイッチ監視処理を実行する(A1202)。カウントスイッチ監視処理では、開放される特別変動入賞装置41内に設けられたカウントスイッチ605によって対応する特別変動入賞装置41に入賞した遊技球を検出し、入賞した遊技球の数を監視する。
次に、遊技制御装置600は、特図ゲーム処理タイマが既にタイムアップしているか、又は、特図ゲーム処理タイマを更新(−1)した結果、当該特図ゲーム処理タイマがタイムアップしたか否かをチェックする(A1203)。なお、特図ゲーム処理タイマは、初期値として、実行される特図変動表示ゲームの変動時間がセットされ、A1203の処理で当該特図ゲーム処理タイマの値を1減じる。特図ゲーム処理タイマの値が0になると、タイムアップしたと判断される。
遊技制御装置600は、特図ゲーム処理タイマがタイムアップしていない場合には(A1204の結果が「N」)、A1216以降の処理を実行する。
一方、遊技制御装置600は、特図ゲーム処理タイマがタイムアップした場合には(A1204の結果が「Y」)、特図ゲーム処理番号に対応する処理に分岐させるために参照する特図ゲームシーケンス分岐テーブルをレジスタに設定する(A1205)。さらに、当該テーブルに基づいて特図ゲーム処理番号に対応する処理の分岐先アドレスを取得する(A1206)。そして、分岐処理終了後のリターンアドレスをスタック領域に退避させ(A1207)、ゲーム処理番号に応じて処理を分岐させる(A1208)。ゲーム処理番号は、特図変動表示ゲームの進行状態を示し、0〜6の7段階で特図変動表示ゲームの進行状態を示す。あるゲーム処理番号に対応する処理が終了すると、ゲーム処理番号は次の番号などに変えられる。
遊技制御装置600は、ゲーム処理番号が「0」の場合には(A1208の結果が「0」)、特図普段処理を実行する(A1209)。特図普段処理は、特図変動表示ゲームの変動開始を監視し、特図変動表示ゲームの変動開始の設定や演出の設定、特図変動中処理を実行するために必要な情報の設定等を行う。
遊技制御装置600は、ゲーム処理番号が「1」の場合には(A1208の結果が「1」)、特図変動中処理を実行する(A1210)。特図変動中処理は、特図変動表示ゲームにおける識別情報の停止表示時間の設定や、特図表示中処理を行うために必要な情報の設定等を行う。
遊技制御装置600は、ゲーム処理番号が「2」の場合には(A1208の結果が「2」)、特図表示中処理を実行する(A1211)。特図表示中処理は、特図変動表示ゲームの結果が大当りであれば、大当りの種類に応じたファンファーレコマンドの設定や、各大当りの大入賞口開放パターンに応じたファンファーレ時間を設定したり、ファンファーレ/インターバル中処理を行うために必要な情報を設定したりする。
遊技制御装置600は、ゲーム処理番号が「3」の場合には(A1208の結果が「3」)、ファンファーレ/インターバル中処理を実行する(A1212)。ファンファーレ/インターバル中処理は、大入賞口の開放時間の設定や開放回数の更新、大入賞口開放中処理を行うために必要な情報の設定等を行う。
遊技制御装置600は、ゲーム処理番号が「4」の場合には(A1208の結果が「4」)、大入賞口開放中処理を実行する(A1213)。大入賞口開放中処理は、大当りラウンドが最終ラウンドでなければインターバルコマンドを設定する一方で最終ラウンドであれば大当り終了画面のコマンドを設定したり、大入賞口残存球処理を行うために必要な情報を設定したりする。
遊技制御装置600は、ゲーム処理番号が「5」の場合には(A1208の結果が「5」)、大入賞口残存球処理を実行する(A1214)。大入賞口残存球処理は、大当りラウンドが最終ラウンドの場合に大入賞口内にある残存球が排出されるための時間を設定したり、大当り終了処理を行うために必要な情報の設定等を行ったりする。
大入賞口残存球処理では、特別図柄の処理タイマの更新とファンファーレ/インターバル中処理、又は大当り終了処理を行うために必要な情報を設定する。また、大入賞口の最大開放時間が経過したか、又は大入賞口に遊技球が規定数(所定数)だけ入賞したかを判定し、いずれかの条件が成立した場合に対応する開閉扉41aを閉鎖する。これが所定ラウンド数繰り返し実行された後、特図ゲーム処理番号を6に設定する。
遊技制御装置600は、ゲーム処理番号が「6」の場合には(A1208の結果が「6」)、大当り終了処理を実行する(A1215)。大当り終了処理は、A1209の特図普段処理を行うために必要な情報の設定等を行う。
特に、大当り終了処理において、遊技制御装置600は、特図変動表示ゲームの大当りの種類(即ち大当り図柄)に対応して、大当り終了後に普電サポートが有る場合(即ち、大当り終了後に確変遊技状態(潜伏確変除く)又は時短遊技状態に移行する大当りの場合)に、後述の普図ゲームモードフラグ領域に、普図変動表示ゲームの当り確率が高確率であること、及び、普電サポートがあることを示すフラグ(普図高確率&普電サポートありフラグ)をセーブする。また、大当り終了処理において、遊技制御装置600は、時短変動回数領域に時短変動回数初期値(例えば50回)をセーブする。ここで、特図変動表示ゲームの大当りの種類とは、大当り終了後の遊技状態の種類を特定する種々の大当り結果(確変大当り、通常大当り(時短付き)など)である。
なお、本実施形態において、普電サポート(電サポ)とは、普図変動表示ゲームの当り確率を高確率にし、第2始動入賞口37bの開閉部材37cを、所定時間(通常より長い開放時間)、所定の時間間隔で複数回開閉させて、第2始動入賞口37bに遊技球が流入し易い状態にすることをいう。
その後、遊技制御装置600は、一括表示装置50(特図1表示器51)における図柄の変動を制御するためのテーブルを準備する(A1216)。続いて、一括表示装置50(特図1表示器51)に係る図柄変動制御処理を実行する(A1217)。
さらに、遊技制御装置600は、一括表示装置50(特図2表示器52)における図柄の変動を制御するためのテーブルを準備する(A1218)。続いて、一括表示装置50(特図2表示器52)に係る図柄変動制御処理を実行する(A1219)。
〔始動口スイッチ監視処理〕
次に、前述した特図ゲーム処理における始動口スイッチ監視処理の詳細について説明する。図23は、本発明の第1の実施の形態の始動口スイッチ監視処理の手順を示すフローチャートである。
始動口スイッチ監視処理が開始されると、遊技制御装置600は、まず、第1始動入賞口37aに遊技球が入賞したことによる保留の情報を設定するテーブルを準備する(A1301)。
続いて、遊技制御装置600は、第1始動入賞口37a又は第2始動入賞口37bに遊技球が入賞した場合に共通して実行される特図始動口スイッチ共通処理を実行する(A1302)。なお、特図始動口スイッチ共通処理の詳細については、図24にて後述する。
次に、遊技制御装置600は、普通電動役物(普通変動入賞装置、第1変動入賞装置、第2始動入賞口37bの開閉部材37c、普電)が作動中である、すなわち、第2始動入賞口37bの開閉部材37cが遊技球の入賞が可能な開状態となっているか否かをチェックする(A1303)。普通電動役物が作動中である場合には(A1303の結果が「Y」)、A1306以降の処理を実行する。
一方、遊技制御装置600は、普通電動役物が作動中でない場合には(A1303の結果が「N」)、第2始動入賞口37bへの不正入賞数が不正発生判定個数以上であるかをチェックし(A1304)、不正入賞数が不正発生判定個数以上であるか否かを判定する(A1305)。
不正入賞について具体的に説明すると、第2始動入賞口37bは、開閉部材37cが閉状態の場合には遊技球が入賞不可能であり、開状態でのみ遊技球が入賞可能である。よって、閉状態で遊技球が入賞した場合には何らかの異常や不正が発生した可能性が高く、閉状態で入賞した遊技球があった場合はその数を不正入賞数として計数している。そして、A1305の処理において、このように計数された不正入賞数が所定の不正発生判定個数(上限値)以上であるかを判定する。
遊技制御装置600は、不正入賞数が不正判定個数以上の場合には(A1305の結果が「Y」)、第2始動入賞口37bへの遊技球の入賞と無効として特図変動表示ゲームに関する処理を実行せずに、始動口スイッチ監視処理を終了する。
一方、遊技制御装置600は、不正入賞数が不正判定個数未満の場合には(A1305の結果が「N」)、第2始動入賞口37bによる保留の情報を設定するテーブルを準備し(A1306)、特図始動口スイッチ共通処理を実行する(A1307)。その後、始動口スイッチ監視処理を終了する。
〔特図始動口スイッチ共通処理〕
次に、前述した始動口スイッチ監視処理における特図始動口スイッチ共通処理(A1302、A1307)の詳細について説明する。図24は、本発明の第1の実施の形態の特図始動口スイッチ共通処理の手順を示すフローチャートである。
特図始動口スイッチ共通処理は、第1始動入賞口37aや第2始動入賞口37bに遊技球が入賞したことによって第1始動口スイッチ601や第2始動口スイッチ602から信号入力があった場合に共通して実行される処理である。
遊技制御装置600は、まず、第1始動口スイッチ601及び第2始動口スイッチ602のうち、監視対象の始動口スイッチ(例えば、第1始動口スイッチ601)から信号が入力されたか否かをチェックする(A1401、A1402)。監視対象の始動口スイッチから信号が入力されていない場合には(A1402の結果が「N」)、特図始動口スイッチ共通処理を終了する。
一方、遊技制御装置600は、監視対象の始動口スイッチから信号が入力された場合には(A1402の結果が「Y」)、当該監視対象の始動口スイッチに対応する始動口入賞フラグをRWMの所定の領域にセーブする(A1403)。さらに、監視対象始動口スイッチに対応するハード乱数ラッチレジスタに抽出された大当り乱数をロードし、以降の処理で使用するための準備を行う(A1404)。
続いて、遊技制御装置600は、監視対象の始動口スイッチに対応する始動入賞口への入賞の回数に関する情報が、遊技機1の外部の管理装置に対して出力された回数(始動口信号出力回数)をロードする(A1405)。そして、ロードした値に1加算して更新し、始動口信号出力回数がオーバーフローするか否かをチェックする(1406、A1407)。
そして、遊技制御装置600は、始動口信号出力回数がオーバーフローしない場合には(A1407の結果が「N」)、更新後の始動口信号出力回数の値を、RWMの始動口信号出力回数領域にセーブする(A1408)。
遊技制御装置600は、A1408の処理が終了した後、又は、始動口信号出力回数がオーバーフローする場合には(A1407の結果が「Y」)、監視対象の始動口スイッチに対応する更新対象の特図保留(始動記憶)数が上限値未満か否かをチェックする(A1409、A1410)。
遊技制御装置600は、特図保留数が上限値未満の場合には(A1410の結果が「Y」)、始動口スイッチによって検出された入賞に対応する情報を設定する。具体的には、まず、更新対象の特図保留数(例えば、特図1保留数)に1加算して更新する(A1411)。
続いて、遊技制御装置600は、飾り特図保留数コマンドを準備する。飾り特図保留数コマンドは、MODE部とACTION部によって構成される。具体的に説明すると、遊技制御装置600は、まず、監視対象の始動口スイッチの飾り特図保留数コマンド(MODE部)を準備し(A1412)、さらに、特図保留数に対応する飾り特図保留数コマンド(ACTION部)を準備する(A1413)。そして、準備された飾り特図保留数コマンドの送信を設定するためのコマンド設定処理を実行する(A1414)。
次に、遊技制御装置600は、更新された特図保留数に対応する乱数セーブ領域のアドレスを算出する(A1415)。そして、A1404の処理で取得された大当り乱数をRWMの大当り乱数セーブ領域にセーブする(A1416)。さらに、当該監視対象の始動口スイッチの大当り図柄乱数を抽出し、大当り図柄乱数セーブ領域にセーブする(A1417)。
続いて、遊技制御装置600は、対応する変動パターン乱数1を抽出し、抽出した値をRWMの変動パターン乱数1セーブ領域にセーブする(A1418)。同様に、対応する変動パターン乱数2を抽出し、抽出した値をRWMの変動パターン乱数2セーブ領域にセーブする(A1419)。さらに、対応する変動パターン乱数3を抽出し、抽出した値をRWMの変動パターン乱数3セーブ領域にセーブする(A1420)。
変動パターン乱数1〜3は、例えば、前半と後半の変動パターンを個別に設定したり、特定の演出を実行したりするために用いられる。
第1又は第2特図変動表示ゲームにおける変動パターン(各種リーチやリーチ無しの変動表示における変動表示ゲームの実行時間等を含む)を決定するための変動パターン乱数(変動パターン1〜3)は、大当り図柄乱数のように乱数生成回路のソフトウェアによって更新されるものとは異なり、遊技制御用プログラムによって更新されるものである。なお、変動パターン乱数の更新は遊技制御用プログラムによって更新することに限らず、乱数生成回路のハードウェア又はソフトウェアで更新するようにしてもよい。
そして、遊技制御装置600は、A1417の処理でRWMにセーブされた監視対象の始動口スイッチに対応する大当り図柄乱数などをロードし(A1421)、特図保留情報判定処理を実行する(A1422)。特図保留情報判定処理の詳細については、図25にて後述する。その後、特図始動口スイッチ共通処理を終了する。
〔特図保留情報判定処理〕
次に、前述した特図始動口スイッチ共通処理(図24)における特図保留情報判定処理(A1422)の詳細について説明する。図25は、本発明の第1の実施の形態の特図保留情報判定処理の手順を示すフローチャートである。
特図保留情報判定処理は、各始動記憶に基づく特図変動表示ゲームの開始タイミングより前に当該始動記憶に対応した結果関連情報(特図変動表示ゲームの結果情報)を判定するための先読み処理である。
遊技制御装置600は、まず、特図始動口スイッチ共通処理のA1402に係る始動口スイッチの入力が第2始動口スイッチ602の入力であるか否かをチェックして(A1501)、第2始動口スイッチ602の入力でない場合に(A1502の結果が「N」)、第2始動入賞口37bの開放延長機能が作動中、即ち、第2始動入賞口37bが普電サポート(電サポ)中であるか否かを判定する(A1503)。
ここで、第2始動入賞口37bがサポート中でない場合に(A1503の結果が「N」)、遊技機1が大当り(特別遊技状態)中であるか否かを判定する(A1504)。
遊技機1が大当り中でない場合に(A1504の結果が「N」)、遊技制御装置600は、取得した大当り乱数値が大当り判定値と一致するか否かに応じて大当りであるか否かを判定する大当り判定処理を行う(A1505)。
一方、A1503にて、第2始動入賞口37bが普電サポート(電サポ)中である場合か(A1503の結果が「Y」)、或いは、遊技機1が大当り中である場合に(A1504の結果が「Y」)は、今回の特図保留情報判定処理を終了する。つまり、特図始動口スイッチ共通処理のA1402に係る始動口スイッチの入力が第1始動口スイッチ601の場合に、第2始動入賞口37bがサポート中、又は遊技機1が大当り中であるときは、当該始動記憶に対応した結果関連情報の判定を行う先読み処理を行わないこととなる。
また、始動口スイッチの入力が第2始動口スイッチ602の入力である場合に(A1502の結果が「Y」)は、A1503、A1504の処理を行わずに、A1505に処理を移行して、それ以降の処理を行う。つまり、特図始動口スイッチ共通処理のA1402に係る始動口スイッチの入力が第2始動口スイッチ602の場合は、第2始動入賞口37bがサポート中、又は遊技機1が大当り中であるかにかかわらず、当該始動記憶に対応した結果関連情報の判定を行う先読み処理を行うこととなる。
次に、遊技制御装置600は、大当り判定処理の判定結果が大当りでない場合(A1506の結果が「N」)に、はずれ情報テーブルを設定し(A1507)、A1515へ移行する。一方、大当り判定処理の判定結果が大当りである場合には(A1506の結果が「Y」)、始動口スイッチの入力が第1始動口スイッチ601の入力であるか否かをチェックする(A1508)。
そして、遊技制御装置600は、第1始動口スイッチ601の入力と判定する場合に(A1509の結果が「Y」)、大当り図柄乱数チェックテーブル1を準備して(A1510)、A1512へ移行する。また、第1始動口スイッチ601の入力でないと判定する場合に(A1509の結果が「N」)、大当り図柄乱数チェックテーブル2を準備して(A1511)、A1512へ移行する。
続けて、遊技制御装置600は、大当り図柄乱数をチェックし、対応する入賞情報ポインタを取得する(A1512)。そして、大当り情報テーブルアドレステーブルを設定した後(A1513)、入賞情報ポインタに対応する大当り情報テーブルを取得し、設定して(A1514)、A1515へ移行する。
次に、遊技制御装置600は、設定した情報テーブル(大当り情報テーブル、又は、はずれ情報テーブル)から図柄情報を取得し(A1515)、取得した図柄情報を図柄情報(作業用)領域にセーブする(A1516)。次に、設定した情報テーブルから始動口入賞演出図柄コマンドを取得し(A1517)、取得した始動口入賞演出図柄コマンドを入賞演出図柄コマンド領域にセーブする(A1518)。例えば、始動口入賞演出図柄コマンドは、始動記憶に対応する事前判定結果(先読み結果)を演出制御装置700に対して通知するために使用される。
そして、遊技制御装置600は、監視対象の始動口スイッチの始動口入賞フラグを準備し(A1519)、始動口入賞演出コマンドを設定する対象のテーブルを準備し(A1520)、特図情報設定処理(A1521)を行う。続いて、特図変動表示ゲームにおける変動態様のうち、後半変動パターンを設定する後半変動パターン設定処理を実行した後(A1522)、特図変動表示ゲームの前半変動パターンを設定する変動パターン設定処理を実行する(A1523)。ここで、前半変動パターンとは、リーチ状態になる前の変動のパターンであり、後半変動パターンとは、リーチ状態になった後の変動のパターンである。後半変動パターン設定処理(A1522)及び変動パターン設定処理(A1523)は、識別情報の変動態様を示す複数の変動パターンから一つの変動パターンを選択する処理であり、特図変動表示ゲームはこれらの処理によって選択された変動パターンに基づいて実行される。
次に、遊技制御装置600は、前半変動パターンの前半変動番号に対応する変動(始動口入賞演出)コマンドのMODE部を算出して準備し(A1524)、後半変動パターンの後半変動番号の値を変動コマンドのACTION部として準備し(A1525)、これらを組み合わせて演出制御装置700に送る始動口入賞演出コマンドとして設定するコマンド設定処理を実行する(A1526)。続けて、始動口入賞演出図柄コマンドをロードし、準備して(A1527)、コマンド設定処理を実行する(A1528)。その後、特図保留情報判定処理を終了する。
すなわち、A1524及びA1525の処理で始動口入賞演出コマンドを準備し、さらに、A1527の処理で始動口入賞演出図柄コマンドを準備して、始動記憶に対応する判定結果(先読み結果)を、対応する始動記憶に基づく特図変動表示ゲームの開始タイミングより前に演出制御装置700に対して通知することが可能になっている。演出制御装置700は、保留変化予告として、変動表示装置35に表示されている始動記憶表示301(保留表示)の表示態様を変化させるなどして、その特図変動表示ゲームの開始タイミングより前に遊技者に特図変動表示ゲームの結果を報知する。ここで、遊技制御装置600は事前判定手段として機能し、演出制御装置700は事前報知手段として機能する。
〔特図普段処理〕
次に、前述した特図ゲーム処理(図22)における特図普段処理(A1209)の詳細について説明する。図26は、本発明の第1の実施の形態の特図普段処理の手順を示すフローチャートである。
遊技制御装置600は、まず、特図2保留数(第2始動記憶数)が0であるか否かをチェックする(A2001)。そして、特図2保留数が0である場合に(A2002の結果が「Y」)、特図1保留数(第1始動記憶数)が0であるか否かをチェックする(A2003)。そして、特図1保留数が0である場合に(A2004の結果が「Y」)、既に客待ちデモが開始されているか否かをチェックして(A2005)、客待ちデモを開始していない、即ち、開始済みでない場合に(A2006の結果が「N」)、客待ちデモフラグ領域に客待ちデモ中フラグをセーブする処理(A2007)を行う。
続けて、遊技制御装置600は、客待ちデモコマンドを準備して(A2008)、コマンド設定処理(A2009)を行う。一方、A2005にて、既に客待ちデモが開始されている場合に(A2006の結果が「Y」)、既に客待ちデモフラグは客待ちデモ中に設定され(A2007)、客待ちデモコマンドも準備され(A2008)、コマンド設定処理も実行されている(A2009)ため、これらの処理を行わずにA2010に移行する。そして、特図普段処理移行設定処理1を行って(A2010)、特図普段処理を終了する。
一方、A2002にて、特図2保留数が0でない場合に(A2002の結果が「N」)、特図2変動開始処理を行う(A2011)。なお、A2011における特図2変動開始処理の詳細については後述する。その後、特図2の特図変動中処理移行設定処理を行って(A2012)、特図普段処理を終了する。また、A2004にて、特図1保留数が0でない場合に(A2004の結果が「N」)、特図1変動開始処理を行う(A2013)。なお、A2013における特図1変動開始処理の詳細については後述する。その後、特図1の特図変動中処理移行設定処理を行って(A2014)、特図普段処理を終了する。このように、A2001とA2002における特図2保留数のチェックを、A2003とA2004における特図1保留数のチェックよりも先に行うことで、特図2保留数が0でない場合には、特図2変動開始処理が実行されることとなる(A2011)。すなわち、第2特図変動表示ゲームが第1特図変動表示ゲームに優先して実行されることとなる。
〔特図1変動開始処理〕
次に、前述した特図普段処理(図26)における特図1変動開始処理(A2013)の詳細について説明する。図27は、本発明の第1の実施の形態の特図1変動開始処理の手順を示すフローチャートである。特図1変動開始処理は、第1特図変動表示ゲームの開始時に行う処理である。
遊技制御装置600は、第1特図変動表示ゲームが大当りであるか否かを判定して大当りフラグ1にはずれ情報や大当り情報を設定する大当りフラグ1設定処理を行う(A2101)。続けて、第1特図変動表示ゲームが小当りであるか否かを判定して小当りフラグ1にはずれ情報や小当り情報を設定する小当りフラグ1設定処理を行う(A2102)。
次に、遊技制御装置600は、第1特図停止図柄(特図1停止図柄)の設定に係る特図1停止図柄設定処理を行った後(A2103)、第1特図停止図柄番号(特図1停止図柄番号)に対応する信号を試験信号出力データ領域にセーブする(A2104)。続いて、図柄情報領域から図柄情報をロードし(A2105)、当該図柄情報をRWMの作業用の図柄情報領域にセーブする(A2106)。
次に、遊技制御装置600は、特図1変動フラグを設定し、準備して(A2107)、特図1変動フラグをRWMの変動図柄判別フラグ領域にセーブする(A2108)。その後、変動パターンに関する情報を設定するテーブル(特図1用)を準備して(A2109)、特図情報を設定する特図情報設定処理を行う(A2110)。続けて、第1特図変動表示ゲームにおける変動態様のうち、後半変動パターンを設定する後半変動パターン設定処理を行った後(A2111)、第1特図変動表示ゲームの前半変動パターンを設定する変動パターン設定処理を行う(A2112)。その後、第1特図の変動開始の情報を設定する変動開始情報設定処理を行って(A2113)、特図1変動開始処理を終了する。変動開始情報設定処理(A2113)では、特図1変動表示ゲームの変動パターンに関する情報を含む変動パターンコマンド、大当りフラグ1に設定される大当り情報/はずれ情報に対応する図柄コマンドなどが設定される。このように、遊技制御装置600が、第1始動記憶に基づいて、変動表示ゲームとして第1変動表示ゲームを実行する第1ゲーム実行手段をなす。
〔特図2変動開始処理〕
次に、前述した特図普段処理(図26)における特図2変動開始処理(A2011)の詳細について説明する。図28は、本発明の第1の実施の形態の特図2変動開始処理の手順を示すフローチャートである。
遊技制御装置600は、まず、第2特図変動表示ゲームが大当りであるか否かを判定して大当りフラグ2にはずれ情報や大当り情報を設定する大当りフラグ2設定処理を行う(A2201)。続けて、第2特図変動表示ゲームが小当りであるか否かを判定して小当りフラグ2にはずれ情報や小当り情報を設定する小当りフラグ2設定処理(A2202)を行う。
次に、遊技制御装置600は、第2特図停止図柄(特図2停止図柄)の設定に係る特図2停止図柄設定処理(A2203)を行った後、第2特図停止図柄番号(特図2停止図柄番号)に対応する信号を試験信号出力データ領域にセーブする(A2204)。続いて、図柄情報領域から図柄情報をロードし(A2205)、当該図柄情報をRWMの作業用の図柄情報領域にセーブする(A2206)。
次に、遊技制御装置600は、特図2変動フラグを設定し、準備して(A2207)、特図2変動フラグをRWMの変動図柄判別フラグ領域にセーブする(A2208)。その後、変動パターンに関する情報を設定するテーブル(特図2用)を準備して(A2209)、特図情報を設定する特図情報設定処理を行う(A2210)。続けて、第2特図変動表示ゲームにおける変動態様のうち、後半変動パターンを設定する後半変動パターン設定処理を行った後(A2211)、第2特図変動表示ゲームの前半変動パターンを設定する変動パターン設定処理を行う(A2212)。その後、第2特図の変動開始の情報を設定する変動開始情報設定処理を行って(A2213)、特図2変動開始処理を終了する。変動開始情報設定処理(A2213)では、特図2変動表示ゲームの変動パターンに関する情報を含む変動パターンコマンド、大当りフラグ2に設定される大当り情報/はずれ情報に対応する図柄コマンドなどが設定される。このように、遊技制御装置600が、第2始動記憶に基づいて、変動表示ゲームとして第2変動表示ゲームを実行する第2ゲーム実行手段をなす。
この特図1変動開始処理及び特図2変動開始処理により、特図変動表示ゲームの変動パターンが設定される。特図変動表示ゲームの変動パターンとして設定される内容には、特図変動表示ゲームの実行時間や飾り特図変動表示ゲームでの演出内容、識別情報の変動態様などがある。飾り特図変動表示ゲームでの識別情報の変動態様には、リーチの変動パターンの他に、1回の始動入賞領域への遊技球の入賞に基づいて識別情報の変動表示を行い、識別情報を全て仮停止した後に識別情報全ての再変動表示を行う再変動表示動作を所定回行う擬似連続予告演出の変動パターンなどが含まれる。
〔普図ゲーム処理〕
次に、前述したタイマ割込み処理(図17)における普図ゲーム処理(A309)の詳細について説明する。図29は、本発明の第1の実施の形態の普図ゲーム処理の手順を示すフローチャートである。
普図ゲーム処理では、普図始動ゲート36の入力の監視と、普図変動表示ゲームに関する処理全体の制御、普図の表示の設定を行う。普図ゲーム処理を実行する遊技制御装置600は、普図制御手段を構成する。
遊技制御装置600は、まず、ゲートスイッチ603への遊技球の入賞を監視するゲートスイッチ監視処理を実行する(A3001)。ゲートスイッチ監視処理では、普図始動ゲート36に遊技球が入賞すると、普図変動表示ゲームの当りを決定するための当り乱数を抽出する。なお、ゲートスイッチ監視処理の詳細については、図30を参照して、後述する。
次に、遊技制御装置600は、普電入賞スイッチ監視処理を実行する(A3002)。普電入賞スイッチ監視処理では、第2始動入賞口37bに設けられた第2始動口スイッチ602のカウント数、すなわち、第2始動入賞口37bに入賞した遊技球の数を監視する。なお、普電入賞スイッチ監視処理の詳細については、図31を参照して、後述する。
次に、遊技制御装置600は、当該ゲーム処理タイマが既にタイムアップしたか否か、又は、普図ゲーム処理タイマを1減算して更新し、当該ゲーム処理タイマがタイムアップしたか否かをチェックする(A3003)。そして、普図ゲーム処理タイマがタイムアップしたか否かを判定する(A3004)。
遊技制御装置600は、普図ゲーム処理タイマがタイムアップしたと判定した場合には(A3004の結果が「Y」)、普図ゲーム処理番号に対応する処理に分岐させるために参照する普図ゲームシーケンス分岐テーブルをレジスタに設定する(A3005)。
遊技制御装置600は、さらに、普図ゲームシーケンス分岐テーブルを用いて普図ゲーム処理番号に対応する処理の分岐先アドレスを取得する(A3006)。そして、普図ゲーム処理番号に対応する処理が完了した後に戻り先であるリターンアドレスをスタック領域に退避させる(A3007)。その後、普図ゲーム処理番号に対応する処理を実行する(A3008)。
遊技制御装置600は、普図ゲーム処理番号が「0」の場合には(A3008の結果が「0」)、普図普段処理を実行する(A3009)。普図普段処理は、普図変動表示ゲームの変動開始を監視し、普図変動表示ゲームの結果の抽選、及び普図変動中処理を行うために必要な情報の設定などを行う。なお、普図普段処理の詳細については、図32と図33を参照して、後述する。
遊技制御装置600は、普図ゲーム処理番号が「1」の場合には(A3008の結果が「1」)、普図変動中処理を実行する(A3010)。普図変動中処理は、普図表示中処理を行うために必要な情報の設定等を行う。なお、普図変動中処理の詳細については、図36を参照して、後述する。
遊技制御装置600は、普図ゲーム処理番号が「2」の場合には(A3008の結果が「2」)、普図表示中処理を実行する(A3011)。普図表示中処理は、普図変動表示ゲームの遊技結果が当りであれば、普電サポート状態に応じた第2始動入賞口37bの開閉部材37cの開放時間の設定や、普図当り中処理を行うために必要な情報の設定等を行う。なお、普図表示中処理の詳細については、図37を参照して後述する。
遊技制御装置600は、普図ゲーム処理番号が「3」の場合には(A3008の結果が「3」)、普図当り中処理を実行する(A3012)。普図当り中処理は、普図変動表示ゲームの当りが終了するか否かを判定する処理や、普電残存球処理を行うために必要な情報の設定等を行う。なお、普図当り中処理の詳細については、図39を参照して後述する。
遊技制御装置600は、普図ゲーム処理番号が「4」の場合には(A3008の結果が「4」)、普電残存球処理を実行する(A3013)。普電残存球処理は、普図変動表示ゲームの当りラウンドが最終ラウンドであれば、第2始動入賞口37b内にある残存球が排出されるための時間を設定する処理や、普図当り終了処理を行うために必要な情報の設定などを行う。
遊技制御装置600は、普図ゲーム処理番号が「5」の場合には(A3008の結果が「5」)、普図当り終了処理を実行する(A3014)。普図当り終了処理は、普図普段処理(A3009)を行うために必要な情報の設定等を行う。
各処理番号に対応する処理が完了すると、遊技制御装置600は、普図表示器53の変動を制御するためのテーブルを準備し(A3015)、普図表示器53における図柄変動制御処理を実行する(A3016)。
一方、遊技制御装置600は、普図ゲーム処理タイマがタイムアップしていないと判定した場合には(A3004の結果が「N」)、A3015以降の処理を実行する。
〔ゲートスイッチ監視処理〕
次に、前述の普図ゲーム処理(図29)におけるゲートスイッチ監視処理(A3001)の詳細について説明する。図30は、本発明の第1の実施形態のゲートスイッチ監視処理のフローチャートである。
遊技制御装置600は、まず、ゲートスイッチ603に入力があるか否かをチェックして判定する(A3101、A3102)、ゲートスイッチ603に入力がない(A3102の結果が「N」)と判定すると、ゲートスイッチ監視処理を終了する。一方、ゲートスイッチ603に入力がある(A3102の結果が「Y」)と判定すると、普図保留(普図始動記憶)数が上限値未満(例えば所定数4)か否かをチェックして(A3103)、普図保留数が上限値未満か否かを判定する処理(A3104)を行う。
普図保留数が上限値未満である(A3104の結果が「Y」)と判定すると、普図保留数を更新(+1)する処理(A3105)を行った後、普図保留数に対応する乱数セーブ領域のアドレスを算出する処理(A3106)を行う。
そして、当り乱数をRWMの乱数セーブ領域にセーブし(A3107)、ゲートスイッチ監視処理を終了する。なお、セーブした当り乱数(当り判定用乱数値)は、普図始動記憶となる。
普図保留数が上限値未満でない(A3104の結果が「N」)と判定すると、ゲートスイッチ監視処理を終了する。
〔普電入賞スイッチ監視処理〕
次に、前述の普図ゲーム処理(図29)における普電入賞スイッチ監視処理(A3002)の詳細について説明する。図31は、本発明の第1の実施形態の普電入賞スイッチ監視処理のフローチャートである。
普図入賞スイッチ監視処理は、普図変動表示ゲームの当り中に第2始動入賞口に所定数の遊技球が入賞すると、普図変動表示ゲームの当り状態を終了させる処理である。
遊技制御装置600は、まず、普図変動表示ゲームの当りが発生しているか否かをチェックして、判定する(A3201、A3202)、普図変動表示ゲームの当りが発生していない場合に(A3202の結果が「N」)、普電入賞スイッチ監視処理を終了する。一方、普図変動表示ゲームが当りである場合に(A3202の結果が「Y」)、第2始動口スイッチ(始動口2スイッチ)602に入力があるか否かをチェックして(A3203)、第2始動口スイッチ602に入力があるか否かを判定する処理を行う(A3204)。第2始動口スイッチ602に入力がない場合に(A3204の結果が「N」)、普電入賞スイッチ監視処理を終了する。
一方、第2始動口スイッチ602に入力がある場合に(A3204の結果が「Y」)、普電カウント数を更新(+1)する処理を行う(A3205)。そして、更新された普電カウント数が上限値(例えば10個)に達したか否かをチェックし(A3206)、普電カウント数が上限値に達したか否かを判定する処理を行う(A3207)。この上限値は、普通電動役物(開閉部材37c)の1回の開放での第2始動入賞口37bへの最大入賞数である。
普電カウント数が上限値に達していない場合に(A3207の結果が「N」)、普電入賞スイッチ監視処理を終了する。一方、普電カウント数が上限値に達した場合に(A3207の結果が「Y」)、普図変動表示ゲームの当り状態を終了するべく、後述の普図当り中処理の普電作動移行設定処理(図40)で使用するポインタとして、普図当り中処理制御ポインタ領域に当り終了の値であるポインタ(4)をセットし(A3208)、普図ゲーム処理タイマを0クリアし(A3209)、普電入賞スイッチ監視処理を終了する。
〔普図普段処理〕
次に、前述した普図ゲーム処理(図29)における普図普段処理(A3009)の詳細について説明する。図32は、本発明の第1の実施の形態の普図普段処理の前半の手順を示すフローチャートである。図33は、本発明の第1の実施の形態の普図普段処理の後半の手順を示すフローチャートである。
遊技制御装置600は、まず、普図保留数が0であるか否かをチェックする(A3301)。そして、普図保留数が0であるか否かを判定する(A3302)。普図保留数が0の場合には(A3302の結果が「Y」)、次に実行されるタイマ割込み処理の普図ゲーム処理で普図普段処理を実行させるために、普図普段処理移行設定処理1を実行する(A3303)。その後、普図普段処理を終了する。
一方、遊技制御装置600は、普図保留数が0でない場合には(A3302の結果が「N」)、普図ゲームモードフラグ(普図ゲームモードフラグ領域のフラグ)に基づいて、普図当り確率を高確率(普図高確状態、第1状態)にするか否かを判定する(A3304)。大当り終了処理等において、普図ゲームモードフラグとして普図高確率&普電サポートありフラグが設定されている場合に、遊技制御装置600は、A3305からA3311までの処理を実行して、普図変動表示ゲームの結果が普図当りとなる普図当り確率を高確率(普図高確状態)にし、普図当りを抽選する。大当り終了処理等において、普図ゲームモードフラグとして普図高確率&普電サポートありフラグが設定されない場合に、遊技制御装置600は、A3314からA3317までの処理を実行して、普図変動表示ゲームの結果が普図当り(特別結果)となる普図当り確率を低確率(普図低確状態、第2状態)にし、普図当りを抽選する。
現在の普図当り確率を高確率にする場合には(A3304の結果が「Y」)、RWMの乱数セーブ領域から当り乱数をロードして準備する(A3305)。さらに、普図当り確率が高確率である場合の当り判定用の下限判定値を設定する(A3306)。遊技制御装置600は、その後、当り乱数の値が下限判定値未満であるか否かをチェック、つまり、A3305の処理でロードされた当り乱数の値が、当該当り乱数の当り判定値の下限値未満であるかをチェックする(A3307)。そして、当り乱数の値が下限判定値未満であるか否かを判定する(A3308)。
遊技制御装置600は、当り乱数の値が下限判定値未満でない場合(A3308の結果が「N」)、すなわち、当り乱数の値が下限判定値以上の場合には、普図変動表示ゲームで当り結果となる確率が高確率状態である場合の上限判定値を設定する(A3309)。
遊技制御装置600は、当り乱数の値が上限判定値よりも大きいか否かをチェック、すなわち、A3305の処理で読み込まれた当り乱数の値が、当該当り乱数の当り判定値の上限値よりも大きいかをチェックする(A3310)。そして、当り乱数の値が上限判定値よりも大きいか否かを判定する(A3311)。
遊技制御装置600は、当り乱数の値が上限判定値よりも大きくない、すなわち、当り乱数の値が上限判定値以下の場合には(A3311の結果が「N」)、RWMの当りフラグ領域に当り情報をセーブする(A3312)。また、当り情報を含むフラグ情報コマンドを設定する。さらに、普図停止図柄として当り時の停止図柄番号を設定し(A3313)、A3320以降の処理を実行する。また、当り時の停止図柄番号を含む普図停止図柄コマンドを設定する。当り時の停止図柄番号は、普図変動表示ゲームの当り図柄を決定する当り図柄乱数から抽選(振分)により決定される。
また、遊技制御装置600は、当り乱数の値が下限判定値未満の場合(A3308の結果が「Y」)、もしくは、当り乱数の値が上限値よりも大きい場合には(A3311の結果が「Y」)、RWMの当りフラグ領域にはずれ情報をセーブする(A3318)。また、はずれ情報を含むフラグ情報コマンドを設定する。さらに、普図停止図柄としてはずれ時の停止図柄番号を設定し(A3319)、A3320以降の処理を実行する。また、はずれ時の停止図柄番号を含む普図停止図柄コマンドを設定する。はずれ時の停止図柄番号は、普図変動表示ゲームのはずれ図柄を決定するはずれ図柄乱数から抽選(振分)により決定される。はずれ時又は当り時の停止図柄ひいては停止図柄番号は、例えば5種類程度(ここでは、はずれ図柄、当り1図柄、当り2図柄、当り3図柄、当り4図柄)準備されている。
一方、遊技制御装置600は、現在の普図当り確率が高確率でない場合(普図低確状態)には(A3304の結果が「N」)、RWMの乱数セーブ領域から当り乱数をロードして準備し(A3314)、普図当り確率が低確率状態である場合(普図低確状態)の当り判定用の判定値を設定する(A3315)。そして、A3314の処理でロードした当り乱数とA3315の処理で設定した判定値とが一致するか否かをチェックし(A3316)、当該当り乱数と当該判定値とが一致するか否かを判定する(A3317)。上述の普図高確状態(第1状態)において、当り乱数を判定値の上限値及び下限値と比較して、当り乱数が上限値と下限値で画定される所定の範囲内にあるか否か判定されたが、当り判定用の判定値が少なく設定される普図低確状態(第2状態)においては、当り判定として、当り乱数と判定値とが一致するか否かが直接的に判定される。これにより、処理手順が省略されて普図の当り判定に要する処理負担を軽減することができる。
遊技制御装置600は、当り乱数と判定値とが一致する場合には(A3317の結果が「Y」)、当りフラグ領域に当り情報をセーブする(A3312)。また、当り情報を含むフラグ情報コマンドを設定する。さらに、普図停止図柄としての当り時の停止図柄番号と対応する普図停止図柄コマンドを設定して(A3313)、A3320以降の処理を実行する。
また、遊技制御装置600は、当り乱数と判定値とが一致しない場合には(A3317の結果が「N」)、当りフラグ領域にはずれ情報をセーブする(A3318)。また、はずれ情報を含むフラグ情報コマンドを設定する。さらに、普図停止図柄としてのはずれ時の停止図柄番号と対応する普図停止図柄コマンドを設定して(A3319)、A3320以降の処理を実行する。
次に、遊技制御装置600は、RWMの乱数セーブ領域を0クリアする(A3320)。そして、普図停止図柄領域にA3313又はA3319の処理で設定された停止図柄番号をセーブする(A3321)。さらに、普図停止図柄番号に対応する信号を、普図停止図柄番号に対応する信号を試験信号出力データ領域にセーブする(A3322)。
次に、遊技制御装置600は、当り乱数セーブ領域をシフトし(A3323)、A3323の処理でシフトされた後の空き領域をクリアする(A3324)。さらに、普図保留数を1減算して更新する(A3325)。
次に、遊技制御装置600は、普図ゲームモードフラグに基づいて、普図高確率であるか否かを判定する(A3326)。そして、遊技制御装置600は、普図高確率中の場合には(A3326の結果が「Y」)、普図高確率時の普図変動表示ゲームの変動時間を設定する(A3327)。一方、遊技制御装置600は、普図低確率である場合には(A3326の結果が「N」)、普図低確率時の普図変動表示ゲームの変動時間を設定する(A3328)。
そして、遊技制御装置600は、A3327又はA3328の処理で設定された変動時間を普図ゲーム処理タイマ領域にセーブする(A3329)。
最後に、遊技制御装置600は、次に実行されるタイマ割込み処理における普図ゲーム処理で普図変動中処理が実行されるように、普図変動中処理移行設定処理を実行する(A3330)。その後、普図普段処理を終了する。
〔普図普段処理移行設定処理1〕
次に、前述した普図普段処理(図32、33)における普図普段処理移行設定処理1(A3303)の詳細について説明する。図23は、本発明の第1の実施の形態の普図普段処理移行設定処理1の手順を示すフローチャートである。
遊技制御装置600は、まず、処理番号を0に設定し(A3401)、普図ゲーム処理番号領域にA3401で設定された処理番号(0)をセーブする(A3402)。そして、普電不正監視期間フラグ領域に不正監視期間中フラグをセーブして(A3403)、普図普段処理移行設定処理を終了する。
〔普図変動中処理移行設定処理〕
次に、前述した普図普段処理(図32、33)における普図変動中処理移行設定処理(A3330)の詳細について説明する。図35は、本発明の第1の実施の形態の普図変動中処理移行設定処理の手順を示すフローチャートである。
遊技制御装置600は、まず、処理番号を1に設定し(A3501)、普図ゲーム処理番号領域にA3501で設定された処理番号(1)をセーブする(A3502)。
そして、普図変動開始に関する信号を試験信号出力データ領域にセーブし(A3503)、普図変動制御フラグ領域に変動中フラグをセーブする(A3504)。次に、図33のA3327又はA3328で設定された変動時間に対応する変動タイマ初期値を普図変動制御タイマ領域にセーブし(A3505)、普図変動中処理移行設定処理を終了する。
〔普図変動中処理〕
次に、上述の普図ゲーム処理(図29)における普図変動中処理(A3010)の詳細について説明する。図36(A)は、本発明の第1の実施形態の普図変動中処理のフローチャートである。
図35に示す普図変動中処理移行設定処理で、普図変動制御タイマ領域に普図変動表示ゲームの変動時間に対応する変動タイマ初期値が設定されるため、普図変動表示ゲームの変動時間が経過するまで、普図ゲーム処理において、普図変動中処理は実行されず、図柄変動制御処理が実行されるため、変動時間分だけ普通図柄が変動し続ける。
遊技制御装置600は、普図変動中処理において、次に実行されるタイマ割込み処理の普図ゲーム処理で普図表示中処理(A3011)が実行されるように、普図表示中処理移行設定処理(A4001)を実行し、普図表示中処理を終了する。
〔普図表示中処理移行設定処理〕
普図表示中処理移行設定処理は、上述した普図変動中処理(図36(A)のA4001)で実行される処理である。図36(B)は、本発明の第1の実施形態の普図表示中処理移行設定処理のフローチャートである。
普図表示中処理移行設定処理は、普図変動表示ゲームにおける普通図柄の停止時間(普図表示時間)が経過した場合、普図表示中処理に移行させる処理である。
遊技制御装置600は、まず、処理番号を2に設定し(A4101)、A4101で設定した処理番号(2)を普図ゲーム処理番号領域にセーブする(A4102)。
次に、普図変動表示ゲームにおける普通図柄の停止時間である普図表示時間を設定し(A4103)、A4103で設定された普図表示時間を普図ゲーム処理タイマ領域にセーブする(A4104)。
そして、普図変動表示ゲームが終了すること(普図変動終了)に関する信号を、普図変動終了に関する信号を試験信号出力データ領域にセーブし(A4105)、普図変動制御フラグ領域に普図停止フラグをセーブし(A4106)、普図表示中処理移行設定処理を終了する。
〔普図表示中処理〕
次に、上述の普図ゲーム処理における普図表示中処理(図29のA3011)の詳細について説明する。図37は、本発明の第1の実施形態の普図表示中処理のフローチャートである。
普図表示中処理は、普図変動表示ゲームにおける普通図柄の停止時間が経過するまで実行されない処理で、現在の普電サポート状態に対応する第2始動入賞口37bの開閉部材37c(普通変動入賞装置)の開放時間(普電開放時間)を決定する処理である。
遊技制御装置600は、まず、RWMの当りフラグ領域から当りフラグをロードし(A4201)、当りフラグ領域をクリアする(A4202)。
そして、A4201でロードされた当りフラグに基づいて、普通図柄が停止した普図変動表示ゲームが当りであるか否かをチェックし(A4203)、普図変動表示ゲームが当りであるか否かを判定する処理(A4204)を行う。
A4204において、普図変動表示ゲームが当りでない(A4204の結果が「N」)と判定すると、普電開放時間を決定しないので、普図普段処理移行設定処理1(A4214)を実行し、普図表示中処理を終了する。普図普段処理移行設定処理1は、図34で説明したものと同じである。
A4204において、普図変動表示ゲームが当りである場合に(A4204の結果が「Y」)、遊技状態が確変遊技状態又は時短遊技状態であるか否か判定する(A4205)。遊技状態が確変遊技状態又は時短遊技状態である場合に(A4205の結果が「Y」)、遊技状態が潜伏確変遊技状態であるか否かを判定する処理を行う(A4206)。
A4207において、現在の遊技状態が潜伏確変遊技状態でない場合に(A4207の結果が「N」)、確変普電サポート状態(即ち潜伏確変以外の確変遊技状態)又は時短遊技状態に対する所定の普電開放時間(例えば1500ミリ秒×3回)を設定する(A4207)。なお、確変遊技状態でも普電サポート中でない場合は、潜伏確変遊技状態に相当する。そして、時短又は確変中の普電サポート時の当り開始ポインタとして0を設定し(A4208)、A4211に移行する。当り開始ポインタは、後述の普図当り中処理の普電作動移行設定処理(図40)で使用されるポインタである。
一方、遊技状態が、潜伏確変以外の確変遊技状態でなく且つ時短遊技状態でもない場合に(即ち、通常遊技状態等の場合に)(A4205の結果が「N」又はA4206の結果が「Y」)、図47のようなテーブルを参照して、普図変動表示ゲームの結果としての普図停止図柄に応じて、普通電動役物の普電開放時間を選択、設定する(A4209)。ここでの普通電動役物(第2始動入賞口37bの開閉部材37c)の普電開放時間は、例えば、普図停止図柄が当り1図柄の場合に6秒(超ロング開放)、当り2図柄の場合に3秒(ロング開放)、当り3図柄の場合に1秒(ショート開放)、当り4図柄の場合に0.1秒(通常開放)である。本実施形態では、開放回数は1回であるが、普通電動役物の開放を複数回に分割してその開放時間の合計が、上記の普電開放時間6秒、3秒、1秒になるように構成してもよい。そして、通常遊技状態や潜伏確変遊技状態等の場合の当り開始ポインタとして4を設定し(A4210)、A4211に移行する。
A4211では、普図当り中処理制御ポインタ領域にA4208、A4210で設定された現在の普電サポート状態に対応する当り開始の値をセーブする処理を行う。また、A4207、A4209で設定された現在の普電サポート状態に対応する普電開放時間を普図ゲーム処理タイマ領域にセーブし(A4212)、普図当り中処理を実行すべく普図当り中処理移行設定処理を実行して(A4213)、普図表示中処理を終了する。A4212で普図ゲーム処理タイマ領域に普電開放時間がセーブされているので、普電開放時間が経過してから普図当り中処理が実行される。
〔普図当り中処理移行設定処理〕
次に、上述の普図表示中処理における普図当り中処理移行設定処理(図37のA4213)の詳細について説明する。図38は、本発明の第1の実施形態の普図当り中処理移行設定処理のフローチャートである。
普図当り中処理移行設定処理は、普電ソレノイド27を制御するためのデータ等を設定する処理である。
遊技制御装置600は、処理番号を3に設定し(A4301)、A4301で設定された処理番号(3)を普図ゲーム処理番号領域にセーブする(A4302)。
そして、普図変動表示ゲームで当りが発生すること(普図当り)に関する信号を、普図当りに関する信号を試験信号出力データ領域にセーブし(A4303)、第2始動入賞口37bの開閉部材37cを開放するように普電ソレノイド27を制御するために、普電ソレノイド出力制御データにONデータをセーブする(A4304)。これにより、第2始動入賞口37bの開閉部材37cが1回目の開放状態となる。
なお、開閉部材37cの開放が複数回(ここでは3回)ある場合には、当り開始ポインタを0に設定することによって(A4208)、後述のA4505−A4507において2回目以降の開閉部材37cの開放が行われる。開閉部材37cの開放が1回だけである場合には、当り開始ポインタを4に設定することによって(A4208)、以後の開閉部材37cの開放は行われない。
次に、普図変動表示ゲームの当りが発生している間に、第2始動入賞口37bに入賞した遊技球の数をカウントする普電カウント数領域をリセットし(A4305)、第2始動入賞口37bの開閉部材37cが閉じている間に第2始動入賞口37bに入賞した遊技球の数を示す普電不正入賞数を記憶する普電不正入賞数領域をリセットし(A4306)、第2始動入賞口37bの開閉部材37cが開放するので、普電不正監視期間フラグ領域に不正監視期間外フラグをセーブし(A4307)、普図当り中処理移行設定処理を終了する。
〔普図当り中処理〕
次に、上述の普図ゲーム処理(図29)における普図当り中処理(A3012)の詳細について説明する。図39は、本発明の第1の実施形態の普図当り中処理のフローチャートである。
普図当り中処理は、普図当りの状態を示す普図当り中処理制御ポインタ(0〜4)を更新する処理である。
遊技制御装置600は、普図当り中処理制御ポインタをロードして準備した後(A4401)、A4401でロードされた普図当り中処理制御ポインタが当りを終了させる値(4)であるか否かをチェックし(A4402)、普図当り中処理制御ポインタが当りを終了させる値であるか否かを判定する(A4403)。
普図当り中処理制御ポインタが当りを終了させる値でないと判定すると(A4403の結果が「N」)、普図当り中処理制御ポインタの値を更新(+1)し(A4404)、普図当り中処理制御ポインタの値に対応した普電ソレノイドの制御を実行する普電作動移行設定処理(A4405)を実行して普図当り処理を終了する。
一方、普図当り中処理制御ポインタが当りを終了させる値であると判定すると(A4403の結果が「Y」)、A4404を実行せずに、普電作動移行設定処理を実行して(A4405)、普図当り処理を終了する。
〔普電作動移行設定処理〕
次に、前述した普図当り中処理(図39)における普電作動移行設定処理(A4405)の詳細について説明する。図40は、本発明の第1の実施形態の普電作動移行設定処理のフローチャートである。普電作動移行設定処理は、普図当り中処理制御ポインタの値に対応した処理を実行する。
遊技制御装置600は、まず、普図当り中処理制御ポインタの値に応じた分岐処理(A4501)を行う。
A4501で、普図当り中処理制御ポインタの値が0又は2である場合に、遊技制御装置600は、第2始動入賞口37bの開閉部材37c(普通変動入賞装置)を閉塞する時間を示すウェイト時間を設定し(A4502)、A4502で設定されたウェイト時間を普図ゲーム処理タイマ領域にセーブし(A4503)、開閉部材37cを閉塞状態にするように普電ソレノイド27を制御するために、普電ソレノイド出力データ領域にOFFデータをセーブし(A4504)、普電作動移行設定処理を終了する。なお、処理番号は更新されず3のままであるので、ウェイト時間が経過すると普図当り中処理が実行され、A4404で普図当り中処理制御ポインタが更新(+1)される。
次に、A4501で、普図当り中処理制御ポインタの値が1又は3である場合に、遊技制御装置600は、現在の普電サポート状態に対応する普電開放時間(A4207と同じ時間(例えば1500ミリ秒))を設定し(A4505)、A4505で設定された普電開放時間を普図ゲーム処理タイマ領域にセーブし(A4506)、第2始動入賞口37bの開閉部材37cを開放状態にするように普電ソレノイド27を制御するために、普電ソレノイド出力データ領域にONデータをセーブし(A4507)、普電作動移行設定処理を終了する。なお、処理番号は更新されず3のままであるので、普電開放時間が経過すると普図当り中処理が実行され、A4404で普図当り中処理制御ポインタが更新(+1)される。
次に、A4501で、普図当り中処理制御ポインタの値が4である場合に、遊技制御装置600は、当り状態を終了し普電残存球処理を実行すべく、処理番号を4に設定し(A4508)、A4508で設定された処理番号を普図ゲーム処理番号領域にセーブし(A4509)、開閉部材37cが閉塞状態であった場合に第2始動入賞口37bへの入賞を検出しても普電不正入賞数としてカウントしない時間を示す普電残存球処理時間を設定し、普電残存球処理時間を普図ゲーム処理タイマ領域にセーブし(A4510)、開閉部材37cを閉塞状態にするように普電ソレノイド27を制御するために、普電ソレノイド出力データ領域にOFFデータをセーブし(A4511)、普電作動移行設定処理を終了する。
以上のように、第2始動入賞口37bの開閉部材37cの開放回数が3回の場合には、普図当り中処理移行設定処理のA4304で開放状態となった後、第2始動入賞口37bの開閉部材37c(普通変動入賞装置)の閉塞状態から開放状態への変換(ラウンド)が2回行われ、2ラウンドが終了すると普図変動表示ゲームの当りが終了する。
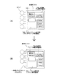
〔1stCPUメイン処理(演出制御装置)〕
次に、演出制御装置700によって実行されるメイン処理の詳細を説明する。図41は、本発明の第1の実施の形態の演出制御装置700の主制御用マイコン(1stCPU)710によって実行されるメイン処理の手順を示すフローチャートである。メイン処理は、遊技機1に電源が投入されると実行される。なお、演出制御装置700が実行する処理のフローチャートにおいて、ステップの符号(番号)は「B****」と表されている。
主制御用マイコン(1stCPU)710は、メイン処理の実行が開始されると、まず、割込みを禁止する(B1001)。次に作業領域であるRAM711を0クリアし(B1002)、CPU初期化処理を実行する(B1003)。その後、各種処理の実行に必要な初期値をRAM711に設定し(B1004)、乱数初期化処理を実行する(B1005)。
続いて、主制御用マイコン710は、所定のタイミング(例えば、1ミリ秒)で割込みを発生させるための各種割込みタイマを起動させ(B1006)、割込みを許可する(B1007)。割込みが許可されると、遊技制御装置600から送信されたコマンドを受信するコマンド受信割込み処理などの割込み処理を実行可能な状態となる。
主制御用マイコン710は、WDT(ウォッチドックタイマ)をクリアする(B1008)。WDTは、上述したCPU初期化処理(B1003)で起動され、CPUが正常に動作しているかどうかを監視する。WDTが一定周期を経過してもクリアされない場合は、WDTがタイムアップしてCPUがリセットされる。
次に、主制御用マイコン710は、遊技者による演出ボタン17の操作信号を演出ボタンSW(スイッチ)751を介して検出したり、検出した信号に応じた処理を実行したりする(B1009)。さらに、遊技制御装置600から受信した遊技制御コマンドを解析する遊技制御コマンド解析処理を実行する(B1010)。
次に、主制御用マイコン710は、テストモード処理を実行する(B1011)。テストモード処理は、工場出荷時の検査の際に検査用のコマンドを受信してLEDの点灯等を検査する。したがって、テストモード処理は、工場出荷時にCPUを検査する場合に実行される。
続いて、主制御用マイコン710は、遊技制御コマンド解析処理(B1010)において解析された制御コマンドに基づき、変動表示装置35に表示させるシーン(表示内容)を制御する1stシーン制御処理を実行する(B1012)。1stシーン制御処理では、画面の表示内容を統括的に制御する。そして、大当りの期待度の高い変動表示ゲームが実行されることなどを事前に報知する先読み予告制御処理も含まれる。1stシーン制御処理については、図34にて後述する。
さらに、主制御用マイコン710は、遊技機1における異常の発生を監視する遊技機エラー監視処理を実行する(B1013)。演出制御装置700に関わる異常の他に、遊技制御装置600からエラー報知を指示するコマンドを受信した場合などに、警報音の報知など所定の処理を実行する。
そして、主制御用マイコン710は、映像制御用マイコン(2ndCPU)720に送信するコマンドを編集する演出コマンド編集処理を実行する(B1014)。
また、主制御用マイコン710は、スピーカー10から出力される音を制御するサウンド制御処理を実行する(B1015)。また、LED等からなる装飾装置(盤装飾装置760、枠装飾装置21)を制御する装飾制御処理を実行し(B1016)、さらにモータ及びソレノイドで駆動される電動役物や可動式照明9などの演出装置(盤演出装置770、枠演出装置22)を制御するモータ/SOL制御処理を実行する(B1017)。
最後に、主制御用マイコン710は、演出乱数などの乱数を更新するための乱数更新処理を実行して(B1018)、B1008の処理に戻る。以降、B1008からB1018までの処理を繰り返す。
〔1stシーン制御処理〕
次に、前述した1stメイン処理(図41)における1stシーン制御処理(B1012)の詳細について説明する。図42は、本発明の第1の実施の形態の1stシーン制御処理の手順を示すフローチャートである。
主制御用マイコン710は、まず、遊技機1がテスト中モードであるか否かを判定する(B1101)。テスト中モードの場合には(B1101の結果が「Y」)、実際に演出制御を行う必要がないため、1stシーン制御処理を終了する。
主制御用マイコン710は、遊技機1がテスト中モードでない場合には(B1101の結果が「N」)、遊技制御装置600から送信されたシーン変更コマンドを受信しているか否かを判定する(B1102)。シーン変更コマンドを受信していない場合には(B1102の結果が「N」)、B1107以降の処理を実行する。シーン変更コマンドとは、後述のB1108からB1116の処理に対応するコマンドであり、例えば、「電源投入コマンド」「停電復旧コマンド」などである。
主制御用マイコン710は、シーン変更コマンドを受信している場合には(B1102の結果が「Y」)、更新する(現在の)遊技状態を取得する(B1103)。さらに、有効なコマンドを受信しているか否かを判定する(B1104)。具体的には、変更先のシーンが現在の遊技状態と整合するか否かなどを判定する。主制御用マイコン710は、有効なコマンドを受信していない場合には(B1104の結果が「N」)、B1107以降の処理を実行する。
主制御用マイコン710は、有効なコマンドを受信した場合には(B1104の結果が「Y」)、受信したコマンドをメモリ(RAM)の所定の領域にセーブする(B1105)。さらに、演出リクエストフラグをセットする(B1106)。演出リクエストフラグは、シーンを変更するタイミングであることを示すフラグであり、後述する変動中処理(B1111)で、演出リクエストフラグが設定されているか否かに応じた処理が実行される。
続いて、主制御用マイコン710は、受信したシーン変更コマンドの識別子に応じた処理を実行する(B1107)。
主制御用マイコン710は、受信したコマンドの識別子が「電源投入コマンド」を示す場合には、電源投入処理を実行する(B1108)。電源投入処理では、遊技機1の電源が投入された際に表示される画面の制御を行う。
主制御用マイコン710は、受信したコマンドの識別子が「停電復旧コマンド」を示す場合には、停電復旧処理を実行する(B1109)。停電復旧処理では、遊技機1が停電から復旧した際に表示される画面の制御を行う。なお、停電前に客待ち処理が実行されていた場合には特別な処理を実行しない。
主制御用マイコン710は、受信したコマンドの識別子が「客待ちデモコマンド」を示す場合には、客待ち処理を実行する(B1110)。客待ち処理では、変動表示ゲームが最後に実行されてから所定時間経過した場合に表示される画面の制御を行う。
主制御用マイコン710は、受信したコマンドの識別子が「変動パターンコマンド」を示す場合には、変動中処理を実行する(B1111)。変動中処理では、特図変動表示ゲームについて設定された変動パターンに応じたシーンを表示するために必要な情報を取得し、設定された変動パターンに対応した演出制御を行う。変動中処理の詳細については、図45にて後述する。
主制御用マイコン710は、受信したコマンドの識別子が「図柄停止コマンド」を示す場合には、図柄停止処理を実行する(B1112)。図柄停止処理では、図柄の変動表示を指定された図柄で停止させる。
主制御用マイコン710は、受信したコマンドの識別子が「ファンファーレコマンド」を示す場合には、ファンファーレ処理を実行する(B1113)。ファンファーレ処理では、発生した大当りに対応するファンファーレを出力する。
主制御用マイコン710は、受信したコマンドの識別子が「大入開放n回目コマンド」を示す場合には、ラウンド中処理を実行する(B1114)。ラウンド中処理では、特別遊技状態における各ラウンド中の演出制御を行う。
主制御用マイコン710は、受信したコマンドの識別子が「インターバルコマンド」を示す場合には、インターバル処理を実行する(B1115)。インターバル処理では、特別遊技状態における各ラウンド間の演出制御を行う。
主制御用マイコン710は、受信したコマンドの識別子が「エンディングコマンド」を示す場合には、エンディング処理を実行する(B1116)。エンディング処理では、特別遊技状態が終了した際の演出制御を行う。
続いて、主制御用マイコン710は、各コマンドに基づく処理の実行が完了すると、図柄コマンドを受信する図柄コマンド受信処理を実行する(B1117)。図柄コマンドには、停止図柄を指定する情報が含まれる。
さらに、主制御用マイコン710は、飾り特図保留数コマンドを受信する保留数コマンド受信処理を実行する(B1118)。飾り特図保留数コマンド(特図保留数コマンド)は、更新された保留数を通知するコマンドである。保留数コマンド受信処理では、受信した保留数に基づいて、保留表示301などを更新する。
次に、主制御用マイコン710は、先読みコマンド受信処理を実行する(B1119)。先読みコマンド受信処理は、先読みコマンド(事前判定コマンドとも呼ばれる)に基づいて、保留変化予告(保留表示演出)等を設定する処理である。先読みコマンド受信処理において、主制御用マイコン710は、先読みコマンド(事前判定コマンド)として、始動口入賞演出図柄コマンド(事前演出図柄コマンド)と始動口入賞演出コマンド(事前演出コマンド)を受信し、受信した事前判定コマンドの内容(事前判定結果)を先読み情報として対応する始動記憶領域(RAM711の一部)にセーブする。主制御用マイコン710は、先読み情報として、始動口入賞演出図柄コマンドから当該始動記憶の図柄情報を取得し、始動口入賞演出コマンドから当該始動記憶のリーチ系統情報を取得する。主制御用マイコン710は、図柄情報から当該始動記憶に対応する変動表示ゲームの結果がはずれであるか大当りであるかを判定し、さらに、先読み情報(はずれ/大当りの判定結果の情報とリーチ系統情報)に基づいて、先読み予告演出に関する演出情報を始動記憶領域に設定する。ここで、先読み予告演出は、先読み情報に基づく演出であり、保留変化予告(保留表示演出)や連続予告演出などの演出である。
次に、主制御用マイコン710は、確率情報コマンド受信処理を実行する(B1120)。確率情報コマンド受信処理は、受信した確率情報コマンドに基づいて、内部確率等の遊技状態を設定する処理である。確率情報コマンドには、例えば、高確/時短コマンド、低確/時短コマンド、低確/サポなしコマンドなどが含まれる。
次に、主制御用マイコン710は、普図変動表示ゲームに関連する普図関連コマンドを受信する普図関連コマンド受信処理を行う(B1121)。普図関連コマンドは、遊技制御装置600の演出制御コマンド送信処理(図19のA501)によって、演出制御コマンドの一部として、遊技制御装置600から普図変動表示ゲームの開始時に送信される。例えば、普図関連コマンドは、普図変動表示ゲームのはずれ情報/当り情報を示すフラグ情報コマンド(A3312、A3318で設定)、普図変動表示ゲームの普図停止図柄を示す普図停止図柄コマンド(A3313、A3319で設定)や、普図変動表示ゲームの変動時間を示す普図変動時間コマンド(A3327、A3328で設定)など、演出制御装置700における演出制御などに必要となるコマンドである。
〔コマンド受信割込み処理〕
図43は、本発明の第1の実施の形態のコマンド受信割込み処理の手順を示すフローチャートである。
主制御用マイコン710は、まず、遊技制御装置600から送信されたコマンド(演出制御コマンドなど)のポートの値を取り込む処理を行う(B1201)。そして、MODEコマンドの待機中であるか否かの判定を行う(B1202)。ここで、MODEコマンドの待機中である場合(B1202の結果が「Y」)に、さらにデータストローブ信号SSTBがONの状態であるか否かを判定し(B1203)、データストローブ信号SSTBがONの状態である場合(B1203の結果が「Y」)に、受信したコマンドがMODEコマンドであるか否かを判定(B1204)する。
受信したコマンドがMODEコマンドである場合(B1204の結果が「Y」)に、主制御用マイコン710は、受信ポインタに対応するコマンドバッファのアドレスを算出する処理を行い(B1205)、算出後のアドレスに当該コマンドをMODEコマンドとしてセーブする処理を行う(B1206)。続いて、タイムアウト監視タイマに初期値を設定し、当該タイマをスタートさせる処理(B1207)を行った後、ACTIONコマンド待ち状態に設定する処理を行い(B1208)、コマンド受信割込み処理を終了する。
データストローブ信号SSTBがONの状態でないと判定した場合(B1203の結果が「N」)、又は、受信したコマンドがMODEコマンドでないと判定した場合(B1204の結果が「N」)に、主制御用マイコン710は、タイムアウト監視タイマを停止する処理を行い(B1217)、MODEコマンド待ち状態に設定する処理を行い(B1218)、コマンド受信割込み処理を終了する。
また、MODEコマンド待機中でない場合、即ち、ACTIONコマンド待機中の場合(B1202の結果が「N」)に、主制御用マイコン710は、タイムアウト監視タイマがタイムアウトとなったか否かを判定する(B1209)。ここで、タイムアウトとなっていない場合(B1209の結果が「N」)に、データストローブ信号SSTBがONの状態であるか否かを判定し(B1210)、データストローブ信号SSTBがONの状態であると判定した場合(B1210の結果が「Y」)に、受信したコマンドがMODEコマンドであるか否かを判定する(B1211)。
そして、受信したコマンドがMODEコマンドでない場合(B1211の結果が「N」)に、受信ポインタに対応するコマンドバッファのアドレスを算出する処理を行い(B1212)、算出後のアドレスに当該コマンドをACTIONコマンドとしてセーブする処理を行う(B1213)。続いて、受信済みコマンド数の値を+1更新する処理(B1214)を行った後、タイムアウト監視タイマを停止する処理(B1217)を行い、MODEコマンド待ち状態に設定する処理(B1218)を行い、コマンド受信割込み処理を終了する。
また、タイムアウトとなった場合(B1209の結果が「Y」)、又は、データストローブ信号SSTBがONの状態でない場合(B1210の結果が「N」)に、主制御用マイコン710は、受信ポインタに対応するコマンドバッファのアドレスを算出する処理を行い(B1215)、算出されたアドレスのコマンドバッファにセーブされているMODEコマンドを破棄する処理を行う(B1216)。それから、タイムアウト監視タイマを停止する処理を行い(B1217)、MODEコマンド待ち状態に設定する処理を行い(B1218)、コマンド受信割込み処理を終了する。また、受信したコマンドがMODEコマンドである(B1211の結果が「Y」)と判定した場合は、B1205へ移行し、それ以降の処理を行う。
〔先読みコマンド受信処理〕
続いて、前述した1stシーン制御処理(図42)における先読みコマンド受信処理(B1119)の詳細について説明する。図44Aは、本発明の第1の実施の形態の先読みコマンド受信処理の手順を示すフローチャートである。
主制御用マイコン710は、まず、事前判定コマンド(先読みコマンド)受信待ちの始動記憶の存在を確認し(B1501)、該当する始動記憶が存在するか否かを判定する(B1502)。事前判定コマンド(先読みコマンド)には、始動口入賞演出図柄コマンドと始動口入賞演出コマンドが含まれる。そして、該当する始動記憶が存在しない場合には(B1502の結果が「N」)、本処理を終了する。
一方、主制御用マイコン710は、該当する始動記憶は存在する場合には(B1502の結果が「Y」)、事前判定コマンドを受信したか否かを判定する(B1503)。事前判定コマンドを受信していない場合には(B1503の結果が「N」)、本処理を終了する。
主制御用マイコン710は、事前判定コマンド(先読みコマンド)を受信した場合には(B1503の結果が「Y」)、受信した事前判定コマンドの内容を対応する始動記憶領域(RAMの一部)にセーブする(B1504)。
さらに、主制御用マイコン710は、既に受信している始動口入賞演出図柄コマンドから当該始動記憶の図柄情報を取得する(B1505)。そして、当該始動記憶に対応する変動表示ゲームの結果がはずれであるか否かを判定する(B1506)。
主制御用マイコン710は、変動表示ゲームの結果がはずれの場合には(B1506の結果が「Y」)、事前演出を振り分けるためテーブルとして、はずれ用の先読み予告振分テーブル1をセットする(B1507)。一方、変動表示ゲームの結果がはずれでない場合、すなわち、大当りの場合には(B1506の結果が「N」)、大当り用の先読み予告振分テーブル2をセットする(B1508)。
続いて、主制御用マイコン710は、既に受信した始動口入賞演出コマンドから当該始動記憶のリーチ系統情報を取得する(B1509)。さらに、B1507又はB1508の処理で設定されたテーブル及びリーチ系統情報から先読み予告態様(保留変化予告態様事前演出態様)を選択する(B1510)。最後に、選択された先読み予告態様で、始動記憶表示301(保留表示)を始動記憶表示領域35bに表示するように設定する(B1511)。
〔先読み予告(保留変化予告)〕
ここで、先読み予告態様(保留変化予告態様)について説明する。本発明の第1の実施の形態の先読み予告では、特に保留変化予告として、変動表示装置35に表示される始動記憶表示301(保留表示)の態様を変化させる。図44Bは、本発明の第1の実施の形態の先読み予告態様(保留変化予告態様)の一例を示す図である。
図44Bに示すように、先読み予告態様は、対応する始動記憶に基づいて実行される変動表示ゲームの期待度(信頼度)に応じて、通常の態様から変化した第1先読み予告、第2先読み予告、第3先読み予告の3種類の態様が定義されている。具体的には、第1先読み予告、第2先読み予告、第3先読み予告の順で期待度(信頼度)が高くなるように設定されている。また、各先読み予告の態様は、互いに始動記憶表示301の形状又は色が異なっている。
始動記憶表示301の制御は、演出制御装置700によって実行されており、演出制御装置700は、特図変動表示ゲームの期待度を示唆するように始動記憶表示301の態様を制御する始動記憶表示手段として機能する。
続いて、先読み予告振分(選択)テーブルについて説明する。図44Cは、本発明の第1の実施の形態の先読み予告振分テーブルの一例を示す図である。図44C(I)は該当する始動記憶に対応する変動表示ゲームの結果がはずれの場合の先読み予告振分テーブル1、図44C(II)は大当りの場合の先読み予告振分テーブル2である。
先読み予告振分テーブルには、リーチ系統情報ごとに、先読み予告態様及び対応する先読み予告態様の選択率が設定されている。また、リーチ系統の期待度が高いほど、期待度の高い先読み予告態様が選択されやすくなるように構成されている。また、変動表示ゲームの結果が大当りの場合には、より期待度の高い先読み予告が実行されやすいようになっている。
〔変動中処理〕
続いて、前述した1stシーン制御処理(図42)における変動中処理(B1111)の詳細について説明する。図45は、本発明の第1の実施の形態の変動中処理の手順を示すフローチャートである。
主制御用マイコン710は、まず、B1106の演出リクエストフラグが設定されているか否かを判定する(B1601)。演出リクエストフラグが設定されている場合には(B1601の結果が「Y」)、各種情報を設定する。
具体的には、主制御用マイコン710は、まず、演出ボタン17(PB、プッシュボタン)の情報をクリアする(B1602)。演出ボタン情報は、演出ボタン17によって演出ボタンSW751を介して入力された入力情報である。
続いて、主制御用マイコン710は、可動体リクエストをセットする(B1603)。すなわち、演出内容にあわせて可動式照明9や電動役物(可動役物)の動作態様を設定する。
さらに、主制御用マイコン710は、変動回数を管理する変動回数管理処理を行う(B1604)。その後、主制御用マイコン710は、特図変動表示ゲームの変動パターンや変動中の演出の詳細等について設定する変動パターン情報設定処理を実行する(B1605)。ここで、主制御用マイコン710は、変動パターンに基づいて、特図変動表示ゲームの変動時間である特図変動時間も設定する。
次に、主制御用マイコン710は、乱数シード初期化処理を実行する(B1606)。乱数シード初期化処理は、演出のかたよりが生じないように演出情報を決定する乱数の種値を初期化する処理である。続いて、主制御用マイコン710は、変動パターン情報設定処理で設定した情報に対応して、変動表示装置35で実行される飾り特図変動表示ゲームにおける変動表示の開始や停止、演出用キャラクタの表示等の各種表示の実行タイミングや表示時間などを管理するシーンシーケンステーブルを設定する(B1607)。飾り特図変動表示ゲームは、設定されたシーンシーケンステーブルに従って実行される。続いて、主制御用マイコン710は、演出リクエストフラグをクリアする(B1608)。
一方、主制御用マイコン710は、演出リクエストフラグが設定されていない場合(シーン変更コマンドを受信していないような場合)には(B1601の結果が「N」)、更新タイマによって表示演出状態を変更するか否かを判定する。具体的には、まず、更新タイマが0、すなわち、タイムアップしたか否かを判定する(B1609)。
主制御用マイコン710は、更新タイマがタイムアップした場合には(B1609の結果が「Y」)、現在、最終シーンであるか否かを判定する(B1610)。最終シーンである場合に、変動表示ゲームの終了を設定し(B1611)、最終シーンでない場合に、シーンシーケンステーブルに設定された次のシーンデータを設定する(B1612)。
主制御用マイコン710は、更新タイマがタイムアップしていない場合には(B1609の結果が「N」)、始動記憶(保留)を消化する際の消化演出を設定する始動記憶関連報知処理(始動記憶消化領域表示処理)を実行する(B1613)。ここでは、変動表示装置(表示装置)35の表示部35aにおいて始動記憶表示領域(所定の表示部)35bから始動記憶消化領域(特定表示部、始動記憶開封領域)35cに移動するように表示した始動記憶表示301に対応して、実行中の変動表示ゲームの進行に関連する始動記憶関連報知(例えば特図予告表示205)を行う。なお、始動記憶(保留)を消化する際に、始動記憶表示301(保留表示)は、始動記憶表示領域35bから始動記憶消化領域35cに移動するように表示設定される。このように、始動記憶関連報知処理を実行する主制御用マイコン710ひいては演出制御装置700は、始動記憶関連報知制御手段を構成する。なお、始動記憶関連報知処理(B1613)は、今回の変動開始時において、変動パターン情報設定処理(B1605)の直後に実行されてもよい。
また、始動記憶関連報知処理(B1613)において、始動記憶消化領域(特定表示部)35cにおいて、実行中の普図変動表示ゲームの進行に関連する普図関連報知(又は普図始動記憶関連報知)として、例えば普図予告表示203も実行できる。
〔始動記憶関連報知処理〕
続いて、前述した変動中処理(図45)における始動記憶関連報知処理(B1613)の詳細について説明する。図46は、本発明の第1の実施の形態の始動記憶関連報知処理の手順を示すフローチャートである。
主制御用マイコン710は、まず、現在実行中の特図変動表示ゲーム(当該変動)において、この特図変動表示ゲームの進行に関連する特図予告があるか否か判定する(B1701)。この特図予告は、現在実行中の特図変動表示ゲームの大当り結果の予告や、この特図変動表示ゲームで実行される演出(リーチ演出、擬似連続予告演出等)の予告などを含む。図柄コマンド(B1117)や先読み情報等から実行中の特図変動表示ゲームの結果が大当りと判定された場合に、特図変動表示ゲームの大当り結果の予告があると判定できる。変動パターン情報設定処理(B1605)において、リーチ演出、擬似連続予告演出などの特定の演出が設定された場合に、設定された演出の予告があると判定できる。主制御用マイコン710は、特図予告がある場合に(B1701の結果が「Y」)、特図変動表示ゲームの進行に関連する始動記憶関連報知として、特図予告表示205(図54参照)を始動記憶消化領域35cにおいて行うよう設定する(B1702)。特図予告表示205として、特図変動表示ゲームの大当り結果の予告について「激アツ」、リーチ演出の予告として「リーチ」、擬似連続予告演出の予告として「連」などの文字表示を行ってよい。
特図予告がない場合に(B1701の結果が「N」)、主制御用マイコン710は、普図予告フラグが設定されているか否か判定する(B1703)。普図予告フラグは、普図変動表示ゲームのはずれ情報/当り情報を示すフラグ情報コマンド(A3312又はA3318で設定)が普図関連コマンド受信処理(B1121)で受信された場合に設定されている。普図予告フラグが設定されていない場合に(B1703の結果が「N」)、今回の処理を終了する。
普図予告フラグが設定されている場合に(B1703の結果が「Y」)、主制御用マイコン710は、特図変動時間の残り時間が普図変動停止時(普図変動表示ゲームの停止時)までの時間より長いか否か判定する(B1704)。例えば、特図変動時間の残り時間は、特図変動時間(B1605で設定)から、過去の更新タイマ(B1609)のカウント値の合計を減算することによって計算できる。普図変動停止までの時間は、普図変動時間から、普図関連コマンド(B1121)を受信してからの経過時間を減算することによって求められる。普図変動時間は、普図関連コマンド(B1121)のうちの一つである普図変動時間コマンドから得られる。
特図変動時間の残りが普図変動停止までの時間より短い場合に(B1704の結果が「N」)、今回の処理を終了する。一方、特図変動時間の残りが普図変動停止までの時間より長い場合に(B1704の結果が「Y」)、始動記憶消化領域35cにおいて、普図予告表示203を行うよう設定する(B1705)。普図予告表示203は、普図変動表示ゲームの結果を示唆するもので、図47のテーブルを参照して、普図変動表示ゲームの結果としての普図停止図柄(はずれ図柄、当り1図柄、当り2図柄、当り3図柄、当り4図柄)に対応して行われる。図47は、普図予告表示203の種類と普図停止図柄を対応付けるテーブルである。普図停止図柄は、普図関連コマンド(B1121)のうちの一つである普図停止図柄コマンドから得られる。
このように、普図変動表示ゲームの結果に関する普図予告表示203(普図関連報知)よりも、特図変動表示ゲームの進行に関連する始動記憶関連報知としての特図予告表示205を優先して表示可能である。
〔2ndメイン処理(演出制御装置)〕
続いて、演出制御装置700によって実行されるもう一方のメイン処理の詳細を説明する。図48は、本発明の実施の形態の演出制御装置700の映像制御用マイコン(2ndCPU)720によって実行されるメイン処理(2ndメイン処理)の手順を示すフローチャートである。2ndCPUメイン処理は、遊技機1に電源が投入されると実行される。
映像制御用マイコン(2ndCPU)720は、まず、CPU初期化処理を実行する(B2001)。そして、作業領域であるRAM721を0クリアして(B2002)、各種処理の実行に必要な初期値をRAM721に設定する(B2003)。そして、画像処理を行うグラフィックプロセッサを初期化するVDP初期化処理を実行する(B2004)。次に、Vブランク割込みなどの各種割込みを許可する(B2005)。
さらに、映像制御用マイコン720は、各種制御処理の初期化処理を実行する(B2006)。各種制御処理の初期化処理では、後述する各制御処理で使用される変数の初期化などが行われる。例えば、変動表示装置35に表示される映像の背景を初期化したり、図柄の配列を初期化したりする。そして、変動表示装置35の画面描画を許可する(B2007)。
次に、映像制御用マイコン720は、Vブランク割込み処理にてセットされるシステム周期待ちフラグをクリアする処理(B2008)を行う。ここで、システム周期待ちフラグが「1」でない場合(B2009の結果が「N」)は、Vブランク割込み処理にてシステム周期待ちフラグがセットされるまで、B2009の処理を繰り返し行う。一方、システム周期待ちフラグが「1」である場合(B2009の結果が「Y」)は、ウォッチドッグタイマ(WDT)をクリアする処理(B2010)を行い、通常ゲーム処理(B2011)を行い、B2008へ戻る。
〔通常ゲーム処理〕
次に、前述した2ndメイン処理(図48)における通常ゲーム処理(B2011)の詳細について説明する。図49は、本発明の第1の実施の形態の通常ゲーム処理の手順を示すフローチャートである。
映像制御用マイコン720は、まず、遊技制御装置600から受信したコマンドをチェックする処理(B2101)を行う。受信コマンドチェック処理では、主制御用マイコン710から受信した演出コマンド(B1014)を特定し、以降実行される処理に応じて区分けする。
次に、映像制御用マイコン720は、変動表示装置35に、遊技状態、リーチシーンに応じた背景表示を行う背景処理を実行する(B2102)。続いて、変動表示装置35における変動表示に関する表示制御を行うリール制御/表示処理を実行する(B2103)。さらに、前述した先読みコマンド受信処理で始動記憶領域(先読み記憶領域)に記憶された演出情報(先読み予告演出情報)のうち保留変化予告(保留表示演出)の情報に基づいて、変動表示装置35に始動記憶表示301(保留表示)を行う保留表示処理を実行する(B2104)。
次に、映像制御用マイコン720は、客待ちデモコマンドを受けてから所定時間経過後に、変動表示装置35における客待ちデモ画面を設定する客待ちデモ処理を実行する(B2105)。続いて、映像制御用マイコン720は、変動表示装置35に表示する内容を決定する2ndシーン制御/表示処理を実行する(B2106)。映像制御用マイコン720は、演出コマンド(B1014)を解釈して、表示する内容を決定する。次に、画像ROM704に格納されたデータをRAMに転送し、変動表示装置35に実際に表示させる表示システム処理を実行し(B2107)、通常ゲーム処理を終了する。
〔演出例1〕
図50(A)(B)は、変動表示装置35の表示部35aでの特図変動表示ゲームの実行中(変動中)に行われる演出例を示す。図50(A)は、通常遊技状態における演出例を示す。図50(B)は、普電サポート状態(時短遊技状態、確変遊技状態)における演出例を示す。なお、図50(A)(B)では、特図予告表示205(B1702)と普図予告表示203(B1705)のいずれも行われない例を示す。また、始動記憶表示301の態様は、先読み予告態様ではなく通常の態様になっている。
図50(A)では、始動記憶表示領域35bにおいて、始動記憶表示301(保留表示)として、第1始動記憶表示301aのみが表示される。表示部35aの右上隅には、第1始動記憶数(特図1保留数)と第2始動記憶数(特図2保留数)が数値で表示される。特図変動表示ゲーム開始によって第1始動記憶を消化する際に、消化される第1始動記憶に係る第1始動記憶表示301aが始動記憶表示領域35b(所定の表示部)から始動記憶消化領域35c(特定表示部)の保留開封台表示の上に移動して爆発するような始動記憶消化演出(炎状の表示)が始動記憶対応表示201によって行なわれる。始動記憶対応表示201は、実行中の特図変動表示ゲームに関連して消化される始動記憶に対応する表示であり、始動記憶関連報知の概念に含めてもよい。
図50(B)では、始動記憶表示領域35bにおいて、始動記憶表示301(保留表示)として、第2始動記憶表示301bのみが表示される。変動表示ゲーム開始によって第2始動記憶を消化する際に、消化される第2始動記憶に係る第2始動記憶表示301bが始動記憶表示領域35bから始動記憶消化領域35cの保留開封台表示(保留消化台表示)の上に移動して蒸発するような始動記憶消化演出(雲状の表示)が始動記憶対応表示201によって行なわれる。
図51(A)−(C)は、変動表示装置35の表示部35aの始動記憶消化領域35cにおいて、普図変動表示ゲームの結果を示唆する普図予告表示203(B1705)が行われる例を示す。
図51(A)では、変動表示ゲーム開始によって第1始動記憶を消化する際に、消化される第1始動記憶に係る第1始動記憶表示301aは、始動記憶表示領域35bから始動記憶消化領域35cの保留開封台表示の上に移動して、この消化される始動記憶に対応する始動記憶対応表示201となる。その後、図51(B)において、始動記憶対応表示201は、保留開封台表示に隠れるように下に移動する演出が行なわれる。続いて、図51(C)において、始動記憶対応表示201は、普図予告表示203に変化して、保留開封台表示から上に出て来る演出が行なわれる。なお、普図予告表示203ではなく特図予告表示205に変化してもよい。ここでは、普通電動役物(普通変動入賞装置、第2始動入賞口37bの開閉部材37c)の普図当りによる開放がロング開放である場合(図47の当り2の場合)の普図予告表示203が示されている。また、図51(B)を省略して、始動記憶対応表示201を下に移動することなく、始動記憶対応表示201を直接的に普図予告表示203に変化してもよい。
また、遊技者によって演出ボタン17が押されて操作信号が演出ボタン入力処理(B1009)で検出された場合にのみ、図51(B)と図51(C)の演出が実行されるようにしてもよい。この場合には、演出ボタン17の操作を遊技者に促す文字表示「PUSH」が表示部35aにされてよい。図51(A)では、保留開封台表示に重ねて文字表示「PUSH」が行われている。
図52(A)−(C)は、始動記憶消化領域35c(特定表示部)の普図予告表示203(B1705)の他の例を示す。
普通電動役物の普図当りによる開放が最長の超ロング開放である場合(図47の当り1の場合)に、図51(C)に代えて、図52(A)のように普図予告表示203が拡大されて表示されてもよい。即ち、普図当りの種類ひいて普電開放時間に応じて、普図予告表示203の大きさを変えてよい。
また、図52(B)のように、図50(A)において始動記憶を消化する際に表示する始動記憶対応表示201をそのまま普図予告表示203(炎状の表示)に使用することができる。この場合に、普図当りの種類ひいて普電開放時間に応じて、普図予告表示203(炎状の表示)の大きさを変えてよい。
さらに、図53の遊技盤のように、図2とは異なり、第2始動入賞口37bと普通電動役物(第2始動入賞口37bの開閉部材37c)が遊技領域31のセンターケース34の右側に配置され、普通図柄始動ゲート36が遊技領域31のセンターケース34の左側に配置されている場合には、図51(C)に代えて、図52(C)のように、普図変動表示ゲームの結果が当り(当り1〜4)であることを示唆する普図予告表示203として、右打ちすることを遊技者に促す右打ち表示を行ってもよい。なお、図53の遊技盤を有する遊技機では、大当たり後の普電サポートは実施されない。
図54(A)−(C)は、図51(C)に代えて、変動表示装置35の表示部35aの始動記憶消化領域35cにおいて、特図変動表示ゲームの結果を示唆する特図予告表示205が行われる例を示す(B1702で設定)。特図予告表示205として、特図変動表示ゲームの大当り結果の予告について「激アツ」(図53(A))、リーチ演出の予告として「リーチ」(図53(B))、擬似連続予告演出の予告として「連」(図53(C))などの文字表示を行ってよい。
(第1の実施の形態の効果)
第1の実施の形態によると、遊技機1は、円筒状の軸部112から外側に放射状に複数の翼部114を設けた風車110を備える。風車110は、軸部112から突出させて、翼部114の間に翼部114よりも低い突出部116を備える。従って、風車の傘部(前飾り)の大きさを変えずに、遊技球のこぼれを防止できる。
第1の実施の形態によると、風車110は、軸部112の前面側に傘部118を備え、傘部118の裏面側に凸部127を形成されている。従って、風車110内に入った遊技球は、遊技盤3の盤面側に誘導され、風車110からの遊技球の跳ね方が安定することになる。
第1の実施の形態によると、傘部118の凸部127が傾斜している。従って、風車110はいずれかの回転方向(右回り又は左周り)に回転し易くなり、遊技球が遊技盤30の内側(右側)又は外側(左側)のいずれかに誘導され易くなる。
第1の実施の形態によると、始動入賞記憶手段(例えば、遊技制御装置600)は、始動条件の成立に基づき、特図変動表示ゲームの実行に関連する乱数を抽出し特図変動表示ゲームの実行権利となる始動記憶として所定数を上限に記憶する。始動記憶表示手段(例えば、演出制御装置700)は、始動入賞記憶手段に記憶されている始動記憶に対応する始動記憶表示を始動記憶表示領域35b(所定の表示部)に表示する。始動記憶関連報知制御手段(始動記憶関連報知処理(図46)を実行する演出制御装置700)は、始動入賞記憶手段に記憶されている始動記憶に基づく特図変動表示ゲームが開始されるときに、始動記憶表示領域35b(所定の表示部)から前記所定の表示部とは異なる始動記憶消化領域35c(特定表示部)に移動するように表示した始動記憶表示に対応して、始動記憶消化領域35c(特定表示部)において特図変動表示ゲームの進行に関連する始動記憶関連報知(例えば、特図予告表示205)を実行する。始動記憶関連報知制御手段は、始動記憶消化領域35c(特定表示部)において、普図変動表示ゲームの進行に関連する普図関連報知(例えば、普図予告表示203)を実行可能である。従って、始動記憶消化領域35c(特定表示部)において始動記憶関連報知と普図関連報知の両方ができるため、遊技者は始動記憶関連報知が期待できない場合であっても普図関連報知に期待でき、遊技の興趣を高めることができる。
第1の実施の形態によると、始動記憶関連報知制御手段(始動記憶関連報知処理を実行する演出制御装置700)は、始動記憶表示が特定表示部に移動した後、普図変動表示ゲームの停止時までの時間と特図変動表示ゲームの残り時間を比較して、特図変動表示ゲームの残り時間の方が長い場合に、普図関連報知として普図変動表示ゲームの結果に関する普図予告を実施可能である。従って、適切に普図予告ができるため、遊技の興趣を高めることができる。
第1の実施の形態によると、始動記憶関連報知制御手段は、普図予告よりも特図変動表示ゲームの進行に関連する始動記憶関連報知を優先して表示可能である。従って、遊技者にとってより有利な遊技状態(大当り、特別遊技状態)を発生させ得る特図変動表示ゲームを優先させることにより、さらに遊技の興趣を高めることができる。
第1の実施の形態によると、遊技機1は、遊技球が入球することによって特図変動表示ゲームの始動条件が成立し、普図変動表示ゲームが特定結果(当り)になると入球が通常よりも容易になる第2始動入賞口37b(始動領域)と、遊技領域に遊技球を発射する球発射装置(発射手段)と、を備える。球発射装置(発射手段)は、遊技者による操作に対応して、第1の発射勢で遊技球を発射する第1発射態様と、前記第1の発射勢とは異なる第2の発射勢で遊技球を発射する第2発射態様と、で遊技球を発射可能である。始動記憶関連報知制御手段は、第2始動入賞口37b(始動領域)に第2発射態様によってのみ遊技球の入球が可能である場合には、普図予告として第2発射態様を示唆する(図52(C)参照)。
第1の実施の形態によると、遊技機1は、遊技者が操作可能な操作部(例えば、演出ボタン17)を備える。始動記憶関連報知制御手段は、操作部の操作に基づき、特図変動表示ゲームの進行に関連する始動記憶関連報知を実行可能とする。これによって、さらに遊技の興趣を高めることができる。
(第1の実施の形態の変形例1)
図56から図61において、上述の第1の実施の形態の変形例1を説明する。この変形例において、普図変動表示ゲームの進行に関連する普図予告表示203(普図関連報知)、或いは、特図変動表示ゲームの進行に関連する特図予告表示205(始動記憶関連報知)を、メイン演出オブジェクト220(メインオブジェクト)とサブ演出オブジェクト222(サブオブジェクト)の表示によって実行する。
図55のように、表示部35aの始動記憶消化領域35c(特定表示部)に表示される普図予告表示203又は特図予告表示205は、表示画像の構成要素としてのメイン演出オブジェクト220(第1構成要素)と、サブ演出オブジェクト222(第2構成要素)から構成される。図55においては、メイン演出オブジェクト220は、キャラクタ図形である。メイン演出オブジェクト220は、後述のように保留変化予告(保留表示演出)が行われる場合の始動記憶表示301(保留表示)と同じ態様の図形でよいが、それ以外の図形、記号などでもよい。サブ演出オブジェクト222は、例えば、キャラクタ図形から延びる吹き出し図形と、吹き出し図形の内部に配置された文字、記号、図形等から構成される。メイン演出オブジェクト220とサブ演出オブジェクト222の表示は、各々独立に制御されてよく、それらの表示態様も独立に決定されてよい(図56、図57参照)。
〔始動記憶関連報知処理(変形例1)〕
図56は、本発明の第1の実施の形態の変形例1に係る始動記憶関連報知処理(図45のB1613)の手順を示すフローチャートである。
主制御用マイコン710は、まず、現在実行中の特図変動表示ゲーム(当該変動)の始動記憶に関して、始動記憶表示301の先読み予告演出(保留変化予告)があったか否か判定する(B3001)。当該変動の始動記憶に関して先読み予告演出(保留変化予告)がなかった場合に(B3001の結果が「N」)、今回の処理を終了する。一方、当該変動の始動記憶に関して先読み予告演出(保留変化予告)があった場合に(B3001の結果が「Y」)、実行中の特図変動表示ゲーム(当該変動)は大当りか否か判定する(B3002)。
実行中の特図変動表示ゲーム(当該変動)がはずれの場合に(B3002の結果が「N」)、即ち、当該変動に関して大当りにならない先読み予告演出(ガセの先読み予告)があった場合に、主制御用マイコン710は、当該変動中に、普図変動表示ゲームの普図変動が停止するか否か判定する(B3004)。この判定は、B1704と同じ判定でよく、特図変動時間の残り時間が普図変動停止時(普図変動表示ゲームの停止時)までの時間より長い場合に、当該変動中に普図変動が停止すると判定できる。
実行中の特図変動表示ゲーム(当該変動)が大当りの場合に(B3002の結果が「Y」)、又は、当該変動中に普図変動が停止しない場合に(B3004の結果が「N」)、主制御用マイコン710は、特図予告表示205を設定する特図予告表示設定処理を行う(B3003)。特図予告表示設定処理については、図57(A)において後述する。
主制御用マイコン710は、実行中の特図変動表示ゲーム(当該変動)中に、普図変動表示ゲームの普図変動が停止する場合に(B3004の結果が「Y」)、その普図変動表示ゲームが当りか否か判定する(B3005)。その普図変動表示ゲームが当りの場合に(B3005の結果が「Y」)、普図予告表示203のうち普図当り表示を設定する普図当り表示設定処理を行い(B3006)、その普図変動表示ゲームがはずれの場合に(B3005の結果が「N」)、普図予告表示203のうち普図はずれ表示を設定する普図はずれ表示設定処理を行う(B3007)。普図当り表示設定処理については、図57(B)において後述する。また、普図はずれ表示設定処理については、図57(C)において後述する。
〔特図予告表示設定処理〕
次に、前述した始動記憶関連報知処理(図56)における特図予告表示設定処理(B3003)の詳細について説明する。図57(A)は、変形例1の特図予告表示設定処理の手順を示すフローチャートである。
主制御用マイコン710は、まず、特図予告表示205を構成するメイン演出オブジェクト220を設定する(B3101)。本変形例では、特図予告表示205は、図56のように現在実行中の特図変動表示ゲーム(当該変動)の始動記憶に関して始動記憶表示301の先読み予告演出(保留変化予告)があった場合にのみ行われるが、メイン演出オブジェクト220の態様は、先読み予告演出の保留表示態様そのままでよい(図44B、図58、図59参照)。次に、主制御用マイコン710は、特図予告表示205を構成するサブ演出オブジェクト222を設定する(B3102)。サブ演出オブジェクト222は、実行中の特図変動表示ゲームの結果が大当りか否かに応じて設定され、大当りの期待度を示唆するよう設定されてよい。
〔普図当り表示設定処理〕
次に、前述した始動記憶関連報知処理(図56)における普図当り表示設定処理(B3006)の詳細について説明する。図57(B)は、変形例1の普図当り表示設定処理の手順を示すフローチャートである。
主制御用マイコン710は、まず、普図予告表示203を構成するメイン演出オブジェクト220を設定する(B3201)。本変形例では、普図予告表示203は、図56のように現在実行中の特図変動表示ゲーム(当該変動)の始動記憶に関して始動記憶表示301の先読み予告演出(保留変化予告)があった場合にのみ行われるが、メイン演出オブジェクト220の態様は、先読み予告演出の保留表示態様そのままでよい(図61参照)。次に、主制御用マイコン710は、普図予告表示203(ここでは普図当り表示)を構成するサブ演出オブジェクト222を設定する(B3202)。サブ演出オブジェクト222は、普図当りを示唆する所定のオブジェクトであるが、当りの種類(当り1〜4)に応じて設定されてもよい。
〔普図はずれ表示設定処理〕
次に、前述した始動記憶関連報知処理(図56)における普図はずれ表示設定処理(B3007)の詳細について説明する。図57(C)は、変形例1の普図はずれ表示設定処理の手順を示すフローチャートである。
主制御用マイコン710は、まず、普図予告表示203を構成するメイン演出オブジェクト220を設定する(B3301)。本変形例では、普図予告表示203は、図56のように現在実行中の特図変動表示ゲーム(当該変動)の始動記憶に関して始動記憶表示301の先読み予告演出(保留変化予告)があった場合にのみ行われるが、メイン演出オブジェクト220の態様は、先読み予告演出の保留表示態様そのままでよい(図61参照)。次に、主制御用マイコン710は、普図予告表示203(ここでは普図はずれ表示)を構成するサブ演出オブジェクト222を設定する(B3302)。サブ演出オブジェクト222は、普図はずれを示唆する所定のオブジェクトである。
〔特図予告表示〕
図58は、変形例1の特図予告表示205の例を示す図である。ここでは、メイン演出オブジェクト220の態様は、先読み予告演出の保留表示態様(図44B)そのままであるが、サブ演出オブジェクト222の表示態様(特にサブ演出オブジェクト222に配置された文字)は、実行中の特図変動表示ゲーム(当該変動)の大当りの期待度を示唆する予告表示に設定される。図58において、文字「チャンス!」「熱い!」「激熱!」の順に、当該変動の大当りの期待度が高くなり、当該変動が大当りの場合にはずれの場合よりも選択(抽選)され易くなっている。先読み予告演出の保留表示態様の期待度に合わせて、メイン演出オブジェクト220の態様について、第1先読み予告態様、第2先読み予告態様、第3先読み予告態様の順に(図58の下から上へに行くにしたがって)、サブ演出オブジェクト222の文字は「激熱」の選択率が高くなり、これとは逆の順に(図58の上から下に行くにしたがって)「チャンス!」の選択率が高くなる。
〔普図予告表示〕
図59は、変形例1の普図予告表示203の例を示す図である。左側が普図当りであることを示す普図当り表示であり、右側が普図はずれであること普図はずれ表示である。ここでは、メイン演出オブジェクト220の態様は、特図変動表示ゲームに関する先読み予告演出の保留表示態様(図44B)そのままであるが、サブ演出オブジェクト222(特にサブ演出オブジェクト222に配置された文字、図形)は、特図変動表示ゲーム終了までに変動停止する普図変動表示ゲームの結果(当り/はずれ)を示唆するように設定される。図59において、記号○は普図当りを示唆し、文字「またね」は普図はずれを示唆する予告表示である。
なお、記号○と文字「またね」を抽選によって選択することもでき、普図当りであっても文字「またね」が選択されるようにしてもよいし、普図はずれであっても記号○が選択されるようにしてもよい。この場合において、記号○は、普図当りの場合に普図はずれの場合よりも選択(抽選)され易くする。文字「またね」は、普図はずれの場合に普図当りの場合よりも選択(抽選)され易くする。また、この場合に、メイン演出オブジェクト220の態様について、第3先読み予告態様、第2先読み予告態様、第1先読み予告態様の順に(図58の上から下へに行くにしたがって)、記号○よりも文字「またね」の選択率が高くなるようにしてもよい。
〔演出例2〕
図60(A)(B)は、変形例1において、変動表示装置35の表示部35aでの特図変動表示ゲームの実行中(変動中)に行われる演出例を示す。図60(A)では、特図予告表示205(B3003)と普図予告表示203(B3006、B3007)のいずれも行われない例を示し、図60(B)では、始動記憶消化領域35c(特定表示部)において、特図予告表示205(B3003)と普図予告表示203(B3006、B3007)のいずれかが行われる例を示す。なお、図60(A)(B)では、図50(A)(B)と異なり、第1始動記憶表示301aと第2始動記憶表示301bの両方が、同時に行なわれるが、普電サポート中でない場合に第1始動記憶表示301aのみを行って、普電サポート中は第2始動記憶表示301bのみを行ってもよい。
図61(A)−(F)は、変形例1において、変動表示装置35の表示部35aの下部で特図変動表示ゲームの変動中に行われる演出例を時系列で示す。
図61(A)(B)において、普図予告表示203と特図予告表示205とのいずれも行われない。特図変動表示ゲームの実行の度に、消化される第1始動記憶に係る第1始動記憶表示301aが始動記憶消化領域35c(特定表示部)に移動して爆発するような始動記憶消化演出(炎状の表示)が始動記憶対応表示201によって行なわれる。図61(C)−(F)において、始動記憶対応表示201が、普図予告表示203又は特図予告表示205に変化する演出が行なわれる。
図61(C)において、消化される第1始動記憶に係る第1始動記憶表示301aが始動記憶表示領域35b(所定の表示部)から始動記憶消化領域35c(特定表示部)の保留開封台表示の上に移動して始動記憶対応表示201となる。始動記憶対応表示201の態様は、始動記憶表示領域35bで表示されていた第1始動記憶表示301aと同じ態様であり、消化される第1始動記憶に関する先読み予告演出の保留表示態様と同じである。図61(D)において、始動記憶対応表示201は、普図予告表示203又は特図予告表示205と同様のメイン演出オブジェクトとサブ演出オブジェクトから構成されるように変化する。始動記憶対応表示201は、普図予告表示203又は特図予告表示205と類似する態様になるとともに、特図変動表示ゲーム又は普図変動表示ゲームが実行中であることを示す循環表示をサブ演出オブジェクト中に行う。この循環表示では、普図予告表示203又は特図予告表示205においてサブ演出オブジェクト中に表示される文字、記号、図形等が循環的に移動する表示(変動する表示)がなされる。
図61(E)において、図61(D)の後、サブ演出オブジェクト中に特定の予告表示(固定表示)がされ、始動記憶対応表示201が特図予告表示205に変化する。図61(F)において、図61(D)の後、サブ演出オブジェクト中に特定の予告表示(固定表示)がされ、始動記憶対応表示201が普図予告表示203に変化する。なお、演出ボタン17の操作によって、サブ演出オブジェクト中に特定の予告表示(固定表示)がされ、始動記憶対応表示201が、普図予告表示203又は特図予告表示205に変化するように構成してもよい。
図61(E)と図61(F)のように、普図予告表示203及び特図予告表示205のメイン演出オブジェクト220の態様は、現在実行中の特図変動表示ゲーム(当該変動)の始動記憶(保留)に関して行われた先読み予告演出(保留変化予告)の保留表示態様そのままになっている。このため、メイン演出オブジェクト220だけでは、普図予告表示203と特図予告表示205の区別が付かない。しかし、サブ演出オブジェクト222の表示によって、遊技者は普図予告表示203と特図予告表示205のどちらの予告がされたか判別できるため、遊技者は図61(D)の状態で普図予告表示203と特図予告表示205のどちらの予告がされるか推測する楽しみがある。
(第1の実施の形態の変形例1の効果)
第1の実施の形態の変形例1によると、始動記憶関連報知制御手段(始動記憶関連報知処理(図56)を実行する演出制御装置700)は、始動記憶関連報知(例えば、特図予告表示205)、或いは、普図関連報知(例えば、普図予告表示203)を、メイン演出オブジェクト220(メインオブジェクト)とサブ演出オブジェクト222(サブオブジェクト)の表示によって実行する。従って、遊技者は、メイン演出オブジェクト220とサブ演出オブジェクト222の組合せによって、特図予告と普図予告のどちらがされるのか推測するなどの楽しみがあり、遊技の興趣が向上する。
第1の実施の形態の変形例1によると、遊技機1は、遊技者が操作可能な操作部(例えば、演出ボタン17)を備える。始動記憶関連報知制御手段(始動記憶関連報知処理(図56)を実行する演出制御装置700)は、操作部の操作に基づいて、サブ演出オブジェクト222の予告表示を実行する。これによって、さらに遊技の興趣を高めることができる。
第1の実施の形態の変形例1によると、始動入賞記憶手段は、始動記憶に係る特図変動表示ゲームの結果を事前判定可能である。始動記憶関連報知制御手段は、始動入賞記憶手段による事前判定結果に対応するメイン演出オブジェクト220を表示可能である。即ち、メイン演出オブジェクト220の態様は、先読み予告演出の保留表示態様そのままでよい。これによって、始動記憶消化領域35c(特定表示部)のメイン演出オブジェクト220によっても遊技者に期待感を抱かせることができ、さらに遊技の興趣を高めることができる。
(第1の実施の形態の変形例2)
第1の実施の形態の変形例2は、先読み予告(保留変化予告)の仕方に関する。保留変化予告(保留表示演出)は、先読みコマンド受信処理(図44A)で設定される。
〔演出例3〕
図62(A)−(C)は、変形例2において、変動表示装置35の表示部35aでの特図変動表示ゲームの変動中に行われる保留変化予告(保留表示演出)の演出例を時系列で示す。図62(A)のように、始動記憶表示領域35bに表示する始動記憶表示301の先読み予告態様(保留変化予告態様)として、始動記憶(保留)の発生から所定の期間は、保留変化予告が可能であることを示唆する始動記憶変化可能表示(点滅等)をする設定をしておく(B1511)。
図62(B)のように、始動記憶発生から所定の期間の経過後に、キャラクタ(ここではボール)が始動記憶表示301に当たって関与する演出を行う設定をしておく(B1511)。その後、図62(C)のように、始動記憶表示301は、最終的な先読み予告態様(保留変化予告態様)に変化する。
なお、図63のように、先読み予告態様を第1先読み予告、第2先読み予告、第3先読み予告の順で期待度(信頼度)が高くなるように設定する場合に、キャラクタ(ここではボール)が始動記憶表示301に当たって関与する度に、始動記憶表示301が、第1先読み予告、第2先読み予告、第3先読み予告へとステップアップして変化するようにしてもよい。また、この時点で記憶されている普図始動記憶が普図当りである場合には、始動記憶表示301(ここでは第3先読み予告態様)を縮小して表示するなどして、同時に普図始動記憶に関しても先読み予告を報知してもよい。なお、普図始動記憶に関しても先読み予告を行う場合には、先読みコマンド受信処理(図44A)において、演出制御装置700は、普図始動記憶の当り/はずれの結を示す事前判定コマンド(先読みコマンド)を遊技制御装置600から受信するステップを設けておく。
図64(A)−(D)は、変形例2において、変動表示装置35の表示部35aで大当り中(特別遊技状態中)に実行される保留変化予告(保留表示演出)の演出例を時系列で示す。図64(A)−(D)において、図62(A)−(C)と同様に、先読み予告態様を第1先読み予告、第2先読み予告、第3先読み予告の順で期待度(信頼度)が高くなるように設定する場合に、キャラクタ(ここではボール)が始動記憶表示301に当たって関与する度に、始動記憶表示301が、第1先読み予告、第2先読み予告、第3先読み予告へとステップアップして変化するようにしてもよい。なお、大当り中(特別遊技状態中)に、始動記憶(保留)は消化されないので第1始動記憶対応表示201は、表示されていない。
〔演出例4〕
図65(A)−(C)のように、変形例2において、変形例1の普図予告表示203と特図予告表示205と同様に、始動記憶表示301をメイン演出オブジェクト220とサブ演出オブジェクト222の表示によって実行してもよい。即ち、第1始動記憶表示301a(保留表示)や第2始動記憶表示301b(保留表示)を、普図予告表示203や特図予告表示205と同じく、メイン演出オブジェクト220とサブ演出オブジェクト222から構成してもよい。なお、メイン演出オブジェクト220の態様は、先読み予告態様と同じになる。
図65(A)において、特図変動表示ゲームが実行中であることを示す循環表示をサブ演出オブジェクト222の内部に行う。その後、図65(B)のように、演出ボタン17の操作を遊技者に促す文字表示「PUSH」が表示部35aにされてよい。なお、文字表示「PUSH」は始動記憶表示301(保留表示)の周囲に表示されてもよいし、サブ演出オブジェクト222の内部に循環表示に代えて表示してもよい。遊技者によって演出ボタン17が押されて操作信号が演出ボタン入力処理(B1009)で検出された場合に、図65(C)において、サブ演出オブジェクト222の内部に、特図始動記憶に関する先読み予告の内容を表示する。
サブ演出オブジェクト222の内部に表示する先読み予告の内容は、実行中の特図変動表示ゲームに対する特図予告表示205(図58)と、実行中の普図変動表示ゲームに対する普図予告表示203(図59)と同じ内容でよい。即ち、特図始動記憶に関する先読み予告では、文字「チャンス!」「熱い!」「激熱!」の順に、この特図始動記憶に係る特図変動表示ゲームの大当りの期待度が高くなる。
なお、図66のように、図65(C)に代えて、サブ演出オブジェクト222の内部に、特図始動記憶ではなく普図始動記憶に関する先読み予告の内容を表示してもよい。即ち、メイン演出オブジェクト220は特図始動記憶表示として使用し、メイン演出オブジェクト220の態様を特図始動記憶に関する先読み予告態様(図44B)とする一方で。サブ演出オブジェクト222は普図始動記憶表示として使用し、サブ演出オブジェクト222の態様を、普図始動記憶に関する先読み予告態様とする。普図始動記憶に関する先読み予告態様では、記号○は、この普図始動記憶に係る普図変動表示ゲームについて普図当りを示唆し、文字「またね」は普図はずれを示唆する。また、図65(A)のサブ演出オブジェクト222における循環表示は、普図変動表示ゲームが実行中であることを示すようにしてもよい。この場合に、図67のように、サブ演出オブジェクト222は普図始動記憶表示として優先的に使用するが、普図始動記憶が存在しない場合などには、サブ演出オブジェクト222は特図始動記憶に関する先読み予告(文字「チャンス!」「熱い!」「激熱!」)を報知するように使用してもよい。
図68(A)−(C)は、変形例2において、変動表示装置35の表示部35aでの特図変動表示ゲームの変動中にメイン演出オブジェクト220において行われる特図始動記憶の保留変化予告(保留表示演出)(図68(A))が、特別遊技状態(大当り状態)(図68(B))を経て、消える様子(図68(C))を示す。即ち、始動記憶表示301(保留表示)の態様は、特別遊技状態の終了後に先読み予告態様(保留変化予告態様)から通常の態様に戻る。なお、メイン演出オブジェクト220において特図始動記憶の保留変化予告が消えると、サブ演出オブジェクト222自体も消えて、従ってサブ演出オブジェクト222において報知される特図始動記憶又は普図始動記憶に関する先読み予告の内容も消えることになる(図68(C))。
(第1の実施の形態の変形例2の効果)
第1の実施の形態の変形例2によると、種々の先読み予告(保留変化予告)によって、遊技の興趣が向上する。例えば、始動記憶表示手段は、始動記憶表示301の態様を先読み予告態様に変化させた場合(保留変化予告した場合)に、特別遊技状態(大当り状態)の終了後に、始動記憶表示の態様を通常の態様に戻す。また、例えば、始動記憶表示手段は、始動記憶表示の態様を変化させた後に、始動記憶表示301が特定表示部に移動するまでに、始動記憶表示301の態様を通常の態様に戻すようなこともしてよい。
(第1の実施の形態の変形例3)
第1の実施の形態の変形例3も、先読み予告(保留変化予告)に関するが、先に生じた始動記憶とその後に生じた始動記憶に対する先読み情報(事前判定結果)の比較によって、先読み予告態様が変更されるとともに、隣り合う始動記憶表示の間で会話がされるような演出が実行される。
〔先読みコマンド受信処理(変形例3)〕
図69は、本発明の第1の実施の形態の変形例3に係る先読みコマンド受信処理(図42のB1119)の手順を示すフローチャートである。
主制御用マイコン710は、まず、図44Aの先読みコマンド受信処理と同じく、B1501からB1510の処理を行う。次に、所定の場合に、先読み予告態様を再選択するとともに隣り合う始動記憶表示301の間の会話演出を設定する会話設定処理(先読み予告態様再選択処理)を行う(B4001)。続いて、図44AのB1511と同様に、B1510で選択又はB4001で再選択された先読み予告態様で、始動記憶表示301(保留表示)を始動記憶表示領域35bに表示するように表示設定する(B4002)。
〔会話設定処理(先読み予告態様再選択処理)〕
図70Aは、本発明の第1の実施の形態の変形例3に係る会話設定処理(先読み予告態様再選択処理)(図69のB4001)の手順を示すフローチャートである。
主制御用マイコン710は、まず、当該始動記憶(今回生じた始動記憶)に、先読み予告(保留変化予告)があるか否か判定する(B4201)。即ち、今回の先読みコマンド受信処理のB1510において、図44Bの第1先読み予告、第2先読み予告、第3先読み予告のいずれかが設定された場合に、先読み予告があると判定できる。当該始動記憶に先読み予告がない場合に(B4201の結果が「N」)、今回の会話設定処理を終了する。
当該始動記憶に先読み予告がある場合に(B4201の結果が「Y」)、主制御用マイコン710は、今回より前の始動記憶(前に発生した始動記憶)に先読み予告(保留変化予告)があるか否か判定する(B4202)。ここでは、今回より前の始動記憶とは一つ前の始動記憶であるが、それより前の始動記憶であってもよい。今回より前の始動記憶に対して図44Bの第1先読み予告、第2先読み予告、第3先読み予告のいずれかがB1510において設定された場合に、先読み予告があると判定できる。今回より前の始動記憶に先読み予告がない場合に(B4202の結果が「N」)、今回の会話設定処理を終了し、当該始動記憶に関する先読み予告は、B1510において選択された先読み予告態様でそのまま行われることになる。
今回より前の始動記憶に先読み予告がある場合に(B4202の結果が「Y」)、主制御用マイコン710は、当該始動記憶に関する先読み予告について先読み予告態様を再選択する(B4203)。先読み予告態様の再選択は、前の始動記憶と当該始動記憶(今回の始動記憶)の先読み情報(判定結果)に基づいて行われる。なお、ここでは、単に当該始動記憶が単独で大当りとなる可能性(期待度)を示す先読み予告ではなく、前の始動記憶に関する始動記憶と当該始動記憶(後の始動記憶)のうちいずれが大当り(いずれかの始動記憶に係る特図変動表示ゲームの結果が大当り)となる可能性(期待度)を示す先読み予告を行う。このため、図70Bのように、前の始動記憶に関する始動記憶表示301とこれに連続して発生した当該始動記憶(後の始動記憶)に関する前後の始動記憶表示301のペア(対、組合せ)によって、先読み予告が行われる。
図70Bにおいて、前の始動記憶と当該始動記憶のうちいずれかが大当りとなる可能性(期待度)が高い場合に、強予告として、当該始動記憶(後の始動記憶)に係る始動記憶表示301の先読み予告態様を、前の始動記憶に係る始動記憶表示301の先読み予告態様と同じに選択している。前の始動記憶に関する始動記憶と当該始動記憶のうちいずれかが大当りとなる可能性(期待度)が低いか中程度の場合に、弱予告又は中予告として、当該始動記憶(後の始動記憶)に係る始動記憶表示301の先読み予告態様を、前の始動記憶に係る始動記憶表示301の先読み予告態様と異なる態様に選択するか先読み予告なし(保留変化なし)に設定している。
なお、前の始動記憶と当該始動記憶(今回の始動記憶)の先読み情報(判定結果)に基づいて、いずれかの始動記憶に係る特図変動表示ゲームの結果が大当りであれば、強予告としてよい。例えば、いずれかの始動記憶に係る特図変動表示ゲームのリーチ系統情報が、SP3リーチであれば、中予告としてよい。例えば、両方の始動記憶に係る特図変動表示ゲームのリーチ系統情報が、SP2以下の期待度のリーチであれば、弱予告としてよい。また、抽選(振分け)によって、強予告、中予告、弱予告のいずれにするか決定してもよい。例えば、いずれかの始動記憶に係る特図変動表示ゲームの結果が大当りであれば、弱予告、中予告、強予告の順番に、両方の特図変動表示ゲームの結果がはずれであれば、これとは逆の順番に、当選確率(振分け率)を高めるようにしてもよい。
続いて、B4203の後、主制御用マイコン710は、会話演出設定として、隣り合う始動記憶表示301の間で会話が行われるような演出である会話演出を設定する(B4204)。なお、隣り合う前後の始動記憶表示301の両方について先読み予告(保留変化)が行われる場合にのみ、会話演出を設定してもよい。また、隣り合う前後の始動記憶表示301の両方について同じ先読み予告態様になる強予告の場合にのみ、会話演出を設定してもよい。設定された会話演出は、保留表示処理(B2104)において、隣り合う2つの始動記憶表示301(保留表示)に関連付けて、この2つの始動記憶表示301とともに会話の台詞が表示されることによって実行できる。
〔演出例5〕
図71(A)−(C)は、会話演出の一例を示し、隣り合う前後の始動記憶表示301の間の会話表示領域35dにおいて、始動記憶表示301に関連付けて会話の台詞が表示される。図71(A)(B)のように、会話の台詞表示は、前後の始動記憶表示301に対して交互に行われてもよい。会話の台詞表示は、前の始動記憶表示301に係る特図変動表示ゲーム(変動)が開始するまで、1回の特図変動表示ゲームごとに又は所定時間ごとに交互に行われてもよい。図71(C)のように、会話の台詞において、重要な文言はフォントを変えたり、色を変えたりして、強調して表示してもよい。また、会話の台詞を弱予告、中予告、強予告など予告の期待度が高くなるに応じて、遊技者に期待を抱かせるように変化させてもよい。
(第1の実施の形態の変形例3の効果)
第1の実施の形態の変形例3によると、始動記憶表示手段は、始動入賞記憶手段による事前判定結果に応じて、始動記憶表示の態様を通常の態様から変化させる(先読み予告、保留変化予告)。始動記憶表示手段は、前後に連続して発生した始動記憶に対応する2つの始動記憶表示の態様を両方とも変化させる場合に、2つの始動記憶表示に関連付けた表示を実行可能である(会話演出の表示)。
(第1の実施の形態の変形例4)
第1の実施の形態の変形例4は、変形例1に関連するが、表示部35aの始動記憶消化領域35c(特定表示部)に表示される普図予告表示203や特図予告表示205のサブ演出オブジェクト222の他の表示態様に関する。
普図予告表示203と特図予告表示205のサブ演出オブジェクト222において、図72(A)(B)に示す前述の表示の他に、図72(C)のような擬似連続予告演出の回数(特図予告の一種)、図72(D)のような遊技の進行に伴って獲得されるポイント、図72(E)のような2次元コードを表示できる。なお、その他の表示態様として、サブ演出オブジェクト222において、ステップアップ予告演出の回数などを表示してもよい。遊技の進行には、演出や変動表示ゲームの進行が含まれる。
なお、2次元コードは、例えば、QRコード(登録商標、以下同じ)であり、遊技者が携帯電話などのカメラ機能付きの情報端末にカメラ撮影によって読み込ませることで、2次元コードに含まれるアドレス情報(外部サーバのURLなど)に基づいて、情報端末をネットワークを介して外部サーバへアクセスさせることができる。
また、獲得したポイントの情報(例えばポイントの合計など)は、上記の2次元コードなどのコード(符号)に含まれるようにコード化され、遊技終了時や遊技の途中に変動表示装置35の表示部35aに表示される(図72(E)以外の表示態様でよい)。ポイントの情報は、遊技者がカメラ機能付きの情報端末にカメラ撮影によってコードを読み込ませることで情報端末に送信、記憶されるか、又は、コードに含まれるアドレス情報(外部サーバのURLなど)に基づいて情報端末から外部サーバへ送信され記憶される。遊技者は、その後、外部サーバにアクセスすることにより、ポイントに応じた特典を得ることができる。例えば、外部サーバからパスワードを付与され、パスワードを遊技機1や他の遊技機に入力することによって、この遊技機は特典として特殊な演出を行って遊技者が見ることができる。
図73と図74は、サブ演出オブジェクト222で特図予告に関する表示がされる場合に、サブ演出オブジェクト222の表示態様が、特図変動表示ゲームの進行に伴って時間経過とともに変化する例を示す。図73と図74では、時間経過とともに、サブ演出オブジェクト222の表示態様が第1段階、第2段階、第3段階へと3段階(段階数=3)で変化する。サブ演出オブジェクト222の表示態様が、合計何段階で変化するかは、特図変動表示ゲームの変動時間に応じて設定されてよく、変動時間が長いほど期待度が高くなるため段階数が増えるようにしてよい。
図73と図74では、第1段階、第2段階、第3段階へと進むとともに、サブ演出オブジェクト222の数が一つずつ増え、従ってサブ演出オブジェクト222ごとに表示される文字表示(台詞)の数も一つずつ増える。即ち、第1段階では、一つのサブ演出オブジェクト222aだけが表示され、第2段階では、二つのサブ演出オブジェクト222a、222bが表示され、第3段階では、三つのサブ演出オブジェクト222a、222b、222cが表示される。なお、文字表示(サブ演出オブジェクト222)の数を増やさないで、最上部に位置するサブ演出オブジェクト222aに表示される文字が、第1段階、第2段階、第3段階へ進むにつれて変化するだけでもよい。また、サブ演出オブジェクト222a、222b、222cごとに、サブ演出オブジェクトの背景(文字以外)の色を変更してもよい。
図73では、特図予告として、特図変動表示ゲームの大当りの期待度(信頼度)が文字表示によって表示される。図72において、最上部に位置するサブ演出オブジェクト222aに表示される文字が、第1段階、第2段階、第3段階へ進むにつれてより高い大当りの期待度を示唆する「チャンス!」「熱い!」「激熱!」と変化する。なお、最上部以外のサブ演出オブジェクト222b、222cに表示される文字は、最上部のサブ演出オブジェクト222aに表示される文字より小さくてよい。
図74では、特図予告として、擬似連続演出の再変動表示の実行回数を文字表示(サブ演出オブジェクト222)の数によって表示する。擬似連続予告演出では、1回の特図変動表示ゲームにおいて、変動表示されている複数の識別情報を擬似的に停止表示(仮停止)させた後全ての識別情報の再変動表示を行う再変動表示動作を所定回数(擬似連回数)だけ行う。擬似連回数が増加するほど、特図変動表示ゲームの結果が大当りとなる期待度が高くなるように設定されている。図74において、第1段階、第2段階、第3段階は、それぞれ1回目、2回目、3回目の再変動表示に対応する。なお、最上部に位置するサブ演出オブジェクト222aに表示される文字は、第1段階、第2段階、第3段階へ進むにつれて、色やフォントを変えるなどによって変化してもよい。
〔始動記憶関連報知処理(変形例4)〕
図75は、第1の実施の形態の変形例4に係る始動記憶関連報知処理の手順を示すフローチャートである。図75の始動記憶関連報知処理によって、図73と図74のサブ演出オブジェクト222の表示態様を特図変動表示ゲームの進行に伴って時間経過とともに変化させる。
図75において、B1701 、B1703−B1705の処理は、図46と同じであるが、図46のB1702の処理の代わりにB4501−B4505の処理を実行する。B4501において、主制御用マイコン710は、変動開始からの経過時間を計算する。経過時間は、過去の更新タイマ(B1609)のカウント値の合計から求まる。変動開始からの経過時間が第1所定時間T1より大きい場合に、サブ演出オブジェクト222の表示態様を第1段階の表示態様に設定し(B4502)、第2所定時間T2より大きい場合に第2段階の表示態様に設定し(B4503)、第3所定時間T3より大きい場合に第3段階の表示態様に設定する(B4504)。次に、主制御用マイコン710は、設定された段階の特図予告表示を行う(B4505)。第1所定時間T1、第2所定時間T2、第3所定時間T3は、変動パターン情報設定処理(B1605)で設定されてよく、図74のように特図予告が擬似連続演出を報知する予告である場合には、擬似連続演出の再変動表示の開始時間に設定される。
図76のように、図74に代えて、特図予告として擬似連続演出を報知する予告を行ってもよい。図76では、第1所定時間T1の直前、第2所定時間T2の直前、第3所定時間T3の直前において、最上部のサブ演出オブジェクト222a(他の場所でも可)に演出ボタン17を押すことを促す文字表示「PUSH」を表示し、B4501において演出ボタン17が押されたことを確認した場合にのみ、B4502−B4504の処理に移行して、次段階の表示態様に設定するようにしておく。
(第1の実施の形態の変形例4の効果)
第1の実施の形態の変形例4によると、始動記憶関連報知制御手段(始動記憶関連報知処理を実行する演出制御装置700)は、始動記憶消化領域(特定表示部)35cにおいて、普図変動表示ゲームの進行に関連する普図関連報知を実行可能であり、遊技の進行に伴って獲得されて遊技機外部に送信可能なポイントの情報も表示可能である。従って、遊技者はポイントを獲得しようとして、遊技の興趣が高まる。
第1の実施の形態の変形例4によると、演出制御手段(演出制御装置700)は、一回の特図変動表示ゲームにおいて識別情報を擬似的に停止表示させた後に識別情報の再変動表示を行う再変動表示動作を所定回数だけ行う擬似連続予告演出を実行する。始動記憶関連報知制御手段は、始動記憶消化領域(特定表示部)35cにおいて、擬似連続予告演出が行なわれることを報知可能であり、また、始動記憶関連報知制御手段は、始動記憶消化領域(特定表示部)35cにおいて、擬似連続予告演出の再変動表示の各段階を報知可能である。各段階は、操作部(演出ボタン17等)の操作に対応して報知されてよい。従って、さらに遊技の興趣が高まる。
(第1の実施の形態の変形例5)
図77のように、第1の実施の形態の変形例5において、変形例1と異なり、普図予告表示203と特図予告表示205のメイン演出オブジェクト220の態様(B3101、B3201、B3203)は、リアルタイムクロック(RTC)780を使用して計測される年月日や時刻に応じて設定されてよい。なお、変形例1においては、メイン演出オブジェクト220の態様は、先読み予告演出の保留表示態様そのままとなっていた。図77の左側のように、ある一日における時刻ごとに、メイン演出オブジェクト220の態様が変えられてよい。図77の右側のように、ある一年における月ごとに、メイン演出オブジェクト220の態様が変えられてよい。
(第1の実施の形態の変形例5の効果)
第1の実施の形態の変形例5によると、メイン演出オブジェクト220の態様が時刻に応じて変えられてよい。これにより、遊技者は、メイン演出オブジェクト220の表示に飽きることがなくなり、遊技の興趣が高まる。
(第2の実施の形態)
図78から図83を参照して、第2の実施の形態について説明する。第2の実施の形態では、演出制御装置700(サブ基板)にバックアップメモリ785が設けられる。なお、第2の実施の形態において、特に説明しない構成は、第1の実施の形態と同じでよい。
図78のように、演出制御装置700は、バックアップ用記憶部として、SRAM等のバックアップメモリ785を備える。バックアップメモリ785は、電池781(電源手段)によって電力が供給され、遊技機1から演出制御装置700が取り外された場合でも、バックアップメモリ785の内容が保持される。このようにバックアップメモリ785は、情報をバックアップ可能に記憶する記憶手段となる。演出制御装置700は、前述のリアルタイムクロック(RTC)780、バックアップメモリ785、電力をリアルタイムクロック(RTC)780とバックアップメモリ785に供給する電池781を備えることになる。なお、バックアップメモリ785として、EEPROMのような電気的に書換え可能な不揮発性メモリを用いてもよく、この場合には、バックアップメモリ785に電池781からの電力を供給しなくてもよい。
第2の実施の形態における制御処理として、遊技制御装置600(主基板)は、遊技機1の機種に関する機種情報が含まれたコマンドを演出制御装置700(サブ基板)に送信可能である。そして、演出制御装置700(サブ基板)は、そのバックアップメモリ785において、受信した機種情報を記憶可能である。演出制御装置700(サブ基板)は、受信した機種情報と、バックアップメモリ785に既に保存(記憶)されている機種情報が異なる場合には、演出制御装置700を再使用していることを示唆する再使用情報を報知可能である。再使用情報は、例えば、演出制御装置700が使用された機種の履歴である。
〔機種情報受信処理〕
図79は、本発明の第2の実施の形態において、演出制御装置700によって実行される機種情報(機種データ)受信処理の手順を示すフローチャートである。ここで、演出制御装置700の主制御用マイコン(1stCPU)710は、遊技制御装置600から機種情報を受信して、バックアップメモリ785の機種情報との比較などを行う。本実施形態では、機種情報受信処理は、割込み処理であり、コマンド受信割込み処理(図43)の後で行われてよい。なお、エラー表示スイッチ(SW)755が操作されオンした場合にのみ、機種情報受信処理を実行するようにしてもよい。
主制御用マイコン710は、まず、コマンド受信割込み処理(図43)によって受信された受信コマンドが機種情報を含むか否か判定する(B5001)。遊技制御装置600は、電源投入時のコマンド(図16のA134)又は演出制御コマンド(図18のA501)のコマンドデータの一部に、遊技機1の機種に関する機種情報を含めて、演出制御装置700に送信してよい。受信コマンドが機種情報を含まない場合に(B5001の結果が「N」)、今回の処理を終了する。
受信コマンドが機種情報を含む場合に(B5001の結果が「Y」)、主制御用マイコン710は、演出制御装置700のバックアップメモリ785に機種情報が既に記憶されているか否か判定する(B5002)。バックアップメモリ785に機種情報がまだ記憶されていない場合に(B5002の結果が「N」)、主制御用マイコン710は、演出制御装置700が新品であることを示す新品情報を報知(表示)するための表示設定を行い(B5003)、B5006の処理に移行する。新品情報は、変動表示装置35などの表示装置に報知(表示)される。
バックアップメモリ785に機種情報が既に記憶されている場合に(B5002の結果が「Y」)、主制御用マイコン710は、受信コマンドに含まれる遊技機1の機種情報と、バックアップメモリ785に既に記憶されている機種情報とが異なるか否か判定する(B5004)。両機種情報が同じ場合に(B5004の結果が「N」)、今回の処理を終了する。
受信コマンドに含まれる遊技機1の機種情報と、バックアップメモリ785に既に記憶されている機種情報とが異なる場合に(B5004の結果が「Y」)、主制御用マイコン710は、演出制御装置700が再使用されていることを示す再使用情報を報知(表示)するための表示設定を行う(B5005)。再使用情報は、変動表示装置35などの表示装置に報知(表示)される。なお、バックアップメモリ785に記憶されている機種情報が2以上の場合にも、受信コマンドに含まれる遊技機1の機種情報は1つであるため、両機種情報が異なると判定できる。このように、機種情報受信処理(図79)を実行する演出制御装置700は、再使用報知手段を構成する。
次に、主制御用マイコン710は、バックアップメモリ785に受信コマンドに含まれる遊技機1の機種情報を記憶させる(B5006)。ただし、バックアップメモリ785が既に遊技機1の機種情報を記憶している場合には、上書きするか記憶しない。
このように、図79の処理によって、他の遊技機で既に使用済みの演出制御装置700(中古品)、或いは、使用済みの演出制御装置700を含む表示システムが、遊技機1で再使用(再利用)される場合に、バックアップメモリ785に当該他の遊技機の機種情報が記憶されているため、再使用情報が報知されるとともに、バックアップメモリ785に再使用側の遊技機1の機種情報が記憶される。演出制御装置700が新品である場合に、バックアップメモリ785に記憶されている機種情報がないため、新品情報が報知されるとともに、バックアップメモリ785に遊技機1の機種情報が記憶される。
図80は、演出制御装置700のバックアップメモリ785におけるバックアップ用記憶領域に機種情報が記憶されている状況を示す。図80では、2つの機種情報が機種番号で「P○○○」「S○○○」と記憶されている例を示す。なお、主制御用マイコン710は、リアルタイムクロック(RTC)780を使用して、機種情報を記憶された日時と共にバックアップメモリ785に記憶してよい。
図81(A)(B)は、演出制御装置700が使用された機種に関する履歴、即ち、バックアップメモリ785への機種情報の保存履歴によって、再使用情報を表示する例を示す。再使用情報は、変動表示装置35などの表示装置に報知(表示)される。図81(A)の履歴表示例1では、バックアップメモリ785に記憶されている機種番号「P○○○」「S○○○」が記憶された順番で羅列されている。図81(B)の履歴表示例2では、バックアップメモリ785に記憶されている機種番号「CR○○○Z」「CR○○○GS」「パチスロ○○○」が記憶された日付と共に羅列されている。
なお、演出制御装置700は、特図変動表示ゲームの大当り確率などのスペック(仕様)だけが違う機種間において再使用できる可能性が高い。従って、機種番号は、スペック(仕様)だけが違う場合でも、異なる番号を付けるようにしておくと、再使用情報を適切に表示できる。また、演出制御装置700は、変動表示装置35などで同じ版権に係る共通した演出を行う機種間において再使用できる可能性が高い。従って、機種番号は、同じ版権に係る共通した演出を行う機種間でも、異なる番号を付けるようにしておくと、再使用情報を適切に表示できる。
例えば、図81(B)の履歴表示例2では、演出制御装置700が、大当り確率1/399の機種「CR○○○Z」から同じ版権を有する大当り確率1/99の機種「CR○○○GS」に移動し、その後、同じ版権を有するパチスロ機(スロットマシーン)「パチスロ○○○」に使い回された場合の表示例であり、リアルタイムクロック(RTC)780により日付が明確になっている。
図82(A)(B)は、演出制御装置700(又は演出制御装置700を含む表示システム)が、遊技機としてのパチンコ機(図82(A))において、新品の状態で最初に使用され、後で遊技機としてのスロットマシーン(パチスロ機)(図82(B))において、再使用(再利用)される例を示す。パチンコ機(図82(A))の表示装置において、新品情報の表示(ここでは「NEW」)がされ、スロットマシーン(図82(B))において、再使用情報の表示がされている。なお、図82(A)(B)において、上側には外観が、下側には構成が概略的に示されている。なお、逆に、点線の矢印のように、演出制御装置700(又は演出制御装置700を含む表示システム)が、遊技機としてのスロットマシーン(パチスロ機)において、新品の状態で最初に使用され、後で遊技機としてのパチンコ機において、再使用(再利用)されてもよい。この場合には、図82(A)の新品情報の表示と図82(B)の再使用情報の表示を入れ換える。なお、上述の図13等において遊技機1がパチンコ機である場合の遊技制御装置600とその制御だけが説明されているが、スロットマシーン(パチスロ機)(図82(B))における遊技制御装置とその制御は公知の通りに構成されているものとする。
また、演出制御装置700全体が、パチンコ機とスロットマシーン(パチスロ機)とで共通に使用できない場合には、図83(A)のように、スロットマシーン用の演出制御装置700−1を共通部700a(共通使用基板)とスロットマシーン専用部700b(スロットマシーン専用基板)に分割し、図83(B)のように、パチンコ機用の演出制御装置700−2を共通部700a(共通使用基板)とパチンコ専用部700c(パチンコ専用基板)に分割する。そして、共通部700a(共通使用基板)のみを、パチンコ機とスロットマシーンとで共通化して、再利用して使い回しができるようにする。なお、共通部700aには、前述のリアルタイムクロック(RTC)780、バックアップメモリ785、電力をリアルタイムクロック(RTC)780とバックアップメモリ785に供給する電池781が設けられる。
また、当然に、演出制御装置700は、パチンコ機において新品の状態で最初に使用され、後で別の機種のパチンコ機で再使用(再利用)されてもよいし、スロットマシーンにおいて新品の状態で最初に使用され、後で別の機種のスロットマシーンで再使用(再利用)されてもよい。
(第2の実施の形態の効果)
第2の実施の形態によると、遊技機1は、遊技を統括的に制御する遊技制御装置600と、遊技制御装置600から送信されたコマンドデータにより表示装置の表示内容を制御する演出制御装置700と、を備える。遊技制御装置600は、機種に関する情報が含まれたコマンドデータを演出制御装置700に送信可能な送信手段(例えば、CPU部610と出力部630)を備える。演出制御装置700は、現在時刻を計時可能なRTC780(リアルタイムクロック手段)と、少なくともRTC780の電源となる電源手段(例えば、電池781)と、遊技制御装置600から送信されたコマンドデータの機種に関する情報をバックアップ可能に記憶するバックアップメモリ785(記憶手段)と、を備える。再使用報知手段(機種情報受信処理(図79)を実行する演出制御装置700)は、バックアップメモリ785に既に記憶された機種に関する情報と、遊技制御装置600から受信した前記機種に関する情報が異なる場合、少なくとも演出制御装置700が再使用であることを報知する。従って、演出制御装置700が過去に使用された遊技機においてバックアップメモリ785に既に記憶された機種に関する情報と、遊技制御装置600から新たに受信した機種に関する情報を比較することによって、演出制御装置700或いはこれを含む表示システムが再利用したものか否か判別可能にすることができる。
第2の実施の形態によると、再使用報知手段は、バックアップメモリ785(記憶手段)に記憶された機種に関する情報と、遊技制御装置600から受信した機種に関する情報とが、スペック(仕様)のみが違う機種を示す場合であっても、少なくとも演出制御装置700が再使用であることを報知する。従って、演出制御装置700が、再使用され易いスペック(仕様)だけが異なる機種間で再使用される場合においても、再使用情報を適切に報知できる。
第2の実施の形態によると、遊技機1は、他の遊技機に使用された少なくとも演出制御装置700が取り付られて、当該他の遊技機と共通する演出を行いつつ遊技を実行可能であってよい。従って、演出制御装置700が、同じ版権に係る共通した演出を行う遊技機の間で再使用される場合においても、再使用情報を適切に報知できる。
第2の実施の形態によると、遊技機1は、スロットマシンにおいて演出制御装置700が過去に使用されていた場合において、演出制御装置700によって当該スロットマシンと共通する演出を行いつつ遊技を実行可能なパチンコ機であってよい。この場合に、演出制御装置700が、再使用され易い同じ版権に係る共通した演出を行うスロットマシンとパチンコ機の間で再使用される場合においても、パチンコ機において再使用情報を適切に報知できる。
第2の実施の形態によると、遊技機1は、パチンコ機において演出制御装置700が過去に使用されていた場合において、演出制御装置700によって当該パチンコ機と共通する演出を行いつつ遊技を実行可能なスロットマシーンであってよい。この場合に、演出制御装置700が、再使用され易い同じ版権に係る共通した演出を行うスロットマシンとパチンコ機の間で再使用される場合においても、スロットマシーンにおいて再使用情報を適切に報知できる。
(第2の実施の形態の変形例1)
第2の実施の形態の変形例1において、演出制御装置700は、エラーが発生したことを示すエラー情報を履歴として記憶しておく。エラー表示スイッチ(SW)755が押されてオン信号が演出制御装置700に入力されると、演出制御装置700は、エラー履歴を変動表示装置35などの表示装置に表示させる。図78のように、演出制御装置700には、エラー表示スイッチ(SW)755が接続されている。
〔エラー記憶処理〕
図84は、第2の実施の形態の変形例1において、演出制御装置700の主制御用マイコン(1stCPU)710によって実行されるエラー記憶処理の手順を示すフローチャートである。エラー記憶処理は、遊技機1のエラー情報を記憶する処理であり、例えば、1stCPUメイン処理(図41)における遊技機エラー監視処理(B1013)の一部として実行できる。
主制御用マイコン710は、まず、遊技機1のエラーが発生したか否か判定する(B5201)。主制御用マイコン710は、遊技制御装置600からエラー報知を指示するコマンドを受信した場合に、エラーが発生したと判定する。なお、遊技制御装置600は、入賞口スイッチ/エラー監視処理(図17のA307)と磁気エラー監視処理(図17のA311)において検出したエラー情報を、エラー報知を指示する演出制御コマンドとして演出制御装置700に送信できる(図18のA501)。遊技機1のエラーが発生していない場合に(B5201の結果が「N」)、今回の処理を終了する。
遊技機1のエラーが発生した場合に(B5201の結果が「Y」)、主制御用マイコン710は、エラー報知を指示する演出制御コマンドに含まれるエラー情報を、バックアップメモリ785に現在の日時(エラー発生日時)と共にエラー履歴として記憶する(B5202)。エラー情報は、バックアップメモリ785以外のメモリ(RAM711等)に記憶されてもよいが、バックアップメモリ785に記憶しておくと、遊技機1の電源をオフして不正が行われるような場合でも、エラー情報を報知することができる。なお、エラー情報は、所定時間(例えば2時間)だけ記憶しておけばよく、所定時間(例えば2時間)経過すると消去してもよい。
〔エラー履歴表示処理〕
図85は、第2の実施の形態の変形例1において、演出制御装置700の主制御用マイコン(1stCPU)710によって実行されるエラー履歴表示処理の手順を示すフローチャートである。エラー履歴表示処理は、バックアップメモリ785に記憶されたエラー情報を表示する処理であり、例えば、1stCPUメイン処理(図41)における装飾制御処理(B1016)の一部として実行できる。
主制御用マイコン710は、まず、演出制御装置700に接続したエラー表示スイッチ(SW)755がオンしているか否か判定する(B5301)。エラー表示スイッチ(SW)755は、エラー履歴を確認したい遊技店の店員などが操作してオンする。エラー表示スイッチ(SW)755がオフしている場合に(B5301の結果が「N」)、今回の処理を終了する。エラー表示スイッチ(SW)755がオンしている場合に(B5301の結果が「Y」)、変動表示装置35などの表示装置にエラー情報をエラー履歴として表示する(B5302)。
図86は、エラー履歴の表示例であり、エラー情報がエラーの発生時刻(エラー情報の記憶された時刻)と共に順番に表示されている。
(第2の実施の形態の変形例1の効果)
第2の実施の形態の変形例1によると、例えば、不正目的の遊技者により、図87のように、エラー情報を外部情報端子660等から管理装置に送信するための配線(ネットワーク)を切断されても、遊技機1の演出制御装置700側で時刻と共にエラー情報をバックアップしている。従って、後でエラー表示スイッチ(SW)755を操作することによって、エラー情報を表示装置に表示させて異常状態の発生を確認することができる。
(第3の実施の形態)
図88から図95を参照して、第3の実施の形態について説明する。第3の実施の形態では、演出制御装置700は、リアルタイムクロック(RTC)780からの時刻の信号に基づいて所定時刻(例えば、2時間おきの所定時刻)になるごとに、所定の特別演出(イベント)を行うリアルタイムクロック演出手段を備える。所定の特別演出(イベント)は、音楽ビデオなどの動画を変動表示装置35に流すなどの演出である。なお、第3の実施の形態において、特に説明しない構成は、第2の実施の形態と同じでよい。
〔時間調整処理〕
図88は、第3の実施の形態において、演出制御装置700の主制御用マイコン(1stCPU)710によって実行される時間調整処理の手順を示すフローチャートである。時間調整処理は、主制御用マイコン(1stCPU)710のイベントタイマを複数の遊技機の間で同期させる処理であり、例えば、1stシーン制御処理(図42)における
電源投入処理(B1108)の一部として実行できる。
主制御用マイコン710は、まず、遊技機1の電源投入が行われたか否か判定する(B6001)。「電源投入コマンド」を受信していれば、電源投入が行われたと判断できる。遊技機1の電源投入が行われていない場合に(B6001の結果が「N」)、今回の処理を終了する。遊技機1の電源投入が行われている場合に(B6001の結果が「Y」)、イベントタイマを複数の遊技機の間で同期させるイベントタイマ同期処理(時刻合わせ処理)を行う(B6002)。
なお、主制御用マイコン(1stCPU)710は、遊技機1の電源投入時にリアルタイムクロック(RTC)780からの時刻の信号を読み取って、この時刻に基づいてイベントタイマ(カウンタ)を設定する。しかし、RTC780には、個体差があるため、ある遊技機1に搭載したRTC780と他の遊技機1’に搭載したRTC780の間で時間がずれる。それを回避するために、遊技機1の電源投入時に、遊技機1のイベントタイマと他の遊技機1’のイベントタイマの間で時間調整して同期をとっている。同期後、主制御用マイコン710は、RTC780より精度が高いイベントタイマのカウンタ値によって時刻を管理できる。なお、リアルタイムクロック780及び/又はイベントタイマは、現在時刻を計時するための計時手段を構成する。
図89は、遊技機1と他の遊技機1’ との間でイベントタイマを同期させる(時刻合わせする)様子を示す。遊技機1の演出制御装置700と他の遊技機1’の演出制御装置700は、配線やネットワークを介して接続され、イベントタイマ同期処理が行われる。演出制御装置700は、配線接続やネットワーク接続用のインターフェース(I/F)を有してもよい。
〔イベント発生処理〕
図90は、第3の実施の形態において、演出制御装置700の主制御用マイコン(1stCPU)710によって実行されるイベント発生処理の手順を示すフローチャートである。イベント発生処理は、所定の特別演出(イベント)を行うための処理であり、例えば、1stシーン制御処理(図42)の一部として実行できる。
主制御用マイコン710は、まず、イベントタイマが所定時刻であるか否か判定する(B6201)。所定時刻は、例えば、2時間おきの時間である。イベントタイマが所定時刻でない場合に(B6201の結果が「N」)、今回の処理を終了する。イベントタイマが所定時刻である場合に(B6201の結果が「Y」)、所定の特別演出(イベント)を発生させる設定を行う(B6202)。
〔途中停電処理〕
図91は、第3の実施の形態において、停電時にバックアップ電源部820から電力を供給された主制御用マイコン(1stCPU)710などによって実行される途中停電処理の手順を示すフローチャートである。
主制御用マイコン710は、まず、演出制御装置700の通常電源部810がオフしたか否か判定する(B6401)。演出制御装置700の通常電源部810がオフしていない場合に(B6401の結果が「N」)、今回の処理を終了する。演出制御装置700の通常電源部810がオフした場合に(B6401の結果が「Y」)、電池781によって主制御用マイコン710に電源を供給し、イベントタイマのカウントアップを所定期間(例えば2時間)だけ継続させる(B6402)。こうすることで、途中停電からの復帰後もイベントタイマが遅れることなく同期が保たれる。なお、電池781から主制御用マイコン710に電源を供給する場合に、主制御用マイコン710の指令によってオンするスイッチ等が設けられるものとする。なお、図91の処理は、通常電源部810がオフした場合に主制御用マイコン710に電池781から電力を供給するスイッチ回路(演出制御装置700上に設けられている)によって実行されてもよい。
次に、図92から図95を参照して、電池781の破損等の不具合に対処する場合の処理について説明する。
〔RTC継続処理〕
図92のように、電池781の不具合に対処するために、演出制御装置700はRTC継続処理を行ってもよい。図92は、演出制御装置700の主制御用マイコン(1stCPU)710によって実行されるRTC継続処理の手順を示すフローチャートである。RTC継続処理は、電池781の不具合によってRTC780に電力が供給されず停止した場合に、電池781以外の外部電源(例えば、通常電源部810)から電力をRTC780に供給する処理である。RTC継続処理は、例えば、割込み処理として実行できる。
主制御用マイコン710は、まず、RTC780が停止しているか否か判定する(B6601)。RTC780から主制御用マイコン710への時刻信号の入力がない場合に、主制御用マイコン710は、RTC780が停止していると判定できる。RTC780が停止していない場合に(B6601の結果が「N」)、今回の処理を終了する。RTC780が停止している場合に(B6601の結果が「Y」)、図示しないスイッチをオン状態にして、電池781以外の外部電源からの電力をRTC780に供給する。外部電源は、演出制御装置700の外部にある電源であり、例えば、電源装置800の通常電源部810である。これによって、電池781に不具合(異常)があって電池781からの電力がRTC780に供給できない場合でも、RTC780の動作は継続する。
〔イベント発生処理2〕
図93のように、電池781の不具合に対処するために、演出制御装置700はイベント発生処理2を行ってもよい。図93は、演出制御装置700の主制御用マイコン(1stCPU)710によって実行されるイベント発生処理2の手順を示すフローチャートである。電池781の不具合への対処を行う場合には、図90のイベント発生処理ではなくイベント発生処理2を実行するようにする。イベント発生処理2は、所定の特別演出(イベント)を行うための処理であり、例えば、1stシーン制御処理(図42)の一部として実行できる。
主制御用マイコン710は、まず、RTC780が停止しているか否か判定する(B6801)。RTC780から主制御用マイコン710への時刻信号の入力がない場合に、主制御用マイコン710は、RTC780が停止していると判定できる。RTC780が停止していない場合に(B6801の結果が「N」)、B6803の処理に移行する。RTC780が停止している場合に(B6801の結果が「Y」)、イベントタイマが停止しているか否か判定する(B6802)。イベントタイマが停止している場合に(B6802の結果が「Y」)、今回のイベント発生処理2を終了して、所定の特別演出(イベント)は行わない。イベントタイマが停止していない場合に(B6802の結果が「N」)、B6803の処理に移行する。
B6803の処理では、イベントタイマ又はRTC780が所定時刻であるか否か判定する(B6803)。所定時刻は、例えば、2時間おきの時間である。イベントタイマが停止していない場合には、精度の高いイベントタイマを優先して、イベントタイマが所定時刻であるか否か判定する。イベントタイマ及びRTC780が所定時刻でない場合に(B6803の結果が「N」)、今回のイベント発生処理2を終了する。なお、イベントタイマが停止している場合には、RTC780が所定時刻であるか否か判定する。イベントタイマ又はRTC780が所定時刻である場合に(B6803の結果が「Y」)、所定の特別演出(イベント)を発生させる設定を行う(B6804)。このように、2つの計時手段(即ちイベントタイマとRTC780)のうちどちらかが動作していれば、イベントが発生することになる。
なお、図92と図93において、電池781に不具合(異常)によってRTC780が停止している場合でも、所定の特別演出(イベント)が発生しないだけで、遊技制御装置600の遊技制御と、演出制御装置700のイベント以外の演出(変動表示ゲームなど)の制御には影響しない構成としたため、電池781に不具合(異常)があっても遊技自体は継続される。
即ち、図94(A)のように、電池781に不具合がない通常の場合において、遊技は正常に行われるとともに、変動表示装置35等の表示装置において、所定の特別演出(イベント)も正常に行われる(B6801、B6803、B6804)。或いは、図94(B)のように、電池781に破損等の不具合が生じた場合に、RTC780が停止しイベントタイマも停止していれば、遊技は正常に行われるが、イベント(ここでは、ライブビデオの表示)は行われない(B6801、B6802)。さらに、図94(C)のように、電池781に破損等の不具合が生じた場合に、RTC780が停止してもイベントタイマも動作していれば、遊技は正常に行われるとともに、イベントは初期化した後、最初の初期状態(初回)から再度開始してもよい(B6801、B6802、B6803、B6804)。
〔電池不具合報知処理〕
図95のように、電池781の不具合に対処するために、演出制御装置700は電池不具合報知処理を行ってもよい。図95は、演出制御装置700の主制御用マイコン(1stCPU)710によって実行される電池不具合報知処理の手順を示すフローチャートである。電池不具合報知処理は、電池781に不具合が生じた場合に報知するための処理であり、例えば、1stCPUメイン処理(図41)における装飾制御処理(B1016)の一部として実行できる。
主制御用マイコン710は、まず、所定の特別演出(イベント)が実行中であるか否か判定する(B7001)。イベントが実行中でない場合に(B7001の結果が「N」)、電池781に不具合が生じいるか(又はRTC780が計時不能であるか)否か判定する(B7002)。RTC780から主制御用マイコン710への時刻信号の入力がない場合に、主制御用マイコン710は、電池781に不具合が生じいる(即ちRTC780が計時不能である)と判定できる。電池781に不具合が生じていない(即ちRTC780が計時可能である)場合に(B7002の結果が「N」)、今回の処理を終了する。電池781に不具合が生じている場合(即ちRTC780が計時不能である場合)に(B7002の結果が「Y」)、不具合報知フラグをオンに設定し、イベントを終了して電池781の不具合(又はRTC780の計時不能状態)について報知する。この報知は、LED等からなる装飾装置(盤装飾装置760、枠装飾装置21)のLEDを点灯又は点滅させることによって行ってよいし、変動表示装置35に電池781の不具合(又はRTC780の計時不能状態)についての表示をすることによって行ってよい。
イベントが実行中である場合に(B7001の結果が「Y」)、電池781に不具合が生じているか(又はRTC780が計時不能であるか)否か判定する(B7004)。電池781に不具合が生じている場合(即ちRTC780が計時不能である場合)に(B7004の結果が「Y」)、不具合報知フラグをオフに設定し、電池781の不具合(又はRTC780の計時不能状態)について報知しない。電池781に不具合が生じていない場合(即ちRTC780が計時可能である)に(B7004の結果が「N」)、今回の処理を終了する。このように、イベントが実行中である場合に、即ち、イベントが終了するまで、電池781の不具合(又はRTC780の計時不能状態)について報知することは行わない。これによって、所定の特別演出(イベント)中においては、電池781の不具合(又はRTC780の計時不能状態)について報知して遊技者を驚かせることはない。
なお、代替として、所定の特別演出(イベント)中に、電池781の不具合(又はRTC780の計時不能状態)がある場合に、イベントを急に終了したり、イベントを繰り返すことによって、電池781の不具合(又はRTC780の計時不能状態)について報知してもよい。
(第3の実施の形態の効果)
第3の実施の形態によると、遊技機1は、遊技を制御する遊技制御装置600と、計時する計時手段(RTC780及び/又はイベントタイマ)と、計時手段により所定の時刻になると所定の特別演出(イベント)を行う演出手段(イベント発生処理(図90、図93)を行う演出制御装置700)を備える。遊技制御装置600は、計時手段に不具合が発生しても遊技を継続可能である。従って、計時手段によって遊技の興趣を向上しつつ、計時手段の不具合があっても遊技の興趣が失われないため、計時手段の不具合に適切に対処できる。
第3の実施の形態によると、演出制御装置700は、遊技制御装置600からのコマンドデータの受信に基づき表示装置(例えば、変動表示装置35)の表示内容を制御する。演出制御装置700は、前記計時手段を備える。演出手段は、計時手段が計時できない場合に、所定の時刻になっても所定の特別演出(イベント)を行わない。従って、遊技自体は継続可能である。従って、計時手段の不具合があっても、所定の特別演出(イベント)を行わないだけで、遊技は継続され、計時手段の不具合に適切に対処できる。
第3の実施の形態によると、演出手段は、計時手段が計時できない状態が発生し、再び計時できる状態になった場合に、所定の特別演出(イベント)を最初から行う。従って、計時手段の不具合に適切に対処できる。
第3の実施の形態によると、演出制御装置700は、計時手段が計時不能になった場合、計時不能状態を報知するが、所定の特別演出(イベント)中に計時手段が計時不能になった場合、所定の特別演出(イベント)終了まで計時不能状態を報知しない。従って、所定の特別演出(イベント)中においては、電池781の不具合(又はRTC780の計時不能状態)について報知して遊技者を驚かせることはない。
(第3の実施の形態の変形例1)
第3の実施の形態の変形例1において、所定の時期が過ぎると所定の特別演出(イベント)を禁止するためのイベント中止処理が行われる。図96は、演出制御装置700の主制御用マイコン(1stCPU)710によって実行されるイベント中止処理の手順を示すフローチャートである。イベント中止処理は、例えば、1stCPUメイン処理(図41)における装飾制御処理(B1016)の一部として実行できる。
〔イベント中止処理〕
主制御用マイコン710は、まず、所定の時期として、遊技機1の遊技店への導入(初動)から6か月が経過したか否か判定する(B7201)。6か月経過した場合に(B7201の結果が「Y」)、イベントが実行できないようイベント禁止の設定を行うイベント禁止設定処理を実行する(B7202)。イベント禁止の設定としてイベント禁止フラグをオンに設定しておき、イベント禁止フラグがオフの場合にのみイベントを行うように構成する。
6か月経過していない場合に(B7201の結果が「N」)、主制御用マイコン710は、RTC780が停止しているか否か判定する(B7203)。電池781を外すなどして、RTC780が停止した場合に(B7203の結果が「N」)、今回の処理を終了する。RTC780が停止している場合に(B7203の結果が「Y」)、イベント禁止設定処理を実行する(B7202)。
(第3の実施の形態の変形例1の効果)
第3の実施の形態の変形例1によると、所定の時期(ここでは遊技機1の遊技店への導入から6か月)が経過して、遊技者がイベントに対して飽きた場合に、イベントが行われなくなる。又は、遊技者がイベントに対して飽きたと判断した遊技店の管理者などが、電池781を外すとイベントが行われなくなる。
(第3の実施の形態の変形例2)
上記において2時間おきの所定時刻に所定の特別演出(イベント)を発生させる構成としたが(B6201、B6803)、図97(A)(B)のように、ランダムな時間間隔でイベントを発生させる構成としてもよい。ランダムな時間間隔にしておくと、遊技者がイベントを見るために、遊技を長く続ける可能性がある。また、遊技店への導入から最初の3ヶ月、1話5分、週1回更新で、数話からなるストーリ仕立ての動画(ムービ)をイベントとして表示装置(変動表示装置35など)に上映するようにし(図97(A))、次の3ヶ月は、キャンセル可能にして、同様にストーリ仕立ての動画(ムービ)をイベントとして表示装置に上映する。例えば、キャンセルは、遊技者が演出ボタン17や選択部を操作して、前述のイベント禁止フラグをオンに設定することによって行えるように構成しておけばよい。さらに、変形例2と同様に、6か月が経過すると、イベントが行われなくなるようにしてよい。
(第3の実施の形態の変形例2の効果)
第3の実施の形態の変形例2によると、ランダムな時間間隔でイベントを発生させる構成としてもよい。ランダムな時間間隔にしておくと、遊技者がイベントを見るために、遊技を長く続ける可能性がある。所定期間経過後(遊技店への導入から最初の3ヶ月経過後)は、イベントをキャンセル可能にして、遊技者がイベントに飽きた場合に、イベントをキャンセルできる。
本発明の遊技機は、上記実施形態に示されるようなパチンコ遊技機に限られるものではなく、本発明はスロットマシン遊技機にも適用可能である。
また、本発明の範囲は前述した発明の説明ではなく特許請求の範囲によって示され、特許請求の範囲と均等の意味及び内容の範囲でのすべての変更が含まれることが意図される。
1 遊技機
30 遊技盤
31 遊技領域
35 変動表示装置
35a 表示部
35b 始動記憶表示領域(所定の表示部)
35c 始動記憶消化領域(特定表示部)
35d 会話表示領域
36 普図始動ゲート
37a 第1始動入賞口
37b 第2始動入賞口
37c 開閉部材
40 一般入賞口
41 特別変動入賞装置
110 風車
112 軸部
114 翼部
116 突出部
118 傘部
127 凸部
160 障害釘
201 始動記憶対応表示
203 普図予告表示
205 特図予告表示
220 メイン演出オブジェクト(メインオブジェクト)
222 サブ演出オブジェクト(サブオブジェクト)
301 始動記憶表示(保留表示)
600 遊技制御装置
700 演出制御装置
710 主制御用マイコン(1stCPU)
755 エラー表示スイッチ(SW)
780 リアルタイムクロック(RTC)
781 電池
785 バックアップメモリ

Claims (1)

  1. 始動領域への遊技球の入賞に基づき、識別情報を変動表示する特図変動表示ゲームを表示可能な表示装置を備え、前記特図変動表示ゲームの結果が予め定めた特別結果となった場合に、遊技者にとって有利な遊技状態を発生させる遊技機において、
    前記始動領域への遊技球の入賞に基づき、前記特図変動表示ゲームの実行に関連する乱数を抽出し当該特図変動表示ゲームの実行権利となる始動記憶として所定数を上限に記憶する始動入賞記憶手段と、
    前記始動入賞記憶手段に記憶されている始動記憶に対応する始動記憶表示を所定の表示部に表示する始動記憶表示手段と、
    前記始動入賞記憶手段に記憶されている始動記憶に基づく前記特図変動表示ゲームが開始されるときに、当該特図変動表示ゲームに対応する始動記憶表示を前記所定の表示部から当該所定の表示部とは異なる特定表示部に移動するように当該特定表示部に始動記憶対応表示を表示するとともに、当該始動記憶対応表示によって、実行中の特図変動表示ゲームの期待度を報知するように当該特図変動表示ゲームに関連する始動記憶関連報知を実行する始動記憶関連報知制御手段と、
    前記始動記憶がある場合、当該始動記憶に基づいて特図変動表示ゲームが実行される以前に、当該特図変動表示ゲームの結果を事前判定可能な事前判定手段と、
    前記事前判定手段の判定結果に基づいて、前記始動記憶に対応する特図変動表示ゲームの期待度を前記始動記憶表示の表示態様によって報知可能な事前判定結果報知手段と、を備え、
    前記始動記憶対応表示と前記始動記憶表示は、各々、複数の態様で表示可能なメインオブジェクトと、複数の態様で表示可能なサブオブジェクトから構成され、
    前記始動記憶関連報知制御手段と前記事前判定結果報知手段は、前記メインオブジェクトの態様と前記サブオブジェクトの態様の組み合わせによって、それぞれ、実行中の特図変動表示ゲームの期待度と前記始動記憶に対応する特図変動表示ゲームの期待度を報知可能であり、
    前記事前判定結果報知手段は、所定条件に基づいて、表示中のサブオブジェクトとは異なる態様のサブオブジェクトを追加することで、前記始動記憶表示の表示態様を表示中の態様よりも期待度の高い態様に変更可能であることを特徴とする遊技機。
JP2013147466A 2013-07-16 2013-07-16 遊技機 Active JP6040407B2 (ja)

Priority Applications (1)

Application Number Priority Date Filing Date Title
JP2013147466A JP6040407B2 (ja) 2013-07-16 2013-07-16 遊技機

Applications Claiming Priority (1)

Application Number Priority Date Filing Date Title
JP2013147466A JP6040407B2 (ja) 2013-07-16 2013-07-16 遊技機

Publications (2)

Publication Number Publication Date
JP2015019682A JP2015019682A (ja) 2015-02-02
JP6040407B2 true JP6040407B2 (ja) 2016-12-07

Family

ID=52484701

Family Applications (1)

Application Number Title Priority Date Filing Date
JP2013147466A Active JP6040407B2 (ja) 2013-07-16 2013-07-16 遊技機

Country Status (1)

Country Link
JP (1) JP6040407B2 (ja)

Families Citing this family (8)

* Cited by examiner, † Cited by third party
Publication number Priority date Publication date Assignee Title
JP6092297B2 (ja) * 2015-05-25 2017-03-08 京楽産業.株式会社 遊技機
JP6557083B2 (ja) * 2015-07-23 2019-08-07 株式会社三共 遊技機
JP6557082B2 (ja) * 2015-07-23 2019-08-07 株式会社三共 遊技機
JP6533497B2 (ja) * 2015-07-23 2019-06-19 株式会社三共 遊技機
JP6106721B2 (ja) * 2015-07-28 2017-04-05 京楽産業.株式会社 遊技機
JP6524595B2 (ja) * 2016-10-13 2019-06-05 株式会社サンセイアールアンドディ 遊技機
JP6868286B2 (ja) * 2018-07-11 2021-05-12 株式会社高尾 遊技機
JP7118411B2 (ja) * 2018-07-19 2022-08-16 株式会社高尾 遊技機

Family Cites Families (5)

* Cited by examiner, † Cited by third party
Publication number Priority date Publication date Assignee Title
JP4318952B2 (ja) * 2003-04-28 2009-08-26 株式会社三共 遊技機
JP5234786B2 (ja) * 2009-01-15 2013-07-10 株式会社三共 遊技機
JP5694081B2 (ja) * 2011-08-09 2015-04-01 株式会社大都技研 遊技台
JP2012254326A (ja) * 2012-08-27 2012-12-27 Sophia Co Ltd 遊技機
JP5229654B1 (ja) * 2012-11-27 2013-07-03 株式会社大都技研 遊技台

Also Published As

Publication number Publication date
JP2015019682A (ja) 2015-02-02

Similar Documents

Publication Publication Date Title
JP5906219B2 (ja) 遊技機
JP6040407B2 (ja) 遊技機
JP5700432B2 (ja) 遊技機
JP2015073703A (ja) 遊技機
JP6281071B2 (ja) 遊技機
JP2014226242A (ja) 遊技機
JP2018089484A (ja) 遊技機
JP2015019684A (ja) 遊技機
JP2015019680A (ja) 遊技機
JP2015073702A (ja) 遊技機
JP6281072B2 (ja) 遊技機
JP2014018235A (ja) 遊技機
JP6281070B2 (ja) 遊技機
JP6335206B2 (ja) 遊技機
JP2014226243A (ja) 遊技機
JP6471325B2 (ja) 遊技機
JP2014018236A (ja) 遊技機
JP2017159101A (ja) 遊技機
JP2015019683A (ja) 遊技機
JP2015073701A (ja) 遊技機
JP2019022853A (ja) 遊技機
JP6286706B2 (ja) 遊技機
JP6471315B2 (ja) 遊技機
JP2018158259A (ja) 遊技機
JP2014226245A (ja) 遊技機

Legal Events

Date Code Title Description
A621 Written request for application examination

Free format text: JAPANESE INTERMEDIATE CODE: A621

Effective date: 20141218

A977 Report on retrieval

Free format text: JAPANESE INTERMEDIATE CODE: A971007

Effective date: 20151118

A131 Notification of reasons for refusal

Free format text: JAPANESE INTERMEDIATE CODE: A131

Effective date: 20151124

A521 Written amendment

Free format text: JAPANESE INTERMEDIATE CODE: A523

Effective date: 20160115

A131 Notification of reasons for refusal

Free format text: JAPANESE INTERMEDIATE CODE: A131

Effective date: 20160209

A521 Written amendment

Free format text: JAPANESE INTERMEDIATE CODE: A523

Effective date: 20160331

A02 Decision of refusal

Free format text: JAPANESE INTERMEDIATE CODE: A02

Effective date: 20160517

A521 Written amendment

Free format text: JAPANESE INTERMEDIATE CODE: A523

Effective date: 20160810

A911 Transfer to examiner for re-examination before appeal (zenchi)

Free format text: JAPANESE INTERMEDIATE CODE: A911

Effective date: 20160817

TRDD Decision of grant or rejection written
A01 Written decision to grant a patent or to grant a registration (utility model)

Free format text: JAPANESE INTERMEDIATE CODE: A01

Effective date: 20161004

A61 First payment of annual fees (during grant procedure)

Free format text: JAPANESE INTERMEDIATE CODE: A61

Effective date: 20161007

R150 Certificate of patent or registration of utility model

Ref document number: 6040407

Country of ref document: JP

Free format text: JAPANESE INTERMEDIATE CODE: R150

R250 Receipt of annual fees

Free format text: JAPANESE INTERMEDIATE CODE: R250

R250 Receipt of annual fees

Free format text: JAPANESE INTERMEDIATE CODE: R250

R250 Receipt of annual fees

Free format text: JAPANESE INTERMEDIATE CODE: R250

R250 Receipt of annual fees

Free format text: JAPANESE INTERMEDIATE CODE: R250