JP6004367B2 - 車両用空調装置 - Google Patents

車両用空調装置 Download PDF

Info

Publication number
JP6004367B2
JP6004367B2 JP2012011893A JP2012011893A JP6004367B2 JP 6004367 B2 JP6004367 B2 JP 6004367B2 JP 2012011893 A JP2012011893 A JP 2012011893A JP 2012011893 A JP2012011893 A JP 2012011893A JP 6004367 B2 JP6004367 B2 JP 6004367B2
Authority
JP
Japan
Prior art keywords
heat exchanger
air
indoor heat
duct
path
Prior art date
Legal status (The legal status is an assumption and is not a legal conclusion. Google has not performed a legal analysis and makes no representation as to the accuracy of the status listed.)
Expired - Fee Related
Application number
JP2012011893A
Other languages
English (en)
Other versions
JP2013151183A (ja
Inventor
高橋 康文
康文 高橋
Current Assignee (The listed assignees may be inaccurate. Google has not performed a legal analysis and makes no representation or warranty as to the accuracy of the list.)
Panasonic Intellectual Property Management Co Ltd
Original Assignee
Panasonic Intellectual Property Management Co Ltd
Priority date (The priority date is an assumption and is not a legal conclusion. Google has not performed a legal analysis and makes no representation as to the accuracy of the date listed.)
Filing date
Publication date
Application filed by Panasonic Intellectual Property Management Co Ltd filed Critical Panasonic Intellectual Property Management Co Ltd
Priority to JP2012011893A priority Critical patent/JP6004367B2/ja
Publication of JP2013151183A publication Critical patent/JP2013151183A/ja
Application granted granted Critical
Publication of JP6004367B2 publication Critical patent/JP6004367B2/ja
Expired - Fee Related legal-status Critical Current
Anticipated expiration legal-status Critical

Links

Images

Landscapes

  • Air-Conditioning For Vehicles (AREA)

Description

本発明は、少なくとも暖房運転を実行可能な車両用空調装置に関する。
従来、例えばガソリンエンジンを備える自動車では、冷房にヒートポンプが用いられる一方、暖房にエンジンの廃熱が利用されていた。近年では、エンジンの廃熱量が少ないハイブリッド車、およびエンジンの廃熱が利用できない電気自動車が普及してきており、これに合わせて冷房だけでなく暖房にもヒートポンプを用いるようにした車両用空調装置が開発されてきている。例えば、特許文献1には、図6(a)に示すような車両用空調装置100が開示されている。
この車両用空調装置100は、冷媒が一方向のみに流れるヒートポンプ回路110を備えている。ヒートポンプ回路110は、圧縮機121、第1室内熱交換器131、第1膨張弁122、室外熱交換器133、第2膨張弁123および第2室内熱交換器132を含み、これらの機器は流路によってこの順に接続されている。また、ヒートポンプ回路110には、第1膨張弁122をバイパスする短絡路と第2膨張弁123をバイパスする短絡路とが設けられており、これらの短絡路には第1開閉弁141および第2開閉弁142がそれぞれ設けられている。
特許第3433297号公報
しかしながら、図6(a)に示す車両用空調装置100では、作動条件によっては暖房運転時に室外熱交換器133での外気からの吸熱が不十分となることがあり、その場合には暖房能力が不足する。
本発明は、このような事情に鑑み、暖房能力を向上させることができる車両用空調装置を提供することを目的とする。
前記課題を解決するために、本発明の車両用空調装置は、少なくとも暖房運転を実行可能な車両用空調装置であって、車室外から外気を導入するための外気導入口および車室内に空気を吹き出すための吹出口を有するダクトと、前記ダクト内に前記外気導入口から前記吹出口に向かう空気の流れを生じさせる送風機と、冷媒を循環させるヒートポンプ回路であって、暖房運転時に前記ダクト内を流れる空気を加熱する第1室内熱交換器、暖房運転時に前記ダクト内を流れる空気を冷却する第2室内熱交換器、および車室外に配置された室外熱交換器、を含むヒートポンプ回路と、を備え、前記ダクトには、前記第2室内熱交換器を通過した空気を車室外に排出するための排気口が設けられている、ことを特徴とする。
上記の構成によれば、室外熱交換器だけでなく第2室内熱交換でも外気から吸熱し、この熱を暖房に使用することができるため、暖房能力を向上させることができる。
本発明の第1実施形態に係る車両用空調装置の構成図 ダクト内の別の構成を示す断面図 ダクト内のさらに別の構成を示す断面図 第1実施形態の変形例の車両用空調装置の構成図 本発明の第2実施形態に係る車両用空調装置の構成図 (a)は従来の車両用空調装置の構成図、(b)は同車両用空調装置に用いられるダンパを示す説明図
図6(a)に示す車両用空調装置100では、第1室内熱交換器131および第2室内熱交換器132は、内気または外気を選択的に流すためのダクト150内に配置されている。ダクト150内には図略の送風機によって第2室内熱交換器132側の一端から内気または外気が取り込まれ、その内気または外気が第1室内熱交換器131側の他端から車室内に吹き出される。すなわち、第2室内熱交換器132は、第1室内熱交換器131よりも風上側に位置している。
また、ダクト150内には、図6(b)に示すように、第2室内熱交換器132の風上側に第1ダンパ161が配設され、第1室内熱交換器131の風上側に第2ダンパ162が配設されている。
このような構成の車両空調装置100では、冷房運転時は、第1開閉弁141が開かれ、第2開閉弁142が閉じられる。また、第1ダンパ161および第2ダンパ162は、図6(b)中に実線で示す位置にセットされる。これにより、圧縮機121から吐出された冷媒は、第1室内熱交換器131で放熱することなく室外熱交換器133に流入し、ここで放熱した後に第2膨張弁142で膨張される。膨張された冷媒は、第2室内熱交換器132で吸熱した後に圧縮機121に吸入される。
一方、暖房運転時は、第1開閉弁141が閉じられ、第2開閉弁142が開かれる。また、第1ダンパ161および第2ダンパ162は、図6(b)中に二点鎖線で示す位置にセットされる。これにより、圧縮機121から吐出された冷媒は、第1室内熱交換器131で放熱し、第1膨張弁122で膨張される。膨張された冷媒は、室外熱交換器133に流入し、ここで吸熱した後に第2室内熱交換器132でさらに吸熱することなく圧縮機121に吸入される。
しかしながら、図6(a)に示す車両用空調装置100では、暖房運転時に第2室内熱交換132で外気から吸熱すること(ましてやこの熱を暖房に使用すること)ができない。
これに対し、本発明の車両用空調装置は、室外熱交換器だけでなく第2室内熱交換でも外気から吸熱し、この熱を暖房に使用する構成となっている。
以下、本発明の実施形態について、図面を参照しながら説明する。ただし、本発明は以下の実施形態によって限定されるものではない。
(第1実施形態)
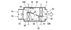
図1に、本発明の第1実施形態に係る車両用空調装置1Aを示す。この車両用空調装置1Aは、暖房運転および冷房運転を実行可能なものであり、図略の車室内に外気を取り込んだり内気を循環したりするためのダクト5と、冷媒を循環させるヒートポンプ回路10Aと、制御装置7(図1では図面の簡略化のために信号線の一部のみを作図)とを備えている。なお、図1はダクト5の形状を模式的に表すものであり、ダクト5の実際の形状は、当該ダクト5が設置されるスペースに合わせて膨らんでいたりうねっていたりしていてもよい。
ダクト5は、一方の端部に、車室外からダクト5内に外気を導入するための外気導入口5aと車室内からダクト5内に内気を導入するための内気導入口5bとを有しており、他方の端部に、温度調整された空気を車室内に吹き出すための吹出口5cを有している。なお、図示は省略するが、外気導入口5aおよび内気導入口5bの近傍には、外気導入口5aからダクト5内に導入される外気の量と内気導入口5bからダクト5内に導入される内気の量の比率を調整する吸気ダンパ(または吸気シャッター)が配置されている。また、吹出口5cは、デフロスタ吹出口、フェイス吹出口およびフット吹出口など複数に分岐していてもよい。
ダクト5内には、当該ダクト5の一方の端部から他方の端部に向かう空気の流れを生じさせる送風機51が配置されている。送風機51は、ブロワであってもよいしファンであってもよい。また、送風機51は、外気導入口5aおよび内気導入口5bの近くではなく、吹出口5cの近くに配置することも可能である。
ヒートポンプ回路10Aは、ループ状の室内熱交換回路2と、3つの線状の流路である室外熱交換路3、第1連絡路4A、第2連絡路4Bを含む。ヒートポンプ回路10Aに循環する冷媒としては、R134a、R410A、HFO−1234yf、HFO−1234ze、CO2などに加え、他のHFC系、HC系などが利用できる。
室内熱交換回路2は、圧縮機21、第1室内熱交換器22、第1膨張弁23および第2室内熱交換器24を含み、これらの機器は冷媒配管によりこの順に接続されている。また、室内熱交換回路2には、第2室内熱交換器24と圧縮機21の間にアキュムレータ25が設けられている。
圧縮機21は、図略の電動モータにより駆動され、吸入口から吸入した冷媒を圧縮して吐出口から吐出する。電動モータは、圧縮機21の内部に配置されていてもよいし、外部に配置されていてもよい。例えば電気自動車では、電動モータが車両走行用のモータであってもよい。
第1室内熱交換器22および第2室内熱交換器24は、ダクト5内に配置されている。そして、第1室内熱交換器22および第2室内熱交換器24は、送風機51により供給される内気および/または外気と冷媒との間で熱交換を行う。本実施形態では、第1室熱交換器22は暖房運転時および冷房運転時ともに凝縮器として機能し、第2室内熱交換器24は暖房運転時および冷房運転時ともに蒸発器として機能する。ただし、後述するように冷房運転時に第1膨張弁23が全閉に制御される場合は、第1室内熱交換器22は冷房運転時に機能しない。すなわち、第1室内熱交換器22は少なくとも暖房運転時にダクト5内を流れる空気を加熱し、第2室内熱交換器25は暖房運転時および冷房運転時にダクト5内を流れる空気を冷却する。
本実施形態では、ダクト5内に当該ダクト5の内部を第1風路5Aと第2風路5Bとに仕切る仕切壁52が配設されており、第1風路5A内に第1室内熱交換器22が配置され、第2風路5B内に第2室内熱交換器24が配置されている。
第1膨張弁23は、冷媒を膨張させる膨張機構の一例である。なお、膨張機構としては、膨張する冷媒から動力を回収する容積型の膨張機等を採用してもよい。また、膨張弁には開度変化する弁を用いる事が出来、電動膨張弁、開度が2段階以上に変化する弁や、温度式膨張弁などを採用してもよい。
室外熱交換路3は、室外熱交換器31および第2膨張弁32を含む。室外熱交換路3の第2膨張弁32側の一端3aは、第1膨張機構23と第2室内熱交換器24の間で室内熱交換回路2に接続されている。
室外熱交換器31は、車室外(例えば自動車のフロント)に配置され、車両の走行およびファン33により供給される外気と冷媒との間で熱交換を行う。室外熱交換器31は、冷房運転時に凝縮器として機能し、暖房運転時に蒸発器として機能する。第2膨張弁32は、第1膨張弁23と同様に、冷媒を膨張させる膨張機構の一例である。
第1連絡路4Aは、圧縮機21と第1室内熱交換器22の間で室内熱交換回路2から分岐し、室外熱交換路3の室外熱交換器31側の他端3bにつながっている。第2連絡路4Bは、第2室内熱交換器24とアキュムレータ25の間で室内熱交換回路2から分岐し、室外熱交換路3の他端3bにつながっている。本実施形態では、第1連絡路4Aおよび第2連絡路4Bが室外熱交換路3の他端3bとつながる箇所に三方弁41が設けられている。
三方弁41は、本発明の流路選択手段の一例であり、冷房運転時に第1状態(図中の破線矢印で示すように冷媒が流れる状態)に切り換えられ、暖房運転時に第2状態(図中の実線矢印で示すように冷媒が流れる状態)に切り換えられる。三方弁41は、第1状態では室外熱交換路3の他端3bを第1連絡路4Aを通じて室内熱交換回路2に連通させ、第2状態では室外熱交換路3の他端3bを第2連絡路4Bを通じて室内熱交換回路2に連通させる。なお、本発明の流路選択手段としては、三方弁41の代わりに、第1連絡路4Aおよび第2連絡路4Bのそれぞれに設けられた開閉弁を用いることも可能である。
次に、ダクト5およびその内部の構成をより詳しく説明する。
ダクト5には、第2室内熱交換器24を通過した空気を車室外に排出するための排気口53が設けられている。また、ダクト5内には、第2室内熱交換器24を通過した空気のうちのどれだけの量が排気口53を通じて車室外に排出されるかを規定する排気ダンパ61が配設されている。排気ダンパ61は、排気口53を閉じる閉じ位置と第2風路5Bを遮断する遮断位置との間で揺動する。
さらに、ダクト5内には、第1風路5Aを吹き抜ける空気の量を調整する調整ダンパ62が配設されている。調整ダンパ62は、第1風路5Aを遮断する遮断位置と第1風路5Aを全開にする全開位置との間で揺動する。例えば、調整ダンパ62の揺動軸がダクト5の内壁面に取り付けられている場合には全開位置とは調整ダンパ62がダクト5の内壁面に沿う姿勢となる位置であり、調整ダンパ62の揺動軸が仕切壁52に取り付けられている場合には全開位置とは調整ダンパ62が仕切壁52に沿う姿勢となる位置である。
本実施形態では、調整ダンパ62が第1室内熱交換器22の風上側に配置されている。ただし、調整ダンパ62は、図2に示すように第1室内熱交換器22の風下側に配置されていてもよい。
上述した圧縮機21および各種の弁23,32,41、ならびに排気ダンパ61および調整ダンパ62は、制御装置7により制御される。制御装置7は、車室内に配置された操作パネル(図示せず)と接続されており、暖房運転および冷房運転を行う。以下、各運転時の車両用空調装置1Aの動作を説明する。
<暖房運転>
暖房運転時、制御装置7は三方弁41を第2状態に切り換える。これにより、第1連絡路4Aを通じた冷媒の流通が禁止され、第2連絡路4Bを通じた冷媒の流通が許可される。
圧縮機21から吐出された冷媒は、図1中に実線矢印で示すように、第1室内熱交換器22および第1膨張弁23を通過した後に2つの支流に分かれる。それらの支流は、第2膨張弁32および室外熱交換器31と第2室内熱交換器24を別々に通過した後に合流し、再度圧縮機21に吸入される。
例えば、暖房運転時にダクト5内に流れる空気は外気100%である。この場合、ダクト5内には外気導入口5aのみから外気が導入される。調整ダンパ62は全開位置にセットされる。これにより、ダクト5内に導入された外気は、第1風路5Aと第2風路5Bとに別々に流れ込む。
第1風路5Aに流れ込んだ外気は、第1室内熱交換器22により加熱された後に吹出口5cから車室内に吹き出される。これにより、車室内の暖房が行われる。一方、第2風路5Bでは、排気ダンパ61が遮断位置にセットされる。このため、第2風路5Bに流れ込んだ外気は、第2室内熱交換器24により冷却された後に排気口53から車室外に排出される。すなわち、第2室内熱交換器24は、もう1つの室外熱交換器として働くため、暖房能力を向上させることができる。
なお、第1膨張弁23は、圧縮機21に吸入される冷媒が所定の過熱状態となるように調整される。一方、第2膨張弁32は、第2室内熱交換器24に流れる冷媒量と室外熱交換器31に流れる冷媒量の比率が適切になるように調整される。例えば、一般に室外熱交換器31は第2室内熱交換器24に比べて大きなサイズを有するため、そのサイズの違いに応じて冷媒の分配率を決定してもよい。
ところで、暖房運転時にダクト5内に流れる空気は必ずしも外気100%である必要はなく、内気と外気の混合気であってもよい。この場合、排気ダンパ61を閉じ位置と遮断位置の間の中間位置にセットすれば、外気だけでなく内気も第2室内熱交換器24で冷却され、冷却された内気が車室内に吹き出されるため、ダクト5を通じて循環する内気を第2室内熱交換器24で除湿することができる。例えば、排気ダンパ61がセットされるべき中間位置は、吹出口5cから車室内に吹き出される空気の温度に応じて変更される。
なお、暖房運転中に室外熱交換器31に霜が付着した場合には、排気ダンパ61を遮断位置にセットしたままで三方弁41を第2状態から第1状態に切り換えれば、室外熱交換器31の除霜を行いながら車室内の暖房を行うことができる。
<冷房運転>
冷房運転時、制御装置7は三方弁41を第1状態に切り換える。これにより、第1連絡路4Aを通じた冷媒の流通が許可され、第2連絡路4Bを通じた冷媒の流通が禁止される。
制御装置7は、除湿を重視しない場合、第1膨張弁23を全閉または低開度に制御する。これにより、圧縮機21から吐出された冷媒の全量または殆どは、室外熱交換器31、第2膨張弁32および第2室内熱交換器24をこの順に直列に通過し、再度圧縮機21に吸入される。第2膨張弁32は、圧縮機21に吸入される冷媒が所定の過熱状態となるように調整される。
例えば、冷房運転時にダクト5内に流れる空気は内気100%である。この場合、ダクト5内には内気導入口5bのみから内気が導入される。調整ダンパ62は遮断位置にセットされる。これにより、ダクト5内に導入された内気は、第2風路5Bのみに流れ込む。
第2風路5Bでは、排気ダンパ61が閉じ位置にセットされる。このため、第2風路5Bに流れ込んだ内気は、第2室内熱交換器24により冷却された後に吹出口5cから車室内に吹き出される。これにより、車室内の冷房が行われる。
除湿を重視する場合、制御装置7は、第1膨張弁23および第2膨張弁32の双方によって冷媒を膨張させる。すなわち、圧縮機21から吐出された冷媒は、図中に破線矢印で示すように、まず2つの支流に分かれる。一方の支流は、室外熱交換器31および第2膨張弁32を通過し、他方の支流は、第1室内熱交換器22および第1膨張弁23を通過する。その後、それらの支流が合流する。合流後の冷媒は、第2室内熱交換器24を通過した後に再度圧縮機21に吸入される。第2膨張弁32は、圧縮機21に吸入される冷媒が所定の過熱状態となるように調整される。一方、第1膨張弁23は、第1室内熱交換器22から流出する冷媒が所定の過冷却状態となるように調整される。
ダクト5内では、排気ダンパ61が閉じ位置にセットされ、調整ダンパ62が遮断位置と全開位置の間の中間位置にセットされる。これにより、第2室内熱交換器24で過度に冷却された内気が第1室内熱交換器22で加熱された内気と混合して温められる。例えば、調整ダンパ62がセットされるべき中間位置は、吹出口5cから車室内に吹き出される空気の温度に応じて変更される。
なお、冷房運転時にダクト5内に流れる空気は必ずしも内気100%である必要はなく、内気と外気の混合気であってもよい。
<変形例>
前記実施形態の車両用空調装置1Aは種々の変形が可能である。
例えば、図3に示すように、ダクト5内に配設された仕切壁52は、第2室内熱交換器24に隣接する風上部52Aと第1室内熱交換器22に隣接する風下部52Bに分割され、それらの間に連通口54が形成されていてもよい。この場合、ダクト5内には、連通口54を閉じたり、連通口54を開いて第2室内熱交換器24を通過した空気を第1風路5Aに流入させたりするように揺動するバイパスバンパ63が配設される。このような構成であれば、暖房運転時および冷房運転時に第2室内熱交換器24で除湿した空気を第1室内熱交換器22で加熱することができる。
また、図4に示すように、室内熱交換回路2には、第2室内熱交換器24と第2連絡路4Bが分岐する位置との間に減圧弁26が設けられていてもよい。この減圧弁26は、第2室内熱交換器24から流出した冷媒を所定の圧力まで減圧する減圧状態と、そのまま通過させる非減圧状態とに切り換え可能なものである。
前記実施形態で説明したとおり、第2室内熱交換器24は暖房運転時にもう1つの室外熱交換器として働く。図4に示す構成では、第2室内熱交換器24の下流側に減圧弁26が配置されているため、この減圧弁26を減圧状態に切り換えれば、第2室内熱交換器24の冷媒の温度を室外熱交換器31の冷媒の温度よりも高くすることができる。これにより、第2室内熱交換器24に付着した氷を溶かしたり、第2室内熱交換器24への氷の付着を未然に防いだりすることができる。なお、減圧弁26は、冷房運転時に非減圧状態に切り換えられる。
なお、減圧弁26の代わりに、オリフィスやキャピラリーチューブなどの固定絞りとこれをバイパスする開閉弁付のバイパス路とで構成される減圧機構を採用してもよい。
(第2実施形態)
図5に、本発明の第2実施形態に係る車両用空調装置1Bを示す。なお、本実施形態では、第1実施形態と同一構成部分には同一符号を付し、その説明を省略することがある。
本実施形態の車両用空調装置1Bは、冷媒の流れる方向が一定のヒートポンプ回路10Bを備えている。このヒートポンプ回路10Bは、圧縮機21、第1室内熱交換器22、第1膨張弁81、室外熱交換器31、第2膨張弁82および第2室内熱交換器24を含み、これらの機器は冷媒配管によりこの順に接続されている。また、ヒートポンプ回路10Bには、第2室内熱交換器24と圧縮機21の間にアキュムレータ25が設けられている。
暖房運転時、第2膨張弁82が全開に制御され、第1膨張弁81が所定の開度に制御される。このため、第1室内熱交換器22が凝縮器として機能し、室外熱交換器31および第2室内熱交換器24が蒸発器として機能する。一方、冷房運転時、第1膨張弁81が全開に制御され、第2膨張弁82が所定の開度に制御される。このため、第1室内熱交換器22および室外熱交換器31が凝縮器として機能し、第2室内熱交換器24が蒸発器として機能する。なお、ダクト5およびその内部の構成については第1実施形態と同様である。
図5に示すヒートポンプ回路10Bでも、第1実施形態と同様の効果を得ることができる。すなわち、本発明におけるヒートポンプ回路は特に限定されるものではない。例えば冷房運転時に第1室内熱交換器22が蒸発器として機能するように構成されたヒートポンプ回路を採用することも可能である。
なお、暖房運転中に室外熱交換器31に霜が付着した場合には、排気ダンパ61を遮断位置にセットしたままで第1膨張弁81と第2膨張弁82の操作を逆にすれば、室外熱交換器31の除霜を行いながら車室内の暖房を行うことができる。
(その他の実施形態)
前記実施形態の車両用空調装置1A,1Bは暖房運転および冷房運転の双方が実行可能なものであったが、本発明の車両用空調装置は暖房運転のみを実行可能なものであってもよい。例えば、本発明の車両用空調装置は、図5に示す車両用空調装置1Bから第2膨張弁82および内気導入口5bを省略したものであってもよい。
また、ダクト5内には必ずしも仕切壁52が配設されている必要はない。
1A,1B 車両用空調装置
10A,10B ヒートポンプ回路
21 圧縮機
22 第1室内熱交換器
23 第1膨張弁(第1膨張機構)
24 第2室内熱交換器
3 室外熱交換路
3a 一端
3b 他端
31 室外熱交換器
32 第2膨張弁(第2膨張機構)
4A 第1連絡路
4B 第2連絡路
41 三方弁(流路変更手段)
5 ダクト
5a 外気導入口
5b 内気導入口
5c 吹出口
5A 第1風路
5B 第2風路
51 送風機
52 仕切壁
52A 風上部
52B 風下部
53 排気口
54 連通口
61 排気ダンパ
62 調整ダンパ
63 バイパスダンパ

Claims (7)

  1. 暖房運転を実行可能な車両用空調装置であって、
    車室外から外気を導入するための外気導入口、車室内から内気を導入するための内気導入口、前記外気の量と前記内気の量との比率を調整する吸気機構および車室内に空気を吹き出すための吹出口を有するダクトと、
    前記ダクト内に配設された、当該ダクトの内部を第1風路と第2風路とに仕切る仕切壁と、
    前記ダクト内に、前記吸気機構から前記吹出口に向かう前記内気と前記外気の混合空気の流れを生じさせる送風機と、
    冷媒を循環させるヒートポンプ回路であって、暖房運転時に前記ダクト内を流れる空気を加熱する第1室内熱交換器、暖房運転時に前記ダクト内を流れる空気を冷却する第2室内熱交換器、および暖房運転時に蒸発器として機能する車室外に配置された室外熱交換器、を含むヒートポンプ回路と、を備え、
    前記第1室内熱交換器は前記第1風路内に配置され、前記第2室内熱交換器は前記第2風路内に配置され、
    前記ダクトには、前記第2室内熱交換器を通過した空気を車室外に排出するための排気口が設けられ、
    前記第2室内熱交換器を通過した空気のうちのどれだけの量が前記排気口を通じて車室外に排出されるかを決定する排気ダンパをさらに備えており
    前記ヒートポンプ回路は、
    圧縮機、前記第1室内熱交換器、第1膨張機構および前記第2室内熱交換器がこの順に接続された室内熱交換回路と、
    前記室外熱交換器および第2膨張機構を含み、前記第2膨張機構側の一端が前記第1膨張機構と前記第2室内蒸発器の間で前記室内熱交換回路に接続された室外熱交換路と、
    前記圧縮機と前記第1室内熱交換器の間で前記室内熱交換回路から分岐して前記室外熱交換路の前記室外熱交換器側の他端につながる第1連絡路と、
    前記第2室内熱交換器と前記圧縮機の間で前記室内熱交換回路から分岐して前記室外熱交換路の他端につながる第2連絡路と、を含み、
    冷房運転時に前記室外熱交換路の他端を前記第1連絡路を通じて前記室内熱交換回路に連通させる第1状態に切り換えられ、暖房運転時に前記室外熱交換路の他端を前記第2連絡路を通じて前記室内熱交換回路に連通させる第2状態に切り換えられる流路選択手段をさらに備える、車両用空調装置。
  2. 前記ダクト内に配設された、前記第1風路を吹き抜ける空気の量を調整する調整ダンパをさらに備える、請求項に記載の車両用空調装置。
  3. 前記調整ダンパは、前記第1風路を遮断する遮断位置と、前記第1風路を全開にする全開位置との間で揺動する、請求項に記載の車両用空調装置。
  4. 前記調整ダンパは、前記第1室内熱交換器の風下側に配置されている、請求項またはに記載の車両用空調装置。
  5. 前記調整ダンパは、前記第1室内熱交換器の風上側に配置されている、請求項またはに記載の車両用空調装置。
  6. 前記仕切壁は、前記第2室内熱交換器に隣接する風上部と、前記第1室内熱交換器に隣接する風下部に分割され、それらの間に連通口が形成されており、
    前記連通口を閉じたり、前記連通口を開いて前記第2室内熱交換器を通過した空気を前記第1風路に流入させたりするように揺動するバイパスダンパをさらに備える、請求項に記載の車両用空調装置。
  7. 前記車両用空調装置は、冷房運転をも実行可能であり、
    前記排気ダンパは、冷房運転時に前記閉じ位置にセットされる、請求項の何れか一項に記載の車両用空調装置。

JP2012011893A 2012-01-24 2012-01-24 車両用空調装置 Expired - Fee Related JP6004367B2 (ja)

Priority Applications (1)

Application Number Priority Date Filing Date Title
JP2012011893A JP6004367B2 (ja) 2012-01-24 2012-01-24 車両用空調装置

Applications Claiming Priority (1)

Application Number Priority Date Filing Date Title
JP2012011893A JP6004367B2 (ja) 2012-01-24 2012-01-24 車両用空調装置

Publications (2)

Publication Number Publication Date
JP2013151183A JP2013151183A (ja) 2013-08-08
JP6004367B2 true JP6004367B2 (ja) 2016-10-05

Family

ID=49047959

Family Applications (1)

Application Number Title Priority Date Filing Date
JP2012011893A Expired - Fee Related JP6004367B2 (ja) 2012-01-24 2012-01-24 車両用空調装置

Country Status (1)

Country Link
JP (1) JP6004367B2 (ja)

Families Citing this family (10)

* Cited by examiner, † Cited by third party
Publication number Priority date Publication date Assignee Title
WO2016036079A1 (ko) * 2014-09-01 2016-03-10 한온시스템 주식회사 차량용 히트 펌프 시스템
JP6592466B2 (ja) 2016-01-18 2019-10-16 ハンオン システムズ 車両用空調システム
KR102533421B1 (ko) * 2016-01-18 2023-05-18 한온시스템 주식회사 차량용 공조 시스템
WO2018235765A1 (ja) * 2017-06-23 2018-12-27 パナソニックIpマネジメント株式会社 車両用空調装置
JP2020019352A (ja) * 2018-07-31 2020-02-06 サンデンホールディングス株式会社 車両用空気調和装置
EP4019860A4 (en) * 2019-09-30 2022-10-05 Daikin Industries, Ltd. Heat treatment system
CN111114239B (zh) * 2019-12-31 2021-11-05 北京新能源汽车股份有限公司 空调系统、车辆及空调系统的控制方法
CN113650477B (zh) * 2021-09-17 2023-06-06 珠海格力电器股份有限公司 热泵空调系统及其控制方法、电动车辆
CN114435069B (zh) * 2022-01-13 2023-07-18 武汉格罗夫氢能汽车有限公司 基于二次回风混风的多温区空调箱及热泵系统总成
WO2025115557A1 (ja) * 2023-12-01 2025-06-05 株式会社デンソー 車両用ヒートポンプシステム、車両用空調装置

Family Cites Families (5)

* Cited by examiner, † Cited by third party
Publication number Priority date Publication date Assignee Title
JPS5726010A (en) * 1980-07-24 1982-02-12 Mitsubishi Heavy Ind Ltd Air conditioning device for automobile
JPH0416125Y2 (ja) * 1986-03-17 1992-04-10
JP3433297B2 (ja) * 1992-12-16 2003-08-04 株式会社ゼクセルヴァレオクライメートコントロール 空気調和装置
JP3325421B2 (ja) * 1995-03-07 2002-09-17 カルソニックカンセイ株式会社 電気自動車用冷暖房装置
JPH10100662A (ja) * 1996-09-25 1998-04-21 Calsonic Corp 自動車用空気調和装置

Also Published As

Publication number Publication date
JP2013151183A (ja) 2013-08-08

Similar Documents

Publication Publication Date Title
JP6004367B2 (ja) 車両用空調装置
US9931905B2 (en) Air conditioning device for vehicle
JP6167416B2 (ja) 車両用空調装置
JP6323489B2 (ja) ヒートポンプシステム
JP6794964B2 (ja) 冷凍サイクル装置
JP5611072B2 (ja) ヒートポンプ式車両用空調装置およびその除霜方法
JP6030226B2 (ja) 車両用空調装置
JP7173064B2 (ja) 熱管理システム
JP6075058B2 (ja) 冷凍サイクル装置
JP2014156143A (ja) 車両用空調装置
JP5884080B2 (ja) 車両用空調装置
JP7017119B2 (ja) 冷却装置
JP6922856B2 (ja) 冷凍サイクル装置
JP2014034301A (ja) 冷凍サイクル装置
JP5510374B2 (ja) 熱交換システム
JP2010125912A (ja) 車両用空調装置
JP5040898B2 (ja) 車両用空調装置
JP2012245849A (ja) 車両用空調装置
WO2017022421A1 (ja) ヒートポンプシステム
JP6853138B2 (ja) 車両用空調装置
WO2025115557A1 (ja) 車両用ヒートポンプシステム、車両用空調装置
JP2014000905A (ja) ヒートポンプサイクル
JP2015196475A (ja) 車両用空調装置
KR20160064332A (ko) 차량용 히트 펌프 시스템

Legal Events

Date Code Title Description
A621 Written request for application examination

Free format text: JAPANESE INTERMEDIATE CODE: A621

Effective date: 20140930

A711 Notification of change in applicant

Free format text: JAPANESE INTERMEDIATE CODE: A711

Effective date: 20141022

A977 Report on retrieval

Free format text: JAPANESE INTERMEDIATE CODE: A971007

Effective date: 20150526

A131 Notification of reasons for refusal

Free format text: JAPANESE INTERMEDIATE CODE: A131

Effective date: 20150616

A521 Request for written amendment filed

Free format text: JAPANESE INTERMEDIATE CODE: A523

Effective date: 20150723

A131 Notification of reasons for refusal

Free format text: JAPANESE INTERMEDIATE CODE: A131

Effective date: 20160112

A521 Request for written amendment filed

Free format text: JAPANESE INTERMEDIATE CODE: A523

Effective date: 20160303

TRDD Decision of grant or rejection written
A01 Written decision to grant a patent or to grant a registration (utility model)

Free format text: JAPANESE INTERMEDIATE CODE: A01

Effective date: 20160809

A61 First payment of annual fees (during grant procedure)

Free format text: JAPANESE INTERMEDIATE CODE: A61

Effective date: 20160829

R151 Written notification of patent or utility model registration

Ref document number: 6004367

Country of ref document: JP

Free format text: JAPANESE INTERMEDIATE CODE: R151

LAPS Cancellation because of no payment of annual fees