JP5975809B2 - 二重窓ガラス構造体 - Google Patents

二重窓ガラス構造体 Download PDF

Info

Publication number
JP5975809B2
JP5975809B2 JP2012200148A JP2012200148A JP5975809B2 JP 5975809 B2 JP5975809 B2 JP 5975809B2 JP 2012200148 A JP2012200148 A JP 2012200148A JP 2012200148 A JP2012200148 A JP 2012200148A JP 5975809 B2 JP5975809 B2 JP 5975809B2
Authority
JP
Japan
Prior art keywords
plate glass
glass
plate
frame
desiccant
Prior art date
Legal status (The legal status is an assumption and is not a legal conclusion. Google has not performed a legal analysis and makes no representation as to the accuracy of the status listed.)
Active
Application number
JP2012200148A
Other languages
English (en)
Other versions
JP2014055427A (ja
Inventor
歩 三橋
歩 三橋
伊東 良和
良和 伊東
Current Assignee (The listed assignees may be inaccurate. Google has not performed a legal analysis and makes no representation or warranty as to the accuracy of the list.)
Yachiyo Industry Co Ltd
Original Assignee
Yachiyo Industry Co Ltd
Priority date (The priority date is an assumption and is not a legal conclusion. Google has not performed a legal analysis and makes no representation as to the accuracy of the date listed.)
Filing date
Publication date
Application filed by Yachiyo Industry Co Ltd filed Critical Yachiyo Industry Co Ltd
Priority to JP2012200148A priority Critical patent/JP5975809B2/ja
Priority to US13/953,791 priority patent/US8689499B2/en
Publication of JP2014055427A publication Critical patent/JP2014055427A/ja
Application granted granted Critical
Publication of JP5975809B2 publication Critical patent/JP5975809B2/ja
Active legal-status Critical Current
Anticipated expiration legal-status Critical

Links

Images

Classifications

    • EFIXED CONSTRUCTIONS
    • E06DOORS, WINDOWS, SHUTTERS, OR ROLLER BLINDS IN GENERAL; LADDERS
    • E06BFIXED OR MOVABLE CLOSURES FOR OPENINGS IN BUILDINGS, VEHICLES, FENCES OR LIKE ENCLOSURES IN GENERAL, e.g. DOORS, WINDOWS, BLINDS, GATES
    • E06B7/00Special arrangements or measures in connection with doors or windows
    • E06B7/12Measures preventing the formation of condensed water
    • EFIXED CONSTRUCTIONS
    • E06DOORS, WINDOWS, SHUTTERS, OR ROLLER BLINDS IN GENERAL; LADDERS
    • E06BFIXED OR MOVABLE CLOSURES FOR OPENINGS IN BUILDINGS, VEHICLES, FENCES OR LIKE ENCLOSURES IN GENERAL, e.g. DOORS, WINDOWS, BLINDS, GATES
    • E06B3/00Window sashes, door leaves, or like elements for closing wall or like openings; Layout of fixed or moving closures, e.g. windows in wall or like openings; Features of rigidly-mounted outer frames relating to the mounting of wing frames
    • E06B3/04Wing frames not characterised by the manner of movement
    • E06B3/06Single frames
    • E06B3/24Single frames specially adapted for double glazing
    • EFIXED CONSTRUCTIONS
    • E06DOORS, WINDOWS, SHUTTERS, OR ROLLER BLINDS IN GENERAL; LADDERS
    • E06BFIXED OR MOVABLE CLOSURES FOR OPENINGS IN BUILDINGS, VEHICLES, FENCES OR LIKE ENCLOSURES IN GENERAL, e.g. DOORS, WINDOWS, BLINDS, GATES
    • E06B3/00Window sashes, door leaves, or like elements for closing wall or like openings; Layout of fixed or moving closures, e.g. windows in wall or like openings; Features of rigidly-mounted outer frames relating to the mounting of wing frames
    • E06B3/54Fixing of glass panes or like plates
    • E06B3/58Fixing of glass panes or like plates by means of borders, cleats, or the like
    • E06B3/5807Fixing of glass panes or like plates by means of borders, cleats, or the like not adjustable
    • E06B3/5814Fixing of glass panes or like plates by means of borders, cleats, or the like not adjustable together with putty or fixed by glue
    • EFIXED CONSTRUCTIONS
    • E06DOORS, WINDOWS, SHUTTERS, OR ROLLER BLINDS IN GENERAL; LADDERS
    • E06BFIXED OR MOVABLE CLOSURES FOR OPENINGS IN BUILDINGS, VEHICLES, FENCES OR LIKE ENCLOSURES IN GENERAL, e.g. DOORS, WINDOWS, BLINDS, GATES
    • E06B3/00Window sashes, door leaves, or like elements for closing wall or like openings; Layout of fixed or moving closures, e.g. windows in wall or like openings; Features of rigidly-mounted outer frames relating to the mounting of wing frames
    • E06B3/66Units comprising two or more parallel glass or like panes permanently secured together
    • E06B3/6617Units comprising two or more parallel glass or like panes permanently secured together one of the panes being larger than another
    • EFIXED CONSTRUCTIONS
    • E06DOORS, WINDOWS, SHUTTERS, OR ROLLER BLINDS IN GENERAL; LADDERS
    • E06BFIXED OR MOVABLE CLOSURES FOR OPENINGS IN BUILDINGS, VEHICLES, FENCES OR LIKE ENCLOSURES IN GENERAL, e.g. DOORS, WINDOWS, BLINDS, GATES
    • E06B3/00Window sashes, door leaves, or like elements for closing wall or like openings; Layout of fixed or moving closures, e.g. windows in wall or like openings; Features of rigidly-mounted outer frames relating to the mounting of wing frames
    • E06B3/66Units comprising two or more parallel glass or like panes permanently secured together
    • E06B3/663Elements for spacing panes
    • E06B3/66309Section members positioned at the edges of the glazing unit
    • E06B3/66361Section members positioned at the edges of the glazing unit with special structural provisions for holding drying agents, e.g. packed in special containers
    • EFIXED CONSTRUCTIONS
    • E06DOORS, WINDOWS, SHUTTERS, OR ROLLER BLINDS IN GENERAL; LADDERS
    • E06BFIXED OR MOVABLE CLOSURES FOR OPENINGS IN BUILDINGS, VEHICLES, FENCES OR LIKE ENCLOSURES IN GENERAL, e.g. DOORS, WINDOWS, BLINDS, GATES
    • E06B7/00Special arrangements or measures in connection with doors or windows
    • E06B7/14Measures for draining-off condensed water or water leaking-in frame members for draining off condensation water, throats at the bottom of a sash
    • EFIXED CONSTRUCTIONS
    • E06DOORS, WINDOWS, SHUTTERS, OR ROLLER BLINDS IN GENERAL; LADDERS
    • E06BFIXED OR MOVABLE CLOSURES FOR OPENINGS IN BUILDINGS, VEHICLES, FENCES OR LIKE ENCLOSURES IN GENERAL, e.g. DOORS, WINDOWS, BLINDS, GATES
    • E06B3/00Window sashes, door leaves, or like elements for closing wall or like openings; Layout of fixed or moving closures, e.g. windows in wall or like openings; Features of rigidly-mounted outer frames relating to the mounting of wing frames
    • E06B3/66Units comprising two or more parallel glass or like panes permanently secured together
    • E06B3/663Elements for spacing panes
    • E06B3/66309Section members positioned at the edges of the glazing unit
    • E06B2003/66385Section members positioned at the edges of the glazing unit with special shapes
    • EFIXED CONSTRUCTIONS
    • E06DOORS, WINDOWS, SHUTTERS, OR ROLLER BLINDS IN GENERAL; LADDERS
    • E06BFIXED OR MOVABLE CLOSURES FOR OPENINGS IN BUILDINGS, VEHICLES, FENCES OR LIKE ENCLOSURES IN GENERAL, e.g. DOORS, WINDOWS, BLINDS, GATES
    • E06B3/00Window sashes, door leaves, or like elements for closing wall or like openings; Layout of fixed or moving closures, e.g. windows in wall or like openings; Features of rigidly-mounted outer frames relating to the mounting of wing frames
    • E06B3/54Fixing of glass panes or like plates
    • E06B3/56Fixing of glass panes or like plates by means of putty, cement, or adhesives only
    • EFIXED CONSTRUCTIONS
    • E06DOORS, WINDOWS, SHUTTERS, OR ROLLER BLINDS IN GENERAL; LADDERS
    • E06BFIXED OR MOVABLE CLOSURES FOR OPENINGS IN BUILDINGS, VEHICLES, FENCES OR LIKE ENCLOSURES IN GENERAL, e.g. DOORS, WINDOWS, BLINDS, GATES
    • E06B3/00Window sashes, door leaves, or like elements for closing wall or like openings; Layout of fixed or moving closures, e.g. windows in wall or like openings; Features of rigidly-mounted outer frames relating to the mounting of wing frames
    • E06B3/66Units comprising two or more parallel glass or like panes permanently secured together
    • E06B3/663Elements for spacing panes
    • E06B3/66309Section members positioned at the edges of the glazing unit
    • E06B3/66342Section members positioned at the edges of the glazing unit characterised by their sealed connection to the panes
    • EFIXED CONSTRUCTIONS
    • E06DOORS, WINDOWS, SHUTTERS, OR ROLLER BLINDS IN GENERAL; LADDERS
    • E06BFIXED OR MOVABLE CLOSURES FOR OPENINGS IN BUILDINGS, VEHICLES, FENCES OR LIKE ENCLOSURES IN GENERAL, e.g. DOORS, WINDOWS, BLINDS, GATES
    • E06B3/00Window sashes, door leaves, or like elements for closing wall or like openings; Layout of fixed or moving closures, e.g. windows in wall or like openings; Features of rigidly-mounted outer frames relating to the mounting of wing frames
    • E06B3/66Units comprising two or more parallel glass or like panes permanently secured together
    • E06B3/663Elements for spacing panes
    • E06B3/66309Section members positioned at the edges of the glazing unit
    • E06B3/66342Section members positioned at the edges of the glazing unit characterised by their sealed connection to the panes
    • E06B3/66347Section members positioned at the edges of the glazing unit characterised by their sealed connection to the panes with integral grooves or rabbets for holding the panes

Landscapes

  • Engineering & Computer Science (AREA)
  • Structural Engineering (AREA)
  • Civil Engineering (AREA)
  • Architecture (AREA)
  • Securing Of Glass Panes Or The Like (AREA)

Description

本発明は、二重窓ガラス構造体に関し、更に詳細には、建物の窓開口やトップライト(天窓)等のシールドガラス(窓ガラス)として用いられる二重窓ガラス構造体に関する。
建物の窓ガラスとして用いられるペアガラスと呼ばれる二重窓ガラス構造体として、サッシ(窓枠)と、サッシの内方に配置されたスペーサ枠体と、前記スペーサ枠体の一方の側に配置された第1の板ガラスと、前記スペーサ枠体の他方の側に配置された第2の板ガラスとを有し、前記サッシと前記第1の板ガラス及び前記第2の板ガラスとの間に構造用シーリング材が充填され、前記第1の板ガラスと前記第2の板ガラスとの間に、前記構造用シーリング材によって封止されて前記スペーサ枠体によって間隔を設定された密閉構造の断熱空間を形成し、更に前記スペーサ枠体の中空部に粒状のシリカゲル等による乾燥剤が装填されたものが知られている(例えば、特許文献1)。
実開平4−14682号公報
上述のような二重窓ガラス構造体は、サッシとは別にスペーサ枠体が必要であり、部品点数が多く、構造が複雑なものになる。乾燥剤はスペーサ枠体の中空部に装填され、特別な収納容器を必要としないが、乾燥剤を中空部に作業性よく装填できることと、中空部が断熱空間と通気性を有していて乾燥剤が中空部よりこぼれ出ないこととを満足する容器としてスペーサ枠体を構成することが難しい。実際には、スペーサ枠体が、2枚の板ガラスの間隔を設定するスペーサとしての機能を達成したうえで、乾燥剤を装填される容器として適切に機能する構造にしてなくてはならない。このため、スペーサ枠体が、構造が複雑なものになったり、生産性の悪いものになったりする。
本発明が解決しようとする課題は、二重窓ガラス構造体において、乾燥剤を収容する適切な容器構造を、別部品を必要とすることなく構成し、構造を簡単して部品点数を削減することである。
本発明による二重窓ガラス構造体は、枠体(10)と、前記枠体(10)の一方の側に装着される第1の板ガラス(20)と、前記枠体(10)の他方の側に装着される第2の板ガラス(22)とを有し、前記枠体(10)によって外郭を画定されて前記第1の板ガラス(20)と前記第2の板ガラス(22)との間に断熱空間(28)を形成する二重窓ガラス構造体であって、前記枠体(10)は、前記第1の板ガラス(20)と前記第2の板ガラス(22)の双方の端面(20A、22A)が対向する外枠部(12)と、前記外枠部(12)の内周面より枠内側に延出し、前記第1の板ガラス(20)の側が前記第1の板ガラス(20)の一方の面(20B)と接合する第1の板ガラス受け面(14A)をなし、前記第2の板ガラス(22)の側が前記第2の板ガラス(22)の一方の面(22B)と接合する第2の板ガラス受け面(14B)をなす内枠部(14)とを有し、前記内枠部(14)には、第2の板ガラス受け面(14B)の側に開口した乾燥剤充填用凹溝(14C)と、前記乾燥剤充填用凹溝(14C)と前記断熱空間(28)との間の流体の流れのみを許す連通路(14D)とが形成されており、前記乾燥剤充填用凹溝(14C)の開口は前記第2の板ガラス受け面(14B)に接合された前記第2の板ガラス(22)によって閉塞される。
この構成によれば、枠体(10)自体が第1の板ガラス(20)と第2の板ガラス(22)との間に間隔を与えて断熱空間(28)を形成するスペーサ部材と両板ガラス(20、22)を支持する支持部材として機能し、その上で、枠体(10)自体に乾燥剤(30)が充填される乾燥剤充填用凹溝(14C)が形成され、しかも、その乾燥剤充填用凹溝(14C)の開口は第2の板ガラス受け面(14B)に接合された第2の板ガラス(22)によって閉塞されるので、乾燥剤(30)を収容するための別部品を全く必要としない。これにより、部品点数の削減が図られる。
本発明による二重窓ガラス構造体は、好ましくは、前記第1の板ガラス(20)及び前記第2の板ガラス(22)は各々外縁部を接着剤(24、26)によって前記第1の板ガラス受け面(14A)及び前記第2の板ガラス受け面(14B)に貼着され、更に、前記外枠部(10)の前記第2の板ガラス(22)の側の外面(12C)と前記第2の板ガラス(22)の他方の面(22)とに跨って延在し、前記外枠部(12)の前記外面(12C)と前記第2の板ガラス(22)の前記他方の面(22C)とに接着剤(36)によって貼着された貼合板(38)が設けられている。
この構成によれば、枠体(10)に対する第2の板ガラス(22)の貼合強度が貼合板(38)によって補強され、乾燥剤充填用凹溝(14C)の存在によって第2の板ガラス受け面(14B)の面積が減少しても、枠体(10)に対する第2の板ガラス(22)の貼合強度を確保できる。
本発明による二重窓ガラス構造体は、好ましくは、前記貼合板(38)は、不透明で、前記乾燥剤充填用凹溝(14C)の目隠しを兼ねている。
この構成によれば、貼合板(38)が乾燥剤充填用凹溝(14C)の目隠しを兼ねているので、部品点数の増加を招くことなく見栄えを良くすることができる。
本発明による二重窓ガラス構造体は、好ましくは、前記内枠部(14)の前記断熱空間(28)側に、前記第2の板ガラス(22)の前記一方の面(22B)に間隙(32)をおいて対向し、前記連通路(14D)を隠蔽する隠蔽片(14E)が一体形成されている。
この構成によれば、内枠部(14)に隠蔽片(14E)が一体形成されるだけで、部品点数の増加を招くことなく見栄えを良くすることができる。
本発明による二重窓ガラス構造体によれば、枠体自体が第1の板ガラスと第2の板ガラスとの間に間隔を与えて断熱空間を形成するスペーサ部材と両板ガラスを支持する支持部材として機能し、その上で、枠体自体に乾燥剤が充填される乾燥剤充填用凹溝が形成され、しかも、その乾燥剤充填用凹溝の開口は第2の板ガラス受け面に接合された第2の板ガラスによって閉塞されるので、乾燥剤を収容するための別部品を全く必要としない。
本発明による二重窓ガラス構造体の一つの実施形態を示す正面図。 図1の線II−IIに沿った拡大断面図。 本実施形態による二重窓ガラス構造体を第1の板ガラス側から見たコーナ部の斜視図。 本実施形態による二重窓ガラス構造体を、貼合板を省略して第2の板ガラス側から見た斜視図。
以下に、本発明による二重窓ガラス構造体の一つの実施形態を、図1〜図4を参照して説明する。
二重窓ガラス構造体は、図1に示されているように、窓枠(サッシ)をなす四角形状の枠体10を有する。枠体10は、硬質の合成樹脂や軽金属による上下左右の4個の直線状の辺部材10A、10B、10C、10Dの接合体によって構成されている。
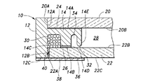
枠体10は、図2〜図4に示されているように、外枠部12と、外枠部12の内周面の中間部より枠内側に棚部のように延出した内枠部14とを一体に有し、内枠部14の一方の側に第1の板ガラス20を装着され、内枠部14の他方の側に第2の板ガラス22を装着される。本実施形態では、第1の板ガラス20が屋内側で、第2の板ガラス22が屋外側であってよい。
外枠部12は、枠体10の外郭をなすものであって、内枠部14の一方の側の部位に第1の板ガラス20の端面20Aが対向する衝壁面(肩部)12Aを有し、内枠部14の他方の側の部位に第2の板ガラス22の端面22Aが対向する衝壁面12Bを有する。
内枠部14は、一方の側に第1の板ガラス20の第2の板ガラス22側の一方の面20Bが接合する第1の板ガラス受け面14Aを有し、他方の側に第2の板ガラス22の第1の板ガラス20側の一方の面22Bと接合する第2の板ガラス受け面14Bを有する。第1の板ガラス受け面14Aと第2の板ガラス受け面14Bとは互いに平行であり、第1の板ガラス受け面14Aには第1の板ガラス20の一方の面20Bの外縁部分が接着剤層24によって気密に貼着され、第2の板ガラス受け面14Bには第2の板ガラス22の一方の面22Bの外縁部分が接着剤層26によって気密に貼着されている。
これにより、枠体10によって外郭を画定され、且つ内枠部14を間隙設定のスペーサ部材として、第1の板ガラス20と第2の板ガラス22との間に密閉構造の断熱空間28が形成される。なお、第1の板ガラス20の周縁部は、接着剤層24の紫外線よりの保護と見栄えのために、クロセラと呼ばれる遮光層による遮光処理が行われているとよい。
内枠部14には第2の板ガラス受け面14Bの側に開口した乾燥剤充填用凹溝14Cが長手方向の全長に亘って形成されている。乾燥剤充填用凹溝14Cにはシリカゲル等の粒状の乾燥剤30が充填されている。
内枠部14には長手方向に所定間隔をおいて第2の板ガラス受け面14Bを間欠的に凹ませた凹部14Dが形成されている。凹部14Dの深さは乾燥剤30の最小粒径より小さい。これにより、凹部14Dは、第2の板ガラス22と協働して乾燥剤充填用凹溝14Cと断熱空間28との間の流体の流れのみを許し、乾燥剤30が通過できない連通路をなす。
内枠部14の先端側、つまり断熱空間28側には、第2の板ガラス22の一方の面22Bに小さい間隙32をおいて対向する隠蔽片14Eが一体形成されている。隠蔽片14Eは、凹部14Dの断熱空間28側の開口位置より空隙34をおいて断熱空間28側にあり、断熱空間28の側から見て櫛歯状に見える凹部14D群を隠蔽し、見た目をよくするものであり、二重窓ガラス構造体として必須ではない。
第2の板ガラス22の側には、外枠部12の第2の板ガラス22の側の外面12Cと第2の板ガラス22の他方の面22Cとに跨って延在した貼合板38が外面12Cと他方の面22Cとに接着剤層36によって貼着されている。
貼合板38は、枠体10に対する第2の板ガラス22の貼合強度を補強し、乾燥剤充填用凹溝14Cの存在によって第2の板ガラス受け面14Bの面積が第1の板ガラス受け面14Aに比して減少しても、枠体10に対する第2の板ガラス22の貼合強度を確保する。貼合板38は、不透明な遮光性を有する金属板あるいは合成樹脂板により構成されていてよく、第2の板ガラス22を透過して見える乾燥剤充填用凹溝14Cの目隠しを兼ねる。これにより、部品点数の増加を招くことなく見栄えを良くすることができる。これにより、第2の板ガラス22の周縁部にクロセラ等による遮光処理を施す必要がない。
本実施形態では、外枠部12の衝壁面12Bと第2の板ガラス22の端面22Aとの間に間隙が設けられており、この間隙にはコーキング剤40が充填されている。これにより、乾燥剤充填用凹溝14C及び断熱空間28と外気との気密性が良好に確保される。
接着剤層26とコーキング剤40は、貼合板38によって遮光されることにより、紫外線照射より保護され、長期間の使用において経時変化し難く、耐久性を有する。
上述の構成による二重窓ガラス構造体によれば、枠体10自体が第1の板ガラス20と第2の板ガラス22との間に間隔を与えて断熱空間28を形成するスペーサ部材と両板ガラス20、22を支持する支持部材として機能し、その上で、枠体10自体に乾燥剤30が充填される乾燥剤充填用凹溝14Cが形成され、しかも、その乾燥剤充填用凹溝14Cの開口は第2の板ガラス受け面14Bに接合された第2の板ガラス22によって閉塞されるので、乾燥剤30を収容するための別部品を全く必要としない。これにより、部品点数の削減が図られる。
乾燥剤充填用凹溝14Cに対する乾燥剤30の充填は、乾燥剤充填用凹溝14Cの開口を第2の板ガラス22によって閉塞する以前の状態で行われればよい。これにより、大きい開口より乾燥剤充填用凹溝14Cに乾燥剤30を作業性よく充填することができる。
以上、本発明を、その好適な実施形態について説明したが、当業者であれば容易に理解できるように、本発明はこのような実施形態に限定されるものではなく、本発明の趣旨を逸脱しない範囲で適宜変更可能である。例えば、本発明による二重窓ガラス構造体は四角形に限られることなく、三角形や六角形等の多角形や円形、楕円等の形状のものに同様に適用できる。乾燥剤充填用凹溝14Cと断熱空間28とを連通する連通路は、凹部14Dによるものでなく、内枠部14に貫通形成された貫通孔によって構成されてもよい。
また、上記実施形態に示した構成要素は必ずしも全てが必須なものではなく、本発明の趣旨を逸脱しない限りにおいて適宜取捨選択することが可能である。例えば、貼合板38やコーキング剤40は必須でなく省略されてもよい。
10 枠体
12 外枠部
14 内枠部
14A 第1の板ガラス受け面
14B 第2の板ガラス受け面
14C 乾燥剤充填用凹溝
14D 凹部
14E 隠蔽片
20 第1の板ガラス
22 第2の板ガラス
24 接着剤層
26 接着剤層
28 断熱空間
30 乾燥剤
36 接着剤層
38 貼合板

Claims (4)

  1. 枠体と、前記枠体の一方の側に装着される第1の板ガラスと、前記枠体の他方の側に装着される第2の板ガラスとを有し、前記枠体によって外郭を画定されて前記第1の板ガラスと前記第2の板ガラスとの間に断熱空間を形成する二重窓ガラス構造体であって、
    前記枠体は、前記第1の板ガラスと前記第2の板ガラスの双方の端面が対向する外枠部と、前記外枠部の内周面より枠内側に延出し、前記第1の板ガラスの側が前記第1の板ガラスの一方の面と接合する第1の板ガラス受け面をなし、前記第2の板ガラスの側が前記第2の板ガラスの一方の面と接合する第2の板ガラス受け面をなす内枠部とを有し、
    前記内枠部には、第2の板ガラス受け面の側に開口した乾燥剤充填用凹溝と、前記乾燥剤充填用凹溝と前記断熱空間との間の流体の流れのみを許す連通路とが形成されており、
    前記乾燥剤充填用凹溝の開口は前記第2の板ガラス受け面に接合された前記第2の板ガラスによって閉塞される二重窓ガラス構造体。
  2. 前記第1の板ガラス及び前記第2の板ガラスは各々外縁部を接着剤によって前記第1の板ガラス受け面及び前記第2の板ガラス受け面に貼着され、
    更に、前記外枠部の前記第2の板ガラスの側の外面と前記第2の板ガラスの他方の面とに跨って延在し、前記外枠部の前記外面と前記第2の板ガラスの前記他方の面とに接着剤によって貼着された貼合板が設けられている請求項1に記載の二重窓ガラス構造体。
  3. 前記貼合板は、不透明で、前記乾燥剤充填用凹溝の目隠しを兼ねている請求項2に記載の二重窓ガラス構造体。
  4. 前記内枠部の前記断熱空間側に、前記第2の板ガラスの前記一方の面に間隙をおいて対向し、前記連通路を隠蔽する隠蔽片が一体形成されている請求項1から3の何れか一項に記載の二重窓ガラス構造体。
JP2012200148A 2012-09-12 2012-09-12 二重窓ガラス構造体 Active JP5975809B2 (ja)

Priority Applications (2)

Application Number Priority Date Filing Date Title
JP2012200148A JP5975809B2 (ja) 2012-09-12 2012-09-12 二重窓ガラス構造体
US13/953,791 US8689499B2 (en) 2012-09-12 2013-07-30 Double glazed window glass structure

Applications Claiming Priority (1)

Application Number Priority Date Filing Date Title
JP2012200148A JP5975809B2 (ja) 2012-09-12 2012-09-12 二重窓ガラス構造体

Publications (2)

Publication Number Publication Date
JP2014055427A JP2014055427A (ja) 2014-03-27
JP5975809B2 true JP5975809B2 (ja) 2016-08-23

Family

ID=50231786

Family Applications (1)

Application Number Title Priority Date Filing Date
JP2012200148A Active JP5975809B2 (ja) 2012-09-12 2012-09-12 二重窓ガラス構造体

Country Status (2)

Country Link
US (1) US8689499B2 (ja)
JP (1) JP5975809B2 (ja)

Families Citing this family (1)

* Cited by examiner, † Cited by third party
Publication number Priority date Publication date Assignee Title
CN112196422A (zh) * 2020-10-27 2021-01-08 山东能特异能源科技有限公司 中空玻璃、窗和门

Family Cites Families (15)

* Cited by examiner, † Cited by third party
Publication number Priority date Publication date Assignee Title
US2383691A (en) * 1942-11-13 1945-08-28 Maytag Co Window construction
FR2205620B1 (ja) * 1972-11-07 1979-10-19 Delog Detag Flachglas Ag
JPS59122688A (ja) * 1982-12-28 1984-07-16 佐々木 徳蔵 複層ガラス窓
GB2144167A (en) * 1983-07-28 1985-02-27 Home Insulation Limited Spacer for multiple-glazed unit
JPH0721822Y2 (ja) 1990-05-28 1995-05-17 セントラル硝子株式会社 サッシ付複層ガラス
US6055783A (en) * 1997-09-15 2000-05-02 Andersen Corporation Unitary insulated glass unit and method of manufacture
US6886297B1 (en) * 1998-07-23 2005-05-03 Ppg Industries Ohio, Inc. Insulating unitless window sash
US6662523B2 (en) * 2001-06-15 2003-12-16 Sashlite, Llc Insulating glass sash assemblies with adhesive mounting and spacing structures
FR2842242B1 (fr) * 2002-07-15 2004-12-17 Saint Gobain Vitrage isolant acoustique a effet de pertes thermo-visqueuses
US7950194B2 (en) * 2003-06-23 2011-05-31 Ppg Industries Ohio, Inc. Plastic spacer stock, plastic spacer frame and multi-sheet unit, and method of making same
US7765769B2 (en) * 2003-06-23 2010-08-03 Ppg Industries Ohio, Inc. Integrated window sash with lattice frame and retainer clip
US7997037B2 (en) * 2003-06-23 2011-08-16 Ppg Industries Ohio, Inc. Integrated window sash with groove for desiccant material
WO2005066444A1 (en) * 2004-01-09 2005-07-21 Fiberline A/S A building or window element and a method of producing a building
KR101238120B1 (ko) * 2007-12-29 2013-02-27 (주)엘지하우시스 수평교차환기가 가능한 이중창호
US8381490B2 (en) * 2009-08-14 2013-02-26 Mark A. Back Dual glazed framing system for encapsulating translucent insulating particulate material and method of making same

Also Published As

Publication number Publication date
JP2014055427A (ja) 2014-03-27
US20140069037A1 (en) 2014-03-13
US8689499B2 (en) 2014-04-08

Similar Documents

Publication Publication Date Title
RU2008144661A (ru) Угловой соединитель для дистанционной рамки оконных стекол
KR200485061Y1 (ko) 단열, 방음 및 방범용 복층유리
JP2010265724A (ja) 引き違い窓枠および外枠よりなる内窓構造体
KR101091953B1 (ko) 커튼월 구조
JP5975809B2 (ja) 二重窓ガラス構造体
US10808452B2 (en) Double glazed window of polycarbonate layer
JP4831768B2 (ja) 窓ガラス構造体およびその施工方法
TWI485492B (zh) 組合式顯示模組及其製造方法
KR101158734B1 (ko) 고기밀성 단열 커튼월 창틀
JP6550077B2 (ja) 多重ガラス障子
JP2004324268A (ja) 複層ガラス
JP5591189B2 (ja) 開口部建材
CN103437652A (zh) 一种新型隐框玻璃幕墙隐框内倒窗系统
JP5374437B2 (ja) 連段窓
WO2017169677A1 (ja) ガラスパネルユニット及びこれを備える建具
KR101024618B1 (ko) 복층 유리용 스페이서 구조물
CN206844953U (zh) 一种隐框窗
KR101778714B1 (ko) 커튼월용 패널 구조물
JP2015113264A (ja) 遮音複層ガラス
JP5591190B2 (ja) 開口部建材
JP2009035862A (ja) 簡易二重サッシ
JP6445823B2 (ja) 複合窓枠及び建物開口部構造
JP3194877U (ja) サッシ用結露防止具
CN203640560U (zh) 双层或多层玻璃窗
KR101585168B1 (ko) 압력변화대응이 용이한 3중 복층유리

Legal Events

Date Code Title Description
A621 Written request for application examination

Free format text: JAPANESE INTERMEDIATE CODE: A621

Effective date: 20150722

A977 Report on retrieval

Free format text: JAPANESE INTERMEDIATE CODE: A971007

Effective date: 20160526

TRDD Decision of grant or rejection written
A01 Written decision to grant a patent or to grant a registration (utility model)

Free format text: JAPANESE INTERMEDIATE CODE: A01

Effective date: 20160705

A61 First payment of annual fees (during grant procedure)

Free format text: JAPANESE INTERMEDIATE CODE: A61

Effective date: 20160719

R150 Certificate of patent or registration of utility model

Ref document number: 5975809

Country of ref document: JP

Free format text: JAPANESE INTERMEDIATE CODE: R150

R250 Receipt of annual fees

Free format text: JAPANESE INTERMEDIATE CODE: R250

R250 Receipt of annual fees

Free format text: JAPANESE INTERMEDIATE CODE: R250

R250 Receipt of annual fees

Free format text: JAPANESE INTERMEDIATE CODE: R250

R250 Receipt of annual fees

Free format text: JAPANESE INTERMEDIATE CODE: R250

R250 Receipt of annual fees

Free format text: JAPANESE INTERMEDIATE CODE: R250

R250 Receipt of annual fees

Free format text: JAPANESE INTERMEDIATE CODE: R250