JP5964596B2 - 搬送設備、及び、カートナー又は、段ボールケーサー - Google Patents

搬送設備、及び、カートナー又は、段ボールケーサー Download PDF

Info

Publication number
JP5964596B2
JP5964596B2 JP2012006137A JP2012006137A JP5964596B2 JP 5964596 B2 JP5964596 B2 JP 5964596B2 JP 2012006137 A JP2012006137 A JP 2012006137A JP 2012006137 A JP2012006137 A JP 2012006137A JP 5964596 B2 JP5964596 B2 JP 5964596B2
Authority
JP
Japan
Prior art keywords
articles
group
transport
receiving
eye drop
Prior art date
Legal status (The legal status is an assumption and is not a legal conclusion. Google has not performed a legal analysis and makes no representation as to the accuracy of the status listed.)
Active
Application number
JP2012006137A
Other languages
English (en)
Other versions
JP2013144564A (ja
Inventor
禎 今村
禎 今村
陽介 井口
陽介 井口
Current Assignee (The listed assignees may be inaccurate. Google has not performed a legal analysis and makes no representation or warranty as to the accuracy of the list.)
Omori Machinery Co Ltd
Original Assignee
Omori Machinery Co Ltd
Priority date (The priority date is an assumption and is not a legal conclusion. Google has not performed a legal analysis and makes no representation as to the accuracy of the date listed.)
Filing date
Publication date
Application filed by Omori Machinery Co Ltd filed Critical Omori Machinery Co Ltd
Priority to JP2012006137A priority Critical patent/JP5964596B2/ja
Publication of JP2013144564A publication Critical patent/JP2013144564A/ja
Application granted granted Critical
Publication of JP5964596B2 publication Critical patent/JP5964596B2/ja
Active legal-status Critical Current
Anticipated expiration legal-status Critical

Links

Images

Description

本発明は、物品を搬送する搬送設備、及び、カートナー又は、段ボールケーサーに関する。
目薬ボトルを箱詰めするラインには、目薬ボトルを搬送する搬送装置と、搬送された目薬ボトルを箱詰めする箱詰め装置と、が設置される。
目薬ボトルの箱詰め形態には、所定本数(例えば、10本)の目薬ボトルを集積して直接箱詰めする直接包装形態と、所定本数(例えば、5本)の目薬ボトルをまとめてピロー包装したピロー包装体を所定数(2パック)ずつ箱詰めする二重包装形態と、がある。
直接包装形態で箱詰めするラインに設置される搬送装置には、例えば、特許文献1に記載されている飲料容器の搬送装置を応用できる。この搬送装置は、順次搬送される複数の飲料容器をせき止めて集積し、集積された所定数の飲料容器を箱詰め装置に向けて搬送する。このような搬送装置を応用することで、所定本数の目薬ボトルを直接箱詰めできる。
二重包装形態で箱詰めするラインに設置される搬送装置には、例えば、特許文献2に記載されている女性用生理ナプキンの搬送装置を応用できる。この搬送装置は、ピロー包装された女性用生理ナプキンを起立させた状態で集積し、集積された所定数の女性用生理ナプキンを箱詰め装置に向けて搬送する。このような搬送装置を応用することで、所定本数の目薬ボトルをまとめてピロー包装したピロー包装体を所定数ずつ箱詰めできる。
特許第4641256号公報(図1参照) 特許第2764283号公報(第1図参照)
このように、目薬ボトルを箱詰めする従来のラインでは、箱詰め形態に応じた専用の搬送装置が設置されている。このため、箱詰め装置が種々の箱詰め形態に対応している場合であっても、搬送装置に対応する形態で箱詰めできるだけであり、種々の形態で箱詰めできなかった。結果、種々の形態で箱詰めする場合には、複数のラインを設定して、箱詰め形態毎に箱詰め装置を設置する必要があり、設置スペースや費用の面で問題があった。
このような問題は、目薬ボトルを搬送する場合に限られず、その他の薬品容器、あるいは食品や日用品などの各種物品を搬送する場合に共通して存在し得る。また、箱詰め装置に向けて搬送する場合に限られず、その他の搬送先に搬送する場合に共通して存在し得る。
本発明は、上記課題を鑑みてなされたものであり、省スペースおよびコスト削減を実現しつつ、大きさ、中身、包装形態等の種類の異なる種々の物品を搬送できる搬送設備、及びこの搬送装置を備えるカートナー又は、段ボールケーサーを提供することを目的とする。
(1)本発明は、集積された物品群を搬送する搬送路と、当該搬送路において前記物品群を搬送方向の前後から支持する一対の第1支持部材と、受入部と、送出部と、を有する搬送設備であって、前記物品群を、前記受入部を通じて受け入れ、前記送出部を通じて前記一対の第1支持部材間に供給する送入装置を備え、前記送入装置は、前記物品群を押送する第2支持部材を有しており、前記物品群が複数の物品を集積した物品群と、物品をまとめて包装した集合包装品からなる物品群であることを特徴とする搬送設備である。
(2)本発明はまた、集積された物品群を搬送する搬送路と、当該搬送路において前記物品群を搬送方向の前後から支持する一対の第1支持部材と、受入部と、送出部と、を有する搬送設備であって、前記物品群を、前記受入部を通じて受け入れ、前記送出部を通じて前記一対の第1支持部材間に供給する送入装置を備え、前記送入装置は、前記物品群を押送する第2支持部材を有しており、前記物品群が物品を同一種類毎に集積した物品群、又は同一種類の包装体毎に集積した物品群であり異なる種類の物品群であることを特徴とする搬送設備である。
(3)本発明はまた、前記物品群を受け入れる前記受入部を複数備え、異なる種類の前記物品群を別々の受入部を通じて受け入れる、ことを特徴とする上記(1)又は(2)記載の搬送設備である。
(4)本発明はまた、前記受入部として、第1受入部と第2受入部とを備え、前記第1受入部と前記第2受入部とに跨るように前記送入装置が前記搬送路の上方を横断して配置され、当該送入装置には前記第2支持部材が吊設されていることを特徴とする上記(3)記載の搬送設備である。
(5)本発明はまた、前記送入装置は、正逆回転が可能な環状体に前記第2支持部材が吊設されていることを特徴とする上記(4)に記載の搬送設備である。
(6)本発明はまた、前記第2支持部材は複数設けられていて間隔を変更可能になっていることを特徴とする上記(4)又は(5)に記載の搬送設備である。
(7)本発明はまた、集積された物品群を搬送する搬送路と、当該搬送路において前記物品群を搬送方向の前後から支持する一対の第1支持部材と、受入部と、送出部と、を有する搬送設備であって、前記物品群を、前記受入部を通じて受け入れ、前記送出部を通じて前記一対の第1支持部材間に供給する送入装置を備え、前記送入装置は、前記物品群を押送する第2支持部材を有しており、前記受入部として、第1受入部と第2受入部とを備え、前記物品群が複数の物品を集積した物品群と、物品をまとめて包装した集合包装品からなる物品群であり、前記物品が自立容器であり、前記第1受入部から受け入れる前記物品群は複数の前記物品を自立させた状態で集積したものであり、前記第2受入部から受け入れる前記物品群は複数の前記物品をピロー包装した前記集合包装品であることを特徴とする搬送設備である。

(8)本発明はまた、前記第2受入部において、ピロー包装した前記集合包装品を、耳部と平行な幅方向を縦向きにして起立させ、且つ長さ方向を前記搬送路の搬送方向と平行にした状態で受け入れることを特徴とする上記(7)に記載の搬送設備である。
(9)本発明はまた、前記集合包装品を起立させる起立装置を備え、当該起立装置は、縦方向に回転する回転体の外周部に複数の仕切り部材が放射状に配置され、当該仕切り部材の間に前記集合包装品を、その長さ方向を前記回転体の回転方向に直交させ且つ転倒又は傾いた姿勢で受け入れ、前記回転体を回転させることで姿勢を起立状態に変更する装置であることを特徴とする上記(8)に記載の搬送設備である。
(10)本発明はまた、上記(1)〜(9)のいずれかに記載の搬送設備を備えたことを特徴とするカートナー又は、段ボールケーサーである。
本発明の上記(1)〜(8)に記載の搬送設備によれば、省スペースおよびコスト削減を実現しつつ、大きさ、中身、包装形態等の種類の異なる種々の物品を搬送できる。
本発明の搬送設備の上面図である。 目薬ボトルの外観斜視図である。 ピロー包装体の外観斜視図である。 第1搬送コンベア装置から第2搬送コンベア装置へのピロー包装体の引継ぎ動作を説明する上面図であって、(A)は引継ぎ動作の開始時を示し、(B)は(A)に示す動作の続きを示し、(C)は(B)に示す動作の続きを示す。 起立装置の側面図であって、(A)はピロー包装体の受入時の状態を示し、(B)はピロー包装体を起立させた状態を示す。 送入装置の上面図であり、(A)はピロー包装体をオーバーヘッドコンベア装置に送り入れる前の状態を示し、(B)はピロー包装体をオーバーヘッドコンベア装置に送り入れた後の状態を示す。 ターンテーブル装置から増列装置への目薬ボトルの引継ぎ動作を説明する上面図であり、(A)は引継ぎ時の状態を示し、(B)および(C)は目薬ボトルを増列する時の状態を示す。 増列装置からオーバーヘッドコンベア装置への目薬ボトルの引継ぎ動作を説明する上面図であって、(A)は引継ぎ動作の開始前を示し、(B)は引継ぎ動作時を示す。 オーバーヘッドコンベア装置の側面図であり、(A)は第2搬送経路として用いる場合を示し、(B)は第1搬送経路として用いる場合を示す。 別の実施形態に係る搬送設備の上面図である。 別の実施形態に係る搬送設備の上面図である。 別の実施形態に係る搬送設備の上面図である。
以下、図面を参照して、本発明に係る搬送設備について詳細に説明する。
まず、図1を用いて搬送設備10の構成について説明する。図1は、搬送設備10の上面図である。なお、本図および以降の各図において、一部の構成を適宜省略して、図面を簡略化する。
図1に示す搬送設備10は、目薬ボトルXA1(図2参照)を箱詰めするラインで使用される。本ラインにおける箱詰めの形態には、所定本数(本実施形態では、10本)の目薬ボトルXA1を集積して直接箱詰めする直接包装形態と、所定本数(本実施形態では、5本)の目薬ボトルXA1をまとめてピロー包装したピロー包装体YA1(図3参照)を所定数(本実施形態では、2パック)ずつ箱詰めする二重包装形態と、がある。このように、本実施形態については、目薬ボトルXA1と、ピロー包装体YA1と、の二種類の物品を対象に説明する。なお、本明細書および特許請求の範囲において、物品の種類とは、内容物、包装体、又は大きさ等を指す。
ここで、図2および図3を用いて目薬ボトルXA1およびピロー包装体YA1の構成について説明する。図2は、目薬ボトルXA1の外観斜視図である。図3は、ピロー包装体YA1の外観斜視図である。
図2に示す目薬ボトルXA1は、目薬を収容する容器であり、自立する形態を呈する。図3に示すピロー包装体YA1は、ピロー包装機(図示省略)において、被包装体となる複数の目薬ボトルXA1を幅方向に倒した状態で、かつ、当該複数の目薬ボトルXA1を搬送方向に並べた状態で、包装材料(符号省略)を幅方向にエンドシールしたものである。このピロー包装体YA1は、エンドシールした部分(搬送方向の前後の部分)に、幅方向に沿った一対の耳部(符号省略)を有している。
図1に戻って説明する。目薬ボトルXA1を箱詰めするラインは、目薬ボトルXA1をカートナーや段ボールケーサーなどの箱詰め装置(図示省略)に向けて集積しながら搬送する集積・搬送工程と、箱詰め装置において所定本数の目薬ボトルXA1を1つの箱にまとめて詰める箱詰め工程と、を備えている。
本実施形態の搬送設備10は、集積・搬送工程で使用される。なお、本明細書では、目薬ボトルXA1を搬送する場合を例に説明するが、本発明は、その他の容器(ボトル、壜、缶など)や箱、あるいは食品や日用品などの各種物品を搬送する場合に適用できる。そして、本明細書では、ピロー包装体YA1を搬送する場合を例に説明するが、本発明は、その他の各種包装体(ストレッチ包装体、シュリンク包装体、深絞り包装体、マルチパックカートン包装体(特開2005−170448号公報参照)など)を搬送する場合に適用できる。また、本明細書では、箱詰め装置に向けて搬送する場合を例に説明するが、本発明は、搬送先が箱詰め装置に限定されるものではない。
搬送設備10は、前工程の設備(図示省略)から順次供給される複数の目薬ボトルXA1を、後工程の箱詰め装置(図示省略)に向けて搬送する。搬送設備10は、2本の搬送経路R10,R20が1本に交流して、合流後の1本の搬送経路R10,R20が、1台の箱詰め装置に繋がっている。
第2搬送経路R20は、ピロー包装体YA1の状態で目薬ボトルXA1を2パックずつ箱詰め装置に供給する場合に用いる経路である。第1搬送経路R10は、個々に自立させた状態で目薬ボトルXA1を集積して10本ずつ箱詰め装置に供給する場合に用いる経路である。第2搬送経路R20および第1搬送経路R10は、選択的に設定されて、一方の経路のみが機能する。二重包装形態で箱詰めする場合には、第2搬送経路R20を使用する。直接包装形態で箱詰めする場合には、第1搬送経路R10を使用する。いずれの搬送経路R10,R20を使用する場合であっても、搬送設備10は、箱詰め装置に1回にまとめて供給する目薬ボトルXA1の本数は、10本ずつで同数である。
搬送設備10は、第1搬送コンベア装置11と、第2搬送コンベア装置12と、起立装置13と、送入装置14と、第3搬送コンベア装置15と、ターンテーブル装置16と、増列装置17と、オーバーヘッドコンベア装置18と、バケットコンベア装置19と、制御ユニット(図示省略)を備えている。
これら搬送設備10の各装置は、制御ユニットによって統括的に制御される。すなわち、搬送設備10の各装置は、制御ユニットの制御下において動作して、その動作状況が制御ユニットによって管理されている。制御ユニットは、CPU、RAM、およびROMなどから構成され、各種制御を実行する。CPUは、いわゆる中央演算処理装置であり、各種プログラムが実行されて各種機能を実現する。RAMは、CPUの作業領域として使用される。ROMは、CPUで実行される基本OSやプログラムを記憶する。
第1搬送コンベア装置11は、第2搬送経路R20として使用される。この第1搬送コンベア装置11は、ピロー包装体YA1を、前工程のピロー包装機(図示省略)から自身の上流で引き継いで、第2搬送コンベア装置12に向けて搬送する。この第1搬送コンベア装置11において、ピロー包装体YA1は、一対の耳部が搬送方向の前後に配置される状態で順次1列で搬送される。
具体的に、第1搬送コンベア装置11は、ベルトコンベアとして、複数のローラ(図示省略)と、これら複数のローラに引っ掛けられて走行する環状のゴムベルト(符号省略)と、動力源となるサーボモータ(図示省略)と、ピロー包装体YA1を両側方からガイドする対のサイドガイド(符号省略)と、を備えている。
1つのローラは、サーボモータに連結して当該サーボモータの駆動によって定常回転する。残りのローラは、ゴムベルトの定常走行によって、サーボモータに連結しているローラに連動して定常回転する。ゴムベルトは、サーボモータに連結しているローラの定常回転によって循環するように定常走行する。対のサイドガイドは、ゴムベルト上に、ピロー包装体YA1の搬送路を1列分形成する。
第2搬送コンベア装置12は、自身の上流寄りの側端が第1搬送コンベア装置11の下流端に繋がるように、当該第1搬送コンベア装置11と直交に配置されている。この第2搬送コンベア装置12は、第2搬送経路R20として使用される。第2搬送コンベア装置12は、ピロー包装体YA1を、第1搬送コンベア装置11から自身の上流で引き継いで、起立装置13に向けて搬送する。この第2搬送コンベア装置12において、ピロー包装体YA1は、第1搬送コンベア装置11から引き継がれる際に姿勢を変えてから、一対の耳部が搬送方向の前後に配置される状態で順次1列で搬送される。
具体的に、第2搬送コンベア装置12は、ベルトコンベア22と、ガイドローラ23と、を備えている。ベルトコンベア22は、複数のローラ(図示省略)と、これら複数のローラに引っ掛けられて走行する環状のゴムベルト(符号省略)と、動力源となるサーボモータ(図示省略)と、ピロー包装体YA1を両側方からガイドする対のサイドガイド(符号省略)と、を備えている。ベルトコンベア22の動作は、第1搬送コンベア装置11が備えるベルトコンベアの動作と同様であり、その説明を省略する。
ガイドローラ23は、ベルトコンベア22の側方であって、第1搬送コンベア装置11の下流端が繋がる部分の下流側に配置される。このガイドローラ23は、鉛直軸回りに回転するローラであり、ピロー包装体YA1を、第1搬送コンベア装置11から引き継がれる際に側方からガイドする。
ここで、図4を用いて、第1搬送コンベア装置11から第2搬送コンベア装置12へのピロー包装体YA1の引継ぎ動作を説明する。図4(A)は、引継ぎ動作の開始時を示す。図4(B)は、図4(A)に示す動作の続きを示す。図4(C)は、図4(B)に示す動作の続きを示す。
まず、図4(A)に示すように、ピロー包装体YA1は、一対の耳部が第1搬送コンベア装置11における搬送方向の前後に配置される状態で、すなわち、一対の耳部が第2搬送コンベア装置12における幅方向の両側に配置される状態で、第1搬送コンベア装置11から第2搬送コンベア装置12への引継ぎが開始される。すなわち、ピロー包装体YA1は、第1搬送コンベア装置11における搬送方向の前方の耳部側から第2搬送コンベア装置12の側方に引き継がれる。
そして、図4(B)に示すように、ピロー包装体YA1は、ガイドローラ23を支点として、第1搬送コンベア装置11において搬送方向の前方であった耳部が、第2搬送コンベア装置12において搬送方向の前方となるように、姿勢を変えながら搬送される。
その後、図4(C)に示すように、ピロー包装体YA1は、一対の耳部が第2搬送コンベア装置12における搬送方向の前後に配置される状態で、第2搬送コンベア装置12を搬送される。
図1に戻って説明する。起立装置13は、自身の上流の側端が第2搬送コンベア装置12の下流端に繋がるように、当該第2搬送コンベア装置12と直交に配置されている。この起立装置13は、第2搬送経路R20として使用される。起立装置13は、ピロー包装体YA1を、第2搬送コンベア装置12から自身の上流で引き継いで、オーバーヘッドコンベア装置18に向けて搬送しながら、当該ピロー包装体YA1を起立させた状態にする。この起立装置13において、ピロー包装体YA1は、一対の耳部が幅方向の両側に配置される状態で搬送される。
ここで、図5を用いて、起立装置13の構成および動作について説明する。図5(A)は、起立装置13の側面図であって、ピロー包装体YA1の受入時の状態を示す。図5(B)は、起立装置13の側面図であって、ピロー包装体YA1の受入時の状態を示す。
図5(A)および図5(B)に示すように、起立装置13は、複数のローラ26,27と、これら複数のローラ26,27に引っ掛けられて走行する環状のベルト28と、動力源となるサーボモータ(図示省略)と、ベルト28上を走行方向の所定間隔毎に仕切る複数の仕切り部材29と、を備えている。
1つのローラ26は、サーボモータに連結して当該サーボモータの駆動によって間欠的に回転する。残りのローラ27は、ベルト28の間欠的な走行によって、ローラ26に連動して間欠的に回転する。ベルト28は、ローラ26の間欠的な回転によって循環するように間欠的に走行する。すなわち、ベルト28は、環状に走行する走行面として機能する。複数の仕切り部材29は、ピロー包装体YA1を収容できる程度の隙間(符号省略)を形成する。
ベルト28は、オーバーヘッドコンベア装置18の第2搬送路47の側方に隣接する隣接区間28aと、この隣接区間28aから折り返す折返し区間28bと、隣接区間28aの下方において戻る戻り区間28cと、この戻り区間28cから隣接区間28aに折り返す折返し区間28dと、を有する。
折返し区間28dにおいて、複数の仕切り部材29は、上下に間隔を設けるように位置する。折返し区間28dにおいて、ピロー包装体YA1は、一対の耳部が当該ピロー包装体YA1の側方に配置されるように仕切り部材29同士の間に当該ベルト28の側方から受け入れられる(図5(A)参照)。ピロー包装体YA1は、折返し区間28dから隣接区間28aに搬送される過程において、仕切り部材29の姿勢が変化することに伴って、起立される。隣接区間28aにおいて、ピロー包装体YA1がオーバーヘッドコンベア装置18に送り入れられる(図5(B)参照)。
このような起立装置13は、ピロー包装体YA1を第2搬送コンベア装置12から引き継ぐ際に動作を停止するように、また、ピロー包装体YA1をオーバーヘッドコンベア装置18に引き継ぐ際に動作を停止するように、間欠的に動作する。
図1に戻って説明する。送入装置14は、起立装置13に隣接するように配置されている。
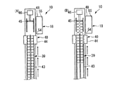
ここで、図6を用いて、送入装置14の構成および動作について説明する。図6(A)は、送入装置14の上面図であり、ピロー包装体YA1をオーバーヘッドコンベア装置18に送り入れる前の状態を示す。図6(B)は、送入装置14の上面図であり、ピロー包装体YA1をオーバーヘッドコンベア装置18に送り入れた後の状態を示す。
図6(A)および図6(B)に示すように、送入装置14は、起立装置13上に位置するピロー包装体YA1の2パック分をベルト28の隣接区間28aから押し出す押し部材32と、この押し部材32を往復移動させるエアシリンダ33と、を備えている。
押し部材32は、ピロー包装体YA1の耳部に対応する形状を呈する。これにより、送入装置14を動作させた際にピロー包装体YA1の耳部が潰れることが防止される。この押し部材32は、ベルト28の隣接区間28aにおいて、当該ベルト28の幅方向に走行することで、起立装置13上に位置する2パックのピロー包装体YA1をオーバーヘッドコンベア装置18の第2搬送路47に移動させる。
図1に戻って説明する。第3搬送コンベア装置15は、第1搬送経路R10として使用される。この第3搬送コンベア装置15は、目薬ボトルXA1を、前工程の装置(図示省略)から自身の上流で引き継いで、ターンテーブル装置16に向けて搬送する。この第3搬送コンベア装置15において、目薬ボトルXA1は、個々に自立した状態で順次1列で搬送される。
具体的に、第3搬送コンベア装置15は、ベルトコンベアとして、複数のスプロケット(図示省略)と、これら複数のスプロケットに引っ掛けられて走行する環状のチェーン(図示省略)と、動力源となるサーボモータ(図示省略)と、チェーンに取り付けられて当該チェーンと一体に走行するプラスチックベルト(符号省略)と、目薬ボトルXA1を両側方からガイドする対のサイドガイド(符号省略)と、を備えている。
1つのスプロケットは、サーボモータに連結して当該サーボモータの駆動によって定常回転する。残りのスプロケットは、チェーンの定常走行によって、サーボモータに連結しているスプロケットに連動して定常回転する。チェーンは、サーボモータに連結しているローラの定常回転によって循環するように定常走行する。プラスチックベルトは、チェーンの定常走行によって、当該チェーンと一体に循環するように定常走行する。このプラスチックベルトは、目薬ボトルXA1との間に生じる摩擦力が比較的小さい。このため、プラスチックベルトは、目薬ボトルXA1を下流に搬送できない状況においては、空転する。対のサイドガイドは、プラスチックベルト上に、目薬ボトルXA1の搬送路を1列分形成する。
ターンテーブル装置16は、自身の上流端が第3搬送コンベア装置15の下流端に繋がるように配置されている。このターンテーブル装置16は、第1搬送経路R10として使用される。ターンテーブル装置16は、目薬ボトルXA1を、第3搬送コンベア装置15から自身の上流で引き継いで、当該第3搬送コンベア装置15と直交する増列装置17に向けて搬送する。すなわち、ターンテーブル装置16は、搬送方向を折り曲げる。このターンテーブル装置16において、目薬ボトルXA1は、搬送方向を変えながら、自立した状態で順次1列で搬送される。
具体的に、ターンテーブル装置16は、目薬ボトルXA1を第3搬送コンベア装置15から受け入れる受入プレート(符号省略)と、ターンテーブル(符号省略)と、動力源となるサーボモータ(図示省略)と、目薬ボトルXA1を増列装置17に送り出す送出プレート(符号省略)と、目薬ボトルXA1を両側方からガイドする対のサイドガイド(符号省略)と、を備えている。
受入プレートにおいて、目薬ボトルXA1は、後続の目薬ボトルXA1に押されることで移動する。ターンテーブルは、サーボモータに連結して当該サーボモータの駆動によって定常回転する。このターンテーブルは、目薬ボトルXA1との間に生じる摩擦力が比較的小さい。このため、ターンテーブルは、目薬ボトルXA1を下流に搬送できない状況においては、空転する。送出プレートにおいて、目薬ボトルXA1は、後続の目薬ボトルXA1に押されることで移動する。対のサイドガイドは、受入プレート上からターンテーブル上を経由して送出プレート上までに、目薬ボトルXA1の搬送路を1列分形成する。
増列装置17は、自身の上流端がターンテーブル装置16の下流端に繋がるように配置されている。この増列装置17は、第1搬送経路R10として使用される。増列装置17は、目薬ボトルXA1を、ターンテーブル装置16から自身の上流で引き継いで、オーバーヘッドコンベア装置18に向けて搬送しながら、当該目薬ボトルXA1を1列から2列に増列する。この増列装置17において、目薬ボトルXA1は、個々に自立した状態で1列から2列に増列されながら搬送される。
ここで、図7および図8を用いて、増列装置17の構成および動作について説明する。図7は、ターンテーブル装置16から増列装置17への目薬ボトルXA1の引継ぎ動作を説明する上面図である。同図(A)は、引継ぎ時の状態を示す。同図(B)および同図(C)は、目薬ボトルXA1を増列する時の状態を示す。図8は、増列装置17からオーバーヘッドコンベア装置18への目薬ボトルXA1の引継ぎ動作を説明する上面図である。同図(A)は、引継ぎ動作の開始前を示す。同図(B)は、引継ぎ動作時を示す。
図7および図8に示すように、増列装置17は、プラスチックコンベア36と、このプラスチックコンベア36上を1列で搬送される目薬ボトルXA1をガイドする第1ガイドユニット37と、プラスチックコンベア36上を1列で搬送される目薬ボトルXA1を第1ガイドユニット37の下流で2列に振り分ける振分けユニット38と、この振分けユニット38の下流においてプラスチックコンベア36上を2列で搬送される目薬ボトルXA1をガイドする第2ガイドユニット39と、この第2ガイドユニット39の下流において目薬ボトルXA1をプラスチックコンベア36上に待機させる待機ユニット40と、を備えている。
プラスチックコンベア36は、複数のスプロケット(図示省略)と、これら複数のスプロケットに引っ掛けられて走行する環状のチェーン(図示省略)と、動力源となるサーボモータ(図示省略)と、チェーンに取り付けられてチェーンと一体に走行するプラスチックベルト(図示省略)と、を備えている。プラスチックコンベア36の動作は、第3搬送コンベア装置15が備えるベルトコンベアの動作と同様であり、その説明を省略する。
第1ガイドユニット37は、1列で搬送される目薬ボトルXA1を両側方からガイドする1対のサイドガイド41を備えている。1対のサイドガイド41は、プラスチックコンベア36上に、目薬ボトルXA1の搬送路を1列分形成する。
振分けユニット38は、1列で搬送される目薬ボトルXA1を両側方からガイドする1対のサイドガイド42と、これら1対のサイドガイド42の上流側を支点にして下流側を揺動させるエアシリンダ(図示省略)と、を備えている。この振分けユニット38は、第2ガイドユニット39にガイドされる目薬ボトルXA1の状況に応じて動作する。
1対のサイドガイド42は、プラスチックコンベア36上に、目薬ボトルXA1の搬送路を1列分形成する。これら1対のサイドガイド42は、搬送方向に向かって右側の列に目薬ボトルXA1を送り出す場合、図7(B)に示すように、第2ガイドユニット39の右側の列に連続するように位置する。
また、1対のサイドガイド42は、搬送方向に向かって左側の列に目薬ボトルXA1を送り出す場合、図7(C)に示すように、第2ガイドユニット39の左側の列に連続するように位置する。
第2ガイドユニット39は、2列で搬送される目薬ボトルXA1を両側方からガイドする3本のサイドガイド43と、これら3本のサイドガイド43にガイドされる目薬ボトルXA1の状況を検知するセンサ(図示省略)と、を備えている。
3本のサイドガイド43は、プラスチックコンベア36上に、目薬ボトルXA1の搬送路を2列分形成する。真ん中の1本のサイドガイド43は、両側の2本のサイドガイド43と比較して、下流側に長く形成されている。この真ん中の1本のサイドガイド43は、次に述べるように、待機ユニット40と共に機能する。
待機ユニット40は、2列で搬送される目薬ボトルXA1を両側方から挟持する1対の挟持部材44と、動力源となる一対のエアシリンダ(図示省略)と、挟持部材44を通過した目薬ボトルXA1を下流側で堰き止める製品ストッパー45と、この製品ストッパー45を搬送方向に平行移動させる可動機構として機能するエアシリンダ46と、を備えている。
1対の挟持部材44は、真ん中の1本のサイドガイド43における下流側の部分の両側に配置されている。これら1対の挟持部材44は、真ん中の1本のサイドガイド43と共に、プラスチックコンベア36上に、目薬ボトルXA1の搬送路を2列分形成する。
これら1対の挟持部材44は、プラスチックコンベア36上の目薬ボトルXA1をサイドガイド43に押し付けて待機させる爪として機能する。また、これら1対の挟持部材44は、別々のエアシリンダに固定されている。このため、1対の挟持部材44は、それぞれ、互いに近付いたり遠退いたりするように、幅方向に往復移動する。すなわち、図8(A)に示す待機位置と、図8(B)に示す解除位置と、の間を往復移動する。
具体的に、図8(A)に示す待機位置は、目薬ボトルXA1をサイドガイド43に押し付けて待機させる位置である。また、図8(B)に示す解除位置は、目薬ボトルXA1のサイドガイド43への押付けを解除する位置である。
図1に戻って説明する。製品ストッパー45は、エアシリンダ46によって、第一の停止位置(図7(A)および図7(C)参照)、およびこの第一の停止位置から退避した下流側の第二の停止位置(図7(B)参照)、の間で搬送方向に平行移動する。この製品ストッパー45は、1対の挟持部材44とタイミングを関連させて動作することで、順次搬送されてくる目薬ボトルXA1を所定本数(本実施形態では、10本)に分けることができる。
オーバーヘッドコンベア装置18は、両側をそれぞれ上流として、中程を下流とする。このオーバーヘッドコンベア装置18は、自身の一方(図1における右側)の上流の側端が起立装置13の側端に隣接するように、当該起立装置13と平行に配置されている。すなわち、オーバーヘッドコンベア装置18は、搬送方向が起立装置13の走行方向と一致するように配置されている。また、オーバーヘッドコンベア装置18は、自身の他方(図1における左側)の上流の側端が増列装置17の下流寄りの側端に繋がるように、当該増列装置17と直交に配置されている。
このオーバーヘッドコンベア装置18は、第2搬送経路R20および第1搬送経路R10の2本の経路として兼用される。
第2搬送経路R20として使用する場合、オーバーヘッドコンベア装置18は、ピロー包装体YA1を、2パックずつ、起立装置13から自身の一方の上流で引き継いで、バケットコンベア装置19に向けて搬送する。このオーバーヘッドコンベア装置18において、ピロー包装体YA1は、一対の耳部が幅方向の両側に配置されるように起立させた状態で、かつ、搬送方向に2パック並べた状態で搬送される。
第1搬送経路R10として使用する場合、オーバーヘッドコンベア装置18は、目薬ボトルXA1を、10本ずつ、増列装置17から自身の他方の上流で引き継いで、バケットコンベア装置19に向けて搬送する。このオーバーヘッドコンベア装置18において、目薬ボトルXA1は、個々に自立した状態で、かつ、幅方向に5本並べ、搬送方向に2本並べた状態で搬送される。
ここで、図9を用いて、オーバーヘッドコンベア装置18の構成および動作について説明する。図9(A)は、オーバーヘッドコンベア装置18の側面図であり、第2搬送経路R20として用いる場合を示す。図9(B)は、オーバーヘッドコンベア装置18の側面図であり、第1搬送経路R10として用いる場合を示す。
図9(A)および図9(B)に示すように、オーバーヘッドコンベア装置18は、第2搬送経路R20として使用される第2搬送路47と、第1搬送経路R10として使用される第1搬送路48と、オーバーヘッドコンベア49と、を備えている。
第2搬送路47は、自身の上流の側端が起立装置13の側端に隣接すると共に、自身の下流端がバケットコンベア装置19の上流の一方の側端(図1、図9(A)および図9(B)における右側の側端)に繋がるように配置されている。この第2搬送路47は、起立装置13から送り込まれるピロー包装体YA1を、自身の上流の側方から受け入れる第2受入部52と、ピロー包装体YA1を自身の下流からバケットコンベア装置19に送り出す第2送出部53と、を備えている。このような第2搬送路47は、オーバーヘッドコンベア49の動力によって、ピロー包装体YA1を、当該ピロー包装体YA1の大きさに応じたパック数である2パック毎に集積された状態で搬送する。
第1搬送路48は、自身の上流の側端が増列装置17の下流端に繋がると共に、自身の下流端がバケットコンベア装置19の上流の他方の側端(図1、図9(A)および図9(B)における左側の側端)に繋がるように配置されている。この第1搬送路48は、増列装置17から送り込まれる目薬ボトルXA1を、自身の上流の側方から受け入れる第1受入部54と、目薬ボトルXA1を自身の下流からバケットコンベア装置19に送り出す第1送出部55と、を備えている。このような第1搬送路48は、オーバーヘッドコンベア49の動力によって、目薬ボトルXA1を、当該目薬ボトルXA1の大きさに応じた本数である10本毎に集積された状態で搬送する。
オーバーヘッドコンベア49は、第2搬送路47および第1搬送路48の上方に沿って配置されている。このオーバーヘッドコンベア49は、第2搬送経路R20として使用する場合、図9(A)に示すように、第2搬送路47の上流から下流(図面における左側から右側)に向けて走行する。また、オーバーヘッドコンベア49は、第1搬送経路R10として使用する場合、図9(B)に示すように、第1搬送路48の上流から下流(図面における右側から左側)に向けて走行する。すなわち、オーバーヘッドコンベア49は、第2搬送経路R20として使用する場合と、第1搬送経路R10として使用する場合と、で互いに逆の方向に向けて走行する。
具体的に、オーバーヘッドコンベア49は、複数のスプロケット58,59,60,61と、スプロケット58,59に引っ掛けられて走行する環状のチェーン62と、スプロケット60,61に引っ掛けられて走行する環状のチェーン63と、チェーン62の動力源となる1つ目のサーボモータ(図示省略)と、チェーン63の動力源となる2つ目のサーボモータ(図示省略)と、チェーン62に対して所定間隔毎に取り付けられた複数の支持部材64と、チェーン63に対して所定間隔(支持部材64同士の間隔と同一の間隔)毎に取り付けられた複数の支持部材65と、を備えている。
スプロケット58は、1つ目のサーボモータに連結して当該サーボモータの駆動によって間欠的に回転する。スプロケット59は、チェーン62の間欠的な走行によって、スプロケット58に連動して間欠的に回転する。チェーン62は、スプロケット58の間欠的な回転によって循環するように間欠的に走行する。
複数の支持部材64は、チェーン62の間欠的な走行によって、当該チェーン62と一体に循環するように間欠的に走行する。このように、スプロケット58,59、チェーン62、および1つ目のサーボモータは、支持部材64を搬送方向に走行させる駆動機構として機能する。
スプロケット60は、2つ目のサーボモータに連結して当該サーボモータの駆動によって、スプロケット58と同一のタイミングで間欠的に回転する。スプロケット61は、チェーン63の間欠的な走行によって、スプロケット60に連動して間欠的に回転する。チェーン63は、スプロケット60の間欠的な回転によって、チェーン62と同一のタイミングで循環するように間欠的に走行する。
複数の支持部材65は、複数の支持部材64と交互に配置されている。これら複数の支持部材65は、チェーン63の間欠的な走行によって、当該チェーン63と一体に循環するように、複数の支持部材64と同一のタイミングで間欠的に走行する。このように、スプロケット60,61、チェーン63、および2つ目のサーボモータは、支持部材65を搬送方向に走行させる駆動機構として機能する。
複数の支持部材64,65は、2つが対になってピロー包装体YA1または目薬ボトルXA1を受け入れる。すなわち、第2搬送路47の第2受入部52は、隣接する2つの支持部材64,65同士の間に、ピロー包装体YA1を受け入れる。第1搬送路48の第1受入部54は、隣接する2つの支持部材64,65同士の間に、目薬ボトルXA1を受け入れる。そして、これら複数の支持部材64,65は、自身の走行によって、受け入れているピロー包装体YA1または目薬ボトルXA1をバケットコンベア装置19に向けて搬送する。
また、複数の支持部材64,65は、64と65で対になり、互いの間隔が調整可能な構造になっている。具体的に、複数の支持部材64,65は、互いに独立した動力源として、別々のサーボモータを有しており、互いの間の位相差が変更可能になっている。この位相差は、ハンドル(図示省略)の操作によって変更される。位相差を変更することで、支持部材64および支持部材65の互いの間隔が調整される。すなわち、起立装置13から受け入れるピロー包装体YA1の大きさやパック数の変更、あるいは、増列装置17から受け入れる目薬ボトルXA1の大きさや本数の変更などに応じて、支持部材64と支持部材65との間隔を、調整できる。
図1に戻って説明する。バケットコンベア装置19は、自身の上流の一方(図1における右側)の側端が、オーバーヘッドコンベア装置18における第2搬送路47の下流端に繋がるように、当該第2搬送路47と直交に配置されている。また、バケットコンベア装置19は、自身の上流の他方(図1における左側)の側端が、オーバーヘッドコンベア装置18における第1搬送路48の下流端に繋がるように、当該第1搬送路48と直交に配置されている。
このバケットコンベア装置19は、第2搬送経路R20および第1搬送経路R10として兼用される。
第2搬送経路R20として使用する場合、バケットコンベア装置19は、ピロー包装体YA1を、2パックずつ、オーバーヘッドコンベア装置18から自身の上流で引き継いで、箱詰め装置(図示省略)に向けて搬送する。このバケットコンベア装置19において、ピロー包装体YA1は、一対の耳部が搬送方向の前後に配置されるように起立させた状態で、かつ、幅方向に2パック並べた状態で搬送される。
第1搬送経路R10として使用する場合、バケットコンベア装置19は、目薬ボトルXA1を、10本ずつ、オーバーヘッドコンベア装置18から自身の上流で引き継いで、箱詰め装置(図示省略)に向けて搬送する。このバケットコンベア装置19において、目薬ボトルXA1は、個々に自立した状態で、かつ、幅方向に2本並べ、搬送方向に5本並べた状態で搬送される。
具体的に、バケットコンベア装置19は、上流から下流に向けて連続して配置された2列の走行プレート71と、ピロー包装体YA1や目薬ボトルXA1を下流側から支持する複数の先行フィンガー72と、ピロー包装体YA1や目薬ボトルXA1を上流側から支持する複数の後続フィンガー73と、ピロー包装体YA1や目薬ボトルXA1を両側方からガイドする対のサイドガイド74と、一方の列(図1における右側の列)の走行プレート71の動力源となるサーボモータ(図示省略)と、このサーボモータの動力を走行プレートに伝達するチェーン(図示省略)およびスプロケット(図示省略)と、他方の列(図1における左側の列)の走行プレートの動力源となるサーボモータ(図示省略)と、このサーボモータの動力を走行プレートに伝達するチェーン(図示省略)およびスプロケット(図示省略)と、を備えている。
2列の走行プレート71は、互いに一緒になって上流から下流に向けて間欠的に走行することで、ピロー包装体YA1や目薬ボトルXA1を搬送する。複数の先行フィンガー72は、一方の列(図1における右側の列)の走行プレート71に対して、走行方向に所定間隔をおいて一体に設けられている。このため、先行フィンガー72は、一方の列の走行プレート71と一体に走行する。複数の後続フィンガー73は、他方の列(図1における左側の列)の走行プレート71に対して、走行方向に所定間隔をおいて一体に設けられている。このため、後続フィンガー73は、他方の列の走行プレート71と一体に走行する。
また、2列の走行プレート71は、互いに独立した動力源を有しており、互いの間の位相差が変更可能になっている。この位相差は、ハンドル(図示省略)の操作によって変更される。位相差を変更することで、走行プレート71に一体に設けられている先行フィンガーお72よび後続フィンガー73の互いの間隔が調整される。すなわち、オーバーヘッドコンベア装置18から送り込まれる物品が、ピロー包装体YA1であるか、あるいは、目薬ボトルXA1であるか、などに応じて、先行フィンガー72と後続フィンガー73との間隔を、調整できる。なお、先行フィンガー72および後続フィンガー73は、互いの間隔が調整できないものであってももちろんよい。このような走行プレート71は、先行フィンガー72および後続フィンガー73と共に、ピロー包装体YA1や目薬ボトルXA1を収容して搬送するバケット(符号省略)として機能する。
次に、搬送設備10の動作手順について、図1に基づいて説明する。
まず、第2搬送経路R20を使用する場合を説明する。前工程の設備から順次間隔をおいて1列で送り込まれたピロー包装体YA1は、第1搬送コンベア装置11によって、一対の耳部が搬送方向の前後に配置される状態で搬送されて、第2搬送コンベア装置12に引き継がれる。第2搬送コンベア装置12に引き継がれたピロー包装体YA1は、引き続き、一対の耳部が搬送方向の前後に配置される状態で搬送されて、起立装置13に引き継がれる。起立装置13において、ピロー包装体YA1は、一対の耳部が幅方向の両側に配置される状態で搬送されながら、起立させられる。
起立させた状態のピロー包装体YA1は、送入装置14によってオーバーヘッドコンベア装置18に引き継がれる。オーバーヘッドコンベア装置18に引き継がれたピロー包装体YA1は、搬送方向に並ぶように2パックに集積され、引き続き、一対の耳部が幅方向の両側に配置されるように起立させた状態で搬送される。そして、ピロー包装体YA1は、バケットコンベア装置19に引き継がれる。バケットコンベア装置19に引き継がれたピロー包装体YA1は、一対の耳部が搬送方向の前後に配置されるように起立させた状態で、かつ、2パックが幅方向に並ぶ状態で搬送されて、箱詰め装置に供給される。
続いて、第1搬送経路R10を使用する場合を説明する。前工程の設備から順次1列で送り込まれた目薬ボトルXA1は、第3搬送コンベア装置15によって、個々に自立した状態で搬送されて、ターンテーブル装置16に1列で引き継がれる。ターンテーブル装置16に引き継がれた目薬ボトルXA1は、引き続き、個々に自立した状態で搬送されて、増列装置17に1列で引き継がれる。増列装置17において、目薬ボトルXA1は、個々に自立した状態で搬送されながら、1列から2列に増列させられる。そして、目薬ボトルXA1は、オーバーヘッドコンベア装置18に2列で引き継がれる。
オーバーヘッドコンベア装置18に引き継がれた目薬ボトルXA1は、個々に自立した状態で、かつ、幅方向に5本並べ、搬送方向に2本並べた状態で搬送される。そして、目薬ボトルXA1は、バケットコンベア装置に引き継がれる。バケットコンベア装置19に引き継がれた目薬ボトルXA1は、個々に自立した状態で、かつ、幅方向に2本並べ、搬送方向に5本並べた状態で搬送されて、箱詰め装置に供給される。
以上説明したように、本発明に係る搬送設備は、集積された物品(目薬ボトルXA1、ピロー包装体YA1)群を搬送する搬送路(走行プレート71)と、当該搬送路(走行プレート71)において前記物品(目薬ボトルXA1、ピロー包装体YA1)群を搬送方向の前後から支持する一対の第1支持部材(先行フィンガー72、後続フィンガー73)と、受入部(第1受入部54、第2受入部52)とを有する搬送設備(搬送設備10)であって、前記受入部(第1受入部54、第2受入部52)を通じて前記物品(目薬ボトルXA1、ピロー包装体YA1)群を前記一対の第1支持部材(先行フィンガー72、後続フィンガー73)間に供給する送入装置(オーバーヘッドコンベア装置18)を備え、前記送入装置(オーバーヘッドコンベア装置18)は、前記物品(目薬ボトルXA1、ピロー包装体YA1)群を押送する第2支持部材(支持部材64,65)を有しており、前記物品(目薬ボトルXA1、ピロー包装体YA1)群が複数の物品(目薬ボトルXA1)を集積した物品(目薬ボトルXA1)群と、物品(目薬ボトルXA1)をまとめて包装した集合包装品(ピロー包装体YA1)からなる物品(ピロー包装体YA1)群であり、これらを、前記受入部(第1受入部54、第2受入部52)を通じて供給することを特徴とする。
そして、本発明に係る搬送設備は、集積された物品(目薬ボトルXA1、ピロー包装体YA1)群を搬送する搬送路(走行プレート71)と、当該搬送路(走行プレート71)において前記物品(目薬ボトルXA1、ピロー包装体YA1)群を搬送方向の前後から支持する一対の第1支持部材(先行フィンガー72、後続フィンガー73)と、受入部(第1受入部54、第2受入部52)とを有する搬送設備(搬送設備10)であって、前記受入部(第1受入部54、第2受入部52)を通じて物品(目薬ボトルXA1、ピロー包装体YA1)群を前記一対の第1支持部材(先行フィンガー72、後続フィンガー73)間に供給する送入装置(オーバーヘッドコンベア装置18)を備え、前記送入装置(オーバーヘッドコンベア装置18)は、前記物品(目薬ボトルXA1、ピロー包装体YA1)群を押送する第2支持部材(支持部材64,65)を有しており、前記物品(目薬ボトルXA1、ピロー包装体YA1)群が物品(目薬ボトルXA1、ピロー包装体YA1)を同一種類毎に集積した物品(目薬ボトルXA1、ピロー包装体YA1)群、又は同一種類の包装体(目薬ボトルXA1、ピロー包装体YA1)毎に集積した物品(目薬ボトルXA1、ピロー包装体YA1)群であり異なる種類の物品(目薬ボトルXA1、ピロー包装体YA1)群を、受入部(第1受入部54、第2受入部52)を通じて供給することを特徴とする。
また、本発明に係る搬送設備は、前記受入部(第1受入部54、第2受入部52)を複数備え、異なる種類の前記物品(目薬ボトルXA1、ピロー包装体YA1)群を別々の受入部(第1受入部54、第2受入部52)を通じて供給することを特徴としてもよい。
また、本発明に係る搬送設備は、前記受入部(第1受入部54、第2受入部52)として、第1受入部(第1受入部54)と第2受入部(第2受入部52)とを備え、前記第1受入部(第1受入部54)と前記第2受入部(第2受入部52)とが対向配置され、前記第1受入部(第1受入部54)と前記第2受入部(第2受入部52)とに跨るように前記送入装置(オーバーヘッドコンベア装置18)が前記搬送路(走行プレート71)の上方を横断して配置され、当該送入装置(オーバーヘッドコンベア装置18)には前記第2支持部材(支持部材64,65)が吊設されていることを特徴としてもよい。
さらに、本発明に係る搬送設備において、前記送入装置(オーバーヘッドコンベア装置18)は、正逆回転が可能な環状体(チェーン62,63)に前記第2支持部材(支持部材64,65)が吊設されていることを特徴としてもよい。
次いで、本発明に係る搬送設備において、前記第2支持部材(支持部材64,65)は複数設けられていて間隔を変更可能になっていることを特徴としてもよい。
そして、本発明に係る搬送設備は、前記物品(目薬ボトルXA1)が自立容器であり、前記第1受入部(第1受入部54)から受け入れる前記物品(目薬ボトルXA1)群は複数の前記物品(目薬ボトルXA1)を自立させた状態で集積したものであり、前記第2受入部(第2受入部52)から受け入れる前記物品(ピロー包装体YA1)群は複数の前記物品(目薬ボトルXA1)をピロー包装した前記集合包装品(ピロー包装体YA1)であることを特徴としてもよい。
また、本発明に係る搬送設備は、前記第2受入部(第2受入部52)において、ピロー包装した前記集合包装品(ピロー包装体YA1)を、耳部と平行な幅方向を縦向きにして起立させ、且つ長さ方向を前記搬送路(走行プレート71)の搬送方向と平行にした状態で受け入れることを特徴としてもよい。
さらに、本発明に係る搬送設備は、前記集合包装品(ピロー包装体YA1)を起立させる起立装置(起立装置13)を備え、当該起立装置(起立装置13)は、縦方向に回転する回転体(ベルト28)の外周部に複数の仕切り部材(仕切り部材29)が放射状に配置され、当該仕切り部材(仕切り部材29)の間に前記集合包装品(ピロー包装体YA1)を、その長さ方向を前記回転体(ベルト28)の回転方向に直交させ且つ転倒又は傾いた姿勢で受け入れ、前記回転体(ベルト28)を回転させることで姿勢を起立状態に変更する装置(起立装置13)であることを特徴としてもよい。
このように、オーバーヘッドコンベア装置18によれば、第2搬送路47が、第2搬送経路R20から送り込まれるピロー包装体YA1を受け入れる第2受入部52を備えていると共に、第1搬送路48が、第1搬送経路R10から送り込まれる目薬ボトルXA1を受け入れる第1受入部54を備えているので、ピロー包装体YA1と、当該ピロー包装体YA1と大きさの異なる目薬ボトルXA1と、を搬送できる。また、第2搬送経路R20からのピロー包装体YA1と、第1搬送経路R10からの目薬ボトルXA1と、を共通する1台の箱詰め装置(図示省略)に送り出せる。すなわち、搬送先を共通化でき、ひいては、省スペースおよびコスト削減を実現できる。
そして、オーバーヘッドコンベア装置18によれば、ピロー包装体YA1や目薬ボトルXA1の大きさや数に応じて、対の支持部材64,65の互いの間隔を調整しておくことで、大きさの異なる種々の物品を安定して搬送できる。
また、オーバーヘッドコンベア装置18によれば、搬送方向に走行する支持部材64が、第2搬送路47上のピロー包装体YA1を押して搬送するので、最終的に、当該支持部材64が当該ピロー包装体YA1を第2送出部53から搬送先に送り出せる。すなわち、第2搬送路47上のピロー包装体YA1を押して搬送する支持部材64を、当該ピロー包装体YA1を第2送出部53から送り出す手段として兼用できる。結果、部品点数が減り、省スペースおよびコスト削減を実現できる。
さらに、オーバーヘッドコンベア装置18によれば、搬送方向に走行する支持部材65が、第1搬送路48上の目薬ボトルXA1を押して搬送するので、最終的に、当該支持部材65が当該目薬ボトルXA1を第1送出部55から搬送先に送り出せる。すなわち、第1搬送路48上の目薬ボトルXA1を押して搬送する支持部材65を、当該目薬ボトルXA1を第1送出部55から送り出す手段として兼用できる。結果、部品点数が減り、省スペースおよびコスト削減を実現できる。
そして、オーバーヘッドコンベア装置18によれば、使用する受入部として、第2受入部52および第1受入部54を選択的に設定しておくことで、搬送先である箱詰め装置において箱詰めする対象を、ピロー包装体YA1および目薬ボトルXA1のうちの所望の一方に限定できる。
ところで、仮に、一対の耳部がピロー包装体YA1の上下に配置されるように起立させた場合には、ピロー包装体YA1自身の荷重によって、下方に配置された耳部が潰れてピロー包装体YA1自身の形状をきれいに保てない。しかし、オーバーヘッドコンベア装置18によれば、ピロー包装体YA1自身の荷重によって耳部が潰れることはなく、ピロー包装体YA1自身の形状をきれいに保てる。このため、後に耳部を折り曲げる処理を施す場合であっても、所望の態様に耳部を折り曲げられる。
また、オーバーヘッドコンベア装置18によれば、第2受入部52から受け入れたピロー包装体YA1を構成する目薬ボトルXA1と、第1受入部54から受け入れた目薬ボトルXA1と、のそれぞれを、互いに同じ姿勢(自立する姿勢)となるように第2送出部53または第1送出部55から送り出せる。このため、第2受入部52から一回に受け入れる目薬ボトルXA1(ピロー包装体YA1を構成する目薬ボトルXA1)の総数と、第1受入部54から一回に受け入れる目薬ボトルXA1の総数と、を同じ10本に設定しているので、第2送出部53から一回に送り出すピロー包装体YA1全体の大きさと、第1送出部55から一回に送り出す目薬ボトルXA1全体の大きさと、を同じにできる。
さらに、オーバーヘッドコンベア装置18によれば、特に形状が同一の包装形態であって、内容物が異なる場合において、製品毎に専用の受入部を設けることで、異なる製品が混入することを確実に防止することができる。
本発明は、上記実施形態に限られるものではなく、その趣旨および技術思想を逸脱しない範囲で種々の変形が可能である。
すなわち、上記実施形態において、各構成の位置、大きさ、形状、材質、向き、数量などは適宜変更できる。例えば、送入装置14がオーバーヘッドコンベア装置18に送り入れるピロー包装体YA1のパック数は、2パックに限定されず、3パック以上であってもよい。そして、受入部52,54を2つとしたがこれに限定されず、3つ以上であってもよい。また、増列装置17で増列する列数は、2列に限定されず、3列以上であってもよい。
あるいは、上記実施形態において、オーバーヘッドコンベア装置18は、ピロー包装体YA1を受け入れる第2受入部52、ピロー包装体YA1や目薬ボトルXA1を送り出す送出部(第2送出部53、第1送出部55)、および、目薬ボトルXA1を受け入れる第1受入部54を、この順に配置されるように備えているが、この順に配置されることに限定されず、例えば、図10に示すように、第2受入部52、第1受入部54、送出部の順に配置されるようにしてもよい。すなわち、受入部(第1受入部54、第2受入部52)は、物品群を搬送路(バケットコンベア装置19における走行プレート)の一方の側方より共通する送入装置(オーバーヘッドコンベア装置18)によって供給することにより、1つであってもよい。
あるいは、上記実施形態において、オーバーヘッドコンベア装置18は、1台のオーバーヘッドコンベア49を備えているが、複数台(例えば2台)のオーバーヘッドコンベア49を備えるようにしてもよい。この場合、複数のオーバーヘッドコンベア49を、バケットコンベア装置19の流れ方向にずらして配置することが可能になる。
例えば、図11に示すように、バケットコンベア装置19の上流側で目薬ボトルXA1を受け入れると共に、その下流側でピロー包装体YA1を受け入れるようにすることができる。
また、図12に示すように、バケットコンベア装置19の上流側および下流側のそれぞれにおいて、目薬ボトルXA1を受け入れるようにすることができる。さらに、図示は省略するが、複数の起立装置13を流れ方向に配置して、上流側および下流側のそれぞれにおいて、ピロー包装体YA1を受け入れるようにすることができる。
あるいは、上記実施形態において、まとめて包装した集合包装品(目薬ボトルXA1をまとめて包装したピロー包装体YA1)からなる物品群の物品と、複数の物品(目薬ボトルXA1)を集積した物品群の物品とは、同一物品(目薬ボトルXA1)であるが、異なる物品であってもよい。
あるいは、上記実施形態において、まとめて包装した集合包装品からなる物品群は、2つの集合包装品(2つのピロー包装体YA1)からなるが、1つの集合包装品からなってもよい。
あるいは、上記実施形態において、送入装置としてオーバーヘッドコンベア装置18を適用しているが、これに代えて、揺動、又はボックスモーションを行う押送部材を有するプッシャ―装置を適用してもよい。又、そのとき押送部材は、1つであってもよい。あるいは、プレートコンベア(特許第4844989号公報参照)、プレートコンベア(実開昭63−123403号のマイクロフィルムにおける図1参照)等であってもよい。
10 搬送設備
13 起立装置
14 送入装置
18 オーバーヘッドコンベア装置(送入装置)
28 ベルト(回転体)
29 仕切り部材
52 第2受入部
54 第1受入部
62,63 チェーン(環状体)
64,65 支持部材
71 走行プレート(搬送路)
72 先行フィンガー(第1支持部材)
73 後続フィンガー(第1支持部材)
XA1 目薬ボトル
YA1 ピロー包装体

Claims (10)

  1. 集積された物品群を搬送する搬送路と、
    当該搬送路において前記物品群を搬送方向の前後から支持する一対の第1支持部材と、
    受入部と、
    送出部と、を有する搬送設備であって、
    前記物品群を、前記受入部を通じて受け入れ、前記送出部を通じて前記一対の第1支持部材間に供給する送入装置を備え、
    前記送入装置は、前記物品群を押送する第2支持部材を有しており、
    前記物品群が複数の物品を集積した物品群と、物品をまとめて包装した集合包装品からなる物品群であることを特徴とする搬送設備。
  2. 集積された物品群を搬送する搬送路と、
    当該搬送路において前記物品群を搬送方向の前後から支持する一対の第1支持部材と、
    受入部と、
    送出部と、を有する搬送設備であって、
    前記物品群を、前記受入部を通じて受け入れ、前記送出部を通じて前記一対の第1支持部材間に供給する送入装置を備え、
    前記送入装置は、前記物品群を押送する第2支持部材を有しており、
    前記物品群が物品を同一種類毎に集積した物品群、又は同一種類の包装体毎に集積した物品群であり異なる種類の物品群であることを特徴とする搬送設備。
  3. 前記物品群を受け入れる前記受入部を複数備え、異なる種類の前記物品群を別々の受入部を通じて受け入れる、ことを特徴とする請求項1又は2記載の搬送設備。
  4. 前記受入部として、第1受入部と第2受入部とを備え、
    前記第1受入部と前記第2受入部とに跨るように前記送入装置が前記搬送路の上方を横断して配置され、当該送入装置には前記第2支持部材が吊設されていることを特徴とする請求項3記載の搬送設備。
  5. 前記送入装置は、正逆回転が可能な環状体に前記第2支持部材が吊設されていることを特徴とする請求項4記載の搬送設備。
  6. 前記第2支持部材は複数設けられていて間隔を変更可能になっていることを特徴とする請求項4又は5記載の搬送設備。
  7. 集積された物品群を搬送する搬送路と、
    当該搬送路において前記物品群を搬送方向の前後から支持する一対の第1支持部材と、
    受入部と、
    送出部と、を有する搬送設備であって、
    前記物品群を、前記受入部を通じて受け入れ、前記送出部を通じて前記一対の第1支持部材間に供給する送入装置を備え、
    前記送入装置は、前記物品群を押送する第2支持部材を有しており、
    前記受入部として、第1受入部と第2受入部とを備え、
    前記物品群が複数の物品を集積した物品群と、物品をまとめて包装した集合包装品からなる物品群であり、
    前記物品が自立容器であり、前記第1受入部から受け入れる前記物品群は複数の前記物品を自立させた状態で集積したものであり、前記第2受入部から受け入れる前記物品群は複数の前記物品をピロー包装した前記集合包装品であることを特徴とする搬送設備。
  8. 前記第2受入部において、ピロー包装した前記集合包装品を、耳部と平行な幅方向を縦向きにして起立させ、且つ長さ方向を前記搬送路の搬送方向と平行にした状態で受け入れることを特徴とする請求項7記載の搬送設備。
  9. 前記集合包装品を起立させる起立装置を備え、当該起立装置は、縦方向に回転する回転体の外周部に複数の仕切り部材が放射状に配置され、当該仕切り部材の間に前記集合包装品を、その長さ方向を前記回転体の回転方向に直交させ且つ転倒又は傾いた姿勢で受け入れ、前記回転体を回転させることで姿勢を起立状態に変更する装置であることを特徴とする請求項8記載の搬送設備。
  10. 請求項1〜9のいずれかに記載の搬送設備を備えたことを特徴とするカートナー又は、段ボールケーサー。
JP2012006137A 2012-01-16 2012-01-16 搬送設備、及び、カートナー又は、段ボールケーサー Active JP5964596B2 (ja)

Priority Applications (1)

Application Number Priority Date Filing Date Title
JP2012006137A JP5964596B2 (ja) 2012-01-16 2012-01-16 搬送設備、及び、カートナー又は、段ボールケーサー

Applications Claiming Priority (1)

Application Number Priority Date Filing Date Title
JP2012006137A JP5964596B2 (ja) 2012-01-16 2012-01-16 搬送設備、及び、カートナー又は、段ボールケーサー

Publications (2)

Publication Number Publication Date
JP2013144564A JP2013144564A (ja) 2013-07-25
JP5964596B2 true JP5964596B2 (ja) 2016-08-03

Family

ID=49040614

Family Applications (1)

Application Number Title Priority Date Filing Date
JP2012006137A Active JP5964596B2 (ja) 2012-01-16 2012-01-16 搬送設備、及び、カートナー又は、段ボールケーサー

Country Status (1)

Country Link
JP (1) JP5964596B2 (ja)

Families Citing this family (1)

* Cited by examiner, † Cited by third party
Publication number Priority date Publication date Assignee Title
CN109733673A (zh) * 2018-12-28 2019-05-10 黄洪廉 一种全自动方盒装箱机

Family Cites Families (2)

* Cited by examiner, † Cited by third party
Publication number Priority date Publication date Assignee Title
JPS50117579U (ja) * 1974-03-07 1975-09-25
JP5036180B2 (ja) * 2005-12-15 2012-09-26 サントリーホールディングス株式会社 容器整列方法、容器整列装置、マルチパック製造方法およびマルチパック製造装置

Also Published As

Publication number Publication date
JP2013144564A (ja) 2013-07-25

Similar Documents

Publication Publication Date Title
RU2511317C2 (ru) Двойная упаковочная линия и система дозирования
JP3868490B2 (ja) 多数個パックの包装装置
EP2743192B1 (en) A unit for sequencing and guiding items
US8474598B2 (en) Device and method for composing packages for a packaging machine
KR20110031344A (ko) 패키징 기계 및 물품 패키징 방법
KR101501768B1 (ko) 다수의 병 포장물을 일괄포장하는 랩 어라운드 포장기
EP2483157B1 (en) Packaging machine
AU2007316375A1 (en) Integrated secondary and tertiary packaging machine
US11697518B2 (en) Device used to handle articles to be packaged and method used to adapt a device for the transport of articles intended for packaging
JP2010521386A (ja) 移送路に沿うパッケージのグループ分けユニットおよび方法
CN114502471A (zh) 物品拾取和处理设备
ITUB20153192A1 (it) Dispositivo d'imballaggio e procedimento per modificare un tratto di trasporto di un dispositivo d'imballaggio
CN105517906A (zh) 包装物品的包装机器及方法
US11117749B2 (en) Apparatus for handling articles as well as method for exchanging at least one transport module and at least one work module of the apparatus
US11718428B2 (en) Methods and machine for packaging primary containers in secondary containers and a shipping tray
US20130298500A1 (en) Device and method for overwrapping identical or similar products and boxing the overwrapped products
US9694926B2 (en) Method and system for conveying rolled absorbent products
JP5964596B2 (ja) 搬送設備、及び、カートナー又は、段ボールケーサー
KR101501893B1 (ko) 랩 어라운드 포장기에 있어서 상자의 플랩 폴딩장치
CN215665383U (zh) 分拣包装产品的分拣装置和处理包装的处理装置
JP6333572B2 (ja) 集積方法及び装置
JP6547475B2 (ja) 物品集積装置
JP5941699B2 (ja) 搬送設備

Legal Events

Date Code Title Description
A621 Written request for application examination

Free format text: JAPANESE INTERMEDIATE CODE: A621

Effective date: 20141218

A977 Report on retrieval

Free format text: JAPANESE INTERMEDIATE CODE: A971007

Effective date: 20151008

A131 Notification of reasons for refusal

Free format text: JAPANESE INTERMEDIATE CODE: A131

Effective date: 20151104

A521 Request for written amendment filed

Free format text: JAPANESE INTERMEDIATE CODE: A523

Effective date: 20151222

TRDD Decision of grant or rejection written
A01 Written decision to grant a patent or to grant a registration (utility model)

Free format text: JAPANESE INTERMEDIATE CODE: A01

Effective date: 20160621

A61 First payment of annual fees (during grant procedure)

Free format text: JAPANESE INTERMEDIATE CODE: A61

Effective date: 20160630

R150 Certificate of patent or registration of utility model

Ref document number: 5964596

Country of ref document: JP

Free format text: JAPANESE INTERMEDIATE CODE: R150

R250 Receipt of annual fees

Free format text: JAPANESE INTERMEDIATE CODE: R250

R250 Receipt of annual fees

Free format text: JAPANESE INTERMEDIATE CODE: R250

R250 Receipt of annual fees

Free format text: JAPANESE INTERMEDIATE CODE: R250

R250 Receipt of annual fees

Free format text: JAPANESE INTERMEDIATE CODE: R250

R250 Receipt of annual fees

Free format text: JAPANESE INTERMEDIATE CODE: R250

R250 Receipt of annual fees

Free format text: JAPANESE INTERMEDIATE CODE: R250

R250 Receipt of annual fees

Free format text: JAPANESE INTERMEDIATE CODE: R250