JP5910552B2 - 金属材料搬送用ロール及びその製造方法 - Google Patents

金属材料搬送用ロール及びその製造方法 Download PDF

Info

Publication number
JP5910552B2
JP5910552B2 JP2013056489A JP2013056489A JP5910552B2 JP 5910552 B2 JP5910552 B2 JP 5910552B2 JP 2013056489 A JP2013056489 A JP 2013056489A JP 2013056489 A JP2013056489 A JP 2013056489A JP 5910552 B2 JP5910552 B2 JP 5910552B2
Authority
JP
Japan
Prior art keywords
roll
shaft core
outer cylinder
groove
metal material
Prior art date
Legal status (The legal status is an assumption and is not a legal conclusion. Google has not performed a legal analysis and makes no representation as to the accuracy of the status listed.)
Active
Application number
JP2013056489A
Other languages
English (en)
Other versions
JP2014180684A (ja
Inventor
章規 大森
章規 大森
誠 内藤
誠 内藤
Current Assignee (The listed assignees may be inaccurate. Google has not performed a legal analysis and makes no representation or warranty as to the accuracy of the list.)
JFE Steel Corp
Original Assignee
JFE Steel Corp
Priority date (The priority date is an assumption and is not a legal conclusion. Google has not performed a legal analysis and makes no representation as to the accuracy of the date listed.)
Filing date
Publication date
Application filed by JFE Steel Corp filed Critical JFE Steel Corp
Priority to JP2013056489A priority Critical patent/JP5910552B2/ja
Publication of JP2014180684A publication Critical patent/JP2014180684A/ja
Application granted granted Critical
Publication of JP5910552B2 publication Critical patent/JP5910552B2/ja
Active legal-status Critical Current
Anticipated expiration legal-status Critical

Links

Images

Landscapes

  • Rolls And Other Rotary Bodies (AREA)

Description

本発明は、割損が生じにくい金属材料搬送用ロール及びその製造方法に関する。
製鉄所で用いられている設備、例えば、連続鋳造設備や熱延設備などでは、金属材料搬送用ロールが用いられる。その金属材料搬送用ロールとしては、ヒートクラックなどによるロールの割損を抑えるために、軸芯と外筒とを焼き嵌めするなどして、これらを結合して形成される組立式のロールがある。その組立式のロールは、ヒートクラックが、外筒の表面から発生し、軸芯との境界までで停止するような機構になっているので、ロール全体にヒートクラックが生じることが抑えられている。
このような組立式のロールでは、外筒の材料として耐摩耗性に優れた金属が用いられ、軸芯の材料として疲労強度及び靱性に優れた金属が用いられるので、外筒と軸芯とで熱膨張率が異なっている。特許文献1には、この組立式のロールとして、熱膨張率やヤング率などの物性から算出される熱衝撃係数が所定の値以上となる材料からなる外筒を有する板圧延用超硬合金製複合ロールが提案されており、これにより、熱衝撃による初期クラックを防止している。
上述の組立式のロールは、円筒状の外筒を加熱し膨張させて、加熱していない円柱状の軸芯を外筒内に挿入し、この外筒を冷却して製造される。これにより、外筒の内周面は軸芯の周面に接触している状態となるが、単に、外筒に軸芯を挿入した後に、この外筒を冷却しただけでは、これらがスリップする可能性がある。そこで、このスリップを防止するために、ロールの軸方向の両端部における軸芯と外筒との境界を溶接して、外筒と軸芯とがともに回転するようにしている。特許文献1の発明のロールの構造では、外筒と軸芯とで熱膨張率が異なっているため、ロールの使用環境にもよるが熱によっては、外筒及び軸芯の一方が、もう一方より大きく膨張してしまい、軸芯と外筒との溶接部分に応力が掛かり、該溶接部分が破損するおそれがある。
そこで、外筒がロールの軸方向に分割され、分割された外筒の間で、ロールの円周方向に沿って軸芯の周面の一部が露出している間隔を形成して、その間隔へ外筒が膨張することを可能とし、溶接部分が破損することを防いでいる。図4は、この間隔が形成された外筒を有する従来の金属材料搬送用ロールである。この従来の金属材料搬送用ロール101において、外筒102に間隔103を形成すると、溶接部分106で外筒102と溶接された軸芯104の、外筒102のコーナー部分105に対応する部分に凹み傷が発生し、そこから軸芯104にクラックが生じる現象が観察された。このようなクラックの発生は、例えば、連続鋳造設備におけるダウンタイムトラブルに繋がる。
特許2004−268140号公報
本発明は上記現象に鑑みてなされたもので、その目的とするところは、割損が生じにくい金属材料搬送用ロール及びその製造方法を提供することである。
本発明者らは、従来の金属材料搬送用ロールにおけるコーナー部分に凹み傷が発生する理由を鋭意検討した結果、金属材料を搬送する際に外筒に荷重が掛かった状態で、その金属材料搬送用ロールが回転すると、外筒の端面のうちの内周端となるコーナー部分に対応する軸芯の部分に応力が集中する可能性があると推察し、そのコーナー部分に対応する部分の形状を変更することで、その部分に掛かる応力を抑える本発明を完成した。
すなわち、上記課題を解決するための本発明の要旨は以下の通りである。
(1)円柱状の軸芯と該軸芯の周面を覆う外筒とを備える金属材料搬送用ロールであって、前記外筒はロールの軸方向に分割され、分割された外筒間には、ロールの円周方向に沿って前記軸芯の周面の一部を露出している間隔が設けられ、露出した前記軸芯の周面には溝が形成されており、該溝の両端部には、前記溝の底部と前記軸芯の周面とを結ぶ曲面が形成されていることを特徴とする金属材料搬送用ロール。
(2)前記間隔を形成している前記外筒の端面は前記軸芯の周面側へ面取りされていることを特徴とする上記(1)に記載の金属材料搬送用ロール。
(3)円柱状の軸芯と該軸芯の周面を覆う外筒とを備える金属材料搬送用ロールの製造方法であって、前記軸芯の円周方向に沿って前記軸芯の周面に溝を形成し、前記溝の両端部に、前記溝の底部と前記軸芯の周面とを結ぶ曲面を形成し、前記溝が露出する間隔を形成するように、ロールの軸方向に分割された外筒の内部に前記軸芯を装入することを特徴とする金属材料搬送用ロールの製造方法。
(4)前記間隔を形成することとなる前記外筒の端面を前記軸芯の周面側へ面取りしておくことを特徴とする上記(3)に記載の金属材料搬送用ロールの製造方法。
本発明によれば、円柱状の軸芯と該軸芯の周面を覆う外筒とを備える金属材料搬送用ロールにおいて、分割された外筒の間に設けられている間隔に露出している軸芯部分に掛かる応力が抑えられて、軸芯の割損が生じにくくなり、その結果、この金属材料搬送用ロールの長寿命化を図ることができる。
本発明の金属材料搬送用ロールを示す説明図である。 溝の両端部に曲面を形成する方法を示す説明図である。 本発明における、溝の両端及び溝の中央で発生する応力と、曲率半径ρと、の関係を示すグラフである。 従来の金属材料搬送用ロールを示す説明図である。
以下、添付図面を参照して本発明を具体的に説明する。図1は、本発明の金属材料搬送用ロールを示す説明図であり、金属材料搬送用ロールの側面断面図でもある。金属材料搬送用ロール1は、円柱状の軸芯2と、該軸芯2の周面を覆う円筒状の外筒3とを備えている。金属材料が搬送される搬送方向に、金属材料搬送用ロール1が複数並べられ、鋼片などの金属材料を、回転する複数の金属材料搬送用ロール1で搬送する。
軸芯2は、胴部21と、該胴部21の両端から外側へ突設された軸部22と、を有している。軸部22には軸受23が取り付けられており、軸芯2はこの軸受23で支えられつつ回転する。
外筒3は、ロールの軸方向に分割された2つの第1の外筒3aと第2の外筒3bとからなり、第1の外筒3a内と第2の外筒3b内とに軸芯2が嵌装されている。軸芯2の周面となる胴部21が外筒3で覆われているが、第1の外筒3aと第2の外筒3bとの間には、金属材料搬送用ロール1の円周方向に沿って胴部21の周面の一部を露出させる間隔31が設けられている。
図1に示すように、ロールの軸方向の両端部では、軸芯2と外筒3との境界が溶接された溶接部分4が形成されている。この溶接部分4で軸芯2と外筒3とが固着しているので、軸芯2とともに外筒3も回転する。金属材料搬送用ロール1の使用環境にもよるが熱によって、外筒3が軸芯2より大きく膨張しても、外筒3が間隔31に膨張するため、該間隔31が狭くなるに過ぎず、このようにして、間隔31は、軸芯2または外筒3の熱膨張による力が溶接部分4に掛かることを防止している。
図1に示すように、間隔31に対応する軸芯2の周面には、その円周方向に沿って溝2aが形成されており、該溝2aの両端部には、溝2aの底部と軸芯2との周面とを結ぶ曲面が形成されている。すなわち、溝2aの両端24に対応する軸芯2の周面の縁から溝2aの底に向けて傾斜する曲面が形成されている。図4に示すように、従来の金属材料搬送用ロール101では、このロールに荷重が掛かると、コーナー部分105に対応する軸芯104の部分に、間隔103を形成する外筒102の端面の内周端が接触して、その部分に応力が集中すると推察される。これに対して、本発明では、コーナー部分105に対応する周面部分で、外筒3の間隔31を形成する端面32の端面内端32aに接触する部分を溝2aの縁(両端)としている。これにより、端面内端32aが、面でなく軸芯2の曲面の縁に接触することになるので、端面内端32aの接触による力が、軸芯2の周面ではなく周線(曲面の縁)に掛かることになり、両端24に掛かる応力が抑えられる。
更には、溝2aの両端24から間隔31へ外筒3の外周面が突出するように、外筒3の端面32を傾斜させることが好ましい。すなわち、外筒3の端面32を軸芯2の周面側へ
面取りすることが好ましい。なぜならば、間隔31を覆いかつ軸芯2に近い外筒3の部分が少ないほど、両端24には応力が掛かりにくいからである。
特に、製鉄所における連続鋳造装置に、この金属材料搬送用ロール1を用いる場合には、軸芯2は、ロールの内部部材となり、疲労強度及び靱性に優れた金属からなることが望ましい。この金属としては、例えば、SCM材などの機械構造用合金鋼がある。外筒3は、金属材料搬送用ロール1の外部部材となり、搬送される金属材料に接触するので、耐摩耗性に優れた金属からなることが望ましい。この金属としては、例えば、ハイス系やSUS材などの合金鋼がある。
次に、本発明の金属材料搬送用ロールの製造方法を説明する。この製造方法は、大きく下記の3つの工程を備えている。
工程1:軸芯2の周面に、その円周方向に沿って溝を形成する。
工程2:溝2aの両端部に、溝の底部と軸芯2の周面とを結ぶ曲面を形成する。
工程3:円筒状の第1の外筒3a及び第2の外筒3bを準備し、これらの間に溝2aが露出させる間隔31を形成するように、第1の外筒3a及び第2の外筒3bの内部に軸芯2を装入する(焼き嵌める)。
以下、工程1〜3の各々を説明する。
<工程1>
軸芯2において、図1に示した間隔31に露出する溝2aを形成する。図2は、溝の両端部に曲面を形成する方法を示す説明図である。まず、金属材料搬送用ロール1の使用用途に応じて、軸芯2において溝2aを形成する位置を決める。次いで、溝2aのうち、金属柱の周面に平行な平行部分の溝平行部分長さx及び軸芯2の周面から溝2aのその平行部分までの溝深さzを決めて、その長さx及び深さzで決まる空間(溝)を形成する。
具体的には、旋盤などで、軸芯2の円周方向に沿って、その周面を溝平行部分長さx及び溝深さz分削ってもよいし、そのような寸法を有する凹みが形成されるように金属柱を成型加工し、それを軸芯2としてもよい。
<工程2>
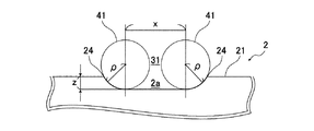
工程1と共に、及び/または、工程1に次いで、図2に示すように、前述の長さxと深さzとで決まる空間における、軸芯2の軸方向に沿った両端部分を加工して、その両端部分が、溝の底部と軸芯2の周面とを結ぶ曲面となるように曲率半径ρを有する曲率円41を想定し、この曲率半径ρに沿った円周に沿った曲面をその両端部分に形成して、溝2aを形成する。
軸芯2を薄くすることは、軸芯2自体が脆くなる応力が集中する部分をロールに作ることと同義であり、かつ、ロールの軸方向に垂直な断面積を小さくして負荷応力を高くする行為でもあるので、従前行われることはなかった。しかしながら、本発明者らは、図4に示すように、従来の金属材料搬送用ロール101では、コーナー部分105に対応する軸芯104の部分に応力が集中している可能性を考えて、図1に示すように、溝2aの両端部に、曲面を形成するために、敢えて最初から軸芯2の一部を薄くするという思想に至った。曲面を形成する方法としては、工程1で得られた軸芯2を、曲率円41の円周に沿って削ってもよいし、そのような円周に沿った曲面が、その両端部に形成された溝を有する金属柱を成型加工して、それを軸芯2としてもよい。
<工程3>
円筒状の第1,2の外筒3a,3bを準備し、これらを熱膨張させておく。一方で、軸芯2は加熱しないでおく。次いで、溝2aが露出している間隔31を形成するように、第1の外筒3a内及び第2の外筒3b内に軸芯2を挿入する。軸芯2が挿入された状態で第1,2の外筒3a,3bを冷却することで、これらが収縮して、軸芯2が第1,2の外筒3a,3bに嵌装される。このようにして、外筒3に軸芯2が装入される。
工程3の前に、間隔31を形成することとなる第1,2の外筒3a,3bの端面32を、軸芯2の周面側へ面取りしておくことが好ましい。
[曲率半径ρの設定]
図2からわかるように、溝平行部分長さx及び曲率半径ρを大きくすれば、軸方向に沿った間隔31の長さが大きくなり、溝深さzを大きくすれば、径方向に沿う間隔31の深さが大きくなってしまうため、金属材料搬送用ロール1の金属材料に接触する外筒の面積も小さくなってしまう。このため、溝平行部分長さxは、胴部21の軸方向に沿った全長X(図1参照)の1/20〜1/10とし、溝深さzは、胴部21の径方向における全長(軸芯2の直径)Z(図1参照)の1/20〜1/10とする。
曲率半径ρは、例えば、次のように決めることが可能である。
(1)まずは、溝深さzを決める。
(2)次いで、有限要素法に基づく3次元モデルなどによって、金属材料搬送ロール1に負荷荷重を与える計算シミュレーションを行なう。決められた溝深さz以外のシミュレーションの条件は、金属材料搬送ロール1の形状などによって適宜決めればよい。
(3)負荷荷重を与えている間に、曲率半径ρおよび溝平行部長さxを変化させて、溝の両端24に発生する応力と、溝2aの中央部分に発生する応力と、を計算し、いずれか大きい方の応力(「最大発生応力」という)の分布を、ρ−x平面で表した等値線図(コンター図)を作成する。
(4)等値線図から、最大発生応力を最小化するρ−xの範囲を求める。
(5)この最大発生応力の最小値に基づいて、許容し得る応力の限界値を決めておく。例えば、最小値より、その最小値の絶対値の20%程度大きい応力を、許容し得る応力の限界値とすることができる。
(6)上記(5)で求めた限界値を与えるρ−xの範囲とから、溝平行部分長さxと曲率半径ρとを求めることができる。
また、上記(2)〜(6)を、(1)で決める溝深さzを適宜変更して行ない、更に、溝深さz及び溝平行部分長さxに応じた最適な曲率半径ρを求めてもよい。
図3は、本発明における、溝の両端及び溝の中央で発生する応力と、曲率半径ρと、の関係を示すグラフである。図3のグラフは、胴部21の長さが1981mmであり、軸芯2の直径が255mmである寸法を有する金属材料搬送用ロール1を想定し、溝平行部分長さxを20mm、溝深さzを3mmと想定し、曲率半径ρを変化させて、溝2aの両端24及び溝2aの軸方向に沿った中央で発生した応力を有限要素法で求めた結果である。
図3からわかるように、曲率半径ρが20mmを超えると、溝2aの中央で発生した応力は上昇し始める。一方で、両端24で発生した応力は、曲率半径ρが4mmから20mm程度までは急激に低下するが、20mmを超えたあたりから一定値に漸近する。また、曲率半径ρを大きくし続けると、両端24で発生した応力は漸減し続け、溝2aの中央で発生する応力は増大し続けて、これらの応力が一致する。この応力が一致する曲率半径ρは58mmであった。
曲率半径ρが58mmから大きくなると、溝2aの中央で発生する応力は、両端24で発生し漸減している応力を超えて、増大していく。この増大していく応力が、前述の曲率半径ρが20mmのときの両端24で発生する応力を超える曲率半径ρは90mmであった(図3のグラフには示さず)。このため、この寸法の金属材料搬送用ロール1であれば、これらの部位で発生する応力を考慮して曲率半径ρを20〜90mmとすることが好ましい。このようにして、間隔31の寸法と、溝平行部分長さxと溝深さzと曲率半径ρと、の関係、及び、溝2aの両端24と溝2aの中央とで発生する応力を考慮して、これらの応力が一致する曲率半径ρ以下となるように、曲率半径ρを設定することが好ましい。
以上のように、円柱状の軸芯2と該軸芯2の周面を覆う外筒3とを備える金属材料搬送用ロール1において、ロールの軸方向の両端部における軸芯2と外筒3との溶接部分4が破損することを防止しつつ、間隔31を形成している溝2aの両端24に過度な応力が発生することを抑えて、この金属材料搬送用ロール1の長寿命化を図ることができる。
図1に示すような金属材料搬送用ロール1を準備した(本発明例)。金属材料搬送用ロール1の寸法は、次の通りである。
金属材料搬送用ロール1の全長 :2426mm
金属材料搬送用ロール1の直径 : 330mm
胴部21の全長X :1981mm
軸芯2の直径Z : 255mm
溝平行部分長さx : 20mm
溝深さz : 3mm
曲率半径ρ : 20mm
軸芯2の材料はSCM440であり、外筒3の材料はSUS431Mである。
一方で、図4に示すような従来の金属材料搬送用ロール101を準備した(比較例)。金属材料搬送用ロール101の外筒102及び軸芯104の寸法は、本発明例の金属材料搬送用ロール1に準ずる。
金属材料搬送用ロール1,101に加熱冷却を繰り返す間に荷重100kgf/mmを加えつつ、これらを回転させて、金属材料搬送用ロール1,101にクラックが発生するかの試験を確認した。金属材料搬送用ロール101は、試験開始から481時間経過後に、コーナー部分105に対応する軸芯104の部分にクラックが発生したが、金属材料搬送用ロール1は、試験開始から900時間経過してもクラックが発生しなかった。このことからも、間隔31を形成している溝2aの両端24に過度な応力が発生することを抑えて、この金属材料搬送用ロール1の長寿命化が図れたことがわかる。
1 金属材料搬送用ロール
2 軸芯
2a 溝
3 外筒
3a 第1の外筒
3b 第2の外筒
4 溶接部分
21 胴部
22 軸部
23 軸受
24 溝の両端
31 間隔
32 端面
32a 端面内端
41 曲率円
101 従来の金属材料搬送用ロール
102 外筒
103 間隔
104 軸芯
105 コーナー部分
106 溶接部分

Claims (4)

  1. 円柱状の軸芯と該軸芯の周面を覆う外筒とを備える金属材料搬送用ロールであって、
    前記外筒はロールの軸方向に分割され、前記軸芯と前記外筒とは、ロールの軸方向の端部で溶接されており、2分割された外筒間には、ロールの円周方向に沿って前記軸芯の周面の一部を露出している、前記外筒の熱膨張による力が前記端部の溶接部分に掛かることを防止するための間隔が設けられ、
    露出した前記軸芯の周面には、前記間隔の幅よりもロール軸方向長さの長い溝が形成されており、該溝の両端部には、前記溝の底部と前記軸芯の周面とを結ぶ曲面が形成されていることを特徴とする金属材料搬送用ロール。
  2. 前記間隔を形成している前記外筒の端面は前記軸芯の周面側へ面取りされていることを特徴とする請求項1に記載の金属材料搬送用ロール。
  3. 円柱状の軸芯と該軸芯の周面を覆う、ロールの軸方向に2分割された外筒とを備え、前記軸芯と前記外筒とがロールの軸方向の端部で溶接されている金属材料搬送用ロールの製造方法であって、
    前記軸芯の円周方向に沿って前記軸芯の周面に溝を形成し、
    前記溝の両端部に、前記溝の底部と前記軸芯の周面とを結ぶ曲面を形成し、
    前記溝が露出し、且つ、前記溝のロール軸方向長さよりも幅の小さい、前記外筒の熱膨張による力が前記端部の溶接部分に掛かることを防止するための間隔を形成するように、ロールの軸方向に分割された2つの外筒の内部に前記軸芯を装入し、
    前記軸芯と前記2つの外筒とを、ロールの軸方向の端部で溶接することを特徴とする金属材料搬送用ロールの製造方法。
  4. 前記間隔を形成することとなる前記外筒の端面を前記軸芯の周面側へ面取りしておくことを特徴とする請求項3に記載の金属材料搬送用ロールの製造方法。
JP2013056489A 2013-03-19 2013-03-19 金属材料搬送用ロール及びその製造方法 Active JP5910552B2 (ja)

Priority Applications (1)

Application Number Priority Date Filing Date Title
JP2013056489A JP5910552B2 (ja) 2013-03-19 2013-03-19 金属材料搬送用ロール及びその製造方法

Applications Claiming Priority (1)

Application Number Priority Date Filing Date Title
JP2013056489A JP5910552B2 (ja) 2013-03-19 2013-03-19 金属材料搬送用ロール及びその製造方法

Publications (2)

Publication Number Publication Date
JP2014180684A JP2014180684A (ja) 2014-09-29
JP5910552B2 true JP5910552B2 (ja) 2016-04-27

Family

ID=51699893

Family Applications (1)

Application Number Title Priority Date Filing Date
JP2013056489A Active JP5910552B2 (ja) 2013-03-19 2013-03-19 金属材料搬送用ロール及びその製造方法

Country Status (1)

Country Link
JP (1) JP5910552B2 (ja)

Families Citing this family (1)

* Cited by examiner, † Cited by third party
Publication number Priority date Publication date Assignee Title
WO2019130505A1 (ja) * 2017-12-27 2019-07-04 日鉄住金ハード株式会社 ロールの製造方法及びロール

Family Cites Families (1)

* Cited by examiner, † Cited by third party
Publication number Priority date Publication date Assignee Title
JPS5040832U (ja) * 1973-08-10 1975-04-25

Also Published As

Publication number Publication date
JP2014180684A (ja) 2014-09-29

Similar Documents

Publication Publication Date Title
JP6262166B2 (ja) ベンディングプレス成形用金型
CN104094003A (zh) 制作保持架的方法,保持架及滚动轴承
CN105499388B (zh) 分瓣胀型模具及制造内部带筋的环形件的方法
EP2622238B1 (en) Flanged bearing ring and method for producing such a flanged bearing ring
US9188181B2 (en) Motorcycle brake disc rotor
CN105378312A (zh) 外环和具有这种外环的滚子轴承
JP5910552B2 (ja) 金属材料搬送用ロール及びその製造方法
JP6192758B2 (ja) サクションローラ
KR20110128864A (ko) 구동 섀프트 및 롤러 링을 포함하는 롤러, 뿐만 아니라 이러한 롤러의 조립 방법
Noda et al. Proposal for new hearth roller consisting of ceramic sleeve and steel shafts used in the heat treat furnace
CN102483090A (zh) 用于制造球面滚子轴承所用的挡盘的方法以及具有依照该方法制成的挡盘的球面滚子轴承
JP5165757B2 (ja) 溶接状態にて最適な疲労特性となるように構成された熱間仕上げシームレス管を製造する方法
JP5659530B2 (ja) 圧延ロールおよび圧延ロールの再利用方法
JP6790080B2 (ja) 転がり軸受用の変形加工されたリング
JP4767622B2 (ja) 連続鋳造用ロール及びその製造方法
CN107206443A (zh) 顶头的制造方法
JP2014008510A (ja) 車輪用軸受装置の製造方法及び車輪用軸受装置
JP4931549B2 (ja) 搬送用ローラ
CN104001722A (zh) 热轧轧辊
JP7460901B2 (ja) 連続鋳造における鋳片搬送用スリーブ付きセグメントロール
JP2007071344A (ja) 船外機エンジンのクランク軸支持構造および船外機エンジン
KR102372264B1 (ko) 다중 파이프의 제조방법
JP2014166649A (ja) 継目無鋼管の製造方法
JP2008544857A (ja) 圧延機用バックアップロール
JP6730906B2 (ja) 連続焼鈍炉用のハースロール及び連続焼鈍炉用のハースロールの製造方法

Legal Events

Date Code Title Description
A621 Written request for application examination

Free format text: JAPANESE INTERMEDIATE CODE: A621

Effective date: 20141027

A977 Report on retrieval

Free format text: JAPANESE INTERMEDIATE CODE: A971007

Effective date: 20151117

A131 Notification of reasons for refusal

Free format text: JAPANESE INTERMEDIATE CODE: A131

Effective date: 20151124

A521 Request for written amendment filed

Free format text: JAPANESE INTERMEDIATE CODE: A523

Effective date: 20160121

TRDD Decision of grant or rejection written
A01 Written decision to grant a patent or to grant a registration (utility model)

Free format text: JAPANESE INTERMEDIATE CODE: A01

Effective date: 20160301

A61 First payment of annual fees (during grant procedure)

Free format text: JAPANESE INTERMEDIATE CODE: A61

Effective date: 20160314

R150 Certificate of patent or registration of utility model

Ref document number: 5910552

Country of ref document: JP

Free format text: JAPANESE INTERMEDIATE CODE: R150

R250 Receipt of annual fees

Free format text: JAPANESE INTERMEDIATE CODE: R250

R250 Receipt of annual fees

Free format text: JAPANESE INTERMEDIATE CODE: R250

R250 Receipt of annual fees

Free format text: JAPANESE INTERMEDIATE CODE: R250

R250 Receipt of annual fees

Free format text: JAPANESE INTERMEDIATE CODE: R250

R250 Receipt of annual fees

Free format text: JAPANESE INTERMEDIATE CODE: R250