JP5876564B2 - 電動式直動アクチュエータ - Google Patents

電動式直動アクチュエータ Download PDF

Info

Publication number
JP5876564B2
JP5876564B2 JP2014260463A JP2014260463A JP5876564B2 JP 5876564 B2 JP5876564 B2 JP 5876564B2 JP 2014260463 A JP2014260463 A JP 2014260463A JP 2014260463 A JP2014260463 A JP 2014260463A JP 5876564 B2 JP5876564 B2 JP 5876564B2
Authority
JP
Japan
Prior art keywords
axial direction
reaction force
linear motion
linear actuator
electric linear
Prior art date
Legal status (The legal status is an assumption and is not a legal conclusion. Google has not performed a legal analysis and makes no representation as to the accuracy of the status listed.)
Active
Application number
JP2014260463A
Other languages
English (en)
Other versions
JP2015063303A (ja
Inventor
高橋 亨
亨 高橋
唯 増田
唯 増田
Current Assignee (The listed assignees may be inaccurate. Google has not performed a legal analysis and makes no representation or warranty as to the accuracy of the list.)
NTN Corp
Original Assignee
NTN Corp
Priority date (The priority date is an assumption and is not a legal conclusion. Google has not performed a legal analysis and makes no representation as to the accuracy of the date listed.)
Filing date
Publication date
Application filed by NTN Corp filed Critical NTN Corp
Priority to JP2014260463A priority Critical patent/JP5876564B2/ja
Publication of JP2015063303A publication Critical patent/JP2015063303A/ja
Application granted granted Critical
Publication of JP5876564B2 publication Critical patent/JP5876564B2/ja
Active legal-status Critical Current
Anticipated expiration legal-status Critical

Links

Images

Landscapes

  • Force Measurement Appropriate To Specific Purposes (AREA)
  • Braking Systems And Boosters (AREA)
  • Braking Arrangements (AREA)
  • Transmission Devices (AREA)

Description

この発明は、自動車などに使用される電動ブレーキ装置に好適な電動式直動アクチュエータに関する。
車両用ブレーキ装置として、摩擦パッドを油圧シリンダで駆動してブレーキディスクを押圧する油圧ブレーキ装置が採用されてきたが、近年、ABS(アンチロックブレーキシステム)等のブレーキ制御の導入に伴い、油圧回路を使用しない電動ブレーキ装置が注目されている。
電動ブレーキ装置は、電動モータで駆動される回転軸と、その回転軸の回転を直線運動に変換する直動機構とを有し、その直動機構の直動部で摩擦パッドを押圧してブレーキディスクに押さえ付けるものである。そして、電動ブレーキ装置においては、制動力を所望の大きさに制御するために、摩擦パッドの押圧力を検出するセンサを組み込むことが多い。
このように摩擦パッドの押圧力を検出するセンサを組み込んだ電動ブレーキ装置として、例えば特許文献1〜3に記載のものが知られている。
特許文献1に記載の電動ブレーキ装置は、ブレーキディスクを間に挟んで対向する対向片をブリッジで連結したキャリパボディと、キャリパボディに組み込まれた直動機構とを有し、その直動機構の直動部で摩擦パッドを押圧してブレーキディスクに押さえ付ける。そして、キャリパボディのブリッジ部と対向片の接合位置に歪センサを組み込み、その歪センサで摩擦パッドの押圧力を検出するようにしている。
特許文献2に記載の電動ブレーキ装置も、ブレーキディスクを間に挟んで対向する対向片をブリッジで連結したキャリパボディと、キャリパボディに組み込まれた直動機構とを有し、その直動機構の直動部に一対の電極を埋め込み、歪みに応じて変化する電極間の電気抵抗を計測することで摩擦パッドの押圧力を検出するようにしている。
特許文献3に記載の電動ブレーキ装置も、ブレーキディスクを間に挟んで対向する対向片をブリッジで連結したキャリパボディと、キャリパボディに組み込まれた直動機構とを有し、その直動機構の直動部の内部に液圧室を設け、歪みに応じて変化する液圧室の圧力を液圧センサで測定することで摩擦パッドの押圧力を検出するようにしている。
特開2003−287063号公報 特開2003−014018号公報 特開2004−204990号公報
ところで、一般に、摩擦パッドとブレーキディスクの間には摩擦熱が生じ、その摩擦熱によって、摩擦パッドの周囲は高温にさらされる。
そして、特許文献1に記載の電動ブレーキ装置は、摩擦パッドの押圧力を検出するための歪センサが、キャリパボディのブリッジ部と対向片の接合位置に配置されている。そのため、歪センサが高温となり、センサ信号を処理する回路を歪センサの近くに配置することができず、センサ信号にノイズが入りやすいという問題があった。また、キャリパボディは、高温になったときに温度分布が不均一となって熱歪みを生じる。この熱歪みが誤差となるので、摩擦パッドの押圧力による歪みを高い精度で測定することが難しかった。
特許文献2に記載の電動ブレーキ装置も、摩擦パッドの押圧力を検出するための電極が、摩擦パッドを押圧する直動機構の直動部に配置されているので、電極が高温となり、信号処理回路を電極の近くに配置することができず、信号にノイズが入りやすいという問題があった。また、電極を埋め込んだ直動部が移動するので、電極までの配線を移動可能に設計する必要があり、コスト高であった。
特許文献3に記載の電動ブレーキ装置は、万一、液圧室の作動液が漏れて、エアが液圧室に混入した場合、液圧センサの出力が摩擦パッドの押圧力に対応しなくなるので、長期にわたって信頼性を確保するのが難しい。また、高い信頼性をもって液圧室の液密状態を確保しようとすると、コストが高くなるという問題があった。
この発明が解決しようとする課題は、摩擦パッドの押圧力を検出するためのセンサが、摩擦パッドとブレーキディスクの間の摩擦熱の影響を受けにくく、安定した精度で摩擦パッドの押圧力を検出することができる電動ブレーキ装置に好適な電動式直動アクチュエータを提供することである。
上記課題を解決するため、電動モータで駆動される回転軸と、その回転軸の回転を直動部の直線運動に変換する直動機構とを有する電動式直動アクチュエータにおいて、前記直動部で軸方向前方に押圧したときに直動部に作用する軸方向後方への反力を受け止める反力受け部材と、固定された固定部材とを設け、前記反力受け部材の内周に、前記回転軸を回転可能に支持する転がり軸受を組み込み、前記反力受け部材と固定部材のうちの一方に、軸方向にN極とS極が交互に隣接する磁極列を設け、他方に、軸直角方向に前記磁極列と対向して配置され、前記磁極列に対する相対位置の軸方向変化を検出する磁気センサを設けた構成を採用した。
このようにすると、直動機構の直動部が摩擦パッドを軸方向前方に押圧するとき、直動部に作用する軸方向後方への反力が反力受け部材で受け止められて、反力受け部材が軸方向に変形し、この反力受け部材の変形に伴い、磁極列と磁気センサの相対位置が軸方向に変化する。そのため、磁気センサの出力信号が摩擦パッドの押圧力に応じて変化し、磁気センサの出力信号に基づいて、摩擦パッドの押圧力を検出することができる。
ここで、磁気センサの位置が、直動機構の直動部ではなく、直動部に作用する反力を受け止める部分に配置されているので、摩擦パッドから磁気センサまでの距離が長くとれる。そのため、磁気センサが、摩擦パッドとブレーキディスクの間の摩擦熱の影響を受けにくい。また、N極とS極が軸方向に隣接した磁極列を使用しているので、磁気センサの出力信号は、磁極列と磁気センサの相対位置の軸方向の変化に対して急峻に変化し、一方、軸方向以外の方向の変化に対してはあまり変化しないという軸方向の指向性を示す。そのため、磁気センサの出力信号が外部振動の影響を受けにくく、安定した精度で摩擦パッドの押圧力を検出することができる。
前記磁極列としては、N極とS極が交互に隣り合うように配置された複数の永久磁石を採用することができる。このようにすると、磁極列として電磁コイルを採用するよりも構造が単純であり、低コストである。
この場合、摩擦パッドとブレーキディスクの摩擦熱などの影響により永久磁石の温度が上昇した場合、その温度上昇に伴って永久磁石が発生する磁界が減少するので、前記磁気センサの近傍に温度センサを設け、その温度センサの出力信号に基づいて前記磁気センサの出力信号を補正する補正制御部を設けると、磁気センサの検出精度をより安定させることができる。
この場合、前記温度センサとして測温抵抗体を使用すると、熱電対を使用する場合よりも温度誤差が少なく、長期にわたって安定した検出精度を確保することができる。
前記直動機構としては、前記回転軸の外周の円筒面に転がり接触する複数の遊星ローラと、その複数の遊星ローラを自転可能かつ公転可能に保持し、軸方向移動を規制されたキャリヤと、前記複数の遊星ローラを囲むように配置された前記直動部としての外輪部材と、その外輪部材の内周に設けられた螺旋凸条と、その螺旋凸条と係合するように前記各遊星ローラの外周に設けられた螺旋溝または円周溝とからなる構成のものを採用することができる。ここで、前記直動部としての外輪部材が摩擦パッドを軸方向前方に押圧するとき、外輪部材に作用する軸方向後方への反力は、遊星ローラとキャリヤを介して反力受け部材で受け止められ、この反力受け部材の変形に伴って変化する前記磁気センサの出力信号に基づいて、摩擦パッドの押圧力が検出される。
前記反力受け部材は、前記キャリヤをスラスト軸受を介して軸方向に支持する円環板部と、その円環板部の径方向内端から軸方向後方に突出する内筒部とを有し、前記固定部材は、前記反力受け部材の軸方向後方に対向して配置された固定板部と、その固定板部から軸方向前方に突出する外筒部とを有し、前記外筒部は前記内筒部の外径側に対向して配置され、前記外筒部と内筒部の一方に前記磁極列が設けられ、他方に前記磁気センサが設けられた構成を更に加えることができる。このようにすると、磁極列と磁気センサの取り付け部分がいずれも筒状なので剛性が高く、外部振動による磁極列と磁気センサの相対位置の変化を抑えることができる。
更に、前記反力受け部材の内周に、前記回転軸を回転可能に支持する転がり軸受を組み込むと、回転軸の支持剛性を高めるとともに、外部振動による反力受け部材の振動を最小限に抑えることが可能となる。
前記磁気センサとしては、磁気抵抗素子を用いたMRセンサや、磁気インピーダンス素子を用いたMIセンサを使用することも可能であるが、ホール素子を用いたホールICを使用すると、磁界の強さだけでなく磁界の向きも検出することができるので、磁極列と磁気センサの相対位置の変化を高精度に検出することが可能となる。また、前記永久磁石としてネオジム磁石を使用すると、省スペースで強力な磁界を発生させることができる。
前記磁極列としては、N極とS極が交互に隣り合うように配置された複数の電磁コイルを使用することができる。この場合、電磁コイルの温度を計測するコイル温度センサを設け、前記電磁コイルの発生磁界の強さが一定となるように前記コイル温度センサの出力信号に応じて電磁コイルの印可電流を変化させる電流調整回路を設けると、温度変化によらず安定した磁界を発生させることが可能となり、磁気センサの検出精度が安定する。
この発明の電動式直動アクチュエータは、磁気センサの位置が、直動機構の直動部ではなく、直動部に作用する反力を受け止める部分に配置されている。そのため、この発明の電動式直動アクチュエータを電動ブレーキ装置に用いたときに、摩擦パッドから磁気センサまでの距離が長く、磁気センサの周囲が高温になりにくい。また、N極とS極が軸方向に隣接した磁極列を使用しているので、磁気センサの出力信号は、磁極列と磁気センサの相対位置の軸方向の変化に対して急峻に変化するが、軸方向以外の方向の変化に対してはあまり変化しないという軸方向の指向性を示す。そのため、磁気センサの出力信号が外部振動の影響を受けにくく、安定した精度で摩擦パッドの押圧力を検出することができる。
この発明の実施形態の電動式直動アクチュエータを用いた電動ブレーキ装置を示す断面図 図1の電動式直動アクチュエータ近傍の拡大断面図 図2のIII−III線に沿った断面図 図2の磁気センサ近傍の拡大断面図 図4に示す磁気センサの配置を変更した例を示す拡大断面図 直動機構としてボールねじ機構を採用した例を示す電動式直動アクチュエータの拡大断面図 直動機構としてボールランプ機構を採用した例を示す電動式直動アクチュエータの拡大断面図 図7のVIII−VIII線に沿った断面図 (a)は図7に示すボールと傾斜溝の関係を示す図、(b)は(a)に示す状態から回転ディスクと直動ディスクが相対回転して両ディスクの間隔が拡大した状態を示す図
図1に、この発明の実施形態の電動式直動アクチュエータを用いた電動ブレーキ装置1を示す。この電動ブレーキ装置1は、車輪と一体に回転するブレーキディスク2を間に挟んで対向する対向片3,4をブリッジ5で連結した形状のキャリパボディ6と、対向片3のブレーキディスク2に対する対向面に開口する収容孔19に組み込まれた電動式直動アクチュエータ7と、左右一対の摩擦パッド8,9とからなる。
摩擦パッド8は、対向片3とブレーキディスク2の間に設けられており、キャリパボディ6に取り付けられたパッドピン(図示せず)でブレーキディスク2の軸方向に移動可能に支持されている。他方の摩擦パッド9は反対側の対向片4に取り付けられている。キャリパボディ6は、ブレーキディスク2の軸方向にスライド可能に支持されている。
図2に示すように、電動式直動アクチュエータ7は、回転軸10と、回転軸10の外周の円筒面に転がり接触する複数の遊星ローラ11と、これらの遊星ローラ11を囲むように配置された外輪部材12と、遊星ローラ11を自転可能かつ公転可能に保持するキャリヤ13と、外輪部材12の軸方向後方に配置された反力受け部材14とを有する。
回転軸10は、図1に示す電動モータ15に歯車16を介して接続されており、電動モータ15で回転駆動される。回転軸10は、対向片3を軸方向に貫通して形成された収容孔19の軸方向後側の開口から一端が突出した状態で収容孔19に挿入され、収容孔19からの突出部分に歯車16がスプライン嵌合して回り止めされている。歯車16は、収容孔19の軸方向後側の開口を塞ぐようにボルト17で固定した蓋18で覆われている。蓋18には回転軸10を回転可能に支持する軸受18aが組み込まれている。
図3に示すように、遊星ローラ11は、回転軸10の外周の円筒面に転がり接触しており、回転軸10が回転したときに遊星ローラ11と回転軸10の間の摩擦によって遊星ローラ11も回転するようになっている。遊星ローラ11は、周方向に一定の間隔をおいて複数設けられている。
図2に示すように、外輪部材12は、キャリパボディ6の対向片3に設けられた収容孔19内に収容され、その収容孔19の内周で軸方向にスライド可能に支持されている。外輪部材12の軸方向前端には、摩擦パッド8の背面に形成された係合凸部20に係合する係合凹部21が形成され、この係合凸部20と係合凹部21の係合によって、外輪部材12がキャリパボディ6に対して回り止めされている。
外輪部材12の内周には螺旋凸条22が設けられ、遊星ローラ11の外周には、螺旋凸条22に係合する円周溝23が設けられており、遊星ローラ11が回転したときに、外輪部材12の螺旋凸条22が円周溝23に案内されて、外輪部材12が軸方向に移動するようになっている。この実施形態では遊星ローラ11の外周にリード角が0度の円周溝23を設けているが、円周溝23のかわりに螺旋凸条22と異なるリード角をもつ螺旋溝を設けてもよい。
キャリヤ13は、遊星ローラ11を回転可能に支持するキャリヤピン13Aと、その各キャリヤピン13Aの軸方向前端の周方向間隔を一定に保持する環状のキャリヤプレート13Cと、各キャリヤピン13Aの軸方向後端の周方向間隔を一定に保持する環状のキャリヤ本体13Bとからなる。キャリヤプレート13Cとキャリヤ本体13Bは遊星ローラ11を間に軸方向に対向しており、周方向に隣り合う遊星ローラ11の間に配置された連結棒24を介して連結されている。
キャリヤ本体13Bは、滑り軸受25を介して回転軸10に支持され、回転軸10に対して相対回転可能となっている。遊星ローラ11とキャリヤ本体13Bの間には、遊星ローラ11の自転がキャリヤ本体13Bに伝達するのを遮断するスラスト軸受26が組み込まれている。
各キャリヤピン13Aは、周方向に間隔をおいて配置された複数のキャリヤピン13Aに外接するように装着された縮径リングばね27で径方向内方に付勢されている。この縮径リングばね27の付勢力によって、遊星ローラ11の外周は回転軸10の外周に押さえ付けられ、回転軸10と遊星ローラ11の間の滑りが防止されている。縮径リングばね27の付勢力を遊星ローラ11の軸方向全長にわたって作用させるため、キャリヤピン13Aの両端に縮径リングばね27,27が設けられている。
反力受け部材14は、外輪部材12の軸方向後方で収容孔19内に嵌め込まれており、キャリヤ13と一体に公転する間座28と、スラスト軸受29とを介してキャリヤ13を軸方向に支持する円環板部14Aと、円環板部14Aの径方向内端から軸方向後方に突出する内筒部14Bとを有する。スラスト軸受29は、キャリヤ13の公転が反力受け部材14に伝達するのを防止している。反力受け部材14の内周には、回転軸10を回転可能に支持する複数の転がり軸受30が軸方向に間隔をおいて組み込まれている。
反力受け部材14は、円環板部14Aの外周縁を止め輪31で係止することによって軸方向後方への移動が規制されている。止め輪31は、収容孔19の内周の外輪部材12のスライドする部分よりも軸方向後方に形成された円周溝32に装着されている。止め輪31は、円弧状に分割された複数の分割体を組み合わせて形成され、環状のリテーナ33で径方向移動を規制することにより円周溝32内に保持されている。
そして、この反力受け部材14は、間座28とスラスト軸受29とを介してキャリヤ本体13Bを軸方向に支持することで、キャリヤ13の軸方向後方への移動を規制している。また、キャリヤ13は、回転軸10の軸方向前端に装着された止め輪34で軸方向前方への移動も規制されている。したがって、キャリヤ13は、軸方向前方と軸方向後方の移動がいずれも規制され、キャリヤ13に保持された遊星ローラ11も軸方向移動が規制された状態となっている。
対向片3には、反力受け部材14の軸方向後方に間隔をおいて固定部材35が固定されている。固定部材35の固定は、例えば、対向片3と蓋18の間に固定部材35を挟み込むことによって行うことができる。固定部材35は、反力受け部材14の軸方向後方に対向して配置された固定板部35Aと、その固定板部35Aから軸方向前方に突出する外筒部35Bとを有し、外筒部35Bは、反力受け部材14の内筒部14Bの外径側に対向して配置されている。
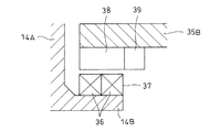
図4に示すように、反力受け部材14の内筒部14Bの外周には、N極とS極が交互に隣り合うように複数の永久磁石36,36が取り付けられており、これらの永久磁石36,36によって軸方向にN極とS極が交互に隣接する磁極列37が形成されている。ここで、各永久磁石36は半径方向に着磁されており、各永久磁石36の半径方向外端と半径方向内端にN極とS極が形成されている。
永久磁石36としては、例えば、ネオジム磁石を使用すると、省スペースで強力な磁界を発生させることができるが、サマリウムコバルト磁石、アルニコ磁石、フェライト磁石などを使用してもよい。サマリウムコバルト磁石またはアルニコ磁石を使用すると、永久磁石36の温度上昇に伴う磁界の減少が小さいので、摩擦パッド8とブレーキディスク2の摩擦熱の影響により永久磁石36の温度が上昇したときにも、磁界の強さが安定する。
一方、固定部材35の外筒部35Bの内周には、磁極列37と軸直角方向(図では半径方向)に対向して磁気センサ38が取り付けられている。磁気センサ38は、永久磁石36の着磁方向の延長線上に配置されており、磁極列37との相対位置が軸方向に変化したときの磁界の変化を検出し、その磁界の変化に基づいて内筒部14Bと外筒部35Bの相対位置の軸方向の変化を検出する。磁気センサ38としては、磁気抵抗素子を用いたMRセンサや、磁気インピーダンス素子を用いたMIセンサを使用することも可能であるが、ホール素子を用いたホールICを使用すると、磁界の強さだけでなく磁界の向きも検出することができるので、磁極列37と磁気センサ38の相対位置の変化を高精度に検出することが可能となる。
外筒部35Bの内周には、磁気センサ38の近傍に温度センサ39が取り付けられている。温度センサ39としては、熱電対を使用することも可能であるが、温度に応じて電気抵抗の大きさが変化する測温抵抗体(サーミスタ)を使用すると、熱電対を使用する場合よりも温度誤差が少なく、長期にわたって安定した検出精度を確保することができる。また、磁気センサ38と温度センサ39の出力信号を処理する回路には、温度センサ39の出力信号に基づいて磁気センサ38の出力信号を補正する補正制御部が設けられている。補正制御部は、温度上昇に伴って永久磁石36が発生する磁界が減少するので、その減少分を補うように磁気センサ38の出力信号を補正する。
次に電動ブレーキ装置1の動作例を説明する。
電動モータ15を作動させると、回転軸10が回転し、遊星ローラ11がキャリヤピン13Aを中心に自転しながら回転軸10を中心に公転する。このとき螺旋凸条22と円周溝23の係合によって外輪部材12と遊星ローラ11が軸方向に相対移動するが、遊星ローラ11はキャリヤ13と共に軸方向の移動が規制されているので、遊星ローラ11は軸方向に移動せず、外輪部材12が軸方向に移動する。このようにして、電動ブレーキ装置1は、電動モータ15で駆動される回転軸10の回転を外輪部材12の軸方向移動に変換し、その外輪部材12で摩擦パッド8を押圧してブレーキディスク2に押さえ付けることによって制動力を発生する。
ここで、外輪部材12が摩擦パッド8を軸方向前方に押圧するとき、外輪部材12には軸方向後方への反力が作用し、その反力は、遊星ローラ11、キャリヤ13、間座28、スラスト軸受29を介して反力受け部材14で受け止められる。そして、その反力によって反力受け部材14は軸方向に変形し、この反力受け部材14の変形に伴い、磁極列37と磁気センサ38の相対位置が軸方向に変化する。そのため、磁気センサ38の出力信号が摩擦パッド8の押圧力に応じて変化し、磁気センサ38の出力信号に基づいて、摩擦パッド8の押圧力を検出することができる。また、磁気センサ38の出力信号を用いて電動ブレーキ装置1の制動力を制御することができる。
ところで、摩擦パッド8を押圧してブレーキディスク2に押さえ付けたとき、摩擦パッド8とブレーキディスク2の間に摩擦熱が生じ、その摩擦熱によって、摩擦パッド8の周囲は高温にさらされる。そのため、摩擦パッド8の押圧力を検出するためのセンサを、キャリパボディ6のブリッジ5や、電動式直動アクチュエータ7の直動部(すなわち外輪部材12)に配置すれば、センサが高温となり、センサの出力信号を処理する回路をセンサの近くに配置することができず、ノイズが発生しやすくなるという問題が生じる。
これに対し、上記電動ブレーキ装置1は、磁気センサ38の位置が、電動式直動アクチュエータ7の直動部(外輪部材12)ではなく、直動部に作用する反力を受け止める部分(反力受け部材14)に配置されているので、摩擦パッド8から磁気センサ38までの距離が長く、磁気センサ38の周囲が高温になりにくい。そのため、高い精度で摩擦パッド8の押圧力を検出することが可能である。
また、上記電動ブレーキ装置1は、N極とS極が軸方向に隣接した磁極列37を使用しているので、磁気センサ38の出力信号は、磁極列37と磁気センサ38の相対位置の軸方向の変化に対して急峻に変化し、一方、軸方向以外の方向の変化に対してはあまり変化しないという軸方向の指向性を示す。特に、N極とS極の境目付近においては僅かな軸方向の変位に対して急峻な磁界の変化が得られる。そのため、磁気センサ38の出力信号が外部振動の影響を受けにくく、安定した精度で摩擦パッド8の押圧力を検出することができる。
また、上記電動ブレーキ装置1は、磁極列37および磁気センサ38の取り付け部分(すなわち、外筒部35Bと内筒部14B)がいずれも筒状なので剛性が高く、外部振動による磁極列37と磁気センサ38の相対位置の変化が小さい。更に、反力受け部材14の内周に、回転軸10を回転可能に支持する転がり軸受30を組み込んでいるので、外部振動による反力受け部材14の振動が最小限であり、磁気センサ38の検出精度が非常に安定している。
また、外輪部材12に作用する反力を反力受け部材14で受け止めたときに、反力受け部材14は外径側よりも内径側の方が大きく変形する。そのため、磁極列37を取り付ける内筒部14Bは、固定部材35の外径側ではなく、上記実施形態に示すように固定部材35の内径側に対向するように設けると、高い精度で摩擦パッド8の押圧力を検出することができる。
摩擦パッド8の押圧力を検出する方法として、外輪部材12が摩擦パッド8を軸方向前方に押圧するときの外輪部材12の軸方向変位に基づいて摩擦パッド8の押圧力を推定する方法があるが、このようにすると、電動ブレーキ装置のヒステリシスの影響により、摩擦パッド8の押圧力の検出値が安定しない。これに対し、上記電動ブレーキ装置1は、外輪部材12が摩擦パッド8を軸方向前方に押圧するときの反力による反力受け部材14の変形に基づいて、摩擦パッド8の押圧力を検出するので、電動ブレーキ装置1のヒステリシスの影響を受けず、長期にわたって安定した検出性能を維持することが可能である。
上記実施形態では、永久磁石36を反力受け部材14の内筒部14Bに取り付け、磁気センサ38を固定部材35の外筒部35Bに取り付けたものを例に挙げて説明したが、図5に示すように、磁気センサ38を反力受け部材14の内筒部14Bに取り付け、永久磁石36を固定部材35の外筒部35Bに取り付けてもよい。
磁極列37としては、上記実施形態に示すように、N極とS極が交互に隣り合うように配置した永久磁石36を採用すると、構造が単純であり、低コストであるが、N極とS極が交互に隣り合うように配置された複数の電磁コイルを採用することも可能である。この場合、電磁コイルの温度を計測するコイル温度センサを設け、電磁コイルの発生磁界の強さが一定となるようにコイル温度センサの出力信号に応じて電磁コイルの印可電流を変化させる電流調整回路を設けると、温度変化によらず安定した磁界を発生させることが可能となり、磁気センサ38の検出精度が安定する。
上記実施形態では、回転軸10の回転を直動部12の直線運動に変換する直動機構として、回転軸10の外周の円筒面に転がり接触する複数の遊星ローラ11と、遊星ローラ11を自転可能かつ公転可能に保持し、軸方向移動を規制されたキャリヤ13と、複数の遊星ローラ11を囲むように配置された外輪部材12と、外輪部材12の内周に設けられた螺旋凸条22と、螺旋凸条22と係合するように各遊星ローラ11の外周に設けられた螺旋溝または円周溝23とからなる遊星ローラ機構を例に挙げて説明したが、この発明は、他の構成の直動機構を採用した電動ブレーキ装置にも同様に適用することができる。
例えば、直動機構としてボールねじ機構を採用した電動式ブレーキ装置の例を図6に示す。以下、上記実施形態に対応する部分は、同一の符号を付して説明を省略する。
図6において、電動式直動アクチュエータ7は、回転軸10と、回転軸10と一体に設けられたねじ軸40と、ねじ軸40を囲むように設けられたナット41と、ねじ軸40の外周に形成されたねじ溝42とナット41の内周に形成されたねじ溝43の間に組み込まれた複数のボール44と、ナット41のねじ溝43の終点から始点にボール44を戻す図示しないリターンチューブと、ナット41の軸方向後方に配置された反力受け部材14とを有する。
ナット41は、キャリパボディ6の対向片3に設けられた収容孔19内に、キャリパボディ6に対して回り止めされた状態で軸方向にスライド可能に収容されている。ねじ軸40の軸方向後端にはねじ軸40と一体に回転する間座28が設けられ、その間座28がスラスト軸受29を介して反力受け部材14で支持されている。ここで、反力受け部材14は、間座28とスラスト軸受29とを介してナット41を軸方向に支持することでナット41の軸方向後方への移動を規制している。
この電動式直動アクチュエータ7は、回転軸10を回転させることによって、ねじ軸40とナット41を相対回転させて、ナット41を軸方向前方に移動させることができる。このとき、ねじ軸40には、軸方向後方への反力が作用し、その反力は、間座28、スラスト軸受29を介して反力受け部材14で受け止められる。そして、その反力によって反力受け部材14は軸方向に変形し、この反力受け部材14の変形に伴い、磁極列37と磁気センサ38の相対位置が軸方向に変化する。そのため、上記実施形態と同様、磁気センサ38の出力信号が摩擦パッド8の押圧力に応じて変化し、磁気センサ38の出力信号に基づいて、摩擦パッド8の押圧力を検出することができる。
例えば、直動機構としてボールランプ機構を採用した電動式ブレーキ装置を適用した例を図7に示す。
図7において、電動式直動アクチュエータ7は、回転軸10と、回転軸の外周に回り止めされた回転ディスク50と、回転ディスク50の軸方向前方に対向して配置された直動ディスク51と、回転ディスク50と直動ディスク51の間に挟まれた複数のボール52と、直動ディスク51の軸方向後方に配置された反力受け部材14とを有する。
直動ディスク51は、キャリパボディ6の対向片3に設けられた収容孔19内に、キャリパボディ6に対して回り止めされた状態で軸方向にスライド可能に収容されている。回転ディスク50の軸方向後端には回転ディスク50と一体に回転する間座28が設けられ、その間座28がスラスト軸受29を介して反力受け部材14で支持されている。ここで、反力受け部材14は、間座28とスラスト軸受29とを介して回転ディスク50を軸方向に支持することで回転ディスク50の軸方向後方への移動を規制している。
図7、図8に示すように、回転ディスク50の直動ディスク51に対する対向面50aには、周方向の一方向に沿って深さが次第に浅くなる傾斜溝53が形成され、直動ディスク51の回転ディスク50に対する対向面51aには、周方向の他方向に沿って深さが次第に浅くなる傾斜溝54が形成されている。図9(a)に示すように、ボール52は、回転ディスク50の傾斜溝53と直動ディスク51の傾斜溝54の間に組み込まれており、図9(b)に示すように、直動ディスク51に対して回転ディスク50が相対回転すると、傾斜溝53,54内をボール52が転動して、回転ディスク50と直動ディスク51の間隔が拡大するようになっている。
この電動式直動アクチュエータ7は、回転軸10を回転させることによって、直動ディスク51と回転ディスク50を相対回転させて、直動ディスク51を軸方向前方に移動させることができる。このとき、回転ディスク50には、軸方向後方への反力が作用し、その反力は、間座28、スラスト軸受29を介して反力受け部材14で受け止められる。そして、その反力によって反力受け部材14は軸方向に変形し、この反力受け部材14の変形に伴い、磁極列37と磁気センサ38の相対位置が軸方向に変化する。そのため、上記実施形態と同様、磁気センサ38の出力信号が摩擦パッド8の押圧力に応じて変化し、磁気センサ38の出力信号に基づいて、摩擦パッド8の押圧力を検出することができる。
1 電動ブレーキ装置
2 ブレーキディスク
6 キャリパボディ
7 電動式直動アクチュエータ
8 摩擦パッド
10 回転軸
11 遊星ローラ
12 外輪部材
13 キャリヤ
14 反力受け部材
14A 円環板部
14B 内筒部
15 電動モータ
19 収容孔
22 螺旋凸条
23 円周溝
29 スラスト軸受
30 転がり軸受
35 固定部材
35A 固定板部
35B 外筒部
36 永久磁石
37 磁極列
38 磁気センサ
39 温度センサ

Claims (10)

  1. 電動モータ(15)で駆動される回転軸(10)と、その回転軸(10)の回転を直動部(12)の直線運動に変換する直動機構とを有する電動式直動アクチュエータにおいて、
    前記直動部(12)で軸方向前方に押圧したときに直動部(12)に作用する軸方向後方への反力を受け止める反力受け部材(14)と、固定された固定部材(35)とを設け、前記反力受け部材(14)の内周に、前記回転軸(10)を回転可能に支持する転がり軸受(30)を組み込み、前記反力受け部材(14)と固定部材(35)のうちの一方に、軸方向にN極とS極が交互に隣接する磁極列(37)を設け、他方に、軸直角方向に前記磁極列(37)と対向して配置され、前記磁極列(37)に対する相対位置の軸方向変化を検出する磁気センサ(38)を設けたことを特徴とする電動式直動アクチュエータ。
  2. 前記磁極列(37)が、N極とS極が交互に隣り合うように配置された複数の永久磁石(36,36)である請求項1に記載の電動式直動アクチュエータ。
  3. 前記磁気センサ(38)の近傍に温度センサ(39)を設け、その温度センサ(39)の出力信号に基づいて前記磁気センサ(38)の出力信号を補正する補正制御部を設けた請求項1または2に記載の電動式直動アクチュエータ。
  4. 前記温度センサ(39)として測温抵抗体を使用した請求項3に記載の電動式直動アクチュエータ。
  5. 前記直動機構は、前記回転軸(10)の外周の円筒面に転がり接触する複数の遊星ローラ(11)と、その複数の遊星ローラ(11)を自転可能かつ公転可能に保持し、軸方向移動を規制されたキャリヤ(13)と、前記複数の遊星ローラ(11)を囲むように配置された前記直動部としての外輪部材(12)と、その外輪部材(12)の内周に設けられた螺旋凸条(22)と、その螺旋凸条(22)と係合するように前記各遊星ローラ(11)の外周に設けられた螺旋溝または円周溝(23)とからなる請求項1から4のいずれかに記載の電動式直動アクチュエータ。
  6. 前記反力受け部材(14)は、前記キャリヤ(13)をスラスト軸受(29)を介して軸方向に支持する円環板部(14A)と、その円環板部(14A)の径方向内端から軸方向後方に突出する内筒部(14B)とを有し、前記固定部材(35)は、前記反力受け部材(14)の軸方向後方に対向して配置された固定板部(35A)と、その固定板部(35A)から軸方向前方に突出する外筒部(35B)とを有し、前記外筒部(35B)は前記内筒部(14B)の外径側に対向して配置され、前記外筒部(35B)と内筒部(14B)の一方に前記磁極列(37)が取り付けられ、他方に前記磁気センサ(38)が取り付けられた請求項5に記載の電動式直動アクチュエータ。
  7. 前記磁気センサ(38)としてホールICを使用した請求項1から6のいずれかに記載の電動式直動アクチュエータ。
  8. 前記永久磁石(36)としてネオジム磁石を使用した請求項1から7のいずれかに記載の電動式直動アクチュエータ。
  9. 前記磁極列(37)が、N極とS極が交互に隣り合うように配置された複数の電磁コイルである請求項1に記載の電動式直動アクチュエータ。
  10. 前記電磁コイルの温度を計測するコイル温度センサを設け、前記電磁コイルの発生磁界の強さが一定となるように前記コイル温度センサの出力信号に応じて電磁コイルの印可電流を変化させる電流調整回路を設けた請求項9に記載の電動式直動アクチュエータ。
JP2014260463A 2014-12-24 2014-12-24 電動式直動アクチュエータ Active JP5876564B2 (ja)

Priority Applications (1)

Application Number Priority Date Filing Date Title
JP2014260463A JP5876564B2 (ja) 2014-12-24 2014-12-24 電動式直動アクチュエータ

Applications Claiming Priority (1)

Application Number Priority Date Filing Date Title
JP2014260463A JP5876564B2 (ja) 2014-12-24 2014-12-24 電動式直動アクチュエータ

Related Parent Applications (1)

Application Number Title Priority Date Filing Date
JP2011154837A Division JP5676382B2 (ja) 2011-07-13 2011-07-13 電動ブレーキ装置

Publications (2)

Publication Number Publication Date
JP2015063303A JP2015063303A (ja) 2015-04-09
JP5876564B2 true JP5876564B2 (ja) 2016-03-02

Family

ID=52831570

Family Applications (1)

Application Number Title Priority Date Filing Date
JP2014260463A Active JP5876564B2 (ja) 2014-12-24 2014-12-24 電動式直動アクチュエータ

Country Status (1)

Country Link
JP (1) JP5876564B2 (ja)

Families Citing this family (1)

* Cited by examiner, † Cited by third party
Publication number Priority date Publication date Assignee Title
KR102416396B1 (ko) * 2015-11-26 2022-07-04 현대모비스 주식회사 차량용 제동장치 및 차량용 제동장치의 리저버 장치

Family Cites Families (6)

* Cited by examiner, † Cited by third party
Publication number Priority date Publication date Assignee Title
JPH05195825A (ja) * 1991-07-29 1993-08-03 Asmo Co Ltd エンジンアイドリング制御機構のアクチュエータ
JP2001141757A (ja) * 1999-11-09 2001-05-25 Yazaki Corp ホール素子を用いたセンサ装置
JP5110854B2 (ja) * 2006-11-17 2012-12-26 Ntn株式会社 インホイール型モータ内蔵センサ付き車輪用軸受装置
JP5386892B2 (ja) * 2008-09-04 2014-01-15 株式会社ジェイテクト トルク検出装置
JP2010270788A (ja) * 2009-05-19 2010-12-02 Akebono Brake Ind Co Ltd ディスクブレーキ
JP5795908B2 (ja) * 2011-01-07 2015-10-14 Ntn株式会社 電動ブレーキ装置

Also Published As

Publication number Publication date
JP2015063303A (ja) 2015-04-09

Similar Documents

Publication Publication Date Title
JP5676382B2 (ja) 電動ブレーキ装置
JP5795908B2 (ja) 電動ブレーキ装置
JP5778513B2 (ja) 直動アクチュエータ用の磁気式荷重センサおよび直動アクチュエータ
JP5833405B2 (ja) 直動アクチュエータ用の磁気式荷重センサおよび直動アクチュエータ
JP5977016B2 (ja) 電動式直動アクチュエータおよび電動ブレーキ装置
JP5877134B2 (ja) 磁気式荷重センサおよび電動ブレーキ装置
JP5947229B2 (ja) 磁気式荷重センサおよび電動ブレーキ装置
WO2016035610A1 (ja) 荷重センサ、電動式直動アクチュエータおよび電動ブレーキ装置
JP5876564B2 (ja) 電動式直動アクチュエータ
JP6055125B2 (ja) 直動アクチュエータ
JP2013257000A (ja) 磁気式荷重センサおよび電動ブレーキ装置
JP6169676B2 (ja) 磁気式荷重センサおよび電動ブレーキ装置

Legal Events

Date Code Title Description
A621 Written request for application examination

Free format text: JAPANESE INTERMEDIATE CODE: A621

Effective date: 20150121

A521 Request for written amendment filed

Free format text: JAPANESE INTERMEDIATE CODE: A523

Effective date: 20150127

A521 Request for written amendment filed

Free format text: JAPANESE INTERMEDIATE CODE: A821

Effective date: 20150127

A977 Report on retrieval

Free format text: JAPANESE INTERMEDIATE CODE: A971007

Effective date: 20151224

TRDD Decision of grant or rejection written
A01 Written decision to grant a patent or to grant a registration (utility model)

Free format text: JAPANESE INTERMEDIATE CODE: A01

Effective date: 20160105

A61 First payment of annual fees (during grant procedure)

Free format text: JAPANESE INTERMEDIATE CODE: A61

Effective date: 20160121

R150 Certificate of patent or registration of utility model

Ref document number: 5876564

Country of ref document: JP

Free format text: JAPANESE INTERMEDIATE CODE: R150

R250 Receipt of annual fees

Free format text: JAPANESE INTERMEDIATE CODE: R250

R250 Receipt of annual fees

Free format text: JAPANESE INTERMEDIATE CODE: R250

R250 Receipt of annual fees

Free format text: JAPANESE INTERMEDIATE CODE: R250

R250 Receipt of annual fees

Free format text: JAPANESE INTERMEDIATE CODE: R250

R250 Receipt of annual fees

Free format text: JAPANESE INTERMEDIATE CODE: R250

R250 Receipt of annual fees

Free format text: JAPANESE INTERMEDIATE CODE: R250

R250 Receipt of annual fees

Free format text: JAPANESE INTERMEDIATE CODE: R250

R250 Receipt of annual fees

Free format text: JAPANESE INTERMEDIATE CODE: R250