JP5763618B2 - 2段階乾燥供給ガス化装置および方法 - Google Patents
2段階乾燥供給ガス化装置および方法 Download PDFInfo
- Publication number
- JP5763618B2 JP5763618B2 JP2012503617A JP2012503617A JP5763618B2 JP 5763618 B2 JP5763618 B2 JP 5763618B2 JP 2012503617 A JP2012503617 A JP 2012503617A JP 2012503617 A JP2012503617 A JP 2012503617A JP 5763618 B2 JP5763618 B2 JP 5763618B2
- Authority
- JP
- Japan
- Prior art keywords
- solid
- degrees
- product
- stream
- reaction vessel
- Prior art date
- Legal status (The legal status is an assumption and is not a legal conclusion. Google has not performed a legal analysis and makes no representation as to the accuracy of the status listed.)
- Active
Links
Images
Classifications
-
- C—CHEMISTRY; METALLURGY
- C10—PETROLEUM, GAS OR COKE INDUSTRIES; TECHNICAL GASES CONTAINING CARBON MONOXIDE; FUELS; LUBRICANTS; PEAT
- C10J—PRODUCTION OF PRODUCER GAS, WATER-GAS, SYNTHESIS GAS FROM SOLID CARBONACEOUS MATERIAL, OR MIXTURES CONTAINING THESE GASES; CARBURETTING AIR OR OTHER GASES
- C10J1/00—Production of fuel gases by carburetting air or other gases without pyrolysis
- C10J1/207—Carburetting by pyrolysis of solid carbonaceous material in a fuel bed
-
- F—MECHANICAL ENGINEERING; LIGHTING; HEATING; WEAPONS; BLASTING
- F23—COMBUSTION APPARATUS; COMBUSTION PROCESSES
- F23B—METHODS OR APPARATUS FOR COMBUSTION USING ONLY SOLID FUEL
- F23B5/00—Combustion apparatus with arrangements for burning uncombusted material from primary combustion
- F23B5/02—Combustion apparatus with arrangements for burning uncombusted material from primary combustion in main combustion chamber
- F23B5/025—Combustion apparatus with arrangements for burning uncombusted material from primary combustion in main combustion chamber recirculating uncombusted solids to combustion chamber
-
- C—CHEMISTRY; METALLURGY
- C10—PETROLEUM, GAS OR COKE INDUSTRIES; TECHNICAL GASES CONTAINING CARBON MONOXIDE; FUELS; LUBRICANTS; PEAT
- C10J—PRODUCTION OF PRODUCER GAS, WATER-GAS, SYNTHESIS GAS FROM SOLID CARBONACEOUS MATERIAL, OR MIXTURES CONTAINING THESE GASES; CARBURETTING AIR OR OTHER GASES
- C10J3/00—Production of combustible gases containing carbon monoxide from solid carbonaceous fuels
-
- C—CHEMISTRY; METALLURGY
- C10—PETROLEUM, GAS OR COKE INDUSTRIES; TECHNICAL GASES CONTAINING CARBON MONOXIDE; FUELS; LUBRICANTS; PEAT
- C10J—PRODUCTION OF PRODUCER GAS, WATER-GAS, SYNTHESIS GAS FROM SOLID CARBONACEOUS MATERIAL, OR MIXTURES CONTAINING THESE GASES; CARBURETTING AIR OR OTHER GASES
- C10J3/00—Production of combustible gases containing carbon monoxide from solid carbonaceous fuels
- C10J3/46—Gasification of granular or pulverulent flues in suspension
- C10J3/54—Gasification of granular or pulverulent fuels by the Winkler technique, i.e. by fluidisation
-
- C—CHEMISTRY; METALLURGY
- C10—PETROLEUM, GAS OR COKE INDUSTRIES; TECHNICAL GASES CONTAINING CARBON MONOXIDE; FUELS; LUBRICANTS; PEAT
- C10J—PRODUCTION OF PRODUCER GAS, WATER-GAS, SYNTHESIS GAS FROM SOLID CARBONACEOUS MATERIAL, OR MIXTURES CONTAINING THESE GASES; CARBURETTING AIR OR OTHER GASES
- C10J3/00—Production of combustible gases containing carbon monoxide from solid carbonaceous fuels
- C10J3/46—Gasification of granular or pulverulent flues in suspension
- C10J3/54—Gasification of granular or pulverulent fuels by the Winkler technique, i.e. by fluidisation
- C10J3/56—Apparatus; Plants
-
- C—CHEMISTRY; METALLURGY
- C10—PETROLEUM, GAS OR COKE INDUSTRIES; TECHNICAL GASES CONTAINING CARBON MONOXIDE; FUELS; LUBRICANTS; PEAT
- C10J—PRODUCTION OF PRODUCER GAS, WATER-GAS, SYNTHESIS GAS FROM SOLID CARBONACEOUS MATERIAL, OR MIXTURES CONTAINING THESE GASES; CARBURETTING AIR OR OTHER GASES
- C10J3/00—Production of combustible gases containing carbon monoxide from solid carbonaceous fuels
- C10J3/72—Other features
- C10J3/721—Multistage gasification, e.g. plural parallel or serial gasification stages
-
- C—CHEMISTRY; METALLURGY
- C10—PETROLEUM, GAS OR COKE INDUSTRIES; TECHNICAL GASES CONTAINING CARBON MONOXIDE; FUELS; LUBRICANTS; PEAT
- C10J—PRODUCTION OF PRODUCER GAS, WATER-GAS, SYNTHESIS GAS FROM SOLID CARBONACEOUS MATERIAL, OR MIXTURES CONTAINING THESE GASES; CARBURETTING AIR OR OTHER GASES
- C10J3/00—Production of combustible gases containing carbon monoxide from solid carbonaceous fuels
- C10J3/72—Other features
- C10J3/82—Gas withdrawal means
- C10J3/84—Gas withdrawal means with means for removing dust or tar from the gas
-
- C—CHEMISTRY; METALLURGY
- C10—PETROLEUM, GAS OR COKE INDUSTRIES; TECHNICAL GASES CONTAINING CARBON MONOXIDE; FUELS; LUBRICANTS; PEAT
- C10J—PRODUCTION OF PRODUCER GAS, WATER-GAS, SYNTHESIS GAS FROM SOLID CARBONACEOUS MATERIAL, OR MIXTURES CONTAINING THESE GASES; CARBURETTING AIR OR OTHER GASES
- C10J2300/00—Details of gasification processes
- C10J2300/09—Details of the feed, e.g. feeding of spent catalyst, inert gas or halogens
- C10J2300/0913—Carbonaceous raw material
- C10J2300/093—Coal
-
- C—CHEMISTRY; METALLURGY
- C10—PETROLEUM, GAS OR COKE INDUSTRIES; TECHNICAL GASES CONTAINING CARBON MONOXIDE; FUELS; LUBRICANTS; PEAT
- C10J—PRODUCTION OF PRODUCER GAS, WATER-GAS, SYNTHESIS GAS FROM SOLID CARBONACEOUS MATERIAL, OR MIXTURES CONTAINING THESE GASES; CARBURETTING AIR OR OTHER GASES
- C10J2300/00—Details of gasification processes
- C10J2300/16—Integration of gasification processes with another plant or parts within the plant
- C10J2300/164—Integration of gasification processes with another plant or parts within the plant with conversion of synthesis gas
- C10J2300/1643—Conversion of synthesis gas to energy
- C10J2300/165—Conversion of synthesis gas to energy integrated with a gas turbine or gas motor
-
- C—CHEMISTRY; METALLURGY
- C10—PETROLEUM, GAS OR COKE INDUSTRIES; TECHNICAL GASES CONTAINING CARBON MONOXIDE; FUELS; LUBRICANTS; PEAT
- C10J—PRODUCTION OF PRODUCER GAS, WATER-GAS, SYNTHESIS GAS FROM SOLID CARBONACEOUS MATERIAL, OR MIXTURES CONTAINING THESE GASES; CARBURETTING AIR OR OTHER GASES
- C10J2300/00—Details of gasification processes
- C10J2300/18—Details of the gasification process, e.g. loops, autothermal operation
- C10J2300/1807—Recycle loops, e.g. gas, solids, heating medium, water
-
- C—CHEMISTRY; METALLURGY
- C10—PETROLEUM, GAS OR COKE INDUSTRIES; TECHNICAL GASES CONTAINING CARBON MONOXIDE; FUELS; LUBRICANTS; PEAT
- C10J—PRODUCTION OF PRODUCER GAS, WATER-GAS, SYNTHESIS GAS FROM SOLID CARBONACEOUS MATERIAL, OR MIXTURES CONTAINING THESE GASES; CARBURETTING AIR OR OTHER GASES
- C10J2300/00—Details of gasification processes
- C10J2300/18—Details of the gasification process, e.g. loops, autothermal operation
- C10J2300/1861—Heat exchange between at least two process streams
- C10J2300/1884—Heat exchange between at least two process streams with one stream being synthesis gas
-
- C—CHEMISTRY; METALLURGY
- C10—PETROLEUM, GAS OR COKE INDUSTRIES; TECHNICAL GASES CONTAINING CARBON MONOXIDE; FUELS; LUBRICANTS; PEAT
- C10J—PRODUCTION OF PRODUCER GAS, WATER-GAS, SYNTHESIS GAS FROM SOLID CARBONACEOUS MATERIAL, OR MIXTURES CONTAINING THESE GASES; CARBURETTING AIR OR OTHER GASES
- C10J2300/00—Details of gasification processes
- C10J2300/18—Details of the gasification process, e.g. loops, autothermal operation
- C10J2300/1861—Heat exchange between at least two process streams
- C10J2300/1892—Heat exchange between at least two process streams with one stream being water/steam
-
- Y—GENERAL TAGGING OF NEW TECHNOLOGICAL DEVELOPMENTS; GENERAL TAGGING OF CROSS-SECTIONAL TECHNOLOGIES SPANNING OVER SEVERAL SECTIONS OF THE IPC; TECHNICAL SUBJECTS COVERED BY FORMER USPC CROSS-REFERENCE ART COLLECTIONS [XRACs] AND DIGESTS
- Y02—TECHNOLOGIES OR APPLICATIONS FOR MITIGATION OR ADAPTATION AGAINST CLIMATE CHANGE
- Y02E—REDUCTION OF GREENHOUSE GAS [GHG] EMISSIONS, RELATED TO ENERGY GENERATION, TRANSMISSION OR DISTRIBUTION
- Y02E20/00—Combustion technologies with mitigation potential
- Y02E20/16—Combined cycle power plant [CCPP], or combined cycle gas turbine [CCGT]
- Y02E20/18—Integrated gasification combined cycle [IGCC], e.g. combined with carbon capture and storage [CCS]
-
- Y—GENERAL TAGGING OF NEW TECHNOLOGICAL DEVELOPMENTS; GENERAL TAGGING OF CROSS-SECTIONAL TECHNOLOGIES SPANNING OVER SEVERAL SECTIONS OF THE IPC; TECHNICAL SUBJECTS COVERED BY FORMER USPC CROSS-REFERENCE ART COLLECTIONS [XRACs] AND DIGESTS
- Y02—TECHNOLOGIES OR APPLICATIONS FOR MITIGATION OR ADAPTATION AGAINST CLIMATE CHANGE
- Y02E—REDUCTION OF GREENHOUSE GAS [GHG] EMISSIONS, RELATED TO ENERGY GENERATION, TRANSMISSION OR DISTRIBUTION
- Y02E50/00—Technologies for the production of fuel of non-fossil origin
- Y02E50/30—Fuel from waste, e.g. synthetic alcohol or diesel
-
- Y—GENERAL TAGGING OF NEW TECHNOLOGICAL DEVELOPMENTS; GENERAL TAGGING OF CROSS-SECTIONAL TECHNOLOGIES SPANNING OVER SEVERAL SECTIONS OF THE IPC; TECHNICAL SUBJECTS COVERED BY FORMER USPC CROSS-REFERENCE ART COLLECTIONS [XRACs] AND DIGESTS
- Y02—TECHNOLOGIES OR APPLICATIONS FOR MITIGATION OR ADAPTATION AGAINST CLIMATE CHANGE
- Y02P—CLIMATE CHANGE MITIGATION TECHNOLOGIES IN THE PRODUCTION OR PROCESSING OF GOODS
- Y02P20/00—Technologies relating to chemical industry
- Y02P20/10—Process efficiency
- Y02P20/129—Energy recovery, e.g. by cogeneration, H2recovery or pressure recovery turbines
-
- Y—GENERAL TAGGING OF NEW TECHNOLOGICAL DEVELOPMENTS; GENERAL TAGGING OF CROSS-SECTIONAL TECHNOLOGIES SPANNING OVER SEVERAL SECTIONS OF THE IPC; TECHNICAL SUBJECTS COVERED BY FORMER USPC CROSS-REFERENCE ART COLLECTIONS [XRACs] AND DIGESTS
- Y02—TECHNOLOGIES OR APPLICATIONS FOR MITIGATION OR ADAPTATION AGAINST CLIMATE CHANGE
- Y02P—CLIMATE CHANGE MITIGATION TECHNOLOGIES IN THE PRODUCTION OR PROCESSING OF GOODS
- Y02P20/00—Technologies relating to chemical industry
- Y02P20/141—Feedstock
Landscapes
- Chemical & Material Sciences (AREA)
- Engineering & Computer Science (AREA)
- Combustion & Propulsion (AREA)
- Oil, Petroleum & Natural Gas (AREA)
- Organic Chemistry (AREA)
- Physics & Mathematics (AREA)
- Thermal Sciences (AREA)
- Mechanical Engineering (AREA)
- General Engineering & Computer Science (AREA)
- Processing Of Solid Wastes (AREA)
- Industrial Gases (AREA)
- Treatment Of Sludge (AREA)
Description
本出願は、2009年4月1日付けで出願した表題が「Two Stage Dry Feed Gasification System And Process」の米国仮出願連続番号61/165,784(これは全体が本明細書に組み入れられる)に対する利点を35 USC §119(e)の下で請求する非仮出願である。
なし。
本開示は、炭素質材料などの如き原料をガス化させるための乾燥供給2段階ガス化装置および方法に関し、この方法はエネルギー効率が改善されていることに加えて原料消費量およびCO2放出量がより低い方法である。
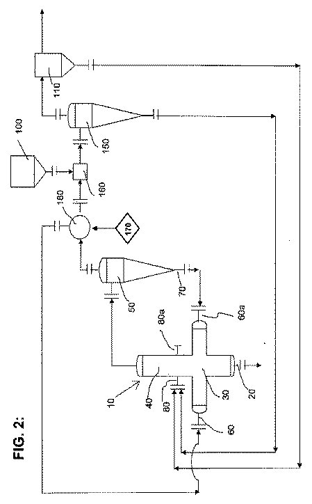
スを含有して成る1番目の混合生成物を生じさせるが、前記気体流れは酸素含有ガス、水蒸気およびこれらの混合物から成る群より選択した酸素供給材料を含有して成り、(i)前記反応槽下部から来た段階(h)の前記1番目の混合生成物を前記反応槽上部の中に送り込んで、前記固体状原料流れを前記反応槽上部の中で2番目の混合生成物に変化させることで、段階(h)で発生させた前記熱を回収する段階を含んで成る。
以下に行う様々な態様の詳細な説明では、本発明の実施を可能にする具体的態様を例示する添付図を参照する。本態様は本発明の面を当業者が本発明を実施することを可能にするに充分なほど詳細に説明することを意図したものである。しかしながら、他の態様も使用可能であり、本発明の範囲から逸脱しない限り変更を行ってもよい。このように、本発明の範囲を本明細書に開示する具体的態様のみに限定するものでなく、むしろ、添付請求項に加えて当該請求項によって権利が与えられる相当物の全範囲によってのみ範囲を限定する。
から2500度Fの範囲、好適には1500度Fから2000度Fの範囲にまで降下する。
とからそれの生成は好ましくない。
中に入る。そのスラグは水で急冷された後、最終的に固体状スラグ生成物として集められる。反応槽下部30に添加する水蒸気は、ガス化装置10の2番目の段階(上部)から出て来た熱合成ガスによる熱を用いて熱回収装置180から発生させた水蒸気であってもよい。
s(商標)方法に比べて15%低い。
Claims (21)
- 炭素質材料をガス化させる方法であって、
(a)反応槽上部と反応槽下部を含んで成るガス化反応槽を準備し、
(b)固体状炭素質原料流れを前記反応槽上部の中に導入して、その中で反応槽下部から来た1番目の混合生成物と反応させることで2番目の混合生成物を生じさせるが、前記1番目の混合生成物は合成ガスを含有して成り、かつ前記2番目の混合生成物は2番目の固体状生成物および2番目の気体状生成物を含有して成り、
(c)前記2番目の混合生成物を1番目の分離装置に送ることで、前記2番目の固体状生成物を前記2番目の気体状生成物から分離し、
(d)その分離した2番目の固体状生成物を前記反応槽下部の中に送り、
(e)前記1番目の分離装置から出た前記2番目の気体状生成物流れを熱回収装置に通すことで、前記2番目の気体状生成物流れの温度を低下させかつ水蒸気を発生させ、
(f)段階(e)で発生させた前記水蒸気を前記反応槽下部の中に送り、
(g)パート(e)の前記熱回収装置から出た前記2番目の気体状生成物を微粒子濾過装置に送ることで、残存固体、微粉および微粒子を分離し、そして分離された残存固体、微粉および微粒子を前記反応槽下部の中に送り、
(h)気体流れ、段階(d)の前記2番目の固体状生成物流れ、段階(g)の残存固体、微粉および微粒子、および段階(e)の前記熱回収装置の中で発生させた前記水蒸気を前記反応槽下部の中で一緒にしてそれらを反応させることで、熱を発生させかつ段階(b)の1番目の混合生成物を生じさせるが、前記気体流れは酸素含有ガス、水蒸気およびこれらの混合物から成る群より選択した酸素供給材料を含有して成り、そして
(i)前記反応槽下部から来た段階(h)の前記1番目の混合生成物を前記反応槽上部の中に送り込んで、前記固体状炭素質原料流れを前記反応槽上部の中で2番目の混合生成物に変化させることで、段階(h)で発生させた前記熱を回収する、
段階を含んで成る方法。 - 炭素質材料をガス化させる方法であって、
(a)反応槽上部と反応槽下部を含んで成るガス化反応槽を準備し、
(b)固体状炭素質原料流れを前記反応槽上部の中に導入して、その中で反応槽下部から来た1番目の混合生成物と反応させることで2番目の混合生成物を生じさせるが、前記1番目の混合生成物は合成ガスを含有して成り、かつ前記2番目の混合生成物は2番目の固体状生成物および2番目の気体状生成物を含有して成り、
(c)前記2番目の混合生成物を1番目の分離装置に送ることで、前記2番目の固体状生成物を前記2番目の気体状生成物から分離し、
(d)その分離した2番目の固体状生成物を前記反応槽下部の中に送り、
(e)前記1番目の分離装置から出た前記2番目の気体状生成物流れを熱回収装置に通すことで、前記2番目の気体状生成物流れの温度を低下させかつ水蒸気を発生させ、
(f)段階(e)で発生させた前記水蒸気を前記反応槽下部の中に送り、
(g)固体状原料を段階(e)の前記2番目の気体状生成物と混合することで、温固体−気体混合物を生じさせかつ前記固体状原料を乾燥させ、
(h)前記温固体−気体混合物を2番目の分離装置に通すことで、前記固体状原料を前記2番目の気体状生成物から分離し、
(i)前記2番目の分離装置から出た前記固体状原料を固体状炭素質原料として前記反応槽上部の中に送りかつ前記2番目の分離装置から出た前記2番目の気体状生成物流れを微粒子濾過装置に送ることで、残存固体、微粉および微粒子を取り出し、そして
(j)前記微粒子濾過装置から出た前記残存固体、微粉および微粒子を前記反応槽上部の中に送り、
(k)気体流れ、段階(d)の前記2番目の固体状生成物流れ、および段階(e)の前記熱回収装置の中で発生させた前記水蒸気を前記反応槽下部の中で一緒にしてそれらを反応させることで、熱を発生させかつ段階(b)の1番目の混合生成物を生じさせるが、前記気体流れは酸素含有ガス、水蒸気およびこれらの混合物から成る群より選択した酸素供給材料を含有して成り、そして
(l)前記反応槽下部から来た段階(k)の前記1番目の混合生成物を前記反応槽上部の中に送り込んで、前記固体状炭素質原料流れを前記反応槽上部の中で2番目の混合生成物に変化させることで、段階(k)で発生させた前記熱を回収する、
段階を含んで成る方法。 - 2番目の分離装置から出た前記固体状炭素質原料および前記微粒子濾過装置から出た残存固体、微粉および微粒子を1個以上の供給装置で前記反応槽上部の中に送る請求項2記載の方法。
- 請求項1のパート(h)または請求項2のパート(k)の前記気体流れ、1番目の分離装置から出た前記2番目の固体状生成物および前記熱回収装置の中で発生させた前記水蒸気を1個以上の分散装置で前記反応槽下部の中に送る請求項1または2記載の方法。
- 前記固体状原料または前記固体状炭素質原料を石炭、褐炭、石油コークスおよびこれらの混合物から成る群より選択する請求項1または2記載の方法。
- 前記酸素含有ガスを空気、酸素が豊富な空気および酸素から成る群より選択しかつ前記熱回収装置を放射熱型ボイラー、水管ボイラー、煙管ボイラーおよびこれらの組み合わせから成る群より選択する請求項1または2記載の方法。
- 前記1番目の分離装置の中に入る前の前記2番目の混合生成物の温度を648度Cから1371度C(1200度Fから2500度F)の範囲にする請求項1または2記載の方法。
- 前記1番目の分離装置の中に入る前の前記2番目の混合生成物の温度を815度Cから1094度C(1500度Fから2000度F)の範囲にする請求項1または2記載の方法。
- 前記温固体−気体混合物を148度Cから538度C(300度Fから1000度F)の範囲内の温度に維持する請求項2記載の方法。
- 前記温固体−気体混合物を260度Cから427度C(500度Fから800度F)の範囲内の温度に維持する請求項2記載の方法。
- 前記1番目および2番目の分離装置の各々がサイクロンを含有して成る請求項2記載の方法。
- 炭素質材料をガス化させるための装置であって、
(a) i)固体状炭素質原料、
ii)再循環して来た残存固体、微粉および微粒子、および
iii)反応槽下部から来た合成ガスを含有する1番目の混合生成物、
を反応させて2番目の固体状生成物流れおよび2番目の気体状生成物流れを含有して成る2番目の混合生成物を生じさせるための反応槽上部、
(b)前記2番目の固体状生成物流れを前記2番目の気体状生成物流れから分離した後にその分離した2番目の固体状生成物を前記反応槽下部の中に導入するための1番目の分離装置、
(c)前記2番目の気体状生成物流れの温度を低くしかつ水蒸気を発生させて前記水蒸気を前記反応槽下部の中に送り込むための熱回収装置、
(d)前記熱回収装置から出た前記2番目の気体状生成物流れから前記残存固体、微粉および微粒子を分離してその分離した残存固体、微粉および微粒子を前記反応槽下部の中に
送るための微粒子濾過装置、
(e) i)前記1番目の分離装置から出た前記2番目の固体状生成物、
ii)前記熱回収装置の中で発生した前記水蒸気、
iii)酸素含有ガス、水蒸気およびこれらの混合物から成る群より選択した酸素供給材料を含有して成る気体流れ、
を含有して成る混合物を反応させて熱を発生させかつその発生させた熱の回収を前記固体状炭素質原料流れを前記反応槽上部の中で前記2番目の混合生成物に変化させることで起こさせかつパート(a)の前記1番目の混合生成物を生じさせるための反応槽下部、
を含有して成る装置。 - 炭素質原料をガス化させるための装置であって、
(a)(i)固体状炭素質原料、(ii)再循環して来た残存固体、微粉および微粒子、および(iii)反応槽下部から来た合成ガスを含有する1番目の混合生成物を反応させて2番目の固体状生成物流れおよび2番目の気体状生成物流れを含有して成る2番目の混合生成物を生じさせるための反応槽上部、
(b)前記2番目の固体状生成物流れを前記2番目の気体状生成物流れから分離した後にその分離した2番目の固体状生成物を前記反応槽下部の中に導入するための1番目の分離装置、
(c)前記2番目の気体状生成物流れの温度を低くしかつ水蒸気を発生させて前記水蒸気を前記反応槽下部の中に送り込むための熱回収装置、
(d)固体状原料流れをパート(c)の温度を低くされた2番目の気体状生成物流れと混合して温固体−気体混合物を生じさせるための固体−気体混合装置、
(e)温固体−気体混合物を分離して温固体状原料流れおよび気体状生成物流れを生じさせて前記温固体状原料流れを固体状炭素質原料として反応槽上部の中に送るための2番目の分離装置、
(f)前記気体状生成物流れから残存固体、微粉および微粒子を分離して反応槽上部の中に導入するための微粒子濾過装置、および
(g)(i)1番目の分離装置から来た2番目の固体状生成物、(ii)熱回収装置で生じた水蒸気および(iii)気体流れから成る混合物を反応させて熱およびパート(a)の1番目の混合生成物を生じさせるための反応槽下部、ただし、前記気体流れは酸素含有ガス、水蒸気およびこれらの混合物から成る群から選択した酸素供給材料を含有して成り、反応槽下部の中で生じた熱は固体状炭素質原料流れを反応槽上部で2番目の混合生成物に変化させることで回収される、
を含有して成る装置。 - 前記1番目の分離装置から出た前記2番目の固体状生成物流れ、前記熱回収装置から出た前記水蒸気および請求項12のパート(e)または請求項13のパート(g)の前記気体流れを1個以上の分散装置で前記反応槽下部の中に送る請求項12または13記載の装置。
- 前記固体状原料または前記固体状炭素質原料が石炭、褐炭、石油コークスおよびこれらの混合物から成る群より選択される請求項12または13記載の装置。
- 前記酸素含有ガスが空気、酸素が豊富な空気および酸素から成る群より選択されかつ前記熱回収装置が放射熱型ボイラー、水管ボイラー、煙管ボイラーおよびこれらの組み合わせから成る群より選択される請求項12または13記載の装置。
- 前記1番目の分離装置の中に入る前の前記2番目の混合生成物の温度を648度Cから1371度C(1200度Fから2500度F)の範囲にする請求項12または13記載の装置。
- 前記1番目の分離装置の中に入る前の前記2番目の混合生成物の温度を815度Cから1094度C(1500度Fから2000度F)の範囲にする請求項12または13記載の装置。
- 前記温固体−気体混合物を148度Cから538度C(300度Fから1000度F)の範囲の温度に維持する請求項13記載の装置。
- 前記温固体−気体混合物を260度Cから427度C(500度Fから800度F)の範囲の温度に維持する請求項13記載の装置。
- 前記1番目および2番目の分離装置の各々がサイクロンを含有して成る請求項13記載の装置。
Applications Claiming Priority (5)
| Application Number | Priority Date | Filing Date | Title |
|---|---|---|---|
| US16578409P | 2009-04-01 | 2009-04-01 | |
| US61/165,784 | 2009-04-01 | ||
| US12/732,290 US8357216B2 (en) | 2009-04-01 | 2010-03-26 | Two stage dry feed gasification system and process |
| US12/732,290 | 2010-03-26 | ||
| PCT/US2010/029217 WO2010120495A2 (en) | 2009-04-01 | 2010-03-30 | Two stage dry feed gasification system and process |
Publications (2)
| Publication Number | Publication Date |
|---|---|
| JP2012522870A JP2012522870A (ja) | 2012-09-27 |
| JP5763618B2 true JP5763618B2 (ja) | 2015-08-12 |
Family
ID=42825000
Family Applications (1)
| Application Number | Title | Priority Date | Filing Date |
|---|---|---|---|
| JP2012503617A Active JP5763618B2 (ja) | 2009-04-01 | 2010-03-30 | 2段階乾燥供給ガス化装置および方法 |
Country Status (11)
| Country | Link |
|---|---|
| US (3) | US8357216B2 (ja) |
| EP (1) | EP2430127B1 (ja) |
| JP (1) | JP5763618B2 (ja) |
| KR (1) | KR101643792B1 (ja) |
| CN (1) | CN102365350B (ja) |
| AU (1) | AU2010236899B2 (ja) |
| CA (1) | CA2755353C (ja) |
| ES (1) | ES2805148T3 (ja) |
| PL (1) | PL2430127T3 (ja) |
| PT (1) | PT2430127T (ja) |
| WO (1) | WO2010120495A2 (ja) |
Families Citing this family (17)
| Publication number | Priority date | Publication date | Assignee | Title |
|---|---|---|---|---|
| US8696774B2 (en) * | 2010-01-07 | 2014-04-15 | General Electric Company | Gasification system and method using fuel injectors |
| US9441887B2 (en) * | 2011-02-22 | 2016-09-13 | Ensyn Renewables, Inc. | Heat removal and recovery in biomass pyrolysis |
| US20120255301A1 (en) * | 2011-04-06 | 2012-10-11 | Bell Peter S | System for generating power from a syngas fermentation process |
| US9260301B2 (en) | 2011-05-09 | 2016-02-16 | Hrl Treasury (Idgcc) Pty Ltd | Integrated drying gasification |
| US20140209447A1 (en) * | 2011-09-01 | 2014-07-31 | Guradoor, S.L. | Gasification-pyrolysis dual reactor device |
| WO2013134770A1 (en) * | 2012-03-09 | 2013-09-12 | Clingan William Rex | Process for production of fuels and chemicals from biomass feedstocks |
| IN2014MN02547A (ja) | 2012-06-26 | 2015-07-24 | Lummus Technology Inc | |
| US9023243B2 (en) * | 2012-08-27 | 2015-05-05 | Proton Power, Inc. | Methods, systems, and devices for synthesis gas recapture |
| US9102882B2 (en) | 2012-09-04 | 2015-08-11 | General Electric Company | Gasification system and method |
| US9545604B2 (en) | 2013-11-15 | 2017-01-17 | General Electric Company | Solids combining system for a solid feedstock |
| CN104258639B (zh) * | 2014-09-30 | 2016-02-10 | 成都易态科技有限公司 | 恢复高温气体过滤器过滤通量的方法 |
| WO2016198725A1 (en) * | 2015-06-09 | 2016-12-15 | Volter Oy | A gas generating apparatus and a method for treating the particulate matter formed in a gasifier of a gas generating apparatus |
| CN105647590A (zh) * | 2015-12-04 | 2016-06-08 | 孔令增 | 双段煤气发生炉纯氧连续气化发电联产合成氨、尿素的方法 |
| US12227415B2 (en) * | 2020-07-01 | 2025-02-18 | Jbk Extractions Llc | System and method for making syngas |
| KR102422855B1 (ko) | 2020-09-28 | 2022-07-20 | (주)두리가온 | 인조 자개 무늬 전사지, 그 제조 방법 및 이를 이용한 전사 방법 |
| CN112940789A (zh) * | 2021-01-26 | 2021-06-11 | 中国华能集团清洁能源技术研究院有限公司 | 一种具有高捕渣率的两段气化炉及废锅系统 |
| KR20250065022A (ko) | 2023-11-03 | 2025-05-12 | (주)두리가온 | 인조자개무늬 전사 스티커의 제조방법, 이 전사 스티커를 이용한 전사방법 및 인조자개무늬 전사 스티커 제조 시 사용되는 스크린 인쇄용 제판 |
Family Cites Families (40)
| Publication number | Priority date | Publication date | Assignee | Title |
|---|---|---|---|---|
| US3847563A (en) | 1973-05-02 | 1974-11-12 | Westinghouse Electric Corp | Multi-stage fluidized bed coal gasification apparatus and process |
| US4021298A (en) | 1974-01-29 | 1977-05-03 | Westinghouse Electric Corporation | Conversion of coal into hydrocarbons |
| US3963426A (en) * | 1974-07-22 | 1976-06-15 | Cameron Engineers, Incorporated | Process for gasifying carbonaceous matter |
| US4022591A (en) * | 1974-08-28 | 1977-05-10 | Shell Internationale Research Maatschappij B.V. | Coal gasification apparatus |
| NL179468C (nl) * | 1974-09-09 | 1986-09-16 | Shell Int Research | Werkwijze voor het vergassen van olie door partiele oxydatie onder tangentiele invoer van de oxydant. |
| NL7504844A (nl) * | 1975-04-24 | 1976-10-26 | Shell Int Research | Werkwijze en inrichting voor het toevoeren van een droog, vrij stromend, koolpoeder aan een hogedruk koolvergassingsreactor. |
| NL7514128A (nl) * | 1975-12-04 | 1977-06-07 | Shell Int Research | Werkwijze en inrichting voor de partiele verbran- ding van koolpoeder. |
| NL7610560A (nl) * | 1976-09-23 | 1978-03-29 | Shell Int Research | Werkwijze en reactor voor de partiele ver- branding van koolpoeder. |
| US4069024A (en) * | 1977-05-09 | 1978-01-17 | Combustion Engineering, Inc. | Two-stage gasification system |
| US4209304A (en) | 1978-06-30 | 1980-06-24 | Texaco Inc. | Coal gasification-method of feeding dry coal |
| US4248604A (en) | 1979-07-13 | 1981-02-03 | Texaco Inc. | Gasification process |
| US4312638A (en) | 1980-04-18 | 1982-01-26 | Westinghouse Electric Corp. | Coal gasification process |
| JPS5776088A (en) * | 1980-10-31 | 1982-05-12 | Nippon Kokan Kk <Nkk> | Coal gasification using powdered coal and its device |
| DE3205346C2 (de) * | 1982-02-15 | 1983-12-15 | L. & C. Steinmüller GmbH, 5270 Gummersbach | Zweistufen-Vergaser |
| JPS6032889A (ja) | 1983-08-04 | 1985-02-20 | Mitsubishi Heavy Ind Ltd | 石炭ガス化装置 |
| US4872886A (en) * | 1985-11-29 | 1989-10-10 | The Dow Chemical Company | Two-stage coal gasification process |
| FI873735A0 (fi) * | 1987-08-28 | 1987-08-28 | Ahlstroem Oy | Foerfarande och anordning foer foergasning av fast kolhaltigt material. |
| US4823741A (en) * | 1987-12-11 | 1989-04-25 | Shell Oil Company | Coal gasification process with inhibition of quench zone plugging |
| US4851013A (en) * | 1987-12-29 | 1989-07-25 | Shell Oil Company | Gasification process |
| US4963162A (en) * | 1987-12-29 | 1990-10-16 | Shell Oil Company | Coal gasification process |
| US4874397A (en) * | 1987-12-29 | 1989-10-17 | Shell Oil Company | Coal gasification process |
| US4959080A (en) * | 1989-06-29 | 1990-09-25 | Shell Oil Company | Process for gasification of coal utilizing reactor protected interally with slag coalescing materials |
| USH1325H (en) * | 1992-10-13 | 1994-07-05 | Shell Oil Company | One stage coal gasification process |
| US5435940A (en) * | 1993-11-12 | 1995-07-25 | Shell Oil Company | Gasification process |
| USH1538H (en) * | 1994-04-26 | 1996-06-04 | Shell Oil Company | Use of coal feedstock to a coal gasification plant for removing sulfur from a gaseous stream |
| US5641327A (en) * | 1994-12-02 | 1997-06-24 | Leas; Arnold M. | Catalytic gasification process and system for producing medium grade BTU gas |
| US5931978A (en) * | 1995-12-18 | 1999-08-03 | Shell Oil Company | Process for preparing synthesis gas |
| US6141796A (en) * | 1996-08-01 | 2000-11-07 | Isentropic Systems Ltd. | Use of carbonaceous fuels |
| US7285144B2 (en) * | 1997-11-04 | 2007-10-23 | Ebara Corporation | Fluidized-bed gasification and combustion furnace |
| US6941879B2 (en) | 2000-12-08 | 2005-09-13 | Foretop Corporation | Process and gas generator for generating fuel gas |
| FI112952B (fi) | 2001-12-21 | 2004-02-13 | Foster Wheeler Energia Oy | Menetelmä ja laitteisto hiilipitoisen materiaalin kaasuttamiseksi |
| US20060165582A1 (en) * | 2005-01-27 | 2006-07-27 | Brooker Donald D | Production of synthesis gas |
| AU2007247899A1 (en) | 2006-05-05 | 2007-11-15 | Plascoenergy Ip Holdings, S.L., Bilbao, Schaffhausen Branch | A gas conditioning system |
| CN1994865B (zh) * | 2006-12-12 | 2011-05-18 | 华东理工大学 | 两段气化并耦合热量回收和洗涤于一体的气化装置和应用 |
| EP2147965B1 (en) * | 2007-05-14 | 2016-11-30 | Keda Industrial Co., Ltd. | A coal circulating fluidized bed coal gas generating furnace system |
| DE102007046260A1 (de) | 2007-09-26 | 2009-04-09 | Uhde Gmbh | Verfahren zur Reinigung des Rohgases aus einer Feststoffvergasung |
| US8221513B2 (en) * | 2008-01-29 | 2012-07-17 | Kellogg Brown & Root Llc | Low oxygen carrier fluid with heating value for feed to transport gasification |
| CN101294708A (zh) * | 2008-04-25 | 2008-10-29 | 东南大学 | 城市生活垃圾流化床气化燃烧处理方法 |
| TWI449781B (zh) * | 2008-12-17 | 2014-08-21 | Lummus Technology Inc | 包含分段漿料添加之氣化系統及方法 |
| AU2009329936A1 (en) * | 2008-12-23 | 2011-07-07 | Wormser Energy Solutions, Inc. | Mild gasification combined-cycle powerplant |
-
2010
- 2010-03-26 US US12/732,290 patent/US8357216B2/en active Active
- 2010-03-30 EP EP10723431.2A patent/EP2430127B1/en active Active
- 2010-03-30 AU AU2010236899A patent/AU2010236899B2/en active Active
- 2010-03-30 WO PCT/US2010/029217 patent/WO2010120495A2/en not_active Ceased
- 2010-03-30 PT PT107234312T patent/PT2430127T/pt unknown
- 2010-03-30 PL PL10723431T patent/PL2430127T3/pl unknown
- 2010-03-30 ES ES10723431T patent/ES2805148T3/es active Active
- 2010-03-30 JP JP2012503617A patent/JP5763618B2/ja active Active
- 2010-03-30 KR KR1020117023025A patent/KR101643792B1/ko active Active
- 2010-03-30 CN CN201080015480.9A patent/CN102365350B/zh active Active
- 2010-03-30 CA CA2755353A patent/CA2755353C/en active Active
-
2012
- 2012-12-13 US US13/713,572 patent/US9140447B2/en active Active
- 2012-12-13 US US13/713,812 patent/US9175847B2/en active Active
Also Published As
| Publication number | Publication date |
|---|---|
| US20130099168A1 (en) | 2013-04-25 |
| US20100251614A1 (en) | 2010-10-07 |
| EP2430127A2 (en) | 2012-03-21 |
| US8357216B2 (en) | 2013-01-22 |
| KR20120004979A (ko) | 2012-01-13 |
| US20130101476A1 (en) | 2013-04-25 |
| JP2012522870A (ja) | 2012-09-27 |
| AU2010236899A1 (en) | 2011-10-06 |
| CA2755353A1 (en) | 2010-10-21 |
| KR101643792B1 (ko) | 2016-07-28 |
| CA2755353C (en) | 2014-06-17 |
| CN102365350A (zh) | 2012-02-29 |
| WO2010120495A3 (en) | 2011-03-24 |
| WO2010120495A2 (en) | 2010-10-21 |
| AU2010236899B2 (en) | 2016-04-07 |
| PT2430127T (pt) | 2020-07-03 |
| US9175847B2 (en) | 2015-11-03 |
| PL2430127T3 (pl) | 2021-01-25 |
| US9140447B2 (en) | 2015-09-22 |
| CN102365350B (zh) | 2015-09-30 |
| EP2430127B1 (en) | 2020-06-24 |
| ES2805148T3 (es) | 2021-02-10 |
Similar Documents
| Publication | Publication Date | Title |
|---|---|---|
| JP5763618B2 (ja) | 2段階乾燥供給ガス化装置および方法 | |
| JP5759901B2 (ja) | 段階的なスラリー添加によるガス化系および方法 | |
| EP2321387B1 (en) | Two stage entrained gasification system and process | |
| US8252073B2 (en) | Tar-free gasification system and process |
Legal Events
| Date | Code | Title | Description |
|---|---|---|---|
| A621 | Written request for application examination |
Free format text: JAPANESE INTERMEDIATE CODE: A621 Effective date: 20121119 |
|
| A977 | Report on retrieval |
Free format text: JAPANESE INTERMEDIATE CODE: A971007 Effective date: 20140313 |
|
| A131 | Notification of reasons for refusal |
Free format text: JAPANESE INTERMEDIATE CODE: A131 Effective date: 20140402 |
|
| A711 | Notification of change in applicant |
Free format text: JAPANESE INTERMEDIATE CODE: A711 Effective date: 20140411 |
|
| A521 | Request for written amendment filed |
Free format text: JAPANESE INTERMEDIATE CODE: A523 Effective date: 20140627 |
|
| A131 | Notification of reasons for refusal |
Free format text: JAPANESE INTERMEDIATE CODE: A131 Effective date: 20140910 |
|
| A521 | Request for written amendment filed |
Free format text: JAPANESE INTERMEDIATE CODE: A523 Effective date: 20141208 |
|
| TRDD | Decision of grant or rejection written | ||
| A01 | Written decision to grant a patent or to grant a registration (utility model) |
Free format text: JAPANESE INTERMEDIATE CODE: A01 Effective date: 20150513 |
|
| A61 | First payment of annual fees (during grant procedure) |
Free format text: JAPANESE INTERMEDIATE CODE: A61 Effective date: 20150611 |
|
| R150 | Certificate of patent or registration of utility model |
Ref document number: 5763618 Country of ref document: JP Free format text: JAPANESE INTERMEDIATE CODE: R150 |
|
| R250 | Receipt of annual fees |
Free format text: JAPANESE INTERMEDIATE CODE: R250 |
|
| R250 | Receipt of annual fees |
Free format text: JAPANESE INTERMEDIATE CODE: R250 |
|
| R250 | Receipt of annual fees |
Free format text: JAPANESE INTERMEDIATE CODE: R250 |
|
| R250 | Receipt of annual fees |
Free format text: JAPANESE INTERMEDIATE CODE: R250 |
|
| R250 | Receipt of annual fees |
Free format text: JAPANESE INTERMEDIATE CODE: R250 |
|
| R250 | Receipt of annual fees |
Free format text: JAPANESE INTERMEDIATE CODE: R250 |
|
| R250 | Receipt of annual fees |
Free format text: JAPANESE INTERMEDIATE CODE: R250 |
|
| R250 | Receipt of annual fees |
Free format text: JAPANESE INTERMEDIATE CODE: R250 |
