JP5688981B2 - Positioning device and electric motor - Google Patents

Positioning device and electric motor Download PDF

Info

Publication number
JP5688981B2
JP5688981B2 JP2011010539A JP2011010539A JP5688981B2 JP 5688981 B2 JP5688981 B2 JP 5688981B2 JP 2011010539 A JP2011010539 A JP 2011010539A JP 2011010539 A JP2011010539 A JP 2011010539A JP 5688981 B2 JP5688981 B2 JP 5688981B2
Authority
JP
Japan
Prior art keywords
terminal
bolt
ring plate
attached
positioning device
Prior art date
Legal status (The legal status is an assumption and is not a legal conclusion. Google has not performed a legal analysis and makes no representation as to the accuracy of the status listed.)
Expired - Fee Related
Application number
JP2011010539A
Other languages
Japanese (ja)
Other versions
JP2012152077A (en
Inventor
信幸 佐々木
信幸 佐々木
須藤 健二
健二 須藤
Current Assignee (The listed assignees may be inaccurate. Google has not performed a legal analysis and makes no representation or warranty as to the accuracy of the list.)
Mitsuba Corp
Original Assignee
Mitsuba Corp
Priority date (The priority date is an assumption and is not a legal conclusion. Google has not performed a legal analysis and makes no representation as to the accuracy of the date listed.)
Filing date
Publication date
Application filed by Mitsuba Corp filed Critical Mitsuba Corp
Priority to JP2011010539A priority Critical patent/JP5688981B2/en
Publication of JP2012152077A publication Critical patent/JP2012152077A/en
Application granted granted Critical
Publication of JP5688981B2 publication Critical patent/JP5688981B2/en
Expired - Fee Related legal-status Critical Current
Anticipated expiration legal-status Critical

Links

Images

Classifications

    • YGENERAL TAGGING OF NEW TECHNOLOGICAL DEVELOPMENTS; GENERAL TAGGING OF CROSS-SECTIONAL TECHNOLOGIES SPANNING OVER SEVERAL SECTIONS OF THE IPC; TECHNICAL SUBJECTS COVERED BY FORMER USPC CROSS-REFERENCE ART COLLECTIONS [XRACs] AND DIGESTS
    • Y02TECHNOLOGIES OR APPLICATIONS FOR MITIGATION OR ADAPTATION AGAINST CLIMATE CHANGE
    • Y02TCLIMATE CHANGE MITIGATION TECHNOLOGIES RELATED TO TRANSPORTATION
    • Y02T10/00Road transport of goods or passengers
    • Y02T10/60Other road transportation technologies with climate change mitigation effect
    • Y02T10/64Electric machine technologies in electromobility

Landscapes

  • Insulation, Fastening Of Motor, Generator Windings (AREA)
  • Motor Or Generator Frames (AREA)

Description

本発明は、コイルの導線に取り付けられた複数のターミナルボルトの位置決めが可能な位置決め装置及び電動モータに関する。 The present invention relates to a positioning device and an electric motor capable of positioning a plurality of terminal bolts attached to a conductive wire of a coil.

従来、電動モータのコイルを構成する導線に取り付けられた複数の接続端子等の位置決め態様としては、ねじ止め、半田付け、樹脂製の結束バンド等を用いた方法等が用いられている。   2. Description of the Related Art Conventionally, as a positioning mode for a plurality of connection terminals and the like attached to a conductive wire constituting a coil of an electric motor, a method using screwing, soldering, a resin binding band, or the like is used.

そして、この種の電動モータとしては、例えば、特許文献1に示す技術が知られている。この特許文献1に記載された電動モータは、ブラシレスモータであって、略円筒状のモータカバー内に円周状にコイルが配置されている。これらコイルは、順にU相コイル、V相コイル、W相コイルとなるような配電パターンが形成された配電基板に接続されている。そして、この配電基板には、計3本のリード線が接続されており、これら3本のリード線がモータカバーの外部へ引き出された構成とされている。   And as this kind of electric motor, the technique shown in patent document 1 is known, for example. The electric motor described in Patent Document 1 is a brushless motor, and a coil is arranged circumferentially in a substantially cylindrical motor cover. These coils are connected to a power distribution board on which a power distribution pattern is formed, which in turn becomes a U-phase coil, a V-phase coil, and a W-phase coil. A total of three lead wires are connected to the power distribution board, and the three lead wires are drawn out of the motor cover.

さらに、この種の電動モータとしては、例えば、特許文献2に示す技術が知られている。この特許文献2に記載された電動モータは、SRモータであって、中空円筒状のケース本体内に設置されたステータコアに導線が巻装されて3相構造とされている。   Further, as this type of electric motor, for example, a technique disclosed in Patent Document 2 is known. The electric motor described in Patent Document 2 is an SR motor, and has a three-phase structure in which a conducting wire is wound around a stator core installed in a hollow cylindrical case body.

特開2009−273292号公報JP 2009-273292 A 特開2008−259376号公報JP 2008-259376 A

上述した特許文献1に記載されたブラシレスモータは、モータカバー内から外部へ引き出されているリード線が3本である。これに対し、上述した特許文献2に記載されたSRモータは、3相構造のため、計6個の接続端子が必要となる。このため、これら計6個の接続端子各々の位置決め及び絶縁性を確実に確保する必要があり、これら接続端子の位置決めが容易ではないという問題がある。   The brushless motor described in Patent Document 1 described above has three lead wires led out from the motor cover to the outside. On the other hand, since the SR motor described in Patent Document 2 described above has a three-phase structure, a total of six connection terminals are required. For this reason, it is necessary to ensure the positioning and insulation of each of the six connection terminals in total, and there is a problem that the positioning of these connection terminals is not easy.

本発明の目的は、従来技術における上記問題を解決し、ターミナルボルトの位置決めが容易な位置決め装置及び電動モータを提供することを目的とする。 An object of the present invention is to solve the above-described problems in the prior art and to provide a positioning device and an electric motor that can easily position a terminal bolt .

上記の課題を解決するため、請求項1記載の発明は、シャフトと、ステータコアと、このステータコアに導線を巻装して形成された複数のコイルと、前記ステータコアの内側に回転自在に設けられたロータコアと、前記コイルの導線に前記ロータコアの周方向に向けて並べられて取り付けられた複数のターミナルボルトとを備えた電動モータの前記複数のターミナルボルトを位置決めする位置決め装置であって、前記ターミナルボルトが挿通可能な位置のそれぞれに間隔を空けて設けられた複数の挿通部を有する本体部を備え、この本体部は、前記挿通部に前記ターミナルボルトを挿通させた状態で、前記シャフトの周囲に環状に配設されて前記電動モータに取り付けられていることを特徴とする位置決め装置である。 In order to solve the above-mentioned problem, the invention according to claim 1 is provided rotatably in a shaft, a stator core, a plurality of coils formed by winding a conductive wire around the stator core, and the stator core . A positioning device for positioning the plurality of terminal bolts of an electric motor , comprising: a rotor core; and a plurality of terminal bolts arranged side by side in a circumferential direction of the rotor core on a conductive wire of the coil, the terminal bolts Is provided with a body portion having a plurality of insertion portions provided at intervals in each of the positions where the insertion is possible , and this body portion is formed around the shaft in a state where the terminal bolt is inserted through the insertion portion. The positioning device is arranged in a ring shape and attached to the electric motor.

請求項記載の発明は、請求項に記載の発明において、本体部は、連結可能な同一形状の複数の分割片にて構成され、前記各分割片には、少なくとも1つの挿通部と、互いに係合可能な係合部とを有していることを特徴とする位置決め装置である。 The invention according to claim 2 is the invention according to claim 1 , wherein the main body portion is configured by a plurality of split pieces having the same shape that can be connected, and each of the split pieces includes at least one insertion portion, It is a positioning device characterized by having engaging portions that can be engaged with each other.

請求項記載の発明は、請求項1又は請求項に記載の発明において、本体部には、ターミナルボルトの少なくとも一部を覆う突出片が設けられていることを特徴とする位置決め装置である。 A third aspect of the present invention is the positioning device according to the first or second aspect , wherein the main body portion is provided with a protruding piece that covers at least a part of the terminal bolt. .

請求項記載の発明は、請求項1から請求項のいずれか一項に記載の発明において、かしめ固定可能なかしめ部と、平板状の接続片とを有する圧着端子を備え、この圧着端子は、かしめ部が導線の端部にかしめ固定され、前記接続片がターミナルボルトの端部に溶接されて取り付けられていることを特徴とする位置決め装置である。 The invention according to claim 4 is the invention according to any one of claims 1 to 3 , further comprising a crimp terminal having a caulking portion capable of being fixed by caulking and a flat connection piece, and the crimp terminal. Is a positioning device characterized in that a caulking portion is caulked and fixed to an end portion of a conducting wire, and the connecting piece is welded and attached to an end portion of a terminal bolt .

請求項記載の発明は、導線を巻装して形成された複数のコイルと、これらコイルの導線に取り付けられたターミナルボルトと、請求項1から請求項のいずれか一項に記載の位置決め装置とを備えたことを特徴とする電動モータである。 According to a fifth aspect of the present invention, there are provided a plurality of coils formed by winding conductive wires, terminal bolts attached to the conductive wires of the coils, and positioning according to any one of the first to fourth aspects. An electric motor comprising the apparatus.

請求項1に記載された発明によれば、電動モータの複数のコイルの導線に取り付けられたターミナルボルトを本体部の挿通部に挿通させた状態で、この本体部を電動モータに取り付けることによって、ターミナルボルトが位置決めされる。よって、これらターミナルボルトの位置決めが容易にできる。また同時に、ターミナルボルトを位置決めすることによって、ターミナルボルト間の絶縁を確保できるとともに、これらターミナルボルトの固定が容易にできる。 According to the invention described in claim 1, in a state where the terminal bolt attached to the conductive wires of the plurality of coils of the electric motor is inserted through the insertion portion of the main body portion, the main body portion is attached to the electric motor, The terminal bolt is positioned. Therefore, these terminal bolts can be easily positioned. At the same time, by positioning the terminal bolt, it is possible to ensure insulation between terminals bolts, fixing of the terminal bolt can be easily.

また、複数の挿通部を有する本体部がシャフトの周囲に環状に配設されている。このため、電動モータのコイル等の取り付け位置に関わらず、コイルの導線に取り付けられたターミナルボルトを本体部の挿通部に連通させてシャフトの周囲に位置決めできるから、ターミナルボルトの位置決めをより容易にできる。 Moreover, the main-body part which has several insertion part is arrange | positioned cyclically | annularly around the shaft. Therefore, regardless of the mounting position of the coil of the electric motor, the terminal bolt attached to the coil lead wire can be communicated with the insertion portion of the main body portion and positioned around the shaft, so that positioning of the terminal bolt is easier. it can.

また同時に、環状の本体部の挿通部のそれぞれにターミナルボルトを挿通させた状態で本体部を取り付けることによって、これらターナルボルトが位置決めされる。このため、ロータコアの周方向に向けて並べられて取り付けられた複数のターミナルボルトであっても、これらターミナルボルトを容易に位置決めできる。 At the same time, these terminal bolts are positioned by attaching the main body portion with the terminal bolt inserted in each of the insertion portions of the annular main body portion. For this reason, even if it is a plurality of terminal bolts arranged side by side in the circumferential direction of the rotor core, these terminal bolts can be easily positioned.

請求項に記載された発明によれば、本体部を、連結可能な同一形状の複数の分割片にて構成し、これら分割片が、少なくとも1つの挿通部と、互いに係合可能な係合部とを有している。よって、これら分割片の係合部を互いに係合させることによって本体部となる。そして、各分割片が同一形状であるため、複数の分割片を製造することによって本体部を製造できる。このため、本体部を一つの金型で製造する場合に比べ、各分割片に製造な金型を小さくできるから、本体部の製造性を向上できる。 According to the invention described in claim 2 , the main body portion is configured by a plurality of split pieces having the same shape that can be connected, and these split pieces are engaged with at least one insertion portion and engageable with each other. Part. Therefore, it becomes a main-body part by engaging the engaging part of these division pieces mutually. And since each division | segmentation piece is the same shape, a main-body part can be manufactured by manufacturing a some division | segmentation piece. For this reason, compared with the case where a main-body part is manufactured with one metal mold | die, since the metal mold | die manufactured to each division | segmentation piece can be made small, the manufacturability of a main-body part can be improved.

請求項に記載された発明によれば、本体部に設けた突出片によって、この本体部の挿通部に挿通されて位置決めされたターミナルボルトの少なくとも一部が覆われる。よって、ターミナルボルトの絶縁性をより確実に確保できるとともに、ターミナルボルトの機械的な損傷等をより確実に防止できる。 According to the invention described in claim 3 , at least a part of the terminal bolt positioned by being inserted into the insertion portion of the main body portion is covered by the protruding piece provided in the main body portion. Therefore, it is possible more reliably ensure insulation of the terminal bolt can be more reliably prevented mechanical damage to the terminal bolt.

請求項に記載された発明によれば、圧着端子の平板状の接続片が端部に溶接されたターミナルボルトを用いることにより、圧着端子のかしめ部を導線の端部にかしめ固定するだけで、ターミナルボルトを導線の端部に取り付けることができる。よって、圧着端子のかしめ部を用いた導線の端部に対する固定を容易にできるから、ターミナルボルトを導線の端部に取り付ける際の作業性を向上できる。また同時に、圧着端子の接続片をターミナルボルトの端部に溶接するため、ターミナルボルトと導線とをより確実に取り付けることができ、これらターミナルボルトと導線との間の取り付け箇所における機械的強度を向上することができる。 According to the invention described in claim 4 , by using the terminal bolt in which the flat connection piece of the crimp terminal is welded to the end portion, the crimp portion of the crimp terminal is simply fixed by crimping to the end portion of the conducting wire. A terminal bolt can be attached to the end of the conductor. Therefore, since it can fix easily with respect to the edge part of the conducting wire using the crimping part of a crimp terminal, workability | operativity at the time of attaching a terminal bolt to the edge part of a conducting wire can be improved. At the same time, the connection piece of the crimp terminal is welded to the end of the terminal bolt , so that the terminal bolt and the conductor can be more securely attached, and the mechanical strength at the attachment location between the terminal bolt and the conductor is improved. can do.

請求項に記載された発明によれば、請求項1から請求項のいずれか一項に記載の位置決め装置を備えているため、これら請求項1から請求項のいずれか一項に記載された発明と同様の効果を奏することができる。 According to the invention described in claim 5 , since the positioning device according to any one of claims 1 to 4 is provided, it is described in any one of claims 1 to 4. The same effects as those of the invention can be obtained.

本発明の第1の実施の形態における電動モータの断面図である。It is sectional drawing of the electric motor in the 1st Embodiment of this invention. 上記電動モータの一部を示す右側面図である。It is a right view which shows a part of said electric motor. 上記電動モータに取り付けられる位置決め装置の斜視図である。It is a perspective view of the positioning device attached to the said electric motor. 上記位置決め装置の底面図である。It is a bottom view of the positioning device. 上記位置決め装置の側面図である。It is a side view of the positioning device. 上記位置決め装置にて位置決めされるターミナルボルトの斜視図である。It is a perspective view of a terminal bolt positioned by the positioning device. 本発明の第2の実施の形態における電動モータに取り付けられる位置決め装置の斜視図である。It is a perspective view of the positioning device attached to the electric motor in the 2nd Embodiment of this invention. 上記位置決め装置の側面図である。It is a side view of the positioning device. 本発明の第3の実施の形態における電動モータに取り付けられる位置決め装置の斜視図である。It is a perspective view of the positioning device attached to the electric motor in the 3rd Embodiment of this invention. 上記位置決め装置の分割片の斜視図である。It is a perspective view of the division piece of the said positioning device. 本発明の第4の実施の形態における電動モータに取り付けられる位置決め装置の斜視図である。It is a perspective view of the positioning device attached to the electric motor in the 4th Embodiment of this invention. 上記位置決め装置の分割片の斜視図である。It is a perspective view of the division piece of the said positioning device. 本発明の第5の実施の形態における電動モータに取り付けられる位置決め装置の斜視図である。It is a perspective view of the positioning device attached to the electric motor in the 5th Embodiment of this invention. 本発明の第6の実施の形態における電動モータのターミナルボルトの分解斜視図である。It is a disassembled perspective view of the terminal bolt of the electric motor in the 6th Embodiment of this invention. 本発明の第7の実施の形態における電動モータのターミナルボルトの分解斜視図である。It is a disassembled perspective view of the terminal bolt of the electric motor in the 7th Embodiment of this invention.

以下、本発明の第1の実施の形態について図面を用いて詳細に説明する。   Hereinafter, a first embodiment of the present invention will be described in detail with reference to the drawings.

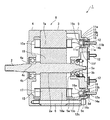
図1に示すように、スイッチトリラクタンスモータ1(以下、SRモータという。)は、3相構造の電動モータであり、例えば、EVカート(図示せず)のフレームに固定されている。このSRモータ1のシャフト2には、スプロケット(図示せず)が取り付けられている。このスプロケットとドライブシャフト(図示せず)との間には、チェーン(図示せず)が巻回されている。そして、シャフト2は、回転軸であって、このシャフト2の駆動によってスプロケットが回転しチェーンを介してドライブシャフトを回転駆動させる。   As shown in FIG. 1, a switched reluctance motor 1 (hereinafter referred to as an SR motor) is an electric motor having a three-phase structure, and is fixed to a frame of an EV cart (not shown), for example. A sprocket (not shown) is attached to the shaft 2 of the SR motor 1. A chain (not shown) is wound between the sprocket and the drive shaft (not shown). The shaft 2 is a rotating shaft, and the sprocket is rotated by driving the shaft 2 to drive the drive shaft through the chain.

具体的に、SRモータ1は、ケース本体を兼ねた中空円筒状のステータコア3を備えている。このステータコア3の両端側には、ステータコア3の両端側を閉塞する略円盤状の蓋部材としての第1サイドカバーブラケット4及び第2サイドカバーブラケット5が取り付けられている。これら第1サイドカバーブラケット4及び第2サイドカバーブラケット5は、図2に示すように、周方向に等間隔に間隔を空けて取り付けられた複数、例えば6本のセットボルト6にてねじ止めされて結合されている。すなわち、ステータコア3は、第1サイドカバーブラケット4と第2サイドカバーブラケット5との間に挟持されて取り付けられている。ここで、これらステータコア3、第1サイドカバーブラケット4及び第2サイドカバーブラケット5によって、SRモータ1のケース8が構成されている。   Specifically, the SR motor 1 includes a hollow cylindrical stator core 3 that also serves as a case body. A first side cover bracket 4 and a second side cover bracket 5 are attached to both ends of the stator core 3 as substantially disk-shaped lid members that close both ends of the stator core 3. As shown in FIG. 2, the first side cover bracket 4 and the second side cover bracket 5 are screwed with a plurality of, for example, six set bolts 6 attached at equal intervals in the circumferential direction. Are combined. That is, the stator core 3 is sandwiched and attached between the first side cover bracket 4 and the second side cover bracket 5. Here, the stator core 3, the first side cover bracket 4 and the second side cover bracket 5 constitute a case 8 of the SR motor 1.

次いで、第1サイドカバーブラケット4は、シャフト2が突出する側であるステータコア3の一端側に取り付けられている。この第1サイドカバーブラケット4の中心部には、貫通孔4aが設けられている。また、第1サイドカバーブラケット4の内側には、軸受部材としての第1ボールベアリング4bが貫通孔4aに同心状に連通させて取り付けられている。   Next, the first side cover bracket 4 is attached to one end side of the stator core 3 on the side from which the shaft 2 projects. A through hole 4 a is provided at the center of the first side cover bracket 4. Further, a first ball bearing 4b as a bearing member is attached inside the first side cover bracket 4 so as to be concentrically connected to the through hole 4a.

第2サイドカバーブラケット5は、第1サイドカバーブラケット4が取り付けられる側とは反対側である、ステータコア3の他端側に取り付けられている。この第2サイドカバーブラケット5の中心部には、貫通孔となる軸受孔5aが穿設されている。この軸受孔5a内には、軸受部材としての第2ボールベアリング5bが取り付けられている。さらに、第2サイドカバーブラケット5の内側には、断面凹状である円環状の取付凹部5cが設けられている。この取付凹部5cは、軸受孔5aの外側に位置し第2サイドカバーブラケット5の周方向に亘って同心状に設けられている。そして、取付凹部5cの底部には、第2サイドカバーブラケット4を貫通するボルト取付孔5dが設けられている。これらボルト取付孔5dは、取付凹部5cの周方向に亘って等間隔に離間されて複数、例えば6個設けられている。   The second side cover bracket 5 is attached to the other end side of the stator core 3, which is the opposite side to the side on which the first side cover bracket 4 is attached. A bearing hole 5 a serving as a through hole is formed at the center of the second side cover bracket 5. A second ball bearing 5b as a bearing member is attached in the bearing hole 5a. Furthermore, an annular mounting recess 5 c having a concave cross section is provided inside the second side cover bracket 5. The mounting recess 5 c is located outside the bearing hole 5 a and is concentrically provided along the circumferential direction of the second side cover bracket 5. A bolt mounting hole 5d that penetrates the second side cover bracket 4 is provided at the bottom of the mounting recess 5c. A plurality of, for example, six bolt mounting holes 5d are provided at regular intervals along the circumferential direction of the mounting recess 5c.

また、図1に示すように、この第2サイドカバーブラケット5の取付凹部5cには、図3ないし図5に示すリングプレート11が嵌合されて取り付けられている。このリングプレート11は、SRモータ1のシャフト2の同心状に取り付けられている。具体的に、このリングプレート11は、ターミナルボルト12を位置決めする位置決め装置としてのターミナル接続用のインシュレータである。また、このリングプレート11は、例えばガラス繊維を含有させたナイロン66やフェノール材等の絶縁部材にて断面凹状である円環状に形成されている。さらに、このリングプレート11は、円環状の本体部である環状部11aを有している。この環状部11aには、この環状部11aの周方向に亘って等間隔に複数、例えば6個の挿通部としてのボルト挿通孔11bが穿設されている。これらボルト挿通孔11bは、環状部11aの厚さ方向である軸方向に沿って貫通している。また、このボルト挿通孔11bは、環状部11aの幅方向の中心部に設けられており、ターミナルボルト12のねじ部12aの外径寸法より若干大きな内径寸法に形成されている。よって、これら各ボルト挿通孔11bは、これら各ボルト挿通孔11bのそれぞれにターミナルボルト12を挿通させて取り付けることによって、これらターミナルボルト12がリングプレート11の周方向に向けて等間隔に並べられた状態とされる。この状態で、各ターミナルボルト12は、位置決めされて角度調整されるとともに、これら各ターミナルボルト12間の絶縁性が確保された位置決め構造とされる。   As shown in FIG. 1, the ring plate 11 shown in FIGS. 3 to 5 is fitted and attached to the attachment recess 5 c of the second side cover bracket 5. The ring plate 11 is attached concentrically with the shaft 2 of the SR motor 1. Specifically, the ring plate 11 is an insulator for terminal connection as a positioning device for positioning the terminal bolt 12. Further, the ring plate 11 is formed in an annular shape having a concave cross section with an insulating member such as nylon 66 or phenol material containing glass fiber, for example. Further, the ring plate 11 has an annular portion 11a which is an annular main body portion. A plurality of, for example, six bolt insertion holes 11b are formed in the annular portion 11a at regular intervals over the circumferential direction of the annular portion 11a. These bolt insertion holes 11b penetrate along the axial direction which is the thickness direction of the annular portion 11a. The bolt insertion hole 11b is provided at the center of the annular portion 11a in the width direction, and has an inner diameter slightly larger than the outer diameter of the threaded portion 12a of the terminal bolt 12. Therefore, these bolt insertion holes 11b are arranged at equal intervals in the circumferential direction of the ring plate 11 by attaching the terminal bolts 12 to the respective bolt insertion holes 11b. State. In this state, the terminal bolts 12 are positioned and adjusted in angle, and a positioning structure is provided in which insulation between the terminal bolts 12 is ensured.

さらに、リングプレート11の環状部11aの一側面である表面側の各ボルト挿通孔11bの開口縁には、平面視正方形状である断面凹状の嵌合凹部11cが同心状に設けられている。これら嵌合凹部11cは、角度規制手段として機能するものであり、嵌合凹部11cの一辺を環状部11aの周方向に沿わせた状態で設けられている。この環状部11aの他側面である裏面側には、各ボルト挿通孔11bに連通した円筒状の嵌合筒部11dが突出して設けられている。各嵌合凹部11dは、リングプレート11を第2サイドカバーブラケット5の取付凹部5cに嵌合させて取り付けた場合に、この取付凹部5cの各ボルト取付孔5dに嵌合する位置に対応させて設けられている。また、リングプレート11の環状部11aの外周縁及び内周縁のそれぞれには、この環状部11aの径方向に直交する方向に突出した突出片としての外周リブ11e及び内周リブ11fが一体的に設けられている。これら外周リブ11e及び内周リブ11fは、環状部11aの表面側に突出しており、この環状部11aの周方向に沿って並行に設けられている。   Furthermore, a fitting recess 11c having a concave cross section having a square shape in plan view is provided concentrically at the opening edge of each bolt insertion hole 11b on the surface side which is one side surface of the annular portion 11a of the ring plate 11. These fitting recesses 11c function as angle restricting means, and are provided in a state where one side of the fitting recess 11c is along the circumferential direction of the annular portion 11a. A cylindrical fitting tube portion 11d that communicates with each bolt insertion hole 11b is provided to protrude on the back surface, which is the other side surface of the annular portion 11a. Each fitting recess 11d corresponds to a position where the ring plate 11 is fitted to each bolt mounting hole 5d of the mounting recess 5c when the ring plate 11 is fitted to the mounting recess 5c of the second side cover bracket 5. Is provided. Further, an outer peripheral rib 11e and an inner peripheral rib 11f as projecting pieces projecting in a direction orthogonal to the radial direction of the annular portion 11a are integrally formed on the outer peripheral edge and the inner peripheral edge of the annular portion 11a of the ring plate 11, respectively. Is provided. The outer peripheral rib 11e and the inner peripheral rib 11f protrude on the surface side of the annular portion 11a, and are provided in parallel along the circumferential direction of the annular portion 11a.

第2サイドカバーブラケット5の取付凹部5cに嵌合させて取り付けられたリングプレート11の各ボルト挿通孔11bには、接続部材としてのターミナルボルト12がそれぞれ挿通されて取り付けられている。これら各ターミナルボルト12は、外周面に螺子溝が形成された円筒状のねじ部12aと、このねじ部12aの一端側に同心状に取り付けられた平板状の頭部12bとで構成されている。ここで、これら各ターミナルボルト12の頭部12bは、リングプレート11の嵌合凹部11cに嵌合可能な大きさの平面視正方形状に形成されている。そして、この頭部12bは、リングプレート11の嵌合凹部11cに嵌合させて回転保持された状態で、このリングプレート11のボルト挿通孔11bにねじ部12aが挿通されて取り付けられている。また、この頭部12bは、リングプレート11の嵌合凹部11cに嵌合させた状態で、このリングプレートの外周リブ11eと内周リブ11fとの間に位置にしている。この状態で、頭部12bは、外周リブ11e及び内周リブ11fにて覆われ、この頭部12bにおける接続が機械的かつ電気的に保護されている。またこの状態で、このターミナルボルト12のねじ部12aは、第2サイドカバーブラケット5のボルト取付孔5dに挿通され、この第2サイドカバーブラケット5の外部へと先端側を突出させて取り付けられている。   Terminal bolts 12 as connecting members are respectively inserted and attached to the respective bolt insertion holes 11b of the ring plate 11 that are fitted and attached to the attachment recesses 5c of the second side cover bracket 5. Each of these terminal bolts 12 includes a cylindrical screw portion 12a having a screw groove formed on the outer peripheral surface, and a flat head portion 12b concentrically attached to one end side of the screw portion 12a. . Here, the heads 12 b of these terminal bolts 12 are formed in a square shape in plan view having a size that can be fitted into the fitting recess 11 c of the ring plate 11. The head portion 12b is fitted with the threaded portion 12a inserted into the bolt insertion hole 11b of the ring plate 11 in a state where the head portion 12b is fitted in the fitting recess 11c of the ring plate 11 and rotated and held. Further, the head 12b is positioned between the outer peripheral rib 11e and the inner peripheral rib 11f of the ring plate in a state where the head 12b is fitted in the fitting recess 11c of the ring plate 11. In this state, the head 12b is covered with the outer peripheral rib 11e and the inner peripheral rib 11f, and the connection at the head 12b is mechanically and electrically protected. Further, in this state, the screw portion 12a of the terminal bolt 12 is inserted into the bolt mounting hole 5d of the second side cover bracket 5 and attached with the tip side protruding to the outside of the second side cover bracket 5. Yes.

さらに、これら各ターミナルボルト12のねじ部12aの第2サイドカバーブラケット5から突出している先端側の部分には、防水部材としてのOリング13が挿通されて取り付けられている。このOリング13は、第2サイドカバーブラケット5の外側からボルト取付孔5d内に嵌合され、このボルト取付孔5dの内側から嵌合させて取り付けられたリングプレート11の嵌合筒部11dの端部に当接している。すなわち、このOリング13は、ボルト取付孔5dにおける防水機能を果たしている。さらに、ねじ部12aには、インシュレータとして樹脂製ワッシャ14a及び金属製の平ワッシャ14bが順次挿通されて取り付けられている。これら樹脂製ワッシャ14a及び平ワッシャ14bが取り付けられたねじ部12aには、ボルト(図示せず)が取り付けられてねじ止めされ、各ターミナルボルト12を固定させている。ここで、これら樹脂製ワッシャ14a、平ワッシャ14b及びボルトのそれぞれは、第2サイドカバーブラケット5の外側から各ターミナルボルト12のねじ部12aに取り付けられている。すなわち、これら樹脂製ワッシャ14a、平ワッシャ14b及びボルトは、ターミナルボルト12をねじ止め固定させている。   Further, an O-ring 13 as a waterproof member is inserted and attached to a portion on the tip side protruding from the second side cover bracket 5 of the screw portion 12a of each terminal bolt 12. The O-ring 13 is fitted into the bolt attachment hole 5d from the outside of the second side cover bracket 5, and the fitting cylinder portion 11d of the ring plate 11 attached by fitting from the inside of the bolt attachment hole 5d. It is in contact with the end. That is, the O-ring 13 fulfills a waterproof function in the bolt mounting hole 5d. Further, a resin washer 14a and a metal flat washer 14b are sequentially inserted and attached to the screw portion 12a as insulators. Bolts (not shown) are attached and screwed to the screw portions 12a to which the resin washers 14a and the flat washers 14b are attached, and the terminal bolts 12 are fixed. Here, each of the resin washer 14 a, the flat washer 14 b, and the bolt is attached to the screw portion 12 a of each terminal bolt 12 from the outside of the second side cover bracket 5. That is, the resin washer 14a, the flat washer 14b and the bolt fix the terminal bolt 12 with screws.

次いで、ステータコア3は、磁性材にて構成された固定子であって、このステータコア3の内側に向けて放射状に突出する計6個の6極となる突極7aが一体的に形成されている。これら突極7aは、ステータコア3の軸方向に亘って設けられており、これら突極7aのそれぞれにコイル15が集中巻きで巻装されている。これらコイル15は、図1に示すように、ステータコア3の軸方向に沿って各突極7aから突出して設けられている。   Next, the stator core 3 is a stator made of a magnetic material, and a total of six salient poles 7a projecting radially toward the inside of the stator core 3 are integrally formed. . These salient poles 7a are provided in the axial direction of the stator core 3, and coils 15 are wound around each of the salient poles 7a by concentrated winding. As shown in FIG. 1, the coils 15 are provided so as to protrude from the salient poles 7 a along the axial direction of the stator core 3.

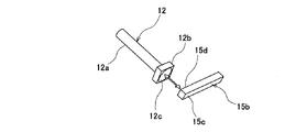
さらに、これらコイル15は、導電線である導線15aが巻装されて形成されている。この導線15から引き出された引き出し線15bは、図6に示すように、平角線にて形成され、ステータコア3の突極7aから第2サイドカバーブラケット5側に突出している。また、この引き出し線15bの端部15cは、圧着端子16のかしめ部16aにかしめ固定されている。このかしめ部16aは、引き出し線15bの端部15cが挿入可能な内径寸法を有する円筒状に形成されており、圧着端子16の一端側に設けられている。この圧着端子16の他端側には、溶接部となる平板状の接続片16bが一体的に設けられている。この接続片16bは、かしめ部16aの軸方向に沿わせた状態で、このかしめ部16aの軸方向の端縁に連結されている。そして、この接続片16bの外側に位置する平坦面16cは、ターミナルボルト12の頭部12bの端面12cにスポット溶接されて一体化されて固定されている。また、接続片16bの中央部には、この接続片16bの厚さ方向に向けて貫通した取付孔16dが設けられている。   Further, these coils 15 are formed by winding a conductive wire 15a which is a conductive wire. As shown in FIG. 6, the lead wire 15 b led out from the conducting wire 15 is formed as a flat wire and protrudes from the salient pole 7 a of the stator core 3 to the second side cover bracket 5 side. Further, the end portion 15 c of the lead wire 15 b is caulked and fixed to the caulking portion 16 a of the crimp terminal 16. The caulking portion 16 a is formed in a cylindrical shape having an inner diameter dimension into which the end portion 15 c of the lead wire 15 b can be inserted, and is provided on one end side of the crimp terminal 16. On the other end side of the crimp terminal 16, a flat connection piece 16b serving as a welded portion is integrally provided. The connecting piece 16b is coupled to the axial end edge of the caulking portion 16a in a state along the axial direction of the caulking portion 16a. And the flat surface 16c located outside this connection piece 16b is spot welded to the end surface 12c of the head 12b of the terminal bolt 12, and is integrated and fixed. Further, an attachment hole 16d penetrating in the thickness direction of the connection piece 16b is provided at the center of the connection piece 16b.

そして、ステータコア3の内側には、このステータコア3に対して相対的に回転自在とされたシャフト2が取り付けられている。このシャフト2は、このシャフト2の両端側が第1ボールベアリング4b及び第2ボールベアリング5bの内輪4c,5eに嵌合されて取り付けられている。このシャフト2の円筒状の本体部2aには、電磁鋼板等の磁性材にて形成された略十字状の複数の板材17が挿通されて取り付けられている。そして、これら各板材17によって、回転子としてのロータコア18が形成されている。このロータコア18の各板材17は、シャフト2に対し相対的に回転できないように構成されている。そして、このロータコア18は、シャフト2からステータコア3に向けて放射状に突出する計4つの突極18aを有している。これら突極18aは、ステータコア3の突極7aに対向させて取り付けられている。   A shaft 2 that is rotatable relative to the stator core 3 is attached to the inside of the stator core 3. The shaft 2 is attached by fitting both end sides of the shaft 2 to the inner rings 4c and 5e of the first ball bearing 4b and the second ball bearing 5b. A plurality of substantially cross-shaped plate members 17 formed of a magnetic material such as an electromagnetic steel plate are inserted and attached to the cylindrical main body portion 2a of the shaft 2. Each plate member 17 forms a rotor core 18 as a rotor. Each plate 17 of the rotor core 18 is configured so as not to rotate relative to the shaft 2. The rotor core 18 has a total of four salient poles 18 a that project radially from the shaft 2 toward the stator core 3. These salient poles 18 a are attached to face the salient poles 7 a of the stator core 3.

次に、ターミナルボルト12の組み付け手順及び挙動について説明する。   Next, the assembly procedure and behavior of the terminal bolt 12 will be described.

ターミナルボルト12の頭部12bの端面12cに圧着端子16の接続片16bの平坦面16cを当接させつつ角度調整した状態でスポット溶接し、圧着端子16と一体化させた複数のターミナルボルト12を予め製造しておく。   A plurality of terminal bolts 12 integrated with the crimping terminal 16 are spot welded in a state where the flat surface 16c of the connection piece 16b of the crimping terminal 16 is in contact with the end surface 12c of the head 12b of the terminal bolt 12 and the angle is adjusted. Produced in advance.

そして、SRモータ1の組み付け時においては、まず、ステータコア3の一端側に第1サイドカバーブラケット4を取り付ける。さらに、ロータコア18が取り付けられたシャフト2をステータコア3内に取り付けて、このシャフト2の端部を第1サイドカバーブラケット4の貫通孔4aから突出させた状態とする。   When the SR motor 1 is assembled, first, the first side cover bracket 4 is attached to one end side of the stator core 3. Further, the shaft 2 to which the rotor core 18 is attached is attached in the stator core 3, and the end portion of the shaft 2 is projected from the through hole 4 a of the first side cover bracket 4.

次いで、ステータコア3内の各コイル15の引き出し線15bの端部15cに、ターミナルボルト12と一体化された圧着端子16のかしめ部16aを嵌合させてかしめ固定する。この結果、これら各コイル15の引き出し線15bの端部15cに圧着端子16が接続される。   Next, the crimping portion 16 a of the crimp terminal 16 integrated with the terminal bolt 12 is fitted and fixed to the end 15 c of the lead wire 15 b of each coil 15 in the stator core 3. As a result, the crimp terminal 16 is connected to the end portion 15c of the lead wire 15b of each coil 15.

そして、これら各コイル15の引き出し線15bの端部15cに圧着端子16を介して接続された各ターミナルボルト12のねじ部12aを、リングプレート11の各ボルト挿通孔11bへ挿通させる。さらに、これら各ターミナルボルト12の頭部12bをリングプレート11の嵌合凹部11cに嵌合させて廻り止め及び位置決めさせる。このとき、リングプレート11の外周リブ11eと内周リブ11fとの間に、ターミナルボルト12の頭部12bと、この頭部12bに溶接された圧着端子16とがそれぞれ嵌合される。この結果、これら外周リブ11e及び内周リブ11fにてターミナルボルト12の頭部12bと圧着端子16の接続片16bとの溶接部分が機械的かつ電気的に保護される。さらに、圧着端子16のかしめ部16aにてコイル15の引き出し線15bの端部15cをかしめ固定した部分もまた機械的かつ電気的に保護される。   Then, the screw portions 12 a of the terminal bolts 12 connected to the end portions 15 c of the lead wires 15 b of the coils 15 through the crimp terminals 16 are inserted into the bolt insertion holes 11 b of the ring plate 11. Further, the head 12b of each terminal bolt 12 is fitted into the fitting recess 11c of the ring plate 11 to prevent rotation and positioning. At this time, the head 12b of the terminal bolt 12 and the crimp terminal 16 welded to the head 12b are fitted between the outer peripheral rib 11e and the inner peripheral rib 11f of the ring plate 11, respectively. As a result, the welded portion between the head 12b of the terminal bolt 12 and the connection piece 16b of the crimp terminal 16 is mechanically and electrically protected by the outer peripheral rib 11e and the inner peripheral rib 11f. Further, the portion where the end portion 15c of the lead wire 15b of the coil 15 is caulked and fixed by the caulking portion 16a of the crimp terminal 16 is also protected mechanically and electrically.

この後、これらターミナルボルト12が取り付けられたリングプレート11を第2サイドカバーブラケット5の取付凹部5cに嵌合させる。さらに、これら各ターミナルボルト12のねじ部12aを第2サイドカバーブラケット5のボルト取付孔5dに挿通させる。また、これらボルト取付孔5dにリングプレート11の嵌合筒部11dを嵌合させて、このリングプレート11を第2サイドカバーブラケット5に位置決めさせて固定させる。同時に、この第2サイドカバーブラケット5の軸受孔5aに取り付けられた第2ボールベアリング5bの内輪5eにシャフト2の端部を挿通させ、第2サイドカバーブラケット5をステータコア3の他端側に嵌合させる。   Thereafter, the ring plate 11 to which the terminal bolts 12 are attached is fitted into the attachment recess 5 c of the second side cover bracket 5. Further, the threaded portion 12 a of each terminal bolt 12 is inserted into the bolt mounting hole 5 d of the second side cover bracket 5. Further, the fitting cylinder portion 11d of the ring plate 11 is fitted into the bolt mounting holes 5d, and the ring plate 11 is positioned and fixed to the second side cover bracket 5. At the same time, the end of the shaft 2 is inserted into the inner ring 5e of the second ball bearing 5b attached to the bearing hole 5a of the second side cover bracket 5, and the second side cover bracket 5 is fitted to the other end of the stator core 3. Combine.

次いで、第2サイドカバーブラケット5の各ボルト取付孔5dから外部へ突出している各ターミナルボルト12のねじ部12aにOリング13をそれぞれ嵌合させる。このとき、これらOリング13を、第2サイドカバーブラケット5のボルト取付孔5d内に嵌合させ、リングプレート11の嵌合筒部11dの端部に当接させて、これら各ボルト取付孔5dの防水処理を施す。   Next, the O-rings 13 are fitted into the screw portions 12a of the terminal bolts 12 projecting outward from the bolt mounting holes 5d of the second side cover bracket 5, respectively. At this time, these O-rings 13 are fitted into the bolt mounting holes 5d of the second side cover bracket 5, and are brought into contact with the end portions of the fitting cylinders 11d of the ring plate 11, so that each of these bolt mounting holes 5d. Apply waterproof treatment.

この後、各ボルト取付孔5dから外部へ突出しているターミナルボルト12のねじ部12aのそれぞれに樹脂製ワッシャ14a及び平ワッシャ14bを順次挿通させる。次いで、このねじ部12aにナットを取り付けて、これらターミナルボルト12のそれぞれを第2サイドカバーブラケット5にねじ止め固定させる。   Thereafter, the resin washer 14a and the flat washer 14b are sequentially inserted into the threaded portions 12a of the terminal bolts 12 protruding outward from the respective bolt mounting holes 5d. Next, a nut is attached to the screw portion 12a, and each of the terminal bolts 12 is fixed to the second side cover bracket 5 with screws.

さらに、セットボルト6を取り付けて第2サイドカバーブラケット5を第1サイドカバーブラケット4にねじ止めし、これら第2サイドカバーブラケット5とステータコア3及び第1サイドカバーブラケット4とを結合させる。   Further, the set bolt 6 is attached, the second side cover bracket 5 is screwed to the first side cover bracket 4, and the second side cover bracket 5, the stator core 3 and the first side cover bracket 4 are coupled.

以上詳述したように、第1の実施の形態に係るSRモータ1によれば、ステータコア3に取り付けられた複数のコイル15の引き出し線15bの端部15cに圧着端子16を介して接続された各ターミナルボルト12のねじ部12aをリングプレート11の各ボルト挿通孔11bに挿通させる構成とした。この結果、これら各ターミナルボルト12を所定位置に容易に位置決めできるとともに、これら各ターミナルボルト12間が離されて設置されるため、これらターミナルボルト12間の絶縁性を確保できる。さらに、このリングプレート11を周方向に回転させて調整するだけで、各ターミナルボルト12が取り付けられたリングプレート11を第2サイドカバーブラケット5の取付凹部5cに嵌合できる。また、位置決めされた各ターミナルボルト12のねじ部12aのそれぞれを第2サイドカバーブラケット5のボルト取付孔5dに挿通させて取り付けることができる。   As described above in detail, according to the SR motor 1 according to the first embodiment, the end portions 15 c of the lead wires 15 b of the plurality of coils 15 attached to the stator core 3 are connected via the crimp terminals 16. The threaded portion 12 a of each terminal bolt 12 is configured to be inserted into each bolt insertion hole 11 b of the ring plate 11. As a result, the terminal bolts 12 can be easily positioned at predetermined positions, and the terminal bolts 12 are separated from each other, so that insulation between the terminal bolts 12 can be ensured. Furthermore, the ring plate 11 to which each terminal bolt 12 is attached can be fitted into the attachment recess 5 c of the second side cover bracket 5 simply by rotating and adjusting the ring plate 11 in the circumferential direction. Further, each of the positioned screw portions 12 a of the terminal bolts 12 can be inserted through the bolt mounting holes 5 d of the second side cover bracket 5 and attached.

したがって、これら各ターミナルボルト12を別個に第2サイドカバーブラケット5のボルト取付孔5dに一つずつ挿通させて取り付ける場合に比べ、これら各ターミナルボルト12を一度に第2サイドカバーブラケット5の各ボルト取付孔5dに挿通できる。このため、周囲のクリアランスが小さい中においても容易に組み立てることができる。特に、SRモータ1は、ターミナルボルト12等の本数が4本又は6本と多いため、接続端子の個数が少ないモータに比べ、組み立て時の作業性及び生産性を大幅に向上できる。   Therefore, each terminal bolt 12 is attached to each bolt of the second side cover bracket 5 at a time as compared with the case where each of these terminal bolts 12 is individually inserted into the bolt mounting holes 5d of the second side cover bracket 5 and attached. It can be inserted into the mounting hole 5d. For this reason, it can be easily assembled even when the surrounding clearance is small. In particular, since the SR motor 1 has a large number of terminal bolts 12 and the like as four or six, the workability and productivity during assembly can be greatly improved as compared with a motor having a small number of connection terminals.

さらに、リングプレート11の各ボルト挿通孔11bに平面視正方形状の嵌合凹部11cを設けた構成とした。この結果、この嵌合凹部11cに、各ボルト挿通孔11bに挿通させて取り付けられた各ターミナルボルト12の平面視正方形状の頭部12bを嵌合させることにより、これら各ターミナルボルト12を廻り止めできる。よって、リングプレート11にターミナルボルト12を取り付けた状態で、これらターミナルボルト12を位置決めでき絶縁性を確保できる。また、これらターミナルボルト12の廻り止めができ、これらターミナルボルト12の角度規制ができるから、これらターミナルボルト12を第2サイドカバーブラケット5に取り付ける際の作業性をさらに向上できる。   In addition, each bolt insertion hole 11b of the ring plate 11 is provided with a fitting recess 11c having a square shape in plan view. As a result, each terminal bolt 12 is prevented from rotating by fitting the fitting concave portion 11c with a square-shaped head portion 12b in plan view of each terminal bolt 12 inserted and attached to each bolt insertion hole 11b. it can. Therefore, with the terminal bolts 12 attached to the ring plate 11, the terminal bolts 12 can be positioned to ensure insulation. Further, since the terminal bolts 12 can be prevented from rotating and the angle of the terminal bolts 12 can be regulated, the workability when the terminal bolts 12 are attached to the second side cover bracket 5 can be further improved.

特に、リングプレート11を円環状としたことにより、このリングプレート11をSRモータ1のシャフト2の周囲に同心状に取り付けることができる。よって、図2に示すように、このリングプレート11に取り付けられたターミナルボルト12を周方向に並べて取り付けることができる。このため、これらターミナルボルト12を、SRモータ1内のスペースを比較的確保し易い外周域に設置することができる。したがって、SRモータ1のコイル15等の取り付け位置に関わらず、このコイル15の引き出し線15bに接続された各ターミナルボルト12をリングプレート11にて所定位置に容易に位置決めできる。よって、これらターミナルボルト12の位置決め作業をより容易にできる。   In particular, since the ring plate 11 has an annular shape, the ring plate 11 can be attached concentrically around the shaft 2 of the SR motor 1. Therefore, as shown in FIG. 2, the terminal bolts 12 attached to the ring plate 11 can be attached side by side in the circumferential direction. For this reason, these terminal bolts 12 can be installed in the outer peripheral region where the space in the SR motor 1 can be relatively easily secured. Therefore, regardless of the attachment position of the coil 15 etc. of the SR motor 1, each terminal bolt 12 connected to the lead wire 15 b of this coil 15 can be easily positioned at a predetermined position by the ring plate 11. Therefore, the positioning work of these terminal bolts 12 can be made easier.

さらに、リングプレート11の円環状の環状部11aの外周縁及び内周縁のそれぞれに外周リブ11e及び内周リブ11fを設けた構成とした。また同時に、リングプレート11の各ボルト挿通孔11bに挿通されて取り付けられた各ターミナルボルト12の頭部12bを、外周リブ11e及び内周リブ11fにて覆う構成とした。このため、これらターミナルボルト12の頭部12bと圧着端子16の接続片16bとの溶接部分が、外周リブ11eと内周リブ11fとの間に位置することとなり、これら外周リブ11e及び内周リブ11fにて覆われる。よって、これらターミナルボルト12の頭部12bと圧着端子16の接続片16bとの溶接部分を機械的に保護でき、この溶接部分の機械的な損傷等をより確実に防止できる。また同時に、リングプレート11が絶縁部材にて形成されていることから、これらターミナルボルト12の頭部12bと圧着端子16の接続片16bとの溶接部分における外部との絶縁性をより確実に確保できる。このため、この溶接部分をより確実に電気的に保護できる。   Furthermore, it was set as the structure which provided the outer peripheral rib 11e and the inner peripheral rib 11f in the outer periphery and inner periphery of the annular | circular shaped annular part 11a of the ring plate 11, respectively. At the same time, the head 12b of each terminal bolt 12 inserted and attached to each bolt insertion hole 11b of the ring plate 11 is covered with the outer peripheral rib 11e and the inner peripheral rib 11f. For this reason, the welded portion between the head 12b of the terminal bolt 12 and the connecting piece 16b of the crimp terminal 16 is located between the outer peripheral rib 11e and the inner peripheral rib 11f, and the outer peripheral rib 11e and the inner peripheral rib. 11f. Therefore, the welded portion between the head 12b of the terminal bolt 12 and the connection piece 16b of the crimp terminal 16 can be mechanically protected, and mechanical damage or the like of the welded portion can be prevented more reliably. At the same time, since the ring plate 11 is formed of an insulating member, it is possible to more reliably ensure insulation from the outside at the welded portion between the head 12b of the terminal bolt 12 and the connection piece 16b of the crimp terminal 16. . For this reason, this welding part can be electrically protected more reliably.

また、ターミナルボルト12の頭部12bに圧着端子16の接続片16bをスポット溶接し、圧着端子16と一体化させた複数のターミナルボルト12を予め製造しておく。このため、SRモータ1の組み付け時に、ステータコア3内の各コイル15の引き出し線15bの端部15cに、ターミナルボルト12と一体化された圧着端子16のかしめ部16aをかしめ固定する。よって、これら各コイル15の引き出し線15bに圧着端子16を接続するだけで、これらコイル15の引き出し線15bの端部15cにターミナルボルト12を電気的に接続できる。   A plurality of terminal bolts 12 integrated with the crimping terminals 16 are manufactured in advance by spot welding the connection pieces 16b of the crimping terminals 16 to the heads 12b of the terminal bolts 12. For this reason, when the SR motor 1 is assembled, the caulking portion 16a of the crimp terminal 16 integrated with the terminal bolt 12 is caulked and fixed to the end portion 15c of the lead wire 15b of each coil 15 in the stator core 3. Therefore, the terminal bolt 12 can be electrically connected to the end portion 15c of the lead wire 15b of these coils 15 simply by connecting the crimp terminal 16 to the lead wire 15b of each coil 15.

したがって、圧着端子16のかしめ部16aによるコイル15の引き出し線15bの端部15cへかしめ固定する作業を容易にできる。よって、各ターミナルボルト12を引き出し線15bの端部15cに電気的に接続する際の作業性を大幅に向上できる。また、圧着端子16の接続片16bをターミナルボルト12の頭部12bにスポット溶接して電気的かつ機械的に接続する。このため、圧着端子16の接続片16bをターミナルボルト12の頭部12bに半田付けする場合に比べ、各ターミナルボルト12と引き出し線15bとをより確実に接続できる。また、溶接の場合には機械的強度を確保することが可能であるため、これらターミナルボルト12と引き出し線15bとの溶接部分における機械的強度を確保できる。よって、これらターミナルボルト12と引き出し線15bとの間の断線をより確実に防止できる。   Therefore, the operation of caulking and fixing to the end portion 15c of the lead wire 15b of the coil 15 by the caulking portion 16a of the crimp terminal 16 can be facilitated. Therefore, workability at the time of electrically connecting each terminal bolt 12 to the end portion 15c of the lead wire 15b can be greatly improved. Further, the connection piece 16b of the crimp terminal 16 is spot-welded to the head portion 12b of the terminal bolt 12 to be electrically and mechanically connected. For this reason, compared with the case where the connection piece 16b of the crimp terminal 16 is soldered to the head 12b of the terminal bolt 12, each terminal bolt 12 and the lead wire 15b can be connected more reliably. In addition, since mechanical strength can be ensured in the case of welding, the mechanical strength at the welded portion between the terminal bolt 12 and the lead wire 15b can be ensured. Therefore, disconnection between the terminal bolt 12 and the lead wire 15b can be prevented more reliably.

特に、これらターミナルボルト12に溶接される圧着端子16としては、量産品や既製品を用いることが可能である。このため、圧着端子16を改めて製造する必要がなく、圧着端子16を用いることによる製造コストの大幅な向上がない。また、圧着端子16の接続片16bが平板状であることから、スポット溶接の際に用いる電極として、汎用の電極を用いて対応できるため、このスポット溶接に必要なコストを大幅に削減できる。   In particular, mass-produced products and ready-made products can be used as the crimp terminals 16 welded to the terminal bolts 12. For this reason, it is not necessary to manufacture the crimp terminal 16 anew, and there is no significant improvement in manufacturing cost by using the crimp terminal 16. Moreover, since the connection piece 16b of the crimp terminal 16 is a flat plate shape, a general-purpose electrode can be used as an electrode used in spot welding, so that the cost required for this spot welding can be greatly reduced.

また、これらターミナルボルト12の頭部12bの端面12cに圧着端子16の接続片16bを溶接する構成とした。この結果、圧着端子16の接続片16bの取付孔16dを拡径させ、この取付孔16dにターミナルボルト12のねじ部12aを挿通させて取り付ける場合に比べ、ターミナルボルト12のねじ部12aのねじ有効長を短くすることがない。よって、ねじ部12aに取り付けられるナットの固定に影響がない。さらに、圧着端子16のサイズ変更が適宜可能であるため、コイル15の引き出し線15bの線種、線径、束数等を変更した場合であっても、この圧着端子16のサイズ等を変更することによって適宜対応できる。   Further, the connection piece 16b of the crimp terminal 16 is welded to the end face 12c of the head 12b of the terminal bolt 12. As a result, the screw hole 12d of the terminal bolt 12 is more effective than the case where the attachment hole 16d of the connection piece 16b of the crimp terminal 16 is expanded and the screw portion 12a of the terminal bolt 12 is inserted into the attachment hole 16d. The length is not shortened. Therefore, there is no influence on fixing of the nut attached to the screw part 12a. Further, since the size of the crimp terminal 16 can be appropriately changed, the size and the like of the crimp terminal 16 are changed even when the line type, the wire diameter, the number of bundles, and the like of the lead wire 15b of the coil 15 are changed. This can be handled as appropriate.

さらに、これらターミナルボルト12に圧着端子16を溶接する際においては、これらターミナルボルト12の頭部12bの端面12cに圧着端子16の接続片16bの平坦面16cを当接させてスポット溶接する。このため、このターミナルボルト12と圧着端子16とを溶接する際に、ターミナルボルト12の頭部12bに対する圧着端子16の接続片16bの取り付け角度を適宜調整することができる。したがって、種々のSRモータ1に用いられるリングプレート11の大きさ等に対応させて、ターミナルボルト12と圧着端子16との取り付け角度を適宜調整しながら溶接できる。   Further, when welding the crimp terminals 16 to these terminal bolts 12, spot welding is performed by bringing the flat surfaces 16 c of the connection pieces 16 b of the crimp terminals 16 into contact with the end faces 12 c of the heads 12 b of these terminal bolts 12. For this reason, when welding this terminal bolt 12 and the crimp terminal 16, the attachment angle of the connection piece 16b of the crimp terminal 16 with respect to the head 12b of the terminal bolt 12 can be adjusted suitably. Therefore, welding can be performed while appropriately adjusting the attachment angle between the terminal bolt 12 and the crimp terminal 16 in accordance with the size of the ring plate 11 used in various SR motors 1.

ここで、SRモータ1は、インダクションモータやブラシレスモータ等の他の電動モータに比べ、ステータコア3とロータコア18との間の吸引力が大きい。よって、これらステータコア3とロータコア18との間の吸引及び反発の繰り返し回数が少ない。このため、シャフト2を回転させることによってケース8内の空気が流動してケース8内に負圧部分が形成され、この負圧部分の形成に伴いSRモータ1に振動が発生し、この振動によってノイズ(音)が発生するおそれがある。この点においては、リングプレート11を用いることにより、各ターミナルボルト12を適正な位置に位置決めできる。このため、このターミナルボルト12の取り付け位置のずれ等に起因する振動の発生を防止でき、この振動に伴うノイズの発生を少なくできる。よって、このリングプレート11を用いることにより、SRモータ1の防振対策及び防音対策を施すことができる。   Here, the SR motor 1 has a larger attractive force between the stator core 3 and the rotor core 18 than other electric motors such as an induction motor and a brushless motor. Therefore, the number of repetitions of suction and repulsion between the stator core 3 and the rotor core 18 is small. Therefore, when the shaft 2 is rotated, air in the case 8 flows to form a negative pressure portion in the case 8, and vibration is generated in the SR motor 1 due to the formation of the negative pressure portion. Noise (sound) may be generated. In this respect, by using the ring plate 11, each terminal bolt 12 can be positioned at an appropriate position. For this reason, generation | occurrence | production of the vibration resulting from the shift | offset | difference etc. of the attachment position of this terminal bolt 12 can be prevented, and generation | occurrence | production of the noise accompanying this vibration can be decreased. Therefore, by using this ring plate 11, it is possible to take anti-vibration measures and sound-proof measures for the SR motor 1.

次に、図7及び図8に基づき、本発明の第2の実施の形態について説明する。   Next, based on FIG.7 and FIG.8, the 2nd Embodiment of this invention is described.

この第2の実施の形態は、第1の実施の形態に対しリングプレート11Aの構成のみ異なり、その他の構成は同様である。したがって、このリングプレート11Aの構成のみ説明し、その他の構成については、説明を省略する。   This second embodiment differs from the first embodiment only in the configuration of the ring plate 11A, and the other configurations are the same. Therefore, only the configuration of the ring plate 11A will be described, and description of other configurations will be omitted.

具体的に、このリングプレート11Aは、図7及び図8に示すように、第1の実施の形態のリングプレート11の外周リブ11e及び内周リブ11fがない略平板状に形成されたものである。そして、このリングプレート11Aは、円環平板状の環状部11aにボルト挿通孔11bが設けられ、この環状部11aの表面側の各ボルト挿通孔11bの開口縁に嵌合凹部11cが同心状に設けられている。さらに、環状部11aの裏面側の各ボルト挿通孔11bに連通して嵌合筒部11dが設けられている。   Specifically, as shown in FIGS. 7 and 8, the ring plate 11A is formed in a substantially flat plate shape without the outer peripheral rib 11e and the inner peripheral rib 11f of the ring plate 11 of the first embodiment. is there. The ring plate 11A is provided with a bolt insertion hole 11b in an annular flat plate-like annular portion 11a, and a fitting recess 11c concentrically with the opening edge of each bolt insertion hole 11b on the surface side of the annular portion 11a. Is provided. Furthermore, the fitting cylinder part 11d is provided in communication with each bolt insertion hole 11b on the back surface side of the annular part 11a.

したがって、このリングプレート11Aは、円環平板状の環状部11aにボルト挿通孔11b、嵌合凹部11c及び嵌合筒部11dが形成された構成の略平板状である。このため、第1の実施の形態のリングプレート11に比べ、ターミナルボルト12の頭部12bの溶接部分と、圧着端子16にて引き出し線15bをかしめ固定した部分とを電気的かつ機械的に保護できない。しかしながら、より簡易な構成の金型でリングプレート11Aを成形できるため、このリングプレート11Aの製造性をより向上できる。   Accordingly, the ring plate 11A has a substantially flat plate shape in which the bolt insertion hole 11b, the fitting recess 11c, and the fitting cylinder portion 11d are formed in the annular flat plate-like annular portion 11a. Therefore, compared with the ring plate 11 of the first embodiment, the welded portion of the head 12b of the terminal bolt 12 and the portion where the lead wire 15b is caulked and fixed by the crimp terminal 16 are electrically and mechanically protected. Can not. However, since the ring plate 11A can be formed with a simpler mold, the productivity of the ring plate 11A can be further improved.

次に、図9及び図10に基づき、本発明の第3の実施の形態について説明する。   Next, based on FIG.9 and FIG.10, the 3rd Embodiment of this invention is described.

この第3の実施の形態は、第1の実施の形態に対しリングプレート11Bの構成のみ異なり、その他の構成は同様である。したがって、このリングプレート11Bの構成のみ説明し、その他の構成については、説明を省略する。   This third embodiment differs from the first embodiment only in the configuration of the ring plate 11B, and the other configurations are the same. Therefore, only the configuration of the ring plate 11B will be described, and description of the other configurations will be omitted.

具体的に、このリングプレート11Bは、図9及び図10に示すように、第1の実施の形態のリングプレート11が周方向に向けて同一形状の複数、例えば3つの分割片21に分割されて構成されている。そして、これら分割片21は、リングプレート11を120°間隔で分割したものであって、円弧状の本体部22を備えている。この本体部22には、計2個のボルト挿通孔11bが形成されている。また、これらボルト挿通孔11bに対応させて嵌合凹部11c及び嵌合筒部11dのそれぞれが形成されている。また、この本体部22の外周縁及び内周縁に外周リブ11e及び内周リブ11fが設けられている。   Specifically, as shown in FIGS. 9 and 10, the ring plate 11 </ b> B is divided into a plurality of, for example, three divided pieces 21 having the same shape in the circumferential direction of the ring plate 11 of the first embodiment. Configured. These divided pieces 21 are obtained by dividing the ring plate 11 at intervals of 120 °, and are provided with arcuate body portions 22. A total of two bolt insertion holes 11 b are formed in the main body portion 22. Further, a fitting recess 11c and a fitting cylinder part 11d are formed corresponding to these bolt insertion holes 11b. Further, an outer peripheral rib 11 e and an inner peripheral rib 11 f are provided on the outer peripheral edge and the inner peripheral edge of the main body portion 22.

さらに、図10に示すように、各分割片21の本体部22の周方向の一端部には、この本体部22の裏面に沿った平板状の係合部としての係合片部23が設けられている。この係合片部23の中央部には、軸方向に沿って開口した嵌合孔24が設けられている。一方、各分割片21の本体部22の周方向の他端部には、この本体部22の裏面側を段状に窪ませた形状の係合部としての係合段部25が設けられている。この係合段部25の中央部には、軸方向に沿って突出した円柱状の嵌合凸部26が設けられている。そして、これら係合段部25及び嵌合凸部26は、任意の分割片21の係合段部23に、他の分割片21の係合片部23が嵌合され、この分割片21の嵌合凸部26が他の分割片21の嵌合孔24に嵌合される。この状態で、分割片21は、連結され、計3つの分割片21の係合片部23及び係合段部25が互いに交互に連結されて円環状のリングプレート11Bが形成される。   Further, as shown in FIG. 10, an engagement piece portion 23 as a flat engagement portion along the back surface of the main body portion 22 is provided at one end portion in the circumferential direction of the main body portion 22 of each divided piece 21. It has been. A fitting hole 24 opened along the axial direction is provided at the center of the engaging piece 23. On the other hand, an engagement step portion 25 as an engagement portion having a shape in which the back surface side of the main body portion 22 is recessed in a step shape is provided at the other end portion in the circumferential direction of the main body portion 22 of each divided piece 21. Yes. A columnar fitting convex portion 26 protruding along the axial direction is provided at the center of the engaging step portion 25. And these engagement step part 25 and the fitting convex part 26 are engaged with the engagement piece part 23 of the other divided piece 21 in the engagement step part 23 of the arbitrary divided piece 21, The fitting convex portion 26 is fitted into the fitting hole 24 of the other divided piece 21. In this state, the divided pieces 21 are connected, and the engagement piece portions 23 and the engagement step portions 25 of the three divided pieces 21 are alternately connected to each other to form an annular ring plate 11B.

したがって、このリングプレート11Bを周方向に向けて分割した同一形状の複数の分割片21にて形成する構成とした。この結果、リングプレート11を一つの金型で製造する場合に比べ、このリングプレート11Bを分割した分割片21の場合には、より小さく安価な金型で製造できる。また、各分割片21の形状をそれぞれ同一形状としたことにより、一つの金型で複数の分割片21を製造することによってリングプレート11Bを製造できるため、リングプレート11Bの製造性を向上できる。さらに、リングプレート11Bを分割したことにより、各分割片21の嵌合孔24に嵌合凸部26を嵌合させた状態で、これら嵌合孔24及び嵌合凸部26を中心として、各分割片21の設置位置を調整できる。このため、これら分割片21のボルト挿通孔11bに挿通されて取り付けられたターミナルボルト12の取り付け位置及び角度調整がより容易にできる。   Therefore, the ring plate 11B is formed by a plurality of divided pieces 21 having the same shape divided in the circumferential direction. As a result, compared with the case where the ring plate 11 is manufactured with a single mold, the divided piece 21 obtained by dividing the ring plate 11B can be manufactured with a smaller and less expensive mold. Moreover, since the ring plate 11B can be manufactured by manufacturing the some division | segmentation piece 21 by one metal mold | die by making the shape of each division | segmentation piece 21 each the same shape, the manufacturability of the ring plate 11B can be improved. Further, by dividing the ring plate 11B, the fitting projections 26 are fitted in the fitting holes 24 of the divided pieces 21, and the fitting holes 24 and the fitting projections 26 are used as the centers. The installation position of the split piece 21 can be adjusted. For this reason, the attachment position and angle adjustment of the terminal bolt 12 inserted and attached to the bolt insertion hole 11b of these division pieces 21 can be made easier.

次に、図11及び図12に基づき、本発明の第4の実施の形態について説明する。   Next, based on FIG.11 and FIG.12, the 4th Embodiment of this invention is described.

この第4の実施の形態は、第1の実施の形態に対しリングプレート11Cの構成のみ異なり、その他の構成は同様である。したがって、このリングプレート11Cの構成のみ説明し、その他の構成については、説明を省略する。   The fourth embodiment is different from the first embodiment only in the configuration of the ring plate 11C, and the other configurations are the same. Therefore, only the configuration of the ring plate 11C will be described, and description of other configurations will be omitted.

具体的に、このリングプレート11Cは、図11及び図12に示すように、第2の実施の形態のリングプレート11Aを、第3の実施の形態のリングプレート11Bと同様に分割させたものである。すなわち、このリングプレート1Cは、同一形状の計3つの分割片21Cにて構成されている。これら分割片21Aは、リングプレート11Cを120°間隔で分割した円弧状の本体部22Cを備えている。この本体部22Cには、ボルト挿通孔11b、嵌合凹部11c及び嵌合筒部11dがそれぞれ2つずつ形成されている。そして、本体部22Cの周方向の一端部には、係合片部33及び嵌合孔34が設けられている。また、この本体部22Cの周方向の他端部には、係合段部35及び嵌合凸部36が設けられている。   Specifically, as shown in FIGS. 11 and 12, the ring plate 11C is obtained by dividing the ring plate 11A of the second embodiment in the same manner as the ring plate 11B of the third embodiment. is there. That is, the ring plate 1C is configured by a total of three divided pieces 21C having the same shape. These divided pieces 21A include arc-shaped main body portions 22C obtained by dividing the ring plate 11C at intervals of 120 °. The main body 22C is formed with two bolt insertion holes 11b, two fitting recesses 11c, and two fitting cylinders 11d. An engagement piece 33 and a fitting hole 34 are provided at one end in the circumferential direction of the main body 22C. Further, an engaging step portion 35 and a fitting convex portion 36 are provided at the other end portion in the circumferential direction of the main body portion 22C.

したがって、このリングプレート11Cが略平板状であることから、第3の実施の形態のリングプレート11Bに比べ、より簡易かつ小型の金型でリングプレート11Cを成形できる。このため、このリングプレート11Cの製造性をより向上することができる。   Therefore, since this ring plate 11C is substantially flat, the ring plate 11C can be formed with a simpler and smaller mold than the ring plate 11B of the third embodiment. For this reason, the manufacturability of the ring plate 11C can be further improved.

次に、図13に基づき、本発明の第5の実施の形態について説明する。   Next, a fifth embodiment of the present invention will be described with reference to FIG.

この第5の実施の形態は、第1の実施の形態に対しリングプレート11Dの構成のみ異なり、その他の構成は同様である。したがって、このリングプレート11Dの構成のみ説明し、その他の構成については、説明を省略する。   The fifth embodiment is different from the first embodiment only in the configuration of the ring plate 11D, and the other configurations are the same. Therefore, only the configuration of the ring plate 11D will be described, and description of other configurations will be omitted.

具体的に、このリングプレート11Dは、図13に示すように、第2の実施の形態のリングプレート11Aを120°間隔で3分割したものであり、同一形状の計3つの分割片21Dにて構成されている。これら分割片21Dは、円弧状の本体部22Dを備えている。この本体部22Dには、ボルト挿通孔11b、嵌合凹部11c及び嵌合筒部11dがそれぞれ2つずつ形成されている。そして、この本体部22Dの周方向の両端部は、この本体部の径方向に沿った直線状の平坦面27とされている。   Specifically, as shown in FIG. 13, this ring plate 11D is obtained by dividing the ring plate 11A of the second embodiment into three parts at intervals of 120 °, and has a total of three divided pieces 21D having the same shape. It is configured. These divided pieces 21D include an arcuate body portion 22D. The main body 22D is formed with two bolt insertion holes 11b, two fitting recesses 11c, and two fitting cylinders 11d. Then, both end portions of the main body portion 22D in the circumferential direction are linear flat surfaces 27 along the radial direction of the main body portion.

したがって、このリングプレート11Dは、このリングプレート11Dを分割させた各分割片21D同士が係合しない構成である。このため、より簡易な構成かつ小型の金型でリングプレート11Dを成形できるとともに、分割片21を連結させて一つのリングプレート11Aを形成する場合に比べ、これら各分割片21Dの取り付け位置をより容易に調整できる。よって、これら分割片21Dのボルト挿通孔11bに挿通されて取り付けられたターミナルボルト12の取り付け位置及び取り付け角度のそれぞれをより容易に調整できる。   Accordingly, the ring plate 11D is configured such that the divided pieces 21D obtained by dividing the ring plate 11D do not engage with each other. For this reason, the ring plate 11D can be formed with a simpler configuration and a small mold, and the mounting positions of the divided pieces 21D are more than those when the divided pieces 21 are connected to form one ring plate 11A. Easy to adjust. Therefore, each of the attachment position and attachment angle of the terminal bolt 12 inserted and attached to the bolt insertion hole 11b of these divided pieces 21D can be adjusted more easily.

次に、図14に基づき、本発明の第6の実施の形態について説明する。   Next, a sixth embodiment of the present invention will be described with reference to FIG.

この第6の実施の形態は、第1の実施の形態に対しターミナルボルト12とコイル15の引き出し線15bの端部15cとの接続の構成のみ異なり、その他の構成は同様である。したがって、このターミナルボルト12とコイル15の引き出し線15bの端部15cとの接続の構成のみ説明し、その他の構成については、説明を省略する。   This sixth embodiment differs from the first embodiment only in the configuration of connection between the terminal bolt 12 and the end 15c of the lead wire 15b of the coil 15, and the other configurations are the same. Therefore, only the configuration of the connection between the terminal bolt 12 and the end portion 15c of the lead wire 15b of the coil 15 will be described, and the description of other configurations will be omitted.

具体的に、このターミナルボルト12は、図14に示すように、このターミナルボルト12の頭部12bの端面12cに、コイル15の引き出し線15bの端部15cの一側面15dを当接させた状態でスポット溶接されている。そして、これらターミナルボルト12とコイル15の引き出し線15bとは、電気的かつ機械的に接続されている。このため、これらターミナルボルト12の頭部12bにコイル15の引き出し線15bの端部15cを直接溶接した場合であっても、これらターミナルボルト12と引き出し線15bとをより確実に接続できる。また同時に、これらターミナルボルト12と引き出し線15bとの溶接部分における機械的強度を確保できる。   Specifically, as shown in FIG. 14, the terminal bolt 12 is in a state in which one side surface 15d of the end portion 15c of the lead wire 15b of the coil 15 is in contact with the end surface 12c of the head portion 12b of the terminal bolt 12. Spot welded. The terminal bolt 12 and the lead wire 15b of the coil 15 are electrically and mechanically connected. For this reason, even when the end portion 15c of the lead wire 15b of the coil 15 is directly welded to the head portion 12b of the terminal bolt 12, the terminal bolt 12 and the lead wire 15b can be more reliably connected. At the same time, the mechanical strength at the welded portion between the terminal bolt 12 and the lead wire 15b can be secured.

次に、図15に基づき、本発明の第7の実施の形態について説明する。   Next, a seventh embodiment of the present invention will be described with reference to FIG.

この第7の実施の形態は、第1の実施の形態に対しターミナルボルト12Aと圧着端子16と接続の構成のみ異なり、その他の構成は同様である。したがって、このターミナルボルト12Aと圧着端子16との接続の構成のみ説明し、その他の構成については、説明を省略する。   The seventh embodiment is different from the first embodiment only in the connection configuration between the terminal bolt 12A and the crimp terminal 16 and the other configurations are the same. Therefore, only the configuration of the connection between the terminal bolt 12A and the crimp terminal 16 will be described, and the description of other configurations will be omitted.

具体的に、このターミナルボルト12Aは、このターミナルボルト12Aの頭部12bの端面12cの中心位置にねじ孔12dが開口されて形成されている。このねじ孔12dは、ターミナルボルト12Aの軸方向に沿って設けられている。そして、このねじ孔12dは、ねじ材28のねじ部28aが挿入されてねじ止めできるように構成されている。このねじ材28は、円筒状のねじ部28aの一端部に円板状の頭部28bが同心状に形成されている。このねじ材28のねじ部28aは、圧着端子16の接続片16bの取付孔16dに挿入させた状態で、ターミナルボルト12Aのねじ孔28に挿入されて固定されている。そして、圧着端子16の接続片16bは、ねじ材28によってターミナルボルト12Aの頭部12bに接続されて固定されている。   Specifically, the terminal bolt 12A is formed by opening a screw hole 12d at the center position of the end surface 12c of the head 12b of the terminal bolt 12A. This screw hole 12d is provided along the axial direction of the terminal bolt 12A. And this screw hole 12d is comprised so that the screw part 28a of the screw material 28 may be inserted and screwed. The screw member 28 has a disk-shaped head portion 28b concentrically formed at one end of a cylindrical screw portion 28a. The screw portion 28a of the screw member 28 is inserted and fixed in the screw hole 28 of the terminal bolt 12A in a state of being inserted into the attachment hole 16d of the connection piece 16b of the crimp terminal 16. The connection piece 16b of the crimp terminal 16 is connected and fixed to the head 12b of the terminal bolt 12A by a screw material 28.

したがって、圧着端子16の接続片16bの取付孔16dに挿通させたねじ材28のねじ部28aを、ターミナルボルト12Aの頭部12bに設けられたねじ孔12dに挿入させてねじ止めさせる。この結果、これらターミナルボルト12Aの頭部12bに圧着端子16の接続片16bを接続できるから、これらターミナルボルト12Aに圧着端子16を接続する際に必要となるスポット溶接等の作業を省略できる。よって、これらターミナルボルト12Aに圧着端子16を取り付ける作業をより容易にできる。   Therefore, the screw portion 28a of the screw member 28 inserted through the attachment hole 16d of the connection piece 16b of the crimp terminal 16 is inserted into the screw hole 12d provided in the head 12b of the terminal bolt 12A and screwed. As a result, the connection piece 16b of the crimp terminal 16 can be connected to the head 12b of these terminal bolts 12A, so that the work such as spot welding required when connecting the crimp terminal 16 to these terminal bolts 12A can be omitted. Therefore, the operation | work which attaches the crimp terminal 16 to these terminal bolts 12A can be made easier.

なお、上記各実施の形態においては、SRモータ1のコイル15の引き出し線15bに接続されたターミナルボルト12,12Aを、リングプレート11,11A,11B,11C,11Dの厚さ方向に貫通させた円形状のボルト挿通孔11bに挿通させて位置決めするものを示している。しかしながら、本発明はこれに限らず、一部が径方向に拡開した略C字状のボルト挿通孔11b(挿通部)であっても良い。   In each of the above embodiments, the terminal bolts 12 and 12A connected to the lead wire 15b of the coil 15 of the SR motor 1 are penetrated in the thickness direction of the ring plates 11, 11A, 11B, 11C, and 11D. It shows what is inserted and positioned through a circular bolt insertion hole 11b. However, the present invention is not limited to this, and may be a substantially C-shaped bolt insertion hole 11b (insertion portion) partially expanded in the radial direction.

また、上記各実施の形態においては、計6個のコイル15を備えたSRモータ1を示している。しかしながら、本発明はこれに限らず、他のインダクションモータやブラシレスモータ等の電動モータについても、各コイル15の導線15aの端部15cに接続されたターミナルボルトを位置決めする手段として、本発明を用いることができる。 Moreover, in each said embodiment, SR motor 1 provided with the total of six coils 15 is shown. However, the present invention is not limited to this, and the present invention is used as a means for positioning the terminal bolt connected to the end 15c of the conducting wire 15a of each coil 15 for other induction motors such as induction motors and brushless motors. be able to.

特に、上記各実施の形態においては、一端にかしめ部16aが形成され、他端に接続片16bが設けられた圧着端子16を用いている。また、この圧着端子16の接続片16bをターミナルボルト12,12Aの頭部12bに溶接して取り付けてから、圧着端子16のかしめ部16aをコイル15の引き出し線15bの端部15cにかしめ固定するものを示している。しかしながら、本発明はこれに限らず、各コイル15の導線15aの端部15cとターミナルボルト12,12Aとを確実に接続できるものであれば良い。   In particular, in each of the above-described embodiments, the crimp terminal 16 having the crimping portion 16a formed at one end and the connection piece 16b provided at the other end is used. Further, after the connection piece 16b of the crimp terminal 16 is welded and attached to the head 12b of the terminal bolts 12 and 12A, the caulking portion 16a of the crimp terminal 16 is caulked and fixed to the end portion 15c of the lead wire 15b of the coil 15. Shows things. However, the present invention is not limited to this, as long as the end 15c of the conductor 15a of each coil 15 and the terminal bolts 12 and 12A can be reliably connected.

また、上記第1及び第3の実施の形態においては、リングプレート11,11Bの外周リブ11e及び内周リブ11fを一体的に形成したものを示している。しかしながら、本発明はこれに限らず、このリングプレート11,11Bの外周リブ11e及び内周リブ11fを別個の部材として形成して、このリングプレート11,11Bを計3つの部材で構成することもできる。   In the first and third embodiments, the outer peripheral rib 11e and the inner peripheral rib 11f of the ring plates 11, 11B are integrally formed. However, the present invention is not limited to this, and the outer peripheral rib 11e and the inner peripheral rib 11f of the ring plates 11 and 11B may be formed as separate members, and the ring plates 11 and 11B may be configured by a total of three members. it can.

1 SRモータ(電動モータ)
2 シャフト
2a 本体部
3 ステータコア
4 第1サイドカバーブラケット
4a 貫通孔
4b 第1ボールベアリング
4c 内輪
5 第2サイドカバーブラケット
5a 軸受孔
5b 第2ボールベアリング
5c 取付凹部
5d ボルト取付孔
5e 内輪
6 セットボルト
7a 突極
8 ケース
11,11A,11B,11C,11D リングプレート(位置決め装置)
11a 環状部(本体部)
11b ボルト挿通孔(挿通部)
11c 嵌合凹部
11d 嵌合筒部
11e 外周リブ(突出片)
11f 内周リブ(突出片)
12,12A ターミナルボルト
12a ねじ部
12b 頭部
12c 端面
12d ねじ孔
13 Oリング
14a 樹脂製ワッシャ
14b 平ワッシャ
15 コイル
15a 導線
15b 引き出し線
15c 端部
15d 一側面
16 圧着端子
16a かしめ部
16b 接続片
16c 平坦面
16d 取付孔
17 板材
18 ロータコア
18a 突極
21,21C,21D 分割片
22,22C,22D 本体部
23 係合片部(係合部)
24 嵌合孔
25 係合段部(係合部)
26 嵌合凸部
27 平坦面
28 ねじ材
28a ねじ部
28b 頭部
1 SR motor (electric motor)
2 Shaft 2a Body 3 Stator core 4 First side cover bracket 4a Through hole 4b First ball bearing 4c Inner ring 5 Second side cover bracket 5a Bearing hole 5b Second ball bearing 5c Mounting recess 5d Bolt mounting hole 5e Inner ring 6 Set bolt 7a Salient pole 8 Case 11, 11A, 11B, 11C, 11D Ring plate (positioning device)
11a Annular part (main part)
11b Bolt insertion hole (insertion part)
11c fitting recess 11d fitting cylinder 11e outer peripheral rib (protruding piece)
11f Inner rib (protruding piece)
12, 12A terminal bolt 12a screw part 12b head 12c end face 12d screw hole 13 O ring 14a resin washer 14b flat washer 15 coil 15a lead wire 15b lead wire 15c end part 15d one side face 16 crimping terminal 16a caulking part 16b connecting piece 16c flat Surface 16d Mounting hole 17 Plate material 18 Rotor core 18a Salient poles 21, 21C, 21D Split pieces 22, 22C, 22D Main body 23 Engagement piece (engagement part)
24 Fitting hole 25 Engagement step (engagement part)
26 fitting convex part 27 flat surface 28 screw material 28a screw part 28b head

Claims (5)

シャフトと、ステータコアと、このステータコアに導線を巻装して形成された複数のコイルと、前記ステータコアの内側に回転自在に設けられたロータコアと、前記コイルの導線に前記ロータコアの周方向に向けて並べられて取り付けられた複数のターミナルボルトとを備えた電動モータの前記複数のターミナルボルトを位置決めする位置決め装置であって、
前記ターミナルボルトが挿通可能な位置のそれぞれに間隔を空けて設けられた複数の挿通部を有する本体部を備え、
この本体部は、前記挿通部に前記ターミナルボルトを挿通させた状態で、前記シャフトの周囲に環状に配設されて前記電動モータに取り付けられている
ことを特徴とする位置決め装置。
A shaft, a stator core, a plurality of coils formed by winding a conductive wire around the stator core, a rotor core that is rotatably provided inside the stator core, and a conductive wire of the coil toward the circumferential direction of the rotor core A positioning device for positioning the plurality of terminal bolts of an electric motor comprising a plurality of terminal bolts mounted side by side,
A main body having a plurality of insertion portions provided at intervals in each of the positions where the terminal bolts can be inserted ;
The positioning device is characterized in that the main body portion is annularly disposed around the shaft and attached to the electric motor in a state where the terminal bolt is inserted through the insertion portion.
請求項に記載の位置決め装置において、
本体部は、連結可能な同一形状の複数の分割片にて構成され、
前記各分割片には、少なくとも1つの挿通部と、互いに係合可能な係合部とを有している
ことを特徴とする位置決め装置。
The positioning device according to claim 1 ,
The main body is composed of a plurality of pieces of the same shape that can be connected,
Each of the divided pieces has at least one insertion portion and an engagement portion that can be engaged with each other.
請求項1又は請求項に記載の位置決め装置において、
本体部には、ターミナルボルトの少なくとも一部を覆う突出片が設けられている
ことを特徴とする位置決め装置。
The positioning device according to claim 1 or 2 ,
The main body is provided with a protruding piece that covers at least a part of the terminal bolt .
請求項1から請求項のいずれか一項に記載の位置決め装置において、
かしめ固定可能なかしめ部と、平板状の接続片とを有する圧着端子を備え、
この圧着端子は、かしめ部が導線の端部にかしめ固定され、前記接続片がターミナルボルトの端部に溶接されて取り付けられている
ことを特徴とする位置決め装置。
In the positioning device according to any one of claims 1 to 3 ,
A crimping terminal having a caulking portion that can be caulked and a flat connecting piece,
The crimping terminal has a caulking portion that is caulked and fixed to an end portion of a conducting wire, and the connection piece is welded and attached to an end portion of a terminal bolt .
導線を巻装して形成された複数のコイルと、
これらコイルの導線に取り付けられたターミナルボルトと、
請求項1から請求項のいずれか一項に記載の位置決め装置とを備えた
ことを特徴とする電動モータ。
A plurality of coils formed by winding conductive wires;
Terminal bolts attached to the conductors of these coils,
An electric motor comprising: the positioning device according to any one of claims 1 to 4 .
JP2011010539A 2011-01-21 2011-01-21 Positioning device and electric motor Expired - Fee Related JP5688981B2 (en)

Priority Applications (1)

Application Number Priority Date Filing Date Title
JP2011010539A JP5688981B2 (en) 2011-01-21 2011-01-21 Positioning device and electric motor

Applications Claiming Priority (1)

Application Number Priority Date Filing Date Title
JP2011010539A JP5688981B2 (en) 2011-01-21 2011-01-21 Positioning device and electric motor

Publications (2)

Publication Number Publication Date
JP2012152077A JP2012152077A (en) 2012-08-09
JP5688981B2 true JP5688981B2 (en) 2015-03-25

Family

ID=46793784

Family Applications (1)

Application Number Title Priority Date Filing Date
JP2011010539A Expired - Fee Related JP5688981B2 (en) 2011-01-21 2011-01-21 Positioning device and electric motor

Country Status (1)

Country Link
JP (1) JP5688981B2 (en)

Families Citing this family (3)

* Cited by examiner, † Cited by third party
Publication number Priority date Publication date Assignee Title
KR101726070B1 (en) * 2015-09-03 2017-04-12 주식회사 포스코 Apparatus for fixing damaged roll and method for drawing damaged roll using same
JP7179467B2 (en) * 2018-02-13 2022-11-29 太平興業株式会社 Electrical insulating plate and piping fixture using the same
JP7392599B2 (en) * 2020-07-14 2023-12-06 株式会社デンソー rotating electric machine

Family Cites Families (10)

* Cited by examiner, † Cited by third party
Publication number Priority date Publication date Assignee Title
JP2883409B2 (en) * 1990-06-19 1999-04-19 アスモ株式会社 Small electric motor
JP2940246B2 (en) * 1991-08-22 1999-08-25 株式会社デンソー Brush holding device
JPH0742551U (en) * 1993-12-27 1995-08-04 国産電機株式会社 DC motor
JP2001211594A (en) * 2000-01-24 2001-08-03 Mitsubishi Electric Corp Motor stator and method of manufacturing motor stator
JP2003259593A (en) * 2002-02-27 2003-09-12 Minebea Co Ltd Stator structure of rotating electric machine
JP2005143247A (en) * 2003-11-07 2005-06-02 Asmo Co Ltd Brushless motor, electric fan device, and method for manufacturing brushless motor
JP2008010341A (en) * 2006-06-30 2008-01-17 Takata Corp Terminal joining method and terminal joining structure, and seat belt retractor and seat belt device having the terminal joining structure
JP2008259376A (en) * 2007-04-09 2008-10-23 Mitsuba Corp Motor device
JP2009273292A (en) * 2008-05-09 2009-11-19 Mitsuba Corp Brushless motor
JP2010028925A (en) * 2008-07-16 2010-02-04 Asmo Co Ltd Electric motor and motor for electric power steering device

Also Published As

Publication number Publication date
JP2012152077A (en) 2012-08-09

Similar Documents

Publication Publication Date Title
JP5452570B2 (en) Rotating electric machine and method of manufacturing stator coil connection unit
JP5235085B2 (en) Stator and brushless motor
US7373711B2 (en) Motor armature manufacturing method
US11616407B2 (en) Segment-core coupled body and method of manufacturing armature
JP5372629B2 (en) Brushless motor
US8952584B2 (en) Motor
US20160218578A1 (en) Bus bar unit, method for manufacturing bus bar unit, and brushless motor
JP5734794B2 (en) Stator and rotating electric machine including the stator
US20150102696A1 (en) Armature, rotating electrical device, and armature manufacturing method
JP5688981B2 (en) Positioning device and electric motor
WO2017122606A1 (en) Stator, motor, and method for manufacturing stator
JP4297929B2 (en) Motor and motor manufacturing method
JP2010183660A (en) Stator, brushless motor, method of manufacturing the stator, and method of manufacturing the brushless motor
JP2012105371A (en) Outer rotor type electric motor
JP6652308B2 (en) Armature, rotating electric machine and method for manufacturing armature
JP5729439B2 (en) Brushless motor
JP5563876B2 (en) Coil manufacturing method and motor
JP7314985B2 (en) Stator and rotating electrical machine
US20190386545A1 (en) Motor
US20170222498A1 (en) Motor Stator and Method for Forming Motor Stator
JP5910363B2 (en) Rotating electric machine stator
JP4386909B2 (en) motor
JP2011229290A (en) Motor
WO2020080548A1 (en) Motor
JP2012239262A (en) Salient pole concentrated winding stator for motor

Legal Events

Date Code Title Description
A621 Written request for application examination

Free format text: JAPANESE INTERMEDIATE CODE: A621

Effective date: 20131022

A977 Report on retrieval

Free format text: JAPANESE INTERMEDIATE CODE: A971007

Effective date: 20140918

A131 Notification of reasons for refusal

Free format text: JAPANESE INTERMEDIATE CODE: A131

Effective date: 20141021

A521 Request for written amendment filed

Free format text: JAPANESE INTERMEDIATE CODE: A523

Effective date: 20141210

TRDD Decision of grant or rejection written
A01 Written decision to grant a patent or to grant a registration (utility model)

Free format text: JAPANESE INTERMEDIATE CODE: A01

Effective date: 20150120

A61 First payment of annual fees (during grant procedure)

Free format text: JAPANESE INTERMEDIATE CODE: A61

Effective date: 20150127

R150 Certificate of patent or registration of utility model

Ref document number: 5688981

Country of ref document: JP

Free format text: JAPANESE INTERMEDIATE CODE: R150

LAPS Cancellation because of no payment of annual fees