JP5584792B2 - 光源装置 - Google Patents

光源装置 Download PDF

Info

Publication number
JP5584792B2
JP5584792B2 JP2013064883A JP2013064883A JP5584792B2 JP 5584792 B2 JP5584792 B2 JP 5584792B2 JP 2013064883 A JP2013064883 A JP 2013064883A JP 2013064883 A JP2013064883 A JP 2013064883A JP 5584792 B2 JP5584792 B2 JP 5584792B2
Authority
JP
Japan
Prior art keywords
organic
transparent substrate
electrode
layer
transparent
Prior art date
Legal status (The legal status is an assumption and is not a legal conclusion. Google has not performed a legal analysis and makes no representation as to the accuracy of the status listed.)
Expired - Fee Related
Application number
JP2013064883A
Other languages
English (en)
Other versions
JP2013157327A (ja
Inventor
隆雄 宮井
稔 前原
真理 藤本
慎一 安部
良徳 齋藤
容子 松林
Current Assignee (The listed assignees may be inaccurate. Google has not performed a legal analysis and makes no representation or warranty as to the accuracy of the list.)
Panasonic Corp
Panasonic Holdings Corp
Original Assignee
Panasonic Corp
Matsushita Electric Industrial Co Ltd
Priority date (The priority date is an assumption and is not a legal conclusion. Google has not performed a legal analysis and makes no representation as to the accuracy of the date listed.)
Filing date
Publication date
Application filed by Panasonic Corp, Matsushita Electric Industrial Co Ltd filed Critical Panasonic Corp
Priority to JP2013064883A priority Critical patent/JP5584792B2/ja
Publication of JP2013157327A publication Critical patent/JP2013157327A/ja
Application granted granted Critical
Publication of JP5584792B2 publication Critical patent/JP5584792B2/ja
Expired - Fee Related legal-status Critical Current
Anticipated expiration legal-status Critical

Links

Images

Landscapes

  • Electroluminescent Light Sources (AREA)
  • Non-Portable Lighting Devices Or Systems Thereof (AREA)

Description

本発明は、光源装置に関するものである。
近年、照明用途に用いる光源装置として、線状の有機EL素子が提案されており(例えば、特許文献1,2参照)、上記特許文献1には、図4に示すように、長手方向に直交する断面が円形状であり柔軟性を有する繊維状のコア部材101と、コア部材101の外周面の全周に亘って積層された第1の電極(陰極)102と、第1の電極102の外周面の全周に亘って積層された少なくとも発光層を含む有機層103と、有機層103の外周面の全周に亘って積層された透明導電膜(例えば、ITO膜)からなる第2の電極(陽極)104と、第2の電極104の外周面においてコア部材101の長手方向に沿って形成された断面弧状の金属膜(例えば、Al膜、Cu膜など)からなる低抵抗金属層105と、第2の電極104および低抵抗金属層105に積層されたパッシベーション膜(例えば、SiO膜、Si層膜)からなる水分遮断層106と、水分遮断層106の外周面の全周に亘って積層された透光性封止材(例えば、シリコーン樹脂、エポキシ樹脂など)からなる封止カバー層107とを備えた有機EL素子100が提案されている。
ここにおいて、図4に示した構成の有機EL素子100では、コア部材101の長手方向の一端部においてシート抵抗の大きな透明導電膜からなる第2の電極104に電気的に接続されたリード線115と第1の電極102に接続されたリード線112との間に直流電源120から直流電圧が印加されるが、第2の電極104の長手方向の全長に亘って低抵抗金属層105を設けてあり、第2の電極104に電気的に接続されるリード線115が低抵抗金属層105を介して第2の電極104に電気的に接続されているので、第2の電極104のシート抵抗による電圧降下に起因した輝度むらが生じるのを抑制することができる。
特開2002−184580号公報 特開2002−352949号公報
ところで、上述の有機EL素子100では、製造時に有機層103を例えば蒸着法により成膜する場合、コア部材101を回転させる必要があるが、細長いコア部材101を均一な速度で回転させることが困難であり、第1の電極102の外周面の全周に亘って有機層103を均一に成膜することができず、有機層103からの発光輝度が不均一となってしまい、また、有機層103を例えば塗布法により成膜する場合には、液だれが発生し、第1の電極102の外周面の全周に亘って有機層103を均一に成膜することができず、有機層103からの発光輝度が不均一となってしまう。
また、上述の有機EL素子100では、当該有機EL素子100を屈曲させた時に有機層103が第1の電極102から剥れやすいという問題があった。なお、上述の有機EL素子100では、当該有機EL素子100を屈曲させた時に封止カバー層107にクラックが発生して、ダークスポットが発生し信頼性が低下するという問題もあった。
本発明は上記事由に鑑みて為されたものであり、その目的は、発光輝度の均一性を高めることが可能で且つ屈曲時の信頼性の高い光源装置を提供することにある。
本発明の光源装置は、有機EL素子を備え、前記有機EL素子は、可撓性を有する帯状の透明基板と、前記透明基板の一表面側において前記透明基板の長手方向に沿って形成された帯状の透明導電膜からなる第1の電極と、前記第1の電極における前記透明基板側とは反対側に形成され少なくとも発光層を含む有機層と、前記有機層における前記第1の電極側とは反対側に形成され前記第1の電極に対向した第2の電極と、前記透明基板の長手方向の一端部に形成され前記第1の電極に電気的に接続された第1の給電部と、前記透明基板の長手方向の他端部に形成され前記第2の電極に電気的に接続された第2の給電部とを備え、前記有機EL素子が前記透明基板の他表面が外周面側となる形で螺旋状に丸められて中空体が形成されてなり、互いに内径の異なる2つの透明カバーにより前記有機EL素子の中空体を挟み込んでいることを特徴とする。
この発明によれば、可撓性を有する帯状の透明基板の一表面側に帯状の透明導電膜からなる第1の電極が形成され、第1の電極における透明基板側とは反対側に少なくとも発光層を含む帯状の有機層が形成され、有機層における第1の電極側とは反対側に帯状の第2の電極が形成され、透明基板の他表面が外周面側となる形で螺旋状に丸められて中空体が形成されているので、可撓性を有する帯状の透明基板の一表面側に帯状の透明導電膜からなる第1の電極、少なくとも発光層を含む帯状の有機層、帯状の第2の電極を順次形成してから透明基板を螺旋状に丸めるようにする製造プロセスを採用することができ、製造時に有機層の膜厚均一性を高めることができるから、発光輝度の均一性を高めることができ、しかも、透明基板の他表面が外周面側となる形で螺旋状に丸められて中空体が形成されているので、屈曲時に有機層が第1の電極から剥れるのを防止することができ、屈曲時の信頼性を高めることができる
光源装置において、前記有機EL素子の中空体に外装される前記透明カバーは、内面に接着性を付与してあるのが好ましい。
光源装置において、前記中空体は、前記有機EL素子の前記透明基板において並行させる部位間に隙間が生じず且つ前記有機層が重ならないように並行させる部位同士が接着されてなることが好ましい。
この発明によれば、透明基板において並行させる部位間に隙間が生じず且つ有機層が重ならないように並行させる部位同士が接着されてなるので、透明基板において並行させる部位間に隙間が生じず且つ有機層が重ならない。
本発明の光源装置では、発光輝度の均一性を高めることが可能で且つ屈曲時の信頼性を高めることができるという効果がある。
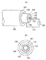
実施形態の光源装置を示し、(a)は概略斜視図、(b)は要部概略平面図、(c)は要部概略断面図である。 同上の製造方法の説明図である。 同上の製造方法の説明図である。 従来例を示し、(a)は一部破断した概略斜視図、(b)は概略断面図である。
本実施形態の光源装置は、図1(b),(c)に示す帯状の有機EL素子1を同図(a)に示すように螺旋状に丸めて形成された中空体2と、当該中空体2に外装された筒状(本実施形態では、円筒状)の透明カバー40とを備えている。
有機EL素子1は、帯状の透明基板10と、透明基板10の一表面側に対向配置された帯状の封止用基板30と、透明基板10と封止用基板30との間に設けられた帯状の有機EL部20とを備え、透明基板10の他表面を光出射面(光取り出し面)としている。なお、有機EL素子1は、無機EL素子に比べて、低電圧、低電流での駆動が可能となり、供給電力に対する発光輝度が大きく、発光効率の良い光源として用いることができる。
ここにおいて、本実施形態では、透明基板10として、可撓性を有する透明な樹脂フィルム基板を用い、透明基板10の厚さを0.1〜0.2mm程度、長手方向の寸法を10〜20cm程度、短手方向の寸法を0.1〜1cm程度としてあるが、これらの数値は特に限定するものではない。
有機EL部20は、透明基板11の上記一表面上において透明基板11の長手方向に沿って形成された帯状の透明導電膜(例えば、ITO膜など)からなる陽極21であって各辺の寸法が透明基板11よりもやや短い陽極21と、陽極21における透明基板11側とは反対側に形成され少なくとも発光層を含む帯状の有機層22と、有機層22における陽極21側とは反対側に形成され陽極21に対向する帯状の金属膜(例えば、Al膜など)からなる陰極23とを備えている。なお、本実施形態では、陽極21が第1の電極を構成し、陰極が第2の電極を構成している。
有機EL部20は、有機層22における発光層が陽極21と陰極23との間に直流電圧を通電したときに発光するように構成されており、有機層22が、所望の発光色の光が得られる有機分子材料により形成された発光層と、発光層と陽極21との間に介在する正孔輸送層と、発光層と陰極23との間に介在する電子輸送層とを備えている。ここで、有機層22の層構造は特に限定するものではなく、例えば、有機層22の所望の発光色が白色の場合には、発光層中に赤色、緑色、青色の3種類のドーパント色素をドーピングするようにして正孔輸送層と発光層と電子輸送層との積層構造を採用するようにしてもよいし、青色正孔輸送性発光層と緑色電子輸送性発光層と赤色電子輸送性発光層との積層構造を採用してもよいし、正孔輸送層と青色電子輸送性発光層と緑色電子輸送性発光層と赤色電子輸送性発光層との積層構造を採用してもよい。また、透明基板10中に有機層22の発光層からの光によって励起されて発光層からの光に比べて長波長の光を放射する1ないし複数の蛍光体を含有させてもよく、発光層の発光色を青色、蛍光体の発光色を黄色とすれば、白色光を得ることが可能となる。また、有機層22は、正孔輸送層および電子輸送層を設けずに発光層のみにより構成してもよい。
本実施形態における有機EL素子1は、帯状の陽極21のうち透明基板10の長手方向の一端部上に形成された部位が陽極21に電気的に接続された第1の給電部24を構成しており、透明基板10の長手方向の他端部上に、陰極23に電気的に接続された透明導電膜(例えば、ITO膜など)からなる第2の給電部25が陽極21から離間して形成されている。ここで、第2の給電部25は、短冊状の形状であり、長手方向が陽極21の短手方向に一致する形で形成されている。
また、有機EL素子1は、陽極21における1つの長辺と上記一端部側の短辺との2辺に沿って陽極21上に陽極21よりもシート抵抗の小さな第1の低抵抗導電層21aが形成され、第2の給電部25における陽極21から遠い側の長辺に沿って第2の給電部25上に第2の給電部25よりもシート抵抗の小さな第2の低抵抗導電層25aが形成されている。本実施形態の有機EL素子1では、第1の低抵抗導電層21aが陽極21に電気的に接続されているので、各給電部24,25上の低抵抗導電層21a,25a間に直流電圧を印加することにより、透明導電膜からなる陽極21での電圧降下を低減することができる。なお、本実施形態では、給電部24,25と低抵抗導電層21a,25aとで外部接続用端子部を構成している。
各低抵抗導電層21a,25aは、Al合金膜により構成するようにし、スパッタ法により形成されているが、Al合金膜に限らず、Ti膜とAu膜との積層膜や、Cr膜などにより構成するようにして、スパッタ法により形成するようにしてもよい。なお、各低抵抗導電層21a,25aは、銀ペーストの塗布膜により構成してもよい。
封止用基板30としては、金属フィルムもしくは樹脂フィルムを用いることが好ましい。また、封止用基板30は、長手方向の一端側において上述の第1の給電部24が露出し且つ長手方向の他端側において上述の第2の給電部25が露出するように、長手方向の寸法を透明基板10よりも短く設定してある。なお、本実施形態では、封止用基板30の厚さを0.1〜0.2mm程度としてあるが、この数値は特に限定するものではない。また、封止用基板30の短手方向の寸法は、透明基板10の短手方向の寸法と同じ値に設定してある。
以下、本実施形態の光源装置の製造方法について図2,3に基づいて説明するが、図2(a)〜(e)は、左側の図が概略平面、右側の図が概略断面を示している。
まず、透明基板10の上記一表面上にそれぞれ透明導電膜(例えば、ITO膜など)からなり第1の給電部24を含む陽極21および第2の給電部25を例えばスパッタ法などにより形成することによって、図2(a)に示す構造を得る。
次に、透明基板10の上記一表面側に例えばAl合金膜からなる各低抵抗導電層21a,25aをスパッタ法などにより形成することによって、図2(b)に示す構造を得る。
その後、透明基板10の上記一表面側に、有機層22を例えば蒸着法などにより形成することによって、図2(c)に示す構造を得る。なお、有機層22の形成方法は蒸着法に限らず、例えば、塗布法などでもよく、有機層22の有機分子材料に応じて適宜選択すればよい。
続いて、透明基板10の上記一表面側に、金属膜(例えば、Al膜など)からなる陰極23をスパッタ法などにより形成することによって、図2(d)に示す構造を得る。
その後、透明基板10の上記一表面側に、有機EL部20を封止する封止用基板30を接着することによって、図2(e)に示す構造の有機EL素子1を得る。なお、図2では有機EL部20が透明基板10よりも厚く描いてあるが、実際には有機EL部20の厚みは例えば1μm程度であるのに対して、透明基板10および封止用基板30の厚みは0.1〜0.2mm程度であり、封止用基板30の外周部の大部分は透明基板10に接着される。
その後、図3(a)に示すような丸棒状の芯棒50を用意し、同図(b)に示すように有機EL素子1を透明基板10の上記他表面が外周面側となる形で芯棒50の外周面に螺旋状に巻回し、その後、有機EL素子1の両端部を固定した状態で同図(c)に示すように有機EL素子1の外周面側に円筒状の透明カバー40を外装して有機EL素子1の両端部を透明カバー50から露出させ、続いて、同図(d)に示すように有機EL素子1から芯棒50を抜くことにより、図1(a)に示す構造の光源装置が完成する。なお、本実施形態では、透明カバー40として、内面に接着性を付与してあるので、透明カバー40を有機EL素子1の中空体2に外装させることにより、透明カバー40と有機EL素子1における透明基板10の上記他表面とが接着されるから、有機EL素子1を保護することができるとともに、有機EL素子1の巻き戻りが生じないようになっている。
なお、有機EL素子1を巻回する際には、透明基板10において並行させる部位の間隔を小さくするように巻回することが望ましく、透明基板10において並行させる部位間に隙間が生じず且つ有機層22が重ならないように並行させる部位同士を接着しながら巻回することがより望ましい。また、互いに内径の異なる透明カバー40を2つ用いて有機EL素子1を挟み込んでもよい。また、本実施形態の光源装置は、透明カバー40に部分的に穴を設けることで、屈曲しやすくさせることもできる。
以上説明した本実施形態の光源装置は、可撓性を有する帯状の透明基板10と、透明基板10の上記一表面側において透明基板10の長手方向に沿って形成された帯状の透明導電膜からなる陽極21と、陽極21における透明基板10側とは反対側に形成され少なくとも発光層を含む帯状の有機層22と、有機層22における陽極21側とは反対側に形成され陽極21に対向した帯状の陰極21と、透明基板10の長手方向の一端部に形成され陽極21に電気的に接続された第1の給電部24と、透明基板10の長手方向の他端部に形成され陰極23に電気的に接続された第2の給電部25とを備え、透明基板10の他表面が外周面側となる形で螺旋状に丸められて中空体2が形成されているので、可撓性を有する帯状の透明基板10の上記一表面側に、帯状の透明導電膜からなる陽極21、少なくとも発光層を含む帯状の有機層22、帯状の陰極23を順次形成してから透明基板10を螺旋状に丸めるようにする製造プロセスを採用することができるので、製造時に有機層22の膜厚均一性を高めることができるから、発光輝度の均一性を高めることができ、しかも、透明基板10の他表面が外周面側となる形で螺旋状に丸められて中空体2が形成されているので、屈曲時に有機層22が陽極21から剥れるのを防止することができ、屈曲時の信頼性を高めることができる。したがって、3次元形状の自由度の高いフレキシブルな光源装置として利用することができる。また、透明基板10の長手方向の一端部に第1の給電部24が形成され、他端部に第2の給電部25が形成されているので、外部の電源などとの電気的な接続が容易になる。なお、本実施形態の有機EL素子1では、給電部24,25を帯状の透明基板10の短手方向に沿った2辺近傍に露出させてあるが、長手方向に沿った2辺近傍に露出させてもよいし、透明基板10の4辺近傍に露出させるようにしてもよい。また、光源装置を屈曲させて曲線形状を維持させるために、後から中空体2に金属棒を挿入してもよい。
本実施形態では、第1の電極が陽極21により構成され、第2の電極が陰極23により構成されているが、陽極21と陰極23との配置および材料を逆にして、陰極23が第1の電極を構成し陽極21が第2の電極を構成するようにしてもよい。
1 有機EL素子
2 中空体
10 透明基板
20 有機EL部
21 陽極(第1の電極)
22 有機層
23 陰極(第2の電極)
24 第1の給電部
25 第2の給電部
30 封止用基板
40 透明カバー

Claims (3)

  1. 有機EL素子を備え、前記有機EL素子は、可撓性を有する帯状の透明基板と、前記透明基板の一表面側において前記透明基板の長手方向に沿って形成された帯状の透明導電膜からなる第1の電極と、前記第1の電極における前記透明基板側とは反対側に形成され少なくとも発光層を含む有機層と、前記有機層における前記第1の電極側とは反対側に形成され前記第1の電極に対向した第2の電極と、前記透明基板の長手方向の一端部に形成され前記第1の電極に電気的に接続された第1の給電部と、前記透明基板の長手方向の他端部に形成され前記第2の電極に電気的に接続された第2の給電部とを備え、前記有機EL素子が前記透明基板の他表面が外周面側となる形で螺旋状に丸められて中空体が形成されてなり、互いに内径の異なる2つの透明カバーにより前記有機EL素子の中空体を挟み込んでいることを特徴とする光源装置。
  2. 前記有機EL素子の中空体に外装される前記透明カバーは、内面に接着性を付与してあることを特徴とする請求項1記載の光源装置
  3. 前記中空体は、前記有機EL素子の前記透明基板において並行させる部位間に隙間が生じず且つ前記有機層が重ならないように並行させる部位同士が接着されてなることを特徴とする請求項1又は2記載の光源装置。
JP2013064883A 2013-03-26 2013-03-26 光源装置 Expired - Fee Related JP5584792B2 (ja)

Priority Applications (1)

Application Number Priority Date Filing Date Title
JP2013064883A JP5584792B2 (ja) 2013-03-26 2013-03-26 光源装置

Applications Claiming Priority (1)

Application Number Priority Date Filing Date Title
JP2013064883A JP5584792B2 (ja) 2013-03-26 2013-03-26 光源装置

Related Parent Applications (1)

Application Number Title Priority Date Filing Date
JP2007237058A Division JP2009070995A (ja) 2007-09-12 2007-09-12 光源装置

Publications (2)

Publication Number Publication Date
JP2013157327A JP2013157327A (ja) 2013-08-15
JP5584792B2 true JP5584792B2 (ja) 2014-09-03

Family

ID=49052262

Family Applications (1)

Application Number Title Priority Date Filing Date
JP2013064883A Expired - Fee Related JP5584792B2 (ja) 2013-03-26 2013-03-26 光源装置

Country Status (1)

Country Link
JP (1) JP5584792B2 (ja)

Families Citing this family (1)

* Cited by examiner, † Cited by third party
Publication number Priority date Publication date Assignee Title
WO2015118919A1 (ja) * 2014-02-10 2015-08-13 コニカミノルタ株式会社 有機エレクトロルミネッセンス照明装置

Family Cites Families (7)

* Cited by examiner, † Cited by third party
Publication number Priority date Publication date Assignee Title
JPS5912063Y2 (ja) * 1979-08-30 1984-04-12 日本電気ホームエレクトロニクス株式会社 電界発光灯
IL104052A (en) * 1992-12-10 1996-07-23 Elam Electroluminescent Ind Lt Neuronic light sources
JP2000243553A (ja) * 1999-02-19 2000-09-08 Ebakku:Kk 発光チューブ
US6538375B1 (en) * 2000-08-17 2003-03-25 General Electric Company Oled fiber light source
US6787990B2 (en) * 2002-05-28 2004-09-07 Eastman Kodak Company OLED area illumination light source having flexible substrate on a support
JP4474884B2 (ja) * 2003-09-29 2010-06-09 セイコーエプソン株式会社 有機el装置
GB0407230D0 (en) * 2004-03-30 2004-05-05 Koninkl Philips Electronics Nv Fibre or filament with lateral electric fields

Also Published As

Publication number Publication date
JP2013157327A (ja) 2013-08-15

Similar Documents

Publication Publication Date Title
US8421064B2 (en) Organic-light-emitting-diode flat-panel light-source apparatus
JP5854746B2 (ja) トップエミッション型の有機エレクトロルミネッセンス発光装置およびその製法
WO2011155306A1 (ja) 有機エレクトロルミネッセンス照明装置
JP4474884B2 (ja) 有機el装置
EP2276088A3 (en) Light emitting element and manufacturing method thereof, and light emitting device using the light emitting element
TW201244215A (en) Light-emitting device
JP2009205897A (ja) 有機発光装置及び有機発光装置の製造方法
US10553832B2 (en) Lighting apparatus using organic light emitting device and method of fabricating thereof
KR102321663B1 (ko) 유기발광소자를 이용한 조명장치 및 그 제조방법
KR20140041922A (ko) 발광 장치
US20110084253A1 (en) Organic light emitting diode lighting apparatus and method for manufacturing the same
CN108172598A (zh) 使用有机发光二极管的照明设备
JP4533963B2 (ja) 有機el発光装置
JP5584792B2 (ja) 光源装置
TW201116152A (en) Organic light-emitting diode lighting apparatus
CN104145530A (zh) 有机el元件的制造方法和有机el元件
EP3343661A1 (en) Lighting apparatus using organic light emitting device and method of fabricating thereof
JP5102570B2 (ja) 光源装置
JP2009070995A (ja) 光源装置
JP2009259435A (ja) 有機el素子
KR20170063593A (ko) 유기 el 패널 및 그 제조방법
KR20110113556A (ko) Oled 면광원 장치 및 그 제조 방법
WO2013179482A1 (ja) 有機el発光素子及びその製造方法
CN114096028B (zh) 二维半导体电致发光装置及其制备方法
EP3327807A1 (en) Apparatus and method of fabricating lighting apparatus using organic light emitting device

Legal Events

Date Code Title Description
A977 Report on retrieval

Free format text: JAPANESE INTERMEDIATE CODE: A971007

Effective date: 20131127

A131 Notification of reasons for refusal

Free format text: JAPANESE INTERMEDIATE CODE: A131

Effective date: 20140128

A521 Request for written amendment filed

Free format text: JAPANESE INTERMEDIATE CODE: A523

Effective date: 20140331

TRDD Decision of grant or rejection written
A01 Written decision to grant a patent or to grant a registration (utility model)

Free format text: JAPANESE INTERMEDIATE CODE: A01

Effective date: 20140624

A61 First payment of annual fees (during grant procedure)

Free format text: JAPANESE INTERMEDIATE CODE: A61

Effective date: 20140718

R151 Written notification of patent or utility model registration

Ref document number: 5584792

Country of ref document: JP

Free format text: JAPANESE INTERMEDIATE CODE: R151

LAPS Cancellation because of no payment of annual fees