JP5579110B2 - 電動ポンプ - Google Patents

電動ポンプ Download PDF

Info

Publication number
JP5579110B2
JP5579110B2 JP2011059430A JP2011059430A JP5579110B2 JP 5579110 B2 JP5579110 B2 JP 5579110B2 JP 2011059430 A JP2011059430 A JP 2011059430A JP 2011059430 A JP2011059430 A JP 2011059430A JP 5579110 B2 JP5579110 B2 JP 5579110B2
Authority
JP
Japan
Prior art keywords
pump
housing
motor
electric
pump housing
Prior art date
Legal status (The legal status is an assumption and is not a legal conclusion. Google has not performed a legal analysis and makes no representation as to the accuracy of the status listed.)
Expired - Fee Related
Application number
JP2011059430A
Other languages
English (en)
Other versions
JP2012193702A (ja
Inventor
貴行 近岡
Current Assignee (The listed assignees may be inaccurate. Google has not performed a legal analysis and makes no representation or warranty as to the accuracy of the list.)
Hitachi Astemo Ltd
Original Assignee
Hitachi Automotive Systems Ltd
Priority date (The priority date is an assumption and is not a legal conclusion. Google has not performed a legal analysis and makes no representation as to the accuracy of the date listed.)
Filing date
Publication date
Application filed by Hitachi Automotive Systems Ltd filed Critical Hitachi Automotive Systems Ltd
Priority to JP2011059430A priority Critical patent/JP5579110B2/ja
Publication of JP2012193702A publication Critical patent/JP2012193702A/ja
Application granted granted Critical
Publication of JP5579110B2 publication Critical patent/JP5579110B2/ja
Expired - Fee Related legal-status Critical Current
Anticipated expiration legal-status Critical

Links

Images

Landscapes

  • Rotary Pumps (AREA)
  • Details And Applications Of Rotary Liquid Pumps (AREA)

Description

本発明は、電動ポンプに関する。
従来、ポンプロータとアウタロータとを有するトロコイド型のオイルポンプとして特許文献1に記載の技術が開示されている。この公報には、ポンプロータの内部に固定された駆動軸と電動モータとが連結され、電動モータによってポンプを駆動している。
特開2007−9790号公報
しかし、特許文献1に記載の電動ポンプでは、電動ポンプをポンプカバーの部材と一体のブラケットによって自動変速機等に取り付けており、片持ち支持構造となっているため耐久性の悪化や振動等の原因となりやすい。
本発明の目的とするところは、安定して電動ポンプを支持することが可能な電動ポンプの支持構造を提供することにある。
上記目的を達成するため、本発明の電動ポンプは、ポンプ要素を収容するポンプハウジングを電動ポンプ収容部の底面に固定し、モータ要素を収容するモータハウジングを電動ポンプ収容部の開口端周縁に固定した。
よって、電動ポンプを両持ち支持構造とすることができ、電動ポンプの径方向の耐震性を向上することができる。
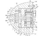
実施例1の電動オイルポンプの縦断面図である。 図1のS2-S2矢視図である。 図2からポンプハウジングを取り外した状態を示す図である。 実施例1の電動オイルポンプの一部分解斜視図である。 実施例2の電動オイルポンプの縦断面図である。
以下、本発明の電動ポンプを実施するための形態を、図面に示す実施例に基づいて説明する。
〔実施例1〕
図1は実施例1の電動オイルポンプの縦断面図、図2は図1のS2-S2矢視図、図3は図2からポンプハウジングを取り外した状態を示す図、図4は実施例1の電動オイルポンプの一部分解斜視図である。
実施例1の電動オイルポンプは、アイドルストップ機能を備えた車両の自動変速機用に搭載されるポンプである。この自動変速機はベルト式無段変速機であり、エンジンにより駆動されるメインポンプを別途備えている。そして、アイドルストップ制御によるエンジンの停止時には、メインポンプによる油圧が確保できず、また、ベルト式無段変速機内の摩擦締結要素やプーリからのリーク等によって油圧が低下すると、再発進時に必要な油圧を確保するまでに時間がかかるため、運転性の低下を招く。そこで、メインポンプとは別に、エンジンの作動状態にかかわらず油圧を吐出可能な電動オイルポンプを備え、摩擦締結要素やプーリからのリーク分の油圧を担保することで、エンジン再始動および再発進時の運転性を向上している。
実施例1の電動オイルポンプは、ポンプ要素1と、モータ要素2と、駆動軸3と、ポンプハウジング4と、モータハウジング5と、電動ポンプ収容部6とを有する。
ポンプ要素1は、6個の外歯歯車(以下、外歯と称す。)を有するポンプロータ7と、7個の内歯歯車(以下、内歯と称す。)を有するアウタロータ8とから構成される。ポンプロータ7は、中心に二面幅を有する連結穴9が形成され、駆動軸3の先端に形成された二面幅10と嵌合する。これにより、駆動軸3とポンプロータ7との回転方向相対位置が決定されると共にトルク伝達が行われる。連結穴9と二面幅10により、駆動軸3とポンプロータ7とをトルク伝達可能、かつ、軸方向への移動を許容して連結する連結部が構成される。
モータ要素2は、駆動軸3と一体に設けられたモータロータ11とステータ12とから構成される。ステータ12のステータコア13に形成された複数のティースにそれぞれコイル14が巻回されてスロットを形成している。モータロータ11は、断面略コの字状の円筒部材であり、円筒外周に永久磁石がN極とS極とが交互に並ぶように複数個取り付けられている。
ポンプハウジング4は、円筒部材15と平板部材16とを有し、内部にアウタロータ8が回転可能に収装されている。ポンプハウジング4の外径は、電動ポンプ収容部6の内径よりも小さく形成されている。
円筒部材15は、軸方向一方側(電動ポンプ収容部6の底面6a側)が開口する有底の円筒状に形成され、その開口端には、径方向外側に延びるフランジ部17が設けられている。フランジ部17には、周方向に等ピッチで3つのボルト穴18が形成されている。円筒部材15の中央には、駆動軸3が貫通する貫通穴15aが形成されている。
平板部材16は、円筒部材15のフランジ部17と同一の外径を有し、吸入口19と吐出口20とが形成されている。吐出口20は、円筒部21により延在されている。吸入口19は、ポンプ要素1の吸入側容積室と対応する位置に配置され、吐出口20は、ポンプ要素1の吐出側容積室と対応する位置に配置されている。平板部材16には、円筒部材15の各ボルト穴18と対応する位置にはボルト穴22が形成されている。
モータハウジング5は、円筒部材23と平板部材24とを有し、内部にモータ要素2が収容されている。
円筒部材23は、軸方向一方側(電動ポンプ収容部6の開口端6b側)が開口する有底の円筒状に形成され、その開口端には、径方向外側に延びるフランジ部25が設けられている。フランジ部25には、周方向に等ピッチで3つのボルト穴26が形成されている。フランジ部25を除く円筒部材23の外径は、ポンプハウジング4の外径よりも大きく、電動ポンプ収容部6の内径よりも僅かに小さく形成されている。また、フランジ部25の外径は、電動ポンプ収容部6の内径よりも大きく形成されている。
円筒部材23の内周には、ステータ12が固定支持されている。円筒部材23の中央には、駆動軸3が貫通する支持穴27が形成されている。この支持穴27により、駆動軸3が回転可能に支持される。支持穴27の左右には、ポンプハウジング4の内部または外周からモータハウジング5内部へのオイルの侵入を規制するシール部材28,29が設けられている。
平板部材24は、円筒部材23の開口端23aの位置で内部を塞いでいる。
電動ポンプ収容部6は、自動変速機のケース部材30に形成され、底面6a、開口端6b、側面6cを有する円筒状の凹部であって、底面6a側にポンプハウジング4が収容され、開口端6b側にモータハウジング5が収容されている。
底面6aには、吸入油路31と吐出油路32とが開口している。吸入油路31は、吸入口19と対応する位置に設けられ、図外のオイルパン内に開口するオイル吸い込み口と連通する。吐出油路32は、吐出口20と対応する位置に設けられ、図外のコントロールバルブユニットと連通する。吐出油路32の開口端には、拡径部32aが形成され、この拡径部32aには平板部材16の円筒部21が嵌合されている。
また、底面6aには、ポンプハウジング4の円筒部材15および平板部材16の各ボルト穴18,22と対応する位置にネジ穴33が形成されており、駆動軸31、吐出油路32、吸入油路31のそれぞれ中心を結ぶポンプハウジング4の径方向x-x線上に少なくとも1つのネジ穴33を設け、他の2つのネジ穴33,33がポンプハウジング4の中心に対して120°等間隔の位置に形成されている。ポンプハウジング4は、ネジ穴33と螺合するボルト34により底面6aに共締め固定されている。
開口端6bには、テーパ面35が形成されている。テーパ面35とモータハウジング5の円筒部材23との間には、シールリング36が介装されている。
ケース部材30の側壁37には、モータハウジング5のフランジ部25の各ボルト穴26と対応する位置にネジ穴38が形成されている。モータハウジング5は、ネジ穴38と螺合するボルト39によりケース部材30の側壁37であって、電動ポンプ収容部6の開口端6bの周縁に締め付け固定される。
次に、電動オイルポンプをケース部材30に組み付ける際の手順について説明する。
まず、平板部材16の円筒部21を電動ポンプ収容部6の底面6aに形成された吐出油路32の拡径部32aに圧入する。
続いて、円筒部材15の内部にポンプ要素1を挿入し、フランジ部17のボルト穴18を既に底面6aに取り付けた平板部材16のボルト穴22の位置に合わせ、ボルト34をネジ穴33にねじ込み、ポンプハウジング4を電動ポンプ収容部6の底面6aに固定する。
続いて、既にモータ要素2を収容し平板部材24で内部を覆ったモータハウジング5を、電動ポンプ収容部6に挿入し、駆動軸3の先端をポンプロータ7の連結穴9に嵌合させる。
次に、モータハウジング5を回転させてフランジ部25のボルト穴26をケース部材30のネジ穴38の位置に合わせ、ボルト39をネジ穴38にねじ込み、モータハウジング5をケース部材30の側壁37に固定する。
次に、作用を説明する。
[耐震性向上]
特許文献1のように電動オイルポンプをポンプハウジングと一体のブラケットによって自動変速機に取り付けると、電動オイルポンプが片持ち支持構造となり、耐久性の悪化等が懸念される。
これに対し、実施例1の電動オイルポンプでは、ポンプハウジング4を電動ポンプ収容部6の底面6aにボルト締結し、モータハウジング5をケース部材30の側壁37にボルト締結した。これにより、両持ち支持構造となるため、電動オイルポンプの径方向の耐震性の向上を図ることができる。また、モータ側外周(電動ポンプ収容部6の側面6c)でモータハウジング5を支持するため、吐出口20から距離を離すことができ、より安定した支持構造が得られる。
また、電動オイルポンプを軸方向からボルト34,39によりケース部材30に締結固定することにより、軸方向での耐震性の向上を図ることができる。
[リードタイム短縮化およびコスト低減]
ここで、ポンプ要素を収容するポンプハウジングとモータ要素を収容するモータハウジングとを一体化してケース部材の電動ポンプ収容部に組み付ける構成とした場合の問題点を説明する。
まず、ポンプ要素とモータ要素とを1つのハウジング内に収容する構成の場合、ポンプの仕様(吐出流量、吐出圧)を変更する際には、電動オイルポンプを新規開発する必要があるため、リードタイム、コストが問題となる。
次に、ポンプハウジングとモータハウジングとを別々に設けて両者をボルト締結により一体化する構成の場合、ポンプハウジングがモータハウジングよりも小径である場合、ボルトはポンプハウジング側からモータハウジング側に形成したネジ穴にねじ込まれる構成となる。ここで、モータハウジングは、コンパクト化を狙いとし、モータ要素を収容可能な最小限の大きさに設定されているため、モータハウジング側にモータ要素を避けてネジ穴を設けると、その分だけモータハウジングの軸方向寸法または径方向寸法を長くする必要がある。なお、仮にモータハウジングがポンプハウジングよりも小径である場合も同様の問題が生じる。
これに対し、実施例1の電動オイルポンプでは、ポンプ要素1を収容するポンプハウジング4とモータ要素2を収容するモータハウジング5とを別々に設け、ケース部材30に対し個々に固定している。これにより、ポンプの仕様を変更する場合、モータ側のみ部品を組み替えることで対応できる。つまり、ポンプ側の部品組み替えが不要であるため、仕様変更の都度電動オイルポンプを新規開発する必要が無く、リードタイムの短縮およびコスト低減を図ることができる。また、駆動軸3、モータハウジング5の調整により、汎用モータが使用可能である。
また、モータハウジング5側にポンプハウジング4をボルト締結するためのネジ穴が不要であるため、モータハウジング5の軸方向寸法を最小限に抑えることができ、電動オイルポンプのコンパクト化を図ることができる。なお、電動ポンプ収容部6の底面6aにはポンプハウジング4をボルト締結するためのネジ穴33が設けられるものの、この部分は吸入油路31および吐出油路32を設けるために本来から肉厚であるため、ケース部材30の大型化を招くことはない。
[メンテナンス性向上]
実施例1の電動オイルポンプでは、駆動軸3の先端に二面幅10を設け、ポンプロータ7の連結穴9と嵌合させる構成とした。連結穴9と駆動軸3は互いに軸方向へ相対移動可能であるため、ポンプロータ7に対するモータハウジング5の着脱が容易である。このため、ケース部材30に組み付け後、モータハウジング5のみ容易に取り外し可能であり、機械部品であるポンプに対し、耐久性の低い電気製品であるモータのメンテナンス性を高めることができる。
次に、効果を説明する。
実施例1の電動オイルポンプにあっては、以下に列挙する効果を奏する。
(1) モータロータ11とステータ12とを有するモータ要素2と、モータロータ11に連結された駆動軸3と、駆動軸3により駆動されるポンプ要素1と、モータ要素2を収容するモータハウジング5と、ポンプ要素1を収容するポンプハウジング4と、自動変速機(流体圧作動機器)のケース部材30に形成された凹部であって、底面6a側にポンプハウジング4を収容し、開口端6b側にモータハウジング5を収容する電動ポンプ収容部6と、を備え、ポンプハウジング4は、電動ポンプ収容部6の底面6aに固定され、モータハウジング5は、電動ポンプ収容部6の開口端6b周縁に固定される。
よって、電動オイルポンプを両持ち支持構造とすることができ、電動オイルポンプの径方向の耐震性を向上することができる。また、ポンプの仕様を変更する場合のリードタイムの短縮およびコスト低減を図ることができる。さらに、駆動軸3、モータハウジング5の調整により、汎用モータが使用可能である。加えて、モータハウジング5の軸方向寸法を最小限に抑え、電動オイルポンプのコンパクト化を図ることができる。
(2) 上述のごとく電動オイルポンプを両持ち支持構造とするため、駆動軸3は、ポンプ要素1に対しトルク伝達可能、かつ、軸方向への移動を許容して連結する連結部(連結穴9,二面幅10)を介してポンプ要素1と連結されるため、モータハウジング5のみを容易に着脱でき、機械部品であるポンプに対し、耐久性の低い電気製品であるモータのメンテナンス性を高めることができる。
〔実施例2〕
図5は、実施例2の電動オイルポンプの縦断面図である。
なお、実施例1の電動オイルポンプと同一の部材には、同一の符号を付して説明を省略する。
実施例2では、ポンプ要素1を収容するポンプハウジング40を、ポンプカバー41と、電動ポンプ収容部6の底面6aに形成したポンプ収容凹部42とから構成した点で実施例1と異なる。
ポンプカバー41は、円筒状に形成され、その外径は、電動ポンプ収容部6の内径よりも小さく形成されている。ポンプカバー41の中央には、駆動軸3が貫通する貫通穴41aが形成されている。ポンプカバー41の底面6a側には、フランジ部43が設けられている。フランジ部43には、周方向に等ピッチで3つのボルト穴44が形成されている。各ボルト穴44は、底面6aに設けられたネジ穴33と対応する位置に配置されている。
ポンプ収容凹部42は、底面42aと側面42bとを有する円筒状の凹部であって、アウタロータ8が回転可能に収装されている。
ポンプ収容凹部42の底面42aには、吸入油路31と吐出油路32とが開口している。
次に、電動オイルポンプをケース部材30に組み付ける際の手順について説明する。
まず、ポンプ要素1をポンプ収容凹部42に挿入した後、ポンプ収容凹部42をポンプカバー41で塞ぎ、ポンプカバー41のボルト穴44をネジ穴33の位置に合わせ、ボルト34をネジ穴33にねじ込み、ポンプカバー41を電動ポンプ収容部6の底面6aに固定する。
続いて、既にモータ要素2を収容し平板部材24で内部を覆ったモータハウジング5を、電動ポンプ収容部6に挿入し、駆動軸3の先端をポンプロータ7の連結穴9に嵌合させる。
次に、モータハウジング5を回転させてフランジ部25のボルト穴26をケース部材30のネジ穴38の位置に合わせ、ボルト39をネジ穴38にねじ込み、モータハウジング5をケース部材30の側壁37に固定する。
次に、作用を説明する。
[部品点数の削減]
実施例2の電動オイルポンプでは、電動ポンプ収容部6の底面6aにアウタロータ8を回転可能に収装するポンプ収容凹部42を形成した。すなわち、ポンプハウジング40の一部を自動変速機のケース部材30側に設けたため、実施例1のポンプハウジング4と比較して、部品点数を削減でき、コスト低減を図ることができる。また、部品点数の削減により組み立て工数を低減できる。
次に、効果を説明する。
実施例2の電動オイルポンプにあっては、実施例1の効果(1),(2)に加え、以下の効果を奏する。
(3) 電動ポンプ収容部6の底面6aに、ポンプ要素1が収容されるポンプ収容凹部42が形成され、ポンプハウジング40は、ポンプ収容凹部42と、このポンプ収容凹部42を軸方向から覆い底面6aに固定されるポンプカバー41とから構成される。
よって、部品点数の削減および組み立て工数の低減を図ることができる。
(他の実施例)
以上、本発明の電動ポンプを実施例に基づいて説明したが、本発明の具体的な構成は実施例の構成に限定されるものではない。
例えば、実施例では、自動変速機の電動オイルポンプに適用した例を示したが、他の流体圧作動機器であってもよく、電動ウォータポンプとして発熱体の冷却に用いてもよいし、他の油圧アクチュエータ用のポンプにも適用できる。
連結部は二面幅に限らず、Dカット、キー溝等を採用してもよい。
1 ポンプ要素
2 モータ要素
3 駆動軸
4 ポンプハウジング
5 モータハウジング
6 電動ポンプ収容部
6a 底面
6b 開口端
9 連結穴(連結部)
10 二面幅(連結部)
11 モータロータ
12 ステータ
30 ケース部材
40 ポンプハウジング
41 ポンプカバー
42 ポンプ収容凹部

Claims (2)

  1. モータロータとステータとを有するモータ要素と、
    前記モータロータに連結された駆動軸と、
    前記駆動軸により駆動されるポンプ要素と、
    前記モータ要素を収容するモータハウジングと、
    前記ポンプ要素を収容するポンプハウジングと、
    流体圧作動機器のケース部材に形成された凹部であって、底面側に前記ポンプハウジングを収容し、開口端側に前記モータハウジングを収容する電動ポンプ収容部と、
    を備え、
    前記電動ポンプ収容部の底面に、前記ポンプ要素が収容されるポンプ収容凹部が形成され、
    前記ポンプハウジングは、前記ポンプ収容凹部と、このポンプ収容凹部を軸方向から覆い前記底面に固定されるポンプカバーとから構成され
    前記モータハウジングは、前記電動ポンプ収容部の開口端周縁に固定されることを特徴とする電動ポンプ。
  2. 請求項1に記載の電動ポンプにおいて、
    前記駆動軸は、前記ポンプ要素に対しトルク伝達可能、かつ、軸方向への移動を許容して連結する連結部を介して前記ポンプ要素と連結されることを特徴とする電動ポンプ。
JP2011059430A 2011-03-17 2011-03-17 電動ポンプ Expired - Fee Related JP5579110B2 (ja)

Priority Applications (1)

Application Number Priority Date Filing Date Title
JP2011059430A JP5579110B2 (ja) 2011-03-17 2011-03-17 電動ポンプ

Applications Claiming Priority (1)

Application Number Priority Date Filing Date Title
JP2011059430A JP5579110B2 (ja) 2011-03-17 2011-03-17 電動ポンプ

Publications (2)

Publication Number Publication Date
JP2012193702A JP2012193702A (ja) 2012-10-11
JP5579110B2 true JP5579110B2 (ja) 2014-08-27

Family

ID=47085811

Family Applications (1)

Application Number Title Priority Date Filing Date
JP2011059430A Expired - Fee Related JP5579110B2 (ja) 2011-03-17 2011-03-17 電動ポンプ

Country Status (1)

Country Link
JP (1) JP5579110B2 (ja)

Families Citing this family (5)

* Cited by examiner, † Cited by third party
Publication number Priority date Publication date Assignee Title
KR101411598B1 (ko) 2012-12-21 2014-06-25 엘지이노텍 주식회사 전동 펌프
US9453508B2 (en) 2013-02-25 2016-09-27 Asmo Co., Ltd. Electric oil pump and hydraulic pressure supply device
DE102014111721A1 (de) * 2014-08-18 2016-02-18 Getrag Getriebe- Und Zahnradfabrik Hermann Hagenmeyer Gmbh & Cie Kg Fluidbeaufschlagungsvorrichtung für ein Getriebe für ein Kraftfahrzeug
DE102017223715A1 (de) 2017-12-22 2019-06-27 Magna Powertrain Bad Homburg GmbH Gerotorpumpe und Verfahren zur Herstellung einer solchen
JP7554133B2 (ja) * 2021-02-16 2024-09-19 日立Astemo株式会社 タンデム型オイルポンプ

Family Cites Families (1)

* Cited by examiner, † Cited by third party
Publication number Priority date Publication date Assignee Title
JP5418053B2 (ja) * 2009-08-05 2014-02-19 株式会社ジェイテクト トランスミッション用電動ポンプユニット

Also Published As

Publication number Publication date
JP2012193702A (ja) 2012-10-11

Similar Documents

Publication Publication Date Title
CN103620221B (zh) 电动油泵
JP5579110B2 (ja) 電動ポンプ
JP5643039B2 (ja) 電動ポンプ
JP6059465B2 (ja) 電動デュアルポンプ
JP5502008B2 (ja) 内接歯車ポンプ
JP6223561B2 (ja) オイルを貯蔵容器から自動車の伝動装置に圧送する圧送装置
JP2016044652A (ja) バルブタイミング調整システム及びその製造方法
JP2003269345A (ja) 電動オイルポンプ
US9739280B2 (en) Electrically driven motor and electrically driven pump
JP2012097583A (ja) 電動ポンプ
KR102636718B1 (ko) 이중 구동 베인 펌프
JP6524364B1 (ja) 真空ポンプ
JP5208183B2 (ja) 電動ポンプの支持構造
DK2602428T3 (en) ROTATING PUMP WITH POSITIVE REPLACEMENT WITH FIXED SHAFT AND ROTATING CAPS
JP2009085119A (ja) バキュームポンプ取付け構造
JP5636064B2 (ja) 電動ポンプ
JP2017500506A (ja) 内燃機関用の可変ポンプ
US12560166B2 (en) Pump assembly with the pump disposed within the plurality of teeth of the motor stator
KR20170083056A (ko) 드라이브-인-드라이브 밸브 배열체를 가지는 회전식 유압 장치
JP5231510B2 (ja) 電動ポンプ
KR20080011380A (ko) 내부 기어 연료 펌프
JP2012097582A (ja) 電動ポンプ
CN112696354A (zh) 电动油泵设备
US20220099016A1 (en) Switchable mechanical motor vehicle coolant pump
JP2014066180A (ja) 電動ポンプ

Legal Events

Date Code Title Description
A621 Written request for application examination

Free format text: JAPANESE INTERMEDIATE CODE: A621

Effective date: 20130213

A977 Report on retrieval

Free format text: JAPANESE INTERMEDIATE CODE: A971007

Effective date: 20131206

A131 Notification of reasons for refusal

Free format text: JAPANESE INTERMEDIATE CODE: A131

Effective date: 20131217

A521 Written amendment

Free format text: JAPANESE INTERMEDIATE CODE: A523

Effective date: 20140110

TRDD Decision of grant or rejection written
A01 Written decision to grant a patent or to grant a registration (utility model)

Free format text: JAPANESE INTERMEDIATE CODE: A01

Effective date: 20140701

A61 First payment of annual fees (during grant procedure)

Free format text: JAPANESE INTERMEDIATE CODE: A61

Effective date: 20140708

R150 Certificate of patent or registration of utility model

Ref document number: 5579110

Country of ref document: JP

Free format text: JAPANESE INTERMEDIATE CODE: R150

R250 Receipt of annual fees

Free format text: JAPANESE INTERMEDIATE CODE: R250

LAPS Cancellation because of no payment of annual fees