JP5437005B2 - 印字装置 - Google Patents

印字装置 Download PDF

Info

Publication number
JP5437005B2
JP5437005B2 JP2009226960A JP2009226960A JP5437005B2 JP 5437005 B2 JP5437005 B2 JP 5437005B2 JP 2009226960 A JP2009226960 A JP 2009226960A JP 2009226960 A JP2009226960 A JP 2009226960A JP 5437005 B2 JP5437005 B2 JP 5437005B2
Authority
JP
Japan
Prior art keywords
colorimeter
curtain
print head
print
printing apparatus
Prior art date
Legal status (The legal status is an assumption and is not a legal conclusion. Google has not performed a legal analysis and makes no representation as to the accuracy of the status listed.)
Expired - Fee Related
Application number
JP2009226960A
Other languages
English (en)
Other versions
JP2011073275A (ja
Inventor
剛 並木
広宣 枡岡
信吾 横内
Current Assignee (The listed assignees may be inaccurate. Google has not performed a legal analysis and makes no representation or warranty as to the accuracy of the list.)
Mutoh Industries Ltd
Original Assignee
Mutoh Industries Ltd
Priority date (The priority date is an assumption and is not a legal conclusion. Google has not performed a legal analysis and makes no representation as to the accuracy of the date listed.)
Filing date
Publication date
Application filed by Mutoh Industries Ltd filed Critical Mutoh Industries Ltd
Priority to JP2009226960A priority Critical patent/JP5437005B2/ja
Publication of JP2011073275A publication Critical patent/JP2011073275A/ja
Application granted granted Critical
Publication of JP5437005B2 publication Critical patent/JP5437005B2/ja
Expired - Fee Related legal-status Critical Current
Anticipated expiration legal-status Critical

Links

Images

Landscapes

  • Ink Jet (AREA)
  • Accessory Devices And Overall Control Thereof (AREA)

Description

本発明は、印字ヘッド側に測色器を取り付けて印字媒体に印字されたカラーパッチ(色見本)を測色することができる機能を備えた印字装置に関する。
測色器によって被記録材に記録された測色用パターンを測色する測色装置ユニット及び該測色装置ユニットを備えた記録装置が従来知られている(例えば特許文献1参照)。
また、水性インクのインクジェット印字装置において、印字ヘッド側に測色器を脱着可能に取り付けることができる製品が知られている。
特開2008−281549号公報
印字装置の印字ヘッドに測色器を取り付けて、測色器により用紙搬送面上のカラーパッチを読み取る場合、機体に設けたカバーの下端と用紙搬送面との間に形成される窓などによって、用紙搬送面に外乱光が入り込んでしまい、これが測色データの精度に影響してしまうという問題点がある。
本発明の主たる発明は、カラーパッチ読み取り時、用紙搬送面に外乱光が入らないようにすることである。また、本発明の他の目的は、測色器の読取り部に外乱光が入りこむのを極力抑えることである。
上記目的を達成するため本発明は、印字ヘッド側に測色器を備え、コントローラの制御により、印字ヘッドと印字媒体とを相対移動させて印字媒体に印字を行う印字装置であって、機体に前記印字ヘッドの移動経路内への光の侵入を遮断する光遮断手段を設け、前記印字ヘッド側に取り付けた測色器によって対象物を読み取るとき、測色器の読取部に光が入らないようにしたものである。
また本発明は、前記光遮断手段は、前記機体に形成される前記印字ヘッド側に取り付けた測色器の読み取り部に光りが入り込む隙間を幕で覆って遮断する構成としたことを特徴とする。
また本発明は、前記光遮断手段は、機体の上部に幕の上端を取り付け、該幕を機体の前面に垂らし、該幕の下端を印字媒体に接触させるようにしたものである。
また本発明は、前記光遮断手段は、機体の上部に幕の上端を取り付け、該幕を機体の前面に垂らし、該幕の下端を自重により、印字媒体に接触させ、印字媒体と機体の前面に設けられた開閉カバーとの間に形成される隙間を遮蔽するようにしたものである。
また本発明は、前記光遮断手段は、機体の上部に幕の上端を取り付け、該幕を機体の前面に垂らし、該幕の下端を自重により、印字媒体に接触させ、印字媒体と機体の前面に設けられた開閉カバーの下端との間に形成される隙間と、該開閉カバーの上端と機体との間に形成される隙間とを遮蔽するようにしたものである。
また本発明は、前記光遮断手段は、前記幕の他に機体の後部の光侵入開放部を塞ぐ後部用の幕から成り、該幕の上部を前記機体の背面部に取り付け、該幕の下端を印字媒体の上面に接触させたものである。
また本発明は、前記光遮断手段は、測色器の読取部に筒体を嵌合して成ることを特徴とする。
また本発明は、前記印字ヘッド側に測色器を脱着可能に連結するためのコネクタ部を設けたものである。
本発明は、用紙搬送面の読み取り領域を幕により暗室としたので外部から光が入るのを防止でき、また、測色器の読取り部をカバーで囲うことにより、外乱光の影響を極力抑えることができる。
印字装置の全体外観図である。 印字装置の全体外観図である。 印字装置の一部の外観図である。 印字装置の一部の外観図である。 測色器の説明図である。 測色器の側面図である。 印字装置の断面説明図である。 印字装置の動作を示すフローチャートである。 印字装置の動作を示すフローチャートである。 印字装置の動作を示すフローチャートである。 印字装置の動作を示すフローチャートである。 印字装置の動作を示すフローチャートである。
以下に本発明の構成を添付した図面を参照して詳細に説明する。
インクジェット印字装置2は、図2に示すように、機体4が脚体6に支承され、機体4に用紙などの印字媒体8を機体4の前後方向(副走査方向)に案内するプラテンなどの搬送路板10と、印字ヘッド12を横方向(主走査方向)に案内するY軸レール14が取り付けられている。前記搬送路板10は、図7に示すようにプラテン10aと前方ガイド10bと後方ガイド10cとから構成されている。プラテン10aには用紙を温めるためのヒーター15が設けられている。前記機体4には、前記Y軸レール14の前方を遮蔽するためのカバー16が開閉自在に取り付けられている。カバー16は図7に示すように通常は閉じられているが、カバー16の内側を図示するため、図2は、カバー16を開いた状態を示している。インクジェット印字装置2のコントローラは、コンピュータ18と接続し、コンピュータ18から入出力インターフェースを介して、イメージデータを受信し、印字ヘッド12から用紙などの印字媒体8に印刷処理をする。コンピュータ18は、印刷出力すべき原カラーイメージデータを生成する。
前記機体4の後方側には、図7に示すようにロール紙のロール部が装着されたロール紙供給スクローラ20が支持されている。機体4に、床面に対して水平に支持されたY軸レール14には、キャリッジを介して、インク吐出ノズルを備えた印字ヘッド12が移動可能に取り付けられ、印字ヘッド12は、Y軸駆動モータに連結する無端状のスチールベルトを介して、機体4に配設されたY軸駆動装置に連係している。プラテン10aとガイド10cとの間にはスリットが形成され、該スリットに駆動ローラ22が配設されている。駆動ローラ22は、機体4に配設されたX軸駆動装置に連係している。前記Y軸レール14には、用紙の搬送範囲に亘って複数のピンチローラ24が弾発機構を介して昇降可能に取り付けられ、該ピンチローラ24は、前記駆動ローラ22の表面から離反した状態と、該表面に水平に弾接した状態のいずれか一方の状態に設定し得るように構成されている。前記機体4の一側部には、図2に示すようにカバーによって覆われ、プラテン15上の印字領域と対面する側が開放されたメンテナンスボックス26が設けられ、該ボックス26の前面の上面部分にはコントローラに接続する制御パネル28が配設されており、操作者は装置に対する指示をこの制御パネル28から行う事ができる。該ボックス26は、ボックスを前方に開放する開閉カバー26aを備えている。
また、ボックス26内には、ここに移動させた印字ヘッド12のメンテナンスを行うためのクリーニングワイパやヘッドキャップユニットから成るヘッドクリーニング装置が配設され、ここに移動させた印字ヘッド12の下面やインク吐出ノズル面の清掃を行うように構成されている。印字ヘッド12は、メンテナンスボックス26内の所定の位置例えばノズルキャピング位置に待機するように設定されている。機体4の他方側には、カバーで覆われ、印字領域と対面する側が開放された印字ヘッドの維持・管理・保守のために使用されるメンテナンスボックス30が設けられ、該ボックス30は、メンテナンスボックス30内を前方に開放する開閉カバー30aを備えている。メンテナンスボックス30では測色器40で白基準色の読み取りを行うため、カバーが閉じられた状態においてはカバーの隙間等から外からの光が入り込まないような構造になっており、場所として暗室とし、安定した状態を提供できる機能を有している。メンテナンスボックス30内には、図3に示すように台32が設けられ、これにプレートホルダー34が固設されている。プレートホルダー34には、基準合わせ(キャリブレーション)用の白基準色が着色された白基準着色面36を有するプレート38が脱着可能に保持されている。前記印字ヘッド12は、プラテン10a上の印字領域と、メンテンスボックス26内の印字ヘッド待機非印字領域と、メンテナンスボックス30内の非印字領域に移動できるように前記Y軸レール14に支持されている。
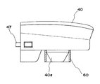
前記印字ヘッド12には測色器取り付け部39が設けられ、図3に示すように、測色器40のコネクタ部と脱着可能に接続するためのコネクタ部42が設けられている。印字ヘッド12の前面と測色器40との間には、ピン54,47とそれに対応するピン穴とからなる、脱着可能な結合手段が設けられている。本実施形態で使用される測色器40は、図5に示すように、手動用の測色器としても使用できるように構成されている。測色器40は、手操作用のグリップ44と結合可能に構成され、グリップ44のピン46を、測色器40側のピン穴に差し込み、測色器40側のピン47をグリップ44側のピン穴に差し込むことで、互いに脱着可能に結合し、この結合で測色器40のコネクタ部とグリップ44のコネクタ部が接続し、グリップ44に設けられたコネクタ部が測色器40のコネクタ部を介して測色器40の内部回路に接続する。グリップ44のコネクタ部に接続するコードには、コンピュータ用のコネクタ部が接続し、このコネクタ部をコンピュータに差し込むことで、測色器40をコンピュータに接続することができる。グリップ44のコネクタ部を無線でコンピュータに接続するようにしても良い。図5Bは、測色器ホルダー48の平面図を示し、該ホルダー48は、グリップ44と測色器40を脱着自在に保持する保持部50と、キャリブレーション用の白基準着色面52を備え、グリップ44の付いた測色器40を、測色器ホルダー48の保持部50に保持させると、丁度測色器40の読取部40aが、白基準着色面52に所定の間隔を存して対向し、白基準着色面52の色を読みとることができるように構成されている。前記印字ヘッド12の測色器取付部39には、コネクタ部42に測色器40やコネクタカバー(図示省略)が取り付けられているか否かを検出するためのセンサ43が設けられている。なお、本実施形態では、前記コネクタ部42は、印字ヘッド12に設けられた測色器取り付け部39に設けているが、印字ヘッド12の前面に直接設けても良く、また印字ヘッド12と一体的な部材あるいはこれと連動する部材、印字ヘッド12の側面に設けてもよい。
次に本実施形態の動作について図8乃至図12に示すフローチャートを参照して説明する。
機体4に格納されたコントローラと接続するコンピュータ18には、インクジェットプリンタで印刷を行うために必要な画像データの処理を行うことができるプログラム等が格納されており、いろいろな画像処理、印字データの加工などが行えるようになっている。また印字装置2に対しての測色を行う場合の指示をするためのプログラムや、測色器40からの読み取られたデータに基づき測色器のホワイトキャリブレーションを行う機能、カラーパッチの印字データの作成やカラーパッチ印字データの送信、測色器40からのカラーパッチの測定結果を取り込み、印刷に指定した色と読み取られた結果との比較をし、必要なデータの修正を行うことができるプログラムなどを有している。
まず、図8において、印字装置2の電源をオンとする(ステップ1)と、必要な初期動作のシーケンスを作動させ、一通りの処理が終了した時点で、制御パネル28に印刷準備OKの表示がでる(ステップ2)。
次に、操作者は、図2に示すように、カバー16を開けて、レバー操作により、ピンチローラ24を、駆動ローラ22から上昇させる。次に、ロール紙供給スクローラ20からロール紙(印字媒体)を、プラテン10a上に引き出し、該状態で、ピンチローラ24を下降させ、印字媒体を、ピンチローラ24と駆動ローラ22とで挟持し、プラテン10a上に印字媒体8をセットし、カバー16を閉じる。カバー16が開いた状態では印字はできないように安全面からの設計がされているため、カバー16を閉じることで印字媒体のセットが完了し(ステップ3)、コントローラは、印刷モードで待機する。(ステップ4)。通常の使用においては印字装置には印刷データが送信されてくるので、測色モード移行コマンドの受け取りはされないため、判断ステップ5で、測色モード移行コマンドなしを確認し、コントローラは、コンピュータ18から印刷データを受信し(ステップ10)、次に、ヒーター15をオンとし、ヒーター15が温まってから印刷を開始する(ステップ11)。本実施形態では、溶剤系のインクを使用した印刷を行うためにプラテン10a等にヒータ15を用いてインクの乾燥(定着)の促進をしている。送信されてきた印刷データの印刷を終了し(ステップ12)、次に印刷データがあれば、そのデータを印刷し、印刷データが無い場合は印刷モード(ステップ4)で待機する。なおしばらくは使用をしない場合には電源をオフとする(ステップ13)。
操作者はコンピュータ18から測色モードへの移行を印字装置に指定し、コントローラは、測色モード移行コマンドをコンピュータ18から受け取り、これを確認すると(ステップ5)、測色モードに移行し、測色モードで待機する(ステップ6)。印字装置2が測色モードに移行すると、測色モードコマンドと一緒にインク乾燥時間の指定情報、カラーパッチの数、その他、必要な情報がコンピュータ18から印字装置2のコントローラに入力される。
次にコンピュータ18よりカラーパッチの印刷を指示してカラーパッチの印刷データを送信する。
コントローラがカラーパッチ印刷データを受信すると(ステップ7)、ヒーター15をオンとし、ヒーター15が温まってから、印字ヘッド12を印字領域内でY軸レール14に沿って主走査方向に駆動し、印字媒体8をX軸方向(副走査方向)に送ってカラーパッチ52即ち色見本の印刷を開始する(ステップ8)。カラーパッチ52は複数の色を個々のエリアに分けて用紙に印字させたものであり、印刷がされた位置のデータはコンピュータ18に記憶されているので、後に使用する測色器40でカラーパッチ52を読み取るときには、その位置データを使用して個々の色を一つづつ移動しながら読み取っていく。カラーパッチ52の印刷が完了すると(ステップ9)、印字ヘッド12は、メンテナンスボックス26内のホームポジションに戻り待機する。ステップ9でカラーパッチ52の印刷が終了すると、図9に示すように、制御パネル28に測色器40の取付を指示する表示が出される(ステップ14)。測色器40を取り付ける場合には、操作者は制御パネル28から取り付けのコマンドを入力し、コントローラは、この指示の入力を受けると、印字ヘッド12をメンテナンスボックス26内のキャッピング位置(ホームポジション)からY軸レール14に沿ってホームポジションの反対側の、メンテナンスボックス30内に移動する(ステップ15)。操作者は、図3に示すように、メンテナンスボックス30のカバー30aを開け、メンテナンスボックス30の前面を開放し、印字ヘッド12に設けられた測色器取り付け部39のコネクタ部42に脱着自在に取り付けられたコネクタ部保護用のコネクタカバー(図示省略)を外す(ステップ17)。
次に操作者は、測色器40のピン47を、印字ヘッド12側のピン穴(図示省略)に合わせ、印字ヘッド12側のピン54を測色器40側のピン穴(図示省略)に合わせて、これらピン54,47を対応するピン穴に差し込み、測色器40を印字ヘッド12に結合する(ステップ18)。該状態において、測色器40のコネクタ部は、印字ヘッド12側のコネクタ部42に接続する。このとき接触センサ43も一緒に押されるため、何かが取り付けられた事をコントローラは認識する。なお接触センサ43はコネクタカバーを取り付けたときにも接触できる位置に存在している。このとき、操作者は、裏面が上になってプレートホルダー34に保持されているプレート38を反転させ、白基準着色面36を上にして、図4に示すように、プレート38をプレートホルダー34にセットする(ステップ19)。このときプレート38を裏返す作業が必要になるので、移動してきた印字ヘッド12は、プレート38と測色器40とが重ならないような位置関係をもって停止をしている。なおコネクタ部42は測色器が取り付けられた位置でそのまま媒体の読み取りができるような高さに設定がされている。次に、カバー30aを閉め(ステップ20)、メンテナンスボックス30内を遮光状態にする。
このとき、図1,7に示すように、暗幕56を垂れ下げて、カバー16と搬送路板10上の印字媒体8との間に形成される隙間である窓67および、カバー16と機体4との間にできる隙間を遮蔽する。機体4の後方の開放部は予め暗幕58で遮蔽されている。このとき、操作者が制御パネル28から白基準の読み取りを指示すると(ステップ21)、コントローラは、印字ヘッド12を、Y軸レール14に沿ってメンテナンスボックス30の奥方向に移動し、測色器40の読取部40aを、プレート38の白基準着色面36の上に移動させる。これにより、読取部40aは、所定の間隔を存して、白基準着色面36に対向する。コントローラの制御により測色器40は、白基準着色面36を読み取る(ステップ22)。この読取情報は、印字装置を経由してコンピュータ18に送られ測色器40のキャリブレーションに使用される。なおコンピュータ18には測色器40の白基準着色面36を読み取った値が想定している規定値でない場合には、規定値になるように測色器40のパラメータを変更させる機能がある。次に、コントローラの制御により、印字ヘッド12は、Y軸レール14に沿って反対方向に移動し、メンテナンスボックス26内のヘッド待機位置即ちキャッピング位置に移動する(ステップ23)。
次に、図10に示すように、操作者が制御パネル28からカラーパッチ52の読み取りを指示すると(ステップ24)、コントローラは、指定されたインク乾燥時間後に、ヒーター15をオフとし、カラーパッチ52の読取りを開始する(ステップ25)。コントローラは、印字ヘッド12と印字媒体8とを相対移動制御し、測色器40をカラーパッチ52の各色欄に順次移動して、カラーパッチ52の各色の読み取りを行い、コンピュータ18にデータを転送する(ステップ26)。測色器40での読み取りは、印字されたカラーパッチ52が印字位置より用紙搬送方向においては下流側にあるので、用紙は搬送方向上流側に戻すことにより行う。基本的な動作としては、印字ヘッド12の移動によりY軸方向の読み取りを行い、その一列の端までの読み取りが終了した場合には、用紙を上流方向に搬送して次の列の読み取りを行い、その作業を繰り返していく。カラーパッチ52の読み取りが終了したところで(ステップ27)、図11に示すように、コントローラは、制御パネル28に、測色器40の取り外しを指示する表示を出す(ステップ28)。測色器40を取り外す場合には、操作者は制御パネル28から取り外しのコマンドを入力し、コントローラは、その指示の入力を受けると、印字ヘッド12を、メンテナンスボックス30内の所定の測色器取り外し位置まで移動する(ステップ29)。
次に、操作者は、メンテナンスボックス30のカバー30aを開け(ステップ30)、印字ヘッド12から測色器40を取り外し、コネクタ部42にコネクタカバー(図示省略)を付ける(ステップ32)。次に、インクミストによって白色基準着色面36が汚れないように、プレート38を反転し、白基準着色面36を下にしてプレート38を、プレートホルダー34にセットする(ステップ33)。次に操作者がカバー30aを閉め(ステップ34)制御パネル28から作業終了を指示すると、コントローラの制御により、印字ヘッド12が反対側のヘッド待機位置に戻り(ステップ35)、測色モードを終了する(ステップ36)。次に、図8のステップ4に戻り、印刷モードで待機する。
コントローラ側では、印字ヘッド12に測色器40が付いた状態で印字しないように、判断モードが働くように設定されている。コントローラが判断モードに図12に示すラベル37から入り、判断モードR37が動作すると、コントローラは、印字ヘッド12に何か付いているか否か、即ち、本実施形態では、測色器40やコネクタカバーの付いてない状態が、印字ヘッド12に何も付いていない状態でありコントローラは、この状態を確認する動作に入る(ステップ38)。この確認動作は、印字ヘッド12に、測色器40やコネクタカバーが付いたときに、これらに接触して反応するセンサ43のオンオフで確認する(ステップ39)。コントローラは、接触センサがオンであると判断すると、何が付いているかを確認する(ステップ40)。次に電気的に確認が可能かどうか判断し、否定を判断した場合は、コネクタカバーが付いていると認識し(ステップ42)、問題なしと判断して、コントローラは、印刷モードで待機する状態に入る(ステップ43)。判断ステップ41で肯定を判断すると(測色器40が付いている場合には測色器40のコネクタが接続されているため電気的に存在の確認が可能)、コントローラは、印字ヘッド12に測色器40が付いていると認識し(ステップ44)、制御パネル28で測色器40の取り外しを指示し(ステップ45)、コントローラに印刷データが入ってきても、エラー表示にして印刷はさせないようにし、ステップ39に戻る。
また、ステップ39で、接触センサのオフを確認すると、印字ヘッド12には、何も付いていないと認識し(ステップ46)、コントローラは、制御パネル28で、印字ヘッド12にコネクタカバーを付けるように指示する(ステップ47)。操作者がコネクタカバーを取り付けると(ステップ48)、コントローラは、ステップ39に戻る。本実施形態では、測色器40のキャリブレーションのため、測色器40がメンテナンスボックス30内で、プレート38の白基準着色面36を読み取るとき、また、測色器40がカラーパッチ52を読み取るとき、部屋の明かりなどの外乱光が、読み取りの値に影響を与えないように、印字装置2の前後に図5,7に示すように、シート状部材からなる暗幕56,58を付けている。又、測色器40は、図6に示すように、読取部40aに遮光用の筒状のカバー60を付けるようにしても良い。読取部40aに設けた遮光用のカバー60は、測色器40を手動により操作するときに特に有効である。前方の暗幕56は、図7に示すように、機体4の上面に、開閉カバー16のヒンジ部62を覆うように配置され、上端縁部56aが、ヒンジ部62の後方に位置して、機体4の上面に設けられたマジックテープ(登録商標)などの連結部材64に脱着自在に連結している。なお連結部材には磁石などその他の連結部材を用いてもよく、またねじ止めなどにより装置に直接取り付けたり、シートを巻き取る構造などを設けても良い。暗幕56は、開閉カバー16のヒンジ部62の近傍に形成される開閉カバー16の上端縁部と機体4との間の隙間66や開閉カバー16の両端部とメンテナンスボックス26,30との間にできる隙間と、開閉カバー16の下端縁と、前方ガイド10b上面との間に形成される用紙通過用の窓67あるいは透明なのぞき窓を遮蔽するように配置されている。暗幕56の下端縁56aは、前方ガイド10b上のカラーパッチ52が印刷された印字媒体8の上面に接触するため、暗幕56は、帯電しない(帯電しにくい)素材であり、しかも柔軟性があり、遮光性のあるシート素材を採用している。
これにより、用紙などの印字媒体との接触による静電気の発生を防止している。カラーパッチ52の印刷範囲が大きくなる場合には、暗幕56の外側にも印字面が表出するので、そこでゴミなどがカラーパッチ52の印刷表面に付着するのを防ぐ。又、柔軟性を持つ素材を採用することで、印字面を傷つけないようにしている。機体4の後部の、後部ガイド10cと機体4の後部壁底面4aとの間に形成される開放部は、底面4aに連結部材を介して、脱着自在に取り付けられた後部暗幕58により遮蔽されている。後部暗幕58の下端縁は、後方ガイド10c上の用紙の上面に、自重により接触するように配置されている。暗幕58は、暗幕56と同一の材料により構成されている。暗幕56は使用しない場合には取り外すことができ、また取り外すことが面倒な場合には、柔軟性がある素材であるため、機体4の上部にある平端部に折り畳んで収納しておくこともできる。また暗幕は装置全体を覆う構造にしても良い。
2 印字装置
4 機体
6 脚体
8 印字媒体
10 搬送路板
10a プラテン
10b 前方ガイド
10c 後方ガイド
12 印字ヘッド
14 Y軸レール
15 ヒータ
16 カバー
18 コンピュータ
20 ロール紙供給スクローラ
22 駆動ローラ
24 ピンチローラ
26 メンテナンスボックス
28 制御パネル
30 メンテナンスボックス
30a カバー
32 台
34 プレートホルダー
36 白基準着色面
38 プレート
39 測色器取り付け部
40 測色器
40a 読取部
42 コネクタ部
43 センサ
44 グリップ
46 ピン
47 ピン
48 測色器ホルダー
50 保持部
52 カラーパッチ
54 ピン
56 暗幕
58 暗幕
60 カバー
62 ヒンジ部
64 連結部材
66 隙間

Claims (4)

  1. 印字ヘッド側に測色器を備え、コントローラの制御により、印字ヘッドと印字媒体とを相対移動させて印字媒体に印字を行う印字装置であって、機体に前記印字ヘッドの移動経路内への光の侵入を遮断する光遮断手段を設け、前記印字ヘッド側に取り付けた測色器によって対象物を読み取るとき、測色器の読取部に光が入らないようにし、前記光遮断手段は、機体の上部に幕の上端を取り付け、該幕を機体の前面に垂らし、該幕の下端を自重により、印字媒体に接触させ、印字媒体と機体の前面に設けられた開閉カバーの下端との間に形成される隙間と、該開閉カバーの上端と機体との間に形成される隙間とを遮蔽するようにしたことを特徴とする印字装置。
  2. 前記光遮断手段は、前記幕の他に機体の後部の光侵入開放部を塞ぐ後部用の幕から成り、該幕の上部を前記機体の背面部に取り付け、該幕の下端を印字媒体の上面に接触させたことを特徴とする請求項1に記載の印字装置。
  3. 前記光遮断手段は、前記幕の他に測色器の読取部に嵌合された筒体から成ることを特徴とする請求項1に記載の印字装置。
  4. 前記印字ヘッド側に測色器を脱着可能に連結するためのコネクタ部を設けたことを特徴とする請求項1に記載の印字装置。
JP2009226960A 2009-09-30 2009-09-30 印字装置 Expired - Fee Related JP5437005B2 (ja)

Priority Applications (1)

Application Number Priority Date Filing Date Title
JP2009226960A JP5437005B2 (ja) 2009-09-30 2009-09-30 印字装置

Applications Claiming Priority (1)

Application Number Priority Date Filing Date Title
JP2009226960A JP5437005B2 (ja) 2009-09-30 2009-09-30 印字装置

Publications (2)

Publication Number Publication Date
JP2011073275A JP2011073275A (ja) 2011-04-14
JP5437005B2 true JP5437005B2 (ja) 2014-03-12

Family

ID=44017787

Family Applications (1)

Application Number Title Priority Date Filing Date
JP2009226960A Expired - Fee Related JP5437005B2 (ja) 2009-09-30 2009-09-30 印字装置

Country Status (1)

Country Link
JP (1) JP5437005B2 (ja)

Families Citing this family (4)

* Cited by examiner, † Cited by third party
Publication number Priority date Publication date Assignee Title
JP5803374B2 (ja) 2011-07-21 2015-11-04 セイコーエプソン株式会社 記録装置
JP6213161B2 (ja) * 2013-10-31 2017-10-18 株式会社リコー 画像形成装置、校正部材及び制御装置
JP6492838B2 (ja) 2015-03-23 2019-04-03 セイコーエプソン株式会社 分光測定装置、画像形成装置、及び分光測定方法
JP2023134926A (ja) 2022-03-15 2023-09-28 セイコーエプソン株式会社 記録装置

Family Cites Families (4)

* Cited by examiner, † Cited by third party
Publication number Priority date Publication date Assignee Title
JP3453525B2 (ja) * 1998-08-31 2003-10-06 キヤノン株式会社 記録装置
US6655778B2 (en) * 2001-10-02 2003-12-02 Hewlett-Packard Development Company, L.P. Calibrating system for a compact optical sensor
JP2007090747A (ja) * 2005-09-29 2007-04-12 Fujifilm Corp インクジェット記録装置
JP2008281549A (ja) * 2007-04-13 2008-11-20 Seiko Epson Corp 測色装置ユニット及び記録装置

Also Published As

Publication number Publication date
JP2011073275A (ja) 2011-04-14

Similar Documents

Publication Publication Date Title
JP5437005B2 (ja) 印字装置
EP2386417B1 (en) Image forming apparatus including droplet-ejection recording head
JP7484263B2 (ja) 画像記録装置、システムおよびプログラム
JP5314551B2 (ja) 印字装置
CN112571947A (zh) 印刷装置、印刷装置的控制方法以及存储介质
JP5736950B2 (ja) 画像形成装置
JP5314552B2 (ja) 印字装置
EP2723574B1 (en) Print station
JP2019171642A (ja) インクジェット記録装置、該インクジェット記録装置の制御装置、インクジェット記録装置の検知範囲選択制御方法、検知範囲選択制御プログラム、及び記憶媒体
JP5757780B2 (ja) 印刷装置及び印刷装置を使用した比較情報表示方法
JP6642396B2 (ja) インクジェット記録装置
JP4491301B2 (ja) インクジェット記録装置及びその制御方法
JP7013763B2 (ja) 払拭装置及び液滴吐出装置
US20080212143A1 (en) Image recording apparatus and method for restoring recording head for image recording apparatus
JP6374204B2 (ja) インクジェットプリンター
JP2004230802A (ja) 記録装置
JP2014097665A (ja) 画像形成装置
CN102673195B (zh) 图像形成装置
KR101592248B1 (ko) 롤 용지 인쇄 장치
JP5754956B2 (ja) プリンタの情報表示器
JP2009131968A (ja) 画像形成装置
JP2005001386A (ja) 小滴配置標本化装置および試験媒体ホルダおよび小滴配置補正方法
JP2018171790A (ja) 印刷装置
JP5012623B2 (ja) 画像記録装置
JP2017056660A (ja) プリンタ及びキャリッジ駆動手段の制御方法

Legal Events

Date Code Title Description
A621 Written request for application examination

Free format text: JAPANESE INTERMEDIATE CODE: A621

Effective date: 20120730

A131 Notification of reasons for refusal

Free format text: JAPANESE INTERMEDIATE CODE: A131

Effective date: 20130628

A977 Report on retrieval

Free format text: JAPANESE INTERMEDIATE CODE: A971007

Effective date: 20130628

A521 Written amendment

Free format text: JAPANESE INTERMEDIATE CODE: A523

Effective date: 20130709

A131 Notification of reasons for refusal

Free format text: JAPANESE INTERMEDIATE CODE: A131

Effective date: 20130913

A521 Written amendment

Free format text: JAPANESE INTERMEDIATE CODE: A523

Effective date: 20130926

TRDD Decision of grant or rejection written
A01 Written decision to grant a patent or to grant a registration (utility model)

Free format text: JAPANESE INTERMEDIATE CODE: A01

Effective date: 20131127

A61 First payment of annual fees (during grant procedure)

Free format text: JAPANESE INTERMEDIATE CODE: A61

Effective date: 20131211

R150 Certificate of patent or registration of utility model

Ref document number: 5437005

Country of ref document: JP

Free format text: JAPANESE INTERMEDIATE CODE: R150

Free format text: JAPANESE INTERMEDIATE CODE: R150

R250 Receipt of annual fees

Free format text: JAPANESE INTERMEDIATE CODE: R250

LAPS Cancellation because of no payment of annual fees