JP5407974B2 - 動画像符号化装置及び動きベクトル検出方法 - Google Patents
動画像符号化装置及び動きベクトル検出方法 Download PDFInfo
- Publication number
- JP5407974B2 JP5407974B2 JP2010068196A JP2010068196A JP5407974B2 JP 5407974 B2 JP5407974 B2 JP 5407974B2 JP 2010068196 A JP2010068196 A JP 2010068196A JP 2010068196 A JP2010068196 A JP 2010068196A JP 5407974 B2 JP5407974 B2 JP 5407974B2
- Authority
- JP
- Japan
- Prior art keywords
- motion vector
- prediction
- image
- unit
- picture
- Prior art date
- Legal status (The legal status is an assumption and is not a legal conclusion. Google has not performed a legal analysis and makes no representation as to the accuracy of the status listed.)
- Expired - Fee Related
Links
Images
Landscapes
- Compression Or Coding Systems Of Tv Signals (AREA)
- Image Analysis (AREA)
Description
たとえば、画素値のばらつきが大きい原画像から、画素を一定間隔で間引いたり、一定領域ごとの画素値を平均化して生成した縮小画像を用いてSADを計算すると、正しい動きベクトルが得られない可能性があるからである。
この動画像符号化装置は、符号化対象の画像を縮小した縮小画像を用いて第1の動きベクトルの検出を行う第1の動きベクトル検出部と、検出された前記第1の動きベクトルの確からしさを判定する動きベクトル判定部と、確からしさの判定結果をもとに、正しいと判定された前記第1の動きベクトルの予測方向を選択する予測方向選択部と、元の前記画像において、選択された前記予測方向で第2の動きベクトルの検出を行う第2の動きベクトル検出部と、を有する。
この動きベクトル検出方法は、符号化対象の画像を縮小した縮小画像を用いて第1の動きベクトルの検出を行い、検出された前記第1の動きベクトルの確からしさを判定し、確からしさの判定結果をもとに、正しいと判定された前記第1の動きベクトルの予測方向を選択し、元の前記画像において、選択された前記予測方向で第2の動きベクトルの検出を行う。
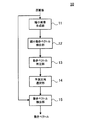
図1は、本実施の形態の動画像符号化装置の主要部の構成を示す図である。
動画像符号化装置10は、縮小画像生成部11、縮小動きベクトル検出部12、動きベクトル判定部13、予測方向選択部14、動きベクトル検出部15を有している。
このように、本実施の形態の動画像符号化装置10は、縮小画像をもとに検出されたベクトルの確からしさを判定して、正しいと判定された動きベクトルの予測方向で、元の画像の動きベクトルの検出を行う。これにより、動きベクトル検出の際の予測方向を限定できるため、演算量を削減できる。また、縮小画像をもとに検出されたベクトルの確からしさを判定して、正しいと判定された動きベクトルの予測方向を用いるため、精度よく動きベクトルを検出でき、画質の劣化を抑制できる。
図2は、動きベクトル検出方法の一例を示すフローチャートである。
図3は、ピクチャの並びの一例を示す図である。
図中の白丸と黒丸は画素を示しており、黒丸の画素は縮小画像の生成の際にサンプリングされる画素を示している。また、横軸がx方向の画素の位置、縦軸がy方向の画素の位置を示している。
上記のように、低周波通過フィルタを通すことで、高周波成分の折り返し歪みや、ノイズの影響を抑制した縮小画像を生成することができ、後述する縮小動きベクトルの検出精度が高まる。
次に、縮小動きベクトル検出部12は、処理対象マクロブロックに対して、後方向予測による動きベクトル検出を行う(ステップS4)。
こうして検出された各方向の動きベクトルの情報は、たとえば、図示しないメモリなどに保持される。
ここでは、縮小画像におけるマクロブロック30の動きベクトルMVの確からしさを判定する例を示す。図5では、動きベクトルMVのx成分及びy成分を(x,y)と示している。
x方向の最小値は、MINx=MIN(x1,x2,x3,x4)、y方向の最小値は、MINy=MIN(y1,y2,y3,y4)と表す。x方向の最大値は、MAXx=MAX(x1,x2,x3,x4)、y方向の最大値は、MAXy=MAX(y1,y2,y3,y4)と表す。
動きベクトル判定部13は、上記のような判定処理を、前方向予測に基づいて検出された動きベクトルと、後方向予測に基づいて検出された動きベクトルの両方について行う。
図6は、予測方向の選択処理の流れを示すフローチャートである。
まず、予測方向選択部14は、ステップS8の処理の結果、前方向予測と後方向予測に基づき検出された動きベクトルMVが、両方正しいと判断されたか否かを判定する(ステップS30)。ここで、両方の動きベクトルが正しいと判断された場合にはステップS36の処理が行われ、何れか一方または両方の動きベクトルMVが正しくない場合には、ステップS31の処理が行われる。
動きベクトル検出部15は、ステップS9の処理の結果、選択された予測方向が前方向、すなわち、Flag_fwd=1であるか否か判定する(ステップS50)。Flag_fwd=1である場合、動きベクトル検出部15は、処理対象マクロブロックに対応する等倍のマクロブロック(16×16画素)に対して、前方向予測で動きベクトルの検出を行う(ステップS51)。
矢印aは前方向予測の方向を示しており、矢印bは後方向予測の予測方向を示している。ここでの動きベクトルの検出は、16×16画素のマクロブロック20a,21a,22a,23aごとに行われる。符号化対象がB1ピクチャ21のマクロブロック21aのとき、前方向予測の参照ピクチャとしてI0/P0ピクチャ20を、後ろ方向予測の参照ピクチャとしてI3/P3ピクチャ23が使用可能である。しかし、Flag_fwd=1でFlag_bwd=0の場合には、B1ピクチャ21の動きベクトル検出には、参照ピクチャとして、I0/P0ピクチャ20が用いられ、I3/P3ピクチャ23は用いられない。また、Flag_fwd=0でFlag_bwd=1の場合には、B1ピクチャ21の動きベクトル検出には、参照ピクチャとして、I0/P0ピクチャ20が用いられ、I3/P3ピクチャ23は用いられない。このように、一方向の予測方向で動き検出が行われるので、演算量が少なくて済む。
図9は、動画像符号化装置の一例の構成を示す図である。
動画像符号化装置50は、画像並べ替え部51、予測誤差信号生成部52、整数変換部53、量子化部54、エントロピー符号化部55、逆量子化部56、逆整数変換部57、参照ピクチャ生成部58、フィルタ処理部59を有している。さらに動画像符号化装置50は、フレームメモリ60、画面内予測部61、動き検出部62、動き補償部63、予測画像選択部64を有している。なお、動画像符号化装置50の各部を制御する制御部については図示を省略している。
予測誤差信号生成部52は、並べ替えられた原画像のフレームにおいて、マクロブロックの画素データと、予測画像選択部64で選択された予測画像のマクロブロックの画素データとの差分を演算することにより、予測誤差信号を生成する。整数変換部53は、予測誤差信号生成部52からの予測誤差信号を整数変換した信号を出力する。量子化部54は、整数変換部53からの出力信号を量子化する。これにより、予測誤差信号の符号量が低減される。
画面内予測部61は、同じピクチャにおける周辺画素から、予測画像のマクロブロックを生成する。
また、縮小画像を生成する際に、原画像の画素を間引きするのではなく、一定領域ごとの画素値を平均したものを縮小画像の画素値とするようにしてもよい。
11 縮小画像生成部
12 縮小動きベクトル検出部
13 動きベクトル判定部
14 予測方向選択部
15 動きベクトル検出部
Claims (5)
- 符号化対象の画像を縮小した縮小画像を複数の領域に分割して、前記領域ごとに第1の動きベクトルの検出を行う第1の動きベクトル検出部と、
判定対象の前記第1の動きベクトルが含まれる前記領域に隣接する複数の前記領域の前記第1の動きベクトルの第1方向成分と第2方向成分の最小値または最大値と、前記判定対象の前記第1の動きベクトルの第1方向成分と第2方向成分との比較結果に基づき、前記判定対象の前記第1の動きベクトルが正しいか否かを判定することで、前記領域ごとに検出された前記第1の動きベクトルの確からしさを判定する動きベクトル判定部と、
確からしさの判定結果をもとに、正しいと判定された前記第1の動きベクトルの予測方向を選択する予測方向選択部と、
元の前記画像において、選択された前記予測方向で第2の動きベクトルの検出を行う第2の動きベクトル検出部と、
を有することを特徴とする動画像符号化装置。 - 前記予測方向選択部は、前記第1の動きベクトル検出部にて前方向予測及び後方向予測により検出されたそれぞれの前記第1の動きベクトルが、両方正しいと判定された場合、前記前方向予測時の差分絶対和と前記後方向予測時の差分絶対和の比較結果に応じて、一方の前記予測方向を選択することを特徴とする請求項1記載の動画像符号化装置。
- 前記予測方向選択部は、前記第1の動きベクトル検出部にて前方向予測及び後方向予測により検出されたそれぞれの前記第1の動きベクトルが、両方正しいと判定された場合、前記画像が存在するフレームに対して、時間的に近い位置に存在する参照ピクチャを参照する方向を前記予測方向として選択することを特徴とする請求項1または2に記載の動画像符号化装置。
- 前記前方向予測時の前記差分絶対和と、前記後方向予測時の前記差分絶対和の差分の絶対値が所定の閾値よりも小さい場合に、前記フレームに対して、時間的に近い位置に存在する前記参照ピクチャを参照する前記方向を前記予測方向として選択することを特徴とする請求項3記載の動画像符号化装置。
- 符号化対象の画像を縮小した縮小画像を複数の領域に分割して、前記領域ごとに第1の動きベクトルの検出を行い、
判定対象の前記第1の動きベクトルが含まれる前記領域に隣接する複数の前記領域の前記第1の動きベクトルの第1方向成分と第2方向成分の最小値または最大値と、前記判定対象の前記第1の動きベクトルの第1方向成分と第2方向成分との比較結果に基づき、前記判定対象の前記第1の動きベクトルが正しいか否かを判定することで、前記領域ごとに検出された前記第1の動きベクトルの確からしさを判定し、
確からしさの判定結果をもとに、正しいと判定された前記第1の動きベクトルの予測方向を選択し、
元の前記画像において、選択された前記予測方向で第2の動きベクトルの検出を行うことを特徴とする動きベクトル検出方法。
Priority Applications (1)
| Application Number | Priority Date | Filing Date | Title |
|---|---|---|---|
| JP2010068196A JP5407974B2 (ja) | 2010-03-24 | 2010-03-24 | 動画像符号化装置及び動きベクトル検出方法 |
Applications Claiming Priority (1)
| Application Number | Priority Date | Filing Date | Title |
|---|---|---|---|
| JP2010068196A JP5407974B2 (ja) | 2010-03-24 | 2010-03-24 | 動画像符号化装置及び動きベクトル検出方法 |
Publications (2)
| Publication Number | Publication Date |
|---|---|
| JP2011205212A JP2011205212A (ja) | 2011-10-13 |
| JP5407974B2 true JP5407974B2 (ja) | 2014-02-05 |
Family
ID=44881431
Family Applications (1)
| Application Number | Title | Priority Date | Filing Date |
|---|---|---|---|
| JP2010068196A Expired - Fee Related JP5407974B2 (ja) | 2010-03-24 | 2010-03-24 | 動画像符号化装置及び動きベクトル検出方法 |
Country Status (1)
| Country | Link |
|---|---|
| JP (1) | JP5407974B2 (ja) |
Families Citing this family (3)
| Publication number | Priority date | Publication date | Assignee | Title |
|---|---|---|---|---|
| JP2015216632A (ja) * | 2014-04-22 | 2015-12-03 | ソニー株式会社 | 符号化装置および符号化方法 |
| JP6390275B2 (ja) * | 2014-09-01 | 2018-09-19 | 株式会社ソシオネクスト | 符号化回路、符号化方法 |
| WO2019162988A1 (ja) | 2018-02-20 | 2019-08-29 | 株式会社ソシオネクスト | 表示制御装置、表示制御システム、表示制御方法、及びプログラム |
Family Cites Families (3)
| Publication number | Priority date | Publication date | Assignee | Title |
|---|---|---|---|---|
| JP3050736B2 (ja) * | 1993-12-13 | 2000-06-12 | シャープ株式会社 | 動画像符号化装置 |
| JP2002232892A (ja) * | 2001-02-01 | 2002-08-16 | Sony Corp | 画像符号化装置 |
| JP4166781B2 (ja) * | 2005-12-09 | 2008-10-15 | 松下電器産業株式会社 | 動きベクトル検出装置および動きベクトル検出方法 |
-
2010
- 2010-03-24 JP JP2010068196A patent/JP5407974B2/ja not_active Expired - Fee Related
Also Published As
| Publication number | Publication date |
|---|---|
| JP2011205212A (ja) | 2011-10-13 |
Similar Documents
| Publication | Publication Date | Title |
|---|---|---|
| CN110809887B (zh) | 用于多参考预测的运动矢量修正的方法和装置 | |
| US11736718B2 (en) | Search region for motion vector refinement | |
| JP6545838B2 (ja) | マージ候補ブロック誘導方法及びこのような方法を用いる装置 | |
| US9071845B2 (en) | Method and arrangement for video coding | |
| US9100664B2 (en) | Image encoding device, image decoding device, image encoding method, and image decoding method | |
| US20200236387A1 (en) | Limited memory access window for motion vector refinement | |
| KR20110008653A (ko) | 움직임 벡터 예측 방법과 이를 이용한 영상 부호화/복호화 장치 및 방법 | |
| JP2004336369A (ja) | 動画像符号化装置、動画像復号化装置、動画像符号化方法、動画像復号化方法、動画像符号化プログラム及び動画像復号化プログラム | |
| US12137210B2 (en) | Image decoding device, image decoding method, and program | |
| JP5560009B2 (ja) | 動画像符号化装置 | |
| US11290739B2 (en) | Video processing methods and apparatuses of determining motion vectors for storage in video coding systems | |
| JP4527677B2 (ja) | 動画像符号化方法、動画像符号化装置、動画像符号化プログラム | |
| JP5407974B2 (ja) | 動画像符号化装置及び動きベクトル検出方法 | |
| JP2016027724A (ja) | 動画像復号装置、動画像復号方法、及び動画像復号プログラム、並びに、受信装置、受信方法、及び受信プログラム | |
| WO2015008339A1 (ja) | 動画像符号化装置、動画像符号化方法及び動画像復号装置ならびに動画像復号方法 | |
| JP5725118B2 (ja) | 動画像復号装置、動画像復号方法、及び動画像復号プログラム、並びに、受信装置、受信方法、及び受信プログラム | |
| JP5725106B2 (ja) | 動画像復号装置、動画像復号方法及び動画像復号プログラム、並びに、受信装置、受信方法、及び受信プログラム | |
| US12010339B2 (en) | Image decoding device, image decoding method, and program | |
| US20240146932A1 (en) | Methods and non-transitory computer readable storage medium for performing subblock-based interprediction | |
| JP6493592B2 (ja) | 動画像符号化装置、動画像符号化方法、及び動画像符号化プログラム、並びに、動画像復号装置、動画像復号方法、及び動画像復号プログラム | |
| JP6311816B2 (ja) | 動画像符号化装置、動画像符号化方法及び動画像符号化プログラム、並びに、送信装置、送信方法、及び送信プログラム | |
| WO2025238445A1 (en) | Dimd coding using non-angular candidates | |
| JP2004088309A (ja) | 動きベクトル検出方法、動きベクトル検出装置、動画像符号化方法、動画像符号化装置、通信装置。 | |
| JP2014068361A (ja) | 動画像符号化装置、動画像復号化装置、動画像符号化方法、動画像復号化方法、動画像符号化プログラム及び動画像復号化プログラム |
Legal Events
| Date | Code | Title | Description |
|---|---|---|---|
| A621 | Written request for application examination |
Free format text: JAPANESE INTERMEDIATE CODE: A621 Effective date: 20130206 |
|
| A977 | Report on retrieval |
Free format text: JAPANESE INTERMEDIATE CODE: A971007 Effective date: 20130626 |
|
| A131 | Notification of reasons for refusal |
Free format text: JAPANESE INTERMEDIATE CODE: A131 Effective date: 20130702 |
|
| A977 | Report on retrieval |
Free format text: JAPANESE INTERMEDIATE CODE: A971007 Effective date: 20130822 |
|
| A521 | Written amendment |
Free format text: JAPANESE INTERMEDIATE CODE: A523 Effective date: 20130902 |
|
| A01 | Written decision to grant a patent or to grant a registration (utility model) |
Free format text: JAPANESE INTERMEDIATE CODE: A01 Effective date: 20131008 |
|
| A61 | First payment of annual fees (during grant procedure) |
Free format text: JAPANESE INTERMEDIATE CODE: A61 Effective date: 20131021 |
|
| LAPS | Cancellation because of no payment of annual fees |
