JP5407958B2 - 自動車用窓板及び自動車用窓板の結露抑制機構 - Google Patents

自動車用窓板及び自動車用窓板の結露抑制機構 Download PDF

Info

Publication number
JP5407958B2
JP5407958B2 JP2010060544A JP2010060544A JP5407958B2 JP 5407958 B2 JP5407958 B2 JP 5407958B2 JP 2010060544 A JP2010060544 A JP 2010060544A JP 2010060544 A JP2010060544 A JP 2010060544A JP 5407958 B2 JP5407958 B2 JP 5407958B2
Authority
JP
Japan
Prior art keywords
window plate
transparent conductive
conductive film
plate body
window
Prior art date
Legal status (The legal status is an assumption and is not a legal conclusion. Google has not performed a legal analysis and makes no representation as to the accuracy of the status listed.)
Expired - Fee Related
Application number
JP2010060544A
Other languages
English (en)
Other versions
JP2011194907A (ja
Inventor
耕司 池上
Current Assignee (The listed assignees may be inaccurate. Google has not performed a legal analysis and makes no representation or warranty as to the accuracy of the list.)
Nippon Electric Glass Co Ltd
Original Assignee
Nippon Electric Glass Co Ltd
Priority date (The priority date is an assumption and is not a legal conclusion. Google has not performed a legal analysis and makes no representation as to the accuracy of the date listed.)
Filing date
Publication date
Application filed by Nippon Electric Glass Co Ltd filed Critical Nippon Electric Glass Co Ltd
Priority to JP2010060544A priority Critical patent/JP5407958B2/ja
Publication of JP2011194907A publication Critical patent/JP2011194907A/ja
Application granted granted Critical
Publication of JP5407958B2 publication Critical patent/JP5407958B2/ja
Expired - Fee Related legal-status Critical Current
Anticipated expiration legal-status Critical

Links

Images

Description

本発明は、自動車用窓板及び自動車用窓板の結露抑制機構に関する。特に、本発明は、樹脂製の窓板本体を備える自動車用窓板及び自動車用窓板の結露抑制機構に関する。
従来、自動車用窓板としては、ガラス板が広く使用されている。しかしながら、ガラス板は、比重が大きいため、自動車用ガラス窓板を用いた場合、自動車の軽量化が困難になる傾向がある。このため、近年、ガラス板よりも軽量である樹脂板を自動車用ガラス窓板として用いることが検討されている(例えば、下記の特許文献1,2等)。
特開平7−149876号公報 特許第3971139号公報
しかしながら、樹脂製の自動車用窓板は、ガラス製の自動車用ガラス窓板と比べて、耐熱性が低い。このため、従来の自動車用窓板のように、熱線を窓板表面に配置することにより自動車用窓板の結露を抑制しようとすると、樹脂製の自動車用窓板が変性してしまう場合があるという問題がある。具体的には、樹脂製の自動車用窓板が変色したり、変形したりする場合がある。
本発明は、かかる点に鑑みてなされたものであり、樹脂製の窓板本体を有する自動車用窓板であって、効果的に結露を抑制することができると共に、耐久性の高い自動車用窓板を提供することにある。
本発明に係る自動車用窓板は、第1及び第2の主面を有する樹脂製の窓板本体と、窓板本体の第1の主面を覆うように設けられている透明導電膜とを備えている。
例えば、樹脂製の窓板本体の表面に、複数の熱線を等間隔に配置した場合、窓板本体の表面の隣接する熱線間の部分の温度も上昇させる必要があるため、熱線を高い温度にまで加熱する必要がある。例えば、窓板本体の表面全体を30℃以上にする必要がある場合は、熱線を30℃よりもかなり高い温度にまで加熱する必要がある。従って、樹脂製の窓板本体の表面に複数の熱線を等間隔に配置した場合は、窓板本体の表面の熱線の下に位置する部分が高温になる。その結果、樹脂製の窓板本体が変性してしまう場合がある。
それに対して、本発明では、上述の通り、透明導電膜が窓板本体の第1の主面を覆うように設けられている。このため、透明導電膜に通電して透明導電膜を発熱させることにより、自動車用窓板の全体が加熱され、窓板本体の一部の温度が高くなりすぎることがない。従って、窓板本体が熱変性し難い。すなわち、本発明の自動車用窓板は、軽量であり、効果的に結露を抑制でき、かつ、高い耐久性を有する。
なお、本発明において、「透明導電膜」は、400nm〜700nmの可視波長域における平均光透過率が、85%以上である導電膜のことをいう。
本発明において、自動車用窓板は、一方の表面上に透明導電膜が形成されているガラスシートと、透明導電膜と窓板本体とを粘着または接着している粘接着剤層とをさらに備えていることが好ましい。
この場合、透明導電膜と窓板本体との間に粘接着剤層が介在しているため、透明導電膜の熱が窓板本体に伝わり難くなる。このため、窓板本体の温度上昇を効果的に抑制することができる。従って、窓板本体の熱変性をより効果的に抑制することができる。
粘接着剤層の熱伝導率は、窓板本体の熱伝導率よりも低いことが好ましい。
この場合、透明導電膜の熱が窓板本体により伝わり難くなる。このため、窓板本体の温度上昇をより効果的に抑制することができる。従って、窓板本体の熱変性をさらに効果的に抑制することができる。
また、この場合は、透明導電膜の熱が窓板本体側に伝達しにくく、透明導電膜の熱は、効率的にガラスシートに伝達する。このため、ガラスシートが迅速に加熱される。従って、高い結露抑制機能を実現することができる。
また、ガラスシートの加熱に要する熱量を小さくすることができる。従って、結露抑制のエネルギー効率を向上することができる。
さらに、ガラスシートを設けることにより、表面硬度、耐薬品性、ガスバリア性、耐摩耗性、表面平滑性等を向上することができる。
なお、本発明において、「粘接着剤層」とは、粘着または接着する層、もしくは、粘着または接着している層を意味する。すなわち、粘接着剤層には、粘着剤を含み粘着する層、粘着剤を含み粘着している層、接着剤を含み接着する層、又は接着剤を含み接着している層が含まれるものとする。
本発明において、ガラスシートの膜厚は、50μm〜100μmの範囲内であることが好ましい。ガラスシートの膜厚が薄すぎると、十分に優れた耐久性が得られなくなる場合がある。一方、ガラスシートの膜厚が厚すぎると、ガラスシートの温度上昇速度が低くなり、十分に高い結露抑制機能が得られなくなる場合がある。また、ガラスシートの膜厚が厚すぎると、ガラスシートを加熱するために要するエネルギーが高くなるため、エネルギー効率が低くなる場合がある。
本発明において、自動車用窓板は、窓板本体の第2の主面を覆うように設けられている別の透明導電膜をさらに備えていることが好ましい。
この場合、自動車用窓板の両面において、結露を効果的に抑制することができる。
本発明に係る結露抑制機構は、第1及び第2の主面を有する樹脂製の窓板本体を備える自動車用窓板の窓板本体の第1の主面上に粘着または接着されて使用される自動車用窓板の結露抑制機構である。本発明に係る結露抑制機構は、ガラスシートと、ガラスシートの一方の表面上に形成されている透明導電膜と、透明導電膜の上に形成されている粘接着剤層とを備えている。
本発明の結露抑制機構を用いることにより、樹脂製の窓板本体の熱変性を抑制しつつ、効果的に結露を抑制することができる。また、自動車用窓板の表面硬度、耐薬品性、ガスバリア性、耐摩耗性、表面平滑性等を向上することができる。
本発明によれば、樹脂製の窓板本体を有する自動車用窓板であって、効果的に結露を抑制することができると共に、耐久性の高い自動車用窓板を提供することができる。
第1の実施形態に係る自動車用窓板の略図的断面図である。 図1の方向IIから視た自動車用窓板の略図的平面図である。 第2の実施形態に係る自動車用窓板の略図的断面図である。 第3の実施形態に係る自動車用窓板の略図的断面図である。 第4の実施形態に係る自動車用窓板の略図的断面図である。
(第1の実施形態)
以下、本発明を実施した好ましい形態について、図1に示す自動車用窓板1を例に挙げて説明する。但し、自動車用窓板1は、単なる例示である。本発明に係る自動車用窓板は、自動車用窓板1に何ら限定されない。
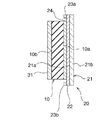
図1は、第1の実施形態に係る自動車用窓板の略図的断面図である。図2は、図1の方向IIから視た自動車用窓板の略図的平面図である。
図1及び図2に示すように、自動車用窓板1は、樹脂製の窓板本体10と、結露抑制機構20とを備えている。
窓板本体10は、透光性を有する樹脂組成物からなるものである限りにおいて特に限定されない。窓板本体10は、例えば、ポリカーボネート、アクリル系樹脂、ポリイミドなどの各種樹脂により形成することができる。また、窓板本体10は、上記各種樹脂に、耐熱性などを向上するためのフィラーや、剛性向上のためのガラスファイバーなどを添加した樹脂組成物からなるものであってもよい。
窓板本体10の厚みは、窓板本体10の材質や、所望の機械的強度などに応じて適宜設定することができ、例えば、1mm〜4mm程度とすることができる。
窓板本体10は、第1及び第2の主面10a、10bを有する。自動車用窓板1は、第1の主面10aが車内側となるように自動車に取り付けられてもよいし、第2の主面10bが車内側となるように自動車に取り付けられてもよい。
窓板本体10の第1の主面10aの上には、結露抑制機構20が設けられている。この結露抑制機構20は、自動車用窓板1の結露を抑制するための機構である。
結露抑制機構20は、ガラスシート21を備えている。ガラスシート21の材質は、特に限定されない。ガラスシート21は、例えば、珪酸塩系ガラスや、硼酸塩系ガラス、リン酸塩系ガラスなどにより形成することができる。なかでも、ガラスシート21は、外気と接触するため、耐候性の高い珪酸塩系ガラスなどからなることが好ましい。ここで、珪酸塩系ガラスとは、例えば、アルミノ珪酸塩系ガラス、ホウ珪酸塩系ガラス、アルカリ石灰珪酸塩系ガラス等のように、酸化珪素を主成分とするガラスを指す。
ガラスシート21の肉厚は、特に限定されないが、本実施形態では、50μm〜100μmの範囲内である。
ガラスシート21は、第1及び第2の表面21a、21bを有する。ガラスシート21は、第1の表面21aが、窓板本体10の第1の主面10aと対向するように配置されている。
ガラスシート21の第1の表面21aの上には、透明導電膜22が形成されている。この透明導電膜22は、窓板本体10の第1の主面10aを覆うように設けられている。
透明導電膜22は、例えば、適宜の透明導電性酸化物(TCO:Transparent Conductive Oxide)により形成することができる。TCOの具体例としては、例えば、インジウムスズ酸化物(ITO:Indium Tin Oxide)、AZO(ZnO:Al)、インジウムチタン酸化物(ITiO:Indium Titanium Oxide)、インジウム亜鉛酸化物(IZO:Indium Zinc Oxide)、ZnO、SnO等が挙げられる。なかでも、透明導電膜22は、ITOにより形成されていることが好ましい。ITOは、他の透明導電膜と比較して、透明性、導電性、安定性、加工性、入手性等に優れるためである。
透明導電膜22の膜厚は、特に限定されず、透明導電膜22の材質や、所望のシート抵抗などに応じて適宜設定することができる。透明導電膜22の膜厚は、例えば、50nm〜200nm程度とすることができる。
透明導電膜22のシート抵抗は、例えば、15〜50Ω/□程度とすることができる。
本実施形態では、透明導電膜22は、矩形状に形成されている。透明導電膜22の一方側の端縁部と、他方側の端縁部とのそれぞれには、透明導電膜22の端辺に沿って延びる線条の端子電極23a、23bが電気的に接続されている。この端子電極23a、23bは、透明導電膜22に電圧を印加するための電極である。
端子電極23a、23bは、透明である必要は必ずしもなく、例えば銀ペーストなどの導電性ペーストを用いて形成することができる。
透明導電膜22と窓板本体10とは、粘接着剤層24により粘着または接着している。粘接着剤層24は、透明導電膜22と窓板本体10とを粘着または接着できるものであれば特に限定されないが、高い耐候性及び耐熱性を有するものであることが好ましい。具体的には、粘接着剤層24は、例えば、シリコン樹脂などにより形成することができる。
本実施形態においては、粘接着剤層24は、窓板本体10の熱伝導率よりも低い熱伝導率を有している。
粘接着剤層24の厚みは、例えば、10μm〜100μm程度とすることができる。
以上説明したように、本実施形態では、透明導電膜22が窓板本体10の第1の主面10aを覆うように形成されている。このため、透明導電膜22に通電して透明導電膜22を発熱させることにより、自動車用窓板1の全体が高い均一性で加熱され、窓板本体10の一部の温度が高くなりすぎることがない。従って、本実施形態では、窓板本体10が熱変性し難い。すなわち、本実施形態の自動車用窓板1は、軽量であり、効果的に結露を抑制でき、かつ、高い耐久性を有する。
さらに本実施形態では、透明導電膜22と窓板本体10との間に粘接着剤層24が介在している。このため、透明導電膜22の熱が窓板本体10に伝わり難くなる。よって、窓板本体10の温度上昇をより効果的に抑制することができる。従って、窓板本体10の熱変性をより効果的に抑制することができる。窓板本体10の熱変性をさらに効果的に抑制する観点からは、粘接着剤層24の熱伝導率が、窓板本体10の熱伝導率よりも低いことが好ましい。
また、粘接着剤層24が設けられているため、透明導電膜22の熱が窓板本体10側に伝達しにくく、透明導電膜22の熱は、効率的にガラスシート21に伝達する。このため、ガラスシート21が迅速に加熱される。従って、高い結露抑制機能を実現することができる。また、ガラスシート21の加熱に要する熱量を小さくすることができる。従って、結露抑制のエネルギー効率を向上することができる。
特に、本実施形態では、ガラスシート21は、膜厚が50μm〜100μmの範囲内にある薄いものであるため、より高い結露抑制機能と、エネルギー効率を実現することができる。
また、透明導電膜22と窓板本体10との間に、粘接着剤層24が介在しているため、透明導電膜22と窓板本体10との間に熱膨張率の差がある場合であっても、粘接着剤層24の弾性により、透明導電膜22が窓板本体10から剥がれることが効果的に抑制される。この観点からは、粘接着剤層24は、窓板本体10よりも低い弾性率を有するものであることが好ましい。
また、本実施形態では、ガラスシート21が設けられているため、自動車用窓板1の表面硬度、耐薬品性、ガスバリア性、耐摩耗性、表面平滑性等を向上することができる。
また、本実施形態では、透明導電膜22が、ITOなどの透明導電性酸化物により形成されている。このため、透明導電膜22は、紫外線吸収能、熱線吸収能及び電磁波遮蔽能を有する。従って、本実施形態の自動車用窓板1を用いることにより、車内への紫外線や熱線、電磁波の進入を抑制することができる。
以下、本発明を実施した好ましい形態の他の例について説明する。以下の説明において、上記第1の実施形態と実質的に共通の機能を有する部材を共通の符号で参照し、説明を省略する。
(第2の実施形態)
図3は、第2の実施形態に係る自動車用窓板の略図的断面図である。
上記第1の実施形態では、窓板本体10の第2の主面10bが露出している例について説明した。但し、本発明は、この構成に限定されない。例えば、図3に示すように、窓板本体10の第2の主面10b上に、第2の主面10bを覆うようにガラスシート31を粘着または接着してもよい。このようにすることにより、自動車用窓板の表面硬度、耐薬品性、ガスバリア性、耐摩耗性、表面平滑性等をさらに向上することができる。
(第3の実施形態)
図4は、第3の実施形態に係る自動車用窓板の略図的断面図である。
上記第1の実施形態では、結露抑制機構20が窓板本体10の第1の主面10aの上にのみ設けられている場合について説明した。但し、本発明は、この構成に限定されない。例えば、図4に示すように、窓板本体10の第1及び第2の主面10a、10bのそれぞれの上に、結露抑制機構20a、20bを設けてもよい。なお、本実施形態の結露抑制機構20a、20bは、上記第1の実施形態の結露抑制機構20と実質的に同様の構成を有するものである。
(第4の実施形態)
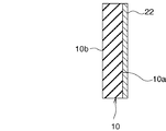
図5は、第4の実施形態に係る自動車用窓板の略図的断面図である。
上記第1の実施形態では、粘接着剤層24により結露抑制機構20が窓板本体10に粘着または接着している例について説明した。但し、本発明は、この構成に限定されない。例えば、ガラスシートは、必ずしも必須ではなく、図5に示すように、透明導電膜22を窓板本体10の第1の主面10a上に直接形成してもよい。
1…自動車用窓板
10…窓板本体
10a…窓板本体の第1の主面
10b…窓板本体の第2の主面
20、20a、20b…結露抑制機構
21,31…ガラスシート
21a…ガラスシートの第1の表面
21b…ガラスシートの第2の表面
22…透明導電膜
23a、23b…端子電極
24…粘接着剤層

Claims (5)

  1. 第1及び第2の主面を有する樹脂製の窓板本体と、
    前記窓板本体の前記第1の主面を覆うように設けられている透明導電膜とを備え
    前記透明導電膜が表面に形成されているガラスシートと、
    前記透明導電膜と前記窓板本体とを粘着または接着している粘接着剤層とをさらに備える、自動車用窓板。
  2. 前記粘接着剤層の熱伝導率は、前記窓板本体の熱伝導率よりも低い、請求項に記載の自動車用窓板。
  3. 前記ガラスシートの肉厚は、50μm〜100μmの範囲内である、請求項またはに記載の自動車用窓板。
  4. 前記窓板本体の前記第2の主面を覆うように設けられている別の透明導電膜をさらに備える、請求項1〜のいずれか一項に記載の自動車用窓板。
  5. 第1及び第2の主面を有する樹脂製の窓板本体を備える自動車用窓板の前記窓板本体の前記第1の主面上に粘着または接着されて使用される自動車用窓板の結露抑制機構であって、
    ガラスシートと、
    前記ガラスシートの一方の表面上に形成されている透明導電膜と、
    前記透明導電膜の上に形成されている粘接着剤層とを備える、自動車用窓板の結露抑制機構。
JP2010060544A 2010-03-17 2010-03-17 自動車用窓板及び自動車用窓板の結露抑制機構 Expired - Fee Related JP5407958B2 (ja)

Priority Applications (1)

Application Number Priority Date Filing Date Title
JP2010060544A JP5407958B2 (ja) 2010-03-17 2010-03-17 自動車用窓板及び自動車用窓板の結露抑制機構

Applications Claiming Priority (1)

Application Number Priority Date Filing Date Title
JP2010060544A JP5407958B2 (ja) 2010-03-17 2010-03-17 自動車用窓板及び自動車用窓板の結露抑制機構

Publications (2)

Publication Number Publication Date
JP2011194907A JP2011194907A (ja) 2011-10-06
JP5407958B2 true JP5407958B2 (ja) 2014-02-05

Family

ID=44873657

Family Applications (1)

Application Number Title Priority Date Filing Date
JP2010060544A Expired - Fee Related JP5407958B2 (ja) 2010-03-17 2010-03-17 自動車用窓板及び自動車用窓板の結露抑制機構

Country Status (1)

Country Link
JP (1) JP5407958B2 (ja)

Families Citing this family (1)

* Cited by examiner, † Cited by third party
Publication number Priority date Publication date Assignee Title
JP6999899B2 (ja) * 2017-11-24 2022-01-19 日本電気硝子株式会社 透明導電膜付きガラスロール及び透明導電膜付きガラスシートの製造方法

Family Cites Families (3)

* Cited by examiner, † Cited by third party
Publication number Priority date Publication date Assignee Title
JPH0450204Y2 (ja) * 1985-04-22 1992-11-26
JP4635421B2 (ja) * 2003-09-02 2011-02-23 Tdk株式会社 転写用導電性フィルム、及びそれを用いた透明導電膜の形成方法
JP2007048564A (ja) * 2005-08-09 2007-02-22 Fujikura Ltd 透明導電膜付き基材の製造方法

Also Published As

Publication number Publication date
JP2011194907A (ja) 2011-10-06

Similar Documents

Publication Publication Date Title
JP7669931B2 (ja) 合わせガラス
CN202826594U (zh) 透明的复合玻璃
CN104395071B (zh) 玻璃树脂层叠体
JP7472620B2 (ja) 合わせガラス及び合わせガラスユニット
CN104204920A (zh) 光电前平面基板
TW201202026A (en) Glass film laminated body
JPWO2012157617A1 (ja) 複層ガラスおよび車両用のルーフ部材
JP5469747B2 (ja) 航空機透明体用改良型バス・バー・システム
WO2020039781A1 (ja) 合わせガラス
JPWO2015025963A1 (ja) 熱線遮蔽材
JP2019167275A (ja) 合わせガラス
JP6736448B2 (ja) 合わせガラス
JP5407958B2 (ja) 自動車用窓板及び自動車用窓板の結露抑制機構
US11874989B2 (en) Touch screen, display panel, and vehicle diagnosis equipment
KR102264217B1 (ko) 기능성층이 구비된 곡면 박판 유리의 제조 방법 및 기능성층이 구비된 곡면 접합 유리의 제조 방법
CN207799281U (zh) 一种车辆用的调光玻璃
CN116568500A (zh) 多层结构体
JP7491199B2 (ja) ガラス構造体とその製造方法
WO2016121591A1 (ja) 表示装置付き建材ガラス板及び建材ガラス構造
CN103165710B (zh) 太阳能电池背板结构
JP6569346B2 (ja) 透明発熱板及び透明発熱板を備えた窓
JP7696537B2 (ja) 窓ガラス
WO2013180134A1 (ja) 接着剤およびそれを用いた透明基板
CN114051452B (zh) 夹层玻璃
JP5625410B2 (ja) 窓板

Legal Events

Date Code Title Description
A621 Written request for application examination

Free format text: JAPANESE INTERMEDIATE CODE: A621

Effective date: 20121004

A131 Notification of reasons for refusal

Free format text: JAPANESE INTERMEDIATE CODE: A131

Effective date: 20130723

A977 Report on retrieval

Free format text: JAPANESE INTERMEDIATE CODE: A971007

Effective date: 20130725

A521 Request for written amendment filed

Free format text: JAPANESE INTERMEDIATE CODE: A523

Effective date: 20130913

TRDD Decision of grant or rejection written
A01 Written decision to grant a patent or to grant a registration (utility model)

Free format text: JAPANESE INTERMEDIATE CODE: A01

Effective date: 20131008

A61 First payment of annual fees (during grant procedure)

Free format text: JAPANESE INTERMEDIATE CODE: A61

Effective date: 20131021

R150 Certificate of patent or registration of utility model

Ref document number: 5407958

Country of ref document: JP

Free format text: JAPANESE INTERMEDIATE CODE: R150

LAPS Cancellation because of no payment of annual fees