JP5367239B2 - 携帯端末および携帯端末のアプリケーション表示方法 - Google Patents

携帯端末および携帯端末のアプリケーション表示方法 Download PDF

Info

Publication number
JP5367239B2
JP5367239B2 JP2007170767A JP2007170767A JP5367239B2 JP 5367239 B2 JP5367239 B2 JP 5367239B2 JP 2007170767 A JP2007170767 A JP 2007170767A JP 2007170767 A JP2007170767 A JP 2007170767A JP 5367239 B2 JP5367239 B2 JP 5367239B2
Authority
JP
Japan
Prior art keywords
application
frame rate
display means
display
mobile terminal
Prior art date
Legal status (The legal status is an assumption and is not a legal conclusion. Google has not performed a legal analysis and makes no representation as to the accuracy of the status listed.)
Expired - Fee Related
Application number
JP2007170767A
Other languages
English (en)
Other versions
JP2009008925A (ja
Inventor
良太 寺井
Current Assignee (The listed assignees may be inaccurate. Google has not performed a legal analysis and makes no representation or warranty as to the accuracy of the list.)
Kyocera Corp
Original Assignee
Kyocera Corp
Priority date (The priority date is an assumption and is not a legal conclusion. Google has not performed a legal analysis and makes no representation as to the accuracy of the date listed.)
Filing date
Publication date
Application filed by Kyocera Corp filed Critical Kyocera Corp
Priority to JP2007170767A priority Critical patent/JP5367239B2/ja
Publication of JP2009008925A publication Critical patent/JP2009008925A/ja
Application granted granted Critical
Publication of JP5367239B2 publication Critical patent/JP5367239B2/ja
Expired - Fee Related legal-status Critical Current
Anticipated expiration legal-status Critical

Links

Images

Landscapes

  • Control Of Indicators Other Than Cathode Ray Tubes (AREA)
  • Controls And Circuits For Display Device (AREA)

Description

本発明は、複数の表示手段を有するとともに、複数のアプリケーションを表示することが可能な携帯端末、および、携帯端末の複数の表示手段に複数のアプリケーションを表示する、携帯端末のアプリケーション表示方法に関するものである。
近年、液晶ディスプレイや有機ELディスプレイなどの技術が進歩し、携帯ゲーム機や携帯通信端末等の携帯端末に、複数のディスプレイ(表示手段)が搭載されるようになってきた。これにより、表示面積が増大し、一度に複数のアプリケーションを表示することが可能になった。
一方、液晶ディスプレイや有機ELディスプレイを複数搭載することで、消費電力が増大するため、携帯端末においてバッテリの肥大化および連続使用時間が短くなるという問題が発生した。
そこで、画像の更新が検出された場合には高いリフレッシュレートを設定し、画像の更新が検出されない場合には所定のリフレッシュレートまでフレームレートを低下させることにより、画像の更新による消費電力の増大を抑制する技術(例えば特許文献1を参照のこと)が提案されている。
特開2004−151222号公報
上記特許文献1記載の技術(従来技術)では、1つのディスプレイにおいて更新頻度が高い画素および低い画素が混在する場合には、ディスプレイ全体として更新頻度が高くなるため、端末全体の消費電力を削減することができない。
また、上記従来技術では、複数のディスプレイを搭載した端末において、それぞれのディスプレイに更新頻度が高い画素および低い画素が点在する場合には、それぞれのディスプレイの更新頻度が高くなり、端末全体の消費電力を削減することができない。
具体的には、図16(a)〜(c)に示すように、2つのディスプレイ(表示手段1,表示手段2)を搭載した端末において、表示手段1にはフレームレート30FPSのアプリケーションA(以下、アプリAという)およびフレームレート5FPSのアプリケーションB(以下、アプリBという)を表示し、表示手段2にはフレームレート5FPSのアプリケーションC(以下、アプリCという)、フレームレート60FPSのアプリケーションD(以下、アプリDという)およびフレームレート10FPSのアプリケーションE(以下、アプリEという)を表示する場合、表示手段1では、アプリAが一番画像の更新頻度が高いため、フレームレートを30FPSに設定し、表示手段2では、アプリDが一番画像の更新頻度が高いため、フレームレートを60FPSに設定するため、表示手段1、表示手段2のそれぞれのディスプレイの更新頻度が高くなり、端末全体の消費電力の増加を招いてしまう。
本発明は、複数の表示手段を搭載した携帯端末において、更新頻度が高いアプリケーションと更新頻度が低いアプリケーションとをそれぞれ別々の表示手段に表示して、更新頻度が低いアプリケーションを表示する表示手段の表示に係る消費電力を削減することにより、携帯端末全体の消費電力を削減する技術(携帯端末および携帯端末のアプリケーション表示方法)を提供することを目的とする。
上記目的を達成するため、請求項1に記載の第1発明は、複数の表示手段を有するとともに、複数のアプリケーションの生成する画像データを表示することが可能な携帯端末であって、アプリケーション毎に該アプリケーションのフレームレートを記憶する記憶手段と、アプリケーションの生成する画像データを表示する際に、前記記憶手段に記憶している当該アプリケーションのフレームレートに関する情報に基づいて、高いフレームレートのアプリケーションの生成する画像データと、低いフレームレートのアプリケーションの生成する画像データとを、異なる表示手段に表示するように制御する制御手段と、を備えることを特徴とする。
請求項に記載の第発明は、前記フレームレートは、各アプリケーションの最大フレームレートであることを特徴とする。
請求項に記載の第発明は、前記フレームレートは、各アプリケーションの平均フレームレートであることを特徴とする。
請求項に記載の第発明は、閾値を保持する保持手段を備え、前記制御手段は、前記保持手段が保持する前記閾値に基づいて、前記フレームレートを高いフレームレートおよび低いフレームレートに分類することを特徴とする。
請求項に記載の第発明は、前記制御手段は、既に表示中のアプリケーションのフレームレートに基づいて、新たに表示するアプリケーションのフレームレートを高いフレームレートまたは低いフレームレートに分類することを特徴とする。
上記目的を達成するため、請求項6に記載の第6発明は、携帯端末の複数の表示手段に複数のアプリケーションの生成する画像データを表示する、携帯端末のアプリケーション表示方法であって、アプリケーション毎に該アプリケーションのフレームレートを記憶する記憶工程と、アプリケーションの生成する画像データを表示する際に、前記記憶工程で記憶した当該アプリケーションのフレームレートに関する情報に基づいて、高いフレームレートのアプリケーションの生成する画像データと、低いフレームレートのアプリケーションの生成する画像データとを、異なる表示手段に表示するように制御する制御工程と、を行うことを特徴とする。
本発明によれば、複数の表示手段を搭載した携帯端末において、更新頻度が高いアプリケーションと更新頻度が低いアプリケーションとをそれぞれ別々の表示手段に表示して、更新頻度が低いアプリケーションを表示する表示手段の表示に係る消費電力を削減することにより、携帯端末全体の消費電力を削減する技術(携帯端末および携帯端末のアプリケーション表示方法)を提供することができる。
例えば、上記従来例と同一のアプリケーション(アプリA、アプリB、アプリC、アプリDおよびアプリE)を同一の順番で表示手段1および表示手段2に表示する場合、図16(d)〜(f)に示すように、更新頻度が高いアプリケーションであるアプリAおよびアプリDを表示手段2に表示し、更新頻度が低いアプリケーションであるアプリB、アプリCおよびアプリEを表示手段1に表示することが可能になるため、表示手段1のリフレッシュレートを図16(b)の場合の30FPSから10FPSに低下させて、表示手段1の表示に係る消費電力を削減することにより、携帯端末全体の消費電力を削減することができる。
以下、本発明を実施するための最良の形態を図面に基づき詳細に説明する。
[第1実施形態]
図1は本発明の第1実施形態の携帯端末の構成を示す図である。本実施形態の携帯端末(以下、端末ともいう)100は、図1に示すように、キーやタッチパネル等の操作手段1と、端末に搭載されたLCDや有機EL等の複数の表示手段である表示手段2−1(表示手段1ともいう)および表示手段2−2(表示手段2ともいう)と、表示手段2−1,表示手段2−2の表示内容を制御するアプリレイアウト手段3と、メールやブラウザ等の複数のアプリケーションより成るアプリケーション7と、アプリケーション7のそれぞれと関連付けられたアプリケーション情報8と、稼動中のアプリケーションの情報を格納する稼動中アプリリスト9と、アプリケーション7とアプリケーション情報8と稼動中アプリリスト9とを格納する記憶手段6と、操作手段1、アプリレイアウト手段3および記憶手段6の動作を制御する制御手段5と備えている。本発明の携帯端末は、テレビ受信機能(チューナ、ブラウザ等)や通信機能を有しているが、説明を簡略化するため、図1においては記載を省略している。
なお、本発明の適用対象となる「携帯端末」とは、携帯電話端末や無線LAN対応ノートパソコンのような「通信機能を有する携帯可能な端末」と、ゲーム端末や映像再生端末のような「通信機能を有していない携帯可能な端末」とを含むものとする。
また、以下の第1実施形態および第2実施形態の説明においては、「アプリケーションを起動する」、「アプリケーションを稼働する」、「アプリケーションを実行する」等の記載を用いているが、これらの記載は、特許請求の範囲における「アプリケーションを表示する」という記載と同一の動作を示すものである。
図2は本発明の第1実施形態の携帯端末におけるアプリケーション情報を例示する図である。このアプリケーション情報は、図2の左列から順に、アプリケーションのIDを示す「アプリNo.」 と、アプリケーションの名前を示す「アプリケーション名」と、アプリケーションが要求する最大のフレームレートを示す「最大フレームレート」と、アプリケーションを表示している画面が表示手段2−1であるか表示手段2−2であるかを識別するための「表示画面」とから成り、記憶手段6に保持されている。図示例の場合、アプリNo.0〜アプリNo.6はそれぞれ、通知バー、電卓、メール、ブラウザ、音楽プレーヤー、ワンセグテレビ、映像プレーヤであり、各アプリケーションは最大フレームレートが5(FPS)以下の「最大フレームレートが低いアプリケーション」である場合はグループAに区分されるとともに、最大フレームレートが5(FPS)より大きい「最大フレームレートが高いアプリケーション」である場合はグループBに区分されており、端末の電源を投入して電池アイコン、アンテナバー、時計等の通知バーアプリのみを稼動させて画面の上部に表示した状態(後述する図3(a)の状態)に対応するアプリケーション情報8を示している。なお、このアプリケーション情報8は、フレームレートの昇順に予め並べ替えておくものとする。また、上記においては最大フレームレートを用いているが、代わりに平均フレームレートを用いてもよい。また、このフレームレートの高低を分類、判定する閾値は記憶手段6に保持(記憶)されている。
[画面遷移1]
図3(a)〜(d)はそれぞれ、第1実施形態の携帯端末における画面遷移1を示す図である。図3(a)は、携帯端末の電源を投入して通知バーアプリのみを起動した状態である。図3(b)は、(a)の状態から最大フレームレートが低いアプリケーションであるアプリ1(電卓)を起動した状態である。図3(c)は、(b)の状態から最大フレームレートが高いアプリケーションであるアプリ5(ワンセグテレビ)を起動した状態である。図3(d)は、(c)の状態から最大フレームレートが高いアプリケーションであるアプリ6(映像プレーヤー)を起動した状態である。図3(d)では、フレームレートが低いアプリケーション(通知バー、電卓)を表示手段2−1に表示し、フレームレートが高いアプリケーション(ワンセグテレビ、映像プレーヤー)を表示手段2−2に表示している。これにより、アプリ5およびアプリ6を同一の表示手段に表示するため、アプリ5およびアプリ6を別々の表示手段に表示する場合と比較して、表示手段2−1のフレームレート(画面の更新回数)を低くすることが可能になる。そのため、表示手段2−1の画面の更新に掛かる消費電力を削減することが可能になり、携帯端末全体として消費電力の削減が可能になる。
[画面遷移2]
図4(a)〜(d)はそれぞれ、第1実施形態の携帯端末における画面遷移2を示す図である。図4(a)は、携帯端末の電源を投入して通知バーアプリのみを起動した状態である。図4(b)は、(a)の状態から最大フレームレートが高いアプリケーションであるアプリ6(映像プレーヤー)を起動した状態である。図4(c)は、(b)の状態から最大フレームレートが低いアプリケーションであるアプリ1(電卓)を起動した状態である。図4(d)は、(c)の状態から最大フレームレートが低いアプリケーションであるアプリ2(メール)を起動した状態である。図4(d)では、フレームレートが低いアプリケーション(通知バー、電卓、メール)を表示手段2−1に表示し、フレームレートが高いアプリケーション(映像プレーヤー)を表示手段2−2に表示している。これにより、アプリ1およびアプリ2を同一の表示手段に表示するため、アプリ1およびアプリ2を別々の表示手段に表示する場合と比較して、表示手段2−1のフレームレート(画面の更新回数)を低くすることが可能になる。そのため、表示手段2−1の画面の更新に掛かる消費電力を削減することが可能になり、携帯端末全体として消費電力の削減が可能になる。
[画面遷移3]
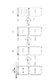
図5(a)〜(d)はそれぞれ、第1実施形態の携帯端末における画面遷移3を示す図である。図5(a)は、携帯端末の電源を投入して通知バーアプリのみを起動した状態である。図5(b)は、(a)の状態から最大フレームレートが低いアプリケーションであるアプリ1(電卓)を起動した状態である。図5(c)は、(b)の状態から最大フレームレートが低いアプリケーションであるアプリ2(メール)を起動した状態である。図5(d)は、(c)の状態から最大フレームレートが高いアプリケーションであるアプリ5(ワンセグテレビ)を起動した状態である。図5(d)では、フレームレートが低いアプリケーション(通知バー、電卓、メール)を表示手段2−1に表示し、フレームレートが高いアプリケーション(ワンセグテレビ)を表示手段2−2に表示している。これにより、アプリ1およびアプリ2を同一の表示手段に表示するため、アプリ1およびアプリ2を別々の表示手段に表示する場合と比較して、表示手段2−1のフレームレート(画面の更新回数)を低くすることが可能になる。そのため、表示手段2−1の画面の更新に掛かる消費電力を削減することが可能になり、携帯端末全体として消費電力の削減が可能になる。さらに、図5(c)においてアプリ1およびアプリ2の表示面積を大きく取ることが可能になるので、消費電力の削減および視認性の向上を両立させることが可能になる。
図6は第1実施形態の携帯端末における画面遷移1〜画面遷移3のアプリケーション表示処理のメインルーチンを示すフローチャートである。まず、ステップS101における携帯端末の起動に応じて、ステップS102で通知バー(N0.0)を起動する。次のステップS103では、アプリケーションが起動または終了したか否か(言い換えれば、アプリケーションの起動数が変化したか否か)を判定する。この判定がYesであればステップ104の稼働アプリ表示処理を実施し、Noであれば、アプリケーションが起動または終了するタイミング以外ではアプリケーションのレイアウトを変更する必要がないため、ステップ104をスキップして直ちにステップS105に進む。上記ステップ104の稼働アプリ表示処理は、携帯端末の電源がOFFになってステップS105の判定がYesになるまで、ステップS103のYes−ステップS104−ステップS105のNo−ステップ103のYes−ステップS104のループにより繰り返される。
図7は第1実施形態の携帯端末における稼働アプリ表示処理のサブルーチンを示すフローチャートである。まず、ステップS201では、稼動アプリ画面割振処理を行い、次のステップS202では、上記稼動アプリ画面割振処理の実行結果に基づいて、アプリケーション情報の表示画面の値に従ってアプリケーションを表示する。
図8および図9は第1実施形態の携帯端末における稼働アプリ画面割振処理のサブルーチンを示すフローチャートである。まず、図8のステップS301で、カウンタiを初期化(i=0)し、次のステップS302では、稼動中アプリリストを消去し、次のステップS303では、アプリケーション情報の表示画面の値を「非表示」に設定する。ステップS303の処理を行ったら、カウンタiが稼働中のアプリケーション数であるアプリ数に達するまで、ステップS304のYes−ステップS305−ステップS306のNo−ステップS304のループを繰り返す。ステップS304ではアプリNo.iが稼動しているか否かを判定し、このステップS304において稼動中と判定した場合には、ステップS305で、稼動中アプリリストにiを追加する。
全アプリケーションについてアプリケーションが稼動しているか否かを判定したら、ステップS307で、稼動中アプリリストの要素数が2以上であるか否か(複数のアプリケーションが同時に稼動しているか否か)を判定する。この判定において、稼動中アプリリストの要素数が1である(No)と判定した場合には、ステップS308で、稼動中アプリリストの最初の要素に該当するアプリケーション情報(稼動中アプリリストに格納したアプリNo. に該当するアプリケーション情報)の表示画面の値を「表示手段1」に設定する。一方、ステップS307の判定において稼動中アプリリストの要素数が2以上である(Yes)と判定した場合には、ステップS309で、稼動中アプリリストの要素数が3以上であるか否か(3つ以上のアプリケーションが稼動しているか否か)を判定する。ステップS309の判定において、稼動中アプリリストの要素数が3以上ではない(No)と判定した場合には、稼動中アプリリストの要素数が2であり、同時に2つのアプリケーションが稼動している場合であるため、図9のステップS310で、稼動中アプリリストの最初の要素に該当する、アプリケーション情報の表示画面の値を「表示手段1」に設定する。次のステップS311では、稼動中アプリリストの最後の要素に該当するアプリケーションはグループAのアプリケーションであるか否かを判定し、ステップS311においてグループAのアプリケーションである(Yes)と判定した場合には、ステップS313で、稼動中アプリリストの最後の要素に該当する、アプリケーション情報の表示画面の値を「表示手段1」に設定し、ステップS311においてグループAのアプリケーションではない(No)と判定した場合には、ステップS312で、稼動中アプリリストの最後の要素に該当する、アプリケーション情報の表示画面の値を「表示手段2」に設定する。
上記図8のステップS309において、稼動中アプリリストの要素数が3以上である(Yes)と判定した場合には、3つ以上のアプリケーションが稼動中であるため、図9のステップS314で、グループAとグループBのアプリケーションが同時に稼動しているか否かを判定し、グループAとグループBのアプリケーションが同時に稼動している(Yes)と判定した場合には、ステップS317で、稼動中アプリリストにあるグループAのアプリケーションに該当する、アプリケーション情報の表示画面の値を「表示手段1」に設定した後、ステップS318で、稼動中アプリリストにあるグループBのアプリケーションに該当する、アプリケーション情報の表示画面の値を「表示手段2」に設定する。一方、ステップS314で、グループAとグループBのアプリケーションが同時に稼動していない(No)と判定した場合には、表示手段2−1,表示手段2−2の各々ではグループAのアプリケーションまたはグループBのアプリケーションのみが稼動している場合であるため、ステップS315で、稼動中アプリリストの要素数÷2番目までのアプリケーションに該当する、アプリケーション情報の表示画面の値を「表示手段1」に設定した後、ステップS316で、稼動中アプリリストの要素数÷2番目以降のアプリケーションに該当する、アプリケーション情報の表示画面の値を「表示手段2」に設定する。
上記図6、図7、図8、図9のフローチャートを実行することにより、上記画面遷移1〜画面遷移3に対応する第1実施形態のアプリケーション表示処理が実施される。
[第2実施形態]
図10は本発明の第2実施形態の携帯端末におけるアプリケーション情報を例示する図である。このアプリケーション情報は、図2に示す第1実施形態のアプリケーション情報に対し、アプリ最小表示領域に関する情報を追加したものである。本実施形態の携帯端末は、アプリケーションのフレームレートに加えて、アプリ最小表示領域を考慮することにより、消費電力の削減および視認性の向上を両立させて、低消費電力かつ見やすいアプリケーションの表示を行うように構成されている。上記アプリケーション情報は、図10の左列から順に、アプリケーションのIDを示す「アプリNo.」 と、アプリケーションの名前を示す「アプリケーション名」と、アプリケーションが要求する最大のフレームレートを示す「最大フレームレート」と、アプリケーションの表示に必要な最小表示領域(最小画面サイズ)を示す「アプリ最小表示領域」と、アプリケーションを表示している画面が表示手段2−1であるか表示手段2−2であるかを識別するための「表示画面」とから成り、記憶手段6に保持されている。上記アプリ最小表示領域に関する情報は、図10に示すように、幅を示す「Width="*" 」、「Width="240" 」と、高さを示す「Height=40"」等とから成る。「Width="*" 」はアプリケーションを表示する場合に横幅が画面の解像度と等しいことを示している。なお、このアプリケーション情報8は、フレームレートの昇順およびアプリ最小表示領域の昇順に予め並べ替えておくものとする。
[画面遷移4]
図11(a)〜(e)はそれぞれ、第2実施形態の有効性を立証するための、第1実施形態の携帯端末における画面遷移4を示す図である。図11(a)は、携帯端末の電源を投入して通知バーアプリのみを起動した状態である。図11(b)は、(a)の状態から最大フレームレートが低いアプリケーションであるアプリ1(電卓)を起動した状態である。図11(c)は、(b)の状態から最大フレームレートが高いアプリケーションであるアプリ6(映像プレーヤー)を起動した状態である。図11(d)は、(c)の状態から最大フレームレートが低いアプリケーションであるアプリ2(メール)を起動した状態である。図11(e)は、(d)の状態から最大フレームレートが低いアプリケーションであるアプリ3(ブラウザ)を起動した状態である。図11(e)では、フレームレートが低いアプリケーション(通知バー、電卓、メール、ブラウザ)を表示手段2−1に表示し、フレームレートが高いアプリケーション(映像プレーヤー)を表示手段2−2に表示している。これにより、表示手段2−1には最大フレームレートが低いアプリケーションのみを表示するため、最大フレームレートが高いアプリケーションを表示手段2−1、表示手段2−2の双方に表示する場合と比較して、表示手段2−1のフレームレート(画面の更新回数)を低くすることが可能になる。そのため、表示手段2−1の画面の更新に掛かる消費電力を削減することが可能になり、携帯端末全体として消費電力の削減が可能になる。しかしながら、図11(e)は、表示手段2−1に最大フレームレートが低い4つのアプリケーション(通知バー、電卓、メール、ブラウザ)が表示されるため、各アプリケーションが見やすいとは言い難い。そこで、第2実施形態では、「消費電力を削減しつつ、アプリケーション表示を見やすくする対策」を講じている。
[画面遷移5]
図12(a)〜(e)はそれぞれ、第2実施形態の携帯端末における画面遷移5を示す図である。図12(a)は、携帯端末の電源を投入して通知バーアプリのみを起動した状態である。図12(b)は、(a)の状態から最大フレームレートが低いアプリケーションであるアプリ1(電卓)を起動した状態である。図12(c)は、(b)の状態から最大フレームレートが高いアプリケーションであるアプリ6(映像プレーヤー)を起動した状態である。図12(d)は、(c)の状態から最大フレームレートが低いアプリケーションであるアプリ2(メール)を起動した状態である。図12(e)は、(d)の状態から最大フレームレートが低いアプリケーションであるアプリ3(ブラウザ)を起動した状態である。図12(e)では、フレームレートが低いアプリケーション(通知バー、電卓、メール)を表示手段2−1に表示し、フレームレートが低いアプリケーション(ブラウザ)およびフレームレートが高いアプリケーション(映像プレーヤー)を表示手段2−2に表示している。これにより、表示手段2−1には最大フレームレートが低いアプリケーションのみを表示するため、最大フレームレートが高いアプリケーションを表示手段2−1、表示手段2−2の双方に表示する場合と比較して、表示手段2−1のフレームレート(画面の更新回数)を低くすることが可能になる。そのため、表示手段2−1の画面の更新に掛かる消費電力を削減することが可能になり、携帯端末全体として消費電力の削減が可能になる。さらに、図12(e)では、上記図12(e)の第1実施形態の場合(同一アプリケーションを起動して第1実施形態の稼動アプリ画面割振処理を実行した結果)と異なり、アプリケーションの表示に必要な表示領域の大きさが考慮されているため、表示手段2−1に表示される最大フレームレートが低いアプリケーションの数が4つ(通知バー、電卓、メール、ブラウザ)から3つ(通知バー、電卓、メール)に減少し、視認性(ユーザビリティー)が向上している。
[画面遷移6]
図13(a)〜(c)はそれぞれ、第2実施形態の携帯端末における画面遷移6を示す図である。ただし、この画面遷移6は、携帯端末の電源投入により起動される通知バーアプリを終了させた後の状態を示している。図13(a)は、通知バーアプリも表示されていない状態から、最大フレームレートが高いアプリケーションであるアプリ5(ワンセグテレビ)を起動して全画面表示した状態である。図13(b)は、(a)の状態から最大フレームレートが高いアプリケーションであるアプリ4(音楽プレーヤー)を起動した状態である。図13(c)は、(b)の状態から最大フレームレートが低いアプリケーションであるアプリ2(メール)を起動した状態である。図13(c)では、フレームレートが低いアプリケーション(メール)を表示手段2−1に表示し、フレームレートが高いアプリケーション(音楽プレーヤー、ワンセグテレビ)を表示手段2−2に表示している。これにより、アプリ2を最大フレームレートが高いアプリケーションを表示している表示手段とは異なる表示手段である表示手段2−1に表示するため、アプリ2を最大フレームレートが高いアプリケーションを表示している表示手段2−1に表示する場合と比較して、表示手段2−1のフレームレート(画面の更新回数)を低くすることが可能になる。そのため、表示手段2−1の画面の更新に掛かる消費電力を削減することが可能になり、携帯端末全体として消費電力の削減が可能になる。また、途中の状態である図13(b)では、最大フレームレートが高いアプリケーションであるアプリ4(音楽プレーヤー)を表示手段2−1に表示し、最大フレームレートが高いアプリケーションであるアプリ5(ワンセグテレビ)を異なる表示手段である表示手段2−2に表示しているため、それぞれの最大フレームレートが高いアプリケーションの表示面積が増大し、視認性(ユーザビリティー)が向上している。
図14および図15は第2実施形態の携帯端末における稼働アプリ画面割振処理のサブルーチンを示すフローチャートである。図14のステップS401〜ステップS413では、上記第1実施形態のステップS301〜ステップS313と同一の処理を行うため、説明を省略する。
第1実施形態のステップS309に対応するステップS409において、稼動中アプリリストの要素数が3以上である(Yes)と判定した場合にはステップS414に進み、グループAとグループBのアプリケーションが同時に稼動しているか否かを判定する。ステップS414でグループAとグループBのアプリケーションが同時に稼動していない(No)と判定した場合には、ステップS415で、稼動中アプリリストの要素数÷2番目までのアプリケーションに該当する、アプリケーション情報の表示画面の値を「表示手段1」に設定した後、ステップS416で、稼動中アプリリストの要素数÷2番目以降のアプリケーションに該当する、アプリケーション情報の表示画面の値を「表示手段2」に設定する。一方、ステップS414でグループAとグループBのアプリケーションが同時に稼動している(Yes)と判定した場合には、ステップS417で、アプリケーションの表示領域を計算するために(本実施形態では、アプリケーションの高さのみを考慮する)HeightSum (稼働中のアプリケーションの高さの合計)を初期化し(HeightSum =0)、ステップS418で、カウンタiを初期化する(i=0)。HeightSum およびiの初期化が終了したら、カウンタiが稼働中アプリリストの要素数に達するまで、ステップS419のYes−ステップS420−ステップS421のNo−ステップS419のループを繰り返す。ステップS419では、稼動中アプリリストのi番目の要素に該当するアプリケーションが、グループAのアプリケーションであるか否かを判定し、グループAのアプリケーションである(Yes)と判定した場合には、ステップS420で、HeightSum に稼動中アプリリストのi番目に該当するアプリケーションの高さを加算する。なお、本実施形態では、稼動中アプリリストの要素を0番目から数えているため、N個の要素数を有する稼動中アプリリストの場合、最後の要素は(N−1)番目になり、(N−1)番目の要素までステップS420を実行したときには、HeightSum は稼働中のグループAのアプリケーションの高さの合計になる。
カウンタiが稼働中アプリリストの要素数に達して上記ループの処理が終了したら、次のステップS422で、HeightSum2(稼働中のアプリケーションの高さの合計)を初期化し(HeightSum2=0)、ステップS423で、カウンタiを初期化する(i=0)。HeightSum2およびiの初期化が終了したら、カウンタiが稼働中アプリリストの要素数に達するまで、ステップS424のYes−ステップS425−ステップS426のNo−ステップS424のループを繰り返す。ステップS424では、稼動中アプリリストのi番目の要素に該当するアプリが、グループBのアプリケーションであるか否かを判定し、グループBのアプリケーションである(Yes)と判定した場合には、ステップS425で、HeightSum2に稼動中アプリリストのi番目に該当するアプリケーションの高さを加算する。N番目の要素までステップS425を実行したときには、HeightSum2は稼働中のグループBのアプリケーションの高さの合計になる。カウンタiが稼働中アプリリストの要素数に達して上記ループの処理が終了したら、次のステップS427で、HeightSum が表示手段1の高さを超えているか否か、あるいは、HeightSum2が表示手段2の高さを超えているか否かを判定する。ステップS427において、表示手段の高さを超えている(Yes)と判定した場合には、ステップS428で、HeightSum にHeightSum2を加算したものをHeightSum とし、ステップS429で、カウンタiを初期化する(i=0)。
ステップS429のカウンタiの初期化が終了したら、次の図15のステップS430で、HeightSum2を初期化する(HeightSum2=0)。HeightSum2の初期化が終了したら、カウンタiが稼働中アプリリストの要素数−1に達するまで、以下のステップS431〜ステップS435のループを繰り返す。ステップS431では、稼動中アプリリストに格納されているアプリケーションの高さの合計であるHeightSum を2で割った値であるHeightSum/2とHeightSum2とを比較し、HeightSum/2がHeightSum2以上である(No)と判定した場合には、ステップS432で、稼動中アプリリストのi番目に該当する、アプリケーション情報の表示画面の値を「表示手段1」に設定し、ステップ433で、HeightSum2に、稼動中アプリリストのi番目に該当する、アプリケーションの高さを加算する。一方、ステップS431において、HeightSum2がHeightSum/2より大きい(Yes)と判定した場合には、ステップS434で、稼動中アプリリストのi番目に該当する、アプリケーション情報の表示画面の値を「表示手段2」に設定する。カウンタiが稼働中アプリリストの要素数−1に達して上記ループの処理が終了したら、次のステップS436で、稼動中アプリリストのi番目(稼動中アプリリストの最後の要素)に該当する、アプリケーション情報の表示画面の値を「表示手段2」に設定する。
上記図14のステップS427において、HeightSum が表示手段1の高さ以下、かつ、HeightSum2が表示手段2の高さ以下である(No)と判定した場合は、図15のステップS437で、稼動中アプリリストにあるグループAのアプリケーションに該当する、アプリケーション情報の表示画面の値を「表示手段1」に設定し、ステップS438で、稼動中アプリリストにあるグループBのアプリケーションに該当する、アプリケーション情報の表示画面の値を「表示手段2」に設定する。
上記図14、図15のフローチャートを実行することにより、上記画面遷移5、画面遷移6に対応する第2実施形態のアプリケーション表示処理が実施される。
本発明の第1実施形態の携帯端末の構成を示す図である。 本発明の第1実施形態の携帯端末におけるアプリケーション情報を例示する図である。 (a)〜(d)はそれぞれ、第1実施形態の携帯端末における画面遷移1を示す図である。 (a)〜(d)はそれぞれ、第1実施形態の携帯端末における画面遷移2を示す図である。 (a)〜(d)はそれぞれ、第1実施形態の携帯端末における画面遷移3を示す図である。 第1実施形態の携帯端末における画面遷移1〜画面遷移3のアプリケーション表示処理のメインルーチンを示すフローチャートである。 第1実施形態の携帯端末における稼働アプリ表示処理のサブルーチンを示すフローチャートである。 第1実施形態の携帯端末における稼働アプリ画面割振処理のサブルーチンを示すフローチャートである。 第1実施形態の携帯端末における稼働アプリ画面割振処理のサブルーチンを示すフローチャートである。 本発明の第2実施形態の携帯端末におけるアプリケーション情報を例示する図である。 (a)〜(e)はそれぞれ、第2実施形態の有効性を立証するための、第1実施形態の携帯端末における画面遷移4を示す図である。 (a)〜(e)はそれぞれ、第2実施形態の携帯端末における画面遷移5を示す図である。 (a)〜(c)はそれぞれ、第2実施形態の携帯端末における画面遷移6を示す図である。 第2実施形態の携帯端末における稼働アプリ画面割振処理のサブルーチンを示すフローチャートである。 第2実施形態の携帯端末における稼働アプリ画面割振処理のサブルーチンを示すフローチャートである。 (a)〜(c)はそれぞれ、従来技術の携帯端末における画面遷移を説明するための図であり、(d)〜(f)はそれぞれ、従来技術と同一のアプリケーションを同一の順番で表示する場合の本発明の携帯端末における画面遷移を説明するための図である。
符号の説明
1 操作手段
2−1 表示手段(表示手段1)
2−2 表示手段(表示手段2)
3 アプリレイアウト手段
5 制御手段
6 記憶手段
7 アプリケーション
8 アプリケーション情報
9 稼動中アプリリスト

Claims (6)

  1. 複数の表示手段を有するとともに、複数のアプリケーションの生成する画像データを表示することが可能な携帯端末であって、
    アプリケーション毎に該アプリケーションのフレームレートを記憶する記憶手段と、
    アプリケーションの生成する画像データを表示する際に、前記記憶手段に記憶している当該アプリケーションのフレームレートに関する情報に基づいて、高いフレームレートのアプリケーションの生成する画像データと、低いフレームレートのアプリケーションの生成する画像データとを、異なる表示手段に表示するように制御する制御手段と、
    を備えることを特徴とする携帯端末。
  2. 前記フレームレートは、各アプリケーションの最大フレームレートであることを特徴とする請求項1記載の携帯端末。
  3. 前記フレームレートは、各アプリケーションの平均フレームレートであることを特徴とする請求項1記載の携帯端末。
  4. 閾値を保持する保持手段を備え、
    前記制御手段は、前記保持手段が保持する前記閾値に基づいて、前記フレームレートを高いフレームレートおよび低いフレームレートに分類することを特徴とする請求項1記載の携帯端末。
  5. 前記制御手段は、既に表示中のアプリケーションのフレームレートに基づいて、新たに表示するアプリケーションのフレームレートを高いフレームレートまたは低いフレームレートに分類することを特徴とする請求項1記載の携帯端末。
  6. 携帯端末の複数の表示手段に複数のアプリケーションの生成する画像データを表示する、携帯端末のアプリケーション表示方法であって、
    アプリケーション毎に該アプリケーションのフレームレートを記憶する記憶工程と、
    アプリケーションの生成する画像データを表示する際に、前記記憶工程で記憶した当該アプリケーションのフレームレートに関する情報に基づいて、高いフレームレートのアプリケーションの生成する画像データと、低いフレームレートのアプリケーションの生成する画像データとを、異なる表示手段に表示するように制御する制御工程と、
    を行うことを特徴とする携帯端末のアプリケーション表示方法。
JP2007170767A 2007-06-28 2007-06-28 携帯端末および携帯端末のアプリケーション表示方法 Expired - Fee Related JP5367239B2 (ja)

Priority Applications (1)

Application Number Priority Date Filing Date Title
JP2007170767A JP5367239B2 (ja) 2007-06-28 2007-06-28 携帯端末および携帯端末のアプリケーション表示方法

Applications Claiming Priority (1)

Application Number Priority Date Filing Date Title
JP2007170767A JP5367239B2 (ja) 2007-06-28 2007-06-28 携帯端末および携帯端末のアプリケーション表示方法

Publications (2)

Publication Number Publication Date
JP2009008925A JP2009008925A (ja) 2009-01-15
JP5367239B2 true JP5367239B2 (ja) 2013-12-11

Family

ID=40324055

Family Applications (1)

Application Number Title Priority Date Filing Date
JP2007170767A Expired - Fee Related JP5367239B2 (ja) 2007-06-28 2007-06-28 携帯端末および携帯端末のアプリケーション表示方法

Country Status (1)

Country Link
JP (1) JP5367239B2 (ja)

Families Citing this family (93)

* Cited by examiner, † Cited by third party
Publication number Priority date Publication date Assignee Title
US9013416B2 (en) * 2011-02-25 2015-04-21 Amazon Technologies, Inc. Multi-display type device interactions
JP5749043B2 (ja) 2011-03-11 2015-07-15 京セラ株式会社 電子機器
US10412487B2 (en) 2013-07-17 2019-09-10 Amazon Technologies, Inc. Auto-provisioning of wireless speaker devices for audio/video recording and communication devices
US9584775B2 (en) 2013-07-18 2017-02-28 BOT Home Automation, Inc. Wireless entrance communication device
US20160239091A1 (en) * 2015-02-12 2016-08-18 Qualcomm Incorporated Controlled display of content on wearable displays
WO2016179570A1 (en) 2015-05-07 2016-11-10 BOT Home Automation, Inc. Wireless audio/video recording and communication doorbells with integrated image sensor/button
US10190914B2 (en) 2015-12-04 2019-01-29 Amazon Technologies, Inc. Motion detection for A/V recording and communication devices
US10325625B2 (en) 2015-12-04 2019-06-18 Amazon Technologies, Inc. Motion detection for A/V recording and communication devices
WO2017106511A1 (en) 2015-12-15 2017-06-22 BOT Home Automation, Inc. Video on demand for audio/video recording and communication devices
CA3008456C (en) 2015-12-15 2024-03-05 Amazon Technologies, Inc. Video on demand for audio/video recording and communication devices
US10650247B2 (en) 2015-12-21 2020-05-12 A9.Com, Inc. Sharing video footage from audio/video recording and communication devices
EP3395063A4 (en) 2015-12-21 2019-08-21 Amazon Technologies Inc. COMMON USE OF VIDEO MATERIAL FROM AUDIO / VIDEO RECORDING AND COMMUNICATION DEVICES
US10733456B2 (en) 2015-12-21 2020-08-04 A9.Com, Inc. Sharing video footage from audio/video recording and communication devices
WO2017117505A1 (en) 2015-12-31 2017-07-06 BOT Home Automation, Inc. Streaming and storing video content captured by an audio/video recording and communication device
KR102459633B1 (ko) 2016-02-26 2022-10-28 아마존 테크놀로지스, 인크. 오디오/비디오 레코딩 및 통신 디바이스로부터의 비디오 장면의 공유
US10448086B2 (en) 2016-02-26 2019-10-15 Amazon Technologies, Inc. Sharing video footage from audio/video recording and communication devices to smart TV devices
US10841542B2 (en) 2016-02-26 2020-11-17 A9.Com, Inc. Locating a person of interest using shared video footage from audio/video recording and communication devices
US10748414B2 (en) 2016-02-26 2020-08-18 A9.Com, Inc. Augmenting and sharing data from audio/video recording and communication devices
US10397528B2 (en) 2016-02-26 2019-08-27 Amazon Technologies, Inc. Providing status information for secondary devices with video footage from audio/video recording and communication devices
US11393108B1 (en) 2016-02-26 2022-07-19 Amazon Technologies, Inc. Neighborhood alert mode for triggering multi-device recording, multi-camera locating, and multi-camera event stitching for audio/video recording and communication devices
US9965934B2 (en) 2016-02-26 2018-05-08 Ring Inc. Sharing video footage from audio/video recording and communication devices for parcel theft deterrence
US10489453B2 (en) 2016-02-26 2019-11-26 Amazon Technologies, Inc. Searching shared video footage from audio/video recording and communication devices
WO2017160668A1 (en) 2016-03-15 2017-09-21 BOT Home Automation, Inc. Audio/video recording and communication devices
CN206585662U (zh) 2016-03-15 2017-10-24 Bot家庭自动化公司 音频/视频记录和通信门铃
US10152857B2 (en) 2016-06-14 2018-12-11 Amazon Technologies, Inc. Configurable motion detection and alerts for audio/video recording and communication devices
US10062258B2 (en) 2016-07-26 2018-08-28 Amazon Technologies, Inc. Floodlight controllers with wireless audio/video recording and communication features
WO2018031428A1 (en) 2016-08-12 2018-02-15 BOT Home Automation, Inc. Parcel theft deterrence for a/v recording and communication devices
US10650650B2 (en) 2016-08-12 2020-05-12 A9.Com, Inc. Parcel theft deterrence for A/V recording and communication devices
WO2018031401A1 (en) 2016-08-12 2018-02-15 BOT Home Automation, Inc. Parcel theft deterrence for audio/video recording and communication devices
US10846810B2 (en) 2016-08-18 2020-11-24 Amazon Technologies, Inc. Leveraging audio/video recording and communication devices to enhance public safety
US10490069B2 (en) 2016-08-18 2019-11-26 Amazon Technologies, Inc. Illuminated signal device and speed detector for audio/video recording and communication devices
US10375352B2 (en) 2016-08-31 2019-08-06 Amazon Technologies, Inc. Location-weighted remuneration for audio/video recording and communication devices
CN206775640U (zh) 2016-09-14 2017-12-19 博特家庭自动化有限公司 音频/视频记录和通信装置及其安装装置
JP6716787B2 (ja) 2016-09-21 2020-07-01 アマゾン テクノロジーズ インコーポレイテッド 無線音声/ビデオ記録通信装置のための小包窃盗抑止
EP3516866B1 (en) 2016-09-26 2021-06-09 Amazon Technologies Inc. Streaming and storing video for audio/video recording and communication devices
CN106412276A (zh) * 2016-09-26 2017-02-15 宇龙计算机通信科技(深圳)有限公司 调节终端参数的方法及移动终端
US12096156B2 (en) 2016-10-26 2024-09-17 Amazon Technologies, Inc. Customizable intrusion zones associated with security systems
WO2018081328A1 (en) 2016-10-26 2018-05-03 Ring Inc. Customizable intrusion zones for audio/video recording and communication devices
US10891839B2 (en) 2016-10-26 2021-01-12 Amazon Technologies, Inc. Customizable intrusion zones associated with security systems
US10553092B2 (en) 2016-12-05 2020-02-04 A9.Com, Inc. Passing vehicle filters for audio/video recording and communication devices
WO2018106716A2 (en) 2016-12-09 2018-06-14 Ring Inc Audio/video recording and communication devices with multiple cameras
WO2018129063A1 (en) 2017-01-03 2018-07-12 Ring Inc. Streaming video from audio/video recording and communication devices
US10304296B2 (en) 2017-01-11 2019-05-28 Amazon Technologies, Inc. Doorbell sound output device controllers, doorbell switches, and associated systems and methods
WO2018132839A1 (en) 2017-01-16 2018-07-19 Ring Inc. Audio/video recording and communication devices in network communication with additional cameras
WO2018144933A1 (en) 2017-02-03 2018-08-09 Ring Inc. Audio/video recording and communication devices with multiple cameras for superimposing image data
US10587814B2 (en) 2017-02-26 2020-03-10 A9.Com, Inc. Automatic exposure control for audio/video recording and communication devices
CN207022109U (zh) 2017-02-27 2018-02-16 瑞鹰公司 音频/视频记录和通信设备
WO2018160500A1 (en) 2017-03-03 2018-09-07 Ring Inc. Solar-charging mounting bracket for audio/video recording and communication devices
US10475311B2 (en) 2017-03-20 2019-11-12 Amazon Technologies, Inc. Dynamic assessment using an audio/video recording and communication device
US10769912B2 (en) 2017-03-23 2020-09-08 Amazon Technologies, Inc. Streaming and storing audio/video content captured by audio/video recording and communication devices
WO2018183220A1 (en) 2017-03-28 2018-10-04 Ring Inc. Adjustable alert tones and operational modes for audio/video recording and communication devices based upon user location
US10957174B2 (en) 2017-04-05 2021-03-23 Amazon Technologies, Inc. Communication-linked floodlight controllers with audio/video recording and communication features
US10984640B2 (en) 2017-04-20 2021-04-20 Amazon Technologies, Inc. Automatic adjusting of day-night sensitivity for motion detection in audio/video recording and communication devices
US10839204B2 (en) 2017-04-25 2020-11-17 Amazon Technologies, Inc. Sharing identification data with audio/video recording and communication devices and local processing of the shared data
US10885396B2 (en) 2017-05-24 2021-01-05 Amazon Technologies, Inc. Generating composite images using audio/video recording and communication devices
US10475330B2 (en) 2017-05-31 2019-11-12 Amazon Technologies, Inc. Communicating with law enforcement agencies using client devices that are associated with audio/video recording and communication devices
US10769914B2 (en) 2017-06-07 2020-09-08 Amazon Technologies, Inc. Informative image data generation using audio/video recording and communication devices
US10419727B2 (en) 2017-06-07 2019-09-17 Amazon Technologies, Inc. Directional control of audio/video recording and communication devices in network communication with additional cameras
US11069210B2 (en) 2017-06-28 2021-07-20 Amazon Technologies, Inc. Selecting a video frame for notification using audio/video recording and communication devices
US10511810B2 (en) 2017-07-06 2019-12-17 Amazon Technologies, Inc. Accessing cameras of audio/video recording and communication devices based on location
US12061687B1 (en) 2017-07-24 2024-08-13 Amazon Technologies, Inc. Migrating audio/video recording and communication devices to new networks
US10896515B1 (en) 2017-07-26 2021-01-19 Amazon Technologies, Inc. Locating missing objects using audio/video recording and communication devices
US10713928B1 (en) 2017-08-11 2020-07-14 Amazon Technologies, Inc. Arming security systems based on communications among a network of security systems
US11381784B1 (en) 2017-08-28 2022-07-05 Amazon Technologies, Inc. Monitoring and locating tracked objects using audio/video recording and communication devices
US10666913B1 (en) 2017-09-05 2020-05-26 Amazon Technologies, Inc. Input functionality for audio/video recording and communication doorbells
US10863146B1 (en) 2017-09-12 2020-12-08 Amazon Technologies, Inc. Setup and configuration of audio/video recording and communication devices
US11627289B1 (en) 2017-09-19 2023-04-11 Amazon Technologies, Inc. Activating security system alarms based on data generated by audio/video recording and communication devices
US10930126B1 (en) 2018-01-11 2021-02-23 Amazon Technologies, Inc. Motion sensing for electronic devices
US11575558B1 (en) 2018-01-17 2023-02-07 Amazon Technologies, Inc. Temporary suppression of security event notifications
US11115630B1 (en) 2018-03-28 2021-09-07 Amazon Technologies, Inc. Custom and automated audio prompts for devices
US11032128B2 (en) 2018-04-24 2021-06-08 Amazon Technologies, Inc. Using a local hub device as a substitute for an unavailable backend device
US11132881B2 (en) 2018-05-08 2021-09-28 Amazon Technologies, Inc. Electronic devices capable of communicating over multiple networks
US10769909B1 (en) 2018-07-02 2020-09-08 Amazon Technologies, Inc. Using sensor data to detect events
US10490033B1 (en) 2018-08-17 2019-11-26 Amazon Technologies, Inc. Customized notifications based on device characteristics
US10791607B1 (en) 2018-08-17 2020-09-29 Amazon Technologies, Inc. Configuring and controlling light emitters
US10755537B1 (en) 2018-10-04 2020-08-25 Amazon Technologies, Inc. Implementing deterrent protocols in response to detected security events
US11501618B1 (en) 2018-10-19 2022-11-15 Amazon Technologies, Inc. Security device with user-configurable motion detection settings
US10560149B1 (en) 2018-10-29 2020-02-11 Amazon Technologies, Inc. Communicating between devices in a doorbell system using AC power waveforms
US10878671B1 (en) 2018-10-29 2020-12-29 Amazon Technologies, Inc. Communicating between devices in a doorbell system using AC power waveforms
US11164435B1 (en) 2018-11-21 2021-11-02 Amazon Technologies, Inc. Audio/video recording and communication doorbell devices with supercapacitors
US10803719B1 (en) 2019-01-07 2020-10-13 Amazon Technologies, Inc. Batteryless doorbell with energy harvesters
US11412189B1 (en) 2019-01-07 2022-08-09 Amazon Technologies, Inc. Batteryless doorbell with multi-load power delivery
US12380784B1 (en) 2019-01-10 2025-08-05 Amazon Technologies, Inc. Sharing video footage having audio/video recording and communication device model identifiers
US11538317B1 (en) 2019-03-28 2022-12-27 Amazon Technologies, Inc. Associating and controlling security devices
US11348423B2 (en) 2019-06-17 2022-05-31 Amazon Technologies, Inc. Audio/video device with viewer
US11343551B1 (en) 2019-07-23 2022-05-24 Amazon Technologies, Inc. Bandwidth estimation for video streams
US11276180B1 (en) 2019-09-27 2022-03-15 Amazon Technologies, Inc. Techniques for encoding video data
US11521473B2 (en) 2019-09-30 2022-12-06 Amazon Technologies, Inc. Audio/video electronic device
US11632521B2 (en) 2019-09-30 2023-04-18 Amazon Technologies, Inc. Audio/video electronic device
US11675160B1 (en) 2019-12-13 2023-06-13 Amazon Technologies, Inc. Mirror apparatus for camera devices
US20220272303A1 (en) 2021-02-24 2022-08-25 Amazon Technologies, Inc. Techniques for displaying motion information with videos
CN114157824B (zh) * 2021-11-29 2023-08-18 联想(北京)有限公司 控制方法及电子设备
US12184558B1 (en) 2022-12-16 2024-12-31 Amazon Technologies, Inc. Bandwidth estimation adaption for network stalls

Family Cites Families (6)

* Cited by examiner, † Cited by third party
Publication number Priority date Publication date Assignee Title
JPH1069251A (ja) * 1996-08-29 1998-03-10 Canon Inc 表示装置、表示システム及び画像処理装置
JP2001054066A (ja) * 1999-08-11 2001-02-23 Toshiba Corp 復号化装置および画像表示システム並びに画像表示方法
JP2005077859A (ja) * 2003-09-01 2005-03-24 Canon Inc 合成画像処理装置
JP4601279B2 (ja) * 2003-10-02 2010-12-22 ルネサスエレクトロニクス株式会社 コントローラドライバ,及びその動作方法
JP4430596B2 (ja) * 2005-08-26 2010-03-10 富士通株式会社 画像データ送受信システムの受信側装置及びそのプログラムを記憶した記憶媒体
WO2008126192A1 (ja) * 2007-03-16 2008-10-23 Panasonic Corporation 携帯端末装置および描画処理方法

Also Published As

Publication number Publication date
JP2009008925A (ja) 2009-01-15

Similar Documents

Publication Publication Date Title
JP5367239B2 (ja) 携帯端末および携帯端末のアプリケーション表示方法
US9262072B2 (en) Apparatus and method for controlling display of an electronic device
US20100007620A1 (en) Electronic device equipped with touch screen display and control method thereof
CN101676853B (zh) 控制具有触摸屏的移动终端的多任务操作的方法和设备
JP2013020020A (ja) 2画面携帯端末装置
US20140092140A1 (en) Screen resize for reducing power consumption
US20110285290A1 (en) Electronic device
US20110154235A1 (en) Apparatus and method of searching for contents in touch screen device
EP2323126B1 (en) Information processing device and program
US20120274588A1 (en) Portable electronic apparatus, control method, and storage medium storing control program
US8448081B2 (en) Information processing apparatus
CN105824390B (zh) 一种终端省电显示方法及移动终端
EP2328070B1 (en) Information processing device and program
US20190121389A1 (en) Display control device, and non-transitory computer-readable recording medium for providing selective display of information on multiple displays
CN108227895A (zh) 一种熄屏显示方法及终端、计算机装置及可读存储介质
CN102917140A (zh) 一种电子终端的节电显示方法、电子终端和移动通信终端
JP2010198065A (ja) 情報処理装置
US8773442B2 (en) Aligning animation state update and frame composition
CN102693111B (zh) 一种Android移动终端支持不同分辨率的方法
EP4170473B1 (en) Application icon display method and apparatus, and electronic device
KR20120053655A (ko) 자발광형 디스플레이가 적용된 단말기에서 소모 전력을 줄이기 위한 방법 및 장치
KR20140044981A (ko) 단말의 알림창 표시 방법 및 그 단말
CN111880691B (zh) 屏幕显示方法、装置和电子设备
US20200335052A1 (en) Reducing image retention in displays
JP5378561B2 (ja) 表示装置および表示方法

Legal Events

Date Code Title Description
A621 Written request for application examination

Free format text: JAPANESE INTERMEDIATE CODE: A621

Effective date: 20100513

A131 Notification of reasons for refusal

Free format text: JAPANESE INTERMEDIATE CODE: A131

Effective date: 20130226

A521 Request for written amendment filed

Free format text: JAPANESE INTERMEDIATE CODE: A523

Effective date: 20130430

A131 Notification of reasons for refusal

Free format text: JAPANESE INTERMEDIATE CODE: A131

Effective date: 20130521

A521 Request for written amendment filed

Free format text: JAPANESE INTERMEDIATE CODE: A523

Effective date: 20130722

TRDD Decision of grant or rejection written
A01 Written decision to grant a patent or to grant a registration (utility model)

Free format text: JAPANESE INTERMEDIATE CODE: A01

Effective date: 20130813

A61 First payment of annual fees (during grant procedure)

Free format text: JAPANESE INTERMEDIATE CODE: A61

Effective date: 20130911

R150 Certificate of patent or registration of utility model

Ref document number: 5367239

Country of ref document: JP

Free format text: JAPANESE INTERMEDIATE CODE: R150

Free format text: JAPANESE INTERMEDIATE CODE: R150

LAPS Cancellation because of no payment of annual fees