JP5351663B2 - 撮像装置およびその制御方法 - Google Patents

撮像装置およびその制御方法 Download PDF

Info

Publication number
JP5351663B2
JP5351663B2 JP2009201093A JP2009201093A JP5351663B2 JP 5351663 B2 JP5351663 B2 JP 5351663B2 JP 2009201093 A JP2009201093 A JP 2009201093A JP 2009201093 A JP2009201093 A JP 2009201093A JP 5351663 B2 JP5351663 B2 JP 5351663B2
Authority
JP
Japan
Prior art keywords
imaging
correction amount
image data
luminance
dynamic range
Prior art date
Legal status (The legal status is an assumption and is not a legal conclusion. Google has not performed a legal analysis and makes no representation as to the accuracy of the status listed.)
Active
Application number
JP2009201093A
Other languages
English (en)
Other versions
JP2011055171A5 (ja
JP2011055171A (ja
Inventor
賢司 高橋
Current Assignee (The listed assignees may be inaccurate. Google has not performed a legal analysis and makes no representation or warranty as to the accuracy of the list.)
Canon Inc
Original Assignee
Canon Inc
Priority date (The priority date is an assumption and is not a legal conclusion. Google has not performed a legal analysis and makes no representation as to the accuracy of the date listed.)
Filing date
Publication date
Application filed by Canon Inc filed Critical Canon Inc
Priority to JP2009201093A priority Critical patent/JP5351663B2/ja
Publication of JP2011055171A publication Critical patent/JP2011055171A/ja
Publication of JP2011055171A5 publication Critical patent/JP2011055171A5/ja
Application granted granted Critical
Publication of JP5351663B2 publication Critical patent/JP5351663B2/ja
Active legal-status Critical Current
Anticipated expiration legal-status Critical

Links

Images

Landscapes

  • Studio Devices (AREA)

Description

本発明は、撮像装置およびその制御方法に関する。
従来、CCDイメージセンサやCMOSイメージセンサなどの撮像素子を用いたデジタルカメラやデジタルビデオが広く用いられている。しかし、これらの撮像素子は銀塩フィルムと比較してダイナミックスレンジ(ラチチュード)が狭い。そのため、高コントラストのシーンを撮像すると、低輝度部分の階調性悪化(黒つぶれ)や高輝度部分の階調性悪化(白とび)が発生しやすかった。
このような問題に対し、自動的にダイナミックスレンジをコントロール可能なシステムが提案されている。
例えば特許文献1では、撮像された画像から、主要被写体が逆光又はハイコントラストであると検出された場合には、画像のヒストグラムから黒色飽和点及び白色飽和点を特定し、主要被写体の明るさが適正となるように階調補正を行うことが提案されている。
また、特許文献2では、高感度の受光素子と低感度の受光素子を配置した撮像素子を用い、同一シーンを異なる感度の受光素子で撮像してダイナミックレンジの異なる2種類の画像を取得し、それらをシーン解析結果に応じて合成することが提案されている。
さらに、撮像感度の設定範囲を1段高感度よりにシフト(ISO 100-3200をISO 200-6400にシフト)することで、ハイライト部分の階調表現性を向上させる高輝度側階調優先モードを有する撮像装置も知られている(非特許文献1)。
特開2005−209012号公報 特開2004−186876号公報
EOS 5D MarkII使用説明書[online]、CANON INC. 2008 [平成21年8月25日検索]、インターネット<URL: http://cweb.canon.jp/manual/eosd/pdf/eos5dmkii-im-ja.pdf>
しかし、特許文献1の方法では、コントラスト感を高めるための効果はあるものの、センサーが飽和するポイントは変わらないため、ダイナミックレンジを拡げる効果は得られない。
また、特許文献2の方法では、ダイナミックレンジを拡げる効果は得られるが、感度の異なる受光素子を配置した特別な撮像素子を用いる必要があるため、コストがかかるという問題点があった。
また、非特許文献1に記載される撮像装置においては、高輝度側の階調性を向上させるべきか否かを、シーンに応じてユーザが都度判断しなければならない。そのため、高輝度側階調優先モードを有効に利用できるかどうかは、ユーザが正しく判断し、かつ正しくモードの設定を行った場合に限られる。
一方、被写体のダイナミックレンジが拡大されても、出力装置のダイナミックレンジは変わらないため、撮像画像のコントラストが低下するといった弊害も発生しうる。また、最適なダイナミックレンジ拡大量もシーンにより異なるため、シーンを解析して最適なダイナミックレンジ拡大量を決定する必要がある。
たとえば、近年では、画面内の顔を検出し、顔の明るさが適正となるように自動露出制御する顔AE機能を搭載する撮像装置が一般的になっている。このような顔AE機能を搭載している撮像装置で、人物を逆光で撮像する場合には、顔の明るさが最適になるように露出制御すると、背景が露出オーバーとなり白とび領域が多くなる場合がある。このような状況での撮像では、全体のコントラストよりも、主被写体である人物の顔の明るさが適正で、かつ背景の白とびをなるべく抑えることが重視される。そのため、ダイナミックレンジの拡大量を大きく設定したほうが好ましい画像が得られる。
逆に、砂浜や雪山のような白い被写体が含まれるようなシーンにおいては、白とびを抑えるようにダイナミックレンジの拡大量を大きくすると、コントラストが低く、好ましくない画像が得られてしまう場合がある。
つまり、ダイナミックレンジの制御は、被写体や撮像シーンに応じてきめ細かに、かつ自動で行うことが望まれるが、従来はこのようなダイナミックレンジの制御は実現できていなかった。
本発明はこのような従来技術の問題点に鑑みなされたものであり、被写体や撮像シーンに応じてきめ細かに、かつ自動でダイナミックレンジの制御を行うことのできる撮像装置及びその制御方法を提供する。
上述の目的を達成するため、本発明の第1の見地による撮像装置は、撮像を行い画像データを取得する撮像手段と、撮像手段により取得された画像データの輝度のヒストグラムに基づいて第1の補正量を算出する第1の算出手段と、撮像手段により取得された画像データの領域間の輝度差に基づいて第2の補正量を算出する第2の算出手段と、第1の補正量及び第2の補正量を比較した結果に基づいて、撮像感度及び露出少なくとも一方の低減量を決定する決定手段と、決定手段により決定された低減量に基づいて撮像手段により撮像を行い、取得された画像データに対して低減量を補う信号処理を適用する補正手段とを有することを特徴とする。
このような構成により、本発明によれば、被写体や撮像シーンに応じてきめ細かに、かつ自動でダイナミックレンジの制御を行うことができる。
本発明の実施形態に係る撮像装置の構成例を示すブロック図。 図1の露出制御回路160の構成例を示すブロック図。 本発明の実施形態における露出制御回路160が自動露出制御において用いる画面領域ごとの重みの例を示す図。 本発明の実施形態において輝度のヒストグラムを求める領域の例を示す図。 (a)は本発明の第1の実施形態に係る撮像装置における撮像動作を説明するためのフローチャート、(b)は本発明の第2の実施形態に係る撮像装置における撮像動作を説明するためのフローチャート。 本発明の実施形態に係る撮像装置のヒストグラム作成回路が作成するヒストグラムの例を模式的に示す図。 (a)は本発明の実施形態に係る撮像装置におけるDレンジの概念図を表す図、(b)は本発明の実施形態に係る撮像装置における、AE目標値、飽和信号値およびDレンジの関係例を示す図。 本発明の実施形態に係る撮像装置の信号処理回路におけるガンマ補正特性の設定例を示す図。
(第1の実施形態)
以下、添付図面を参照して、本発明を例示的な実施形態に基づき詳細に説明する。
図1は、本発明の実施形態に係る撮像装置の構成例を示すブロック図である。本実施形態の撮像装置は、撮像素子を用いて画像を撮像する機能を有する任意の装置を包含する。このような装置は、デジタルスチルカメラおよびデジタルビデオカメラはもとより、カメラを内蔵または接続した携帯電話、PDA、パーソナルコンピュータなどを含む。
図1において、操作部112は、ボタン、スイッチなどを含み、ユーザが撮像装置に指示を与えたり、設定を行ったりするために用いられる。シャッターボタンも操作部112に含まれ、本実施形態ではシャッターボタンの半押し状態と全押し状態とを検出可能であるものとする。
システムコントローラ107は、シャッターボタンの半押し状態を撮像準備開始指示、全押し状態を撮像開始指示として認識する。システムコントローラ107は、例えば、CPU、ROM、RAMなどを含み、ROMに記憶されたプログラムをRAMを用いてCPUが実行することにより、撮像装置の動作全般を制御する。
レンズ装置200は、フォーカスレンズを含むレンズ群と、フォーカスレンズを駆動する駆動装置と、絞りと、メカニカルシャッターとを有し、システムコントローラ107の制御に基づいて動作する。
撮像素子101はCCDイメージセンサ、CMOSイメージセンサなどの光電変換素子である。アナログフロントエンド(AFE)回路150は、撮像素子101から出力されるアナログ画像信号に対してゲイン調整やA/D変換などを行い、デジタル画像信号として出力する。
バッファメモリ103は、AFE回路150が出力するデジタル画像信号を一時的に記憶する。
圧縮・伸長回路104は、撮像画像データを記録用の画像ファイル(例えばJPEGファイル)の形式に符号化したり、記録媒体106から読み出された画像ファイルの復号化を行ったりする。
記録装置105は、内蔵メモリや、着脱可能なメモリカードのような記録媒体106に対し、システムコントローラ107の制御に従ってデータの読み書きを行う。
表示制御回路108は、システムコントローラ107の制御に従い、LCDなどの表示デバイスを有する表示部110への表示動作を制御する。
D/Aコンバータ109は、表示制御回路108が出力する表示用のデジタル画像信号を表示部110が表示可能なアナログ画像信号に変換する。
表示部110は、撮像した画像の表示はもとより、ユーザが撮像装置に対して各種の設定や指示を行うためのGUI画面や、撮像装置に関する各種情報などの表示を行う。また、連続的に撮像した画像を表示部110に逐次表示することにより、表示部110を電子ビューファインダ(EVF)として機能させることができる。この、表示部110をEVFとして機能させるための逐次撮像・表示動作は、スルー表示、ライブビュー表示とも呼ばれる。
顔検出回路120は、バッファメモリ103に記憶された、YUV形式またはRAW形式の画像データに対して顔検出処理を行い、画像中の顔領域の大きさ、位置を含む顔検出結果をヒストグラム作成回路130に出力する。
顔検出回路120が用いる顔検出方法に特に制限はなく、任意かつ公知の方法を適用することができる。公知の顔検出技術としては、ニューラルネットワークなどを利用した学習に基づく手法、テンプレートマッチングを用いて目、鼻、口等の形状に特徴のある部位を画像から探し出し、類似度が高ければ顔とみなす手法などがある。また、他にも、肌の色や目の形といった画像特徴量を検出し、統計的解析を用いた手法等、多数提案されている。これらの手法を複数組み合わせ、顔検出の精度を向上させることもできる。具体的な例としては特開2002−251380号公報に記載のウェーブレット変換と画像特徴量を利用して顔検出する方法などが挙げられる。本実施形態の顔検出回路120は、一対の目(両目)、鼻、口を検出し、これらの相対位置より人物の顔領域を決定する手法により顔検出処理を行うものとする。
ヒストグラム作成回路130は、顔領域の検出結果を顔検出回路120から取得し、バッファメモリ103に記憶された画像データのうち、顔領域に含まれる画素の輝度のヒストグラムを作成する。ヒストグラム作成回路130はまた、画像を複数に分割した部分領域毎に、含まれる画素の輝度のヒストグラムも作成することが可能である。作成したヒストグラムはバッファメモリ103に格納する。本実施形態では、画面を縦横4分割した16の領域に分割し、領域毎のヒストグラムを作成する。
信号処理回路140は、システムコントローラ107によって設定される信号処理パラメータ(ホワイトバランス補正係数やガンマパラメータなど)に従って、バッファメモリ103に格納されている画像データに対して信号処理を適用する。そして、信号処理回路140は、YUV形式の画像データを生成し、再びバッファメモリ103に格納する。
露出制御回路160はバッファメモリ103に記憶された画像データ、顔検出回路120による顔検出結果、並びに露出制御に関する設定値(シーンモードや、顔優先モード、絞り又はシャッタースピード優先モードなど)に基づいて自動露出制御を行う。露出制御回路160は、自動露出制御により決定した露出パラメータ(絞り、シャッタースピード、感度)をシステムコントローラ107に通知する。
次に、上述の構成を有する撮像装置における、撮像時の動作について説明する。
撮像モードで動作しており、撮像準備指示や撮像開始指示が入力されていないスタンバイ時において、本実施形態の撮像装置は、表示部110をEVFとして機能させている。すなわち、システムコントローラ107は、所定のレート(例えば30フレーム/秒)で連続的に撮像し、撮像した画像から表示用画像を生成して、表示部110に表示させる処理を実行している。
顔検出の実行が設定されている場合、顔検出回路120は表示用画像(以下、EVF画像とも呼ぶ)に対して顔検出し、検出結果をシステムコントローラ107に出力する。そして、システムコントローラ107は、検出された顔領域をユーザに提示するための顔枠をEVF画像に重畳表示するよう、顔領域の位置情報とともに表示制御回路108に対して指示する。
また、顔検出結果はヒストグラム作成回路130にも供給され、ヒストグラム作成回路130はEVF画像中の顔領域に含まれる画素からヒストグラムを作成する。また、ヒストグラム作成回路130は、画像全体を複数に分割した領域ごとのヒストグラムを作成することもできる。作成したヒストグラムはバッファメモリ103に格納される。
ユーザがシャッターボタンを全押しして撮像開始指示が入力されると、システムコントローラ107は、自動露出制御(AE)、自動焦点検出(AF)などの処理結果に基づく撮像動作を行う。具体的には、システムコントローラ107は、レンズ装置200の焦点位置や絞り、メカニカルシャッター、撮像素子101、さらに必要に応じてフラッシュ(図示せず)などを制御し、撮像する。
撮像素子101から出力されるアナログ画像信号は、上述したAFE回路150を通じて、デジタル画像データとしてバッファメモリ103に格納される。このデジタル画像データに対し、信号処理回路140は、システムコントローラ107から設定された様々な信号処理パラメータに従って処理し、YUV形式の画像データを生成して、バッファメモリ103に再度格納する。
信号処理回路140で処理された画像データは、圧縮・伸長回路104によって例えばJPEG形式のファイルに符号化され、記録装置105によって記録媒体106に記録される。
また、表示制御回路108は、バッファメモリ103に格納されたYUV形式の画像データから表示用の画像を生成し、クイックレビュー画像として、D/Aコンバータ109を通じて表示部110に表示させる。
次に、図2を用いて、本実施形態の露出制御回路160における自動露出制御の具体的な処理について説明する。
領域輝度値演算出部202は、画面を横6、縦6に分割した36の領域(I,J)(I,J=0〜5)ごとに、バッファメモリ103に記憶されたRAW形式の画像データ(RAW画像データ)201の平均輝度Y(I,J)を算出する。
領域輝度値演算出部202は算出した平均輝度値Y(I,J)を、画面全体輝度算出部203、画面上部輝度算出部204、主被写体輝度算出部205へそれぞれ供給する。
画面全体輝度算出部203は、図3(a)のような、領域(I,J)ごとの重みW(I,J)を用い、以下の式(1)に示す加重平均演算により画面全体輝度Yallを算出する。
Yall=ΣY(I,J)×W(I,J)/ΣW(I,J) (1)
ただしI,J=0〜5
画面上部輝度算出部204は、領域ごとの輝度値Y(I,J)をもとに画面上部輝度値Yupperを式(2)に従って求める。
Yupper=(Y(0,0)+Y(1,0)+Y(2,0)+Y(3,0)+Y(4,0)+Y(5,0))/6 式(2)
主被写体輝度算出部205は、主被写体領域の輝度値を求める。本実施形態では、図1の顔検出回路120により顔が検出された場合、顔領域の大きさ及び位置が露出制御回路160に供給される。主被写体輝度算出部205は、検出された顔領域が1つであればその顔領域を、検出された顔領域が複数ある場合はその位置と大きさ(又はユーザの選択)により1つを主被写体領域として決定する。そして、主被写体輝度算出部205は、主被写体領域に含まれる画素の平均輝度値を主被写体輝度Ymainとして求める。
たとえば検出された顔領域が1つで、かつ図3(b)のような位置にある場合、主被写体輝度算出部205は、以下の式(3)のように、顔検出領域に全体が含まれる4つの領域の画素値の平均輝度を主被写体輝度Ymainとしてを求める。
Ymain=(Y(1,2)+Y(1,3)+Y(2,2)+Y(2,3))/4 式(3)
また、主被写体輝度算出部205は、顔検出回路120で顔が検出されなかった場合は、画面中心に主被写体があると仮定して、以下の式(4)のように、画面中心部の平均輝度値を主被写体輝度Ymainとして求める。すなわち、
Ymain=(Y(2,2)+Y(2,3)+Y(3,2)+Y(3,3))/4 式(4)
画面全体輝度Yall、画面上部輝度値Yupper、および主被写体輝度Ymainは、それぞれ露出制御値決定部206に供給される。
なお、画面全体輝度Yall、画面上部輝度値Yupper、および主被写体輝度Ymainが具体的な画像においてどのような領域の輝度値に対応するかの例を、図4に示す。
露出制御値決定部206は、以下のように画面全体輝度Yallおよび主被写体輝度Ymainの各々と目標露出値との差分を、露出制御データDeltaBvとして求める。通常の自動露出制御では、画面上部輝度値Yupperは用いられない。
顔が検出されている場合
DeltaBv =Log2(Ymain/Yref) 式(5)
顔が検出されていない場合
DeltaBv =Log2(Yall/Yref) 式(6)
ただしYrefは目標輝度値
ここで求められた露出制御データDeltaBvは目標輝度値(すなわち、適正輝度値)からの差分である。従って、輝度値を求めたRAW画像データ201を撮像したときの露出パラメータを、露出制御データDeltaBvを用いて補正して撮像することで、適正な明るさの画像を得ることが可能となる。
次に、図5(a)のフローチャートを参照して、本実施形態の撮像装置における、ダイナミックレンジ拡大処理を伴う撮像処理について説明する。
図5(a)に示す動作は、撮像スタンバイ時において、操作部112に含まれるシャッターボタンが全押しされ、撮像開始指示が入力されたことに応答して、システムコントローラ107が開始するものとする。なお、以下では、説明及び理解を容易にするため、図6(a)に示すように、顔検出回路120によって顔領域が1つだけ検出されている(すなわち、検出されている顔領域が主被写体領域である)ものとする。
まず、第1の算出手段としてのシステムコントローラ107は、以下のように第1ダイナミックレンジ拡大量を算出する(S501)。
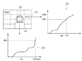
まず、システムコントローラ107は、ヒストグラム作成回路130により、図6(a)〜図6(c)に示すように、主被写体領域72(ここでは顔領域)に含まれる画素の輝度値の累積ヒストグラム74を作成させる。また、システムコントローラ107は、画面を4×4に分割した領域71ごとの画素値の累積ヒストグラム73も、ヒストグラム作成回路130に作成させる。そして、システムコントローラ107は顔領域の累積ヒストグラム74を用いて、累積ヒストグラムが全体に対する所定割合(ここでは90%とする)となる輝度値YHiFaceを算出する。また同様に、分割した個々の領域71についても、累積ヒストグラム73が所定割合(ここでは80%とする)となる輝度値YHi(I,J)(I,J=0〜3)を求める。
ここで得られる値YHiFace及びYHi(I,J)の値が大きいほど白とび(高輝度)領域が多いことを意味する。
次にシステムコントローラ107は、YHiFace,YHi(I,J)をあらかじめ設定されている閾値と比較する。
ここで、閾値を、大きい方からTHHiFace、THMidFace、THLowFaceの3段階とすると、システムコントローラ107は、顔領域より計算されるダイナミックレンジ拡大量DpFaceを以下のように求める。ここでは、ダイナミックレンジ拡大量DpFaceを、露出段数により表している。
DpFace=3/3段 (YHiFace>THHiFaceの場合)
DpFace=2/3段 (THHiFace≧YHiFace>THMidFaceの場合)
DpFace=1/3段 (THMidFace≧YHiFace>THLowFaceの場合)
DpFace=0 (YHiFace≦THLowFaceの場合)
一方、システムコントローラ107は、YHi(I,J)をあらかじめ決定されている輝度閾値YhiThと比較し、YhiThを超える領域の数をカウントする。ここで、カウントした結果をYH_BNum、閾値を大きい方からThYH_BNum3、ThYH_BNum2、ThYH_BNum1の3段階とする。システムコントローラ107は、分割領域ヒストグラムから求められるダイナミックレンジ拡大量DpAreaを以下のように求める。ここでは、ダイナミックレンジ拡大量DpAreaを、露出段数により表している。
DpArea=3/3段 (YH_BNum>ThYH_BNum3の場合)
DpArea=2/3段 (ThYH_BNum3≧YH_BNum>ThYH_BNum2の場合)
DpArea=1/3段 (ThYH_BNum2≧YH_BNum>ThYH_BNum1の場合)
DpArea=0 (YH_BNum≦ThYH_BNum1の場合)
そして、システムコントローラ107は、ダイナミックレンジ拡大量DpFaceとDpAreaを比較し、大きい値を第1ダイナミックレンジ拡大量Dp1とする。
すなわち、
Dp1=DpFace (DpFace>DpAreaの場合)
Dp1=DpArea (DpFace≦DpAreaの場合)
である。
このように、第1ダイナミックレンジ拡大量Dp1は主被写体領域のハイライト輝度が高いほど、分割領域のうちハイライト輝度が高い領域の数が多いほど大きくなる。
第1ダイナミックレンジ拡大量Dp1を算出すると、第2の算出手段としてのシステムコントローラ107は次に第2ダイナミックレンジ拡大量Dp2を算出する(S502)。
システムコントローラ107は、露出制御回路160で得られる画面全体輝度Yall、画面上部輝度値Yupper、および主被写体輝度Ymainをもとに第2ダイナミックレンジ拡大量Dp2を算出する。
まず、システムコントローラ107は、画面全体輝度Yall、画面上部輝度値Yupper、および主被写体輝度Ymainを、それぞれ以下の式を用いて対応する露出段数DeltaBvAll、DeltaBvFace、DeltaBvMainに換算する。
DeltaBvAll=Log2(Yall/Yref)
DeltaBvUpper=Log2(Yupper/Yref)
DeltaBvMain=Log2(Ymain/Yref)
ここで、Yrefは目標輝度値である。
次にシステムコントローラ107は、段数換算した値から、以下のようにして被写体と背景の差分値を求める。
DeltaBv01=DeltaBvAll−DeltaBvMain
DeltaBv02=DeltaBvUpper−DeltaBvMain
ここで求められるDeltaBv01は主被写体と画面全体の輝度の差分である。たとえば顔が検出されている場合は、顔領域の輝度が目標輝度値となるように、すなわちDeltaBvMainが0になるように自動露出制御されているため、DeltaBv01が大きいほど、背景が露出オーバーであると判別できる。また、DeltaBv02は主被写体と画面上部の輝度の差分である。一般に画面上部は空などの明るい被写体が撮像されていることが多く、DeltaBv02が大きいほど、画面上部に露出オーバーな被写体が撮像されていると判別できる。
DeltaBv01とDeltaBv02のより大きい値をDeltaBvMaxとする。すなわち、
DeltaBvMax=DeltaBv01 (DeltaBv01>DeltaBv02の場合)
DeltaBvMax=DeltaBv02 (DeltaBv02≧DeltaBv01の場合)
である。
そして、システムコントローラ107は、DeltaBvMaxの大きさを6つの閾値(大きい方からDeltaMaxTh6〜DeltaMaxTh1とする)と比較し、最大2段分、1/3刻みの第2ダイナミックレンジ拡大量Dp2を算出する。
Dp2=6/3段 (DeltaBvMax>DeltaMaxTh6の場合)
Dp2=5/3段 (DeltaMaxTh6≧DeltaBvMax>DeltaMaxTh5の場合)
Dp2=4/3段 (DeltaMaxTh5≧DeltaBvMax>DeltaMaxTh4の場合)
Dp2=3/3段 (DeltaMaxTh4≧DeltaBvMax>DeltaMaxTh3の場合)
Dp2=2/3段 (DeltaMaxTh3≧DeltaBvMax>DeltaMaxTh2の場合)
Dp2=1/3段 (DeltaMaxTh2≧DeltaBvMax>DeltaMaxTh1の場合)
Dp2=0 (DeltaBvMax≦DeltaMaxTh1の場合)
本実施形態において、DeltaMaxTh6=6/3、DeltaMaxTh5=5/3、DeltaMaxTh4=4/3、DeltaMaxTh3=3/3、DeltaMaxTh2=2/3、DeltaMaxTh1=1/3とする。
本実施形態では、第2ダイナミックレンジ拡大量Dp2の上限値を、第1ダイナミックレンジ拡大量の上限値より大きい2段分にしている。これは、DeltaBvMaxが1段より大きくなる場合は、逆光のようなシーンが多く、より広いダイナミックレンジ拡大が必要となるためである。
第1ダイナミックレンジ拡大量Dp1と第2ダイナミックレンジ拡大量Dp2を算出すると、第3の算出手段としてのシステムコントローラ107は、最終ダイナミックレンジ拡大量Dpを以下のように算出する(S503)。
Dp=Dp1 (Dp1>Dp2の場合)
Dp=Dp2 (Dp1≦Dp2の場合)
次に、決定手段としてのシステムコントローラ107は、AFE回路150に、最終ダイナミックレンジ拡大量Dpに応じた感度設定値としてゲイン量を設定する。また、システムコントローラ107は、AFE回路150での感度設定のみによってはダイナミックレンジ拡大量Dpを実現できない場合、露出補正量を算出する(S504)。
S504における動作についてさらに説明する。図7(a)は、本実施形態におけるダイナミックレンジ(Dレンジ)の概念図を表す図である。
本実施形態において、ダイナミックレンジとは、適正輝度に対する撮像素子の飽和信号量輝度の比率と定義する。適正輝度とは、自動露出制御(AE)を行う際の輝度目標値レベル(Yref)であり、例えばAEのモードが平均測光モードであれば、画面輝度の平均値に、顔AEモードであれば顔領域輝度の平均値に相当する。
従って、
ダイナミックレンジ=センサー飽和信号量輝度/AE目標値
と定義することができる。
なお、ここでのAE目標値はAFE回路150で感度調整を行う前の、撮像素子101の出力信号に基づくAE目標値である。
AE目標値は、AEのモードに応じて変化してよく、評価測光モードやスポット測光モードであっても、それぞれのモードによるAE目標値を用いることができる。
図7(b)は、AE目標値、飽和信号値およびダイナミックレンジの関係例を示す図である。
図7(b)から、AE目標値を下げることにより、ダイナミックレンジ量を大きくしていくことが可能であることがわかる。すなわち、ダイナミックレンジ拡大を行うためには、最終ダイナミックレンジ拡大量Dp分だけ、露出アンダーで撮像する必要があることがわかる。
S504でシステムコントローラ107は、最終ダイナミックレンジ拡大量Dp、すなわちAE目標値の低減量が、AFE回路150における感度調整(CDSゲイン回路およびVGAゲイン回路の制御)により実現可能であるか否か判定する。この判定は、AFE回路150で調整可能な感度の範囲とS503で算出した最終ダイナミックレンジ拡大量Dpとを比較して行うことができる。最終ダイナミックレンジ拡大量Dpに相当する感度の低減(ゲインの低減)ができない場合、システムコントローラ107は、AFE回路150での感度調整のみでは最終ダイナミックレンジ拡大量Dpを実現できないと判断する。
AFE回路150における感度調整で最終ダイナミックレンジ拡大量Dpを実現可能な場合、システムコントローラ107は、最終ダイナミックレンジ拡大量Dpを実現するゲイン設定を算出する。なお、AFE回路150のCDSゲインとVGAゲインとをどのように組み合わせて最終ダイナミックレンジ拡大量Dpを実現するかには特に制限はなく、任意の組み合わせで設定可能である。
一方、AFE回路150での感度調整だけでは最終ダイナミックレンジ拡大量Dpを実現できないと判断される場合、システムコントローラ107は、感度調整を行っても依然として不足する感度低減量を実現するための露出補正量を算出する。
ここでの露出補正はマイナス補正であり、絞りを小さく(絞り値を大きく)する、シャッター速度を早くする、減光フィルタ(NDフィルタ)を挿入するといった、一般的な方法によって実現することができる。
システムコントローラ107は、AFE回路150のCDSゲインおよびVGAゲインを設定する。また、露出補正を行う場合には、AE結果に応じた露出パラメータ(シャッター速度、絞り値、NDフィルタの使用有無の設定など)を、露出補正量に応じて変更し、レンズ装置200に設定する。
次に、撮像制御手段としてのシステムコントローラ107は、静止画撮像(本露光)を行う(S505)。撮像により得られたRAW画像データはバッファメモリ103に記憶される。
システムコントローラ107は、RAW画像データに対して所謂現像処理を適用するするために必要な各種パラメータを信号処理回路140に設定する。この場合、最終ダイナミックレンジ拡大量Dpに応じた段数分て露出アンダーな撮像条件で撮像されているため、システムコントローラ107は、明るさを補うようなガンマパラメータを信号処理回路140に設定する(S506)。
図8は、本実施形態の信号処理回路140におけるガンマ補正特性の設定例を示す図である。
ダイナミックレンジ拡大量を、通常(0/3段)、+1/3段、+2/3段、+3/3段分の4段階に設定した場合のガンマ特性(明るさ補正量)の設定例を示している。なお、1段分を超えてダイナミックレンジを拡大する場合にも、同様な考え方で設定すればよい。
ここで各ダイナミックレンジ拡大量に対応したAE目標値は図7(b)で示したものと同値である。図8に示すように、各ダイナミックレンジ拡大時におけるAE目標値に対してガンマ補正した後のAE目標値が、ダイナミックレンジ拡大量によらず、ダイナミックレンジ拡大をしない通常のAE目標値となるようにガンマ補正特性を設定する。すなわち、最終ダイナミックレンジ拡大量Dpに応じて、あらかじめ用意されたガンマ補正特性が選択的に設定される。
図7(a)および図7(b)を用いて説明したように、AE目標値を下げることで、ダイナミックレンジを拡大することができる。しかし、単純にAE目標値を下げると、露出アンダーとなり、撮像画像が暗くなってしまう。そのため、ダイナミックレンジ拡大量に応じて、撮像後の画像データを明るくするように信号処理回路140でガンマ補正することにより、撮像画像の明るさ(露出)を適正にしながら、ダイナミックレンジを拡大することができる。
なお、本実施形態では、AE目標値を下げたことによる撮像画像の輝度低下を、ガンマ補正により補償する構成について例示したが、ルックアップテーブルなど別の手段を用いて同様の輝度補正を行ってもよい。
ガンマ補正特性が設定されると、信号処理回路140はRAW画像データの現像処理を行い、YUV形式の画像データをバッファメモリ103に格納する(S507)。信号処理回路140で現像処理された画像データは、圧縮・伸長回路104によって例えばJPEG形式のファイルに符号化され、記録装置105によって記録媒体106に記録される(S508)。
本実施形態において、第1ダイナミックレンジ拡大量の決定に用いる分割領域ごとのヒストグラムを、画面を4×4に分割した16の領域について作成した。しかし、分割数はこれに限られるものではなく、M×N(M、Nは任意の整数)であってよい。
また、顔領域のヒストグラムと分割領域ごとのヒストグラムの両方を使用して第1ダイナミックレンジ拡大量を決定したが、演算処理の簡略化のため、どちらか一方のみを用いて決定してもよい。また、他の情報(全体ヒストグラム情報、非等分割領域ヒストグラム等)を使って拡大量を決定してもよい。
また、画面全体輝度、画面上部輝度、主被写体輝度を用いて第2ダイナミックレンジ拡大量を決定したが、画面左右輝度、画面下部輝度などと主被写体輝度との輝度差や、他の画面内の領域間の輝度差を用いて決定してもよい。
また、第1ダイナミックレンジ拡大量と第2ダイナミックレンジ拡大量を求めるにあたり、ノイズの増加を考慮して、高感度撮像時には低感度撮像時に比べてダイナミックレンジ拡大量を低減するようにしてもよい。具体例としては、設定されている撮像感度に応じて各閾値(THHiFace、THMidFace、THLowFace、YhiTh、DeltaMax6〜DeltaMax1)の値が大きくなるように変更すればよい。
以上説明したように、本実施形態によれば、主被写体と画像全体の少なくとも一方の輝度が高い多いほど大きくなる第1ダイナミックレンジ拡大量と、画面内の領域間の輝度の差が大きいほど大きくなる第2ダイナミックレンジ拡大量を求める。そして、いずれか大きい方のダイナミックレンジ拡大量を適用する。これにより、画面の一部の白い被写体が白とびするようなシーンに対しては第1ダイナミックレンジ拡大量が、逆光シーンのように主被写体と背景の輝度差が大きいシーンについては第2ダイナミックレンジ拡大量が適応的に決定される。そのため、シーンに応じたダイナミックレンジ拡大量を自動的に設定することができる。
また、第1ダイナミックレンジ拡大量の上限値よりも第2ダイナミックレンジ拡大量の上限値を大きく設定している。そのため、砂浜や雪山のような白い被写体が含まれるようなシーンにおいて、ダイナミックレンジ拡大量が大きいことによるコントラスト低下を抑制できる。また、人物を逆光で撮像した場合には、より大きなダイナミックレンジ拡大量が適用可能となるため、主被写体である人物の顔の明るさが適正で、かつ背景の白とびをなるべく抑えることが可能になる。
(第2の実施形態)
次に、本発明の第2の実施形態について、第1の実施形態と異なる部分のみ説明する。説明がない部分に関しては、第1の実施形態と同じである。
図5(b)は、本実施形態の撮像装置における、ダイナミックレンジ拡大処理を伴う撮像処理について説明するフローチャートであり、第1の実施形態と異なる処理のみ記載している。
本実施形態では、
・S501の後にS510の逆光判定処理が追加され、逆光と判定された場合においてのみ第2ダイナミックレンジ拡大算出処理が実施されること、
・逆光と判定されなかった場合はS503で第1ダイナミックレンジ拡大量のみから最終ダイナミックレンジ拡大量を算出すること、が第1の実施形態と異なる。
S510における逆光判定処理について説明する。
逆光判定は、露出制御回路160の画面全体輝度算出部203、画面上部輝度算出部204、主被写体輝度算出部205で求められる画面全体輝度Yall、画面上部輝度値Yupper、および主被写体輝度Ymainを用いて行う。
システムコントローラ107は、画面全体輝度Yall、画面上部輝度値Yupper、および主被写体輝度Ymainを、以下の式を用いて対応する露出段数DeltaBvAll、DeltaBvFace、DeltaBvMainに換算する。
DeltaBvAll=Log2(Yall/Yref)
DeltaBvUpper=Log2(Yupper/Yref)
DeltaBvMain=Log2(Ymain/Yref)
ここで、Yrefは目標輝度値である。
次にシステムコントローラ107は、段数換算した値から、以下のようにして被写体と背景の差分値を求める。
DeltaBv01=DeltaBvAll−DeltaBvMain
DeltaBv02=DeltaBvUpper−DeltaBvMain
そして、システムコントローラ107は、算出したDeltaBv01、DeltaBv02を、それぞれあらかじめ設定されている閾値BackLightTh01、BackLightTh02と比較する。システムコントローラ107は、以下の2つの条件のどちらかが満たされた場合に逆光と判定する。
条件1: DeltaBv01>BackLightTh01
条件2: DeltaBv02>BackLightTh02
条件1は、画面全体輝度が主被写体輝度に対し、一定値BackLightTh01より大きいことを意味する。また条件2は、画面上部輝度が主被写体輝度に対して一定値BackLightTh02より大きいことを意味する。いずれの場合も、主被写体よりも背景の輝度が一定値を超えて高いことを意味するため、逆光であると判定することができる。なお、閾値BackLightTh01、BackLightTh02の値は例えば経験的に求めることができる。
なお、本実施形態で、システムコントローラ107は、S510で逆光と判定されず、第2ダイナミックレンジ拡大量Dp2を算出しなかった場合には、S503において、第1ダイナミックレンジ拡大量Dp1を最終ダイナミックレンジ拡大量Dpとする。
なお、S510で逆光と判定して第2ダイナミックレンジ拡大量Dp2を算出する場合、DeltaBv01及びDeltaBv02を改めて算出する必要はなく、S510で求めた値を用いることができる。
本実施形態においては、画面全体輝度、画面上部輝度、主被写体輝度の関係から逆光の判定をしているが、逆光判定方法としてはこれに限られるものではない。例えば、画面全体のヒストグラム情報を用いて、ハイライト部、ダーク部の画面全体に対する比率等の情報から逆光を判別してもよい。
また、本実施形態においては、第1ダイナミックレンジ拡大量を算出した後に逆光判定を実施するようにしているが、第1ダイナミックレンジ拡大量を算出する前に逆光判定を実施してもよい。この場合、逆光と判定されなければ第1ダイナミックレンジ拡大量のみを算出して最終ダイナミックレンジ拡大量とし、逆光と判定された場合のみ、第1ダイナミックレンジ拡大量算出と第2ダイナミックレンジ拡大量算出を実施するようにしてもよい。
本実施形態によれば、より少ない処理負荷で、第1の実施形態と同様の効果を得ることができる。
以上、本発明をその好適な実施形態に基づいて詳述してきたが、本発明はこれら特定の実施形態に限られるものではなく、この発明の要旨を逸脱しない範囲の様々な形態も本発明に含まれる。上述の実施形態の一部を適宜組み合わせてもよい。
また、本発明は、以下の処理を実行することによっても実現される。即ち、上述した実施形態の機能を実現するソフトウェア(プログラム)を、ネットワーク又は各種記憶媒体を介してシステム或いは装置に供給し、そのシステム或いは装置のコンピュータ(またはCPUやMPU等)がプログラムを読み出して実行する処理である。

Claims (8)

  1. 撮像を行い画像データを取得する撮像手段と、
    前記撮像手段により取得された画像データの輝度のヒストグラムに基づいて第1の補正量を算出する第1の算出手段と、
    前記撮像手段により取得された画像データの領域間の輝度差に基づいて第2の補正量を算出する第2の算出手段と、
    前記第1の補正量及び第2の補正量を比較した結果に基づいて、撮像感度及び露出少なくとも一方の低減量を決定する決定手段と、
    記決定手段により決定された前記低減量に基づいて前記撮像手段により撮像を行い、取得された画像データに対して前記低減量を補う信号処理を適用する補正手段とを有することを特徴とする撮像装置。
  2. 前記第1の算出手段、前記撮像手段により取得された画像データから検出された主被写体領域の輝度のヒストグラムに基づく補正量と、前記撮像手段により取得された画像データを分割した複数の領域それぞれの輝度のヒストグラムに基づく補正量とを算出し、いずれか大きい方を前記第1の補正量とすることを特徴とする請求項1記載の撮像装置。
  3. 前記第2の算出手段、前記撮像手段により取得された画像データから検出された主被写体領域の平均輝度と、前記撮像手段により取得された画像データの全体もしくは前記撮像手段により取得された画像データの予め定められた一部の平均輝度との差が大きいほど大きくなるように前記第2の補正量を算出することを特徴とする請求項1又は請求項2記載の撮像装置。
  4. 前記第2の補正量の上限値が、前記第1の補正量の上限値よりも高く設定されることを特徴とする請求項1乃至請求項3のいずれか1項に記載の撮像装置。
  5. 前記第1の補正量の上限値及び前記第2の補正量の上限値が、前記第1の補正量及び第2の補正量を算出する前の撮像感度が高いほど小さく設定されることを特徴とする請求項1乃至請求項4のいずれか1項に記載の撮像装置。
  6. 前記決定手段は、前記第1の補正量及び第2の補正量のうち大きい方の補正量に基づいて、前記低減量を決定することを特徴とする請求項1乃至請求項5のいずれか1項に記載の撮像装置。
  7. 前記撮像手段により取得された画像データに基づく画像が逆光シーンであるか否かを、当該画像データの領域間の輝度差によって判定する判定手段をさらに有し、
    前記第2の算出手段は、前記判定手段により逆光シーンであると判定された場合のみ前記第2の補正量を算出し、
    前記決定手段は、前記判定手段により逆光シーンでないと判定された場合には、前記第1の補正量に基づいて前記低減量を決定することを特徴とする請求項1乃至請求項のいずれか1項に記載の撮像装置。
  8. 撮像を行い画像データを取得する撮像手段を有する撮像装置の制御方法であって、
    第1の算出手段が、前記撮像手段により取得された画像データの輝度のヒストグラムに基づいて第1の補正量を算出する第1の算出工程と、
    第2の算出手段が、前記撮像手段により取得された画像データの領域間の輝度差に基づいて第2の補正量を算出する第2の算出工程と、
    決定手段が、前記第1の補正量及び第2の補正量を比較した結果に基づいて、撮像感度及び露出少なくとも一方の低減量を決定する決定工程と、
    補正手段が、前記決定工程で決定された前記低減量に基づいて前記撮像手段により取得された画像データに対して前記低減量を補う信号処理を適用する補正工程とを有することを特徴とする撮像装置の制御方法
JP2009201093A 2009-08-31 2009-08-31 撮像装置およびその制御方法 Active JP5351663B2 (ja)

Priority Applications (1)

Application Number Priority Date Filing Date Title
JP2009201093A JP5351663B2 (ja) 2009-08-31 2009-08-31 撮像装置およびその制御方法

Applications Claiming Priority (1)

Application Number Priority Date Filing Date Title
JP2009201093A JP5351663B2 (ja) 2009-08-31 2009-08-31 撮像装置およびその制御方法

Publications (3)

Publication Number Publication Date
JP2011055171A JP2011055171A (ja) 2011-03-17
JP2011055171A5 JP2011055171A5 (ja) 2012-10-18
JP5351663B2 true JP5351663B2 (ja) 2013-11-27

Family

ID=43943747

Family Applications (1)

Application Number Title Priority Date Filing Date
JP2009201093A Active JP5351663B2 (ja) 2009-08-31 2009-08-31 撮像装置およびその制御方法

Country Status (1)

Country Link
JP (1) JP5351663B2 (ja)

Families Citing this family (1)

* Cited by examiner, † Cited by third party
Publication number Priority date Publication date Assignee Title
JP6250970B2 (ja) * 2013-07-30 2017-12-20 キヤノン株式会社 画像処理装置、撮像装置、画像処理方法、プログラム、及び記録媒体

Family Cites Families (5)

* Cited by examiner, † Cited by third party
Publication number Priority date Publication date Assignee Title
JP4269699B2 (ja) * 2003-01-24 2009-05-27 株式会社ニコン 電子カメラ
JP4360318B2 (ja) * 2004-11-29 2009-11-11 株式会社ニコン デジタルスチルカメラ
JP2007027967A (ja) * 2005-07-13 2007-02-01 Fujifilm Holdings Corp 撮影装置
JP4687492B2 (ja) * 2006-02-14 2011-05-25 株式会社ニコン カメラ、撮像方法、露出演算装置およびプログラム
JP4914300B2 (ja) * 2007-07-04 2012-04-11 富士フイルム株式会社 撮像装置及び撮像制御方法

Also Published As

Publication number Publication date
JP2011055171A (ja) 2011-03-17

Similar Documents

Publication Publication Date Title
US8355059B2 (en) Image capturing apparatus and control method thereof
US10412296B2 (en) Camera using preview image to select exposure
US9077905B2 (en) Image capturing apparatus and control method thereof
US8059187B2 (en) Image capturing apparatus
US8493458B2 (en) Image capture apparatus and image capturing method
JP6521776B2 (ja) 画像処理装置、画像処理方法
US11245857B2 (en) Apparatus for generating high-dynamic-range image, method, and storage medium
JP6720881B2 (ja) 画像処理装置及び画像処理方法
JP4999871B2 (ja) 撮像装置およびその制御方法
JP6873679B2 (ja) 撮像装置、撮像装置の制御方法及びプログラム
JP2009010616A (ja) 撮像装置および画像出力制御方法
JP6786273B2 (ja) 画像処理装置、画像処理方法、及びプログラム
JP5048599B2 (ja) 撮像装置
US8102446B2 (en) Image capturing system and image processing method for applying grayscale conversion to a video signal, and computer-readable recording medium having recorded thereon an image processing program for applying grayscale conversion to a video signal
JP2014179920A (ja) 撮像装置及びその制御方法、プログラム、並びに記憶媒体
JP2010183460A (ja) 撮像装置およびその制御方法
JP2002288650A (ja) 画像処理装置及びデジタルカメラ、画像処理方法、記録媒体
JP5335964B2 (ja) 撮像装置およびその制御方法
JP5351663B2 (ja) 撮像装置およびその制御方法
JP2010183461A (ja) 撮像装置およびその制御方法
JP2015037222A (ja) 画像処理装置、撮像装置、制御方法、及びプログラム
JP7646395B2 (ja) 撮像装置、撮像装置の制御方法、及びプログラム
JP5789330B2 (ja) 撮像装置およびその制御方法
JP6849351B2 (ja) 画像処理装置、画像処理方法、及びプログラム
JP2014121018A (ja) 撮像装置およびその制御方法

Legal Events

Date Code Title Description
A521 Request for written amendment filed

Free format text: JAPANESE INTERMEDIATE CODE: A523

Effective date: 20120830

A621 Written request for application examination

Free format text: JAPANESE INTERMEDIATE CODE: A621

Effective date: 20120830

A977 Report on retrieval

Free format text: JAPANESE INTERMEDIATE CODE: A971007

Effective date: 20130723

TRDD Decision of grant or rejection written
A01 Written decision to grant a patent or to grant a registration (utility model)

Free format text: JAPANESE INTERMEDIATE CODE: A01

Effective date: 20130726

A61 First payment of annual fees (during grant procedure)

Free format text: JAPANESE INTERMEDIATE CODE: A61

Effective date: 20130823

R151 Written notification of patent or utility model registration

Ref document number: 5351663

Country of ref document: JP

Free format text: JAPANESE INTERMEDIATE CODE: R151