JP5292001B2 - 流量計の現場較正用のシステムおよび方法 - Google Patents
流量計の現場較正用のシステムおよび方法 Download PDFInfo
- Publication number
- JP5292001B2 JP5292001B2 JP2008175187A JP2008175187A JP5292001B2 JP 5292001 B2 JP5292001 B2 JP 5292001B2 JP 2008175187 A JP2008175187 A JP 2008175187A JP 2008175187 A JP2008175187 A JP 2008175187A JP 5292001 B2 JP5292001 B2 JP 5292001B2
- Authority
- JP
- Japan
- Prior art keywords
- flow meter
- propagation time
- flow
- probe
- calibration
- Prior art date
- Legal status (The legal status is an assumption and is not a legal conclusion. Google has not performed a legal analysis and makes no representation as to the accuracy of the status listed.)
- Expired - Fee Related
Links
- 238000000034 method Methods 0.000 title description 34
- 239000000523 sample Substances 0.000 claims description 102
- 239000012530 fluid Substances 0.000 claims description 92
- 238000012545 processing Methods 0.000 claims description 33
- 230000000644 propagated effect Effects 0.000 claims description 24
- 238000004088 simulation Methods 0.000 claims description 19
- 238000012937 correction Methods 0.000 claims description 18
- 238000011144 upstream manufacturing Methods 0.000 description 14
- 238000005259 measurement Methods 0.000 description 11
- 238000002604 ultrasonography Methods 0.000 description 11
- 230000006870 function Effects 0.000 description 8
- 238000001311 chemical methods and process Methods 0.000 description 5
- 238000010586 diagram Methods 0.000 description 5
- 238000003780 insertion Methods 0.000 description 3
- 230000037431 insertion Effects 0.000 description 3
- 238000012544 monitoring process Methods 0.000 description 3
- 239000000654 additive Substances 0.000 description 2
- 230000000996 additive effect Effects 0.000 description 2
- 230000005540 biological transmission Effects 0.000 description 2
- 230000003628 erosive effect Effects 0.000 description 2
- 230000008569 process Effects 0.000 description 2
- XLYOFNOQVPJJNP-UHFFFAOYSA-N water Chemical compound O XLYOFNOQVPJJNP-UHFFFAOYSA-N 0.000 description 2
- 230000002411 adverse Effects 0.000 description 1
- 238000004364 calculation method Methods 0.000 description 1
- 230000015556 catabolic process Effects 0.000 description 1
- 230000008859 change Effects 0.000 description 1
- 238000012993 chemical processing Methods 0.000 description 1
- 238000002485 combustion reaction Methods 0.000 description 1
- 238000004891 communication Methods 0.000 description 1
- 238000010276 construction Methods 0.000 description 1
- 238000006731 degradation reaction Methods 0.000 description 1
- 230000008021 deposition Effects 0.000 description 1
- 239000012153 distilled water Substances 0.000 description 1
- 238000005516 engineering process Methods 0.000 description 1
- 230000007717 exclusion Effects 0.000 description 1
- 238000004519 manufacturing process Methods 0.000 description 1
- 230000007246 mechanism Effects 0.000 description 1
- 238000005457 optimization Methods 0.000 description 1
- 230000001902 propagating effect Effects 0.000 description 1
- 238000000926 separation method Methods 0.000 description 1
- 239000000126 substance Substances 0.000 description 1
- 238000012360 testing method Methods 0.000 description 1
Images
Classifications
-
- G—PHYSICS
- G01—MEASURING; TESTING
- G01F—MEASURING VOLUME, VOLUME FLOW, MASS FLOW OR LIQUID LEVEL; METERING BY VOLUME
- G01F1/00—Measuring the volume flow or mass flow of fluid or fluent solid material wherein the fluid passes through a meter in a continuous flow
- G01F1/66—Measuring the volume flow or mass flow of fluid or fluent solid material wherein the fluid passes through a meter in a continuous flow by measuring frequency, phase shift or propagation time of electromagnetic or other waves, e.g. using ultrasonic flowmeters
- G01F1/667—Arrangements of transducers for ultrasonic flowmeters; Circuits for operating ultrasonic flowmeters
- G01F1/668—Compensating or correcting for variations in velocity of sound
-
- G—PHYSICS
- G01—MEASURING; TESTING
- G01F—MEASURING VOLUME, VOLUME FLOW, MASS FLOW OR LIQUID LEVEL; METERING BY VOLUME
- G01F25/00—Testing or calibration of apparatus for measuring volume, volume flow or liquid level or for metering by volume
- G01F25/10—Testing or calibration of apparatus for measuring volume, volume flow or liquid level or for metering by volume of flowmeters
Landscapes
- Physics & Mathematics (AREA)
- Fluid Mechanics (AREA)
- General Physics & Mathematics (AREA)
- Electromagnetism (AREA)
- Measuring Volume Flow (AREA)
Description
DigitalFlowTM GF868 Panametrics Flare Gas Mass Ultrasonic Flowmeter,Copyright 2005 GE "How much do you flare?",Process,worldwide 3−2006,page 18−19 Flare Gas Flowmeter Service TCED and AQMD compliant,Copyright 2004 GE
cプローブ=d/tavg (2)
ここで、
tavg=(t32,34+t34,32)/2
であり、t32,34は、プローブ変換器32からプローブ変換器34までの伝搬時間であり、t34,32は、プローブ変換器34からプローブ変換器32までの伝搬時間である。
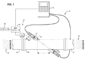
12 変換器、上流の変換器
14 変換器、下流の変換器
16 処理部および電子機器
18 パイプ、導管
18a スプール部材
20 流量計較正システム
24 流体
30 プローブ
31 穴
32 変換器、プローブ変換器
34 変換器、プローブ変換器
35 反射器
36 開口部
38 開口部
40 処理サブシステム、処理装置
60 流れシミュレータ
62 受信機
64 シミュレーションサブシステムまたはモジュール、シミュレーションサブシステム
66 較正サブシステムまたはモジュール、較正サブシステム
68 流量変換器信号、伝搬される流量計変換器信号
68’ 流量変換器信号、伝搬される流量計変換器信号
70 シミュレートした伝播時間信号パルス、シミュレートした信号パルス、シミュレートした伝播時間パルス
70’ シミュレートした伝播時間信号パルス、シミュレートした信号パルス、シミュレートした伝播時間パルス
72 伝搬時間差分値
74 流体の流速値、流速値、速度値
76 較正係数
78 較正係数
80 コンピュータ
Claims (2)
- 流量計用の較正システムであって、
流量計変換器信号を流量計から受信するように構成される受信機と、
前記流量計からの実際の伝搬時間信号パルスに基づいてシミュレートした伝搬時間信号パルスを生成し、予め選択された時間間隔で前記シミュレートした伝搬時間信号パルスを前記流量計に対して送信するように構成されるシミュレーションサブシステムと、
前記シミュレートした伝搬時間信号パルスに基づいて前記流量計により生成される伝搬時間差分値を前記流量計から受信し、較正係数を算出するために前記流量計により生成される前記伝搬時間差分値を予め選択された時間間隔と比較し、前記較正係数を前記流量計に対して出力するように構成される較正サブシステムと
を備える流れシミュレータ
を含む、較正システム。 - 流量計用の較正システムであって、
プローブであって、ある一定の距離だけ離して間隔をおいて配置される少なくとも2つの変換器、および流体が前記プローブを通って流れるための少なくとも1つの開口部を含み、前記変換器が、超音波信号を送受信し、伝搬時間信号を出力するように構成されるプローブと、
前記プローブ変換器を励振し、前記伝搬時間信号に応答する処理サブシステムであって、前記プローブを通って流れる流体中の音速を計算し、音速の補正係数を流量計に対して出力するように構成される処理サブシステムと、
伝搬される流量計変換器信号を前記流量計から受信するように構成される受信機、
前記流量計から受信される前記伝搬される流量計変換器信号を用いてシミュレートした伝搬時間信号パルスを生成し、予め選択された時間間隔で前記シミュレートした伝搬時間信号パルスを前記流量計に対して送信するように構成されるシミュレーションサブシステム、ならびに、
前記シミュレートした伝搬時間信号パルスに基づいて前記流量計により生成される伝搬時間差分値および流体の流速値のうちの少なくとも1つを前記流量計から受信し、較正係数を前記流量計に対して出力するように構成される較正サブシステム
を備える流れシミュレータと
を備える、較正システム。
Applications Claiming Priority (2)
| Application Number | Priority Date | Filing Date | Title |
|---|---|---|---|
| US11/774,215 | 2007-07-06 | ||
| US11/774,215 US7984637B2 (en) | 2007-07-06 | 2007-07-06 | System and method for field calibration of flow meters |
Publications (2)
| Publication Number | Publication Date |
|---|---|
| JP2009014726A JP2009014726A (ja) | 2009-01-22 |
| JP5292001B2 true JP5292001B2 (ja) | 2013-09-18 |
Family
ID=40213195
Family Applications (1)
| Application Number | Title | Priority Date | Filing Date |
|---|---|---|---|
| JP2008175187A Expired - Fee Related JP5292001B2 (ja) | 2007-07-06 | 2008-07-04 | 流量計の現場較正用のシステムおよび方法 |
Country Status (5)
| Country | Link |
|---|---|
| US (1) | US7984637B2 (ja) |
| EP (1) | EP2037232A3 (ja) |
| JP (1) | JP5292001B2 (ja) |
| CN (1) | CN101339068B (ja) |
| CA (1) | CA2635390C (ja) |
Families Citing this family (47)
| Publication number | Priority date | Publication date | Assignee | Title |
|---|---|---|---|---|
| WO2008051639A2 (en) | 2006-10-25 | 2008-05-02 | Maui Imaging, Inc. | Method and apparatus to produce ultrasonic images using multiple apertures |
| US7661289B1 (en) * | 2007-08-31 | 2010-02-16 | Edc Biosystems, Inc. | Method for calibrating an acoustic droplet dispensing apparatus |
| US9788813B2 (en) | 2010-10-13 | 2017-10-17 | Maui Imaging, Inc. | Multiple aperture probe internal apparatus and cable assemblies |
| US9282945B2 (en) | 2009-04-14 | 2016-03-15 | Maui Imaging, Inc. | Calibration of ultrasound probes |
| DE102009046871A1 (de) * | 2008-11-21 | 2010-06-17 | Flexim Flexible Industriemesstechnik Gmbh | Verfahren und Vorrichtung zur Kalibrierung von Messumformern von Ultraschall-Durchflussmessgeräten |
| US7942068B2 (en) * | 2009-03-11 | 2011-05-17 | Ge Infrastructure Sensing, Inc. | Method and system for multi-path ultrasonic flow rate measurement |
| WO2010120907A2 (en) | 2009-04-14 | 2010-10-21 | Maui Imaging, Inc. | Multiple aperture ultrasound array alignment fixture |
| EP4235215A3 (en) | 2010-02-18 | 2024-02-28 | Maui Imaging, Inc. | Point source transmission and speed-of-sound correction using multi-aperture ultrasound imaging |
| EP2383550A1 (en) * | 2010-04-28 | 2011-11-02 | Miitors ApS | Ultrasonic flow meter |
| KR101906838B1 (ko) | 2010-10-13 | 2018-10-11 | 마우이 이미징, 인코포레이티드 | 오목한 초음파 트랜스듀서들 및 3d 어레이들 |
| AT509641B1 (de) | 2011-06-24 | 2012-08-15 | Avl List Gmbh | Verfahren zur ermittlung des durchflusses von fluiden nach dem ultraschalllaufzeitverfahren |
| JP6407719B2 (ja) | 2011-12-01 | 2018-10-17 | マウイ イマギング,インコーポレーテッド | ピングベース及び多数開口ドップラー超音波を用いた運動の検出 |
| EP2607864B8 (en) * | 2011-12-19 | 2017-08-02 | Endress+Hauser Consult AG | Method of in line verification of a flow meter |
| CN104080407B (zh) | 2011-12-29 | 2017-03-01 | 毛伊图像公司 | 任意路径的m模式超声成像 |
| CN107028623B (zh) | 2012-02-21 | 2020-09-01 | 毛伊图像公司 | 使用多孔超声确定材料刚度 |
| CN102589627B (zh) * | 2012-02-23 | 2014-06-04 | 北京理工大学 | 一种用于超声波流量计的绝对传播时间测量方法 |
| KR102103137B1 (ko) | 2012-03-26 | 2020-04-22 | 마우이 이미징, 인코포레이티드 | 가중 인자들을 적용함으로써 초음파 이미지 품질을 향상시키는 시스템들 및 방법들 |
| EP2690461B1 (en) * | 2012-07-26 | 2017-03-01 | Sercel | Method for estimating the water speed of an acoustic node |
| EP2883079B1 (en) | 2012-08-10 | 2017-09-27 | Maui Imaging, Inc. | Calibration of multiple aperture ultrasound probes |
| CN103676827A (zh) | 2012-09-06 | 2014-03-26 | Ip音乐集团有限公司 | 用于远程控制音频设备的系统和方法 |
| EP3893022B1 (en) | 2012-09-06 | 2025-02-12 | Maui Imaging, Inc. | Ultrasound imaging system memory architecture |
| WO2014160291A1 (en) | 2013-03-13 | 2014-10-02 | Maui Imaging, Inc. | Alignment of ultrasound transducer arrays and multiple aperture probe assembly |
| DK178244B1 (en) * | 2013-06-21 | 2015-09-28 | Agena As | A system or a method for measuring flow in a flow duct |
| US9883848B2 (en) | 2013-09-13 | 2018-02-06 | Maui Imaging, Inc. | Ultrasound imaging using apparent point-source transmit transducer |
| CA2960959C (en) | 2014-08-14 | 2023-07-04 | Soneter, Inc. | Devices and system for channeling and automatic monitoring of fluid flow in fluid distribution systems |
| MX376810B (es) * | 2014-08-14 | 2025-03-07 | Reliance Worldwide Corp | Métodos y aparato para monitoreo de flujo de fluidos y detección de fugas. |
| US10401493B2 (en) | 2014-08-18 | 2019-09-03 | Maui Imaging, Inc. | Network-based ultrasound imaging system |
| CN104596602A (zh) * | 2015-02-13 | 2015-05-06 | 广东奥迪威传感科技股份有限公司 | 超声波测量系统及其测量方法 |
| JP6770973B2 (ja) | 2015-03-30 | 2020-10-21 | マウイ イマギング,インコーポレーテッド | 物体の動きを検出するための超音波イメージングシステム及び方法 |
| PL3234514T3 (pl) * | 2015-08-28 | 2020-07-27 | Reliance Worldwide Corporation | Konfiguracja i kalibracja przepływomierza |
| US20170082480A1 (en) * | 2015-09-21 | 2017-03-23 | Honeywell International Inc. | Real-time condition based monitoring (cbm) based ultrasonic meter (usm) accuracy performance detection and notification |
| JP6727308B2 (ja) | 2016-01-18 | 2020-07-22 | ゲーヴェーエフ メスシステメ アーゲーGwf Messsysteme Ag | 改良型ビーム整形音響信号伝搬時間差式流量計 |
| CN105547420A (zh) * | 2016-01-18 | 2016-05-04 | 成都千嘉科技有限公司 | 超声波燃气表流量点系数校正装置及方法 |
| US10856846B2 (en) | 2016-01-27 | 2020-12-08 | Maui Imaging, Inc. | Ultrasound imaging with sparse array probes |
| DE102016103419A1 (de) * | 2016-02-26 | 2017-08-31 | Krohne Messtechnik Gmbh | Messstab für den Nachweis eines strömenden Mediums in einem Rohr und diesbezügliche Messanordnung |
| CN106644844B (zh) * | 2016-09-30 | 2020-02-07 | 中国核动力研究设计院 | 一种液体用粒子分析仪检定装置的粒子分析仪检定方法 |
| JP7443254B2 (ja) * | 2018-06-11 | 2024-03-05 | ディーエイチ テクノロジーズ デベロップメント プライベート リミテッド | 微小液滴の体積測定 |
| EP3887769A4 (en) | 2018-11-30 | 2022-08-03 | Baker Hughes Holdings Llc | IN SITU VALIDATION OF AN ULTRASONIC FLOWMETER |
| EP3929542B1 (de) * | 2020-06-26 | 2023-06-14 | SICK Engineering GmbH | Prüfen eines ultraschalldurchflussmessers |
| EP4231921A4 (en) | 2020-10-21 | 2024-07-17 | Maui Imaging, Inc. | SYSTEMS AND METHODS FOR TISSUE CHARACTERIZATION USING MULTI-APERTURE ULTRASOUND |
| CN116635162A (zh) | 2020-11-02 | 2023-08-22 | 毛伊图像公司 | 用于改进超声图像质量的系统和方法 |
| CN114235107B (zh) * | 2021-12-22 | 2024-11-19 | 北京奥特美克科技股份有限公司 | 一种明渠流量计量的校准方法和校准系统 |
| US20240248467A1 (en) * | 2023-01-20 | 2024-07-25 | Saudi Arabian Oil Company | Automatic online flaring data validation and reporting |
| CN116858346B (zh) * | 2023-09-05 | 2023-11-07 | 成都千嘉科技股份有限公司 | 基于超声波流量计的校准方法和校准装置 |
| CN117182038A (zh) * | 2023-09-11 | 2023-12-08 | 重庆长安汽车股份有限公司 | 一种用于微量油基脱模剂的流量异常预警方法及其系统 |
| US20250198816A1 (en) * | 2023-12-18 | 2025-06-19 | Sensia Netherlands B.V. | Systems and methods of high accuracy flow measurements |
| CN118882545B (zh) * | 2024-09-30 | 2025-01-28 | 山东省计量科学研究院 | 超声换能器声道长度复核计算的方法及系统 |
Family Cites Families (14)
| Publication number | Priority date | Publication date | Assignee | Title |
|---|---|---|---|---|
| US3981191A (en) * | 1975-07-05 | 1976-09-21 | Danfoss A/S | Method and apparatus for the ultrasonic measurement of the flow velocity of fluent media |
| SU792143A1 (ru) * | 1979-01-25 | 1980-12-30 | Каунасский Политехнический Институт Им.А.Снечкуса | Устройство дл градуировки и определени метрологических характеристик ультразвуковых измерителей скорости потока |
| US4509373A (en) * | 1983-06-09 | 1985-04-09 | Manning Technologies, Inc. | Calibration circuit for ultrasonic flowmeter |
| JPS62165122A (ja) * | 1986-01-17 | 1987-07-21 | Kawasaki Steel Corp | 透過形超音波流量計の較正方法 |
| US4729247A (en) * | 1986-12-19 | 1988-03-08 | Manning Technologies, Inc. | Universal doppler flowmeter tester |
| US4762012A (en) * | 1987-01-29 | 1988-08-09 | Manning Technologies, Inc. | Universal upstream-downstream flowmeter tester |
| JPH088417Y2 (ja) * | 1989-03-17 | 1996-03-06 | 株式会社カイジョー | 超音波流量計校正装置 |
| US4989446A (en) * | 1990-01-23 | 1991-02-05 | Dynatek Laboratories, Inc. | Ultrasound calibrator |
| JP3136002B2 (ja) * | 1992-09-08 | 2001-02-19 | 株式会社オーバル | 超音波流量計 |
| US5748504A (en) * | 1996-06-12 | 1998-05-05 | Welch Allyn, Inc. | Calibration method for use with ultrasonic flowmeters |
| JP3026770B2 (ja) * | 1997-02-27 | 2000-03-27 | 核燃料サイクル開発機構 | インライン酸濃度測定方法及び測定プローブ |
| JPH11351928A (ja) * | 1998-06-08 | 1999-12-24 | Yazaki Corp | 流量計および流量計測方法 |
| JP2005241407A (ja) * | 2004-02-26 | 2005-09-08 | Fuji Electric Systems Co Ltd | 超音波流量計の校正方法、超音波流速分布計の校正方法、超音波流量計、超音波流速分布計、検出器 |
| DE102004031274B4 (de) * | 2004-06-28 | 2007-07-12 | Flexim Flexible Industriemesstechnik Gmbh | Verfahren zur Kalibrierung von Ultraschall-Clamp-on-Durchflussmessgeräten |
-
2007
- 2007-07-06 US US11/774,215 patent/US7984637B2/en active Active
-
2008
- 2008-06-19 CA CA2635390A patent/CA2635390C/en active Active
- 2008-06-20 EP EP08158641A patent/EP2037232A3/en not_active Withdrawn
- 2008-07-04 JP JP2008175187A patent/JP5292001B2/ja not_active Expired - Fee Related
- 2008-07-07 CN CN2008101251001A patent/CN101339068B/zh not_active Expired - Fee Related
Also Published As
| Publication number | Publication date |
|---|---|
| JP2009014726A (ja) | 2009-01-22 |
| US7984637B2 (en) | 2011-07-26 |
| EP2037232A3 (en) | 2009-05-27 |
| US20090007625A1 (en) | 2009-01-08 |
| CN101339068A (zh) | 2009-01-07 |
| CA2635390A1 (en) | 2009-01-06 |
| CN101339068B (zh) | 2013-12-25 |
| CA2635390C (en) | 2012-09-11 |
| EP2037232A2 (en) | 2009-03-18 |
Similar Documents
| Publication | Publication Date | Title |
|---|---|---|
| JP5292001B2 (ja) | 流量計の現場較正用のシステムおよび方法 | |
| RU2446393C2 (ru) | Способ диагностики шероховатости трубопровода и ультразвуковой расходомер | |
| RU2443010C1 (ru) | Способ определения приближающегося отказа преобразователей, система определения приближающегося отказа преобразователей (варианты) и машиночитаемый носитель информации | |
| JP5222858B2 (ja) | 超音波流量計システム | |
| RU2478919C2 (ru) | Способ калибровки в условиях эксплуатации ультразвуковых расходомеров-счетчиков расхода и объема жидких однофазных сред | |
| CN108369242A (zh) | 改进的波束成形声学信号行进时间流量计 | |
| JP2008134267A (ja) | 超音波流量測定方法 | |
| WO2008016697A2 (en) | Method for monitoring a flowing fluid | |
| RU2473049C2 (ru) | Способ и система (варианты) определения наличия жидкости в нижней части корпуса расходомера, машиночитаемый носитель информации | |
| WO2011078691A2 (en) | Measuring apparatus | |
| GB2479115A (en) | Ultrasonic flow measurement based on propagation time of Lamb waves | |
| CN102829829A (zh) | 一种时差法超声波流量检测方法及装置 | |
| Liu et al. | Development of flue gas audio-range velocimeter using quadratic-convex frequency sweeping | |
| CN102914333B (zh) | 利用超声波检测流量的检测方法 | |
| US11536598B2 (en) | Time-accurate CFD enhanced interpretation of strain-based flow measurement | |
| US12298165B2 (en) | Methods and apparatus for determining the speed of sound within a piping network | |
| EP3063508B1 (en) | A flow meter for ultrasonically measuring the flow velocity of fluids | |
| EP3035006A2 (en) | Apparatus and a method for providing a time measurement | |
| CN102829830A (zh) | 用于超声波流量检测中检测超声波传播速度的方法及装置 | |
| CN106768104A (zh) | 一种超声波质量流量计 | |
| CN114442078A (zh) | 检测飞行时间的方法、超声波流量计及光学设备 | |
| JP4688253B2 (ja) | 超音波流量計 | |
| JP2001249039A (ja) | 超音波式ガス流速測定方法 | |
| US20100043521A1 (en) | Meter proving method and system | |
| CN202734881U (zh) | 超声波流量检测装置 |
Legal Events
| Date | Code | Title | Description |
|---|---|---|---|
| RD04 | Notification of resignation of power of attorney |
Free format text: JAPANESE INTERMEDIATE CODE: A7424 Effective date: 20110207 |
|
| A621 | Written request for application examination |
Free format text: JAPANESE INTERMEDIATE CODE: A621 Effective date: 20110624 |
|
| A521 | Request for written amendment filed |
Free format text: JAPANESE INTERMEDIATE CODE: A523 Effective date: 20120620 |
|
| A977 | Report on retrieval |
Free format text: JAPANESE INTERMEDIATE CODE: A971007 Effective date: 20130124 |
|
| A131 | Notification of reasons for refusal |
Free format text: JAPANESE INTERMEDIATE CODE: A131 Effective date: 20130129 |
|
| A521 | Request for written amendment filed |
Free format text: JAPANESE INTERMEDIATE CODE: A523 Effective date: 20130422 |
|
| TRDD | Decision of grant or rejection written | ||
| A01 | Written decision to grant a patent or to grant a registration (utility model) |
Free format text: JAPANESE INTERMEDIATE CODE: A01 Effective date: 20130514 |
|
| A61 | First payment of annual fees (during grant procedure) |
Free format text: JAPANESE INTERMEDIATE CODE: A61 Effective date: 20130610 |
|
| R150 | Certificate of patent or registration of utility model |
Ref document number: 5292001 Country of ref document: JP Free format text: JAPANESE INTERMEDIATE CODE: R150 |
|
| R250 | Receipt of annual fees |
Free format text: JAPANESE INTERMEDIATE CODE: R250 |
|
| R250 | Receipt of annual fees |
Free format text: JAPANESE INTERMEDIATE CODE: R250 |
|
| R250 | Receipt of annual fees |
Free format text: JAPANESE INTERMEDIATE CODE: R250 |
|
| R250 | Receipt of annual fees |
Free format text: JAPANESE INTERMEDIATE CODE: R250 |
|
| R250 | Receipt of annual fees |
Free format text: JAPANESE INTERMEDIATE CODE: R250 |
|
| R250 | Receipt of annual fees |
Free format text: JAPANESE INTERMEDIATE CODE: R250 |
|
| R250 | Receipt of annual fees |
Free format text: JAPANESE INTERMEDIATE CODE: R250 |
|
| R250 | Receipt of annual fees |
Free format text: JAPANESE INTERMEDIATE CODE: R250 |
|
| LAPS | Cancellation because of no payment of annual fees |
