JP5259698B2 - 浮上分離による水処理設備および水処理方法 - Google Patents

浮上分離による水処理設備および水処理方法 Download PDF

Info

Publication number
JP5259698B2
JP5259698B2 JP2010507933A JP2010507933A JP5259698B2 JP 5259698 B2 JP5259698 B2 JP 5259698B2 JP 2010507933 A JP2010507933 A JP 2010507933A JP 2010507933 A JP2010507933 A JP 2010507933A JP 5259698 B2 JP5259698 B2 JP 5259698B2
Authority
JP
Japan
Prior art keywords
water
water treatment
treatment facility
facility according
treated
Prior art date
Legal status (The legal status is an assumption and is not a legal conclusion. Google has not performed a legal analysis and makes no representation as to the accuracy of the status listed.)
Active
Application number
JP2010507933A
Other languages
English (en)
Other versions
JP2010527286A (ja
Inventor
デュムラン,ロランス
パストレリ,デリア
バダール,ミシェル
Current Assignee (The listed assignees may be inaccurate. Google has not performed a legal analysis and makes no representation or warranty as to the accuracy of the list.)
Veolia Water Solutions and Technologies Support SAS
Original Assignee
Veolia Water Solutions and Technologies Support SAS
Priority date (The priority date is an assumption and is not a legal conclusion. Google has not performed a legal analysis and makes no representation as to the accuracy of the date listed.)
Filing date
Publication date
Application filed by Veolia Water Solutions and Technologies Support SAS filed Critical Veolia Water Solutions and Technologies Support SAS
Publication of JP2010527286A publication Critical patent/JP2010527286A/ja
Application granted granted Critical
Publication of JP5259698B2 publication Critical patent/JP5259698B2/ja
Active legal-status Critical Current
Anticipated expiration legal-status Critical

Links

Images

Classifications

    • CCHEMISTRY; METALLURGY
    • C02TREATMENT OF WATER, WASTE WATER, SEWAGE, OR SLUDGE
    • C02FTREATMENT OF WATER, WASTE WATER, SEWAGE, OR SLUDGE
    • C02F1/00Treatment of water, waste water, or sewage
    • C02F1/24Treatment of water, waste water, or sewage by flotation
    • BPERFORMING OPERATIONS; TRANSPORTING
    • B01PHYSICAL OR CHEMICAL PROCESSES OR APPARATUS IN GENERAL
    • B01DSEPARATION
    • B01D1/00Evaporating
    • B01D1/22Evaporating by bringing a thin layer of the liquid into contact with a heated surface
    • BPERFORMING OPERATIONS; TRANSPORTING
    • B01PHYSICAL OR CHEMICAL PROCESSES OR APPARATUS IN GENERAL
    • B01DSEPARATION
    • B01D1/00Evaporating
    • B01D1/26Multiple-effect evaporating
    • BPERFORMING OPERATIONS; TRANSPORTING
    • B03SEPARATION OF SOLID MATERIALS USING LIQUIDS OR USING PNEUMATIC TABLES OR JIGS; MAGNETIC OR ELECTROSTATIC SEPARATION OF SOLID MATERIALS FROM SOLID MATERIALS OR FLUIDS; SEPARATION BY HIGH-VOLTAGE ELECTRIC FIELDS
    • B03DFLOTATION; DIFFERENTIAL SEDIMENTATION
    • B03D1/00Flotation
    • B03D1/14Flotation machines
    • B03D1/1412Flotation machines with baffles, e.g. at the wall for redirecting settling solids
    • BPERFORMING OPERATIONS; TRANSPORTING
    • B03SEPARATION OF SOLID MATERIALS USING LIQUIDS OR USING PNEUMATIC TABLES OR JIGS; MAGNETIC OR ELECTROSTATIC SEPARATION OF SOLID MATERIALS FROM SOLID MATERIALS OR FLUIDS; SEPARATION BY HIGH-VOLTAGE ELECTRIC FIELDS
    • B03DFLOTATION; DIFFERENTIAL SEDIMENTATION
    • B03D1/00Flotation
    • B03D1/14Flotation machines
    • B03D1/1431Dissolved air flotation machines
    • BPERFORMING OPERATIONS; TRANSPORTING
    • B03SEPARATION OF SOLID MATERIALS USING LIQUIDS OR USING PNEUMATIC TABLES OR JIGS; MAGNETIC OR ELECTROSTATIC SEPARATION OF SOLID MATERIALS FROM SOLID MATERIALS OR FLUIDS; SEPARATION BY HIGH-VOLTAGE ELECTRIC FIELDS
    • B03DFLOTATION; DIFFERENTIAL SEDIMENTATION
    • B03D1/00Flotation
    • B03D1/14Flotation machines
    • B03D1/1443Feed or discharge mechanisms for flotation tanks
    • B03D1/1456Feed mechanisms for the slurry
    • BPERFORMING OPERATIONS; TRANSPORTING
    • B03SEPARATION OF SOLID MATERIALS USING LIQUIDS OR USING PNEUMATIC TABLES OR JIGS; MAGNETIC OR ELECTROSTATIC SEPARATION OF SOLID MATERIALS FROM SOLID MATERIALS OR FLUIDS; SEPARATION BY HIGH-VOLTAGE ELECTRIC FIELDS
    • B03DFLOTATION; DIFFERENTIAL SEDIMENTATION
    • B03D1/00Flotation
    • B03D1/14Flotation machines
    • B03D1/1443Feed or discharge mechanisms for flotation tanks
    • B03D1/1475Flotation tanks having means for discharging the pulp, e.g. as a bleed stream
    • BPERFORMING OPERATIONS; TRANSPORTING
    • B03SEPARATION OF SOLID MATERIALS USING LIQUIDS OR USING PNEUMATIC TABLES OR JIGS; MAGNETIC OR ELECTROSTATIC SEPARATION OF SOLID MATERIALS FROM SOLID MATERIALS OR FLUIDS; SEPARATION BY HIGH-VOLTAGE ELECTRIC FIELDS
    • B03DFLOTATION; DIFFERENTIAL SEDIMENTATION
    • B03D1/00Flotation
    • B03D1/14Flotation machines
    • B03D1/1481Flotation machines with a plurality of parallel plates
    • BPERFORMING OPERATIONS; TRANSPORTING
    • B03SEPARATION OF SOLID MATERIALS USING LIQUIDS OR USING PNEUMATIC TABLES OR JIGS; MAGNETIC OR ELECTROSTATIC SEPARATION OF SOLID MATERIALS FROM SOLID MATERIALS OR FLUIDS; SEPARATION BY HIGH-VOLTAGE ELECTRIC FIELDS
    • B03DFLOTATION; DIFFERENTIAL SEDIMENTATION
    • B03D1/00Flotation
    • B03D1/14Flotation machines
    • B03D1/1493Flotation machines with means for establishing a specified flow pattern
    • BPERFORMING OPERATIONS; TRANSPORTING
    • B03SEPARATION OF SOLID MATERIALS USING LIQUIDS OR USING PNEUMATIC TABLES OR JIGS; MAGNETIC OR ELECTROSTATIC SEPARATION OF SOLID MATERIALS FROM SOLID MATERIALS OR FLUIDS; SEPARATION BY HIGH-VOLTAGE ELECTRIC FIELDS
    • B03DFLOTATION; DIFFERENTIAL SEDIMENTATION
    • B03D1/00Flotation
    • B03D1/14Flotation machines
    • B03D1/24Pneumatic
    • CCHEMISTRY; METALLURGY
    • C02TREATMENT OF WATER, WASTE WATER, SEWAGE, OR SLUDGE
    • C02FTREATMENT OF WATER, WASTE WATER, SEWAGE, OR SLUDGE
    • C02F1/00Treatment of water, waste water, or sewage
    • C02F1/006Water distributors either inside a treatment tank or directing the water to several treatment tanks; Water treatment plants incorporating these distributors, with or without chemical or biological tanks
    • CCHEMISTRY; METALLURGY
    • C02TREATMENT OF WATER, WASTE WATER, SEWAGE, OR SLUDGE
    • C02FTREATMENT OF WATER, WASTE WATER, SEWAGE, OR SLUDGE
    • C02F1/00Treatment of water, waste water, or sewage
    • C02F1/52Treatment of water, waste water, or sewage by flocculation or precipitation of suspended impurities
    • C02F1/54Treatment of water, waste water, or sewage by flocculation or precipitation of suspended impurities using organic material
    • C02F1/56Macromolecular compounds

Landscapes

  • Life Sciences & Earth Sciences (AREA)
  • Engineering & Computer Science (AREA)
  • Biotechnology (AREA)
  • Chemical & Material Sciences (AREA)
  • Hydrology & Water Resources (AREA)
  • Environmental & Geological Engineering (AREA)
  • Water Supply & Treatment (AREA)
  • Organic Chemistry (AREA)
  • Chemical Kinetics & Catalysis (AREA)
  • Physical Water Treatments (AREA)
  • Separation Of Suspended Particles By Flocculating Agents (AREA)

Description

本発明の分野は、水を処理する浄化設備の分野である。
さらに詳細には、本発明は、浮上分離法(flotation method)を用いる水浄化設備に関するものである。
先行技術による浮上分離による水浄化設備が、図1に示されている。
このような浄化設備は、凝集(coagulation)区域およびフロック形成(flocculation)区域(図示せず)を備えている。凝集区域では、被処理水がフロック形成区域に導かれる前に、一種または数種の凝集剤(例えば、ポリ塩化アルミニウム、硫酸アルミニウム、塩化鉄、など)が被処理水に注入されるようになっている。
フロック形成は、被処理水に懸濁しているコロイド粒子の状態をそれらの粒子が互いに凝集するように改質することを目的とする物理化学的な処置である。
図1に示されているように、浮上分離によるこのような浄化設備は、下部に混合区域を備えている。この混合区域に、予め凝集され、かつフロック形成された被処理水(矢印A)と微細な気泡が生じるように加圧された後で減圧された水(矢印B)とが、上向流で注入されるようになっている。矢印Cによって示されているように、このようにして生じた気泡は、気泡に付着した被処理水の懸濁粒子の全てを混合区域の表面に向かって運ぶことができる。気泡に付着した粒子の混合物は、混合区域1および浮上分離区域3の表面に延びる泡の層2を形成することになる。
次いで、浮上分離区域3の上部における気泡に付着したこれらの粒子が除去されるようになっている(矢印D)。
浄化水は、例えば、導管5または他の任意の手段に接続された有孔配管4によって、浮上分離区域3の下部から取り出されるようになっている。
先行技術としてのこの技術の欠点は、混合区域の設計に関連している。実際、この混合区域は、予め凝集され、かつフロック形成された被処理水と加圧された後で減圧された水との均質な接触を、混合区域の水平部分の全体にもたらすことはできない。このような接触の不十分さは、被処理水の流量値、被処理水の品質、および加圧された後で減圧された水の流量値に関係なく観察されるものである。
このような接触のばらつきや不十分さによって、一般的に、被処理水に懸濁している粒子が微細な気泡に付着する現象が妨げられ、これによって、水処理の有効性が低下する傾向にある。
先行技術としてのこの技術の他の欠点は、浮上分離区域の設計に関連している。具体的には、気泡に付着した懸濁物が、再循環ループ現象によって浄化水取出し区域に運ばれることである。
この現象によって、微細な気泡に付着した懸濁物が浄化水の流れ内に離脱する可能性があり、その結果、収集された浄化水が不純物を含むことになり、装置の有効性が悪影響を受けることになる。
さらに、浮上分離区域の表面上に生じている気泡に付着した懸濁物の層が浮上分離区域の高さに近い高さに達することがあり、これによって、再循環現象と併せて、不純物が浄化水取出し区域に離脱され易くなる。
この再循環現象は、図2に示されている。この図では、浮上分離区域に含まれている水の流れの速度ベクトル21が示されている。図2から、浄化水は、気泡の層が位置している浮上分離区域の頂部に向かって上昇する傾向にあることが明らかである。その結果、浄化水は、浮上分離区域の底に向かって方向を変える前に、被処理水に最初に懸濁していた粒子を含む微細な気泡と混合している。
本発明は、特に、先行技術のこれらの欠点を解消することを目的としている。
さらに詳細には、本発明の目的は、浮上分離による水の浄化を最適化することを可能にする、水を処理する技術を提供することにある。
本発明の他の目的は、被処理水と加圧された後で減圧された水との均質な混合物を得ることを可能にする、浮上分離によって水を浄化する技術を提供することにある。
また、本発明は、浄化水取出し区域における再循環現象の出現を防ぐことを可能にする、このような技術を実現することを目的としている。
本発明の他の目的は、確実に、簡単に、かつ安価に実施することができる、このような技術を提供することにある。
本発明は、浮上分離による水処理設備において、
予め凝集され、かつフロック形成された被処理水の入口区域と、
加圧された後で減圧された水と前記被処理水との混合区域と、
壁によって前記混合区域から区分された浮上分離区域と、
前記浮上分離区域の下部に設けられた浄化水取出し区域と、
を備えている水処理設備に関するものである。
本発明によれば、前記混合区域は、少なくとも1つの前記加圧水の噴射ノズルを収容しており、前記噴射ノズルは、少なくとも一部に穿孔を有して前記入口区域を前記混合区域から区分しているパネルの近傍に、延在している。
従って、本発明は、被処理水の入口区域と混合区域との間に有孔パネルを介在させることから構成されている。被処理水を有孔パネル内を通過させることによって、被処理水の流れを均質にし、かつ細分化することができる。これは、混合区域の水平部分の全体にわたって、被処理水と、加圧された後で減圧された水の導入によって混合区域内に生じた微細な気泡、との接触を均質にすることに役立ち、その結果、被処理水に懸濁している粒子と微細な気泡との付着を改良することができる。
本発明によれば、さらに、懸濁粒子と気泡との間の不十分な接触による有効性の損失の原因になる流体短絡をなくすことができる。
従って、本発明によるこのような有孔パネルの設置によって、浮上分離による水処理を最適化することができ、その結果、水処理の終了時に収集された浄化水の品質を改良することができる。
有利な特性によれば、前記パネルは略水平に延設されている
この場合、被処理水の流れは、パネルの下流で実質的に上向きになっている。もし凝集/フロック形成の過程で形成されたフロックが壊れにくい場合、加圧水は、優先的に、被処理水の流れに対向して噴射されることが好ましい。この場合、噴射ノズルは、加圧水が初期下向流として噴射されるように実質的に垂直に配向されている。
もし形成されたフロックが壊れやすい場合、ノズルは、加圧水が被処理水の流れに並行して噴射されるように、すなわち、加圧水が初期上向流として噴射されるように配置されることになる。
他の有利な特性によれば、前記パネルは略垂直に延設されている。
この場合、噴射ノズルは、加圧水が初期水平流として噴射されるように、略水平に配向されている。フロックが壊れやすいかまたは壊れにくいかのいずれかに従って、噴射の方向(流れに対向または平行)のみが異なるようになっている。
他の有利な代替例では、パネルが傾斜されるようになっていてもよい。
好ましい実施形態によれば、本発明による水処理設備は、前記パネルと実質的に平行のスプラッシュボードをなすプレートを備えている。このプレートは、前記パネルと前記ノズルとの間に延在しており、その少なくとも一部に第1の孔を有している。
スプラッシュボードをなすこのようなプレートの設置によって、被処理水の流れの細分化を改良し、これによって、混合区域における微細な気泡と被処理水との接触を均質にすることができる。
優先的に、前記プレートの前記第1の孔は、前記パネルの中実部分の延長線上に延在している。
これによって、混合区域に達する前に、被処理水が横断しなければならないバッフルを生成することができる。また、これらのバッフルの存在によって、被処理水の流れの細分化を改良することができる。
有利には、前記プレートは、前記パネルの前記穿孔の上方に延在している第2の孔を有している。
孔または微細孔とも呼ばれるこれらの第2の孔によって、被処理水の流れの均質化を最適化することができる。
ここに示されている技術の好ましい態様によれば、前記噴射ノズルの各々は、前記パネルの前記穿孔の1つの軸線上に実質的に配置されている。
これによって、被処理水の流れと加圧水の流れとの最適な混合を得ることができる。しかし、パネルの穿孔が比較的小径になっている代替例によれば、十分な混合を得るために各噴射ノズルとパネルの穿孔とを対応させる必要がない。
有利には、本発明による水処理設備は、2つの異なる供給流量値にそれぞれ従う前記加圧水の第1の供給配管および第2の供給配管を備えている。
この手法によって、第1の供給配管によって送達される第1の流量Q1、第2の供給配管によって送達される第2の流量Q2、および2つの供給配管を同時に作動させたときの流量Q1,Q2の合計に等しい流量Q3に従って、加圧水を噴射することができる。この流量は、例えば、被処理水の流れおよび/または被処理水の品質に従って、選択されるとよい。有利な特性によれば、前記ノズルは、前記第1の供給配管および第2の供給配管に接続されている。
2つの供給配管に直接接続されているという事実によって二重ノズルとも呼ばれるこのようなノズルは、スプラッシュボードをなすプレートが設置されている場合に用いられてもよいし、または設置されていない場合に用いられてもよい。しかし、このようなノズルの使用は、スプラッシュボードをなすプレートが設置されず、ノズルの各々がパネルの穿孔の軸線上に延在している場合に推奨されている。
代替例によれば、前記ノズルは、2種類のノズル、すなわち、前記第1の供給配管に接続された第1種のノズルおよび前記第2の供給配管に接続された第2種のノズルに属していることが有利である。
このような噴射ノズルは、優先的に、スプラッシュボードをなすプレートが設置されている場合、またはパネルの穿孔が、小径、有利には2cmから30cmの間にある直径を有している場合に用いられることが好ましい。
有利な特性によれば、1つまたは複数の前記ノズルは、離間して配置された2つの有孔板を備えている。
具体的には、これらのノズルは、減圧壁とも呼ばれる2つの有孔壁を備えている。これらの2つの有孔壁は、加圧水に第1の強減圧をもたらし、次いで、二次的な低減圧をもたらし、これによって、微細な気泡を伴う水を噴射することができる。この噴射は、さらに、
噴射段階における大きなせん断速度を阻止することができる。
好ましい特性によれば、前記ノズルは、下方に末拡がりの輪郭を有している。
下方に末拡がりの輪郭のもたらすことによって、特に、噴射現象を確実なものとすることができる。
有利には、前記末拡がり輪郭は、平面状であり、垂線に対して0度から20度の間の角度γをなしている。
優先的に、前記末拡がり輪郭は、湾曲している。
本発明の好ましい態様によれば、前記混合区域を前記浮上分離区域から区分する前記壁の上部は、前記浮上分離区域の方向に角度αだけ傾斜した部分を有している。
この場合、前記角度αの値は、有利には、120度から175度の間にある。
他の有利な態様によれば、前記混合区域を前記浮上分離区域から区分する前記壁は、前記浮上分離区域の方向に湾曲した上部を有している。
この場合、前記湾曲部は、優先的に、0.1mから1mの間の半径を有している。
このような傾斜部または湾曲部の設置によって、特に、混合区域から浮上分離区域への水の通過を容易にすることができる。
有利には、前記浮上分離区域は、前記取出し区域の上方に実質的に垂直に延在している複数の仕切りを収容している。
このような仕切りの設置によって、浮上分離区域の底に向かって流れる浄化水を細分化することができ、これによって、再循環ループ現象の出現を防ぐことができる。これは、被処理水内に最初に含まれていた粒子が付着した気泡の層に、浄化水が混合するのを防ぐのに役立つことになる。
優先的に、前記仕切りの少なくとも1つは、角度βだけ傾斜した少なくとも1つの上部または湾曲した少なくとも1つの上部を有している。
優先的に、前記βは、120度から240度の間の値を有している。
これらの傾斜部または湾曲部によって、浄化水取出し区域内における再循環の破断を改良することができる。
有利には、前記仕切りは、30cmから300cmの間の高さを有している。本発明の他の好ましい態様によれば、前記仕切りは、前記混合区域を前記浮上分離区域から区分している前記壁の近傍では、互いにより接近している。
これは、特に、2つの仕切り板間に流れの回転が生じるのを防ぐのに役立つことになる。
好ましくは、前記仕切りは、20cmから300cmの間の距離だけ離れている。
優先的に、前記取出し区域は、浄化水収集手段に接続された浄化水取出し手段を収容している。
有利な態様によれば、本発明による水処理設備は、前記加圧水を生成する手段を備えている。
優先的に、前記生成手段は、前記浄化水取出し手段および空気生成源に接続されている。
従って、加圧水は、ここに示されている技術によれば、設備の出口において得られる浄化水を用いて、生成することができる。代替例では、加圧水は、より好ましくは、凝集されていず、かつフロック形成されていない被処理水を用いて、生成されるとよい。
有利には、本発明による水処理設備は、前記浮上分離区域の上部の向かい側において移動することができる掻き寄せ手段を備えている。
これらの掻き寄せ手段によって、気泡の層を簡単かつ効率的に除去することが可能になる。
また、本発明は、ここに示されている技術による設備内に水を通すことと、前記有孔パネルを通る前記被処理水の上向流と前記1つまたは複数の噴射ノズルによる前記加圧水の流れとを、前記被処理水に懸濁している粒子を前記混合区域の表面に向かって運ぶことができる気泡を生成するように、前記混合区域内に注入することと、を含んでいる、浮上分離による水処理方法に関している。
好ましい態様によれば、前記加圧水の前記流れは、初期上向流である。
他の好ましい態様によれば、前記加圧水の前記流れは、初期下向流である。
ここに示されている技術のさらに他の好ましい態様によれば、前記加圧水の前記流れは、初期水平流である。
実際、被処理水の品質によって、凝集−フロック形成の最中に、壊れにくいフロックが、程度の差はあれ、形成されていることがある。ノズルが設けられる方法は、フロックの壊れにくさに依存している。もしフロックが壊れやすいなら、十分な所定のせん断速度をもたらすために流れ方向に設置されることが好ましい。凝集−フロック形成が極めて壊れにくいフロックを形成している場合、流れに対向して設置されることが好ましい。
従って、パネルが略水平に延設されているかまたは垂直に延設されているかによって、またはフロックが壊れやすいかまたは壊れにくいかによって、ノズルは、加圧水が被処理水の流れに対向または並行して噴射されるように配置されることが好ましい。
他の代替例では、パネルが略水平に延設されている場合に、ノズルが略水平に配向されることが好ましい。
有利には、本発明による浮上分離による水処理方法は、前記被処理水の流量および/または前記被処理水の品質に従って、前記加圧水の前記供給流量を選択するステップを含んでいる。
従って、本発明による方法は、多くの状況に適合可能であるので、この機能に基づいて、調整することができる。
他の有利な態様によれば、本発明による浮上分離による水処理方法は、前記気泡に付着した前記粒子を前記浮上分離区域の外側に回収するために、前記掻き寄せ手段を設置することを含んでいる。
本発明の他の特性および利点は、情報を提供することのみを目的として非制限的に提供されている好ましい実施形態についての以下の説明および添付の図面から明らかにされることになる。
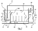
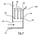
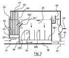
先行技術による水処理設備を示す図である。 図1に示されている設備内の液体の流れの速度ベクトルを示す図である。 有孔パネルが被処理水の入口区域を混合区域から区分している、ここに示されている技術による水処理設備の第1の実施形態を示す図である。 いくつかの噴射ノズルが有孔パネルの穿孔と対応することなく設置されている、図3の設備の代替例の部分図である。 図5は、異なる流量の2つの加圧水噴射配管に接続可能になっている噴射ノズルの概略図である。図5bisは、図5に示されているノズルの下部形状の代替例を示す図である。 図5に示されているようなノズルを備えている加圧水供給配管の2つの構造を示す図である。 噴射ノズルと有孔パネルとの間に介在する有孔プレートを備えている本発明による水処理設備の第2の実施形態を示す図である。 図8は、いくつかのノズル列が設置されている、図7の設備の代替例の部分図である。図8bisは、スプラッシュボードをなすプレートの他の代替例を示す図である。 第1の種類のノズルが第1の流量の加圧水噴射配管に接続され、第2の種類のノズルが第2の流量の加圧水噴射配管に接続されている、加圧水供給配管の構造の例を示す図である。 ここに示されている技術による設備内の液体の流れの速度ベクトルを示す図である。
(ここに示されている技術の原理の概要)
本発明の主原理は、予め凝集され、かつフロック形成された被処理水の入口区域を該処理水と加圧された後で減圧された水との混合区域から区分している有孔パネルを備えており、混合区域が1つまたはいくつかの加圧水の噴射ノズルを含んでいる、浮上分離による水浄化設備を実現することに基づいている。
有孔パネルの存在によって、混合区域における被処理水の流れを均質にし、かつ細分化することができる。この細分化によって、混合区域の水平部分の全体にわたって、被処理水と混合区域に形成された微細な気泡との接触を均質にすることができる。従って、このような有孔パネルの設置によって、浮上分離による水の浄化を最適化することができる。
さらに、本発明による設備は、互いに離間して実質的に垂直かつ平行に延在している仕切りを収容している浮上分離区域をさらに備えている。
浮上分離区域の内側のこのような仕切りの設置によって、浮上分離区域に流れる液体の流れの線を分断することができる。これによって、特に、浮上分離区域の下部における再循環現象、すなわち、浄化水が浮上分離区域の表面に戻って気泡の層と接触する現象を防ぐことができる。従って、気泡に付着した懸濁粒子の浄化水取出し区域への移動を防ぐことができ、または少なくとも制限することができる。
このような仕切りの設置は、収集された浄化水と気泡が共に取り出されるのを防ぎ、その結果、収集された浄化水の品質を改良することに役立つことになる。
(ここに示されている技術による水処理プラントの第1実施形態)
図3を参照して、本発明による浮上分離による水処理設備の例の実施形態について説明する。
このような設備は、被処理水の入口区域31を備えている。被処理水は、予め、凝集され、かつフロック形成されている。この趣旨から、凝集区域およびフロック形成区域(図示せず)は、入口区域31の上流に直列に配置されている。
混合区域32が、水の入口区域31の上方に延在している。水入口区域31および混合区域32は、パネル33によって、互いに区分されている。パネル33の少なくとも一部は、穿孔331を有している。優先的に、穿孔331は、有孔パネル33の全面に及んでいる。パネル33に配置された穿孔331は、例えば、直径15cmの円形の輪郭を有することができる。他の実施形態では、穿孔331の直径は、異なっていてもよい。直径は、有利には、2cmから50cmの間とすることができる。
壁34が水入口区域31および混合区域32を浮上分離区域35から区分している。この壁34は、その下部が実質的に垂直になっており、その上部が浮上分離区域35の方向に角度αだけ傾斜した部分341を有している。この角度αの値は、有利には、120度から175度の間にある。この傾斜部341の設置によって、特に、混合区域から浮上分離区域への水の通過を容易にすることができる。
ここに示されている技術の代替例では、傾斜部341は、0.1mから1mの間の半径を有する(図3において点線で示されている)湾曲部342に置き換えられてもよい。
ここに示されている技術によるこのような水処理設備は、浄化水を取り出す手段も備えている。このような水取出し手段は、チャンバ36を備えている。このチャンバ36の上面361は、その表面の少なくとも一部が、浄化水の流通を可能にすべく穿孔されている。さらに、チャンバ36には導管37が接続され、この導管37は、浮上分離区域35の外部の放水路(図示せず)または浮上分離処理の後に得られる浄化水を貯留できる他の任意の手段に向かって延びている。
ここに示されている技術の代替例では、有孔チャンバ36は、浮上分離区域35の下部に収容された有孔配管に置き換えられてもよい。
浮上分離区域35において、垂直仕切り39が、横方向に並んで、実質的に垂直に延在している。これらの仕切り39の高さは、30cmから300cmの間とすることができる。これらの仕切り39は、中実であり、規則的な間隔で配置されていてもよいし、または規則な間隔で配置されていなくてもよい。これらの仕切りは、例えば、30cmから300cmの間の距離を隔てて離間されているとよい。
優先的に、仕切り39が壁34に近くなるほど、仕切り39の離間距離が短くなっている。これによって、図10に示されているように、2つの板39間に流体の回転102が現れるのを妨げることができる。
他の実施形態では、仕切り39は、穿孔されていてもよい。これによって、特に、浄化水取出し区域の水平面の全体にわたって浄化水の分布が改良されるという利点が得られることになる。特に、ここに示されている装置の保守を容易にするために、これらの仕切り39がさらに取外し可能になっていてもよい。さらに、これらの仕切り39は、優先的に、ステンレス系の鋼から作製されている。代替例では、これらは、プラスチック系の材料から作製されていてもよい。これは、特に、海水を処理するときに、有利である。
ここに示されている技術の代替例では、仕切り39は、垂線に対して角度βだけ傾斜している部分391を有していてもよい。角度βの値は、例えば、図3に点線で示されているように、120度から240度の間とすることができる。これらの仕切りは、その全長にわたって傾斜していてもよい。他の代替例では、仕切り39は、壁34の方向または他の方向に湾曲した(点線で示されている)部分392を有していてもよい。これらの傾斜部391または湾曲部392を設置することによって、浄化水取出し区域における再循環の破断を改良することができる。
さらに、混合区域32は、有孔パネル33の近傍に配置された少なくとも1つの加圧水の噴射ノズル40を収容している。
この実施形態では、ノズル40は、図3に示されているように、パネル33の各穿孔331の軸線上に配置されている。穿孔331の直径は、優先的に、5cmから50cmの範囲内にある。これによって、被処理水の流れと加圧水の流れとの最適な混合を得ることができる。
しかし、有孔パネル33に配置された穿孔331が小径、有利には、2cmから30cmの間にある直径を有するこの実施形態の代替例では、図4に示されているように、各ノズルと穿孔331とは、対応している必要がない。
後でさらに詳細に説明するように、これらの噴射ノズル40によって、加圧された後で減圧された水の初期下向流を混合チャンバ32内に生成することができる。この場合、加圧水は、被処理水に対して向流で噴射されることになる。
この実施形態の代替例では、1つまたは複数の噴射ノズル40は、混合区域内に加圧水の初期上向流を生成するように、配置されていてもよい。この場合、加圧水は、被処理水と並流で混合区域内に噴射されることになる。
これらの噴射ノズル40は、パイプ41を介して、加圧水生成手段42に接続されている。加圧水生成手段42は、空気−水混合物をもたらすようになっている1つまたはいくつかの空気噴射器を備えている加圧バルーン(図示せず)に接続されている。これらの加圧水生成手段は、一方では、浄化水がチューブ43によって流通している導管37に接続され、他方では、空気生成源44に接続されている。このようにして、有利には3バールから8バールの間の圧力を有する加圧水が、収集された浄化水の一部および空気を用いて生成されることになる。
後でさらに詳細に説明するように、異なる流量の加圧水を噴射することが可能となるように、いくつかの加圧水生成手段が平行に配置されていてもよい。
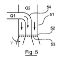
図5に関連して、噴射ノズル40の例について説明する。
二段減圧式として構成されているこれらの噴射ノズル40の操作原理は、WRC式の噴射器の操作原理と類似していることに留意されたい。しかし、後でさらに明らかになるように、噴射ノズル40は、いくつかの特性において、WRC式の噴射器と異なっている。噴射ノズル40は、異なる流量Q1,Q2で流れている加圧水の2つの入口に接続されている。従って、これらのノズルは、3つの流量Q1,Q2,Q1+Q2に従って加圧水を噴射することが可能である。
図示されているように、このような噴射ノズル40は、主中空体51を有している。この主中空体51の一端は、第1の有孔減圧壁52および第2の有孔減圧壁53を備えている。これらの壁52,53は、互いに向き合ってかつ互いに平行に配置され、これによって、中間チャンバを形成している。第1の減圧壁52および第2の減圧壁53に配置されている穿孔は、それらの壁の表面に実質的に均質に分布している。第1の減圧壁52の穿孔の密度は、第2の減圧壁53の穿孔の密度よりも小さくなっている。さらに、第1の減圧壁52に配置されている穿孔の表面は、第2の減圧壁53に配置されている穿孔の表面よりも大きくなっている。これらの穿孔の直径は1cmから15cmの間にある。
さらに、主中空体51の下端は、垂線に対して角度γをなしている。この角度γの値は、0度から20度の間にある。ここに示されている技術の一代替例によれば、図5bisに示されているように、主中空体51の下部は、湾曲している。主中空体51が末拡がりの形状を有していることによって、噴射を容易にすることができる。
主中空体51は、第2の中空体54を収容している。流量Q1の加圧水の第1の流れがこの第2の中空体54を通り抜けることができ、好ましくはより高い値の流量Q2の加圧水の第2の流れが主中空体51を通り抜けることができる。代替的に、この流量Q2は、より小さい値であってもよい。
このように、この実施形態では、各噴射ノズル40は、流量Q1および流量Q2のそれぞれの加圧水を送達することができる2つの加圧水供給配管に接続されている。従って、加圧水生成手段42は、3つの流量Q1,Q2,Q1+Q2の加圧水をもたらすことができるように分割されている(図示せず)。
特に、図3,4,6,6bisに示されているように、複数の噴射ノズル40のいくつかの列45が互いに平行に配列されていてもよい。
図6は、噴射ノズル40の2つの列45が設置されている加圧水供給配管の構造の例を示す略図である。
このような供給配管は、2つの噴射ノズル列を実現するために、流量Q1の2つの加圧水供給配管および流量Q2の2つの加圧水供給配管を備えている。
図示されているように、各列45の各噴射ノズル40は、パイプ41を介する流量Q1の第1の加圧水供給配管に接続されていると共に、パイプ41’を介する流量Q2の第2の加圧水供給配管に接続されている。
図6bisに示されている一代替例は、供給配管Q1,Q2を分割することなく、2列の噴射ノズル40を設置するように、構成されている。
ここに示されている技術による水処理設備は、掻き寄せ装置(スクレーピング装置、図示せず)をさらに備えている。後でさらに詳細に説明するように、このような掻き寄せ装置によって、混合区域32および浮上分離区域35の上部に浮遊している懸濁物、有機物、原水内に最初から存在している藻、および気泡からなるスラッジを掻き寄せ、浮上分離区域の外側に配設された回収手段46の構造内に回収できるようになっている(矢印I)。
(ここに示されている技術による水処理プラントの第2実施形態)
図7〜9を参照して、ここに示されている技術による水処理設備の第2の実施形態について説明する。
この第2の実施形態の水処理設備は、前述の第1の実施形態による設備と共通する多数の特徴を有している。ここでは、第1の実施形態と第2の実施形態との変更点についてのみ説明する。
図7に示されているように、この第2の実施形態では、混合区域32の内側、有孔パネル33の下流側に収容された有孔プレート71が設けられている。この有孔プレート71は、有孔プレート71に設けられた隙間711が有孔パネル33の非穿孔部分と向き合うように配置されている。換言すると、隙間711と穿孔331は、図7,8に明瞭に示されているように、バッフルが形成されるように一直線に並んで配置されていない。
有孔プレート71を貫通する隙間は、2cmから50cmの間の直径を有することができる。さらに、有孔パネル33および有孔プレート71は、有利には、隙間711の直径の1/3から隙間711の直径の3倍程度の距離だけ離れている。
この第2の実施形態において、1つの噴射ノズル40が設置されていてもよいし、またはいくつかの噴射ノズル40が設置されていてもよい。各噴射ノズル40は、必ずしも隙間711の軸線上に配置されている必要がない。
前述の実施形態におけるのと同じように、この実施形態の代替例は、図8に示されているように、噴射ノズル40のいくつかの列45を設置することによって、構成されていてもよい。
この第2の実施形態において設置された噴射ノズルは、図5,6に関して前述した噴射ノズル40と同様であってもよい。
図9に示されているこの第2の実施形態の代替例では、噴射ノズルは、それらの各々が流量Q1の第1の加圧水噴射配管および流量Q2の第2の加圧水噴射配管の両方に接続されていない点において、前述の噴射ノズル40と異なっている。対照的に、第2の実施形態のこの代替例において設置された噴射ノズルは、以下の2つの種類に分類されている。
−第1の種類の噴射ノズル91は、各々、流量Q1の加圧水噴射配管に接続されている。
−第2の種類の噴射ノズル92は、各々、流量Q2の加圧水噴射配管に接続されている。
これらの噴射ノズル91,92は、例えば、WRC式のものであってもよいし、または気泡発生原理に基づく他のどのような形式のものであってもよい。
他の代替例では、ノズル40は、全て同一であり、単一流量で噴射するようになっている。
図8bisに示されているこの実施形態の他の代替例では、有孔プレートは、2種類の隙間、すなわち、基本隙間および微細隙間712を有していてもよい。
基本隙間は、有孔プレート71がスプラッシュボードを構成するように配置された隙間711から構成されている。微細隙間712は、有孔プレート71の基本隙間711を繋いでいる中実部に配置されている。これらの微細隙間712の設置によって、混合区域32に入る被処理水の流れの均質性を最適化することができる。
基本隙間711の直径および微細隙間712の直径は、基本隙間711を通る流量が微細隙間712を通る流量と等しくなるように、選択されている。
(ここに示されている技術による浮上分離による水処理方法)
以下、ここに示されている技術による浮上分離水処理方法について説明する。
この方法は、前述した1つまたは他の実施形態による水処理設備に被処理水を通すことによって実施される。
予め凝集され、かつフロック形成された被処理水は、水の入口区域31に向かって導かれる。次いで、被処理水は、有孔パネル33の穿孔331を通過し、混合区域32内に上向流として流入する。
同時に、加圧された後で減圧された水が、噴射ノズル40によって、被処理水の上向流に対向して混合区域32内に注入される。前述したように、加圧水は、流れ方向に並行して混合区域内に注入されるようになっていてもよい。
加圧水は、浮上分離区域35から取り出された浄化水の一部および空気源44からの空気を用いて、加圧水生成手段42を作動させることによって得られる。
加圧水は、導管41内を噴射ノズル40に向かって流れる。加圧水は、先ず、第1の減圧壁52を通過する。その結果、加圧水は、大きな圧力損失を受けて膨張することになる。加圧された後で減圧された水は、第2の減圧壁53を通過するが、ここでは僅かな圧力損失しか受けずに噴射されることが可能となる。この噴射現象は、噴射段階における大きなせん断速度を阻止するのに役立つことになる。
加圧された後で減圧された水を混合区域32内に噴射することに伴い、混合区域32の水平部分の全体に亘って均等に分散された微細な気泡が生じることになる。
被処理水が有孔パネル33を通過して混合区域内に流入することによって、ショートカット(最短流路に偏って流れること)、循環流れ、不活性流域の形成を防ぐことができ、これによって、被処理水の流れを均質にし、かつ細分化することができる。換言すると、有孔パネル33の設置によって、混合区域32の水平部分の全体にわたって、被処理水と微細な気泡との均質な接触をもたらすことができる。
有孔プレート71を有孔パネル33と噴射ノズルとの間に介在させることによって、被処理水と微細な気泡との接触の均質化をさらに改善することができる。
したがって、有孔パネルによる被処理水流れの均質化、有孔パネルの各穿孔に対向する噴射ノズルの配置、および/または、スプラッシュボードをなす有孔プレートの設置が組み合わされることによって、被処理水と加圧水との最適な混合をもたらすことができる。
微細な気泡は、被処理水に懸濁している粒子の全てを混合区域32および浮上分離区域35の表面に向かって運ぶようになっている。従って、被処理水と微細な気泡との接触が均質であるという事実によって、被処理水の浄化を最適化し、浮上分離による水処理の有効性を実質的に改善することができる。
被処理水に最初から懸濁していた粒子が付着した微細な気泡からなる混合物は、矢印Jによって示されているように、浮上分離区域35の上部に向かって移動する。次いで、混合物は、掻き寄せ装置(図示せず)によって、浮上分離区域35の外側に取り出されることになる。掻き寄せ装置は、生じたスラッジおよび気泡を矢印Iによって示されているような回収手段46の方向に導くために、浮上分離区域35の表面を移動可能である。
このようにして浄化された水は、チャンバ36を収容している浮上分離区域35の下方に流れ、仕切り39と交わることになる。浄化水の流れは、これらの仕切り39によって細分化されることになる。
これらの仕切り39の設置は、これらの仕切り39が浄化水の流れを浮上分離区域35の内側で細分化することを可能にし、それによって、再循環ループが浄化水取出し区域の近傍に現れるのを防止できる。
これは、浮上分離区域35の内側における液体の流れの速度ベクトル101を示す図10に明らかに示されている。
先行技術による設備の浮上分離区域内での速度ベクトルを示す図2と、ここに示されている技術による設備の浮上分離区域内での速度ベクトルを示す図10とを比較することによって、浮上分離区域35内への仕切り39の設置による液体の流れの改善をより明確に理解することができる。
図2では、速度ベクトル21が浮上分離区域の中心の渦に集中していることが示されている。この渦は、再循環ループ現象を生じ、浄化水を浮上分離区域の上方に導き、その一部で、浄化水が微細気泡の層と混合している。
対照的に、図10では、液体の速度ベクトルが仕切り39によって遮断され、これらの仕切り39間に位置する速度ベクトルが乱れていないこと、すなわち、浮上分離区域の上部に向かって上昇しないことが明らかである。
従って、このような仕切り39の設置によって、浄化水を取り出すチャンバ36が位置している浮上分離区域の下部における再循環ループ現象と、それに伴う浄化水への微細な気泡の混入を防ぐことができ、または少なくとも制限することができる。
仕切り39の設置によって、浄化水取出し部への泡およびスラッジの離脱を防ぐことができ、これによって、収集された浄化水が粒子の付着した微細な気泡によって汚れることを防ぐことができる。
従って、本発明による技術によれば、浮上分離による水の浄化を最適化することができ、浮上処理の終了時に収集された浄化水の品質を改良することができる。
さらに、本発明による方法は、混合区域内に噴射される加圧水の流量を選択するステップを含むこともできる。加圧水の流量の選択は、被処理水の流量および/または被処理水の品質に関連している。実際に、例えば被処理水の流量が1から4の比率で変化した場合、および/または、被処理水の品質が変化した場合に、加圧水の流量を同じ比率で変化させうることは、経済的な観点から特に興味深いことである。
従って、被処理水の流量がやや少ない場合、および/または、被処理水の品質が比較的良好な場合に、流量Q1の加圧水生成手段が作動されることになる。
被処理水の流量が増加した場合、および/または、被処理水の品質が低下した場合に、流量Q2の加圧水生成手段が作動され、さらには、流量Q1,Q2の合計の流量をもたらすために全ての生成手段が作動されてもよい。

Claims (34)

  1. 浮上分離による水処理設備であって、
    予め凝集されかつフロック形成された被処理水の入口区域(31)と、
    加圧水が減圧され前記被処理水と混合される混合区域(32)と、
    壁(34)によって前記混合区域(32)と区分された浮上分離区域(35)と、
    前記浮上分離区域(35)の下部に設けられた浄化水取出し区域(36)と、
    を備えるものにおいて、
    前記混合区域(32)には、少なくとも1つの前記加圧水の噴射ノズル(40,91,92)が配設され、前記噴射ノズル(40,91,92)は、少なくとも一部に穿孔(331)を有して前記入口区域(31)と前記混合区域(32)とを区分するパネル(33)の近傍に延在することを特徴とする水処理設備。
  2. 前記パネル(33)は水平に配設されていることを特徴とする請求項1に記載の水処理設備。
  3. 前記パネル(33)は垂直に配設されていることを特徴とする請求項1に記載の水処理設備。
  4. 前記パネル(33)平行でありかつ少なくとも一部に第1の孔(711)を有してスプラッシュボードをなすプレート(71)が、前記パネル(33)と前記噴射ノズル(40,91,92)との間に配設されていることを特徴とする請求項1〜3の何れか一項に記載の水処理設備。
  5. 前記プレート(71)の前記第1の孔(711)は、前記パネル(33)の非穿孔部分の延長上に配設されていることを特徴とする請求項4に記載の処理設備。
  6. スプラッシュボードをなす前記プレート(71)は、前記パネル(33)の前記穿孔(331)の延長上に第2の孔(712)を有している請求項5に記載の水処理設備。
  7. 前記噴射ノズルは、前記パネルの前記穿孔(331)の軸線上に配置されていることを特徴とする請求項1〜6の何れか一項に記載の水処理設備。
  8. 前記加圧水の2つの異なる分配流量に対応した第1の供給配管(41)および第2の供給配管(41’)を備えていることを特徴とする請求項1〜7の何れか一項に記載の水処理設備。
  9. 前記噴射ノズル(40,91,92)は、前記第1の供給配管(41)と前記第2の供給配管(41’)とに接続されていることを特徴とする請求項8に記載の水処理設備。
  10. 少なくとも2つの前記噴射ノズル(91,92)を備えており、前記各噴射ノズル(91,92)は、前記第1の供給配管(41)に接続された第1種のノズルおよび前記第2の供給配管(41’)に接続された第2種のノズルに属していることを特徴とする請求項8に記載の水処理設備。
  11. 前記噴射ノズル(40,91,92)は、離間して配置された2つの有孔板を備えていることを特徴とする請求項1〜10の何れか一項に記載の水処理設備。
  12. 前記噴射ノズル(40,91,92)は、下方に拡開していることを特徴とする請求項1〜11の何れか一項に記載の水処理設備。
  13. 前記拡開部分の断面形状が直線状であり、垂線に対して0度から20度の間の角度γをなしていることを特徴とする請求項12に記載の水処理設備。
  14. 前記拡開部分の断面形状が曲線状であることを特徴とする請求項12に記載の水処理設備。
  15. 前記混合区域(32)と前記浮上分離区域(35)とを区分する前記壁(34)の上部に、前記浮上分離区域(35)の方向傾斜した傾斜部(341)を有することを特徴とする請求項1〜14の何れか一項に記載の水処理設備。
  16. 前記壁(34)と前記傾斜部(341)とがなす角度αは、120度から175度の間にあることを特徴とする請求項15に記載の水処理設備。
  17. 前記混合区域(32)を前記浮上分離区域(35)から区分している前記壁(34)の上部に、前記浮上分離区域(35)の方向に湾曲した湾曲部(342)を有することを特徴とする請求項1〜16の何れか一項に記載の水処理設備。
  18. 前記湾曲部(342)は、0.1mから1mの間の曲率半径を有することを特徴とする請求項17に記載の水処理設備。
  19. 前記浮上分離区域(35)には、前記取出し区域(36)の上方垂直に延在する複数の仕切り(39)が配設されていることを特徴とする請求項1〜18の何れか一項に記載の水処理設備。
  20. 前記仕切り(39)の少なくとも1つは傾斜した上部(91)または湾曲した上部(392)を有することを特徴とする請求項19に記載の水処理設備。
  21. 前記仕切り(39)と前記傾斜した上部(391)とがなす角度βは、120度から240度の間にあることを特徴とする請求項20に記載の水処理設備。
  22. 前記仕切り(39)は、30cmから300cmの間の高さを有していることを特徴とする請求項19〜21の何れか一項に記載の水処理設備。
  23. 前記仕切り(39)は、前記混合区域(32)を前記浮上分離区域(35)から区分する前記壁(34)の近傍では、より互いに接近していることを特徴とする請求項19〜22の何れか一項に記載の水処理設備。
  24. 前記仕切り(39)は、20cmから300cmの間の距離だけ互いに離隔されていることを特徴とする請求項19〜23の何れか一項に記載の水処理設備。
  25. 前記取出し区域には、浄化水収集手段に接続された浄化水取出し手段(36)が収容されていることを特徴とする請求項1〜24の何れか一項に記載の水処理設備。
  26. 前記加圧水を生成する手段(42)を備えていることを特徴とする請求項1〜25の何れか一項に記載の水処理設備。
  27. 前記生成手段(42)は、前記浄化水取出し手段(36)および空気生成源(44)に接続されていることを特徴とする請求項26に記載の水処理設備。
  28. 前記浮上分離区域(35)の上部を横切って移動可能な掻き寄せ手段を備えていることを特徴とする請求項1〜27の何れか一項に記載の水処理設備。
  29. 浮上分離による水処理方法であって、請求項1〜28の何れか一項に記載の設備内に水を通過させること、および、前記被処理水に懸濁している粒子を前記混合区域(32)の表面に向かって運ぶことができる気泡を生成するように、前記有孔パネル(33)を通る前記被処理水の上向流と、前記噴射ノズル(40,91,92)による前記加圧水の流れとを、前記混合区域(32)内に導入すること、を含むことを特徴とする浮上分離による水処理方法。
  30. 前記加圧水の前記流れは、初期上向流であることを特徴とする請求項29に記載の浮上分離による水処理方法。
  31. 前記加圧水の前記流れは、初期下向流であることを特徴とする請求項29に記載の浮上分離による水処理方法。
  32. 前記加圧水の前記流れは、初期水平流であることを特徴とする請求項29に記載の浮上分離による水処理方法。
  33. 前記被処理水の流量および/または前記被処理水の品質に従って、前記加圧水供給流量値の1つを選択するステップを含むことを特徴とする請求項29〜32の何れか一項に記載の浮上分離による水処理方法。
  34. 前記気泡に付着した前記粒子を前記浮上分離区域(35)の外側に取り除くために前記掻き寄せ手段を設置することを含むことを特徴とする請求項29〜33の何れか一項に記載の浮上分離による水処理方法。
JP2010507933A 2007-05-18 2008-05-16 浮上分離による水処理設備および水処理方法 Active JP5259698B2 (ja)

Applications Claiming Priority (3)

Application Number Priority Date Filing Date Title
FR0703596A FR2916196B1 (fr) 2007-05-18 2007-05-18 Installation de traitement d'eau par flottation, et procede de traitement d'eau correspondant
FR0703596 2007-05-18
PCT/EP2008/056057 WO2008142026A1 (fr) 2007-05-18 2008-05-16 Installation de traitement d'eau par flottation, et procede de traitement d'eau correspondant

Publications (2)

Publication Number Publication Date
JP2010527286A JP2010527286A (ja) 2010-08-12
JP5259698B2 true JP5259698B2 (ja) 2013-08-07

Family

ID=38877623

Family Applications (1)

Application Number Title Priority Date Filing Date
JP2010507933A Active JP5259698B2 (ja) 2007-05-18 2008-05-16 浮上分離による水処理設備および水処理方法

Country Status (21)

Country Link
US (2) US8753508B2 (ja)
EP (1) EP2150324B1 (ja)
JP (1) JP5259698B2 (ja)
KR (1) KR20100016650A (ja)
CN (1) CN101711178B (ja)
AU (1) AU2008252988B2 (ja)
BR (1) BRPI0811769B1 (ja)
CA (1) CA2687486C (ja)
DK (1) DK2150324T3 (ja)
ES (1) ES2701875T3 (ja)
FR (1) FR2916196B1 (ja)
MA (1) MA31431B1 (ja)
MX (1) MX2009012487A (ja)
MY (1) MY149173A (ja)
NZ (1) NZ581339A (ja)
PL (1) PL2150324T3 (ja)
RU (1) RU2478436C2 (ja)
TN (1) TN2009000474A1 (ja)
UA (1) UA96042C2 (ja)
WO (1) WO2008142026A1 (ja)
ZA (1) ZA200907898B (ja)

Families Citing this family (6)

* Cited by examiner, † Cited by third party
Publication number Priority date Publication date Assignee Title
CN102821323B (zh) * 2012-08-01 2014-12-17 成都理想境界科技有限公司 基于增强现实技术的视频播放方法、系统及移动终端
KR101378483B1 (ko) 2014-01-24 2014-03-27 태림인더스트리(주) 부상분리장치
EP3201137B1 (en) * 2014-10-02 2022-05-11 Veolia Water Solutions & Technologies Support Water treatment process employing dissolved air flotation to remove suspended solids
RU2648094C1 (ru) * 2016-12-29 2018-03-22 Акционерное общество " Государственный научный центр Российской Федерации-Физико-энергетический институт имени А.И.Лейпунского" Устройство для флотационной очистки жидких сред
US10442714B2 (en) 2017-04-25 2019-10-15 Matthew Cheyne Wastewater treatment system
FR3093104B1 (fr) * 2019-02-25 2023-12-22 Veolia Water Solutions & Tech Installation modulaire de traitement d’eau par flottation

Family Cites Families (16)

* Cited by examiner, † Cited by third party
Publication number Priority date Publication date Assignee Title
DE1642838A1 (de) * 1968-03-04 1971-04-22 Inst Wasserwirtschaft Flotationsverfahren und Einrichtung zur Durchfuehrung der Trennung von Stoffen aus Loesungen sowie zur Eindickung von Schlaemmen
FR2389400B1 (ja) * 1977-05-05 1982-01-08 Seri
NL185448C (nl) * 1980-03-07 1990-04-17 Esmil Bv Inrichting voor het floteren van uitgevlokt slib in een vloeistof.
JPS56146494U (ja) * 1980-03-31 1981-11-05
JPS59186689A (ja) * 1983-04-08 1984-10-23 Fuso Kensetsu Kogyo Kk 濁水の凝集除濁法及びその装置
JPS6038007A (ja) * 1983-08-11 1985-02-27 Yks Co Ltd 船舶用油水分離装置
SU1435304A1 (ru) * 1987-01-23 1988-11-07 Предприятие П/Я В-8103 Душева насадка
RU2102155C1 (ru) * 1992-06-18 1998-01-20 Николай Федорович Мещеряков Флотационная колонна
SE9504386L (sv) * 1995-12-07 1997-06-08 Purac Ab Flotationsapparat och förfarande
US5656173A (en) * 1996-03-05 1997-08-12 National Tank Company Method of removing dispersed oil from an oil in water emulsion employing aerated solutions within a coalescing media
US6890431B1 (en) * 2000-02-18 2005-05-10 The F. B. Leopold Co., Inc. Buoyant media flotation
FR2835247B1 (fr) * 2002-01-30 2005-01-28 Ondeo Degremont Installation de traitement d'eaux par flottation
CN100360432C (zh) * 2003-04-16 2008-01-09 翁德奥底格里蒙公司 浮选法水处理设备
FR2860735B1 (fr) * 2003-10-10 2006-12-22 Degremont Buse de detente d'eau pressurisee pour generer des microbules dans une installation de flottation
JP4329717B2 (ja) * 2005-03-31 2009-09-09 栗田工業株式会社 加圧浮上分離装置
RU2282597C1 (ru) * 2005-06-08 2006-08-27 Юрий Олегович Бобылев Способ глубокой биологической очистки сточных вод и устройство для его осуществления

Also Published As

Publication number Publication date
CA2687486C (en) 2016-10-04
RU2009146718A (ru) 2011-06-27
KR20100016650A (ko) 2010-02-12
UA96042C2 (ru) 2011-09-26
AU2008252988A1 (en) 2008-11-27
PL2150324T3 (pl) 2019-04-30
DK2150324T3 (en) 2019-01-14
ZA200907898B (en) 2010-07-28
TN2009000474A1 (fr) 2011-03-31
CN101711178B (zh) 2012-09-12
CN101711178A (zh) 2010-05-19
MX2009012487A (es) 2010-02-24
BRPI0811769A2 (pt) 2014-11-11
NZ581339A (en) 2011-12-22
WO2008142026A1 (fr) 2008-11-27
MA31431B1 (fr) 2010-06-01
ES2701875T3 (es) 2019-02-26
EP2150324A1 (fr) 2010-02-10
CA2687486A1 (en) 2008-11-27
US20140326676A1 (en) 2014-11-06
EP2150324B1 (fr) 2018-09-12
US20110198295A1 (en) 2011-08-18
MY149173A (en) 2013-07-31
BRPI0811769A8 (pt) 2016-01-19
BRPI0811769B1 (pt) 2018-10-16
RU2478436C2 (ru) 2013-04-10
FR2916196B1 (fr) 2009-07-24
JP2010527286A (ja) 2010-08-12
FR2916196A1 (fr) 2008-11-21
US9376331B2 (en) 2016-06-28
US8753508B2 (en) 2014-06-17
AU2008252988B2 (en) 2012-12-06

Similar Documents

Publication Publication Date Title
JP5259698B2 (ja) 浮上分離による水処理設備および水処理方法
CN102223933B (zh) 水处理方法
JP6437857B2 (ja) 沈殿池
EP3406569A2 (en) Injection type dissolved air flotation water treatment apparatus
CN1183754A (zh) 用于生产饱含空气的水的装置
US6474364B2 (en) Flow deflecting device
JP5957591B1 (ja) 水処理設備
US5505881A (en) Nozzle and method of use
TWI819081B (zh) 具有堰及液壓裝置之油滴浮選元件
WO2018229912A1 (ja) 汚水処理装置
HK1140980A (en) Flotation water treatment plant and corresponding water treatment method
HK1140980B (en) Flotation water treatment plant and corresponding water treatment method
US9868077B2 (en) Method and apparatus for in situ cleaning of tube settlers in water clarification
KR20140140262A (ko) 나선형 출구의 순환수 분사노즐을 구비한 공기포화장치
RU2367622C2 (ru) Многоступенчатая установка флотационной очистки воды
RU2636727C1 (ru) Устройство для аэрации жидкости
US20080237119A1 (en) Liquid Delivery
JP2004305807A (ja) 生物処理方法

Legal Events

Date Code Title Description
A621 Written request for application examination

Free format text: JAPANESE INTERMEDIATE CODE: A621

Effective date: 20110511

A977 Report on retrieval

Free format text: JAPANESE INTERMEDIATE CODE: A971007

Effective date: 20120829

A131 Notification of reasons for refusal

Free format text: JAPANESE INTERMEDIATE CODE: A131

Effective date: 20120831

A521 Request for written amendment filed

Free format text: JAPANESE INTERMEDIATE CODE: A523

Effective date: 20121127

A131 Notification of reasons for refusal

Free format text: JAPANESE INTERMEDIATE CODE: A131

Effective date: 20130129

A521 Request for written amendment filed

Free format text: JAPANESE INTERMEDIATE CODE: A523

Effective date: 20130218

TRDD Decision of grant or rejection written
A01 Written decision to grant a patent or to grant a registration (utility model)

Free format text: JAPANESE INTERMEDIATE CODE: A01

Effective date: 20130329

A61 First payment of annual fees (during grant procedure)

Free format text: JAPANESE INTERMEDIATE CODE: A61

Effective date: 20130424

FPAY Renewal fee payment (event date is renewal date of database)

Free format text: PAYMENT UNTIL: 20160502

Year of fee payment: 3

R150 Certificate of patent or registration of utility model

Free format text: JAPANESE INTERMEDIATE CODE: R150

Ref document number: 5259698

Country of ref document: JP

Free format text: JAPANESE INTERMEDIATE CODE: R150

R250 Receipt of annual fees

Free format text: JAPANESE INTERMEDIATE CODE: R250

R250 Receipt of annual fees

Free format text: JAPANESE INTERMEDIATE CODE: R250

R250 Receipt of annual fees

Free format text: JAPANESE INTERMEDIATE CODE: R250

R250 Receipt of annual fees

Free format text: JAPANESE INTERMEDIATE CODE: R250

R250 Receipt of annual fees

Free format text: JAPANESE INTERMEDIATE CODE: R250

R250 Receipt of annual fees

Free format text: JAPANESE INTERMEDIATE CODE: R250

R250 Receipt of annual fees

Free format text: JAPANESE INTERMEDIATE CODE: R250

R250 Receipt of annual fees

Free format text: JAPANESE INTERMEDIATE CODE: R250

R250 Receipt of annual fees

Free format text: JAPANESE INTERMEDIATE CODE: R250

R250 Receipt of annual fees

Free format text: JAPANESE INTERMEDIATE CODE: R250