JP5259152B2 - 電池セル、バッテリパックおよび電池セル製造方法 - Google Patents

電池セル、バッテリパックおよび電池セル製造方法 Download PDF

Info

Publication number
JP5259152B2
JP5259152B2 JP2007255498A JP2007255498A JP5259152B2 JP 5259152 B2 JP5259152 B2 JP 5259152B2 JP 2007255498 A JP2007255498 A JP 2007255498A JP 2007255498 A JP2007255498 A JP 2007255498A JP 5259152 B2 JP5259152 B2 JP 5259152B2
Authority
JP
Japan
Prior art keywords
cell
cell terminal
cap body
battery
terminal
Prior art date
Legal status (The legal status is an assumption and is not a legal conclusion. Google has not performed a legal analysis and makes no representation as to the accuracy of the status listed.)
Expired - Fee Related
Application number
JP2007255498A
Other languages
English (en)
Other versions
JP2009087707A (ja
Inventor
武夫 覚地
吉延 牧野
多文 尾崎
永晃 室
義直 舘林
伸一郎 小杉
克典 椎原
俊 江草
義明 阿左美
勉 松井
法仁 冨樫
務 金綱
Current Assignee (The listed assignees may be inaccurate. Google has not performed a legal analysis and makes no representation or warranty as to the accuracy of the list.)
Toshiba Corp
Original Assignee
Toshiba Corp
Priority date (The priority date is an assumption and is not a legal conclusion. Google has not performed a legal analysis and makes no representation as to the accuracy of the date listed.)
Filing date
Publication date
Application filed by Toshiba Corp filed Critical Toshiba Corp
Priority to JP2007255498A priority Critical patent/JP5259152B2/ja
Publication of JP2009087707A publication Critical patent/JP2009087707A/ja
Application granted granted Critical
Publication of JP5259152B2 publication Critical patent/JP5259152B2/ja
Expired - Fee Related legal-status Critical Current
Anticipated expiration legal-status Critical

Links

Images

Classifications

    • YGENERAL TAGGING OF NEW TECHNOLOGICAL DEVELOPMENTS; GENERAL TAGGING OF CROSS-SECTIONAL TECHNOLOGIES SPANNING OVER SEVERAL SECTIONS OF THE IPC; TECHNICAL SUBJECTS COVERED BY FORMER USPC CROSS-REFERENCE ART COLLECTIONS [XRACs] AND DIGESTS
    • Y02TECHNOLOGIES OR APPLICATIONS FOR MITIGATION OR ADAPTATION AGAINST CLIMATE CHANGE
    • Y02EREDUCTION OF GREENHOUSE GAS [GHG] EMISSIONS, RELATED TO ENERGY GENERATION, TRANSMISSION OR DISTRIBUTION
    • Y02E60/00Enabling technologies; Technologies with a potential or indirect contribution to GHG emissions mitigation
    • Y02E60/10Energy storage using batteries

Landscapes

  • Sealing Battery Cases Or Jackets (AREA)
  • Connection Of Batteries Or Terminals (AREA)

Description

本発明は、電池セル、バッテリパックおよび電池セル製造方法に関する。
一般に、複数個の箱状セルを用いた二次電池セルにおいては、箱状セルに端子を設け、他の二次電池セルとの接続はセル端子を接続導体で接続してバッテリパックを形成している。例えば、携帯性及び可搬性を考慮して小型かつ軽量に設計製作された電気電子機器に搭載されるバッテリパックとしては、内蔵する電気回路が発熱したり過充電により電池セルの周囲温度が上昇しても、電解液の蒸発ガスによる出火を好適に防止できるようにしたものがある(例えば、特許文献1参照)。
また、電気自動車用バッテリボックス装置に適用されるものとして、駆動用電源を遮断するブレーカからなるブレーカ装置をバッテリボックス内に収納し、電気自動車用バッテリボックス装置単体でバッテリの電圧チェック、ブレーカの動作、性能確認ができ車両への搭載および保守を効率よく行うことができるようにしたものがある(例えば特許文献2参照)。
特許第3014293号公報 特許第3350189号公報
しかし、従来のものでは、電池セルのセル端子をセル外装缶に取り付けるにあたってはレーザ突き合わせ溶接によりセル端子をセル外装缶に取り付けているが、外装缶側にレーザが漏れ外装缶に穴が開くことがある。また、電池セルを接続するにあたってはセル端子間を接続バーで接続することになるが、その際のレーザ突き合わせ溶接の際にセル端子に余計な力がかかったりクラックが発生することがある。
本発明の目的は、セル端子の端面と外装缶の突起面との間のレーザ突合せ溶接及びセル端子間の接続バーの接合が容易に行え接合信頼性を向上させることができる電池セル、バッテリパックおよび電池セル製造方法を提供することである。
本発明の電池セルに係わる発明は、略直方体のブロックで形成され外装缶のキャップ体に直接レーザ接合されるセル端子と、前記セル端子を形成する端面と相対するように前記外装缶のキャップ体に設けられ前記セル端子を装着するための凸状突起とを備え、前記外装缶のキャップ体への前記セル端子の接合を前記セル端子の端面と前記キャップ体に設けられた前記凸状突起との接触面の位置で行うことを特徴とする。
本発明によれば、セル端子の端面と外装缶の突起面との間のレーザ突合せ溶接及びセル端子間の接続バーの接合が容易に行え、接合信頼性を向上させることができる。
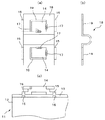
図1は本発明の実施の形態に係わる電池セルの構成図であり、図1(a)は電池セルの側面から見た側面図、図1(b)は電池セルの上面から見たセル端子部分の上面図、図1(c)は電池セルの側面から見たセル端子部分の拡大図である。
図1(a)に示すように、電池セル11の外装缶12の上部には、キャップ体13が設けられ、このキャップ体13に正極及び負極の一対のセル端子14が設けられている。セル端子14は略直方体のブロックで形成され、箱状セルを形成する外装缶12のキャップ体13の一面と接合している。セル端子14は、外装缶12のキャップ体13の面側に接する面側が広く、先端に向かい段階的に狭く凸状直方体に成形されている。図1では、セル端子14は直方体のブロックが3段積み重ねのものを示している。
すなわち、図1(b)及び図1(c)に示すように、セル端子14は直方体のブロックが3段積み重ねで形成されている。そして、外装缶12のキャップ体13には、セル端子14を形成する最下段のブロックの端面と相対する位置に凸状突起15が設けられている。これにより、セル端子14のキャップ体13への装着を容易にしている。図1(c)の凹部16はキャップ体13に凸状突起15を形成する際のプレス加工により生じた凹部である。
セル端子14のキャップ体13への接合は、レーザ突き合わせ溶接で行われる。すなわち、セル端子14がキャップ体13の凸状突起15で係止されている状態で、セル端子14の最下段のブロック凸状突起15の接触面をレーザ溶接する。これにより、レーザ溶接部17が形成される。
このように、セル端子14の端面と外装缶12の凸状突起15の面とを相対する位置に形成するのでレーザによる突合せ溶接が容易となり接合信頼性が増す。また、セル端子14を先端に向かい段階的に狭く凸状直方体に成形しているので、レーザ突合せ溶接を行う際に、外装缶12のキャップ体13側にレーザが漏れることを抑制でき、外装缶12のキャップ体13に穴が開くなどの影響を回避できる。また、セル端子14と外装缶12のキャップ体13との突合せ接合が容易となる。
図2は本発明の実施の形態に係わるバッテリパックの構成図であり、図2(a)は2個の電池セルからなるバッテリパックの上面から見たセル端子接続部分の上面図、図2(b)は接続バーの側面図、図1(c)はバッテリパックの側面から見たセル端子接続部分の側面図である。
複数の電池セル11を接続する場合には、接続バー18で複数のセル端子14を接続する。図2(a)では2個のセル端子14を接続バー18で接続した場合を示している。接続バー18はセル端子14の先端形状よりも大きい穴19が形成されており、この穴19にセル端子14の先端部のブロックが挿入される。セル端子14の先端形状よりも大きい穴19が形成されているので、複数のセル端子14間を接合する際に、複数のセル端子14の固定誤差を吸収することができる。また、セル端子14は先端に向かい段階的に狭く凸状直方体に成形されているので、電池セル11の外装缶12から突出するセル端子14を大きくでき、セル端子間の接続バー18を接合し易くできる。
次に、接続バー18は、図2(b)に示すように、略中央部を凸状に曲げ成形されている。これにより、セル間端子を接続する接続バー18の剛性が柔らかくなり、セル端子14にかかる力を軽減できる。また、接続バー18とセル端子14との接合は、セル端子14と接続バー18との間を連続発振のレーザ溶接で接合する。これにより、セル端子14と外装缶12のキャップ体13、セル端子14と接続バー18との間の接合において、これらの材質がA1050などの純アルミ、A3003、A5052などのアルミ合金である場合に、A1050などの純アルミと、A3003やA5052などのアルミ合金との間をクラック無しに接合することができる。
次に、本発明の実施の形態に係わる電池セル製造方法について説明する。図3は、本発明の電池セル製造方法を用いて製造した電池セルのセル端子部分の一例を示す説明図であり、図3(a)はセル端子部分の一例の側面図、図3(b)は図3(a)のA1部の詳細図である。キャップ体13には、正極及び負極の1対のセル端子14a、14bが設けられている。A1部が正極のセル端子14aである。セル端子14a、14bは、それぞれキャップ体13にレーザ突き合わせ溶接で接合される。その際、負極のセル端子14bは絶縁体20を介してキャップ体13に接合される。これは、正極のセル端子14aと負極のセル端子14bとがキャップ体13を介して短絡するのを防止するためである。
そして、その後にキャップ体13にリード板21がレーザ突き合わせ溶接される。この場合も負極側においては、リード板21は絶縁体20を介してキャップ体13に接合される。リード板21は、セル端子14a、14bを電池セルの外装缶の内部に収納される導体に接続するための部材である。
図3(b)に示すように、正極のセル端子14aは、キャップ体13の面側に接する面側が広く先端に向かい段階的に狭く凸状直方体に成形されている。図3(b)では、セル端子14aは直方体のブロックが3段積み重ねのものを示している。そして、キャップ体13に設けられた凹部に、セル端子14aの最下段のブロックが挿入されて、セル端子14aはキャップ体13に装着され、この状態でレーザ溶接される。
これにより、キャップ体13のリガメントを確保でき、2方向の位置決めを容易することができ、固定時の接合信頼性を向上することができる。レーザ溶接は、連続発振でもパルス発振でも用いることができる。
図4は、本発明の電池セル製造方法を用いて製造した電池セルのセル端子部分の他の一例を示す説明図であり、図4(a)はセル端子部分の他の一例の側面図、図4(b)は図4(a)のA2部の詳細図である。図3に示した一例と異なる点は、セル端子14をキャップ体13に装着するにあたり、キャップ体13の凹部に代えて、キャップ体13に凸状突起15を設けたものである。つまり、図1及び図3に示したものと同様に、キャップ体13に設けられた凸状突起15にセル端子14を装着する。なお、符号16は凸状突起15をプレス加工した場合に生じる凹部である。
この場合においても、キャップ体13とセル端子14とを接合し、その後に外装缶の内部に収納されるリード板21とキャップ体13とをレーザ溶接により接合する。
ここで、セル端子14は、例えば、アルミ合金(A3000番)系もしくは純アルミAl(A1000番)系材料で構成され、リード板21は純アルミAl(A1000番)系材料で構成される。これにより、セル端子14の電気伝導度や製造性を向上させることができる。
図5は、図3に示したセル端子部分のレーザ溶接の説明図である。まず、セル端子14a、14bをキャップ体13に予めレーザ溶接で接合しておく。そして、図5(a)に示すように、セル端子14a、14bを下向きにして溶接治具22にセットする。溶接治具22は、セル端子14a、14bの先端部及びキャップ体13の一部を冷却板23を介してバネ24で保持する。また、必要に応じてキャップ体13の一部に冷却板(例えば銅板)23をセットする。
この状態で、ノズル25からレーザ光26を照射し、図5(b)に示すように、セル端子14とキャップ体13とのレーザ溶接部17aの反対側(リード板21側)からレーザ溶接して、キャップ体13にリード板21を接合する。そうすると、図5(c)に示すように、リード板21側からのレーザ溶接部17bとセル端子14側からのレーザ溶接部17aとが対面することになり、図5(d)に示すように、リード板21側からのレーザ溶接部17bとセル端子14側からのレーザ溶接部17aとが一体となるまでレーザ溶接する。
すなわち、リード板21とセル端子14との接合は、レーザ溶接での溶込み深さが1.0〜1.9mmまでとする。この場合、例えば、レーザ溶接条件を下記のように設定する。
レーザ出力:700W〜2000W
溶接速度:700mm/分〜3000mm/分
シールドガス流量:10〜100リットル/分
レーザ照射スポット径:0.05mm〜0.3mm
レーザ入射角度:面直から±30°
それにより、溶け込み深さをリード板21とキャップ体13の合計の板厚までとするレーザ溶接部17を形成することができる。
以上の説明では、キャップ体13とセル端子14とを予めレーザ溶接で接合しておき、その後に、キャップ体13とリード板21とをレーザ溶接で接合するようにしたが、セル端子14、リード板21およびキャップ体13とを、1度にレーザ溶接で接合するようにしてもよい。この場合には、セル端子14、リード板21およびキャップ体13の3つの部材を1工程のレーザ溶接で固着することができる。
図6は、図4に示したセル端子部分のレーザ溶接の説明図である。この場合も、図5の場合と同様に、セル端子14a、14bをキャップ体13に予めレーザ溶接で接合しておき、図6(a)に示すように、セル端子14a、14bを下向きにして溶接治具22にセットする。
図5の場合と異なるのは、キャップ体13に凸状突起15を形成した際のプレス加工により凹部16が形成されていることである。この凹部16があるので、セル端子14とキャップ体13とのレーザ溶接部17aの反対側(リード板21側)から対面してレーザ溶接することができないので、レーザ溶接部17aの位置からずれた位置に対してレーザ溶接し、キャップ体13にリード板21を接合する。従って、図5の場合のように、レーザ溶接部17aとレーザ溶接部17bとが一体となることはない。
本発明の実施の形態によれば、セル端子14を略直方体のブロックで形成し外装缶12のキャップ体13の一面と接合するので、外装缶12から突出するセル端子14を大きくでき、セル端子14間の接続バー18の接合をし易くできる。また、セル端子14の端面と外装缶12の面と装着する凸状突起や凹部を設けるので、セル端子14を外装缶12に精度よく装着できレーザによる突合せ溶接が容易となり接合信頼性が増す。従って、レーザ突合せ溶接を行う際に、外装缶側にレーザが漏れ、外装缶に穴が開くなどの影響を回避できる。
また、セル端子、外装缶、接続バーの材料として、A1050などの純アルミ、A3003やA5052などのアルミ合金を用いるので、こられの間をクラック無しに接合することができる。
本発明の実施の形態に係わるセル端子構造の構成図。 本発明の実施の形態に係わるセル端子間接続構造の構成図。 本発明のセル端子製造方法を用いて製造したセル端子構造の一例を示す説明図。 本発明のセル端子製造方法を用いて製造したセル端子構造の他の一例を示す説明図。 図3に示したセル端子構造のレーザ溶接の説明図。 図4に示したセル端子構造のレーザ溶接の説明図。
符号の説明
11…電池セル、12…外装缶、13…キャップ体、14…セル端子、15…凸状突起、16…凹部、17…レーザ溶接部、18…接続バー、19…穴、20…絶縁体、21…リード板、22…溶接治具、23…冷却板、24…バネ、25…ノズル、26…レーザ光

Claims (8)

  1. 略直方体のブロックで形成され外装缶のキャップ体に直接レーザ接合されるセル端子と、
    前記セル端子を形成する端面と相対するように前記外装缶のキャップ体に設けられ前記セル端子を装着するための凸状突起とを備え
    前記外装缶のキャップ体への前記セル端子の接合を前記セル端子の端面と前記キャップ体に設けられた前記凸状突起との接触面の位置で行うことを特徴とする電池セル。
  2. 前記セル端子を、前記外装缶の面側から先端に向かい段階的に狭く凸状直方体に成形したことを特徴とする請求項1に記載の電池セル。
  3. 前記セル端子と前記外装缶との間を連続発振のレーザ溶接で接合したことを特徴とする請求項1または請求項2に記載の電池セル。
  4. 請求項1乃至請求項3のいずれか1項に記載の電池セルのセル端子間を、前記セル端子の先端形状よりも大きい穴を形成した接続バーによって、接続したことを特徴とするバッテリパック。
  5. 前記接続バーの略中央部を凸状に曲げ成形したことを特徴とする請求項4に記載のバッテリパック。
  6. 前記セル端子と前記接続バーとの間を連続発振のレーザ溶接で接合したことを特徴とする請求項4または5に記載のバッテリパック。
  7. セル端子を略直方体のブロックで形成し、
    前記セル端子を形成する端面と相対するように外装缶のキャップ体に設けられた凸状突起に前記セル端子を装着し、
    前記外装缶のキャップ体への前記セル端子の接合は前記セル端子の端面と前記キャップ体に設けられた前記凸状突起との接触面の位置でレーザ接合で行い、
    その後に前記外装缶の内部に収納されるリード板と前記キャップ体とを接合す ることを特徴とする電池セル製造方法。
  8. 前記セル端子がアルミ合金(A3000番)系もしくは純アルミAl(A1000番)系で、リード板が純アルミAl(A1000番)系材料で構成されることを特徴とする請求項7に記載の電池セル製造方法。
JP2007255498A 2007-09-28 2007-09-28 電池セル、バッテリパックおよび電池セル製造方法 Expired - Fee Related JP5259152B2 (ja)

Priority Applications (1)

Application Number Priority Date Filing Date Title
JP2007255498A JP5259152B2 (ja) 2007-09-28 2007-09-28 電池セル、バッテリパックおよび電池セル製造方法

Applications Claiming Priority (1)

Application Number Priority Date Filing Date Title
JP2007255498A JP5259152B2 (ja) 2007-09-28 2007-09-28 電池セル、バッテリパックおよび電池セル製造方法

Publications (2)

Publication Number Publication Date
JP2009087707A JP2009087707A (ja) 2009-04-23
JP5259152B2 true JP5259152B2 (ja) 2013-08-07

Family

ID=40660870

Family Applications (1)

Application Number Title Priority Date Filing Date
JP2007255498A Expired - Fee Related JP5259152B2 (ja) 2007-09-28 2007-09-28 電池セル、バッテリパックおよび電池セル製造方法

Country Status (1)

Country Link
JP (1) JP5259152B2 (ja)

Families Citing this family (3)

* Cited by examiner, † Cited by third party
Publication number Priority date Publication date Assignee Title
JP2012160339A (ja) * 2011-01-31 2012-08-23 Sanyo Electric Co Ltd 組電池および電池接続方法
JP5571137B2 (ja) * 2012-08-13 2014-08-13 株式会社東芝 密閉型2次電池の溶接方法、密閉型2次電池及びキャップ体
JP6729137B2 (ja) 2016-07-28 2020-07-22 三洋電機株式会社 二次電池及びその製造方法、並びにそれを用いた組電池

Family Cites Families (8)

* Cited by examiner, † Cited by third party
Publication number Priority date Publication date Assignee Title
JPS58223350A (ja) * 1982-06-22 1983-12-24 Fujitsu Ltd アルミニウムパツケ−ジ
JPH06140020A (ja) * 1992-10-22 1994-05-20 Yazaki Corp バッテリー接続端子
JP2000210781A (ja) * 1999-01-20 2000-08-02 Nissan Motor Co Ltd レ―ザ溶接方法および装置
JP4984359B2 (ja) * 2001-08-08 2012-07-25 パナソニック株式会社 密閉型電池およびその封口板
JP2003317703A (ja) * 2002-04-24 2003-11-07 Sony Corp 電池およびその製造方法
JP2005285555A (ja) * 2004-03-30 2005-10-13 Sanyo Electric Co Ltd 電池及び電池パック
JP5044884B2 (ja) * 2004-07-01 2012-10-10 トヨタ自動車株式会社 組電池
JP5054905B2 (ja) * 2005-09-05 2012-10-24 株式会社オートネットワーク技術研究所 バッテリ出力端子と端子金具の接続方法

Also Published As

Publication number Publication date
JP2009087707A (ja) 2009-04-23

Similar Documents

Publication Publication Date Title
CN103378318B (zh) 装置箱体及装置箱体的制造方法
JP5587061B2 (ja) 抵抗溶接用通電ブロック、この通電ブロックを用いた密閉電池の製造方法及び密閉電池
JP4400234B2 (ja) 組電池
JP5856858B2 (ja) 角形二次電池の製造方法
CN110233227B (zh) 电池组和电池组的制造方法
US20090223940A1 (en) Different metallic thin plates welding method, bimetallic thin plates jointing element, electric device, and electric device assembly
JP4400235B2 (ja) 組電池間の接続構造
KR101980151B1 (ko) 인쇄회로기판 및 인쇄회로기판과 배터리의 전극 리드의 접합 방법
JP6724300B2 (ja) 蓄電装置
JP6476941B2 (ja) 蓄電素子、蓄電素子を備えた蓄電装置、蓄電素子の製造方法、及び蓄電装置の製造方法
JP5044108B2 (ja) 電池間接続装置
CN107665968B (zh) 二次电池及其制造方法、以及使用该二次电池的组电池
WO2011016200A1 (ja) 密閉型電池およびその製造方法
JP6650326B2 (ja) 組電池および組電池の製造方法
CN102640324A (zh) 用于制造导电连接的方法
US20180131030A1 (en) Electric power storage device and method of manufacturing the same
JP2009231145A (ja) 二次電池
JP5957651B2 (ja) 組電池
JP5259152B2 (ja) 電池セル、バッテリパックおよび電池セル製造方法
WO2014050329A1 (ja) 蓄電装置及び溶接方法
KR102889250B1 (ko) 버스 바 및 그것을 구비한 조전지
US12451565B2 (en) Battery assembly and method of manufacturing the same
JP7288456B2 (ja) 二次電池
JP2015011785A (ja) 蓄電装置及び該蓄電装置の製造方法
JP2013097923A (ja) 電極リード接続体及び電極リード接続アセンブリ

Legal Events

Date Code Title Description
A621 Written request for application examination

Free format text: JAPANESE INTERMEDIATE CODE: A621

Effective date: 20100407

A977 Report on retrieval

Free format text: JAPANESE INTERMEDIATE CODE: A971007

Effective date: 20120330

A131 Notification of reasons for refusal

Free format text: JAPANESE INTERMEDIATE CODE: A131

Effective date: 20120515

A521 Request for written amendment filed

Free format text: JAPANESE INTERMEDIATE CODE: A523

Effective date: 20120618

A131 Notification of reasons for refusal

Free format text: JAPANESE INTERMEDIATE CODE: A131

Effective date: 20121023

A521 Request for written amendment filed

Free format text: JAPANESE INTERMEDIATE CODE: A523

Effective date: 20121128

A131 Notification of reasons for refusal

Free format text: JAPANESE INTERMEDIATE CODE: A131

Effective date: 20130205

A521 Request for written amendment filed

Free format text: JAPANESE INTERMEDIATE CODE: A523

Effective date: 20130221

TRDD Decision of grant or rejection written
A01 Written decision to grant a patent or to grant a registration (utility model)

Free format text: JAPANESE INTERMEDIATE CODE: A01

Effective date: 20130402

A61 First payment of annual fees (during grant procedure)

Free format text: JAPANESE INTERMEDIATE CODE: A61

Effective date: 20130424

FPAY Renewal fee payment (event date is renewal date of database)

Free format text: PAYMENT UNTIL: 20160502

Year of fee payment: 3

R151 Written notification of patent or utility model registration

Ref document number: 5259152

Country of ref document: JP

Free format text: JAPANESE INTERMEDIATE CODE: R151

LAPS Cancellation because of no payment of annual fees