JP5259085B2 - ネットワーク発見と接続管理のためのシステムおよび方法 - Google Patents

ネットワーク発見と接続管理のためのシステムおよび方法 Download PDF

Info

Publication number
JP5259085B2
JP5259085B2 JP2006542679A JP2006542679A JP5259085B2 JP 5259085 B2 JP5259085 B2 JP 5259085B2 JP 2006542679 A JP2006542679 A JP 2006542679A JP 2006542679 A JP2006542679 A JP 2006542679A JP 5259085 B2 JP5259085 B2 JP 5259085B2
Authority
JP
Japan
Prior art keywords
server
network
list
beacon
message
Prior art date
Legal status (The legal status is an assumption and is not a legal conclusion. Google has not performed a legal analysis and makes no representation as to the accuracy of the status listed.)
Expired - Fee Related
Application number
JP2006542679A
Other languages
English (en)
Other versions
JP2007513579A (ja
Inventor
エム. マックアレン、クリストファー
ダブリュ. ダーン、クリストファー
エイ. ボルゲス、グレゴリー
スコット リード、マイケル
エム. バッチ、リチャード
Current Assignee (The listed assignees may be inaccurate. Google has not performed a legal analysis and makes no representation or warranty as to the accuracy of the list.)
CareFusion 303 Inc
Original Assignee
Cardinal Health 303 Inc
Priority date (The priority date is an assumption and is not a legal conclusion. Google has not performed a legal analysis and makes no representation as to the accuracy of the date listed.)
Filing date
Publication date
Application filed by Cardinal Health 303 Inc filed Critical Cardinal Health 303 Inc
Publication of JP2007513579A publication Critical patent/JP2007513579A/ja
Application granted granted Critical
Publication of JP5259085B2 publication Critical patent/JP5259085B2/ja
Anticipated expiration legal-status Critical
Expired - Fee Related legal-status Critical Current

Links

Images

Classifications

    • HELECTRICITY
    • H04ELECTRIC COMMUNICATION TECHNIQUE
    • H04LTRANSMISSION OF DIGITAL INFORMATION, e.g. TELEGRAPHIC COMMUNICATION
    • H04L63/00Network architectures or network communication protocols for network security
    • H04L63/04Network architectures or network communication protocols for network security for providing a confidential data exchange among entities communicating through data packet networks
    • H04L63/0428Network architectures or network communication protocols for network security for providing a confidential data exchange among entities communicating through data packet networks wherein the data content is protected, e.g. by encrypting or encapsulating the payload
    • GPHYSICS
    • G16INFORMATION AND COMMUNICATION TECHNOLOGY [ICT] SPECIALLY ADAPTED FOR SPECIFIC APPLICATION FIELDS
    • G16HHEALTHCARE INFORMATICS, i.e. INFORMATION AND COMMUNICATION TECHNOLOGY [ICT] SPECIALLY ADAPTED FOR THE HANDLING OR PROCESSING OF MEDICAL OR HEALTHCARE DATA
    • G16H40/00ICT specially adapted for the management or administration of healthcare resources or facilities; ICT specially adapted for the management or operation of medical equipment or devices
    • G16H40/20ICT specially adapted for the management or administration of healthcare resources or facilities; ICT specially adapted for the management or operation of medical equipment or devices for the management or administration of healthcare resources or facilities, e.g. managing hospital staff or surgery rooms
    • HELECTRICITY
    • H04ELECTRIC COMMUNICATION TECHNIQUE
    • H04LTRANSMISSION OF DIGITAL INFORMATION, e.g. TELEGRAPHIC COMMUNICATION
    • H04L63/00Network architectures or network communication protocols for network security
    • H04L63/04Network architectures or network communication protocols for network security for providing a confidential data exchange among entities communicating through data packet networks
    • H04L63/0428Network architectures or network communication protocols for network security for providing a confidential data exchange among entities communicating through data packet networks wherein the data content is protected, e.g. by encrypting or encapsulating the payload
    • H04L63/0435Network architectures or network communication protocols for network security for providing a confidential data exchange among entities communicating through data packet networks wherein the data content is protected, e.g. by encrypting or encapsulating the payload wherein the sending and receiving network entities apply symmetric encryption, i.e. same key used for encryption and decryption
    • HELECTRICITY
    • H04ELECTRIC COMMUNICATION TECHNIQUE
    • H04LTRANSMISSION OF DIGITAL INFORMATION, e.g. TELEGRAPHIC COMMUNICATION
    • H04L63/00Network architectures or network communication protocols for network security
    • H04L63/12Applying verification of the received information
    • H04L63/123Applying verification of the received information received data contents, e.g. message integrity
    • HELECTRICITY
    • H04ELECTRIC COMMUNICATION TECHNIQUE
    • H04LTRANSMISSION OF DIGITAL INFORMATION, e.g. TELEGRAPHIC COMMUNICATION
    • H04L67/00Network arrangements or protocols for supporting network services or applications
    • H04L67/01Protocols
    • H04L67/12Protocols specially adapted for proprietary or special-purpose networking environments, e.g. medical networks, sensor networks, networks in vehicles or remote metering networks
    • HELECTRICITY
    • H04ELECTRIC COMMUNICATION TECHNIQUE
    • H04LTRANSMISSION OF DIGITAL INFORMATION, e.g. TELEGRAPHIC COMMUNICATION
    • H04L67/00Network arrangements or protocols for supporting network services or applications
    • H04L67/50Network services
    • H04L67/54Presence management, e.g. monitoring or registration for receipt of user log-on information, or the connection status of the users
    • HELECTRICITY
    • H04ELECTRIC COMMUNICATION TECHNIQUE
    • H04LTRANSMISSION OF DIGITAL INFORMATION, e.g. TELEGRAPHIC COMMUNICATION
    • H04L9/00Cryptographic mechanisms or cryptographic arrangements for secret or secure communications; Network security protocols
    • H04L9/40Network security protocols
    • HELECTRICITY
    • H04ELECTRIC COMMUNICATION TECHNIQUE
    • H04LTRANSMISSION OF DIGITAL INFORMATION, e.g. TELEGRAPHIC COMMUNICATION
    • H04L67/00Network arrangements or protocols for supporting network services or applications
    • H04L67/01Protocols
    • HELECTRICITY
    • H04ELECTRIC COMMUNICATION TECHNIQUE
    • H04LTRANSMISSION OF DIGITAL INFORMATION, e.g. TELEGRAPHIC COMMUNICATION
    • H04L69/00Network arrangements, protocols or services independent of the application payload and not provided for in the other groups of this subclass
    • H04L69/30Definitions, standards or architectural aspects of layered protocol stacks
    • H04L69/32Architecture of open systems interconnection [OSI] 7-layer type protocol stacks, e.g. the interfaces between the data link level and the physical level
    • H04L69/322Intralayer communication protocols among peer entities or protocol data unit [PDU] definitions
    • H04L69/329Intralayer communication protocols among peer entities or protocol data unit [PDU] definitions in the application layer [OSI layer 7]

Landscapes

  • Engineering & Computer Science (AREA)
  • Computer Security & Cryptography (AREA)
  • Signal Processing (AREA)
  • Computer Networks & Wireless Communication (AREA)
  • Computing Systems (AREA)
  • Health & Medical Sciences (AREA)
  • General Engineering & Computer Science (AREA)
  • Computer Hardware Design (AREA)
  • General Business, Economics & Management (AREA)
  • Business, Economics & Management (AREA)
  • General Health & Medical Sciences (AREA)
  • Medical Informatics (AREA)
  • Biomedical Technology (AREA)
  • Public Health (AREA)
  • Primary Health Care (AREA)
  • Epidemiology (AREA)
  • Mobile Radio Communication Systems (AREA)
  • Small-Scale Networks (AREA)
  • Medical Treatment And Welfare Office Work (AREA)

Description

本発明は、概して、サーバがネットワークに接続されたクライアントを発見し、発見されたクライアントとの通信セッションを開くクライアント/サーバ・ネットワーク上で用いられるシステムおよび方法に関する。より詳細には、本発明は、ネットワーク上で動作するクライアント/サーバ・システムに関し、そのシステムにおいて、サーバは特定のポートを介して、ネットワーク全体にビーコンを同報通信する。そのシステムに接続されたクライアントは、ビーコン用の特定のポート上をリスニングし、ビーコンが検出された場合、クライアントと安全な通信を開くためにサーバにより利用される情報を用いて、そのポートを介して応答する。
高性能かつ高信頼性のコンピュータ・ネットワーク、高速かつ大容量の記憶媒体、小型のコンピュータ・プロセッサやメモリの出現に伴い、ベッドサイドの装置、実験装置および施設情報システムからの治療の提供および患者データの収集がより統合されるようになってきた。この技術により、様々な医療装置内に、コンピュータ・プロセッサまたはマイクロ・プロセッサおよびメモリが組み込まれるようになっている。通信機能が組み込まれることによって、医療装置内のプロセッサおよびメモリは、病棟、部門および施設に広がるネットワークに結合される。これらのネットワークは、様々な機関の情報システムと個々の医療機器との間での情報の交換を可能にする。医療機器は、輸液ポンプ等の治療提供機器であってもよく、ベットサイドのモニタおよび実験装置の両方を含む生命徴候測定およびデータ収集機器であってもよい。
治療薬物提供の複雑さが増大するにつれて、発生している問題の一つは、ミスの機会が増えていることである。エンゲルソン他(Engleson et al. )に付与された米国特許第5,781,442号、発明の名称「データを収集し患者ケアを管理するためのシステムおよび方法(System and Method for collecting Data and Managing Patient Care )」で説明されているシステム等、薬物ミスの頻度に対処する多くの異なるシステムが提案されており、その主題は本特許仮出願の主題であるとみなされ、本特許仮出願の主題に組み込まれ、本特許仮出願の主題の一部となる。別のシステムは、エガーズ(Eggers)による米国特許出願公開番号第2002/0169636号、発明の名称「患者ケアを管理するためのシステムおよび方法(System and Method for Managing Patient Care )」で説明され、その主題は本特許仮出願の主題であるとみなされ、本特許仮出願の主題に組み込まれ、本特許仮出願の主題の一部となる。
多くのクライアント医療機器を備えたシステムに伴って発生する問題の一つは、システム上の様々な機器のメモリを十分頻繁に更新し、機器が最新の患者情報、治療情報、規則の組合せおよび患者固有の投薬指針にアクセスできることを保守する必要があることである。最近まで、サーバはネットワークに接続された各機器にポーリングを行い、機器がネットワークに接続されているか否かを判別し、それから機器に任意の更新情報を送信する必要があった。このようなポーリングには資源および時間がかかり、ネットワーク全体の効率および速度を低下させる。
この問題は、医療機器が無線ネットワーク等の有線ネットワーク以外の媒体、またはインターネットを用いる場合に特に難しくなる。これらのシステムでは、個々の医療機器は、ダイヤルアップ、ケーブル、DSLまたは無線接続を用いて、無線ネットワークのアクセス・ポイントまたはインターネットを介してサーバを呼び出す。このようなシステムでは、ネットワークが基本的に、外部発信源から来る通信用の要求に広く開かれている点で、潜在的にセキュリティ上の問題がある。システムは、通信要求が安全な医療機器から来ているのか、安全でない発信源から来ているのかを判別し、安全でない発信源の場合、サーバとの通信の確立を回避しなければならない。
クライアント医療機器がネットワークに接続されているか否かを発見し、サーバと医療機器との間でネットワークを介して、安全な通信セッションを確立するシステムおよび方法が必要とされ、従来利用可能でなかった。このようなシステムは信頼性が高く、堅牢であって、サーバとクライアントとの間の通信セッションが安全であることを保証しなければならない。
本発明は、一般に、ネットワークに接続された一つ以上のサーバと一つ以上のクライアントを備えたシステム内で具体化される。本発明は、一般に、どのクライアントがネットワークに接続されているかを発見し、サーバにクライアントを登録し、サーバとクライアントとの間に安全な通信を提供する方法を実現する。本発明の方法に従ってサーバとクライアントとの間に確立される通信セッションは、いかなる理由で遮断された接続であっても本質的に再確立を実現し、悪意ある、あるいは第三者のサーバのネットワークへの接続の試みを拒否するという点で特に堅牢である。
一態様では、本発明は、ネットワークに接続されたリモート・データ・サーバおよび一つ以上のクライアントを有する。クライアントはネットワーク・インタフェース・モジュールを介して、ネットワークに接続されている。サーバは、ネットワーク上にビーコン・メッセージを周期的に送信する。クライアントはネットワークをリスニングし、クライアントがビーコン・メッセージを受信した場合、そのビーコン・メッセージに状態応答メッセージで応答し、その結果、クライアントをサーバに登録し、サーバは安全な通信セッションを確立することができる。各メッセージは、特定の情報フィールドを有する。一実施形態では、ビーコン・メッセージは特定のポートから送信され、クライアントはそのポートからのみビーコン・メッセージを受信し、そのポートに応答するようにプログラムされている。別の実施形態では、ビーコンおよび状態応答メッセージは、UDPポート上に送信される。さらに別の実施形態では、一旦サーバが状態応答メッセージを受信すると、サーバはクライアントとのTCP/IP接続を開く。
さらに別の態様では、クライアントは、自身が登録されていないサーバから来る任意のビーコン・メッセージを無視するようにプログラムされている。一実施形態では、クライアントは、特定の間隔で分離されていないビーコン・メッセージを無視する。別の実施形態では、クライアントは、既に登録されたサーバからビーコン・メッセージを受信してから、特定の間隔が経過しない限り、第二サーバによって送信された任意のビーコン・メッセージを無視するようにプログラムされている。
別の態様では、本発明は、ネットワーク上に送信されるメッセージを暗号化し、患者のプライバシおよび他のデータを保護する方法を含んでいる。一実施形態では、メッセージはセキュリティ・ヘッダおよびフッタを用いて暗号化され、全メッセージとトランザクション・キーの排他的論理和をとることによって、メッセージのソルトを行った後、AESブロック暗号を用いて、メッセージ全体が暗号化される。
本発明のさらに別の態様では、ネットワーク上のサーバとクライアントとの間の接続は、サーバが各クライアントの各終点へTCP/IP接続することによって管理される。サーバがクライアントへのTCP/IP接続を確立できるようになるだけで、クライアントは登録されていないサーバへ応答しないようになる。
さらに別の態様では、本発明は、施設内の移動型クライアントの位置を判別する方法を提供する。当然のことながら、移動型クライアントは、医療機器内に含まれるプロセッサであってもよい。無線接続を用いてクライアントをネットワークに接続する一実施形態では、クライアントを接続するMACアドレスの識別番号は既知であり、施設内の位置に関連付けられる。別の実施形態では、所定の期間、サーバに登録されず、その結果、「消失」と考えられるクライアントの監視リストを生成できる。監視リスト上のクライアントの一つが電源オンになるか、無線送受信機の範囲内に来ると、MACアドレスから判別されるように、その機器のおよその位置のレポートが提供される。
さらに別の態様では、本発明は、医療機器等のクライアントの電源を切断するか、保留、待機または節電モードに配置可能なシステムおよび方法を含み、そのクライアントは特定の間隔で「起動」して、サーバに登録され、そのクライアントに接続されたデータベースの任意の更新が利用可能か否かを判別し、利用可能であれば、その更新をダウンロードするようにプログラムされている。一旦ダウンロードが完了すると、クライアントは特定の期間、別の更新を待機し、それから待機節電モードに戻るようにプログラムされている。あるいは、クライアントは、ダウンロードの完了時に、待機または節電モードに戻ることができる。別の構成では、クライアント自体は待機モードのままで、クライアントに関連するネットワーク・インタフェース・モジュールが起動するようにプログラムされている。
本発明の他の特徴と利点は、添付図面と共に以降の詳細な説明から明らかになり、その図面は一例として発明の特徴を示している。
以下に、本発明の好ましい実施形態を示す添付図面を参照しながら、本発明をさらに詳しく説明する。ただし、本発明は多くの異なる形態で具体化可能であり、ここで示される実施形態に限定されるものとみなすべきではない。むしろ、この開示内容が詳細で完全なものとなり、発明の範囲を当業者に十分伝えることができるように、これらの実施形態を提供する。同一の符号は、明細書全体を通して同一の構成要素を表している。
当業者には明らかなように、本発明は、方法、データ処理システム、またはコンピュータ・プログラム製品として具現化可能である。従って、本発明は完全なハードウェア実施形態、完全なソフトウェア実施形態、またはソフトウェアとハードウェアを組み合わせた実施形態をとることができる。さらに、本発明はコンピュータ利用可能な記憶媒体上のコンピュータ・プログラム製品の実施形態をとることができ、前記記憶媒体は内部に具現化されたコンピュータ読み取り可能なプログラム・コードを備えている。任意の適切なコンピュータ読み取り可能な媒体を用いることができる。そのような媒体は、ハードディスク、CD−ROM、光学的記憶装置、および磁気記憶装置等を含むが、それらには限定されない。
本発明は、発明の一実施形態に従って、方法、装置(システム)、およびコンピュータ・プログラム製品のフロー図を参照しながら以降に説明される。当然のことながら、フロー図の各ブロック、およびブロックの組合せはコンピュータ・プログラム命令によって実施される。これらのコンピュータ・プログラム命令は、機械を構成するための汎用コンピュータ、専用コンピュータ、または他のプログラム可能なデータ処理装置のプロセッサに設けられ、コンピュータまたはプログラム可能なデータ処理装置のプロセッサを介して実行する命令は、フロー図の一つ以上のブロックに指定した機能を実現する手段を生成する。
これらのコンピュータ・プログラム命令はコンピュータ読み取り可能なメモリ内に格納され、コンピュータまたは他のプログラム可能なデータ処理装置を指示して、特定の方法で機能させる。コンピュータ読み取り可能なメモリ内に格納された命令は、フロー図の一つ以上のブロックで指定した機能を実現する命令手段を含む製品を構成する。
コンピュータ・プログラム命令は、コンピュータまたは他のプログラム可能なデータ処理装置上にロードされ、コンピュータ実装処理を行うためのコンピュータまたは他のプログラム可能な装置上で実行する一連の動作ステップを生成する。コンピュータまたは他のプログラム可能な装置上で実行する命令は、フロー図の一つ以上のブロックに指定した機能を実現するためのステップを提供する。
本発明は、スタンド・アロンの計算装置上で実行するシステムとして実装される。好ましくは、本発明は、クライアント/サーバ環境内のシステムとして実装される。当業者には明らかなように、クライアント・アプリケーションは、クライアントとサーバとの関係における要求プログラムである。サーバ・アプリケーションは、同一または他のコンピュータ内でクライアント・プログラムからの要求を待機し、実現するプログラムである。クライアント/サーバ環境は、インターネット等の公的ネットワーク、および「イントラネット」と呼ばれることが多い私的ネットワーク、ローカル・エリア・ネットワーク(LAN:Local Area Network)およびワイド・エリア・ネットワーク(WAN:Wide Area Network )、仮想施設通信網(VPN:Virtual Private Network )、フレーム・リレーまたは直接電話接続を含むことができる。当然のことながら、クライアントおよびサーバ・アプリケーションを提供するコンピュータ、またはコンピュータ利用可能な媒体内に具現化されたプログラム・コードを実行するように構成した他の装置を含む、クライアント・アプリケーションまたはサーバ・アプリケーションは、様々な機能を実行する手段として動作し、本発明の様々な動作方法を実行する。
以下の用語および定義は、本発明の様々な態様および実施形態を十分に理解するのに役立つ。従って、これらの用語は、本発明を説明するために、以下のように示される意味を有するものとする。
AESは、高度暗号化規格(Advanced Encryption Standard)を意味する。AESは、防衛暗号規格(DES:Defense Encryption Standard )用の次世代規格であり、連邦情報処理規格および国立標準技術研究所によって承認された高安全な対称ブロック暗号アルゴリズムである。
CBCは、暗号ブロック連鎖(Cipher Block Chaining )を意味する。CBCはブロック暗号用の動作モードであり、平文の各ブロックは符号化前に、事前に符号化した暗号文のブロックと排他的論理和をとる。
DHCPは、動的ホスト構成プロトコル(Dynamic Host Configuration Protocol )を意味する。DHCPは、IPネットワーク上のクライアントに動的に割り当てたIPアドレスを提供する。
ECBは、電子クック・ブック(Electronic Cook Book)を意味する。ECBはブロック暗号の動作モードであり、平文の各ブロックは他の全てのブロックと別個に符号化される。
IPは、インターネット・プロトコル(Internet Protocol )を意味する。IPは、ネットワーク・メッセージを送信するために用いられる単純なアドレス指定プロトコルである。IPには多くのバージョンが存在し、本発明の様々な実施形態は任意のバージョンのIP、好ましくはバージョン4(IPv4)を用いて動作するものとする。
LANは、ローカル・アクセス・ネットワーク(Local Access Network)を意味する。LANは、私的な同質のネットワーク上に接続されたシステムの集まりである。
MD5は、MD5メッセージ・ダイジェスト・アルゴリズムを表している。MD5は、所定のデータ・セットの安全で固有の「指紋」を生成するように設計された複合ハッシュ・アルゴリズムである。
NIMは、ネットワーク・インタフェース・モジュール(Network Interface Module)を意味し、医療機器をIPネットワークに接続し、参加させる機器である。
RDSは、リモート・データ・サーバ(Remote Data Server)、一般にネットワーク上の医療機器との全ての第三者通信のプロキシとして機能する中央サーバを表している。
TCPは、伝送制御プロトコル(Transmission Control Protocol )を意味する。TCPは、ネットワーク上の二つクライアントの間に、継続的で高信頼性のストリームベースのデータ接続を提供する高レベル・プロトコルである。
UDPは、ユーザ・データグラム・プロトコル(User Datagram Protocol)を表している。UDPは、ネットワーク上の二つのクライアントの間に、比較的低信頼性のメッセージベースの通信を提供する低レベル・プロトコルである。
図1は、本発明の態様を用いる患者ケア・システムの概略図である。図1において、患者ケア機器12は、薬局管理システム34と病院情報システム・サーバ30を含む病院ネットワーク10に接続されている。各要素12,30および34は、伝送チャネル32によってネットワーク10に接続されている。伝送チャネル32は、例えば、802.11無線ローカル・エリア・ネットワーク(LAN)等の任意の有線または無線伝送路である。本発明の一実施形態では、ネットワーク10はさらに、病院全体の様々な部署内に配置されたコンピュータ・システムを含んでいる。例えば、図1のネットワーク10は、受付36、会計38、生物医学技術部40、実験室42、中央備品部44、一つ以上のユニット局コンピュータや医学的判断支援システム48に接続されたコンピュータ・システムを選択的に含んでいる。さらに、システムは別個のリモート・データ・サーバ49を組み込むことができ、その機能は以降で詳しく説明する。その上、リモート・データ・サーバ49は別個のサーバとして示されているが、リモート・データ・サーバ49の機能およびプログラムは、施設の情報システムの設計技術者が望むのであれば、例えば、病院情報システム・サーバ30等の別のコンピュータ内に組み込まれてもよい。
患者ケア機器12は好ましくは、エガーズ他(Eggers et al. )に対する米国特許第5,713,856号で説明されているものと同様のシステムを有し、参照することによって本明細書に組み込まれる。また、本明細書で示した開示内容に従って、ポンプ、生理学的モニタ(例えば、心拍数、血圧、ECG、EEG、パルス酸素計、および他の患者モニタ)、治療機器、および他の薬物送出機器等の他の患者ケア機器を用いることもできる。患者ケア機器12は好ましくは、一つ以上の機能モジュール16,18,20,22に接続されたインタフェース・ユニット14とも呼ばれる制御モジュールを有する。インタフェース・ユニット14は、例えばランダム・アクセス・メモリ(RAM:Random Access Memory)58等のメモリに接続された中央演算処理ユニット(CPU:Central Processing Unit )50、およびユーザ・インタフェース機器54、符号化データ入力機器60、ネットワーク接続52、および別のモジュールまたは機器と通信するための補助インタフェース62等の一つ以上のインタフェース機器を含んでいる。インタフェース・ユニット14はさらに好ましくは、ソフトウェアおよびデータを格納するための不揮発性主記憶ユニット56、好ましくはハードディスク駆動装置、および上記の構成要素を相互接続するための一つ以上の内部バス64を有するが、必ずしも必須ではない。
典型的な実施形態では、ユーザ・インタフェース機器54は、ユーザに情報を表示し、画面の所定の領域を触れることによって、ユーザが情報を入力できるタッチ・スクリーンである。また、ユーザ・インタフェース機器54は、モニタ、プリンタ、キーボード、ソフトキー、マウス、トラック・ボールやライト・ペン等、情報を表示および入力するための任意の手段を含むことができる。符号化データ入力機器60は、好ましくはバーコード形式で印刷したデータを走査および解釈可能なバーコード・リーダである。また、データ入力機器60は、磁気ストリップ、PCMCIAスマート・カード、無線カード、メモリ・スティック、CD、DVD、または他の任意のアナログまたはデジタル記憶媒体を読み取る機器等、コンピュータに符号化データを入力する任意の機器であってもよい。データ入力機器60の他の例は、音声起動機器、音声認識機器または携帯型情報端末(PDA:Personal Data Assistant )を含んでいる。用いられるインタフェース機器の種類に応じて、ユーザ・インタフェース機器54と符号化データ入力機器60は、同じ機器であってもよい。また、データ入力機器60は図1ではインタフェース・ユニット14内に配置されるように示されているが、当業者には明らかなように、データ入力機器60は薬局システム34内に一体化することも、外部に配置し、RS−232シリアル・インタフェースまたは他の任意の適切な通信手段を介して、薬局システム34と通信することもできる。補助インタフェース62は好ましくはRS−232通信インタフェースであるが、発明の範囲から逸脱することなく、プリンタ、患者モニタ、輸液ポンプまたは他の医療機器等の周辺機器と通信するための他の任意の手段を用いることもできる。また、データ入力機器60は、モジュール16,18,20および22のような別個の機能モジュールであってもよく、適切なプログラムおよび通信プロトコルを用いて、制御部14またはネットワーク上の他の任意のシステムと通信するように構成される。
ネットワーク接続52は好ましくは、T1接続、統合サービスデジタル網(ISDN:Integrated Service Digital Network)接続、デジタル加入者線(DSL:Digital Subscriber Line )モデムまたはケーブル・モデム等の直接ネットワーク接続である。また、電話モデム、MIBシステム、RS−232インタフェース、補助インタフェース、光リンク、赤外線リンク、高周波リンク、マイクロ波リンク、WLANS接続または他の無線接続等を含む任意の直接または間接ネットワーク接続を用いることができるが、それらには限定されない。
機能モジュール16,18,20,22は、患者にケアを提供するか、あるいは患者の状態を監視する任意の機器である。図1に示したように、機能モジュール16,18,20,22のうちの少なくとも一つは、患者に薬物または他の流体を送出する静脈注射ポンプ等の輸液ポンプ・モジュールであってもよい。この説明のために、機能モジュール16は輸液ポンプ・モジュールとする。機能モジュール18,20,22は各々、輸液ポンプ、シリンジ・ポンプ、PCAポンプ、硬膜ポンプ、経腸ポンプ、血圧モニタ、パルス酸素計、EKGモニタ、EEGモニタ、心拍モニタ、頭蓋内圧モニタ等を含む任意の患者治療機器または監視機器であってもよいが、それらには限定されない。また、機能モジュール18,20,22は、プリンタ、スキャナ、バーコード・リーダまたは他の任意の周辺入力機器、出力機器または入出力機器であってもよい。
各機能モジュール16,18,20,22はインタフェース・ユニット14と直接または間接的に通信し、インタフェース・ユニット14は機器12を全体的に監視および制御する。機能モジュール16,18,20,22は、図1に示し、エガーズ他において詳しく説明されているように、インタフェース・ユニット14の一端または両端に、直列に物理的かつ電気的に接続されている。しかし、当業者には明らかなように、インタフェース・ユニットと機能モジュールを接続する他の手段も存在し、本発明の範囲から逸脱することなく用いることができる。当然のことながら、十分なプログラム可能性および接続を提供するポンプまたは患者監視機器等の機器は、スタンド・アロン機器として動作でき、別個のインタフェース・ユニットまたは制御ユニット14を介して接続することなく、ネットワークと直接通信できる。上記のように、一つ以上の補助インタフェース62を介して、患者ケア機器12に別の医療機器または周辺機器を接続することができる。
各機能モジュール16,18,20,22は一般に、モジュール固有部品76、マイクロ・プロセッサ70、揮発性メモリ72および不揮発性メモリ74を有し、情報を格納する。当然のことながら、図1では四つの機能モジュールが示されているが、中央制御部14には任意の数の機器を直接または間接的に接続することができる。ここで説明した機能モジュールの種類および数は例示的なものとみなされ、決して本発明の範囲を限定するものではない。モジュール固有部品76は、輸液ポンプ16のポンプ機構等、特定のモジュールの動作に必要な任意の部品を含んでいる。
各機能モジュールは一般に、少なくともいくつかのレベルの独立した動作を可能とするが、インタフェース・ユニット14は機器12の全体的な動作を監視し、制御する。例えば、以降でさらに詳しく説明するように、インタフェース・ユニット14は機能モジュール16,18,20,22にプログラム命令を提供し、各モジュールの状態を監視する。
患者ケア機器12はいくつかの異なるモードまたは属性で動作可能であり、各属性は構成データベースで定義される。特定の構成データベースは、患者の場所、年齢、身体特性、または医療特性等の患者固有の情報に基づいて少なくとも部分的に選択される。医療特性は、患者の診断、治療処方、病歴、医療記録、患者ケア提供者識別番号、生理学的特性または心理学的特性等を含むが、それらには限定されない。ここで用いられるように、患者固有の情報はさらに、ケア提供者情報(例えば、医師識別番号)または病院内または病院コンピュータ・ネットワーク内での患者ケア機器10の位置を提供する。患者ケア情報は、インタフェース機器52,54,60または62を介して入力される。例えば、薬局34、受付36、実験室42等、ネットワーク10内の任意の場所からもたらされる。
様々なデータ源とやり取りするデータは既存の技術を用いて、ネットワーク互換データに変換され、医療機器とネットワークとの間の情報の移動は様々な手段によって実現される。例えば、患者ケア機器12とネットワーク10とは、自動インタラクション、手動インタラクションまたは自動および手動のインタラクションの両方の組合せによって通信される。自動インタラクションは連続的または断続的であってもよく、直接ネットワーク接続54(図1に示したように)を介して、またはRS232リンク、MIBシステム、ブルートゥース(カリフォルニア州サンノゼ、Amtel社)、IRリンク、WLANS、デジタル・ケーブル・システム、電話モデムまたは他の有線または無線通信手段を介して発生させてもよい。患者ケア機器12とネットワーク10との間の手動インタラクションは、例えば、ユーザ・インタフェース機器54、符号化データ入力機器60、バーコード、コンピュータ・ディスク、携帯型情報端末、メモリ・カード、またはデータを格納する他の任意の媒体を用いて、システム間でデータを間欠的または周期的、物理的に転送することを含んでいる。好ましくは、通信手段は、分散されたデータ源のできるだけ多くの点からデータに双方向にアクセスする。意志決定は、ネットワーク10内の様々な場所で発生する。例えば、病院情報システム・サーバ30、判断支援48、リモート・データ・サーバ49、病院部局またはユニット局46、または患者ケア機器12のそれ自体内で意志決定を行うことができるが、それらには限定されない。
本発明の態様を組み込んだクライアント/サーバ環境は一般に、コンピュータ・ネットワークを介して、少なくとも一つのクライアントがアクセス可能な中央サーバを含んでいる。より複雑なシステムでは、中央サーバは、例えば、イーサネット(登録商標)、無線ネットワーク、またはインターネット等のコンピュータ・ネットワークを介して、少なくとも一つのローカル・サーバによってアクセスされ、次にローカル・サーバがクライアントによってアクセスされる。TCP/IPを含むがそれには限定されない様々なコンピュータ・ネットワーク転送プロトコルは、ネットワーク上で用いられる通信プロトコルと互換性のある通信機能を備えるように構成された中央サーバ、任意のローカル・サーバ、およびクライアント機器の間での通信を可能にするために用いられる。
中央サーバは一般に、その上で実行するMicrosoft(登録商標) SQL Severアプリケーション・プログラム・バージョン6.5(ワシントン州レドモンド、Microsoft,Inc.から入手可能)等の中央データベースを含んでいる。中央サーバは、ローカル・サーバが最新バージョンの知識ベースを実行していることを保証し、さらに全ての患者データを格納し、システムにローカル・サーバおよびユーザを追加および削除することを含む様々な管理機能を行うことができる。中央サーバはさらに、ユーザがローカル・サーバまたはクライアント医療機器を利用可能になる前に許可を行う。上記のように、一般的な統合型システムでは、患者データは好ましくは中央サーバに格納され、それによって患者データの中央レポジトリを提供する。しかし、当然のことながら、患者データは、ローカル・サーバ、ローカル記憶媒体、または別の病院または施設のサーバや情報システム上に格納でき、必要に応じて、システムの様々な要素、つまりローカル・サーバやクライアントを介してアクセスすることができる。
各ローカル・サーバは一般に、地理的位置における複数のユーザにサービスを提供する。各ローカル・サーバの例は、病棟内、看護婦室、または主情報またはバックアップ情報の収集、経路指定、解析や記憶システムとして動作する現場外または離れた場所に配置したサーバを含んでいる。各ローカル・サーバは一般に、サーバ・アプリケーション、一つ以上の知識ベース、およびローカル・データベースを有する。各ローカル・サーバはさらに、適切な医療や薬物送出および処方診療に従うことを保証する一連の規則または診療基準とやり取り可能な推論システムを含むこともできる。各ローカル・サーバはさらに、本発明の動作を実行する人工知能処理を行うこともできる。ユーザがクライアントを介してログオンすると、当業者には明らかなように、好ましくは識別番号およびパスワードを介して認証される。一旦認証されると、ユーザはシステムへのアクセスが許可され、特定の管理特権が割り当てられる。また、システムの動作をプログラムし、バーコード・ラベル、RF識別タグまたは機器、または他のスマート、受動型、能動型識別機器等の、患者、ケア提供者および薬物識別機器を用いて、システムのユーザを識別し、患者を診断および治療するシステムにアクセスできるようにする。
各ローカル・サーバはさらに中央サーバと通信を行い、要求中のローカル・サーバ上で最新版の知識ベースおよびアプリケーションが実行中であることを確認することもできる。最新版でない場合は、要求中のローカル・サーバは、ユーザ・セッションが確立される前に、正当な最新の知識ベースやアプリケーションを中央サーバからダウンロードする。本発明のいくつかの実施形態では、データおよび人工知能処理等、最も計算上集約的作業をローカル・サーバ上で実行するが、「小型軽量クライアント」、つまり最小のハードウェアおよび最適システム速度を備えた計算機器も可能であり、本発明はさらにクライアント上でデータ処理および規則処理を実行し、このようなタスクから中央システム、またはローカル・サーバを解放するシステムを含むものとする。
各ローカル・クライアントまたは医療機器はさらに、一般にグラフィカル・ユーザ・インタフェース(GUI:Graphical User Interface)からなるクライアント・アプリケーション・プログラムを含んでいるが、このようなものは多くの医療機器、および中央サーバまたはローカル・サーバと通信する中間層プログラム上では不要である。クライアント・アプリケーション・プログラム用のプログラム・コードは全体的にローカル・クライアント上で実行可能であり、部分的にローカル・クライアント上で実行し、部分的に中央またはローカル・サーバ上で実行することもできる。
本発明の動作を実行するコンピュータ・プログラム・コードは好ましくは、例えばJAVA(登録商標)、スモールトーク、またはC++等のオブジェクト指向プログラム言語で作成される。しかし、本発明の動作を実行するコンピュータ・プログラム・コードは、Cプログラム言語等の既存の手続き型プログラム言語、Perl等のインタプリタ型スクリプト言語、Lisp、SML、Forth等の関数型(または第四世代)プログラム言語で作成することもできる。ソフトウェアはさらに、HLA−7要件に適合するように作成することもできる。
次に、本発明の典型的な実施形態について説明する。一般に、本発明の態様を組み込んだ医療機器はネットワーク・インタフェース・モジュール(NIM:Network Interface Module)を備え、医療機器はネットワーク内のノードとして参加できる。簡略化のために、本発明はインターネット・プロトコル(IP:Internet Protocol )を用いて、イーサネット・ネットワーク環境で動作するものとして説明されるが、当業者には明らかなように、本発明の概念は同様に他のネットワーク環境に適用することもでき、このような環境は本発明の範囲内にあるものとする。
本発明に従ってネットワーク上で動作する医療機器との直接通信は全て、リモート・データ・サーバ(RDS:Remote Data Server)と呼ばれる中央サーバを介して実行される。本発明の態様によると、例えば輸液ポンプまたは生存徴候測定機器等の医療機器に組み込んだネットワーク・インタフェース・モジュールは、認証済みのRDSに起因しない全てのネットワーク・トラフィックを無視する。本発明のRDSの主な責任は、NIMを備え、ネットワーク上の全ての医療機器の場所と状態を追跡し、それらとの通信チャネルを開いたままで維持することである。
本発明の典型的な実施形態では、RDSがネットワーク上の医療機器を発見、接続する。それと通信する手段を含むソフトウェアおよび通信プロトコルのアーキテクチャは例えば、イーサネットLAN環境内で動作する。LAN上の任意の二つのノードの間のデータの名目上のラウンド・トリップ・タイムは一般に1秒未満であり、ネットワーク上の各リンクは一般に少なくとも1Mbpsの維持速度でデータを送信できる。全ネットワーク帯域幅の10%以下が所定の時間に利用可能であれば、典型的なネットワークは効率的に稼働中であるとみなされるが、当然のことながら、無線ネットワーク環境で発生するように、ノードは間欠的ネットワーク接続を被ることがあり、このような接続の中断は重要性および持続時間の両方で大きく変化する。
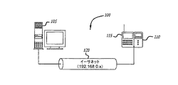
図2は、本発明を最も簡単な実施形態で示している。この実施形態では、本発明の原理によるシステムは単一のリモート・データ・サーバ105と、例えば、イーサネット・ケーブル120等の適切な通信手段を介して、共に接続されたネットワーク・インタフェース・モジュール115に取り付けた単一の医療機器110からなる。RDS105とNIM115との間の接続はイーサネット・ケーブル120によって示されているが、当業者には明らかなように、有線または無線の任意の手段を用いて、RDS105とNIM115とを互いに通信するように配置し、それらの間に情報の流れを提供する。
本発明の態様に従って動作するより複雑なシステムが、図3に示されている。この実施形態では、システムは主RDS130と、ルータ140を介してイーサネット145に接続されたバックアップRDS135を有する。イーサネット145を介して、RDS130,135で通信される情報は、ルータ150,155,160および送受信無線アクセス・ポイント165,170,175を介して、医療機器180,185,190に通信される。上記のように、医療機器180,185および190はネットワーク・インタフェース・モジュールを有し、前記ネットワーク・インタフェース・モジュールは無線アクセス・ポイント165,170および175と情報を無線送受信するための適切な回路を含んでいる。当然のことながら、ネットワークの大きさおよび複雑さは、図3に示したものに限定されない。ただし、ネットワークの大きさや複雑さは、発見と接続に用いられるプロトコルに依存しない。
さらに、情報は、ルータ195およびファイアウォールまたはインターネット・プロキシ200を介して、インターネットまたはイントラネット205等の別のシステムとやり取りされる。この方法では、第三者のシステムまたは機器は、医療機器180,185,190と通信できる。さらに以降で詳しく説明するように、本発明のシステムのアーキテクチャおよび動作は、ネットワーク内の情報の安全な流れを提供する。第三者の機器(図示せず)がネットワーク上の医療機器180,185,190との通信を希望すると、イーサネット145を介して、RDS130または135等の起動中のRDSにそれらの要求を送信することによって通信を行う。それから、RDSは、可能であれば、第三者の機器の代わりに、ネットワーク上の医療機器に要求を行う。第三者の機器は、そのNIMを介して、ネットワーク上の医療機器と直接通信を開始することは決してない。この方法では、外部の第三者の機器はネットワーク上の医療機器との通信を起動できないので、通信セッションのセキュリティが保証される。RDSを介して開始しない第三者の要求は全て無視される。
アドレス指定
本発明の好ましい実施形態では、システムの接続プロトコルはIP/イーサネット上で動作する。この実施形態では、システム内の各NIMには、通信を可能にするために一意的なIPアドレスが割り当てられる。IPアドレスを静的に割り当てることもできるし、ユーザは動的アドレス割り当てのためにDHCPを用いることを選択することもできる。両方の方法が、NIMによってサポートされている。
冗長的サーバ
医療機器180,185および190との通信は全てRDSを介して経路指定されるので、RDSがシステム内の最も重要な障害点となる。耐障害性を増強したいエンド・ユーザは、主RDS130とバックアップRDS135によって図3に例示したように、そのネットワーク上に一つ以上の冗長的RDSをセットアップすることを選択できる。このような冗長性は本発明の接続プロトコルによって十分にサポートされ、冗長的サーバは一般に能動型/受動型構成でセットアップされる。
冗長的クラスタ内のRDS135等のバックアップ・リモート・データ・サーバをネットワークに直接接続し、一意的なIPアドレスを割り当てることも、従来から知られているように、変換ルータ(図示せず)を介して接続し、全てが同じIPアドレスを有するようにすることもできる。本発明を組み込んだ動作システムの接続プロトコルは、両方の構成をサポートしている。
負荷バランシング
複数のサブネットが存在する非常に大きなネットワークでは、冗長的クラスタを用いてサブネットを論理的グループに分割し、別個のリモート・データ・サーバを各グループに割り当てることによって、負荷バランシングを行うことができる。このようなシステム上の唯一の制限は、一つ以上のRDSが単一のサブネットにサービスを提供できないことである。RDSとNIMとの間の接続のセキュリティを保証するために、そのローカル・サブネット上に動作中のRDSを一つ以上検出した場合、NIMは一般にRDSへの応答を拒絶するようにプログラムされる。
図3に示したように、ネットワーク、ここではイーサネットは、医療機器と主RDSおよびバックアップRDSとの間の情報の通路として機能する。イーサネットはさらに、ファイアウォールやインターネット・プロキシを介してインターネットに接続される。一般に、インターネット・アクセスおよびRDSサーバ管理はどちらも、適切なルータを介してイーサネットと通信する。図のように、複数の医療機器をイーサネットに接続し、それからRDSと通信することもできる。図3に示したように、医療機器は、無線アクセス・ポイントに信号を提供する適切なルータを介してイーサネットと通信する。医療機器は同報通信の信号を受信し、さらに無線アクセス・ポイント上に信号を送信し、それから所望の宛先までイーサネット上で通信できる。また、医療機器はイーサネットに有線接続し、無線アクセス・ポイントを不要にすることもできる。さらに別の方法では、ルータと無線アクセス・ポイントを単一ユニットに組み合わせることもできる。
ソフトウェア・アーキテクチャ
図4は、本発明のソフトウェア・アーキテクチャの典型的な実施形態を示している。図4に示したように、RDS250およびNIM255上のソフトウェア・スタックは同じように見えるが、以降で説明するように、アプリケーション層260,280で実行するソフトウェアはかなり異なり、RDS250およびNIM255の異なる機能を反映させることができる。RDS250の発見および接続管理プロトコル層275と、NIM255の発見および接続管理プロトコル層290は、アプリケーション・レベル275,295と接続レベル265,290との間のRDSおよびNIMシステム上のソフトウェア・スタックに適合する。NIM255上では、動作プログラムの発見および接続管理層290は、正当なRDS250を備えたNIM255に接続された医療機器の配置および登録する役割を担う。RDS250上では、発見および接続管理層270は、全ての動作中のNIM255のリストを維持する役割を担う。RDS250およびNIM255のどちらの側も互いの間のTCP/IP接続を維持し、各アプリケーション層275,295の代わりに、それらの接続上でデータを送受信する役割を担う。
発見および接続管理層270,290の各々の下のRDS250の層265,260およびNIM255の285,280は標準的なTCP/IPスタックを表しており、その用語は当業者には明らかであり、RDS250およびNIM255の両方で一般に同じである。アプリケーション層275,295は、接続層270,290のインタフェースとなる任意の高レベル・ソフトウェア・プログラム・コードを含んでいる。
発見
RDS250とNIM255に接続されたた機器との間で通信が発生可能になる前に、二つのシステムは互いにネットワーク上に位置し、接続を確立しなければならない。この処理は、この説明のために発見と呼ばれる。
RDSビーコン
本発明のシステムおよび方法を組み込んだRDS250が、NIM255に接続された医療機器と通信を開始し、サービスを提供することを準備する際、RDS250はネットワーク全体に特別な「ビーコン・メッセージ」の送信を開始する。このビーコンの目的は、様々な医療機器に接続されたNIM255に対して、ネットワーク上にRDS250が存在することを警告することにある。ビーコンは、ネットワーク上のUDP同報通信を介して、RDS250がサービスを提供する各サブネット上の既知のポートに送信される。前記ネットワークはイーサネットであっても、無線ネットワークであってもよい。NIM255は、通信するRDS250の位置の発見を開始する際、このビーコンをリスニングするようにプログラムされている。また、NIM255は、ビーコン信号またはメッセージを周期的に検索するようにプログラムされていてもよい。この実施形態では、この周期的にビーコンをリスニングすることは、通信リンクが何らかの理由で消失した場合に、RDS250との接続を再確立するのに役立つ。
この好ましい実施形態では、本発明によるRDSビーコン信号またはメッセージは一般に、サービスを提供するサブネット上に一定の間隔(一般に1秒)で同報通信される。一般に、RDS250はオフラインになるまで、永久にビーコン・メッセージを同報通信する。一旦接続すると、ネットワークに接続された各医療機器のNIM255は(様々な理由で)ビーコンをリスニングし続け、所定の期間内にビーコンを受信しなければ、RDS250との接続を終了するので、RDS250はビーコン・メッセージを同報通信し続ける。
図5は、RDSビーコン・メッセージの一実施形態のデータ形式を示している。メッセージは複数のフィールドからなり、特定のフィールドに依存して異なるデータ長を備えている。好ましくは、1バイトより長いデータ・フィールドが全てリトルエンディアン形式で格納され、この実施形態のビーコン・メッセージの全サイズは決して512バイトを超えないが、これより大きな有効ビーコン・メッセージを構成することもでき、このようなメッセージも本発明の範囲内にあるものとする。暗号化の追加層を適用して、さらにセキュリティを改善して送信することもできる。ビーコン・メッセージの各フィールドについては、以降で詳しく説明する。
メッセージID
ビーコン・メッセージの第一バイトは、メッセージIDである。このバイトは一定であり、RDSビーコンとしてメッセージを識別するために用いられる。
登録モジュロおよびキー
特定の種類のグローバル・ネットワーク障害(例えば、ルータの再起動等)は、動作中のRDS/NIMネットワーク内の通信を一時的に遮断することがある。このような遮断の影響は、影響を受けた各NIMがRDSとの接続を遮断し、RDSに再登録しようとすることである。このような中断の後、一旦接続が回復すると、潜在的に数千の同時の登録要求によってRDSは過負荷になることがある。従って、ビーコン・メッセージは絞り機構を有し、このような状態でのRDS上の負荷を低減する。
本発明の一実施形態において、図5を再び参照すると、NIMがRDSから正当なビーコン・メッセージを受信すると、NIMはビーコン・メッセージの登録モジュロ・フィールド内に含まれるデータを用いて、そのIPアドレスのモジュロを計算する。結果がビーコン・メッセージの登録キー・フィールド内に格納された値と等しい場合、このような応答が正当であれば、NIMはRDSに単一の発見応答メッセージを送信することを許可される。NIMのIPアドレスのモジュロがビーコン・メッセージの登録キー・フィールドと一致しない場合、NIMは沈黙したままで、応答するまで次のビーコンを待機する。一般的な好ましい実施形態では、ビーコン・メッセージの登録モジュロ・メッセージ内に格納される値は決して2未満にはならず、登録キー・フィールドに格納される値は常に登録モジュロ・フィールド内に格納される値より小さい。当業者には明らかなように、計算の基本としてIPアドレスを用いる必要はなく、意図した発明の範囲から逸脱することなく、機器の一意的な任意の値を用いることができる。
閉終点リスト
NIMとのネットワーク接続が消失すると、RDSはNIMとのTCP/IP接続をタイムアウトにすることによって、NIMとの通信セッションを終わらせるようにプログラムされている。このことが発生すると、TCP/IP接続を打ち切って閉じ、閉じたTCP/IP接続のIPアドレスとポート番号の形態で、ビーコン・メッセージ内に閉じたことについての通知を配置する。本発明の一実施形態では、閉通知を有する三つの固定サイズ・フィールドと二つの可変長フィールドという五つの別個のフィールドがあり、これ以降は閉終点データと呼ぶ。
閉終点データの第一固定長フィールドは、閉終点リスト開始オフセット・フィールドである。このフィールドは、閉終点リストを発見できるビーコン・メッセージ内のオフセット(バイト単位)を有する。このオフセットは、ビーコン・メッセージの最初から開始される。
閉終点データの次の固定長フィールドは、閉終点リスト入力カウント・フィールドである。このフィールドは、ビーコン・メッセージの終わりで、可変長のIPアドレスおよびポート番号のフィールド内に列挙される閉終点数を有する。
閉終点データの第三固定長フィールドは、閉終点リスト入力寿命フィールドである。このフィールドは、各閉終点が列挙される連続したビーコン・メッセージの数を有する。例えば、この値が5であり、TCP/IP接続がRDSによって閉じられた場合、次の利用可能なビーコン・メッセージ内に閉終点データを配置し、それから次の4ビーコン・メッセージの間、繰り返す。閉終点リスト入力寿命フィールドの値は、決して1未満にはならない。
図5に示したように、閉終点用の実際のデータは、ビーコン・メッセージの終わりで可変長フィールド内に格納される。閉終点データは、閉じられたTCP/IP接続のIPアドレスおよびポート番号からなる。これらの値は各々4バイトおよび2バイトの長さであるので、共にメッセージ内に配置されると位置あわせの問題が発生し得る。フィールド長を適合させるためのデータを埋め込む時間および空間の無駄を避けるために、IPアドレスおよびポート番号はそれら自体のリスト内に別個に格納される。これらのリストは、その要素が互いに対応する、つまり、各リストのステップを踏む際、第一IPアドレスは第一ポートと同期させ、第二アドレスは第二ポートと同期させる等というように構成される。これは、IPアドレスおよびポート番号の数が常に等しいことを意味するが、いくつかの実施形態ではIPアドレスおよびポート番号の数が異なることも可能であるが、適切な埋め込みまたは既定値の空白は避けなければならない。
ビーコン間隔
図5を再び参照すると、閉終点リストの第二可変長フィールドは、ビーコン間隔フィールドである。このフィールドは、RDSがどの程度の頻度でビーコン・メッセージのパケットを送信するかを示す値を有する。一般に、この値はミリ秒単位で表され、その値が1000(1秒)以上である場合に、プログラムが最も効率的になることを発明者は見出しているが、値が1000未満であっても処理は許容可能なように機能するが、資源管理およびデータ・フローの点では効率的ではない。
時間
図5に示した三つのタイムスタンプ・フィールドは、RDSからの現在の時間および日付を含んでいる。この情報は、必要であれば、リモート機器のクロックとRDSのクロックとを同期化させるために用いることができる。一般に、この実施形態では、国際化や夏時間調整等の問題を避けるために、UTC時刻で提供される。しかし、システム全体がUTC時刻以外の標準時に従って動作中である場合、ネットワークの全ての機器に適合する限り、適切な標準時を用いることができる。
本発明の一実施形態では、第一タイムスタンプ・フィールド、つまりUTC年の時刻フィールドは、現在の年の1月1日の午前12:00から経過する時間を数百秒有し、第二タイムスタンプ・フィールド、つまりUTC年フィールドは現在のUTC暦年を有する。ローカル時刻オフセット・フィールド、つまり第三タイムスタンプ・フィールドは、ローカル時刻とUTC時刻の間の違いを一般に分単位で表す符号付きの値を有する。
将来的なデータ
図5に示したRDSメッセージ・ビーコンの領域は、「追加データ可能(将来的な改訂)」というラベルを付けて、将来的に固定サイズのフィールドをビーコン・メッセージに追加可能な空間を提供し、ビーコン・メッセージの増強または拡張を可能にする。閉終点データ・フィールドは可変長であり、ビーコン・メッセージの構文解析を行い、他の固定サイズ・フィールドにアクセスして、容易に計算を実現するために、メッセージの終わりに配置することが最善であるので、この方法でメッセージ・ビーコンを将来変更できるようにすることが望ましい。一般に、ネットワーク上の全てのNIMまたは選択されたNIMに生成されたソフトウェアの改訂等、特にプログラムされない限り、NIM上で実行中のソフトウェアは余分なデータを想定し、そのデータを無視する。
NIM状態応答
本発明の好ましい一実施形態では、NIMは常にメッセージの入力に対して選択されたUDPポート上をリスニングし、正当なRDSビーコン・メッセージであるか否かを確認するために、受信した各メッセージをチェックする。受信したメッセージが正当なRDSビーコン・メッセージであり、以降でさらに詳しく説明する特定の条件に適合する場合、NIMはビーコン・メッセージを発信したRDSサーバ上のUDPポートにNIM状態応答メッセージを送り返すことによって、RDSビーコンに応答する。
図6は、NIM状態応答メッセージの一実施形態のデータ形式を示している。ビーコン・メッセージと同様に、1バイトより大きな長さを備えた全てのデータ・フィールドは一般に、リトルエンディアン形式で格納される。一実施形態では、NIM状態応答メッセージの全サイズは一般に512バイトを超えないが、512バイトを超える正当な状態応答メッセージを構成することもでき、このようなメッセージは本発明の範囲内にある。また、上記のRDSビーコン・メッセージと同様に、状態応答メッセージに追加の暗号層を適用し、メッセージのセキュリティを拡張して送信することもできる。NIM状態応答メッセージの各フィールドについては、以降で詳しく説明する。
メッセージID
図6に示したように、状態応答メッセージの第一バイトはメッセージIDフィールドである。このバイトは一定であり、NIM状態応答メッセージとしてメッセージを識別するために用いられる。
接続済み/リスニング中終点リスト
図6に示した状態応答メッセージの実施形態の次のフィールドは、終点リスト開始オフセット・フィールドである。一般に、NIMは、例えば、USBハブ等を介して、直ちにいくつかのクライアント機器に接続を提供できるようにプログラムされている。RDSからのアプリケーション・レベル・メッセージを処理可能なNIMに取り付けた各機器は終点とみなされ、NIMによるRDSへのそれ自体の専用TCP/IP接続を与えられる。NIMが状態応答メッセージを送信したとき、それはRDSが接続を生成可能なTCP/IPポートのリストの形式で、利用可能な各終点のリストを有する。このリストは、現在RDSに正当な接続を有するポート、およびRDSへの新しい接続を開くことができるようにビーコンをリスニング中のポートという二つのサブグループに分割されている。
終点リスト開始オフセット・フィールドは、状態応答メッセージ内のオフセットを表す値をバイト単位で有し、そこに終点ポート番号のリストを見つけることができ、オフセットは状態応答メッセージの最初から開始される。終点ポートのリストは単なるTCP/IPポート番号のアレイであり、各入力は2バイトの長さである。一実施形態では、リストの第一部分は接続済み終点の全てのポート番号を有し、その直後にリスニング中の終点のポート番号を有する。
接続済み終点カウント・フィールドは、RDSへの正当な接続を現在備えている終点の数を表す値を有する。リスニング中終点カウント・フィールドは、RDSからの新しい接続のためにリスニング中の終点の数を表す値を有する。これらのフィールドの値はどちらも所定の時刻にゼロであってもよく、接続済み終点カウント・フィールドとリスニング中終点カウント・フィールドの合計は一般に255を決して超えないが、RDSサーバがメッセージを構文解析し、読み取ることができるように、メッセージ内の他の指標の長さを適切に調整すれば、より長いフィールドを用いることもできる。
将来的なデータ
RDSビーコン・メッセージと同様に、NIM状態応答メッセージは、将来的なバージョンで利用可能な領域をメッセージ文字列内に設けることによって、固定サイズ・データ・フィールドと可変長データ・フィールドとの間で将来的に拡張することができる。状態応答メッセージのこの領域は、本発明のプロトコルの将来的な実装がメッセージ内に余分なデータを想定し、それを無視することを保証する。
NIM発見フロー
図7は、本発明の発見方法の典型的な一実施形態のフローをシステム内のNIMの観点から示すフロー図である。RDSのフローは一般に終点キャッシュを管理することに主に着目しているので、NIM側の接続から発見処理を観察することが望ましい。
NIMが開始する際、それは選択されたポート上のビーコン・メッセージをリスニングすることによって始まる。好ましい実施形態では、NIMは一般に同じIPアドレスおよびポート番号から、正当なビーコン・メッセージを少なくとも5個連続的に受信し、ビーコン・メッセージ内に含まれるビーコン間隔の少なくとも75%が各ビーコン・メッセージの間で発生するまで、ビーコン・メッセージに応答を試みないようにプログラムされている。この条件は、RDSになりすまし、NIMに取り付けられた機器の制御を得ようとする悪意あるシステムによって、NIMがだまされないようにするという点で、システムのセキュリティを改善するという利点がある。このシステムの別の利点は、NIMが重複するビーコン・メッセージを受信し、NIMとの通信を試みる別のサーバまたはサブネットを示す場合、NIMが重複するビーコン・メッセージを無視し、NIMが受信したビーコン・メッセージのサーバをいずれも登録しないことにある。
一旦NIMのプログラム・ロジックが正当なRDSビーコン・メッセージを受信したと確信すると、NIMはビーコン・メッセージを構文解析し、NIM状態応答メッセージをコンパイルすることによって登録処理を開始する。本発明の多くの実施形態では、NIMはビーコン・メッセージ内の登録モジュロおよびキー・フィールドをチェックし、それ自体がRDSに直ちに報告可能であるか否かを判別するようにプログラムされている。直ちに応答が必要であるか、あるいはこのビーコン・メッセージをスキップし、後のビーコン・メッセージに応答するかをチェックすることは、名目上の発見速度を改善するように設計された最適化方法である。上記のように、多数のNIMへのネットワーク接続が消失し、その後、回復する結果、RDSの登録要求が殺到する可能性がある場合に、この最適化ステップが役に立つ。
RDSビーコン・メッセージが正当であることをNIMが判別すると、NIMは、RDSビーコン・メッセージを常に監視するモードになる。ビーコン閉終点リスト内にNIMの終点が列挙されているか否かを確認するために、RDSから受信した各ビーコン・メッセージを検査する。列挙されているのであれば、列挙された終点のTCP/IP接続がタイムアウトになり、RDSによって閉じられたことを意味し、NIMは同じことを行い、RDSとNIMとが互いに同期していることが保証される。NIMが閉終点リスト内にその終点を一つ以上備えたビーコンを見つけると常に、要求された接続を閉じた後、NIMは状態応答メッセージを送信することを必要とされる。これは、登録モジュロおよびキー・フィールドの値にかかわらず行われる。
ビーコン・メッセージの閉終点リスト内に終点が列挙されていない場合、NIMは登録マスクおよびキー・フィールドを調べ、RDSに変更を報告するためのウィンドウが到着しているか否かを判別する。到着していない場合、NIMは単に次のビーコン・メッセージを待機する。NIMのウィンドウが到着している場合、NIMの終点がいずれも接続されておらず、新しいTCP/IP接続をリスニング中であれば、NIMはRDSに状態応答メッセージを送信する。
図7に示した処理をさらに詳しく説明すると、NIMはボックス400で開始し、NIMの処理はボックス405で最後の既知のRDS位置をIPアドレスの0.0.0.0に設定し、前のビーコン発信源を0.0.0.0に設定する。NIMはさらにボックス405で、ビーコン・カウンタをゼロに設定し、ビーコン・タイムアウト期間を無限に設定する。NIMはさらに、ビーコン・タイムアウト期間が経過したときに起動するために、ボックス410でビーコン・タイマをリセットする。
それから、NIMはボックス415で、例えばUDPポート3613(または他のいくつかの選択されたポート)上で受信すべき正当なRDSビーコン・メッセージ、またはビーコン・タイマの期限切れを待機する。NIMの動作プログラムはボックス420で、ビーコン・タイムアウト期間内に正当なビーコン・メッセージを受信したか否かを解析する。正当なビーコン・メッセージを受信した場合、処理はボックス425に進み、NIMはビーコン・メッセージの発信源アドレスおよびポート番号が最後の既知のRDS位置に適合するか否かを判別する。ボックス420で正当なビーコン・メッセージを受信しなかった場合、処理はボックス430に分岐し、NIMはこのIPアドレス用のNIM終点接続をリセットし、ボックス415に戻り、受信すべき正当なRDSビーコン・メッセージを待機する。
ボックス420で正当なビーコン・メッセージを受信し、ボックス425で発信源アドレスおよびポート番号が最後の既知のRDS位置と適合する場合、処理はボックス435に分岐し、NIMはこのIP位置用のビーコン・メッセージの閉終点リスト内に入力があるか否かを判別する。ボックス425で発信源アドレスおよびポート番号が適合しない場合、処理はボックス440に分岐し、NIMは、このビーコン・メッセージの発信源アドレスおよびポート番号が直前に受信したビーコン・メッセージと同じであるか否かを判別する。このビーコン・メッセージの発信源アドレスおよびポート番号が直前に受信したビーコン・メッセージと同じでない場合、処理はボックス445に分岐し、NIMはビーコン・カウンタをゼロにリセットし、ボックス450でビーコン・カウンタを1だけ増加させ、ボックス455でビーコン・カウンタが5以上であるか否かを判別し、ビーコン・カウンタが5以上でない場合、処理は分岐して415に戻り、NIMは正当なRDSビーコン・メッセージを待機し続ける。ボックス455でビーコン・カウンタが5以上であると判別されると、処理はボックス460に進み、NIMは最後の既知のRDS位置が0.0.0.0であるか否かを判別する。最後の既知のRDS位置が0.0.0.0でなかった場合、処理はボックス465に分岐し、NIMはビーコン・タイマが期限切れであるか否かを判別する。ビーコン・タイマが期限切れでなければ、処理はボックス415に戻り、NIMは正当なビーコン・メッセージを待機する。ボックス465でビーコン・タイマが期限切れであるか、あるいはボックス460で最後の既知のRDS位置が0.0.0.0であると判別されれば、処理はボックス470に分岐し、NIMは最新のビーコン・メッセージのアドレスおよびポート番号に最後の既知のRDS位置を設定し、このIPアドレス用の全ての終点接続をリセットする。
図7に示したように、それから処理はボックス470からボックス505に進み、NIMは、このユニットがRDSに報告できることをシリアル番号マスク/キーが示すか否かを判別する。RDSに報告できることをシリアル番号マスク/キーが示すとNIMが判別した場合、処理はボックス485に進み、NIMはRDSに状態応答メッセージを送信し、ビーコン・タイムアウト期間を、ビーコン・メッセージのビーコン間隔値と、ビーコン・メッセージの閉終点リスト入力寿命値との積に設定し、ボックス410に戻り、ビーコン・タイムアウト期間が経過したときに起動するために、ビーコン・タイマをリセットし、ボックス415に進み、受け取るべき正当なRDSビーコン・メッセージを待機する。
ユニットがこの時点でRDSに報告できないことをシリアル番号マスク/キーが示すことをボックス505でNIMが判別すると、処理はボックス510に分岐し、NIMは電源をオンにしてから、ビーコン・メッセージの状態応答メッセージが送られたか否かを判別する。NIMをオンにしてから状態応答メッセージが送られた場合、処理はボックス490に進み、NIMは、ビーコン・タイムアウト期間を、ビーコン・メッセージのビーコン間隔値と、ビーコン・メッセージの閉終点リスト入力寿命値との積に設定し、ボックス410に戻り、ビーコン・タイムアウト期間が経過したときに起動するために、ビーコン・タイマをリセットし、ボックス415に進み、受け取るべき正当なRDSビーコン・メッセージを待機する。状態応答メッセージが送られていないことをボックス510でNIMが判別した場合、処理はボックス485に分岐し、NIMは、状態応答メッセージをRDSに送信し、ボックス490に進み、ビーコン・タイムアウト期間を、ビーコン・メッセージのビーコン間隔値と、ビーコン・メッセージの閉終点リスト入力寿命値との積に設定し、ボックス410に戻り、ビーコン・タイムアウト期間が経過したときに起動するために、ビーコン・タイマをリセットし、ボックス415に進み、受け取るべき正当なRDSビーコン・メッセージを待機する。
ボックス440で、現在のビーコン・メッセージの発信源アドレスおよびポート番号が前のビーコンと同じであると判別された場合、処理はボックス475に進み、NIMは、同じ発信源からの最後のビーコン・メッセージから、少なくとも75%のビーコン間隔が経過したか否かを判別する。同じ発信源からの最後のビーコン・メッセージから、少なくとも75%のビーコン間隔が経過していない場合、処理はボックス415に戻り、NIMは正当なRDSメッセージ・ビーコンを待機する。
同じ発信源からの最後のビーコン・メッセージから、少なくとも75%のビーコン間隔が経過した場合、処理はボックス450に進み、NIMはビーコン・カウンタを1だけ増加させ、ボックス455でビーコン・カウンタが5以上であるか否かを判別し、ビーコン・カウンタが5以上でない場合、処理は分岐してボックス415に戻り、NIMは正当なRDSビーコン・メッセージを待機し続ける。ボックス455でビーコン・カウンタが5以上であると判別された場合、処理はボックス460に進み、NIMは、最後の既知のRDS位置が0.0.0.0であるか否かを判別する。最後の既知のRDS位置が0.0.0.0でなかった場合、処理はボックス465に分岐し、NIMは、ビーコン・タイマが期限切れであるか否かを判別する。ビーコン・タイマが期限切れでなかった場合、処理はボックス415に戻り、NIMは正当なビーコン・メッセージを待機する。ボックス465でビーコン・タイマが期限切れであるか、ボックス460で最後の既知のRDS位置が0.0.0.0であると判別された場合、処理はボックス470に分岐し、NIMは最新のビーコン・メッセージのアドレスおよびポート番号に最後の既知のRDS位置を設定し、このIPアドレス用の全ての終点接続をリセットする。
ボックス425で、現在のビーコンの発信源アドレスおよびポート番号が最後の既知のRDS位置と適合すると判別された場合、処理はボックス435に進み、NIMは、このIP位置用のビーコン・メッセージの閉終点リスト内に入力があるか否かを判別し、入力があるのであれば、ボックス480でこのIPアドレス用のビーコン・メッセージの閉終点リスト内に列挙された終点接続を全てリセットし、ボックス485でRDSに状態応答メッセージを送信し、ボックス490で、ビーコン・タイムアウト期間を、ビーコン・メッセージのビーコン間隔値と、ビーコン・メッセージの閉終点リスト入力寿命値との積に設定し、ボックス410に戻り、ビーコン・タイムアウト期間が経過したときに起動するために、ビーコン・タイマをリセットし、ボックス415に進み、受け取るべき正当なRDSビーコン・メッセージを待機する。
このIPアドレス用のビーコン・メッセージの閉終点リスト内に入力がないとボックス435で処理が判別した場合、処理はボックス500に分岐し、NIMは全ての終点が接続されているか否かを判別する。全ての終点が接続されていた場合、処理はボックス490に進み、NIMは、ビーコン・タイムアウト期間を、ビーコン・メッセージのビーコン間隔値と、ビーコン・メッセージの閉終点リスト入力寿命値との積に設定し、ボックス410に戻り、ビーコン・タイムアウト期間が経過したときに起動するために、ビーコン・タイマをリセットし、ボックス415に進み、受け取るべき正当なRDSビーコン・メッセージを待機する。
ボックス500で全ての終点が接続されていないと判別された場合、処理はボックス505に分岐し、NIMは、このユニットがRDSに報告できることをシリアル番号マスク/キーが示すか否かを判別する。NIMがRDSに報告できることをシリアル番号マスク/キーが示すとNIMが判別した場合、処理はボックス485に進み、NIMはRDSに状態応答メッセージを送信し、ボックス490に進み、ビーコン・タイムアウト期間を、ビーコン・メッセージのビーコン間隔値と、ビーコン・メッセージの閉終点リスト入力寿命値との積に設定し、ボックス410に戻り、ビーコン・タイムアウト期間が経過したときに起動するために、ビーコン・タイマをリセットし、ボックス415に進み、受け取るべき正当なRDSビーコン・メッセージを待機する。
ユニットがこの時点でRDSに報告できないことをシリアル番号マスク/キーが示すことをボックス505でNIMが判別すると、処理はボックス510に分岐し、NIMは電源をオンにしてから、ビーコン・メッセージ状態応答メッセージが送られたか否かを判別する。NIMをオンにしてから状態応答メッセージが送られた場合、処理はボックス490に進み、NIMは、ビーコン・タイムアウト期間を、ビーコン・メッセージのビーコン間隔値と、ビーコン・メッセージの閉終点リスト入力寿命値との積に設定し、ボックス410に戻り、ビーコン・タイムアウト期間が経過したときに起動するために、ビーコン・タイマをリセットし、ボックス415に進み、受け取るべき正当なRDSビーコン・メッセージを待機する。ボックス510で、状態応答メッセージが送られていないとNIMが判別した場合、処理はボックス485に分岐し、NIMは状態応答メッセージをRDSに送信し、ボックス490に進み、ビーコン・タイムアウト期間を、ビーコン・メッセージのビーコン間隔値と、ビーコン・メッセージの閉終点リスト入力寿命値との積に設定し、ボックス410に戻り、ビーコン・タイムアウト期間が経過したときに起動するために、ビーコン・タイマをリセットし、ボックス415に進み、受け取るべき正当なRDSビーコン・メッセージを待機する。
UDPメッセージ・システムの低信頼性によって、ビーコン・パケットはときどき消失することが想定される。一般に、RDSとの接続の消失の拡大を示すように多数の連続的なパケットが消失しない限り、消失したパケットは問題にはならない。各RDSビーコン・パケットは閉終点リスト入力寿命フィールドを有し、前記フィールドはRDSが所定の終点に終点閉情報を送信する連続的なビーコン・メッセージの全数を示す。RDSが送信すべき指示されたビーコン・メッセージ数に対して、十分長い時間ビーコン・メッセージを受け取らなかった場合、NIMは一般に、その接続の一つ以上がRDSによって閉じられたかもしれないと仮定する。このことが生じた場合、NIMは、その接続の一つを意図的に遮断し、その次の応答ウィンドウ中にRDSに報告を行うようにプログラムされている。これは、ビーコン・メッセージ内に閉終点を再送信する機会をRDSに与え、RDSとNIMとは再び同期できる。
NIMが特定のRDSを既に登録していれば、第二発信源からのRDSビーコン・メッセージをいつ調べ始めても、登録されたRDSからのメッセージのために、NIMは第二発信源からのビーコン・メッセージを無視する。しかし、最初のRDSサーバが何らかの理由でビーコン・メッセージの送信を停止し、例えば5個のような所定の数の連続的なビーコン・メッセージを新しいRDSサーバから受信した場合、NIMはその終点接続を全てリセットし、新しいサーバを登録する。これは、主RDSサーバを遮断し、バックアップRDSサーバがその代わりにオンラインになった場合に、NIMがサーバを切り替えることができるので望ましい。当業者には明らかなように、本発明の実施形態は5個の連続的なビーコン・メッセージについて説明されているが、ネットワークの必要性またはシステム設計者の希望に従って、ビーコン・メッセージの数は異なっていてもよいが、本発明の範囲から逸脱することなく、新しいサーバに切り替える前に、多かれ少なかれ5個のビーコン・メッセージを受け取ることができる。
図8は、RDSの発見プログラム・フローを示すブロック図である。上記のように、RDSの発見フローは主に、そのビーコン・メッセージへの応答に注意し、状態応答メッセージで受信したデータを用いて、その終点キャッシュを管理することに関し、前記状態応答メッセージはネットワークに接続されたNIMから受信する。
ボックス600で開始した後、ボックス605でRDSは、RDSビーコン・メッセージを同報通信しているUDPポート上で受信すべき正当なNIM状態応答メッセージを待機する。メッセージがUDPポート上で受信された場合、処理はボックス610に進み、RDSのプログラム・ロジックは、メッセージが正当なNIM状態応答メッセージであるか否かを判別する。メッセージが正当なNIM状態応答メッセージでない場合、処理はボックス605に戻り、RDSは正当な状態応答メッセージを待機し続ける。
メッセージが正当な状態応答メッセージであれば、処理はボックス615に進み、RDSは、状態応答メッセージの「接続済みリスト」にない終点キャッシュ内の全ての入力に対して、動作中のTCP/IP接続を閉じる。これが一旦実現されると、処理はボックス620に進み、RDSは、状態応答メッセージ終点リストのいずれにも存在しない全ての終点について、終点キャッシュからの入力を削除する。この動作が一旦完了すると、処理はボックス625に進み、状態応答メッセージの「リスニング中リスト」内の全ての新しい終点について終点キャッシュに入力を追加し、それからボックス630に進み、状態応答メッセージの「接続済みリスト」内の事前に未知の全ての終点について、ビーコン・メッセージの「閉終点リスト」に入力を追加する。
状態応答メッセージの「接続済みリスト」内の事前に未知の全ての終点について、ビーコン・メッセージの「閉終点リスト」に入力を追加した後、処理はボックス635に進み、RDSは接続されていない終点キャッシュ内の全ての入力に対して、TCP/IP接続の生成を試みる。ボックス635の処理が完了すると、RDSはボックス605に戻り、受信すべき正当なNIM状態応答メッセージを待機する。
接続のリセット
TCP/IP接続がタイムアウトになると常に、接続上で打ち切り切断が行われる。接続の遮断がタイムアウト期間よりそれほど長くなければ、接続の他端のシステムに閉じたことを知らせることもできるが保証はされない。しかし、安全のために、接続の遮断は時間的に延長させ、このような通知が発生しないようにしなければならない。従って、接続が閉じた後、本発明によるシステムおよび方法はいくつかの処理を行い、二つの終点が同期状態に戻れるようにする。処理は、NIMに比べてRDSでは異なり、以降で詳しく説明する。
NIM用の処理は、RDSによって用いられる処理よりいくぶん簡単である。NIMが接続をリセットすると常に、RDSビーコン・メッセージ内の登録キーをチェックした後、状態応答メッセージを送信する機会を待機するだけで、最近閉じた終点ポートが現在リスニング・モードであることを示す状態応答メッセージを送信する。RDSがこれを確認すると、その終点への接続をリセットし、新しいTCP/IP接続を生成する。NIMは、RDSが最終的にそのポートへの新しいTCP/IP接続を生成するまで、可能であれば未接続の終点を報告し続ける。
RDSが接続を遮断した場合、ビーコン・メッセージ閉終点リスト内にその終点のアドレスおよびポートを配置しなければならない。閉終点情報は、閉終点リスト入力寿命値と等しい複数のビーコン・メッセージに対してリスト内に発行される。それから、RDSは、ある時点でNIMが状態応答メッセージを送信すると仮定し、前記状態応答メッセージは、終点が再びリスニング・モードになり、NIMからのこのような状態応答メッセージの受信を待機することを示す。
NIMが全てのビーコン・メッセージを見逃した場合、接続が回復するとすぐ、NIMのプログラム・ロジックは、RDSに報告する必要があるとそれ自体にフラグを立てる。NIMがRDSに状態応答メッセージを送信することによって最終的にRDSに報告する際、閉終点がなお接続済みとして列挙されていた場合、RDSは再びビーコン・メッセージの閉終点リストにその終点を配置し、ポートがリスニング・モードであるとNIMが応答することを待機する。
接続管理
ネットワークに接続されたNIMを一旦RDSに登録すると、RDSは各NIM上の各終点にTCP接続を生成する。これは、RDSと終点との間に大きなアプリケーション・レベルのメッセージを送出する高信頼性の手段を提供する。これは、RDSのみがNIMへの接続を生成し、NIMはRDSから発信されていないメッセージを無視するようにプログラムされるという点でも望ましい。さらに、NIMは登録されたRDSからのメッセージのみに応答し、正当なRDSサーバのふりをしようとする悪意あるサーバを含む他のサーバからのメッセージを無視する。
既定値では、TCP/IP接続があきらめ、接続の遮断を宣言するようにプログラムされる前に、TCP/IPプロトコルは、最大9分間、接続したソケット上にデータを再送信しようとする。さらに、TCP/IPプロトコルはデータ送出の消極的確認を行うだけであり、つまり、データをうまく送信できるときではなく、データを送信できないときに送信元に通知するだけである。RDSはこれよりずっと短いタイムアウトを要求し、メッセージ送信の積極的確認を供給するので、アプリケーション・メッセージを送信する際、TCP/IP接続を介して、一般に余分なハンドシェークが行われる。
メッセージ・フロー
TCP/IP接続を介して所定の方向に、一度に一つのアプリケーション・メッセージだけが送信される。システムは、TCP/IP接続上で、アプリケーション・レベルのタイムアウトに相当するものを実行できるので、このシリアル化はデータ・フローの制御をかなり簡略化する。ある種の待機インタフェースが望まれる場合、それは一般にアプリケーション層内に実装される。
図9は、AとBで識別された二つの終点間のメッセージ・フローの一例を示している。データを送信後、送信元は受信先から一般に長さ0バイトのメッセージである肯定応答を受け取るまで待機しなければならず、その後、別のデータ・メッセージの送信が可能になる。接続は双方向であるので、このフローは図10に示したように、同時に双方向で発生できる。
図11はTCP/IP接続を介した典型的なデータ・フローを示しており、この例では送信元Aはアプリケーション・レベルのタイムアウトを行う。第二データ・メッセージ用の肯定応答がタイムアウト期間内に到達しなかったので、終点Aは機器間のTCP接続を強制的に閉じる。終点Bからの肯定応答が最終的に送信元Aに到達した場合、TCPスタックは接続が閉じられていることを示す低レベル接続リセット・エラーで応答する。終点Bによって送信される別の任意のメッセージも、同じエラーを受信する。
データの暗号化
悪意ある攻撃に対して機密性の高い患者データを保護し、システム全体を堅固にするために、本発明の接続プロトコルの一実施形態は、ネットワークを介して送信される全てのデータ上で暗号化を行う。説明される本発明の実施形態では暗号化は四ステップ処理であり、各ステップは異なるセキュリティ上の懸念に対処するように設計されている。
図12は、本発明の一実施形態の暗号化メッセージ700の構造を示している。図のデータ暗号化方式の特定の実施形態はストリームデータをサポートしておらず、NIMとRDSの間で送信される全てのメッセージは、所定の長さでなければならない。この実施形態は所定の長さについて説明しているが、本発明の他の実施形態は、異なる長さを備えたメッセージを暗号化可能な暗号方式を用いることを考慮し、それも本発明の意図した範囲内である。
暗号化処理
図の実施形態の暗号化処理の最初のステップは、送信されるデータに複数の10バイトを埋め込むことである。これは、最終的な暗号化ステップが16バイトの固定ブロック・サイズの対称ブロック暗号化を用いるために必要となる。埋め込むデータは、ある定数またはランダム値に明示的に設定されなければならず、メッセージ・バッファの事前に存在するメモリ内容が埋め込み領域内にそのまま残ることは許されない。埋め込みデータは、メッセージ700のメッセージ・データ・フィールド705に格納される。
それから、図12に示したように、四つのフィールド715,720,725および730を有するセキュリティ・ヘッダ710を各メッセージ700に追加する。セキュリティ・ヘッダ710のトランザクション・キー・フィールド715はランダムに生成された32ビット値を有し、その値はシステムで利用可能な最も高暗号強度の乱数発生器によって生成される。セキュリティ・ヘッダ710の発信源IPアドレス・フィールド720は送信元のIPアドレスを有し、このフィールドは送信元を認証するためのデジタル署名として受信先によって使用される。セキュリティ・ヘッダ710のデータ・サイズ・フィールド725は、埋め込み前の元の平文メッセージのバイト数を有する。最後に、セキュリティ・ヘッダ710のMTUサイズ・フィールド730は、送信元が単一のデータグラムで処理可能なバイトの最大数を有し、この実施形態では16バイト未満には決してならない。
セキュリティ・ヘッダ710をメッセージ700の最初に追加した後、セキュリティ・フッタ735をメッセージ700の終わりに追加する。図の実施形態のセキュリティ・フッタ735は、例えば、MD5メッセージ・ダイジェスト・アルゴリズムを用いて生成されたセキュリティ・ヘッダおよび埋め込みメッセージのハッシュを有する。このセキュリティ・フッタ735は、送信中、メッセージが改竄されたか否かを判別するために、メッセージの受信先によって使用される。
メッセージ全体が一旦まとめられると、セキュリティ・ヘッダ内のトランザクション・キーと、メッセージ全体の排他的論理和とを一度に32バイトずつとり、トランザクション・キー自体を取り除く。データを「ソルト」することは、発信源IPアドレス等の連続的なメッセージの静的部分が常に同じように暗号化されないようにするために役立ち、本発明の実施形態の暗号化方法のセキュリティをさらに強化する。
データをソルトした後、例えば、AESブロック暗号化を用いて、両方のヘッダを含むメッセージ全体を共通キーで暗号化する。それから、暗号化したメッセージを所定の受信先に送信する。
復号化処理
一旦メッセージを受信すると、受信先のプログラム・ロジックは正当なメッセージを受信したか否かをまず判別しなければならない。この処理は、メッセージをデータグラムベースのUDP接続で受信したか、ストリームベースのTCP接続で受信したかに応じてやや異なる。
一般に、復号化は、暗号化処理の逆にすぎない。本発明の一実施形態では、AESブロック暗号化を用いてメッセージを復号化し、それからセキュリティ・ヘッダ内で見つけたトランザクジョン・キーを用いて逆ソルトする。一旦これが完了すると、MD5メッセージ・ダイジェスト・アルゴリズムを用いて、セキュリティ・ヘッダと埋め込みデータをハッシュし、セキュリティ・フッタ内に格納したハッシュと結果を比較する。ハッシュが適合した場合、セキュリティ・ヘッダ内の発信元IPアドレスをメッセージの実際の発信源に対してチェックする。それから、セキュリティ・ヘッダ内のデータ・サイズ・フィールドをチェックし、埋め込まれたメッセージ・データの実際の大きさに等しいか、多くとも15バイト未満であるかを確認する。これらの最後の二つのチェックを通れば、データは正当であると考えられ、将来的に使用するためにメッセージから抽出される。
TCP接続では、一定期間、一度に数バイトずつ、暗号化されたメッセージをゆっくり送出できる。これ自体は欠点ではないが、ただし、TCP接続は、メッセージの開始または終了の概念を持たない。従って、受信先は、TCP接続上で送信される連続的なメッセージの間の境界の判別において積極的な役割を果たす。その結果、復号化処理は、TCP接続上で用いられる場合はやや変化する。
本発明の図の実施形態の方法を用いて、TCP接続上で受信したメッセージを復号化する場合、AESブロック暗号化を用いて最初の16バイトを復号化し、トランザクション・キーを用いて逆ソルトし、それらが正当なセキュリティ・ヘッダを有するか否かを検査する。送信元IPアドレスが適合し、データ・サイズが所定の制限内であれば、セキュリティ・ヘッダ内で指定されたサイズのメッセージを受信するまで、システムは受信すべき追加のバイトを待機し続ける。しかし、値のどちらかが不当な場合は、接続は遮断する。
特定のサイズのメッセージに対して、必要なバイト数を一旦受信すると、残りのメッセージを復号化し、逆ソルトし、MD5ハッシュを確認する。確認が成功した場合、データは正当であると考えられ、ハッシュ確認が失敗した場合は、接続は遮断される。
応答メッセージ内のトランザクションID
本発明の原理によると、UDP接続上で送信されるデータだけが、RDSビーコン・メッセージおよびNIM状態応答メッセージである。さらに、状態応答メッセージはビーコン・メッセージの応答としてだけ送信され、ビーコン・メッセージ毎に一つの状態メッセージだけが送信される。同様に、TCP接続だけがメッセージを送信し、肯定応答がそれらのメッセージに応答する。しかし、複数の応答が送信されることは決してない(例えば、複数のビーコン応答または複数の肯定応答)。このため、本発明の原理を用いる全てのメッセージ交換は、1:1要求/応答メッセージ比率であると一般的にいうことができる。
メッセージのセキュリティ・ヘッダ内のトランザクションIDは、暗号化処理を増強するソルト値としてのみ提供されるが、これはその機能だけではない。さらに、トランザクションIDは、UDPおよびTCP接続の両方の上のメッセージ間を同期させる。
送信される各要求は、ランダムに選択されたトランザクションIDを有する。しかし、応答メッセージは、それら自体のトランザクションIDは選択しない。その代わり、要求メッセージからのトランザクションIDを再利用し、それら自体のトランザクションIDフィールドをゼロに設定する。元の要求側が、ゼロのトランザクションIDを備えた応答を受信すると、データを送信および逆ソルトしようとした最新の要求からのトランザクションIDを用いていることがわかる。その結果、トランザクションIDが適合する場合だけ、データは正しく復号化される。
ゼロバイトの肯定応答を受信するまで、TCP接続上では新しいメッセージは送信されないが、この方法は、余分な確実性を提供する点で有利である。暗号化したメッセージ内のデータ・サイズがゼロであっても、セキュリティ・ヘッダ/フッタはなお適切に復号化し、正当でなければならず、そうでなければ接続は遮断される。これは、所定の要求に対して所定の肯定応答が意図するより、完全な確実性を提供する。
本発明の方法は、UDP接続を用いる場合でも、バラバラのデータグラム送出から生じるシーケンス・エラーを防止できるのでさらに有利である。RDSは各ビーコン・メッセージに対して新しいトランザクションIDを選択するので、トランザクションIDは、特定の状態応答メッセージが最新のビーコン・メッセージに対する応答であるか、あるいはネットワークによって遅延された古い応答であるかを確認する手段を提供する。
MTU発見
暗号化されたメッセージの各々の最初のセキュリティ・ヘッダ710(図12)はMTUサイズ・フィールド730を有し、システムが単一のデータグラムで処理できる最大バイト数を示す。このフィールドは常に、肯定応答メッセージを含む各メッセージ内に設定される。従って、システムはゼロバイトのデータグラムを送信し、肯定応答メッセージのMTUサイズ・フィールドを調べることによって、別のシステムのMTUサイズを安全に発見できる。この手順は選択可能であるが、送信元がMTUサイズより大きな任意の受信メッセージを拒否できるので有利である。
AES暗号モード
AESブロック暗号は、電子クック・ブック(ECB)および暗号ブロック連鎖(CBC)モードの両方で使用される。CBCモードは、既に暗号化されたブロックからのデータを用いて、次のブロックのデータをソルトし暗号化するので、わずかであるがより安全である。このようなモードを用いる場合、暗号化されたストリームを復号化するためにストリーム全体の複製を得なければならず、特定の抜粋を絞り込むことが難しくなる。
本発明の原理によると、全てのTCP接続はAES暗号に対してCBCモードを用いてセキュリティを改善するが、他のモードを用いることもでき、本発明の範囲内にあるものとする。CBCモードを用いる場合、データ・ストリームの両端が互いに同期的に開閉されるので不利ではない。しかし、RDSビーコン・メッセージと、ビーコン・メッセージに対するNIM状態応答メッセージはUDPチャネル上に送信され、従って、同期化することなく送受信され、RDSが送信を開始したよりも遥か後に、NIMの電源をオンにし、ビーコン・メッセージを受信し始めることができる。このため、既に同報通信されたビーコン・メッセージ上でNIMが「キャッチアップ」する方法がないので、UDPチャネルではECBモードを用いることが望ましい。
本発明の別の実施形態では、医療機器はNIMを有することができ、医療機器をネットワークに接続した際、NIMは周期的に「再起動」するが、それ以外では停止中または電源オフになるようにプログラムされている。この実施形態では、NIMは上記のように再起動し、ビーコン・メッセージのためにネットワークをリスニングし始める。この実施形態は、医療機器内のメモリ、または医療機器と接続した記憶媒体内に存在する様々なデータベースの更新を受信できるようにNIMをネットワークに接続できるので有利であり、それは医療機器の電源をオンにする際、起動に必要な時間を短縮できる。任意の必要な更新を受信した後、NIMは電源をオフにし、「スリープモード」に戻るようにプログラムされている。NIMは、データを受信することなく、特定の時間が経過した後に電源オフにすることもでき、それは医療機器または関連装置の一つ以上のデータベースの更新が不要であることを示している。別の実施形態では、NIMは医療機器とは別個に再起動し、キャッシュまたは他のメモリ内に任意のデータ更新を格納するようにプログラムされており、医療機器が電源オンになった後、前記データを医療機器に提供できる。この実施形態は、NIMに電力を供給するだけなので、バッテリ電力を節約し、バッテリ寿命を延ばすという点で有利である。
さらに別の実施形態では、本発明は、このような医療機器等の資産を配置するシステムおよび方法を提供し、それらは例えば輸液ポンプまたは生命徴候監視装置であってもよく、一般に患者の処置の過程で一つの場所から別の場所に移動される。この実施形態は、無線接続を用いて、施設ネットワークと通信する移動型医療機器を備えた施設内で特に有利である。このようなネットワークでは、移動型医療機器は、施設全体に配置した送受信機を介してネットワークと通信する。各送受信機は、MACアドレスを用いてネットワーク上で識別される。各送受信機の位置、および各MACアドレスの位置は、システムにとって既知になる。従って、移動型医療機器を配置したいケア提供者は、接続される機器のリストおよびMACアドレスのリストを備え、少なくとも機器が無線送受信機の領域内に配置される範囲で、機器のおよその位置を判別できる。一般に、医療施設内のこのような受信器の範囲は、およそ6フィート程度である。
さらに別の実施形態では、本発明は、施設内に存在することが知られているが、所定の期間、ビーコン・メッセージに応答していない機器の監視リストを確立することによって、移動型医療機器を配置するシステムおよび方法を提供する。この実施形態では、システムは、機器がオンになるか、または無線の範囲内に来たときに機器にフラグを立て、RDSによって送信されたビーコン・メッセージへの応答を開始するようにプログラムされている。それから、フラグを立てた医療機器が配置されたという報告を施設に提供できる。
本明細書では、本発明の特定の実施形態を説明しているが、当業者は発明の概念から逸脱することなく、本発明の変形を考案することができる。
本発明の様々な態様を用いる患者ケア・システムの概略図。 本発明の原理を示す簡略化されたネットワークの概略図。 本発明の原理を示す複雑なネットワークの概略図。 ソフトウェア・アーキテクチャの層を示すRDSサーバおよびNIMクライアントのソフトウェア・スタックの概略図であって、本発明の発見および接続管理を含むソフトウェア・スタックの概略図。 本発明の一実施形態に従って、RDSが送信するビーコン・メッセージのデータ構造を示す概略図。 本発明の一実施形態に従って、NIMが送信する状態応答メッセージのデータ構造を示す概略図。 NIMが実行する本発明の発見処理の一実施形態の論理フローを示すフロー図。 NIMが実行する本発明の発見処理の一実施形態の論理フローを示すフロー図。 本発明の一実施形態に従って、RDSが実行するRDS発見処理の一実施形態の論理フローを示すフロー図。 TCP接続内の要求と肯定応答のフローを示す図。 TCP接続内の要求と肯定応答のフローを示す図。 TCP接続内の要求と肯定応答のフローを示す図。 本発明の一実施形態に従って暗号化された安全なメッセージの形式を示す図。

Claims (11)

  1. ネットワークを介してクライアント機器と通信するための方法であって、
    サーバからのビーコン信号を選択されたポートからネットワーク上に同報通信すること、
    前記ビーコン信号に応答して、ネットワーク上で通信する前記クライアント機器によって生成された応答信号を前記選択されたポートでリスニングすることであって前記応答信号は、前記クライアント機器との通信セッションを開くために前記サーバにより使用される終点リストを含み、該終点リストは、前記サーバと活性通信状態にある終点のリストと、前記サーバからの新たな接続のためにリスニング中の終点のリストとを含む、前記リスニングすること、
    記ビーコン信号は、前記サーバとの通信セッションを終了した全ての終点を特定する閉終点リストを含むものであり
    前記応答信号に基づいて前記サーバと以前に通信状態にあり、かつ前記サーバと活性通信状態にある前記終点のリストに含まれる終点との通信セッションを閉じること、
    前記応答信号に基づいて前記サーバと以前に通信状態にある終点を前記閉終点リストに加えることにより前記閉終点リストを更新することを備える方法。
  2. 請求項1に記載の方法において、前記ビーコン信号を同報通信することは、さらに、前記ビーコン信号に含まれるメッセージを暗号化することを含む、方法。
  3. 請求項1に記載の方法であって、さらに、
    ネットワーク上に同報通信された前記ビーコン信号を受信すること、
    正当なビーコン信号が受信されたか否かを判別すること、
    正当なビーコン信号への応答をネットワーク上に送信して、前記クライアント機器を前記サーバに登録すること、
    を備える方法。
  4. 請求項1に記載の方法であって、さらに、
    前記サーバと前記クライアント機器との間で安全な通信リンクを確立すること、
    前記安全な通信リンクが閉じられたか否かを判別すること、
    前記クライアント機器によって維持された接続のリストをリセットすること、
    正当なビーコン信号をリスニングすること、
    前記安全な通信リンクを再確立すること、
    を備える方法。
  5. ネットワークに接続されたクライアント機器と通信するための方法であって、
    ネットワークに接続されたサーバを動作させ、該サーバの選択されたポートからネットワーク上にビーコン信号を同報通信すること、
    前記クライアント機器を動作させ、前記選択されたポートからの前記ビーコン信号を受信すること、
    ネットワーク上で受信された前記ビーコン信号に応答して、前記クライアント機器から前記選択されたポートに応答信号を送信し、前記サーバが受信すること、
    記応答信号は、前記クライアント機器との通信セッションを開くために前記サーバにより使用される終点リストを含み、該終点リストは、前記サーバと活性通信状態にある終点のリストと、前記サーバからの新たな接続のためにリスニング中の終点のリストとを含み、
    前記ビーコン信号は、前記サーバとの通信セッションを終了した全ての終点を特定する閉終点リストを含むものであり
    前記応答信号に基づいて前記サーバと以前に通信状態にあり、かつ前記サーバと活性通信状態にある前記終点のリストに含まれる終点との通信セッションを閉じること、
    前記応答信号に基づいて前記サーバと以前に通信状態にある終点を前記閉終点リストに加えることにより前記閉終点リストを更新することを備える方法。
  6. 請求項に記載の方法であって、さらに、
    前記クライアント機器と前記サーバとの間で安全な通信セッションを確立すること、
    を備える方法。
  7. 請求項に記載の方法において、前記安全な通信セッションを確立することは、前記サーバと前記クライアント機器との間で通信される情報を暗号化することを含む、方法。
  8. 請求項に記載の方法であって、さらに、
    前記サーバと前記クライアント機器との間で通信される情報を復号化すること、
    を備える方法。
  9. 施設内での患者ケアを管理するシステムであって、
    ネットワークであって、該ネットワークに接続された機器の間でデータを運ぶためのネットワークと、
    前記ネットワークと通信するサーバであって、該サーバの選択されたポートを介して、選択された間隔で前記ネットワーク上にビーコン信号を同報通信するようにプログラムされたプロセッサを有するサーバと、
    前記ネットワークと通信するクライアント機器であって、前記選択されたポートからの前記ビーコン信号のために前記ネットワークをリスニングするとともに、状態メッセージを用いて前記ビーコン信号に応答するようにプログラムされたクライアント機器と
    を備え、
    前記状態メッセージは、前記クライアント機器との安全な通信セッションを確立する際に前記サーバによって使用される終点のリストを含み、該終点リストは、前記サーバと活性通信状態にある終点のリストと、前記サーバからの新たな接続のためにリスニング中の終点のリストとを含み、
    前記状態メッセージを受信する際、前記サーバは前記状態メッセージに含まれる前記終点のリストを用いて、前記クライアント機器との通信セッションを確立するように構成され、
    前記プロセッサは、前記サーバとの通信セッションを終了した全ての終点を特定する閉終点リストを含むビーコン信号を同報通信し、前記状態メッセージに基づいて前記サーバと以前に通信状態にあり、かつ前記サーバと活性通信状態にある前記終点のリストに含まれる終点との通信セッションを閉じ、前記状態メッセージに基づいて前記サーバと以前に通信状態にある終点を前記閉終点リストに加えることにより前記閉終点リストを更新するようにプログラムされている、システム。
  10. 請求項に記載のシステムにおいて、前記クライアント機器は、さらに、前記ビーコン信号が正当であるか否かを判別するとともに、前記ビーコン信号が正当な場合にのみ、前記ビーコン信号に応答するようにプログラムされている、システム。
  11. 請求項に記載のシステムにおいて、前記クライアント機器および前記サーバは、無線接続を介して前記ネットワークと通信する、システム。
JP2006542679A 2003-12-01 2004-12-01 ネットワーク発見と接続管理のためのシステムおよび方法 Expired - Fee Related JP5259085B2 (ja)

Applications Claiming Priority (3)

Application Number Priority Date Filing Date Title
US52618203P 2003-12-01 2003-12-01
US60/526,182 2003-12-01
PCT/US2004/040071 WO2005055560A1 (en) 2003-12-01 2004-12-01 System and method for network discovery and connection management

Publications (2)

Publication Number Publication Date
JP2007513579A JP2007513579A (ja) 2007-05-24
JP5259085B2 true JP5259085B2 (ja) 2013-08-07

Family

ID=34652428

Family Applications (1)

Application Number Title Priority Date Filing Date
JP2006542679A Expired - Fee Related JP5259085B2 (ja) 2003-12-01 2004-12-01 ネットワーク発見と接続管理のためのシステムおよび方法

Country Status (8)

Country Link
US (1) US7788369B2 (ja)
EP (1) EP1733529A2 (ja)
JP (1) JP5259085B2 (ja)
AU (1) AU2004311010B2 (ja)
CA (1) CA2547973A1 (ja)
NZ (1) NZ547850A (ja)
WO (1) WO2005055560A1 (ja)
ZA (1) ZA200604464B (ja)

Families Citing this family (101)

* Cited by examiner, † Cited by third party
Publication number Priority date Publication date Assignee Title
US20060123120A1 (en) * 2004-04-08 2006-06-08 Thomas Merkh Methods for establishing and validating sessions
US8572254B2 (en) * 2004-04-08 2013-10-29 Worldextend, Llc Systems and methods for establishing and validating secure network sessions
US20060265506A1 (en) * 2004-04-08 2006-11-23 World Extend Llc Systems and methods for establishing and validating secure network sessions
US7743151B2 (en) * 2004-08-05 2010-06-22 Cardiac Pacemakers, Inc. System and method for providing digital data communications over a wireless intra-body network
ATE474399T1 (de) * 2004-10-29 2010-07-15 Draeger Medical Systems Inc Automatische umschaltung zwischen drahtlosem pan/lan
US9275052B2 (en) 2005-01-19 2016-03-01 Amazon Technologies, Inc. Providing annotations of a digital work
US8131647B2 (en) * 2005-01-19 2012-03-06 Amazon Technologies, Inc. Method and system for providing annotations of a digital work
JP2006295878A (ja) * 2005-01-25 2006-10-26 Ricoh Co Ltd 画像形成装置
US20060224719A1 (en) * 2005-03-30 2006-10-05 Integrated Informatics, Inc. Operator simulator and non-invasive interface engine
US7594020B2 (en) * 2005-05-31 2009-09-22 Microsoft Corporation Re-establishing a connection for an application layer via a service layer
US20070005773A1 (en) * 2005-05-31 2007-01-04 Microsoft Corporation Re-establishing a connection for an application layer via a service layer using delay
US20070005987A1 (en) * 2005-06-30 2007-01-04 Durham Lenitra M Wireless detection and/or containment of compromised electronic devices in multiple power states
EP1934852A4 (en) * 2005-09-12 2010-04-28 Resmed Ltd FLOW GENERATOR CONNECTED TO A NETWORK
US8352449B1 (en) 2006-03-29 2013-01-08 Amazon Technologies, Inc. Reader device content indexing
US20070248058A1 (en) * 2006-04-20 2007-10-25 Victor Fajardo Fast link-down detection systems and methods
US20070288265A1 (en) * 2006-04-28 2007-12-13 Thomas Quinian Intelligent device and data network
US8601102B1 (en) * 2006-05-31 2013-12-03 Juniper Networks, Inc. Dynamic access management for network security
US8583809B2 (en) * 2006-09-07 2013-11-12 Blackberry Limited Destroying a secure session maintained by a server on behalf of a connection owner
US9672533B1 (en) 2006-09-29 2017-06-06 Amazon Technologies, Inc. Acquisition of an item based on a catalog presentation of items
US8725565B1 (en) 2006-09-29 2014-05-13 Amazon Technologies, Inc. Expedited acquisition of a digital item following a sample presentation of the item
US7848263B2 (en) 2006-11-28 2010-12-07 Marvell International, Ltd. Simplified auto-configuration and service discovery in ad-hoc networks
US7865817B2 (en) 2006-12-29 2011-01-04 Amazon Technologies, Inc. Invariant referencing in digital works
WO2008081146A2 (fr) * 2006-12-29 2008-07-10 France Telecom Procede et dispositif de gestion de connexions dans un reseau de telecommunications
US8024400B2 (en) 2007-09-26 2011-09-20 Oomble, Inc. Method and system for transferring content from the web to mobile devices
US7751807B2 (en) 2007-02-12 2010-07-06 Oomble, Inc. Method and system for a hosted mobile management service architecture
US9665529B1 (en) 2007-03-29 2017-05-30 Amazon Technologies, Inc. Relative progress and event indicators
US7716224B2 (en) 2007-03-29 2010-05-11 Amazon Technologies, Inc. Search and indexing on a user device
EP1981245A1 (en) * 2007-04-13 2008-10-15 Liconic Ag Method and product for controlling laboratory equipment
US7921309B1 (en) 2007-05-21 2011-04-05 Amazon Technologies Systems and methods for determining and managing the power remaining in a handheld electronic device
US9264483B2 (en) 2007-07-18 2016-02-16 Hammond Development International, Inc. Method and system for enabling a communication device to remotely execute an application
US20090118591A1 (en) * 2007-11-02 2009-05-07 H3 System Co., Ltd. Method and apparatus for collecting data from household medical devices
US20090147723A1 (en) * 2007-12-07 2009-06-11 Hong Kong Applied Science and Technology Research Institute Company Limited Method and Device for Data Routing and Bandwidth Reservation in Small Scale Distributed Networks
US20090177142A1 (en) 2008-01-09 2009-07-09 Smiths Medical Md, Inc Insulin pump with add-on modules
US8423889B1 (en) 2008-06-05 2013-04-16 Amazon Technologies, Inc. Device specific presentation control for electronic book reader devices
US10089443B2 (en) 2012-05-15 2018-10-02 Baxter International Inc. Home medical device systems and methods for therapy prescription and tracking, servicing and inventory
US8503300B2 (en) * 2008-10-17 2013-08-06 Verizon Patent And Licensing Inc. Efficient messaging over internet protocol
US9319462B2 (en) 2008-10-27 2016-04-19 Brocade Communications Systems, Inc. System and method for end-to-end beaconing
US20100138523A1 (en) * 2008-12-03 2010-06-03 General Electric Company Automatic configuration method and system for medical devices
US9585562B2 (en) * 2008-12-03 2017-03-07 Carefusion 303, Inc. Method and apparatus for automatically integrating a medical device into a medical facility network
US9087032B1 (en) 2009-01-26 2015-07-21 Amazon Technologies, Inc. Aggregation of highlights
US8378979B2 (en) 2009-01-27 2013-02-19 Amazon Technologies, Inc. Electronic device with haptic feedback
US9146542B2 (en) * 2009-03-05 2015-09-29 Raja Singh Tuli Method for managing web access from a small footprint portable device
US8832584B1 (en) 2009-03-31 2014-09-09 Amazon Technologies, Inc. Questions on highlighted passages
US8271106B2 (en) 2009-04-17 2012-09-18 Hospira, Inc. System and method for configuring a rule set for medical event management and responses
US8275890B2 (en) * 2009-06-03 2012-09-25 International Business Machines Corporation Detecting an inactive client during a communication session
CA2921304C (en) 2009-07-30 2018-06-05 Tandem Diabetes Care, Inc. Infusion pump system with disposable cartridge having pressure venting and pressure feedback
US8692763B1 (en) 2009-09-28 2014-04-08 John T. Kim Last screen rendering for electronic book reader
US20110145373A1 (en) * 2009-12-14 2011-06-16 Sinan Anwar Awad Systems and methods for configuring communication between medical devices
US11164672B2 (en) 2010-01-22 2021-11-02 Deka Products Limited Partnership System and apparatus for electronic patient care
US20110313789A1 (en) 2010-01-22 2011-12-22 Deka Products Limited Partnership Electronic patient monitoring system
US11210611B2 (en) 2011-12-21 2021-12-28 Deka Products Limited Partnership System, method, and apparatus for electronic patient care
US11881307B2 (en) 2012-05-24 2024-01-23 Deka Products Limited Partnership System, method, and apparatus for electronic patient care
US10911515B2 (en) 2012-05-24 2021-02-02 Deka Products Limited Partnership System, method, and apparatus for electronic patient care
US11244745B2 (en) 2010-01-22 2022-02-08 Deka Products Limited Partnership Computer-implemented method, system, and apparatus for electronic patient care
US10242159B2 (en) 2010-01-22 2019-03-26 Deka Products Limited Partnership System and apparatus for electronic patient care
US10453157B2 (en) 2010-01-22 2019-10-22 Deka Products Limited Partnership System, method, and apparatus for electronic patient care
US20120012606A1 (en) 2010-07-14 2012-01-19 Mark Longley Automated pharmacy system for dispensing unit doses of pharmaceuticals and the like
US9495322B1 (en) 2010-09-21 2016-11-15 Amazon Technologies, Inc. Cover display
CN102125423B (zh) * 2010-10-13 2012-09-19 深圳市理邦精密仪器股份有限公司 一种集成中央监护功能的医用监护方法及装置
JP5442877B2 (ja) * 2010-12-28 2014-03-12 三洋電機株式会社 端末装置
US8616438B2 (en) * 2011-03-30 2013-12-31 Hill-Rom Services, Inc. Optical detector at point of care
WO2013056194A1 (en) 2011-10-14 2013-04-18 Zoll Medical Corporation Automated delivery of medical device support software
EP2769357B1 (en) 2011-10-21 2023-08-30 ICU Medical, Inc. Medical device update system
US9158741B1 (en) 2011-10-28 2015-10-13 Amazon Technologies, Inc. Indicators for navigating digital works
US12196364B2 (en) 2011-12-21 2025-01-14 DEKA Research Products Limited Partnership System, method, and apparatus for clamping
US10563681B2 (en) 2011-12-21 2020-02-18 Deka Products Limited Partnership System, method, and apparatus for clamping
US9180242B2 (en) 2012-05-17 2015-11-10 Tandem Diabetes Care, Inc. Methods and devices for multiple fluid transfer
US9106706B2 (en) * 2012-07-18 2015-08-11 Accedian Networks Inc. Systems and methods of using beacon messages to discover devices across subnets
US8751615B2 (en) 2012-07-18 2014-06-10 Accedian Networks Inc. Systems and methods of discovering and controlling devices without explicit addressing
US8862702B2 (en) 2012-07-18 2014-10-14 Accedian Networks Inc. Systems and methods of installing and operating devices without explicit network addresses
US8830869B2 (en) 2012-07-18 2014-09-09 Accedian Networks Inc. Systems and methods of detecting and assigning IP addresses to devices with ARP requests
US9735874B2 (en) 2012-07-18 2017-08-15 Accedian Networks Inc. Programmable small form-factor pluggable module
CA2904053C (en) 2013-03-06 2023-01-03 Hospira, Inc. Medical device communication method
US9173998B2 (en) 2013-03-14 2015-11-03 Tandem Diabetes Care, Inc. System and method for detecting occlusions in an infusion pump
US9215075B1 (en) 2013-03-15 2015-12-15 Poltorak Technologies Llc System and method for secure relayed communications from an implantable medical device
US9242043B2 (en) 2013-03-15 2016-01-26 Tandem Diabetes Care, Inc. Field update of an ambulatory infusion pump system
WO2015031774A1 (en) 2013-08-30 2015-03-05 Hospira, Inc. System and method of monitoring and managing a remote infusion regimen
US9662436B2 (en) 2013-09-20 2017-05-30 Icu Medical, Inc. Fail-safe drug infusion therapy system
US10311972B2 (en) 2013-11-11 2019-06-04 Icu Medical, Inc. Medical device system performance index
EP4250313A3 (en) 2013-12-26 2023-11-22 Tandem Diabetes Care, Inc. Integration of infusion pump with remote electronic device
US9764082B2 (en) 2014-04-30 2017-09-19 Icu Medical, Inc. Patient care system with conditional alarm forwarding
US9724470B2 (en) 2014-06-16 2017-08-08 Icu Medical, Inc. System for monitoring and delivering medication to a patient and method of using the same to minimize the risks associated with automated therapy
US9539383B2 (en) 2014-09-15 2017-01-10 Hospira, Inc. System and method that matches delayed infusion auto-programs with manually entered infusion programs and analyzes differences therein
US9948568B2 (en) 2015-09-30 2018-04-17 Red Hat Israel, Ltd. Packet size control using maximum transmission units for facilitating packet transmission
US10432403B2 (en) * 2015-11-25 2019-10-01 Fenwal, Inc. Secure communication between infusion pump and server
DE102015016403B4 (de) * 2015-12-18 2023-10-12 Drägerwerk AG & Co. KGaA Verfahren zur Zuordnung eines medizinischen Gerätes aus einem Datennetzwerk zu einem Standort sowie Vorrichtung für ein Datennetzwerk
US10541987B2 (en) 2016-02-26 2020-01-21 Tandem Diabetes Care, Inc. Web browser-based device communication workflow
US11574737B2 (en) 2016-07-14 2023-02-07 Icu Medical, Inc. Multi-communication path selection and security system for a medical device
CN108066078A (zh) * 2016-11-10 2018-05-25 睿传数据股份有限公司 智能床头卡及其控制管理系统
US10630760B2 (en) * 2018-03-28 2020-04-21 Ca, Inc. Adaptive encryption in checkpoint recovery of file transfers
US10964428B2 (en) 2018-07-17 2021-03-30 Icu Medical, Inc. Merging messages into cache and generating user interface using the cache
CA3106519A1 (en) 2018-07-17 2020-01-23 Icu Medical, Inc. Systems and methods for facilitating clinical messaging in a network environment
EP3824386B1 (en) 2018-07-17 2024-02-21 ICU Medical, Inc. Updating infusion pump drug libraries and operational software in a networked environment
WO2020171838A1 (en) 2019-02-19 2020-08-27 Tandem Diabetes Care, Inc. System and method of pairing an infusion pump with a remote control device
US11305057B2 (en) 2019-03-26 2022-04-19 Tandem Diabetes Care, Inc. Method and system of operating an infusion pump with a remote control device
EP3966992A4 (en) 2019-05-08 2023-06-21 ICU Medical, Inc. MEDICAL DEVICE MANAGEMENT BASED ON THRESHOLD DIGITAL SIGNATURES
US11590057B2 (en) 2020-04-03 2023-02-28 Icu Medical, Inc. Systems, methods, and components for transferring medical fluids
CA3192527A1 (en) 2020-09-05 2022-03-10 Icu Medical, Inc. Identity-based secure medical device communications
CN112636933B (zh) * 2020-11-30 2023-07-25 国网山东省电力公司惠民县供电公司 一种电力直流供电控制系统
US11722310B2 (en) 2021-01-14 2023-08-08 EMC IP Holding Company LLC Automatically discovering and securely identifying connected systems
US11489727B2 (en) 2021-03-23 2022-11-01 EMC IP Holding Company LLC Automatically replicating configuration parameters from securely identified connected systems

Family Cites Families (28)

* Cited by examiner, † Cited by third party
Publication number Priority date Publication date Assignee Title
US6052727A (en) * 1997-10-27 2000-04-18 Dell U.S.A., L.P. Method of discovering client systems on a local area network
US6252884B1 (en) * 1998-03-20 2001-06-26 Ncr Corporation Dynamic configuration of wireless networks
US7756892B2 (en) * 2000-05-02 2010-07-13 Digimarc Corporation Using embedded data with file sharing
US6496859B2 (en) 1998-11-25 2002-12-17 Xerox Corporation System for network device location
US7814208B2 (en) * 2000-04-11 2010-10-12 Science Applications International Corporation System and method for projecting content beyond firewalls
US6671729B1 (en) * 2000-04-13 2003-12-30 Lockheed Martin Corporation Autonomously established secure and persistent internet connection and autonomously reestablished without user intervention that connection if it lost
US7076520B2 (en) * 2000-04-27 2006-07-11 Medtronic, Inc. Component architecture for medical device system networks
US6544173B2 (en) * 2000-05-19 2003-04-08 Welch Allyn Protocol, Inc. Patient monitoring system
JP3857228B2 (ja) * 2000-07-19 2006-12-13 株式会社日立製作所 Web情報優先転送システム
US20020078461A1 (en) * 2000-12-14 2002-06-20 Boykin Patrict Oscar Incasting for downloading files on distributed networks
JP4839554B2 (ja) * 2000-10-19 2011-12-21 ソニー株式会社 無線通信システム、クライアント装置、サーバ装置および無線通信方法
JP2002199473A (ja) * 2000-12-25 2002-07-12 Fujitsu Denso Ltd データ収集システム及びデータ収集方法
JP2002199004A (ja) * 2000-12-26 2002-07-12 Matsushita Electric Ind Co Ltd Ipネットワークを介した移動通信方法
US6839753B2 (en) * 2001-02-23 2005-01-04 Cardiopulmonary Corporation Network monitoring systems for medical devices
WO2002069107A2 (en) * 2001-02-28 2002-09-06 Musicrebellion Com, Inc. Digital online exchange
US7320027B1 (en) * 2001-05-14 2008-01-15 At&T Corp. System having generalized client-server computing
US7349630B2 (en) * 2001-05-21 2008-03-25 Nortel Networks Limited Hybrid WDM/TDM network architecture
US7044911B2 (en) * 2001-06-29 2006-05-16 Philometron, Inc. Gateway platform for biological monitoring and delivery of therapeutic compounds
US7328210B2 (en) * 2001-08-01 2008-02-05 At&T Mobility Ii Llc Attribute rule enforcer for a directory
US6950666B2 (en) * 2001-08-14 2005-09-27 Hewlett-Packard Development Company, L.P. Wireless mobile device network
WO2003019396A1 (en) * 2001-08-22 2003-03-06 General Atomics Wireless device attachment and detachment system, apparatus and method
US20040133669A1 (en) * 2001-11-28 2004-07-08 Esa Jalonen Event or polling driven DVB-T filter detection
JP2003198553A (ja) * 2001-12-25 2003-07-11 Hitachi Kokusai Electric Inc 一斉指令通信方式
JP3518599B2 (ja) * 2002-01-09 2004-04-12 日本電気株式会社 無線lanシステム、アクセス制御方法およびプログラム
JP2003259444A (ja) * 2002-02-27 2003-09-12 Sony Corp 無線通信システム及び無線通信方法、並びに無線基地局及び移動局
US7236460B2 (en) * 2002-03-29 2007-06-26 Airmagnet, Inc. Detecting a counterfeit access point in a wireless local area network
US7614081B2 (en) * 2002-04-08 2009-11-03 Sony Corporation Managing and sharing identities on a network
US7382741B2 (en) * 2003-06-25 2008-06-03 Canon Kabushiki Kaisha Configuration of wireless network client

Also Published As

Publication number Publication date
US7788369B2 (en) 2010-08-31
US20050138428A1 (en) 2005-06-23
ZA200604464B (en) 2007-04-25
NZ547850A (en) 2008-11-28
WO2005055560A1 (en) 2005-06-16
CA2547973A1 (en) 2005-06-16
AU2004311010A1 (en) 2005-06-16
JP2007513579A (ja) 2007-05-24
EP1733529A2 (en) 2006-12-20
AU2004311010B2 (en) 2011-03-10

Similar Documents

Publication Publication Date Title
JP5259085B2 (ja) ネットワーク発見と接続管理のためのシステムおよび方法
CA2548290C (en) Discovery and connection management with mobile systems manager
US8279061B2 (en) Telemedicine application for remote monitoring, viewing and updating of patient records
JP2022046483A (ja) 機器の管理における臨床データの受け渡し及びデータ共有
KR20150067289A (ko) 환자관리시스템과 방법
US8892602B2 (en) Secure configuration of authentication servers
BRPI0616699A2 (pt) método e sistema para estabelecer um ambiente de execução de serviço-aplicação em um sistema de computação distribuìda heterogênea e uma aplicação de serviço de transferência de dados amigável ao usuário dentro do ambiente de execução do serviço-aplicação
KR20110039264A (ko) 유비쿼터스 환자 모니터링을 위한 개인 보안 관리자
CA2552593A1 (en) Systems and methods for sensing physiologic parameters of the human body and achieving a therapeutic effect
CN104303455B (zh) 社交媒体客户端设备及其方法和介质
Wu et al. [Retracted] Fog‐Driven Secure Authentication and Key Exchange Scheme for Wearable Health Monitoring System
Garcia-Morchon et al. Security for pervasive medical sensor networks
CN107517227A (zh) 用于分布式一致性系统的会话实现方法以及装置
JP2025527128A (ja) 装置間無線通信のための動的発見ウィンドウ
BRPI0721542A2 (pt) sistema para distribuir informaÇÕes de configuraÇço de nà para uma pluralidade de nàs em um evento, mÉtodo para distribuir informaÇÕes de configuraÇço de nà para umapluralidade de nàs em um evento e meio legÍvel por mÁquina
JP2007529928A (ja) 医療用デバイスのデータ伝送に使用されるパケットヘッダのフォーマットサイズの削減
CN111988269A (zh) 经由分布式数据存储库提供授权信息的策略管理系统
Uddin et al. SDN-based service automation for IoT
JP4902878B2 (ja) リンク管理システム
JP7149753B2 (ja) データ中継装置、データ中継装置の制御方法及びデータ中継装置の制御プログラム
Olivelli et al. Enabling the e@ sycare telemedicine platform with push notification with end-to-end acknowledgment
CN117097807A (zh) 一种跨链交互协议栈传输验证层构建方法、协议栈
US20070271460A1 (en) Secure communication method and system
HK1127830B (en) Method and system for light-weight soap transport for web services based management
KR20090093216A (ko) 멀티캐스트 기반의 정보 전송 방법, 멀티캐스트 서버 및 그방법을 실행하는 프로그램이 기록된 기록매체

Legal Events

Date Code Title Description
A621 Written request for application examination

Free format text: JAPANESE INTERMEDIATE CODE: A621

Effective date: 20071109

A977 Report on retrieval

Free format text: JAPANESE INTERMEDIATE CODE: A971007

Effective date: 20100830

A131 Notification of reasons for refusal

Free format text: JAPANESE INTERMEDIATE CODE: A131

Effective date: 20100907

A601 Written request for extension of time

Free format text: JAPANESE INTERMEDIATE CODE: A601

Effective date: 20101206

A602 Written permission of extension of time

Free format text: JAPANESE INTERMEDIATE CODE: A602

Effective date: 20101213

A521 Request for written amendment filed

Free format text: JAPANESE INTERMEDIATE CODE: A523

Effective date: 20110304

A131 Notification of reasons for refusal

Free format text: JAPANESE INTERMEDIATE CODE: A131

Effective date: 20110405

A02 Decision of refusal

Free format text: JAPANESE INTERMEDIATE CODE: A02

Effective date: 20111108

A521 Request for written amendment filed

Free format text: JAPANESE INTERMEDIATE CODE: A523

Effective date: 20120308

A911 Transfer to examiner for re-examination before appeal (zenchi)

Free format text: JAPANESE INTERMEDIATE CODE: A911

Effective date: 20120315

A912 Re-examination (zenchi) completed and case transferred to appeal board

Free format text: JAPANESE INTERMEDIATE CODE: A912

Effective date: 20120330

A61 First payment of annual fees (during grant procedure)

Free format text: JAPANESE INTERMEDIATE CODE: A61

Effective date: 20130424

FPAY Renewal fee payment (event date is renewal date of database)

Free format text: PAYMENT UNTIL: 20160502

Year of fee payment: 3

R150 Certificate of patent or registration of utility model

Free format text: JAPANESE INTERMEDIATE CODE: R150

Ref document number: 5259085

Country of ref document: JP

Free format text: JAPANESE INTERMEDIATE CODE: R150

R250 Receipt of annual fees

Free format text: JAPANESE INTERMEDIATE CODE: R250

R250 Receipt of annual fees

Free format text: JAPANESE INTERMEDIATE CODE: R250

R250 Receipt of annual fees

Free format text: JAPANESE INTERMEDIATE CODE: R250

R250 Receipt of annual fees

Free format text: JAPANESE INTERMEDIATE CODE: R250

R250 Receipt of annual fees

Free format text: JAPANESE INTERMEDIATE CODE: R250

R250 Receipt of annual fees

Free format text: JAPANESE INTERMEDIATE CODE: R250

R250 Receipt of annual fees

Free format text: JAPANESE INTERMEDIATE CODE: R250

LAPS Cancellation because of no payment of annual fees