JP5229727B2 - マルチ画像表示システム、画像処理方法及びプログラム - Google Patents

マルチ画像表示システム、画像処理方法及びプログラム Download PDF

Info

Publication number
JP5229727B2
JP5229727B2 JP2008223551A JP2008223551A JP5229727B2 JP 5229727 B2 JP5229727 B2 JP 5229727B2 JP 2008223551 A JP2008223551 A JP 2008223551A JP 2008223551 A JP2008223551 A JP 2008223551A JP 5229727 B2 JP5229727 B2 JP 5229727B2
Authority
JP
Japan
Prior art keywords
image
display
common
buffer
region
Prior art date
Legal status (The legal status is an assumption and is not a legal conclusion. Google has not performed a legal analysis and makes no representation as to the accuracy of the status listed.)
Expired - Fee Related
Application number
JP2008223551A
Other languages
English (en)
Other versions
JP2010060623A (ja
Inventor
賢太郎 笹川
大輔 松尾
Current Assignee (The listed assignees may be inaccurate. Google has not performed a legal analysis and makes no representation or warranty as to the accuracy of the list.)
NEC Corp
NEC Solution Innovators Ltd
Original Assignee
NEC Corp
NEC Solution Innovators Ltd
Priority date (The priority date is an assumption and is not a legal conclusion. Google has not performed a legal analysis and makes no representation as to the accuracy of the date listed.)
Filing date
Publication date
Application filed by NEC Corp, NEC Solution Innovators Ltd filed Critical NEC Corp
Priority to JP2008223551A priority Critical patent/JP5229727B2/ja
Publication of JP2010060623A publication Critical patent/JP2010060623A/ja
Application granted granted Critical
Publication of JP5229727B2 publication Critical patent/JP5229727B2/ja
Expired - Fee Related legal-status Critical Current
Anticipated expiration legal-status Critical

Links

Images

Landscapes

  • Digital Computer Display Output (AREA)
  • Controls And Circuits For Display Device (AREA)
  • Image Processing (AREA)

Description

本発明は、マルチ画像表示システム、画像処理方法及びプログラムに関する。
リアシートエンタテイメントを特長としたカーナビゲーションシステム(以下カーナビ)等の組み込み機器上で、マルチプロセスをサポートしたOS(Operating System)やXwindowsystemのようなウィンドウシステムを用いて、さらにウィンドウシステムが持つ仮想空間をモニタ毎(フロントモニタ、リアモニタ1、リアモニタ2・・・)に分割を行ったり、スクリーンの概念を用いることにより、完全なマルチシーケンスを実現することが可能になった。
これらの機能は、組み込み向けMPU(Micro Processing Unit)のマルチコア化やOSD(On Screen Display)機能又はオーバーレイ機能を搭載したLCDC(Liquid Cristal Display Controller)が組み込み向けMPUに内蔵されるという技術の進歩で、非常に安価で実現することが可能となっている。その一方で、現状の組み込み向けCPU(Central Processing Unit)は、省電力性や温度保証による制限からクロック数を上げることは難しく、マルチコア化することでパフォーマンスを上げている。
しかしながら、例えばカーナビ内蔵の地上波デジタルチューナーのように外部デバイスが一つしかないような場合には、複数のモニタから入出力を共有したい場合があり、このような場合に遅延等の問題を発生させることなく共有する手段がなかった。また、走行規制等でフロントモニタとリアモニタで異なる表示をする必要があり、これらの対応をする必要があった。
一般的なカーナビでは、フロントモニタとリアモニタで全く同じ表示、または多少異なる表示を行うことが可能であった。しかしながら、それらは単一のアプリケーション内で実現されており、PC(Personal Computer)のようなマルチウィンドウシステムを持った組み込み端末では実現手段がなかった。
一部のカーナビでは、フロントモニタとリアモニタで異なるアプリケーション(カーナビ、テレビ、DVD等)を実行可能なものが存在する。ただ、この場合は、各アプリケーション用に専用のプロセッサーを搭載し、専用プロセッサーからの映像出力をOSDの機能等を用いてハードウエア的に切り替える形式であり、本発明が対象とするマルチ画像表示システムとは異なる。このカーナビの場合、全画面表示される映像出力を切り替える形式が主であり、モニタ毎に同一のアプリケーションを異なる状態および座標位置で、独立させて動作させることや、モニタ毎に異なる複数のアプリケーションを同時実行させることが困難であった。
一方、PCの世界では、ネットワーク接続により各PCのデスクトップ上で、共有アプリケーションを実現することが可能である。しかし、同じような考え方を組み込み機器に適用する場合、モニタ毎に独立した組み込み機器(例えば、フロントモニタ用にはネットワーク対応のカーナビ、一又は複数のリアモニタ用には、専用のネットワーク機能付き小型コンピュータ)を用意しなければならず、コスト面で問題がある(例えば、特許文献1参照)。また、地上波デジタル放送のようなハイビジョンの動画映像をネットワーク経由で共有すると、遅延やコマ落ちが発生しやすく、リアルタイム性が重視される組み込み端末では実現が難しい。特に、車載組み込み向け機器のCPUクロックは、PCの1/4〜1/5程であり、PCと同等のパフォーマンスは望めない。
また、特許文献2、3には、画像合成技術が開示されているが1つのモニタに表示するための技術であり、複数のモニタに表示するための技術ではない。
特開2006−177677号公報 特開2007−233802号公報 特開平08−314673号公報
背景技術として説明したように、複数のモニタを有する単一の組み込み向け機器では、モニタ毎に同一のアプリケーションとモニタ毎に異なるアプリケーションを複数実行表示させることが困難であるという問題点があった。
本発明の目的は、上述した課題である複数の表示装置を有するシステムにおいて、表示装置毎に同一のアプリケーションと表示装置毎に異なるアプリケーションを複数実行表示させたマルチ画像表示システム、画像処理方法及びプログラムを提供することにある。
本発明にかかるマルチ画像表示システムは、複数の表示装置のそれぞれに対応する領域に分割された複数の表示レイヤに対して配置される画像の管理を行う管理部と、前記管理部からの命令に応じて、画像の配置処理を実行する描画処理部とを備え、当該描画処理部は、各画像に対応する描画バッファに格納された複数の画像を、ソフトウェア的に合成し、ある表示レイヤに割り当てられている単一のフレームバッファ上に出力するソフトウェア合成手段と、各画像に対応する描画バッファを複数の表示レイヤに割り当て、ハードウェアの機能を利用して前記画像の重ね合わせを行うハードウェア合成手段とを有するものである。
本発明により、複数の表示装置を有するシステムにおいて、表示装置毎に同一のアプリケーションと表示装置毎に異なるアプリケーションを複数実行表示させたマルチ画像表示システム、画像処理方法及びプログラムを提供することができる。
以下、本発明を適用した具体的な実施の形態について図面を参照しながら詳細に説明する。
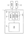
図1は、本発明の実施の形態にかかるマルチ画像表示システムの概略図である。
マルチ画像表示システム1は、管理部201、画像処理部202、表示装置203、204を有する。
管理部201は、複数の表示レイヤに対して配置される画像の配置情報、重ね合わせ情報を管理する。ここで、表示レイヤは、表示装置203、204に対応するように領域を分割されている。管理部201は、画像の配置情報、重ね合わせ情報を基に描画処理部202に画像の再配置命令を送信する。
描画処理部202は、管理部201から受信した再配置命令に基づいて、表示レイヤに対して画像の生成又は配置変更等の再配置処理を実行する。また、該描画処理部202は、各画像に対応する描画バッファに格納された複数の画像を、ソフトウェア的に合成し、ある表示レイヤに割り当てられている単一のフレームバッファ上に出力するソフトウェア合成手段と、各画像に対応する描画バッファを複数の表示レイヤに割り当て、ハードウェアの機能(OSD)を利用して前記画像の重ね合わせを行うハードウェア合成手段とを有する。
該ソフトウェア合成手段もしくは該ハードウェア合成手段により複数の画像を合成し、表示装置203、204に表示することができる。
なお、本発明は複数の表示装置を有するマルチ画像表示システムに適用でき、表示装置の数は本実施の形態において例示した数に限られない。
図2は、本発明の実施の形態にかかるマルチ画像表示システムの詳細を示す図である。本実施の形態では、複数のタッチパネル付き表示装置を接続可能な車載コンピュータを想定する。この車載コンピュータは、表示装置毎に異なる複数のGUI(Graphical User Interface)アプリケーションを独立させることが可能である。UNIX(登録商標)サーバーとX端末のシステムに似ているが、本実施の形態では単一の高性能マルチコアCPUのみで同様の機能を実現可能である。
図2は、本発明の実施の形態にかかるマルチ画像表示システムの詳細を示す図である。マルチ画像表示システム1は、MPU2、LCD(Liquid Cristal Display)6、7、LCDC4、5及び外部RAM8を有する。MPU2は、CPU等からなる処理部3を有する。処理部3は、OS10がインストールされている。OS10は、APM(Application Manager)20、描画システム30、GUIアプリケーション100、101、102を有する。
APM20は、管理部として機能し、描画システム30とLCDC4、5は、描画処理部として機能する。
LCDC4、5は、複数のHWレイヤを割り当て可能なLCDコントローラである。該HWレイヤは、表示レイヤとして機能する。LCDC6、7は、複数のHWレイヤに割り当てられたバッファの表示情報をハードウェアで合成(後述するハードウェア合成)して、RGB信号としてLCD6、7に出力する。LCD6、7は、表示装置として機能する。
なお、単一のLCDCで複数の表示装置に対応したものであってもよいが、本実施の形態では複数のLCDC6,7を有する形態について記載する。本実施の形態では、LCD6、7をそれぞれ車載コンピュータのフロントモニタとリアモニタとして使用することを想定する。
また、本発明は複数のLCDC及びLCDを有するマルチ画像表示システムに適用でき、LCDC、LCDの数は本実施の形態において例示した数に限られない。
OS10は、UNIX(登録商標)等のOS10であり、マルチメディアアプリケーション(カーナビゲーション、CD&DVDプレーヤー、デジタルテレビ放送、インターネットブラウザ、ゲーム等)をGUIアプリケーション100、101、102として有している。
APM20は、特願2007−334854に記載されたAPMを単一OSでも使用可能にしたものであり、一つのAPMで複数のHWレイヤを管理可能となったものである。GUIアプリケーション100、101、102が配置するウィンドウの配置情報、重ね合わせ情報を管理する。APM20は、GUIアプリケーションの配置情報、重ね合わせ情報を基に描画システム30にGUIアプリケーションの再配置命令を送信する。
描画システム30は、透過ウィンドウをサポートしたXwindowsystem等のウィンドウシステムであり、透過ウィンドウを描画することが可能である。描画システム30は、APM20から受信した再配置命令に基づいてGUIアプリケーションのウィンドウ及び透過ウィンドウの再配置処理(ウィンドウの生成、配置変更等)を行う。ここで、透過ウィンドウとは、自身を透過し、下のHWレイヤに表示された画像を透過して表示するものをいう。
続いて、本実施の形態にかかるマルチ画像表示システムにおける画像合成処理について説明する。
本実施の形態におけるマルチ画像表示システムは、LCD6、7毎に独立して動作するGUIアプリケーションである独立アプリケーションと、各LCD6、7からのタッチイベント等の入力イベント及び画像出力機能が共有されるGUIアプリケーションである共有アプリケーションを有する。
独立アプリケーションは、1つのLCDのみに表示可能なウィンドウである個別表示ウィンドウを有することができる。
共通アプリケーションは、個別表示ウィンドウと、全LCDで共有あるいは指定されえたLCD以外の全LCDで共有可能なウィンドウである共通表示ウィンドウの両方を有することができる。また、各ウィンドウは、それぞれ同じ座標に配置、重ね合わせをすることも可能である。
なお、個別表示ウィンドウは一部を透過させることも可能である。
本実施の形態における各ウィンドウは、ハードウエア合成(HW合成)又はソフトウェア合成(SW合成)のいずれかの手法によって合成され、LCD6、7に表示することができる。
図3に本発明の実施の形態にかかる共通表示ウィンドウのHW合成を示す。
本実施の形態では、描画システム30が有する仮想表示空間を2つに分割し、それぞれをフロントモニタとリアモニタに割り当てている。
描画システム30及びHW合成される共通表示ウィンドウは、描画用のバッファとして外部RAM8内の領域を使用する。描画システム30によって生成された各ウィンドウの描画データは、描画システム30によって重ね合わせ処理が行われる前に、該バッファに格納される。
描画システム30の使用するフレームバッファ81及び共通表示ウィンドウ520が使用する描画バッファ83は、HWレイヤに割り当てられる。該バッファ81、83とHWレイヤの関連付けは、LCDC6、7のレジスタを制御することにより行われる。レジスタ設定パラメータとしては、該バッファ81、83の先頭アドレス、該バッファ81、83のサイズ(幅、高さ)、実際にLCD6、7への表示対象となる領域の情報(オフセット値、幅、高さ)、拡大率(HW合成時の全画面表示等に使用する)、HWレイヤ全体としての透過率(これとは別にビット単位で透過率を設定することも可能である)等がある。
本実施の形態では、最も表示優先度の高いHWレイヤに描画システム30用のフレームバッファ81が割り当てられており、2番目以降のHWレイヤのそれぞれには、共通表示ウィンドウ毎に設けられたHW合成される共通表示ウィンドウ用の描画バッファがそれぞれ割り当てられる。なお、本実施の形態では、2番目のHWレイヤに、共通表示ウィンドウ520の描画バッファ83が割り当てられている。
図3のウィンドウ510、511は独立アプリケーションの個別表示ウィンドウである。共通表示ウィンドウ520の描画データは、HWレイヤ2に割り当てられた描画バッファ83に格納されている。また、共通アプリケーションは、一部を透過させた個別表示ウィンドウ513を有することができる。これにより、例えば操作ボタンのみで他の部分は透けている個別表示ウィンドウ513を有することができる。該個別表示ウィンドウ513の描画データは、共通表示ウィンドウ520と同様に描画バッファ82に格納される。描画バッファ82に格納された該個別表示ウィンドウ513の描画データは、フレームバッファ81にコピーされ、HWレイヤ1に該個別表示ウィンドウ513が生成される。
また、APM20は、HWレイヤ2に描画されるウィンドウ520を配置情報に基づいて、このウィンドウを表示させるための透過ウィンドウをHWレイヤ1に生成させる再配置命令を描画システム30に通知する。この通知を受けた描画システム30は、HWレイヤ1に透過ウィンドウ512を生成する。
LCDC4、5は、これらのウィンドウが生成されたHWレイヤ1、2を画面合成することにより、ウィンドウを重ね合わせた画面を生成し、LCD6、7に表示する。
カーナビナビゲーションアプリケーションのように、走行規制のため、走行中は運転席側のフロントモニタのメニュー等の一部の操作を伴う表示を非表示としたい場合は、上述のように一部が透過した個別表示ウィンドウと透過ウィンドウを使用して、ウィンドウの合成を行うことで実現が可能である。
図4に本発明の実施の形態にかかる共通表示ウィンドウのSW合成を示す。
図4のウィンドウ610、611は独立アプリケーションの個別表示ウィンドウである。共通アプリケーションの共通表示ウィンドウ620及び個別表示ウィンドウ613の描画データは、前述と同様に描画バッファ82、83に格納される。各描画データは、フレームバッファ81にコピーされ、描画システム30であるXwindowsystem等が有する機能を用いることで、ウィンドウを重ね合わせ合わせた画面の生成を実現する。
本実施の形態にかかるマルチ画像表示システムは、上述したいずれかの合成手段でウィンドウを合成することで、LCD6、7毎に独立して動作する独立アプリケーションと、各LCD6、7への画像出力が共有される共有アプリケーションを混在させて、同時に実行表示することが可能となる。
また、HW合成においては、透過ウィンドウ又は一部が透過した個別表示ウィンドウを分割された仮想表示空間毎に異なる座標位置に配置させることにより、共通表示ウィンドウをLCD毎に異なる座標位置に表示することも可能である。SW合成においても、共通表示ウィンドウ及び一部が透過した個別表示ウィンドウを分割された仮想表示空間毎に異なる座標位置に配置することにより、共通表示ウィンドウをLCD毎に異なる座標位置に表示することが可能である
ここで、本実施の形態においては、独立アプリケーションの個別表示ウィンドウは、描画データを直接フレームバッファ81に格納して表示してもよく、共通アプリケーションの個別表示ウィンドウと同様に一度描画バッファに格納し、その後フレームバッファ81にコピーして表示してもよい。また、独立アプリケーションの個別表示ウィンドウを描画バッファに格納し、表示優先度が2番目以降のHWレイヤに割り当てて、HW合成して表示する実施の形態としてもよい。
図5に本発明の実施の形態にかかる共通表示ウィンドウの最大化表示及びアイコン化を示す。共通表示ウィンドウ720をアイコン化したい場合は、透過ウィンドウ又は一部が透過した個別表示ウィンドウを一時的に消去することにより、実現可能である。また、共通表示ウィンドウ720を最大化表示したい場合は、LCDCの有するOSD機能を利用することで、高速にズーム表示させることが可能である。共通表示ウィンドウの最大化表示時のズームの有無は、アプリケーション毎に設定が可能である。
車載コンピュータには、CD&DVDドライブ及びデジタルテレビ放送チューナーが内蔵されているが、どちらも一系統のみ有している場合は、CD&DVDプレーヤーアプリケーション及びデジタルテレビ放送アプリケーションは、共通アプリケーションとして、全てのLCDに入出力を共有される。この場合に、走行規制のため、走行中は運転席側のフロントモニタのみアイコン化をしたいときは、上述の方法により実現が可能である。
続いて、共通表示ウィンドウの合成優先度、及びSW合成とHW合成の切替処理について説明する。
共通表示ウィンドウ毎に、16段階(0〜15)の合成優先度が割り当てられている。合成優先度の設定は、アプリケーションからの専用のAPIの呼び出し、又はAPMが管理するデータベースやスクリプト等を使用して行う。データベースやスクリプトを使用した場合、各アプリケーションが意識せずに合成優先度の設定を行うことが可能となる。
合成優先度0(デフォールト値)の場合は、SW合成に割り当てられる。既存の汎用アプリケーションを共有化したい場合や、例えばボタン表示のみで他の領域は透過であるもの等の処理負荷の軽い共通表示ウィンドウを対象としている。
合成優先度15の場合は、HW合成に割り当てられる。描画処理の負荷が非常に重い共通表示ウィンドウや外部の専用プロセッサー(テレビやDVDのバックエンドチップ等)からの描画が必要とされる場合を対象としている。
合成優先度が1から14の場合は、HW合成優先である。HWレイヤに空きがある場合は、HW合成され、HWレイヤに空きが無い場合は、SW合成される。
合成優先度の低い共通表示ウィンドウが、HW合成に割り当てられており、より合成優先度の高い共通表示ウィンドウが新規に作成され、HWレイヤに空きが無い場合は、APMは、HW合成されている合成優先度の低い共通表示ウィンドウを、自動的にSW合成に切り替える。
図6に合成優先度の高い共有アプリケーションの共通表示ウィンドウを新規作成する場合の共通表示ウィンドウの切替処理の状態遷移図を示す。図7に、この場合のシーケンス図を示す。
図6(a)は、独立アプリケーションの個別表示ウィンドウ810と、透過ウィンドウ811を用いてHW合成された共通アプリケーションの共通表示ウィンドウ820をLCDに表示されている状態を示している。
この状態から、新たな共通アプリケーションが起動されると、該共通アプリケーションから描画システム30に共通表示ウィンドウの生成要求が通知される(ステップS1)。これを受けた描画システム30は、APM20に共通表示ウィンドウの生成要求が通知される(ステップS2)。この通知により、該共通表示ウィンドウの配置情報及び描画バッファのアドレス情報(先頭アドレス、サイズ等)が、APM20に通知される。
ここで、新たに生成される共通表示ウィンドウの合成優先度が、既に表示されている共通表示ウィンドウ820より高く、HWレイヤに空きが無い場合は、共通表示ウィンドウ820のSW合成による表示への切替処理を行うことで、HWレイヤの空きをつくる。そのため、APM20は、データベースに格納されている各ウィンドウの配置情報を参照、更新し、共通表示ウィンドウ820の表示を含むウィンドウ再配置命令を描画システム30に通知する(ステップS3、S4)。
図6(b)は、該再配置命令を受けた描画システム30が、ウィンドウの再配置処理を行った状態である(ステップS5)。ここでは、共通表示ウィンドウ820がSW合成とHW合成の両方の合成された表示を同時にLCDに表示している。このように該切替処理時に、一時的に両方の合成表示を表示することにより、共通表示ウィンドウ820のちらつきを抑えることが可能である。
描画システム30からウィンドウ再配置終了の通知を受けたAPM20は、共通表示ウィンドウ820をHWレイヤ2から切り離す(ステップS6、S7)。その時の状態を図6(c)に示す。
次にAPM20は、HWレイヤ2を新たに表示される共通表示ウィンドウ821に割り当て、透過ウィンドウ813の作成を含むウィンドウ再配置命令を描画システム20に通知する(ステップS8、S9)。該通知を受けた描画システム20により透過ウィンドウ813が生成され、HW合成により共通表示ウィンドウ821がLCDに表示される(S10)。その時の状態を図6(d)に示す。
このように、APM30が自動的に透過ウィンドウの生成を依頼することにより、新たに起動した共通アプリケーション側で該切替処理を意識する必要がなくなる。
また、上記切替処理により、HW合成に割り当てられる合成優先度を有する共通アプリケーションをHWレイヤ数以上実行し、同時に表示することが可能となる。
その他、上述のように、描画処理の負荷が重い共通アプリケーションは、HW合成を行うように合成優先度を設定することで、高速なウィンドウ合成処理が可能となる。例えば、カーナビゲーションアプリケーションにおける地図画面でGPU(Graphic Processer Unit)を占有し、描画システム30でGPUを使用できない場合や、デジタル放送アプリケーションやDVDアプリケーション等のように数10ms単位で描画が発生するアプリケーションを共有する場合にHW合成が有効である。既存アプリケーション資産に関しては、SW合成でアプリケーションの共有を行うことが可能である。
ここで、本実施の形態では、共通表示ウィンドウの切替処理について説明したが、個別表示ウィンドウに適用した実施の形態としてもよい。
本発明の実施の形態にかかる画像表示装置を示す概略図である。 本発明の実施の形態にかかる画像表示装置の詳細を示す図である。 本発明の実施の形態にかかる共通表示ウィンドウのHW合成を示す図である。 本発明の実施の形態にかかる共通表示ウィンドウのSW合成を示す図である。 本発明の実施の形態にかかる共通表示ウィンドウの最大化表示及びアイコン化を示す図である。 合成優先度の高い共有アプリケーションの共通表示ウィンドウが新規作成される場合の共通表示ウィンドウの切替処理の状態遷移図である。 合成優先度の高い共有アプリケーションの共通表示ウィンドウが新規作成される場合の共通表示ウィンドウの切替処理のシーケンス図である。
符号の説明
1 マルチ画像表示システム
2 MPU
3 処理部
4、5 LCDC
6、7 LCD
8 外部RAM
10 OS
20 APM
30 描画システム
81 フレームバッファ
82、83 描画バッファ
100、101 独立アプリケーション
102 共通アプリケーション
201 管理部
202 描画処理部
203、204 表示装置
510、511、512、513、520、610、611、613、620、710、713、720、810、811、813、820、821 ウィンドウ
2021 ソフトウェア合成手段
2022 ハードウェア合成手段

Claims (10)

  1. 第1の表示装置及び第2の表示装置のそれぞれに対応する第1の領域及び第2の領域を含むフレームバッファと、前記第1の領域及び前記第2の領域を含む第1の描画バッファと、及び前記第1の領域及び前記第2の領域を含む第2の描画バッファとを有する記憶部と、
    独立アプリケーション及び共通アプリケーションを実行するCPUと、
    前記独立アプリケーションから生成される個別表示画像と、前記共通アプリケーションから生成される共通表示画像の管理を行う管理部と、
    前記管理部からの命令に応じて、前記個別表示画像を生成して前記第1の描画バッファにおける前記第1の領域及び前記第2の領域のいずれか1つに配置するとともに、前記共通表示画像を生成して前記第2の描画バッファにおける前記第1の領域及び前記第2の領域の両方に配置する配置処理を実行する描画処理部とを備え、
    当該描画処理部は、
    前記第1の描画バッファ及び前記第2の描画バッファに格納された前記個別表示画像及び前記共通表示画像を、ソフトウェア的に合成し、前記フレームバッファ上に出力するソフトウェア合成手段と、
    前記フレームバッファ及び前記第2の描画バッファのそれぞれを第1の表示レイヤ及び第2の表示レイヤに割り当てるとともに、前記第1の描画バッファの個別表示画像を前記フレームバッファにコピーし、ハードウェアの機能を利用して前記第1の表示レイヤ及び前記第2の表示レイヤを合成することにより、前記フレームバッファの個別表示画像及び前記第2の描画バッファの共通表示画像の合成を行うハードウェア合成手段とを有し、
    前記ソフトウェア合成手段によって前記フレームバッファ上に合成された画像、又は、前記ハードウェア合成手段によって合成された画像における、前記第1の領域及び前記第2の領域のそれぞれを前記第1の表示装置及び前記第2の表示装置に表示するマルチ画像表示システム。
  2. ソフトウェア合成手段もしくはハードウェア合成手段は、
    前記共通表示画像を表示装置毎に異なる座標位置に表示する請求項1に記載のマルチ画像表示システム。
  3. 前記管理部は、
    前記共通表示画像に対して設定された合成優先度に基づいて、前記共通表示画像を前記ソフトウェア合成手段もしくは前記ハードウェア合成手段のいずれにより合成するかを決定する請求項1又は2に記載のマルチ画像表示システム。
  4. 前記個別表示画像及び前記共通表示画像のそれぞれは、
    前記独立アプリケーション及び前記共通アプリケーションのそれぞれに割り当てられたウィンドウとして表示される画像である請求項乃至3のいずれか1項に記載のマルチ画像表示システム。
  5. 前記ハードウェア合成手段によって第1の共通表示画像を合成しているときに、当該第1の共通表示画像よりも高く、かつ前記管理部によって前記ハードウェア合成手段で合成すると決定される合成優先度の第2の共通表示画像が、前記描画処理部によって新たに生成される場合、前記ハードウェア合成手段によって合成している第1の共通表示画像の合成を、前記ソフトウェア合成手段による合成に切り替える切替処理手段を有する請求項に記載のマルチ画像表示システム。
  6. 前記切替処理手段は、
    前記共通表示画像の合成を前記ソフトウェア合成手段による合成に切り替える時に、前記ソフトウェア合成手段による画像の表示と前記ハードウェア合成手段による画像の表示とを一時的に同時に表示する請求項5に記載のマルチ画像表示システム。
  7. 第1の表示装置及び第2の表示装置のそれぞれに対応する第1の領域及び第2の領域を含むフレームバッファと、前記第1の領域及び前記第2の領域を含む第1の描画バッファと、及び前記第1の領域及び前記第2の領域を含む第2の描画バッファとを用いて、前記第1の表示装置及び前記第2の表示装置に画像を表示する画像処理方法であって、
    CPUによって、独立アプリケーション及び共通アプリケーションの実行を開始する第1のステップと、
    前記共通アプリケーションから生成される共通表示画像を、ソフトウェア合成処理とハードウェア合成処理のいずれにより合成処理を実行するかを決定する第のステップと、
    前記独立アプリケーションから個別表示画像を生成して前記第1の描画バッファにおける前記第1の領域及び前記第2の領域のいずれか1つに配置するとともに、前記共通アプリケーションから共通表示画像を生成して前記第2の描画バッファにおける前記第1の領域及び前記第2の領域の両方に配置する第3のステップと、
    前記ソフトウェア合成処理を実行することを決定した場合に、前記第1の描画バッファ及び前記第2の描画バッファに格納された前記個別表示画像及び前記共通表示画像を、ソフトウェア的に合成し、前記フレームバッファ上に出力する第のステップと、
    前記ハードウェア合成処理を実行することを決定した場合に、前記フレームバッファ及び前記第2の描画バッファのそれぞれを第1の表示レイヤ及び第2の表示レイヤに割り当てるとともに、前記第1の描画バッファの個別表示画像を前記フレームバッファにコピーし、ハードウェアの機能を利用して前記第1の表示レイヤ及び前記第2の表示レイヤを合成することにより、前記フレームバッファの個別表示画像及び前記第2の描画バッファの共通表示画像の合成を行う第のステップと
    前記ソフトウェア合成処理によって前記フレームバッファ上に合成された画像、又は、前記ハードウェア合成処理によって合成された画像における、前記第1の領域及び前記第2の領域のそれぞれを前記第1の表示装置及び前記第2の表示装置に表示する第6のステップと、を備えた画像処理方法。
  8. 前記第1のステップは、前記共通表示画像に対して設定された合成優先度に基づいて、前記ソフトウェア合成処理と前記ハードウェア合成処理のいずれにより合成処理を実行するかを決定することを特徴とする請求項7に記載の画像処理方法。
  9. 第1の表示装置及び第2の表示装置のそれぞれに対応する第1の領域及び第2の領域を含むフレームバッファと、前記第1の領域及び前記第2の領域を含む第1の描画バッファと、及び前記第1の領域及び前記第2の領域を含む第2の描画バッファとを用いて、前記第1の表示装置及び前記第2の表示装置に画像を表示する画像処理プログラムであって、
    CPUによって、独立アプリケーション及び共通アプリケーションの実行を開始する第1のステップと、
    前記共通アプリケーションから生成される共通表示画像を、ソフトウェア合成処理とハードウェア合成処理のいずれにより合成処理を実行するかを決定する第のステップと、
    前記独立アプリケーションから個別表示画像を生成して前記第1の描画バッファにおける前記第1の領域及び前記第2の領域のいずれか1つに配置するとともに、前記共通アプリケーションから共通表示画像を生成して前記第2の描画バッファにおける前記第1の領域及び前記第2の領域の両方に配置する第3のステップと、
    前記ソフトウェア合成処理を実行することを決定した場合に、前記第1の描画バッファ及び前記第2の描画バッファに格納された前記個別表示画像及び前記共通表示画像を、ソフトウェア的に合成し、前記フレームバッファ上に出力する第のステップと、
    前記ハードウェア合成処理を実行することを決定した場合に、前記フレームバッファ及び前記第2の描画バッファのそれぞれを第1の表示レイヤ及び第2の表示レイヤに割り当てるとともに、前記第1の描画バッファの個別表示画像を前記フレームバッファにコピーし、ハードウェアの機能を利用して前記第1の表示レイヤ及び前記第2の表示レイヤを合成することにより、前記フレームバッファの個別表示画像及び前記第2の描画バッファの共通表示画像の合成を行う第のステップと
    前記ソフトウェア合成処理によって前記フレームバッファ上に合成された画像、又は、前記ハードウェア合成処理によって合成された画像における、前記第1の領域及び前記第2の領域のそれぞれを前記第1の表示装置及び前記第2の表示装置に表示する第6のステップと、をコンピュータに対して実行させる画像処理プログラム。
  10. 前記第1のステップは、前記共通表示画像に対して設定された合成優先度に基づいて、前記ソフトウェア合成処理と前記ハードウェア合成処理のいずれにより合成処理を実行するかを決定することを特徴とする請求項9に記載の画像処理プログラム。
JP2008223551A 2008-09-01 2008-09-01 マルチ画像表示システム、画像処理方法及びプログラム Expired - Fee Related JP5229727B2 (ja)

Priority Applications (1)

Application Number Priority Date Filing Date Title
JP2008223551A JP5229727B2 (ja) 2008-09-01 2008-09-01 マルチ画像表示システム、画像処理方法及びプログラム

Applications Claiming Priority (1)

Application Number Priority Date Filing Date Title
JP2008223551A JP5229727B2 (ja) 2008-09-01 2008-09-01 マルチ画像表示システム、画像処理方法及びプログラム

Publications (2)

Publication Number Publication Date
JP2010060623A JP2010060623A (ja) 2010-03-18
JP5229727B2 true JP5229727B2 (ja) 2013-07-03

Family

ID=42187522

Family Applications (1)

Application Number Title Priority Date Filing Date
JP2008223551A Expired - Fee Related JP5229727B2 (ja) 2008-09-01 2008-09-01 マルチ画像表示システム、画像処理方法及びプログラム

Country Status (1)

Country Link
JP (1) JP5229727B2 (ja)

Families Citing this family (3)

* Cited by examiner, † Cited by third party
Publication number Priority date Publication date Assignee Title
CN103064645A (zh) * 2011-10-21 2013-04-24 联想(北京)有限公司 显示方法和电子设备
CN106469039B (zh) * 2016-09-28 2019-05-03 华为技术有限公司 图像显示方法及系统
JP2020177073A (ja) * 2019-04-16 2020-10-29 株式会社デンソー 車両用装置、車両用装置の制御方法

Family Cites Families (2)

* Cited by examiner, † Cited by third party
Publication number Priority date Publication date Assignee Title
JP2006227555A (ja) * 2005-02-18 2006-08-31 Okayama Prefecture マルチウィンドウ表示装置及びマルチウィンドウ画像管理方法
JP5305564B2 (ja) * 2006-03-30 2013-10-02 クラリオン株式会社 ナビゲーションシステム、及び、出力制御方法

Also Published As

Publication number Publication date
JP2010060623A (ja) 2010-03-18

Similar Documents

Publication Publication Date Title
EP2962191B1 (en) System and method for virtual displays
US9207903B2 (en) System and method for display mirroring
CN102681887B (zh) 用于控制虚拟化屏幕的系统和方法
CN104123110A (zh) 一种Android双屏异像显示方法
JP6364949B2 (ja) 情報処理装置および情報処理方法
CN113050899B (zh) 一种基于Wayland协议的视频和UI的drm直接显示方法及系统
US9489883B2 (en) Electronic apparatus and method of displaying image thereof
CN102685589A (zh) 视频窗口与信息窗口切换显示的方法和装置
JP5045428B2 (ja) 画像表示システム、画像表示方法及びプログラム
CN116347166A (zh) 显示设备及窗口显示方法
CN103503430B (zh) 播放控制系统和方法
JP4780101B2 (ja) 画像表示システム、画像表示方法及びプログラム
JP5229727B2 (ja) マルチ画像表示システム、画像処理方法及びプログラム
US20140026100A1 (en) Method and apparatus for displaying an image, and computer readable recording medium
US9298413B1 (en) System, method, and computer program product for changing a state of operation of a display system with respect to at least a portion of an image occluded by a non-display surface
US20220358899A1 (en) Control method for magnifying display screen and associated display system
CN116700850A (zh) 显示方法及电子设备
US7844900B2 (en) Visual management system
CN112770169A (zh) 一种列表循环翻页方法及显示设备
CN110753194A (zh) 双屏异显方法、存储介质及电子设备
CN119065771B (zh) 一种多缓冲区图形显示方法、系统、介质、程序产品和设备
JP7709256B2 (ja) 情報処理装置、表示制御方法及びプログラム
US9582158B2 (en) Efficient usage of screen real estate on an electronic device
CN102740022B (zh) 播放控制系统和方法
WO2025138015A1 (zh) 显示屏的驱动系统、方法和装置、显示系统及车辆

Legal Events

Date Code Title Description
A977 Report on retrieval

Free format text: JAPANESE INTERMEDIATE CODE: A971007

Effective date: 20120606

A131 Notification of reasons for refusal

Free format text: JAPANESE INTERMEDIATE CODE: A131

Effective date: 20121204

A521 Request for written amendment filed

Free format text: JAPANESE INTERMEDIATE CODE: A523

Effective date: 20130121

TRDD Decision of grant or rejection written
A01 Written decision to grant a patent or to grant a registration (utility model)

Free format text: JAPANESE INTERMEDIATE CODE: A01

Effective date: 20130219

A61 First payment of annual fees (during grant procedure)

Free format text: JAPANESE INTERMEDIATE CODE: A61

Effective date: 20130312

FPAY Renewal fee payment (event date is renewal date of database)

Free format text: PAYMENT UNTIL: 20160329

Year of fee payment: 3

R150 Certificate of patent or registration of utility model

Ref document number: 5229727

Country of ref document: JP

Free format text: JAPANESE INTERMEDIATE CODE: R150

Free format text: JAPANESE INTERMEDIATE CODE: R150

S533 Written request for registration of change of name

Free format text: JAPANESE INTERMEDIATE CODE: R313533

R350 Written notification of registration of transfer

Free format text: JAPANESE INTERMEDIATE CODE: R350

LAPS Cancellation because of no payment of annual fees