JP5118601B2 - 光パルス試験器 - Google Patents

光パルス試験器 Download PDF

Info

Publication number
JP5118601B2
JP5118601B2 JP2008274364A JP2008274364A JP5118601B2 JP 5118601 B2 JP5118601 B2 JP 5118601B2 JP 2008274364 A JP2008274364 A JP 2008274364A JP 2008274364 A JP2008274364 A JP 2008274364A JP 5118601 B2 JP5118601 B2 JP 5118601B2
Authority
JP
Japan
Prior art keywords
bias voltage
reverse bias
optical fiber
avalanche photodiode
temperature
Prior art date
Legal status (The legal status is an assumption and is not a legal conclusion. Google has not performed a legal analysis and makes no representation as to the accuracy of the status listed.)
Active
Application number
JP2008274364A
Other languages
English (en)
Other versions
JP2010101794A (ja
Inventor
達幸 牧
重雄 堀
Current Assignee (The listed assignees may be inaccurate. Google has not performed a legal analysis and makes no representation or warranty as to the accuracy of the list.)
Anritsu Corp
Original Assignee
Anritsu Corp
Priority date (The priority date is an assumption and is not a legal conclusion. Google has not performed a legal analysis and makes no representation as to the accuracy of the date listed.)
Filing date
Publication date
Application filed by Anritsu Corp filed Critical Anritsu Corp
Priority to JP2008274364A priority Critical patent/JP5118601B2/ja
Publication of JP2010101794A publication Critical patent/JP2010101794A/ja
Application granted granted Critical
Publication of JP5118601B2 publication Critical patent/JP5118601B2/ja
Active legal-status Critical Current
Anticipated expiration legal-status Critical

Links

Images

Landscapes

  • Testing Of Optical Devices Or Fibers (AREA)

Description

本発明は、被測定光ファイバに光パルスを出射し、出射された光パルスの戻り光に基づいて被測定光ファイバの損失分布特性を解析する光パルス試験器に関し、特に、周辺温度の変化に起因する損失分布特性の測定誤差を補正する光パルス試験器に関する。
光パルス試験器は、被測定光ファイバに試験光としての光パルスPを繰り返し入射して、光パルスPの戻り光(フレネル反射光および後方散乱光)とその遅延時間を検出することにより、被測定光ファイバの障害点の特定や損失分布測定等の試験を行う装置である。
光パルス試験器の受光器としてはアバランシェフォトダイオード(APD:Avalanche Photodiode)が用いられることが多いが、APDの増倍率には温度依存性があるため、周辺温度に応じて損失分布特性を補正する必要がある。
そこで、損失分布特性の測定誤差を補正する光パルス試験器として、試験器内に備えられたダミーファイバの任意の位置における戻り光の光パワーレベルと予め設定されている初期値との差分値を、被測定光ファイバの戻り光の測定値に加算(または減算)することにより、損失分布特性を補正するものが提案されている(例えば、特許文献1参照)。
また、被測定光ファイバの戻り光の測定値と初期値とのレベル差β、ダミーファイバの戻り光の測定値と初期値とのレベル差αをそれぞれ算出し、レベル差βからレベル差αを減算することにより、光パルス試験器に起因するレベル変動分を除いた被測定光ファイバの特性変化に伴う真のレベル変化量を算出するものも提案されている(例えば、特許文献2参照)。
特開2003−207413号公報([0030]、図4) 特許第3025022号明細書(第7頁、図3、図4)
一般に、APDにおいては、一定の周辺温度の下では逆バイアス電圧の増加に伴いその増倍率が増加し、一定の逆バイアス電圧の下では増倍率が周辺温度の増加に伴い増加する。このため、特許文献1および特許文献2に開示された従来の光パルス試験器は、周辺温度が低下した場合にはAPDの増倍率が所望値よりも低下してしまうため、微弱な試験光の戻り光を検出することができないという課題があった。
そこで、使用温度範囲において一定の高い増倍率を用いるために、APDの周辺温度をモニタすることにより逆バイアス電圧を周辺温度に応じて可変とすることが考えられるが、APDの増倍率およびその温度傾斜には個体差があるため、逆バイアス電圧およびその温度傾斜をそれぞれのAPDに合わせて個別調整する必要がある。
このため、個々のAPDに対して、光パルス試験器への搭載前に温度特性を測定し、その結果を光パルス試験器に内蔵されたメモリに記憶させておき、周辺温度に合わせて逆バイアス電圧を設定することが考えられる。しかしながら、温度特性の評価には多大な時間を要するので、搭載される全てのAPDについて温度特性の評価を実施すると製品コストの上昇を招いてしまう。
本発明は、このような従来の課題を解決するためになされたものであって、APDの個別調整を省略できるとともに、より微弱な試験光の戻り光を検出することができる光パルス試験器を提供することを目的とする。
本発明の光パルス試験器は、ダミー光ファイバを介して被測定光ファイバに光パルスを出射するパルス光源と、前記ダミー光ファイバおよび前記被測定光ファイバからの前記光パルスの戻り光を電気信号に変換するアバランシェフォトダイオードと、前記アバランシェフォトダイオードに逆バイアス電圧を印加するバイアス印加部と、を備え、前記アバランシェフォトダイオードによって変換された電気信号に基づいて前記被測定光ファイバの損失分布特性を測定する光パルス試験器において、前記アバランシェフォトダイオードの周辺温度を検出する温度センサと、前記アバランシェフォトダイオードを所定温度において所望の増倍率で動作させるための逆バイアス電圧および予め定められた逆バイアス電圧の温度傾斜を記憶する逆バイアス電圧温度特性メモリと、前記温度センサで検出された周辺温度、ならびに、前記逆バイアス電圧温度特性メモリに記憶された逆バイアス電圧および温度傾斜に基づいて、前記アバランシェフォトダイオードに印加される逆バイアス電圧の暫定値を算出して前記バイアス印加部に設定する暫定バイアス設定部と、前記暫定バイアス設定部で算出された逆バイアス電圧が前記バイアス印加部によって前記アバランシェフォトダイオードに印加された状態における前記ダミー光ファイバからの戻り光の電気信号に基づいて、前記アバランシェフォトダイオードを前記所望の増倍率で動作させるための逆バイアス電圧の補正値を算出して前記バイアス印加部に設定する補正バイアス設定部と、を備えた構成を有している。
この構成により、本発明の光パルス試験器は、APDに印加される逆バイアス電圧の粗調整後に微調整を行って増倍率を一定に保つため、APDの個別調整を省略できるとともに、より微弱な試験光の戻り光を検出することができる。
本発明は、APDの個別調整を省略できるとともに、より微弱な試験光の戻り光を検出することができるという効果を有する光パルス試験器を提供するものである。
以下、本発明に係る光パルス試験器の実施形態について、図面を用いて説明する。
図1は、本発明に係る光パルス試験器1を示すブロック図である。図2はアバランシェフォトダイオードの逆バイアス電圧温度特性、および本発明による補正の様子を表した模式的なグラフであり、実線はAPDの暫定的な温度特性、点線は実際の温度特性を示す。
図1に示すように光パルス試験器1は、被測定光ファイバ50および被測定光ファイバ50に光学的に接続されたダミー光ファイバ10へ光パルスPを出射するパルス光源11と、被測定光ファイバ50およびダミー光ファイバ10からの光パルスPの戻り光を電気信号に変換するAPD12と、APD12に逆バイアス電圧VAを印加するバイアス印加部13と、を備える。
また、光パルス試験器1は、APD12の周辺温度Tを検出する温度センサ14と、APD12を所定温度T0において所望の増倍率で動作させるための逆バイアス電圧VA(T0)および予め定められた逆バイアス電圧の温度傾斜を記憶する逆バイアス電圧温度特性メモリ15と、温度センサ14で検出された周辺温度T、ならびに、逆バイアス電圧温度特性メモリ15に記憶された逆バイアス電圧VA(T0)および温度傾斜に基づいて、APD12に印加される逆バイアス電圧(以下、暫定逆バイアス電圧と記す)V0(T)を算出してバイアス印加部13に設定する暫定バイアス設定部16と、暫定バイアス設定部16で算出された暫定逆バイアス電圧V0(T)がバイアス印加部13によってAPD12に印加された状態におけるダミー光ファイバ10からの戻り光の電気信号に基づいて、APD12を所望の増倍率で動作させるための逆バイアス電圧の補正値(以下、補正逆バイアス電圧と記す)V(T)を算出してバイアス印加部13に設定する補正バイアス設定部17と、をさらに備える。
また、光パルス試験器1は、パルス光源11から光パルスPを出射させるためのパルスタイミング信号EPを出力するタイミング発生器18と、タイミング発生器18から出力されたパルスタイミング信号EPに従って、パルス光源11から光パルスPを出射させる駆動回路19と、パルス光源11から出射された光パルスPをダミー光ファイバ10および被測定光ファイバ50に送出するとともに、ダミー光ファイバ10および被測定光ファイバ50からの戻り光をAPD12に送出する光サーキュレータ20と、ダミー光ファイバ10と被測定光ファイバ50とを光結合させる光コネクタ21と、をさらに備える。
また、光パルス試験器1は、APD12によって変換された電気信号を増幅する増幅器22と、増幅器22によって増幅された信号をサンプリングしてデジタル化するA/D変換器23と、A/D変換器23によってデジタル化された信号に対して加算平均化処理等を行うことにより生成した波形データを波形メモリ24に記憶させるとともに、波形データに基づいて被測定光ファイバ50の損失分布特性を算出する損失分布特性算出部25と、波形メモリ24に記憶された波形データおよび被測定光ファイバ50の損失分布特性を表示する表示部26と、をさらに備える。
さらに、光パルス試験器1は、タイミング発生器18、駆動回路19、A/D変換器23、損失分布特性算出部25、表示部26を制御する制御部27を備える。
ダミー光ファイバ10は、光コネクタ21を介して被測定光ファイバ50に接続されており、損失分布特性等が予め既知であり、例えば50m程度の長さを有する。
タイミング発生器18は、典型的なパルス周期が50マイクロ秒(μs)程度かつパルス幅が5ナノ秒(ns)程度のパルスタイミング信号EPを駆動回路19へ出力する。
駆動回路19は、タイミング発生器18から出力されるパルスタイミング信号EPを検出すると、光パルスPの出射タイミング、光パワーレベル、波長などの情報を含む信号をパルス光源11に出力する。パルス光源11は、直接変調にて光パルスPを生成する半導体レーザである。
逆バイアス電圧温度特性メモリ15は、所定温度T0(=25℃)においてAPD12を所望の増倍率で動作させるための逆バイアス電圧VA(25℃)および典型的な温度傾斜を予め記憶している。一般に、逆バイアス電圧の温度傾斜はAPDごとに異なるが、逆バイアス電圧温度特性メモリ15は、例えば図2の実線で示されるような逆バイアス電圧VA(25℃)が60VであるAPDの逆バイアス電圧VAの温度傾斜−0.12V/℃を記憶している。
損失分布特性算出部25は、パルスタイミング信号EPがタイミング発生器18から出力されるごとに、A/D変換器23によってサンプリングされたデータを一連の波形データとして取得する波形データ取得処理と、パルスタイミング信号EPがタイミング発生器18から所定回数出力されるごとに、波形データ取得処理において取得された波形データを加算し平均化する平均化処理と、平均化処理において平均化された波形データを波形メモリ24に記憶させる記憶処理と、波形メモリ24に記憶された波形データに基づいて被測定光ファイバ50の損失分布特性を評価する損失分布特性評価処理と、を実行する。
表示部26は、波形メモリ24に記憶された波形データおよび損失分布特性算出部25によって算出された損失分布特性を表示するものであり、CRT(Cathode Ray Tube)やLCD(Liquid Crystal Display)などで構成される。
制御部27は、CPU(Central Processing Unit)と、演算処理結果を記憶するRAM(Random Access Memory)とを含む。
次に、本実施形態の光パルス試験器1の動作について説明する。
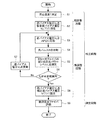
図3は、光パルス試験器1の処理手順の一例を示すフローチャートである。以下、このフローチャートと前述した図2の温度特性にしたがって光パルス試験器1の動作をその処理手順にしたがって説明する。処理手順は、APD12に印加される逆バイアス電圧VAの粗調整段階(ステップS1、S2)および微調整段階(ステップS3〜S8)からなる校正段階と、被測定光ファイバ50の測定段階(ステップS9)と、を含む。
まず、APD12の周辺温度Tが温度センサ14によって測定される(ステップS1)。
ステップS1で測定された周辺温度T、逆バイアス電圧温度特性メモリ15に予め記憶された逆バイアス電圧VA(25℃)および温度傾斜−0.12V/℃に基づいて、APD12に対する暫定逆バイアス電圧V0(T)が、暫定バイアス設定部16によって算出され、バイアス印加部13に設定される(ステップS2)。ここで、暫定逆バイアス電圧V0(T)は[数1]によって求められる。
Figure 0005118601
バイアス印加部13によって逆バイアス電圧VAとして暫定逆バイアス電圧V0(T)が設定されることにより、APD12に暫定逆バイアス電圧V0(T)が印加される(ステップS3)。
タイミング発生器18からパルスタイミング信号EPが出力されると、駆動回路19によって駆動されたパルス光源11から光パルスPが出射される。パルス光源11から出射された光パルスPは、光サーキュレータ20を介してダミー光ファイバ10に出射され、ダミー光ファイバ10を透過した光パルスPは、光コネクタ21を介して被測定光ファイバ50に出射される(ステップS4)。
ダミー光ファイバ10および被測定光ファイバ50に出射された光パルスPは、戻り光となって光サーキュレータ20を介してAPD12に受光されて電気信号に変換される。APD12によって変換された戻り光の電気信号は、増幅器22によって増幅された後にA/D変換器23によってサンプリングされてデジタル信号に変換される。
A/D変換器23から出力されたデジタル信号は、損失分布特性算出部25に入力され、パルスタイミング信号EPがタイミング発生器18から出力されるごとに一連の波形データとして波形メモリ24に記憶される。さらに、パルスタイミング信号EPがタイミング発生器18から所定回数出射されるごとに、波形メモリ24に記憶された波形データは加算されて平均化された後に再び波形メモリ24に記憶される。これにより、ダミー光ファイバ10からの戻り光の光パワーレベルLが取得される(ステップS5)。
ここで、波形メモリ24に記憶された平均化処理後の波形データを図4に模式的に示す。実線はAPD12が所望の増倍率で動作している際に予め測定された、ダミー光ファイバ10からの戻り光の光パワーレベルの初期データL0を示している。一方、一点鎖線は周辺温度Tが25℃よりも低く、APD12の増倍率が所望の増倍率よりも低下した状態で測定されたダミー光ファイバ10からの戻り光の光パワーレベルLを示している。
図4に示すように、光サーキュレータ20とダミー光ファイバ10との接続点におけるフレネル反射光RF1に続き、ダミー光ファイバ10の光導波路中の屈折率の揺らぎなどに起因する後方散乱光SRがAPD12に受光される。後方散乱光SRに続いて、ダミー光ファイバ10と光コネクタ21との微小なずれにより生じるフレネル反射光RF2がAPD12に受光される。
補正バイアス設定部17によって、後方散乱光SRが受光された区間の任意の距離における戻り光の光パワーレベルLが、該距離における初期データの光パワーレベルL0と所定の範囲内(例えば±1%)で一致しているか否かが判定される(ステップS6)。
戻り光の光パワーレベルLが該距離における初期データの光パワーレベルL0と所定の範囲内で一致していないと判定された場合には、補正バイアス設定部17によって、逆バイアス電圧VAを刻みα(例えば±0.1V)で変化させた値がバイアス印加部13に設定され、ステップS3の処理に戻る(ステップS7)。ここで、周辺温度Tが25℃よりも低い場合にはα>0、周辺温度Tが25℃よりも高い場合にはα<0である。
戻り光の光パワーレベルLが該距離における初期データの光パワーレベルL0と所定の範囲内で一致していると判定された場合には、そのときAPD12に印加されている逆バイアス電圧が補正逆バイアス電圧V(T)として決定され、バイアス印加部13に設定される(ステップS8)。
バイアス印加部13によって逆バイアス電圧VAとして補正逆バイアス電圧V(T)が設定されることにより、APD12に補正逆バイアス電圧V(T)が印加される。ダミー光ファイバ10に対して行われたステップS4、ステップS5の処理と同様に、損失分布特性算出部25によって波形データが算出される。さらに、損失分布特性算出部25によって被測定光ファイバ50の損失分布特性が算出され、波形データおよび損失分布特性が表示部26に表示される(ステップS9)。
以上説明したように、本実施形態の光パルス試験器は、予め定められた逆バイアス電圧の温度傾斜を用いてAPDに印加される逆バイアス電圧の粗調整を行った後に微調整を行って増倍率を一定に保つため、APDの個別調整を省略できるとともに、より微弱な試験光の戻り光を検出することができる。
また、本実施形態によれば、例えばペルチェ素子を用いた温度制御により周辺温度を一定にする必要がないため、低コストで光パルス試験器を提供することができる。
本発明の実施形態の光パルス試験器を示すブロック図 本発明の実施形態の光パルス試験器におけるアバランシェフォトダイオードの逆バイアス電圧温度特性およびその補正を示す図 本発明の実施形態の光パルス試験器の処理手順の一例を示すフローチャート ダミー光ファイバからの戻り光の光パワーレベルを示す模式図
符号の説明
1 光パルス試験器
10 ダミー光ファイバ
11 パルス光源
12 アバランシェフォトダイオード(APD)
13 バイアス印加部
14 温度センサ
15 逆バイアス電圧温度特性メモリ
16 暫定バイアス設定部
17 補正バイアス設定部
50 被測定光ファイバ

Claims (1)

  1. ダミー光ファイバ(10)を介して被測定光ファイバ(50)に光パルス(P)を出射するパルス光源(11)と、
    前記ダミー光ファイバおよび前記被測定光ファイバからの前記光パルスの戻り光を電気信号に変換するアバランシェフォトダイオード(12)と、
    前記アバランシェフォトダイオードに逆バイアス電圧を印加するバイアス印加部(13)と、を備え、
    前記アバランシェフォトダイオードによって変換された電気信号に基づいて前記被測定光ファイバの損失分布特性を測定する光パルス試験器において、
    前記アバランシェフォトダイオードの周辺温度を検出する温度センサ(14)と、
    前記アバランシェフォトダイオードを所定温度において所望の増倍率で動作させるための逆バイアス電圧および予め定められた逆バイアス電圧の温度傾斜を記憶する逆バイアス電圧温度特性メモリ(15)と、
    前記温度センサで検出された周辺温度、ならびに、前記逆バイアス電圧温度特性メモリに記憶された逆バイアス電圧および温度傾斜に基づいて、前記アバランシェフォトダイオードに印加される逆バイアス電圧の暫定値を算出して前記バイアス印加部に設定する暫定バイアス設定部(16)と、
    前記暫定バイアス設定部で算出された逆バイアス電圧が前記バイアス印加部によって前記アバランシェフォトダイオードに印加された状態における前記ダミー光ファイバからの戻り光の電気信号に基づいて、前記アバランシェフォトダイオードを前記所望の増倍率で動作させるための逆バイアス電圧の補正値を算出して前記バイアス印加部に設定する補正バイアス設定部(17)と、を備えることを特徴とする光パルス試験器。
JP2008274364A 2008-10-24 2008-10-24 光パルス試験器 Active JP5118601B2 (ja)

Priority Applications (1)

Application Number Priority Date Filing Date Title
JP2008274364A JP5118601B2 (ja) 2008-10-24 2008-10-24 光パルス試験器

Applications Claiming Priority (1)

Application Number Priority Date Filing Date Title
JP2008274364A JP5118601B2 (ja) 2008-10-24 2008-10-24 光パルス試験器

Publications (2)

Publication Number Publication Date
JP2010101794A JP2010101794A (ja) 2010-05-06
JP5118601B2 true JP5118601B2 (ja) 2013-01-16

Family

ID=42292563

Family Applications (1)

Application Number Title Priority Date Filing Date
JP2008274364A Active JP5118601B2 (ja) 2008-10-24 2008-10-24 光パルス試験器

Country Status (1)

Country Link
JP (1) JP5118601B2 (ja)

Family Cites Families (3)

* Cited by examiner, † Cited by third party
Publication number Priority date Publication date Assignee Title
JP4166473B2 (ja) * 2002-01-10 2008-10-15 日本電信電話株式会社 光線路試験装置及び光源出力レベルの監視方法
JP5515199B2 (ja) * 2007-05-16 2014-06-11 横河電機株式会社 光パルス試験装置及びその調整方法
JP5061981B2 (ja) * 2008-03-19 2012-10-31 横河電機株式会社 光パルス試験器および光パルス試験器の光パワー安定化方法

Also Published As

Publication number Publication date
JP2010101794A (ja) 2010-05-06

Similar Documents

Publication Publication Date Title
US8858069B2 (en) Optical fiber temperature distribution measuring device
US8046188B2 (en) Temperature sensor and temperature measuring method
EP2966426B1 (en) Optical fiber temperature distribution measuring device
US7744275B2 (en) Optical fiber temperature sensing device
EP3093639A1 (en) Distributed optical sensing devices and methods performing a measurement
JP7200989B2 (ja) 光ファイバの伝送損失測定方法およびotdr測定装置
US9952104B2 (en) Optical fiber temperature distribution measuring device
EP4015989A1 (en) Device and method for measuring vibrational distribution
US11029232B2 (en) Optical time domain reflectometer and testing method of optical time domain reflectometer
KR20080074767A (ko) 광파워 계측장치 및 그 장치를 구비한 광신호 수신장치
JP2017072389A (ja) 光線路特性解析装置及び光線路特性解析方法
JP5432885B2 (ja) Apdの自動調整機能を備えた光パルス試験器またはその方法
JP2011007618A (ja) 光パルス試験装置
JP5118601B2 (ja) 光パルス試験器
JP2013152182A (ja) ブリルアン光パルス試験器
JP5515199B2 (ja) 光パルス試験装置及びその調整方法
JP2012156458A (ja) レーザダイオード駆動回路および光時間領域反射測定器
JP5061981B2 (ja) 光パルス試験器および光パルス試験器の光パワー安定化方法
JP2009281813A (ja) 光ファイバ測定装置
EP1367376A1 (en) Method and apparatus for measuring chromatic dispersion
JP2972973B2 (ja) 光パルス試験器
JPH05172656A (ja) 分布型光ファイバーセンサー
RU2407167C2 (ru) Способ определения длины биений оптического волокна на участке линии передачи
JPH1151808A (ja) 測定装置
JP5470891B2 (ja) 測定装置

Legal Events

Date Code Title Description
A621 Written request for application examination

Free format text: JAPANESE INTERMEDIATE CODE: A621

Effective date: 20110203

A977 Report on retrieval

Free format text: JAPANESE INTERMEDIATE CODE: A971007

Effective date: 20121002

TRDD Decision of grant or rejection written
A01 Written decision to grant a patent or to grant a registration (utility model)

Free format text: JAPANESE INTERMEDIATE CODE: A01

Effective date: 20121009

A01 Written decision to grant a patent or to grant a registration (utility model)

Free format text: JAPANESE INTERMEDIATE CODE: A01

A61 First payment of annual fees (during grant procedure)

Free format text: JAPANESE INTERMEDIATE CODE: A61

Effective date: 20121019

R150 Certificate of patent or registration of utility model

Ref document number: 5118601

Country of ref document: JP

Free format text: JAPANESE INTERMEDIATE CODE: R150

Free format text: JAPANESE INTERMEDIATE CODE: R150

FPAY Renewal fee payment (event date is renewal date of database)

Free format text: PAYMENT UNTIL: 20151026

Year of fee payment: 3

R250 Receipt of annual fees

Free format text: JAPANESE INTERMEDIATE CODE: R250

R250 Receipt of annual fees

Free format text: JAPANESE INTERMEDIATE CODE: R250

R250 Receipt of annual fees

Free format text: JAPANESE INTERMEDIATE CODE: R250

R250 Receipt of annual fees

Free format text: JAPANESE INTERMEDIATE CODE: R250

R250 Receipt of annual fees

Free format text: JAPANESE INTERMEDIATE CODE: R250

R250 Receipt of annual fees

Free format text: JAPANESE INTERMEDIATE CODE: R250

R250 Receipt of annual fees

Free format text: JAPANESE INTERMEDIATE CODE: R250

R250 Receipt of annual fees

Free format text: JAPANESE INTERMEDIATE CODE: R250

R250 Receipt of annual fees

Free format text: JAPANESE INTERMEDIATE CODE: R250

R250 Receipt of annual fees

Free format text: JAPANESE INTERMEDIATE CODE: R250

R250 Receipt of annual fees

Free format text: JAPANESE INTERMEDIATE CODE: R250