JP5113349B2 - Rgb熱隔離基板 - Google Patents

Rgb熱隔離基板 Download PDF

Info

Publication number
JP5113349B2
JP5113349B2 JP2006150628A JP2006150628A JP5113349B2 JP 5113349 B2 JP5113349 B2 JP 5113349B2 JP 2006150628 A JP2006150628 A JP 2006150628A JP 2006150628 A JP2006150628 A JP 2006150628A JP 5113349 B2 JP5113349 B2 JP 5113349B2
Authority
JP
Japan
Prior art keywords
led
submount
contact pad
structure according
leds
Prior art date
Legal status (The legal status is an assumption and is not a legal conclusion. Google has not performed a legal analysis and makes no representation as to the accuracy of the status listed.)
Active
Application number
JP2006150628A
Other languages
English (en)
Other versions
JP2006310874A (ja
Inventor
ジェイ ウォール ジュニア フランクリン
Original Assignee
フィリップス ルミレッズ ライティング カンパニー リミテッド ライアビリティ カンパニー
Priority date (The priority date is an assumption and is not a legal conclusion. Google has not performed a legal analysis and makes no representation as to the accuracy of the date listed.)
Filing date
Publication date
Application filed by フィリップス ルミレッズ ライティング カンパニー リミテッド ライアビリティ カンパニー filed Critical フィリップス ルミレッズ ライティング カンパニー リミテッド ライアビリティ カンパニー
Publication of JP2006310874A publication Critical patent/JP2006310874A/ja
Application granted granted Critical
Publication of JP5113349B2 publication Critical patent/JP5113349B2/ja
Active legal-status Critical Current
Anticipated expiration legal-status Critical

Links

Images

Classifications

    • HELECTRICITY
    • H10SEMICONDUCTOR DEVICES; ELECTRIC SOLID-STATE DEVICES NOT OTHERWISE PROVIDED FOR
    • H10HINORGANIC LIGHT-EMITTING SEMICONDUCTOR DEVICES HAVING POTENTIAL BARRIERS
    • H10H20/00Individual inorganic light-emitting semiconductor devices having potential barriers, e.g. light-emitting diodes [LED]
    • H10H20/80Constructional details
    • H10H20/85Packages
    • H10H20/857Interconnections, e.g. lead-frames, bond wires or solder balls
    • HELECTRICITY
    • H01ELECTRIC ELEMENTS
    • H01LSEMICONDUCTOR DEVICES NOT COVERED BY CLASS H10
    • H01L2224/00Indexing scheme for arrangements for connecting or disconnecting semiconductor or solid-state bodies and methods related thereto as covered by H01L24/00
    • H01L2224/01Means for bonding being attached to, or being formed on, the surface to be connected, e.g. chip-to-package, die-attach, "first-level" interconnects; Manufacturing methods related thereto
    • H01L2224/42Wire connectors; Manufacturing methods related thereto
    • H01L2224/47Structure, shape, material or disposition of the wire connectors after the connecting process
    • H01L2224/48Structure, shape, material or disposition of the wire connectors after the connecting process of an individual wire connector
    • H01L2224/4805Shape
    • H01L2224/4809Loop shape
    • H01L2224/48091Arched
    • HELECTRICITY
    • H01ELECTRIC ELEMENTS
    • H01LSEMICONDUCTOR DEVICES NOT COVERED BY CLASS H10
    • H01L2224/00Indexing scheme for arrangements for connecting or disconnecting semiconductor or solid-state bodies and methods related thereto as covered by H01L24/00
    • H01L2224/01Means for bonding being attached to, or being formed on, the surface to be connected, e.g. chip-to-package, die-attach, "first-level" interconnects; Manufacturing methods related thereto
    • H01L2224/42Wire connectors; Manufacturing methods related thereto
    • H01L2224/47Structure, shape, material or disposition of the wire connectors after the connecting process
    • H01L2224/48Structure, shape, material or disposition of the wire connectors after the connecting process of an individual wire connector
    • H01L2224/481Disposition
    • H01L2224/48151Connecting between a semiconductor or solid-state body and an item not being a semiconductor or solid-state body, e.g. chip-to-substrate, chip-to-passive
    • H01L2224/48221Connecting between a semiconductor or solid-state body and an item not being a semiconductor or solid-state body, e.g. chip-to-substrate, chip-to-passive the body and the item being stacked
    • H01L2224/48225Connecting between a semiconductor or solid-state body and an item not being a semiconductor or solid-state body, e.g. chip-to-substrate, chip-to-passive the body and the item being stacked the item being non-metallic, e.g. insulating substrate with or without metallisation
    • H01L2224/48227Connecting between a semiconductor or solid-state body and an item not being a semiconductor or solid-state body, e.g. chip-to-substrate, chip-to-passive the body and the item being stacked the item being non-metallic, e.g. insulating substrate with or without metallisation connecting the wire to a bond pad of the item
    • HELECTRICITY
    • H01ELECTRIC ELEMENTS
    • H01LSEMICONDUCTOR DEVICES NOT COVERED BY CLASS H10
    • H01L2224/00Indexing scheme for arrangements for connecting or disconnecting semiconductor or solid-state bodies and methods related thereto as covered by H01L24/00
    • H01L2224/73Means for bonding being of different types provided for in two or more of groups H01L2224/10, H01L2224/18, H01L2224/26, H01L2224/34, H01L2224/42, H01L2224/50, H01L2224/63, H01L2224/71
    • H01L2224/732Location after the connecting process
    • H01L2224/73251Location after the connecting process on different surfaces
    • H01L2224/73265Layer and wire connectors
    • HELECTRICITY
    • H01ELECTRIC ELEMENTS
    • H01LSEMICONDUCTOR DEVICES NOT COVERED BY CLASS H10
    • H01L25/00Assemblies consisting of a plurality of semiconductor or other solid state devices
    • H01L25/03Assemblies consisting of a plurality of semiconductor or other solid state devices all the devices being of a type provided for in a single subclass of subclasses H10B, H10D, H10F, H10H, H10K or H10N, e.g. assemblies of rectifier diodes
    • H01L25/04Assemblies consisting of a plurality of semiconductor or other solid state devices all the devices being of a type provided for in a single subclass of subclasses H10B, H10D, H10F, H10H, H10K or H10N, e.g. assemblies of rectifier diodes the devices not having separate containers
    • H01L25/075Assemblies consisting of a plurality of semiconductor or other solid state devices all the devices being of a type provided for in a single subclass of subclasses H10B, H10D, H10F, H10H, H10K or H10N, e.g. assemblies of rectifier diodes the devices not having separate containers the devices being of a type provided for in group H10H20/00
    • H01L25/0753Assemblies consisting of a plurality of semiconductor or other solid state devices all the devices being of a type provided for in a single subclass of subclasses H10B, H10D, H10F, H10H, H10K or H10N, e.g. assemblies of rectifier diodes the devices not having separate containers the devices being of a type provided for in group H10H20/00 the devices being arranged next to each other
    • HELECTRICITY
    • H01ELECTRIC ELEMENTS
    • H01LSEMICONDUCTOR DEVICES NOT COVERED BY CLASS H10
    • H01L2924/00Indexing scheme for arrangements or methods for connecting or disconnecting semiconductor or solid-state bodies as covered by H01L24/00
    • H01L2924/013Alloys
    • H01L2924/0132Binary Alloys
    • H01L2924/01322Eutectic Alloys, i.e. obtained by a liquid transforming into two solid phases
    • HELECTRICITY
    • H01ELECTRIC ELEMENTS
    • H01LSEMICONDUCTOR DEVICES NOT COVERED BY CLASS H10
    • H01L2924/00Indexing scheme for arrangements or methods for connecting or disconnecting semiconductor or solid-state bodies as covered by H01L24/00
    • H01L2924/10Details of semiconductor or other solid state devices to be connected
    • H01L2924/11Device type
    • H01L2924/12Passive devices, e.g. 2 terminal devices
    • H01L2924/1204Optical Diode
    • H01L2924/12041LED
    • HELECTRICITY
    • H10SEMICONDUCTOR DEVICES; ELECTRIC SOLID-STATE DEVICES NOT OTHERWISE PROVIDED FOR
    • H10HINORGANIC LIGHT-EMITTING SEMICONDUCTOR DEVICES HAVING POTENTIAL BARRIERS
    • H10H20/00Individual inorganic light-emitting semiconductor devices having potential barriers, e.g. light-emitting diodes [LED]
    • H10H20/80Constructional details
    • H10H20/85Packages
    • H10H20/8506Containers
    • HELECTRICITY
    • H10SEMICONDUCTOR DEVICES; ELECTRIC SOLID-STATE DEVICES NOT OTHERWISE PROVIDED FOR
    • H10HINORGANIC LIGHT-EMITTING SEMICONDUCTOR DEVICES HAVING POTENTIAL BARRIERS
    • H10H20/00Individual inorganic light-emitting semiconductor devices having potential barriers, e.g. light-emitting diodes [LED]
    • H10H20/80Constructional details
    • H10H20/85Packages
    • H10H20/858Means for heat extraction or cooling
    • H10H20/8582Means for heat extraction or cooling characterised by their shape

Landscapes

  • Led Device Packages (AREA)
  • Led Devices (AREA)

Description

本発明は、発光ダイオード(LED)に関し、より詳細には、異なるタイプの複数の色のLEDを熱的に隔離するための装着基板に関する。
赤色、緑色、及び青色LEDダイを単一のサブマウントに装着して白色光モジュールを作成することは公知である。サブマウントは、熱伝導性で電気絶縁性の基板(例えば、セラミック)であり、LED接点から2つ又はそれよりも多くのリード又は半田接触パッドに至る導体が基板上に形成されている。導体は、典型的に、LEDの少なくとも一部を直列及び/又は並列に相互接続する。サブマウントは、次に、通常は電源及び/又は他のサブマウントに至るコネクタを有するプリント回路基板上に装着される。各ダイによって発生した熱は、サブマウントに移動し、最後にはサブマウントに熱的に結合した放熱板(例えば、回路基板)に移動する。サブマウント全体は実質的に同じ温度であるから、他のLEDに比較して相対的に低い熱を発生するLEDは、他のLEDによって加熱されることになる。例えば、目標とする光出力を生成させるためには、より少ない電流が赤色LEDを通過すればよいので、赤色LEDによって発生する熱は、青色LEDによって発生する熱よりも少ないであろう。
赤色及び琥珀色LEDは、典型的に、AlInGaPエピタキシャル層を用いて形成され、一方、緑色及び青色LEDは、典型的に、AlInGaNエピタキシャル層を用いて形成される。AlInGaPのLEDの光出力は、非常に温度感受性であり(より高温=より低出力)、AlInGaNのLEDの光出力よりも遥かに感受性が高い。すなわち、RGBモジュールの全体の色(例えば、白色点)は、温度で変化することになる。これは、モジュールがカラーディスプレイに又はフラットパネルディスプレイのバックライト用に使用される時には特に望ましくないことである。更に、AlInGaPのLEDの過度の加熱は、その耐用期間を縮めることになる。
更に、赤色LEDは、典型的に厚い窓層を有するために、一般的に青色LEDよりも厚い。従って、赤色LEDは、共通サブマウント上でより高く着座し、赤色及び緑/青色LEDが異なる光出力出射平面を有する結果になる。これは、モジュールの全体的な色出力のばらつきを引き起こす。
米国特許第6,649,440号 米国特許第6,547,249号 米国特許第6,274,399号 米国特許第6,229,160号 米国特許第5,233,204号
上述の加熱の問題を回避するために、RGBのLEDを別々のサブマウント上に装着することもできるが、これは、付加的なコスト、RGBモジュールのためのより大きい面積、割増の配線にわたる電圧降下、及び他の欠点を生じさせる。
赤色、緑色、及び青色LEDのためのサブマウントを説明する。サブマウントは、緑色/青色AlInGaNのLEDによって発生した高熱が、熱感受性の赤色/琥珀色AlInGaPのLEDに伝導しないように、サブマウント内に熱的に隔離された溝及び/又は穴を有する。サブマウントは、様々な構成にLEDを相互接続するための導体を収容している。
一実施形態では、AlInGaPのLEDは、サブマウント内に引っ込んでおり、そのために全てのLEDが同じ光出射平面を有する。
このサブマウントは、黄色、琥珀色、オレンジ色、青緑色のような他の色を発生するLEDに対して使用することもできる。
予備的に、異なるタイプ及び色の従来のLEDが形成される。使用される実施例において、LEDの1つのタイプは、緑色光、青緑色光、青色光、又はUV光を生成するためのAlInGaNのLEDのようなGaNベースのLEDである。典型的には、p及びn型エピタキシャルGaN層を従来技術を用いてサファイア基板上に成長させる。p層は、典型的には上部層であり、上面で金属電極によって接触される。
様々な技術を使用して、下に重なるn層への電気的アクセスが得られる。フリップチップの例においては、p層及び活性層の一部分がエッチングで除去され、n層が金属化のために露出される。このようにして、p接点及びn接点は、チップの同じ側にあってサブマウントの接触パッドに直接電気的に取り付けることができる。n金属接点からの電流は、n層を通って最初に横方向に流れる。対照的に、垂直注入型(非フリップチップ)LEDにおいては、n接点は、チップの一方の側に形成され、p接点は、チップの他方の側に形成される。p又はn接点の一方への電気接触は、典型的にワイヤ又は金属ブリッジを用いて行われ、他方の接点は、サブマウントの接触パッドに直接に接合される。この例においては、フリップチップのGaNのLEDが使用されるが、ワイヤ接合式のGaNのLEDも本発明から同様に恩典を受けることができる。
赤色、琥珀色、オレンジ色、及び黄色光に関しては、LEDは、AlInGaP材料システムを用いて形成される。AlInGaPのLEDにおいては、p及びn型エピタキシャルAlInGaP層を通常はGaAs基板上に成長させ、引き続き導電性窓層の成長又はウェーハ接合が行われる。光吸収性のGaAs基板は除去してもよい。LEDは、フリップチップとして形成することができ、又はワイヤ接合を使用することもできる。
AlInGaN及びAlInGaPという表現は、望ましい色を達成するためにあらゆるAl及びInの割合(ゼロを含む)を有するGaN又はGaPベースを備えたLEDを意味するために用いられる。
こういった複数の色のLEDを形成する方法は公知である。LEDの形成の一部の例は、引用により組み込まれている米国特許第6,649,440号、第6,547,249号、第6,274,399号、第6,229,160号、及び第5,233,204号に説明されており、その全ては、「Lumileds Lighting」に譲渡されたものである。
LEDのウェーハはダイスカットされ、通常は約1mm2又はそれ未満の程度の個々のLEDダイが生成される。
異なる色のLED(例えば、AlInGaN及びAlInGaPのLED)を白色光又は何らかの他の混成色を作り出すために単一モジュールに組み合わせるために、LEDダイは、図1−5に関して説明されるサブマウント10上に装着される。
サブマウント10は、セラミックのような電気絶縁性材料の層で形成される。他の実施形態では、サブマウントは、酸化物の層が電気絶縁性をもたらすシリコンとすることができる。
LED12−23が示されている。他の実施形態では、より多くの又はより少ないLEDを使用することができる。熱感受性のAlInGaPのLED20−23は、引っ込んだ中央位置26に装着される。LED20−30は、一般的に、赤色、オレンジ色、琥珀色、又は黄色光(すなわち、575nmよりも長い波長)を発生する。LED12−19は、GaNベースであり、典型的に、青色、青緑色、緑色光(すなわち、575nmよりも短い波長)を発生する。GaNのLEDは、AlInGaPのLEDよりも熱感受性が低い。8つのGaNのLEDは、4つのAlInGaPのLEDよりも多くの熱を通常は発生することになり、その理由は、目標とする輝度を達成するためにGaNのLEDにより多くの電流が印加される場合があり(GaNのLEDは、AlInGaPのLEDよりも低効率である)、熱を生じるGaNのLEDがより多く存在するからである。
GaNのLED12−19をAlInGaPのLED20−23から熱的に実質的に隔離するために、溝28−31がサブマウント10内に形成され、GaNのLEDとAlInGaPのLEDとの間の熱伝導経路における遮断を生じさせる。
溝28−31は、構造的一体性を維持するためにAlInGaPのLEDを完全には取り囲まないが、他の実施形態では、溝は、AlInGaPのLEDを完全に取り囲む。
図2は、4つのAlInGaPのLEDのための接触パッド34と、GaNのLEDのための一組の接触パッド38との例を示している。簡単にするために、一組のみのGaNのLED接触パッド38を示すが、サブマウント10上の多くの異なる接触パッド配列があると考えられる。
この例においては、AlInGaPのLEDは、フリップチップではなく、上部電極のためのワイヤ接合を必要とする。AlInGaPのLEDのための接触パッド34は、AlInGaPのLEDの底部電極(例えば、n電極)に直接半田付けするための金属(例えば、金)パッド40と、AlInGaPのLEDの上部電極(例えば、p電極)及びパッド42の間のワイヤの接続のための金属パッド42とで構成される。
GaNのLEDは、この例においては、n及びp金属電極の両方をダイの底部に有するフリップチップである。GaNのLEDのための接触パッド38は、LEDの底面のn及びp電極と位置合せした一組のn接点44と一組のp接点46とで構成される。接点は、一実施形態では金である。電極は、LED活性層を通る電流がより均一に分布するように分配されている。このように分布したn及びp電極を用いるフリップチップは、本出願人に譲渡された米国特許第6,547,249号に説明されている。
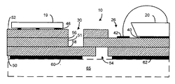
図3は、図1の中心線3−3に沿ったサブマウント10の一部分の断面図である。重要な特徴をより良好に示すために、この図は必ずしも一定の比率では描かれてはいない。この例においては、サブマウント10は、3つのセラミック層50、51、52で形成され、各セラミック層の間にパターン金属層56及び58を有する。セラミック層は、成形によって形成することができる(結合剤中のセラミック粒子が加圧下で成形中に硬化される)。セラミック基板の形成は公知である。金属層は、スパッタリング又は別の方法で堆積させて、エッチング剤を用いてパターン化することができる。
深い溝30が、成形工程又はエッチング工程によって上部の2つの層51及び52に形成され、LED19の下の層部分51及び52をLED20の下の層部分51から熱的に隔離する。別の実施形態では、溝は、層の1つの部分と層の別の部分との間の熱的接触面積を低減するための一連の穴である。
層50における穴54のパターン(図5にも示す)は、凹部部分26を実質的に取り囲み、LED19の下の層50をLED20の下の層50から熱的に隔離している。
すなわち、溝28−31(図1)及び穴54によって実行される2つのレベルの熱隔離が存在している。溝28−31によって提供される熱隔離が十分である場合は、穴54を削除することができる。
サブマウント10の表面上の金属接点パッドは、セラミック層の間のパターン金属層56及び58に電気的に接続し、これは、次に、サブマウント10の底部上の半田パッド(図5も参照されたい)に接続する。一実施形態では、半田パッド60は、LED19のn又はp電極に電気的に結合し、中心半田パッド62は、下に重なる放熱板への熱伝導のためのみに使用される。
図5は、様々な半田パッドを示すサブマウント10の底面図である。半田パッドの多くの構成が可能であり、それらは、使用されるLEDの数及び種類に依存する。
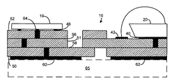
図4は、様々なセラミック層を通って接触パッド、金属層、及び半田パッドを電気的に相互接続する可能なバイア64を示している。バイアの穴は、成形によって形成することができ、スパッタリングを用いて金属で充填される。
金属層56及び58のパターン化及びバイア64の位置は、様々なLEDが相互接続される方法を決める。一実施形態では、全ての緑色LED(例えば、図1におけるLED14、15、18、及び19)は、直列に接続できて、サブマウント10の底部上の同じn及びp半田パッド60及び64(図5)に接続することができる。全ての青色LED(例えば、LED12、13、16、及び17)は、直列に接続できて、同じn及びp半田パッド66及び68に接続することができる。全てのAlInGaPのLED(例えば、LED20−23)は、直列に接続できて、同じn及びp半田パッド70及び72に接続することができる。別の実施形態では、LEDの群はまた、並列にも接続することができる。特定の構成は、目標とする電圧降下、要求される電流、使用されるLEDのタイプ、目標とする色混合のような因子、及び他の因子に依存する。
中央半田パッド62は、放熱板への熱的結合のためだけとすることができ、又はAlInGaPのLEDのための接点とすることもできると考えられる。
1つ又はそれよりも多くのサブマウント10は、他のLEDモジュール及び電源に接続するための金属リードを収容することができるプリント回路基板65(破線の外形で示す)に半田接合することができる。回路基板65は、様々なLEDと直列及び/又は並列に相互接続することができる。回路基板65は、放熱板の目的からアルミ二ウムシートとすることができ、その表面上に薄い電気絶縁層とこの絶縁層の上に金属導体パターンとを有する。回路基板上の対応するパッドに接合されたサブマウントの半田パッドは、アルミ二ウム放熱板への良好な熱経路を提供する。この回路基板は、より大きい放熱板上に装着することができる。
サブマウント10の底面上の半田パッドの代りに、電気接点は、表面装着パッド、サブマウントから延びるリード、プラグ又はソケット、キャステレーション、又は電気的インタフェースのための他の手段とすることができる。
サブマウントは、直接に電源に接続することができるので、回路基板上へのサブマウントの装着は任意的である。
サブマウント10によって提供される熱的分断に加えて、凹部区域26(図1及び図3)が、上部セラミック層52のエッチング又は成形によって設けられる。図示の例においては、AlInGaPのLEDの高さは、GaNのLEDの高さよりも大きいので、凹部26は、サブマウント10上に装着された後に、AlInGaP及びGaNのLEDの上部を実質的に同じ高さにする。このようにして、GaN及びAlInGaPのLEDの光出射平面は同じ高さであり、GaNのLEDの側面から放射された光は、より高いAlInGaPのLEDによって阻止されない。これは、モジュール周囲のより均一な色の光パターンをもたらす。
サブマウント10の別の恩典は、AlInGaPのLEDは、半田リフローによってサブマウントの接触パッド40(図2)に接合することができ、同時にGaNフリップチップは、スタッドバンプ38によって接触パッド38に接合することができることである。GaNのLEDの金スタッドバンプ電極は、公知の技術によって金接触パッドに超音波溶接される。AlInGaPのLEDの底面は、共晶AuSn半田(融点280℃)がその上にスパッタリングされている。AlInGaPのLEDは、金接触パッド40上に位置決めされ、接触パッド40は、280℃よりも僅かに高温に加熱されて半田をリフローさせ、LED電極を接触パッドに接合する。サブマウント10の中央部分の加熱がサブマウント10の外側部分の温度に大きく影響しないので、半田リフローの前又は後でGaNのLEDをサブマウント10に接合することができる。
別の実施形態では、GaNのLEDは、あらゆる構成の接触パッドに半田付けされる。
RGBのLED群のアレイを単一のサブマウント上に装着することができる。例えば、各RGB群は、ディスプレイのためのRGBピクセルとして作用することができ、従って、単一サブマウント上のRGB群のアレイは、小さいカラーディスプレイとして作用することができる。このようなサブマウントは、あらゆる大きさとすることができる。サブマウントのアレイは、全ディスプレイのための十分なピクセルを提供し、又は照明のための制御可能カラー光源として作用することができる。
一実施形態では、サブマウントの上部表面積は、6mm2−4cm2の間であり、サブマウント上に装着されるLEDの数に依存する。
見て理解されるように、本発明のサブマウントは、熱感受性LEDを熱発生LEDから熱的に隔離することにより、複数の色のLEDモジュールの性能を向上させるものである。その結果、混合された色は、長期にわたってより均一である。更に、凹部部分は、全てのLEDの光出射平面を均等にする。
凹部部分の位置は、サブマウント上のあらゆる場所とすることができる。また、溝及び穴の配列は、あらゆる適切なパターンとすることができる。サブマウントを利用することができるLEDは、GaP及びGaNのLEDに限定されない。
RGBのLEDを有するサブマウント10は、ディスプレイバックライトのための均一な白色光を生成するのに特に有用である。図6は、液晶ディスプレイ(LCD)76又はバックライトを使用する他のディスプレイのためのバックライト74の断面図である。一般的な用途は、テレビジョン、モニタ、携帯電話などのためのものである。上述のRGBのLEDサブマウント78の1つ又はそれよりも多くは、回路基板80上に装着される。LEDサブマウント78は、二次元アレイを形成することができる。バックライトボックスの底部及び側壁82は、好ましくは、白色反射拡散性材料で被覆される。様々な複数色のLEDからの光は、ボックス内で混合されて均一な白色光が生成される。図6には、制御可能RGBピクセル(シャッター)を有するLCD画面84及び拡散器86も示されている。
本発明の特定的な実施形態を示して説明したが、本発明を逸脱することなくそのより広い態様において変更及び修正を行うことができ、従って、特許請求の範囲は、その範囲内に全てのそのような変更及び修正を本発明の真の精神及び範囲に該当するものとして含むことは当業者には明らかであろう。
LEDの位置、AlInGaPのLEDに対する中央凹部部分、及びサブマウント内の熱隔離溝を示すRGBのLEDサブマウントの上面図である。 LEDのうちの一部に対する接触パッドを示すサブマウントの上面図である。 熱隔離溝及び穴を示すLEDのサブマウントの部分断面図である。 LED電極を様々な導体層及び底部半田パッドに電気的に結合するためのバイアを更に示すサブマウントの部分断面図である。 あらゆる構成でLED電極に接続することができる様々な半田パッドを示すサブマウントの底面図である。 バックライトとしてサブマウント上に装着されたRGBのLEDを使用する液晶ディスプレイ(LCD)の断面図である。
符号の説明
10 サブマウント
12、13、14、15、16、17、18、19 LEDGaNのLED
20、21、22、23 AlInGaPのLED
28、29、30、31 溝

Claims (20)

  1. 発光ダイオード(LED)構造体であって、
    電気的に絶縁した本体と、導電体と、少なくとも第1のLEDに接合するための第1の接触パッドと、少なくとも第2のLEDに接合するための第2の接触パッドとを含むサブマウントと、
    前記第1の接触パッドに接合した前記第1のLEDと前記第2の接触パッドに接合した前記第2のLEDとの間の熱隔離を高めるために該第1の接触パッドと該第2の接触パッドの間の前記サブマウントにある少なくとも1つの不連続部と、
    を含み、
    前記サブマウントは、電気絶縁材料の少なくとも第1の層及び第2の層を含み、
    前記少なくとも1つの不連続部は、前記第1の層に形成された少なくとも1つの溝を含み、
    前記少なくとも1つの不連続部はまた、第2の層に前記少なくとも1つの溝の真下ではない少なくとも1つの不連続部を含む、
    ことを特徴とする構造体。
  2. 前記第1のLEDは、GaPベースのLEDであり、
    前記第2のLEDは、GaNベースのLEDである、
    ことを特徴とする請求項1に記載の構造体。
  3. 前記サブマウントは、中央部分及び該中央部分を取り囲む外側部分を有し、
    前記第1の接触パッドは、前記中央部分にあり、前記第2の接触パッドは、前記外側部分にあり、前記少なくとも1つの不連続部は、該中央部分と該外側部分の間にある、
    ことを特徴とする請求項1に記載の構造体。
  4. 前記第1の接触パッドを支持する、前記サブマウントの凹部部分を更に含むことを特徴とする請求項1に記載の構造体。
  5. 前記第2のLEDは、フリップチップであることを特徴とする請求項1に記載の構造体。
  6. 前記第1のLEDは、ワイヤによって前記第1の接触パッドの1つに接続した1つの電極を有することを特徴とする請求項1に記載の構造体。
  7. 前記サブマウントは、前記少なくとも2つの層の間に前記導電体を含むことを特徴とする請求項1に記載の構造体。
  8. 前記導電体は、前記第1の接触パッドと前記第2の接触パッドを相互接続していることを特徴とする請求項に記載の構造体。
  9. 複数の組の第1の接触パッドと複数の組の第2の接触パッドがあることを特徴とする請求項1に記載の構造体。
  10. 前記サブマウントの中央部分に位置する複数の組の第1の接触パッドと該サブマウントの外側部分に位置する複数の組の第2の接触パッドとが存在し、
    前記サブマウントにある前記少なくとも1つの不連続部は、前記複数の組の第1の接触パッドと前記複数の組の第2の接触パッドとの間にある、
    ことを特徴とする請求項1に記載の構造体。
  11. 前記サブマウントの前記中央部分は、引っ込んでいることを特徴とする請求項10に記載の構造体。
  12. 前記第1の表面上の前記第1の接触パッドと前記第2の接触パッドとが前記導電体によって電気的に結合した第3の接触パッドを前記サブマウントの第2の表面上に更に含むことを特徴とする請求項1に記載の構造体。
  13. 前記電気的に絶縁した本体は、セラミックであることを特徴とする請求項1に記載の構造体。
  14. 前記第1のLEDは、575nmよりも長い波長を有する光を放射し、前記第2のLEDは、575nmよりも短い波長を有する光を放射することを特徴とする請求項1に記載の構造体。
  15. 前記第1の表面上に少なくとも第3のLEDに接合するための第3の接触パッドを更に含み、前記第1のLEDは、第1の色の光を放射し、前記第2のLEDは、第2の色の光を放射し、該第3のLEDは、第3の色の光を放射することを特徴とする請求項1に記載の構造体。
  16. 前記第1の色は、赤色であり、前記第2の色は、青色であり、前記第3の色は、緑色であることを特徴とする請求項15に記載の構造体。
  17. 前記第1の接触パッドを支持する、前記サブマウントの引っ込んだ部分と、前記第2の接触パッドを支持する引っ込んでいない部分とを更に含み、
    前記第1のLEDの上面と前記第2のLEDの上面は、前記サブマウント上に装着された時に実質的に同じ平面にある、
    ことを特徴とする請求項1に記載の構造体。
  18. 前記サブマウントが装着されたプリント回路基板を更に含むことを特徴とする請求項1に記載の構造体。
  19. 前記サブマウントを収容し、ディスプレイのためのバックライトを形成する反射性筐体を更に含むことを特徴とする請求項1に記載の構造体。
  20. 前記サブマウントは、回路基板上に装着されるようになっていることを特徴とする請求項1に記載の構造体。
JP2006150628A 2005-04-29 2006-04-28 Rgb熱隔離基板 Active JP5113349B2 (ja)

Applications Claiming Priority (2)

Application Number Priority Date Filing Date Title
US11/118,898 2005-04-29
US11/118,898 US7952112B2 (en) 2005-04-29 2005-04-29 RGB thermal isolation substrate

Publications (2)

Publication Number Publication Date
JP2006310874A JP2006310874A (ja) 2006-11-09
JP5113349B2 true JP5113349B2 (ja) 2013-01-09

Family

ID=36604229

Family Applications (1)

Application Number Title Priority Date Filing Date
JP2006150628A Active JP5113349B2 (ja) 2005-04-29 2006-04-28 Rgb熱隔離基板

Country Status (6)

Country Link
US (1) US7952112B2 (ja)
EP (1) EP1878052B1 (ja)
JP (1) JP5113349B2 (ja)
CN (1) CN101171685B (ja)
TW (1) TWI431819B (ja)
WO (1) WO2006117711A1 (ja)

Families Citing this family (17)

* Cited by examiner, † Cited by third party
Publication number Priority date Publication date Assignee Title
KR101240650B1 (ko) * 2006-01-18 2013-03-08 삼성디스플레이 주식회사 발광 다이오드 모듈, 이를 구비한 백라이트 어셈블리 및이를 구비한 표시 장치
WO2008149267A1 (en) * 2007-06-06 2008-12-11 Koninklijke Philips Electronics N.V. Method and apparatus for driving light emitting elements for projection of images
JP4996998B2 (ja) * 2007-07-02 2012-08-08 シャープ株式会社 照明装置
JP4969332B2 (ja) * 2007-06-19 2012-07-04 シャープ株式会社 基板及び照明装置
WO2008156020A1 (ja) * 2007-06-19 2008-12-24 Sharp Kabushiki Kaisha 基板及び照明装置
JP5536980B2 (ja) * 2007-11-27 2014-07-02 パナソニック株式会社 実装方法
DE102008021014A1 (de) * 2008-04-25 2009-10-29 Alcan Technology & Management Ag Vorrichtung mit einer Mehrschichtplatte sowie Licht emittierenden Dioden
DE102008021402B4 (de) * 2008-04-29 2023-08-10 OSRAM Opto Semiconductors Gesellschaft mit beschränkter Haftung Oberflächenmontierbares Leuchtdioden-Modul und Verfahren zur Herstellung eines oberflächenmontierbaren Leuchtdioden-Moduls
JP5503646B2 (ja) 2008-07-03 2014-05-28 コーニンクレッカ フィリップス エヌ ヴェ 固体光源のための支持モジュール、このようなモジュールを有する照明装置、及びこのような照明装置を製造するための方法
BRPI1005425B1 (pt) * 2009-02-05 2019-11-05 Philips Lighting Holding B.V. dispositivo, sistema e método
CN102349353B (zh) 2009-03-12 2016-03-16 皇家飞利浦电子股份有限公司 具有白炽灯色温性状的led发光设备
CN102639926B (zh) * 2009-12-02 2014-12-24 夏普株式会社 照明装置和显示装置
US9653643B2 (en) 2012-04-09 2017-05-16 Cree, Inc. Wafer level packaging of light emitting diodes (LEDs)
US9666764B2 (en) 2012-04-09 2017-05-30 Cree, Inc. Wafer level packaging of multiple light emitting diodes (LEDs) on a single carrier die
US9142743B2 (en) * 2011-08-02 2015-09-22 Kabushiki Kaisha Toshiba High temperature gold-free wafer bonding for light emitting diodes
JP6519311B2 (ja) 2014-06-27 2019-05-29 日亜化学工業株式会社 発光装置
DE102016104202A1 (de) * 2016-03-08 2017-09-14 Osram Opto Semiconductors Gmbh Optoelektronisches Halbleiterbauteil

Family Cites Families (20)

* Cited by examiner, † Cited by third party
Publication number Priority date Publication date Assignee Title
US4845405A (en) 1986-05-14 1989-07-04 Sanyo Electric Co., Ltd. Monolithic LED display
JPS63226080A (ja) 1987-03-02 1988-09-20 Copal Co Ltd 発光ダイオ−ド複合組立体
JPH0482036A (ja) * 1990-07-24 1992-03-16 Fujitsu Ltd 光ディスクの製造方法および該製造方法に用いる製造装置
US5233204A (en) 1992-01-10 1993-08-03 Hewlett-Packard Company Light-emitting diode with a thick transparent layer
JPH06270470A (ja) 1993-03-25 1994-09-27 Sanyo Electric Co Ltd 光プリントヘッド
JP3572924B2 (ja) 1997-03-06 2004-10-06 松下電器産業株式会社 発光装置及びそれを用いた記録装置
JP3882266B2 (ja) 1997-05-19 2007-02-14 日亜化学工業株式会社 半導体装置
US6229160B1 (en) 1997-06-03 2001-05-08 Lumileds Lighting, U.S., Llc Light extraction from a semiconductor light-emitting device via chip shaping
US6194742B1 (en) 1998-06-05 2001-02-27 Lumileds Lighting, U.S., Llc Strain engineered and impurity controlled III-V nitride semiconductor films and optoelectronic devices
US6133589A (en) 1999-06-08 2000-10-17 Lumileds Lighting, U.S., Llc AlGaInN-based LED having thick epitaxial layer for improved light extraction
WO2000079605A1 (fr) * 1999-06-23 2000-12-28 Citizen Electronics Co., Ltd. Diode électroluminescente
US6614103B1 (en) * 2000-09-01 2003-09-02 General Electric Company Plastic packaging of LED arrays
US6547249B2 (en) 2001-03-29 2003-04-15 Lumileds Lighting U.S., Llc Monolithic series/parallel led arrays formed on highly resistive substrates
WO2002089221A1 (en) * 2001-04-23 2002-11-07 Matsushita Electric Works, Ltd. Light emitting device comprising led chip
JP3668438B2 (ja) 2001-06-07 2005-07-06 シャープ株式会社 チップ発光ダイオード
JP3989794B2 (ja) * 2001-08-09 2007-10-10 松下電器産業株式会社 Led照明装置およびled照明光源
JP4167519B2 (ja) * 2003-01-09 2008-10-15 京セラ株式会社 発光素子収納用パッケージおよび発光装置
US20040184272A1 (en) * 2003-03-20 2004-09-23 Wright Steven A. Substrate for light-emitting diode (LED) mounting including heat dissipation structures, and lighting assembly including same
JP4123105B2 (ja) * 2003-05-26 2008-07-23 松下電工株式会社 発光装置
DE102004034166B4 (de) * 2003-07-17 2015-08-20 Toyoda Gosei Co., Ltd. Lichtemittierende Vorrichtung

Also Published As

Publication number Publication date
EP1878052A1 (en) 2008-01-16
US20060243986A1 (en) 2006-11-02
CN101171685B (zh) 2011-05-04
CN101171685A (zh) 2008-04-30
JP2006310874A (ja) 2006-11-09
EP1878052B1 (en) 2018-12-26
TWI431819B (zh) 2014-03-21
WO2006117711A1 (en) 2006-11-09
TW200707802A (en) 2007-02-16
US7952112B2 (en) 2011-05-31

Similar Documents

Publication Publication Date Title
US10978615B2 (en) Plurality of light emitting devices having opaque insulating layer between them
JP5113349B2 (ja) Rgb熱隔離基板
US7683539B2 (en) Light emitting device package and method for manufacturing the same
TWI467737B (zh) 發光二極體封裝結構、照明裝置及發光二極體封裝用基板
TWI596727B (zh) 用於晶片封裝件之引線架、晶片封裝件、封裝模組,及包括晶片封裝模組之照明設備
US7999277B2 (en) Light emitting device and production method of same
US7956368B2 (en) Semiconductor light emitting device, lighting module, lighting apparatus, and manufacturing method of semiconductor light emitting device
US7420221B2 (en) Semiconductor light-emitting device, lighting module, lighting device and method for manufacturing semiconductor light-emitting device
US8882290B2 (en) Light-mixing type light-emitting apparatus
US20120104426A1 (en) White ceramic led package
US20090050921A1 (en) Light Emitting Diode Array
CN111164753B (zh) 半导体装置及包括该半导体装置的前照灯
KR101711961B1 (ko) 발광 디바이스
JP2003008083A (ja) 多数チップ半導体ledアセンブリ
CN102214776B (zh) 发光二极管封装结构、照明装置及发光二极管封装用基板
EP2478750B1 (en) Light-source module and light-emitting device
US20070246726A1 (en) Package structure of light emitting device
KR100857790B1 (ko) 발광 다이오드 조명장치와 패키지 및 그 제조 방법
US7683475B2 (en) LED chip array module
CN103427333B (zh) 激光二极管阵列晶粒结构及其封装装置
CN118213363B (zh) 发光器件、灯板和显示装置
KR20070036375A (ko) 백색 발광소자 패키지

Legal Events

Date Code Title Description
A621 Written request for application examination

Free format text: JAPANESE INTERMEDIATE CODE: A621

Effective date: 20090427

A977 Report on retrieval

Free format text: JAPANESE INTERMEDIATE CODE: A971007

Effective date: 20110914

A131 Notification of reasons for refusal

Free format text: JAPANESE INTERMEDIATE CODE: A131

Effective date: 20110920

A521 Request for written amendment filed

Free format text: JAPANESE INTERMEDIATE CODE: A523

Effective date: 20111220

TRDD Decision of grant or rejection written
A01 Written decision to grant a patent or to grant a registration (utility model)

Free format text: JAPANESE INTERMEDIATE CODE: A01

Effective date: 20120918

A01 Written decision to grant a patent or to grant a registration (utility model)

Free format text: JAPANESE INTERMEDIATE CODE: A01

A61 First payment of annual fees (during grant procedure)

Free format text: JAPANESE INTERMEDIATE CODE: A61

Effective date: 20121012

FPAY Renewal fee payment (event date is renewal date of database)

Free format text: PAYMENT UNTIL: 20151019

Year of fee payment: 3

R150 Certificate of patent or registration of utility model

Ref document number: 5113349

Country of ref document: JP

Free format text: JAPANESE INTERMEDIATE CODE: R150

Free format text: JAPANESE INTERMEDIATE CODE: R150

FPAY Renewal fee payment (event date is renewal date of database)

Free format text: PAYMENT UNTIL: 20151019

Year of fee payment: 3

R154 Certificate of patent or utility model (reissue)

Free format text: JAPANESE INTERMEDIATE CODE: R154

R250 Receipt of annual fees

Free format text: JAPANESE INTERMEDIATE CODE: R250

R250 Receipt of annual fees

Free format text: JAPANESE INTERMEDIATE CODE: R250

R250 Receipt of annual fees

Free format text: JAPANESE INTERMEDIATE CODE: R250

S111 Request for change of ownership or part of ownership

Free format text: JAPANESE INTERMEDIATE CODE: R313113

S533 Written request for registration of change of name

Free format text: JAPANESE INTERMEDIATE CODE: R313533

R350 Written notification of registration of transfer

Free format text: JAPANESE INTERMEDIATE CODE: R350

R250 Receipt of annual fees

Free format text: JAPANESE INTERMEDIATE CODE: R250

R250 Receipt of annual fees

Free format text: JAPANESE INTERMEDIATE CODE: R250

R250 Receipt of annual fees

Free format text: JAPANESE INTERMEDIATE CODE: R250

R250 Receipt of annual fees

Free format text: JAPANESE INTERMEDIATE CODE: R250

R250 Receipt of annual fees

Free format text: JAPANESE INTERMEDIATE CODE: R250

R250 Receipt of annual fees

Free format text: JAPANESE INTERMEDIATE CODE: R250

R250 Receipt of annual fees

Free format text: JAPANESE INTERMEDIATE CODE: R250

R250 Receipt of annual fees

Free format text: JAPANESE INTERMEDIATE CODE: R250