JP5048869B2 - マスクレス露光装置用光学部品 - Google Patents
マスクレス露光装置用光学部品 Download PDFInfo
- Publication number
- JP5048869B2 JP5048869B2 JP2011510426A JP2011510426A JP5048869B2 JP 5048869 B2 JP5048869 B2 JP 5048869B2 JP 2011510426 A JP2011510426 A JP 2011510426A JP 2011510426 A JP2011510426 A JP 2011510426A JP 5048869 B2 JP5048869 B2 JP 5048869B2
- Authority
- JP
- Japan
- Prior art keywords
- light
- exposure apparatus
- incident
- microprism
- array
- Prior art date
- Legal status (The legal status is an assumption and is not a legal conclusion. Google has not performed a legal analysis and makes no representation as to the accuracy of the status listed.)
- Active
Links
- 230000003287 optical effect Effects 0.000 title claims description 77
- 238000003384 imaging method Methods 0.000 claims description 27
- 230000000903 blocking effect Effects 0.000 claims description 21
- 239000000463 material Substances 0.000 claims description 11
- 239000007769 metal material Substances 0.000 claims description 6
- 239000011248 coating agent Substances 0.000 claims description 5
- 238000000576 coating method Methods 0.000 claims description 5
- 238000003491 array Methods 0.000 claims description 4
- 238000002493 microarray Methods 0.000 claims description 3
- 238000000034 method Methods 0.000 description 14
- 238000012937 correction Methods 0.000 description 4
- 238000004519 manufacturing process Methods 0.000 description 4
- 238000010586 diagram Methods 0.000 description 3
- 238000009792 diffusion process Methods 0.000 description 3
- 230000000694 effects Effects 0.000 description 3
- 230000000149 penetrating effect Effects 0.000 description 2
- NCGICGYLBXGBGN-UHFFFAOYSA-N 3-morpholin-4-yl-1-oxa-3-azonia-2-azanidacyclopent-3-en-5-imine;hydrochloride Chemical compound Cl.[N-]1OC(=N)C=[N+]1N1CCOCC1 NCGICGYLBXGBGN-UHFFFAOYSA-N 0.000 description 1
- 229920000535 Tan II Polymers 0.000 description 1
- 230000004075 alteration Effects 0.000 description 1
- 230000008901 benefit Effects 0.000 description 1
- 230000008859 change Effects 0.000 description 1
- 239000003795 chemical substances by application Substances 0.000 description 1
- 239000004973 liquid crystal related substance Substances 0.000 description 1
- 238000012986 modification Methods 0.000 description 1
- 230000004048 modification Effects 0.000 description 1
- 239000012466 permeate Substances 0.000 description 1
- 238000000206 photolithography Methods 0.000 description 1
- 230000008569 process Effects 0.000 description 1
- 238000012545 processing Methods 0.000 description 1
- 239000002994 raw material Substances 0.000 description 1
- 239000004065 semiconductor Substances 0.000 description 1
- 238000006467 substitution reaction Methods 0.000 description 1
- 238000012546 transfer Methods 0.000 description 1
Images
Classifications
-
- G—PHYSICS
- G03—PHOTOGRAPHY; CINEMATOGRAPHY; ANALOGOUS TECHNIQUES USING WAVES OTHER THAN OPTICAL WAVES; ELECTROGRAPHY; HOLOGRAPHY
- G03F—PHOTOMECHANICAL PRODUCTION OF TEXTURED OR PATTERNED SURFACES, e.g. FOR PRINTING, FOR PROCESSING OF SEMICONDUCTOR DEVICES; MATERIALS THEREFOR; ORIGINALS THEREFOR; APPARATUS SPECIALLY ADAPTED THEREFOR
- G03F7/00—Photomechanical, e.g. photolithographic, production of textured or patterned surfaces, e.g. printing surfaces; Materials therefor, e.g. comprising photoresists; Apparatus specially adapted therefor
- G03F7/70—Microphotolithographic exposure; Apparatus therefor
- G03F7/70058—Mask illumination systems
- G03F7/70191—Optical correction elements, filters or phase plates for controlling intensity, wavelength, polarisation, phase or the like
-
- G—PHYSICS
- G02—OPTICS
- G02B—OPTICAL ELEMENTS, SYSTEMS OR APPARATUS
- G02B3/00—Simple or compound lenses
- G02B3/0006—Arrays
-
- G—PHYSICS
- G02—OPTICS
- G02B—OPTICAL ELEMENTS, SYSTEMS OR APPARATUS
- G02B5/00—Optical elements other than lenses
- G02B5/04—Prisms
- G02B5/045—Prism arrays
-
- G—PHYSICS
- G03—PHOTOGRAPHY; CINEMATOGRAPHY; ANALOGOUS TECHNIQUES USING WAVES OTHER THAN OPTICAL WAVES; ELECTROGRAPHY; HOLOGRAPHY
- G03F—PHOTOMECHANICAL PRODUCTION OF TEXTURED OR PATTERNED SURFACES, e.g. FOR PRINTING, FOR PROCESSING OF SEMICONDUCTOR DEVICES; MATERIALS THEREFOR; ORIGINALS THEREFOR; APPARATUS SPECIALLY ADAPTED THEREFOR
- G03F7/00—Photomechanical, e.g. photolithographic, production of textured or patterned surfaces, e.g. printing surfaces; Materials therefor, e.g. comprising photoresists; Apparatus specially adapted therefor
- G03F7/70—Microphotolithographic exposure; Apparatus therefor
- G03F7/70216—Mask projection systems
- G03F7/70283—Mask effects on the imaging process
- G03F7/70291—Addressable masks, e.g. spatial light modulators [SLMs], digital micro-mirror devices [DMDs] or liquid crystal display [LCD] patterning devices
-
- G—PHYSICS
- G03—PHOTOGRAPHY; CINEMATOGRAPHY; ANALOGOUS TECHNIQUES USING WAVES OTHER THAN OPTICAL WAVES; ELECTROGRAPHY; HOLOGRAPHY
- G03F—PHOTOMECHANICAL PRODUCTION OF TEXTURED OR PATTERNED SURFACES, e.g. FOR PRINTING, FOR PROCESSING OF SEMICONDUCTOR DEVICES; MATERIALS THEREFOR; ORIGINALS THEREFOR; APPARATUS SPECIALLY ADAPTED THEREFOR
- G03F7/00—Photomechanical, e.g. photolithographic, production of textured or patterned surfaces, e.g. printing surfaces; Materials therefor, e.g. comprising photoresists; Apparatus specially adapted therefor
- G03F7/70—Microphotolithographic exposure; Apparatus therefor
- G03F7/70216—Mask projection systems
- G03F7/70308—Optical correction elements, filters or phase plates for manipulating imaging light, e.g. intensity, wavelength, polarisation, phase or image shift
Landscapes
- Physics & Mathematics (AREA)
- General Physics & Mathematics (AREA)
- Optics & Photonics (AREA)
- Exposure And Positioning Against Photoresist Photosensitive Materials (AREA)
- Optical Elements Other Than Lenses (AREA)
Description
本発明は、マスクレス露光装置用光学部品に関し、特にマスクレス露光装置内部の第1結像レンズにより結像されるデジタルマイクロミラーディスプレイ素子画素の像を隣の画素の像に影響を与えないように拡散される光を遮断すると共に、反射又は屈折後に全反射させうる光学部品であるマイクロプリズムアレイ又はマイクロミラーアレイを備えることによって、透過される光量を損失なしで使用できるようにすると共に、開口数(NA)を増加させて露光性能を向上させることのできるマスクレス露光装置用光学部品に関する。
一般に、作ろうとする回路パターンと同じ形状のマスクを介して光を通過させて、その形状を、光学系を用いてマスクから感光剤に移す作業、すなわち光源を用いて所望の部分に微細パターンを形成させる技術を光微細加工技術(Photolithography)と言い、かかる工程を行う装置を露光装置と言う。
〔技術的課題〕
本発明の技術的課題は、デジタルマイクロミラーディスプレイにより変調された光を結像させる第1結像光学系を通過した光が隣に拡散されるのを遮断して、隣の画素に影響を及ぼさないようにし、同時に広い入射部に入射させて、光の屈折又は反射により集光をなすようにして、狭い出射部に全て透過されるようにすることによって、光量の損失のない使用を可能にし、露光性能の向上をなすようにしたマスクレス露光装置用光学部品を提供することにある。
上記課題を解決するための方法として、本発明は、光を出射(放出)する光源と、前記光源から出射される光を各々制御信号に応じて変調する複数の画素部が提供されるデジタルマイクロミラーディスプレイ素子と、前記デジタルマイクロミラーディスプレイ素子の各画素部により変調された光を結像して、前記各画素部の像を結像させる光学系と、前記画素部により変調され、前記光学系を通過した光が各々入射する複数のマイクロレンズからなるマイクロアレイとを含み、前記変調された光による像を感光材料上に結像する結像光学系を備えた露光装置であって、前記露光装置は、マイクロレンズアレイの代わりに、光入射部は広く形成され、光出射部は狭く形成され、透過する光が集光されて光量が上昇されるようにしたマイクロプリズムが複数配列されたマイクロプリズムアレイが形成されることを特徴とするマスクレス露光装置用光学部品を提供する。
以上説明した本発明は、光の入射部は広くし、出射部は狭くして、デジタルマイクロミラーディスプレイ素子から入射される光を屈折又は反射により集光させ、また拡散光の遮断部を形成して、画素の光が広がるか、又は移動して隣の画素に影響を与えないように光の拡散を遮断することによって、より効果的に光が集光及び透過されるようにして、光量の損失なしで100%使用できるようにすると同時に、露光性能を向上させうる優れた効果がある。
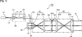
100 露光装置
10 光源
20 光強度分布補正光学系
21 集光レンズ
22 ロッドインテグレーター
23 コリメートレンズ
30 ミラー
40 デジタルマイクロミラーディスプレイ(DMD)
41 微細ミラー(画素)
50 プリズム
60 結像光学系
61 第1結像光学系
61a、61b レンズ
62 第2結像光学系
62a、62b レンズ
70 プリント配線基板用素材
200 マイクロプリズムアレイ
210 マイクロプリズム
210a、310a 入射部
210b、310b 出射部
211 拡散光遮断部
212 隙間
300 マイクロミラーアレイ
310 マイクロミラー
以下、本発明に係る好ましい実施の形態を、添付された図面を参照してさらに具体的に説明する。
D2=D1−(2×L×tanα)においてL(長さ)=(D1−D2)/(2×tanα) ―――(数1)
=(14−3)/(2×tan1.5)=210.04μmとなる。
D1=L×(tanα+tan2α)においてL(長さ)=D1/(tanα+tan2α) ―――(数2)
=13.8/(tan1.5+tan3)=178.13μmとなる。
L=D1(tanβ/n+tan2α) ―――(数3)
=14/(tan3/1.5+tan2×1.5)=123.16μmとなる。
一方、図11は、本発明に係る他の実施の形態を示した図であって、前記屈折方式のマイクロプリズムアレイ200の代りに、反射方式の金属材に四角錐形状、円錐形状、多角錐形状、又はこれらの組み合わせ形状からなる貫通された入射部310aと出射部310bとを有するマイクロミラー310を複数配列したマイクロミラーアレイ300を形成することによって、拡散光の遮断のための別途の拡散光遮断部211を形成しないようにした。すなわち、前記マイクロミラーアレイ300を金属材で形成して、拡散光の遮断と入射光の集光透過をなすようにしたものである。
Claims (10)
- 光を出射(放出)する光源と、前記光源から出射される光を各々制御信号に応じて変調する複数の画素部が提供されるデジタルマイクロミラーディスプレイ素子と、前記デジタルマイクロミラーディスプレイ素子の各画素部により変調された光を結像して、前記各画素部の像を結像させる光学系と、前記画素部により変調され、前記光学系を通過した光が各々入射する複数のマイクロレンズからなるマイクロアレイとを含み、前記変調された光による像を感光材料上に結像する結像光学系を備えた露光装置であって、
前記露光装置は、マイクロレンズアレイの代わりに、光入射部は広く形成され、光出射部は狭く形成され、透過する光が集光されて光量が上昇されるようにしたマイクロプリズムが複数配列されたマイクロプリズムアレイが形成されることを特徴とするマスクレス露光装置用光学部品。 - 光を出射(放出)する光源と、前記光源から出射される光を各々制御信号に応じて変調する複数の画素部が提供されるデジタルマイクロミラーディスプレイ素子と、前記デジタルマイクロミラーディスプレイ素子の各画素部により変調された光を結像して、前記各画素部の像を結像させる光学系と、前記画素部により変調され、前記光学系を通過した光が各々入射する複数のマイクロレンズからなるマイクロアレイとを含み、前記変調された光による像を感光材料上に結像する結像光学系を備えた露光装置であって、
前記露光装置は、マイクロレンズアレイの代わりに、光入射部は広く形成され、光出射部は狭く形成され、透過する光が集光されて光量が上昇されるようにしたマイクロミラーが複数配列されたマイクロミラーアレイが形成されることを特徴とするマスクレス露光装置用光学部品。 - 前記マイクロプリズムアレイ及びマイクロミラーアレイは、入射角βに対する出射角が式:n(β/n+2mα)で与えられ、プリズムではない空気中の反射によるプリズム型光ガイドの形態で使用すると、前記nは空気の屈折率が1になることを特徴とする請求項1または2に記載の露光装置用光学部品。
- 前記マイクロプリズム及びマイクロミラーは、四角錐、円錐、多角錐形状又はこれらの組み合わせ形状のうち、何れか一つからなることを特徴とする請求項1または2に記載のマスクレス露光装置用光学部品。
- 前記マイクロプリズム及びマイクロミラーは、1回全反射する場合、全長(L)の範囲は、最長L=(D1−D2)/(2×tanα)の式であり、最短L=D1/(tanβ/n+tan2α)の式であり、前記露光装置の集光効率及び露光線幅に応じて全長が長いものを適用するか、又は全長が短いものを選択形成することを特徴とする請求項1または2に記載の露光装置用光学部品。
- 前記マイクロプリズムアレイは、隣の画素に影響を与える拡散光を遮断するための拡散光遮断部が形成されることを特徴とする請求項1に記載のマスクレス露光装置用光学部品。
- 前記マイクロプリズムは、全反射のために反射コートをしないもの、又は人為的反射のために反射コートしたもののうちの何れか一つからなることを特徴とする請求項1に記載のマスクレス露光装置用光学部品。
- 前記マイクロプリズムアレイの一方には、必要に応じて露光面のコントラストを向上させるために、アパーチャーアレイを付加形成することができることを特徴とする請求項1に記載の拡散光遮断機能を有する露光装置用光学部品。
- 前記マイクロミラーアレイは、反射方式の金属材に貫通された入射部と出射部とを有するマイクロミラーが複数配列形成されることを特徴とする請求項2に記載のマスクレス露光装置用光学部品。
- 前記マイクロミラーアレイは、マイクロミラーの入射部に入射される光は、入射後、内側面から反射進行させ、入射部の外側面に一部拡散される光は、拡散光遮断領域により遮断されるようにしたことを特徴とする請求項2又は9に記載のマスクレス露光装置用光学部品。
Applications Claiming Priority (5)
| Application Number | Priority Date | Filing Date | Title |
|---|---|---|---|
| KR1020080046474A KR100952158B1 (ko) | 2008-05-20 | 2008-05-20 | 마스크 리스 노광장치용 마이크로프리즘 어레이 |
| KR10-2008-0046474 | 2008-05-20 | ||
| KR10-2008-0121948 | 2008-12-03 | ||
| KR1020080121948A KR101064627B1 (ko) | 2008-12-03 | 2008-12-03 | 확산광 차단 기능을 갖는 노광장치용 마이크로프리즘 어레이 |
| PCT/KR2009/002666 WO2009142440A2 (ko) | 2008-05-20 | 2009-05-20 | 마스크 리스 노광장치용 광학부품 |
Publications (2)
| Publication Number | Publication Date |
|---|---|
| JP2011521467A JP2011521467A (ja) | 2011-07-21 |
| JP5048869B2 true JP5048869B2 (ja) | 2012-10-17 |
Family
ID=41340683
Family Applications (1)
| Application Number | Title | Priority Date | Filing Date |
|---|---|---|---|
| JP2011510426A Active JP5048869B2 (ja) | 2008-05-20 | 2009-05-20 | マスクレス露光装置用光学部品 |
Country Status (3)
| Country | Link |
|---|---|
| US (2) | US8629974B2 (ja) |
| JP (1) | JP5048869B2 (ja) |
| WO (1) | WO2009142440A2 (ja) |
Families Citing this family (8)
| Publication number | Priority date | Publication date | Assignee | Title |
|---|---|---|---|---|
| EP2354853B1 (en) * | 2010-02-09 | 2013-01-02 | Carl Zeiss SMT GmbH | Optical raster element, optical integrator and illumination system of a microlithographic projection exposure apparatus |
| US20140028807A1 (en) * | 2012-01-15 | 2014-01-30 | Zecotek Display Systems Pte. Ltd. | Optical imaging system and 3d display apparatus |
| WO2013185822A1 (en) | 2012-06-14 | 2013-12-19 | Carl Zeiss Smt Gmbh | Maskless lithographic apparatus and method for generating an exposure pattern |
| US9624116B2 (en) * | 2013-01-14 | 2017-04-18 | Palo Alto Research Center Incorporated | Systems and apparatus for removal of harmful algae blooms (HAB) and transparent exopolymer particles (TEP) |
| EP2876499B1 (en) * | 2013-11-22 | 2017-05-24 | Carl Zeiss SMT GmbH | Illumination system of a microlithographic projection exposure apparatus |
| US10042145B2 (en) * | 2017-01-06 | 2018-08-07 | Palo Alto Research Center Incorporated | Illumination optical system for laser line generator |
| JP7005218B2 (ja) * | 2017-08-09 | 2022-01-21 | 株式会社東芝 | レンズミラーアレイおよび画像形成装置 |
| CN108957755B (zh) * | 2018-07-27 | 2021-04-30 | 京东方科技集团股份有限公司 | 一种显示组件及其控制方法、平视显示器及汽车 |
Family Cites Families (11)
| Publication number | Priority date | Publication date | Assignee | Title |
|---|---|---|---|---|
| US5839823A (en) * | 1996-03-26 | 1998-11-24 | Alliedsignal Inc. | Back-coupled illumination system with light recycling |
| JP2002333619A (ja) * | 2001-05-07 | 2002-11-22 | Nec Corp | 液晶表示素子およびその製造方法 |
| JP2003232901A (ja) * | 2002-02-07 | 2003-08-22 | Canon Inc | 光学素子、照明装置及び露光装置 |
| TW200412617A (en) * | 2002-12-03 | 2004-07-16 | Nikon Corp | Optical illumination device, method for adjusting optical illumination device, exposure device and exposure method |
| US7318644B2 (en) * | 2003-06-10 | 2008-01-15 | Abu-Ageel Nayef M | Compact projection system including a light guide array |
| JP4450689B2 (ja) * | 2003-07-31 | 2010-04-14 | 富士フイルム株式会社 | 露光ヘッド |
| JP2005309380A (ja) * | 2004-03-26 | 2005-11-04 | Fuji Photo Film Co Ltd | 画像露光装置 |
| JP2006261155A (ja) | 2005-03-15 | 2006-09-28 | Fuji Photo Film Co Ltd | 露光装置及び露光方法 |
| DE102005030839A1 (de) | 2005-07-01 | 2007-01-11 | Carl Zeiss Smt Ag | Projektionsbelichtungsanlage mit einer Mehrzahl von Projektionsobjektiven |
| JP2007293099A (ja) * | 2006-04-26 | 2007-11-08 | Shinko Electric Ind Co Ltd | 直接露光装置 |
| WO2009030980A2 (en) * | 2007-09-06 | 2009-03-12 | Quantum Semiconductor Llc | Photonic via waveguide for pixel arrays |
-
2009
- 2009-05-20 JP JP2011510426A patent/JP5048869B2/ja active Active
- 2009-05-20 US US12/994,076 patent/US8629974B2/en active Active
- 2009-05-20 WO PCT/KR2009/002666 patent/WO2009142440A2/ko not_active Ceased
-
2013
- 2013-03-14 US US13/826,337 patent/US8654312B2/en active Active
Also Published As
| Publication number | Publication date |
|---|---|
| WO2009142440A4 (ko) | 2010-05-06 |
| WO2009142440A3 (ko) | 2010-02-25 |
| US20110090479A1 (en) | 2011-04-21 |
| JP2011521467A (ja) | 2011-07-21 |
| WO2009142440A2 (ko) | 2009-11-26 |
| US20130194561A1 (en) | 2013-08-01 |
| US8629974B2 (en) | 2014-01-14 |
| US8654312B2 (en) | 2014-02-18 |
Similar Documents
| Publication | Publication Date | Title |
|---|---|---|
| JP5048869B2 (ja) | マスクレス露光装置用光学部品 | |
| US8456624B2 (en) | Inspection device and inspecting method for spatial light modulator, illumination optical system, method for adjusting the illumination optical system, exposure apparatus, and device manufacturing method | |
| US9280054B2 (en) | Illumination optical system, exposure apparatus, and method of manufacturing device | |
| KR102609105B1 (ko) | 광원장치, 조명 장치, 노광 장치 및 물품의 제조 방법 | |
| CN104335117A (zh) | 光学投影阵列曝光系统 | |
| KR20140123421A (ko) | 광원 장치 및 노광 장치 | |
| CN104364715B (zh) | 用于投射光刻的照明光学单元 | |
| JP2022051810A (ja) | 露光装置および露光方法 | |
| US11630288B2 (en) | Image projection apparatus | |
| JP6651124B2 (ja) | 照明光学系、露光装置、およびデバイス製造方法 | |
| US6958867B2 (en) | Illumination optical system, exposure device using the illumination optical system, and exposure method | |
| CN110320735B (zh) | 投影装置 | |
| KR20200062316A (ko) | 조명 광학계, 노광 장치 및 물품의 제조 방법 | |
| KR101038746B1 (ko) | 확산광 차단 기능을 갖는 노광장치용 마이크로 터널 어레이 | |
| CN217467464U (zh) | 一种光学引擎系统 | |
| KR101064627B1 (ko) | 확산광 차단 기능을 갖는 노광장치용 마이크로프리즘 어레이 | |
| TW200935193A (en) | Lighting device, exposure device, exposure method and element production method | |
| JP7353894B2 (ja) | 光源装置、照明装置、露光装置及び物品の製造方法 | |
| KR100952158B1 (ko) | 마스크 리스 노광장치용 마이크로프리즘 어레이 | |
| JP2005018013A (ja) | 照明光学系およびそれを用いた露光装置並びに露光方法 | |
| TWI716903B (zh) | 用於測試投影系統的方法及裝置 | |
| JP5353408B2 (ja) | 照明光学系、露光装置、およびデバイス製造方法 | |
| JP2010141151A (ja) | 光束分割素子、照明光学系、露光装置、およびデバイス製造方法 | |
| JP5861950B2 (ja) | マイクロリソグラフィ投影露光装置のための光学系 | |
| JP2002353094A (ja) | 照明光学装置および露光装置 |
Legal Events
| Date | Code | Title | Description |
|---|---|---|---|
| A621 | Written request for application examination |
Free format text: JAPANESE INTERMEDIATE CODE: A621 Effective date: 20101122 |
|
| A977 | Report on retrieval |
Free format text: JAPANESE INTERMEDIATE CODE: A971007 Effective date: 20120622 |
|
| TRDD | Decision of grant or rejection written | ||
| A01 | Written decision to grant a patent or to grant a registration (utility model) |
Free format text: JAPANESE INTERMEDIATE CODE: A01 Effective date: 20120703 |
|
| A01 | Written decision to grant a patent or to grant a registration (utility model) |
Free format text: JAPANESE INTERMEDIATE CODE: A01 |
|
| A61 | First payment of annual fees (during grant procedure) |
Free format text: JAPANESE INTERMEDIATE CODE: A61 Effective date: 20120719 |
|
| FPAY | Renewal fee payment (event date is renewal date of database) |
Free format text: PAYMENT UNTIL: 20150727 Year of fee payment: 3 |
|
| R150 | Certificate of patent or registration of utility model |
Ref document number: 5048869 Country of ref document: JP Free format text: JAPANESE INTERMEDIATE CODE: R150 Free format text: JAPANESE INTERMEDIATE CODE: R150 |
|
| R250 | Receipt of annual fees |
Free format text: JAPANESE INTERMEDIATE CODE: R250 |
|
| R250 | Receipt of annual fees |
Free format text: JAPANESE INTERMEDIATE CODE: R250 |
|
| R250 | Receipt of annual fees |
Free format text: JAPANESE INTERMEDIATE CODE: R250 |
|
| R250 | Receipt of annual fees |
Free format text: JAPANESE INTERMEDIATE CODE: R250 |
|
| R250 | Receipt of annual fees |
Free format text: JAPANESE INTERMEDIATE CODE: R250 |
|
| R250 | Receipt of annual fees |
Free format text: JAPANESE INTERMEDIATE CODE: R250 |
|
| R250 | Receipt of annual fees |
Free format text: JAPANESE INTERMEDIATE CODE: R250 |
|
| R250 | Receipt of annual fees |
Free format text: JAPANESE INTERMEDIATE CODE: R250 |
|
| R250 | Receipt of annual fees |
Free format text: JAPANESE INTERMEDIATE CODE: R250 |
|
| R250 | Receipt of annual fees |
Free format text: JAPANESE INTERMEDIATE CODE: R250 |
