JP5014141B2 - 流体内の懸濁液中または溶液中の粒子を含む素材を濾過する方法 - Google Patents
流体内の懸濁液中または溶液中の粒子を含む素材を濾過する方法 Download PDFInfo
- Publication number
- JP5014141B2 JP5014141B2 JP2007538415A JP2007538415A JP5014141B2 JP 5014141 B2 JP5014141 B2 JP 5014141B2 JP 2007538415 A JP2007538415 A JP 2007538415A JP 2007538415 A JP2007538415 A JP 2007538415A JP 5014141 B2 JP5014141 B2 JP 5014141B2
- Authority
- JP
- Japan
- Prior art keywords
- filtrate
- chamber
- outlet
- filter device
- filter
- Prior art date
- Legal status (The legal status is an assumption and is not a legal conclusion. Google has not performed a legal analysis and makes no representation as to the accuracy of the status listed.)
- Expired - Fee Related
Links
Images
Classifications
-
- B—PERFORMING OPERATIONS; TRANSPORTING
- B01—PHYSICAL OR CHEMICAL PROCESSES OR APPARATUS IN GENERAL
- B01D—SEPARATION
- B01D29/00—Filters with filtering elements stationary during filtration, e.g. pressure or suction filters, not covered by groups B01D24/00 - B01D27/00; Filtering elements therefor
- B01D29/62—Regenerating the filter material in the filter
- B01D29/66—Regenerating the filter material in the filter by flushing, e.g. counter-current air-bumps
- B01D29/663—Regenerating the filter material in the filter by flushing, e.g. counter-current air-bumps by using membranes
-
- B—PERFORMING OPERATIONS; TRANSPORTING
- B01—PHYSICAL OR CHEMICAL PROCESSES OR APPARATUS IN GENERAL
- B01D—SEPARATION
- B01D29/00—Filters with filtering elements stationary during filtration, e.g. pressure or suction filters, not covered by groups B01D24/00 - B01D27/00; Filtering elements therefor
- B01D29/11—Filters with filtering elements stationary during filtration, e.g. pressure or suction filters, not covered by groups B01D24/00 - B01D27/00; Filtering elements therefor with bag, cage, hose, tube, sleeve or like filtering elements
- B01D29/114—Filters with filtering elements stationary during filtration, e.g. pressure or suction filters, not covered by groups B01D24/00 - B01D27/00; Filtering elements therefor with bag, cage, hose, tube, sleeve or like filtering elements arranged for inward flow filtration
- B01D29/115—Filters with filtering elements stationary during filtration, e.g. pressure or suction filters, not covered by groups B01D24/00 - B01D27/00; Filtering elements therefor with bag, cage, hose, tube, sleeve or like filtering elements arranged for inward flow filtration open-ended, the arrival of the mixture to be filtered and the discharge of the concentrated mixture are situated on both opposite sides of the filtering element
-
- B—PERFORMING OPERATIONS; TRANSPORTING
- B01—PHYSICAL OR CHEMICAL PROCESSES OR APPARATUS IN GENERAL
- B01D—SEPARATION
- B01D29/00—Filters with filtering elements stationary during filtration, e.g. pressure or suction filters, not covered by groups B01D24/00 - B01D27/00; Filtering elements therefor
- B01D29/11—Filters with filtering elements stationary during filtration, e.g. pressure or suction filters, not covered by groups B01D24/00 - B01D27/00; Filtering elements therefor with bag, cage, hose, tube, sleeve or like filtering elements
- B01D29/117—Filters with filtering elements stationary during filtration, e.g. pressure or suction filters, not covered by groups B01D24/00 - B01D27/00; Filtering elements therefor with bag, cage, hose, tube, sleeve or like filtering elements arranged for outward flow filtration
- B01D29/118—Filters with filtering elements stationary during filtration, e.g. pressure or suction filters, not covered by groups B01D24/00 - B01D27/00; Filtering elements therefor with bag, cage, hose, tube, sleeve or like filtering elements arranged for outward flow filtration open-ended
-
- B—PERFORMING OPERATIONS; TRANSPORTING
- B01—PHYSICAL OR CHEMICAL PROCESSES OR APPARATUS IN GENERAL
- B01D—SEPARATION
- B01D29/00—Filters with filtering elements stationary during filtration, e.g. pressure or suction filters, not covered by groups B01D24/00 - B01D27/00; Filtering elements therefor
- B01D29/50—Filters with filtering elements stationary during filtration, e.g. pressure or suction filters, not covered by groups B01D24/00 - B01D27/00; Filtering elements therefor with multiple filtering elements, characterised by their mutual disposition
- B01D29/52—Filters with filtering elements stationary during filtration, e.g. pressure or suction filters, not covered by groups B01D24/00 - B01D27/00; Filtering elements therefor with multiple filtering elements, characterised by their mutual disposition in parallel connection
- B01D29/54—Filters with filtering elements stationary during filtration, e.g. pressure or suction filters, not covered by groups B01D24/00 - B01D27/00; Filtering elements therefor with multiple filtering elements, characterised by their mutual disposition in parallel connection arranged concentrically or coaxially
Landscapes
- Chemical & Material Sciences (AREA)
- Chemical Kinetics & Catalysis (AREA)
- Filtration Of Liquid (AREA)
Description
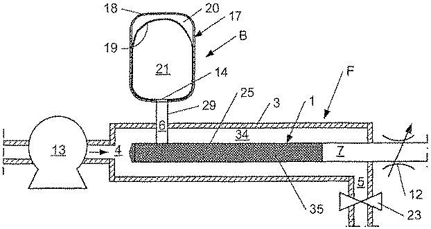
前記逆流装置は、前記フィルタ装置の逆流を行うために配設され、
前記フィルタ装置は、流体内の懸濁液内または溶液内の粒子を含む素材を濾過するために配設され、前記フィルタ装置は、少なくとも1つのハウジングおよび前記ハウジング内に位置する少なくとも1つの第1のフィルタ・エレメントを有し、前記第1のフィルタ・エレメントは、少なくとも1つの第1の濾過液用室から素材用室を分離し、両方の室は、前記ハウジング内に位置し、前記フィルタ装置は、前記素材用室と連絡している素材用入口および濾過液を排出するために配設された少なくとも1つの第1の濾過液用出口をさらに有し、前記第1の濾過液用出口は、前記第1の濾過液用室と連絡し、
前記逆流装置は、隔壁を含む少なくとも1つの第1の膨張容器を備え、前記隔壁は、前記膨張容器を第1の室および第2の室に分割するために配設され、前記第1の室は、圧縮可能な媒体を採集するために配設され、前記第2の室は前記濾過液を採集するために配設され、
前記フィルタ装置は、第2の室内に位置している時に濾過液を加圧するための加圧手段を備える。
膨張容器を満たす場合には、F2<F1またはF3<F1
フィルタ装置の逆流を行う場合には、F1<F3およびF2<F1
フィルタ装置内の前記第1のフィルタ・エレメント内に同心に配設され、素材用室を、前記第2の濾過液用出口と接続している第2の濾過液用室から分離している第2のフィルタ・エレメントと、
隔壁を含む第2の膨張容器であって、前記隔壁は、前記第2の膨張容器を第1の室と第2の室に分割するために配設され、前記第1の室は圧縮可能な媒体を採集するために配設され、前記第2の室は前記濾過液を採集するために配設され、前記第2の膨張容器の前記第2の室は、第2の逆流用ノズルにより、前記第2の濾過液用出口に接続するために配設された第2の膨張容器と、
第1の濾過液用出口に接続し、第1の連絡用ノズルおよび第2の連絡用ノズルによりそれぞれ第1および第2の逆流用ノズルの両方と連絡している第1の濾過液採集用ノズルであって、第1および第2の両方の連絡用ノズルは弁を備える第1の濾過液採集用ノズルとを備える。
フィルタ装置内の前記第1のフィルタ・エレメント内に同心に配設され、素材用室を前記第2の濾過液用出口と接続している第2の濾過液用室から分離している第2のフィルタ・エレメントと、
隔壁を含む第2の膨張容器であって、前記隔壁は、前記第2の膨張容器を第1の室と第2の室に分割するために配設され、前記第1の室は圧縮可能な媒体を採集するために配設され、前記第2の室は前記濾過液を採集するために配設され、前記第2の膨張容器の前記第2の室は、第2の逆流用ノズルにより膨張容器の第2の室に接続している第2の逆流用ノズルにより、前記第2の濾過液用出口に接続するために配設された第2の膨張容器と、
第1の濾過液用出口に接続し、第1の逆流用ノズルと連絡している第1の濾過液採集用ノズルと、
第2の逆流用ノズルおよび第2の濾過液用出口と接続している第2の濾過液採集用ノズルとを備える。
フィルタ装置内の前記第1のフィルタ・エレメント内に同心に配設され、素材用室を前記第2の濾過液用出口と接続している第2の濾過液用室から分離している第2のフィルタ・エレメントと、
第1の濾過液用出口に接続し、第1の連絡用ノズルにより第1の逆流用ノズルと連絡している第1の濾過液採集用ノズルと、
第1の逆流用ノズルにより、前記第2の濾過液用出口および第1の膨張容器の第2の室に接続している第2の連絡用ノズルであって、第1および第2の連絡用ノズルは両方とも弁を備える第2の連絡用ノズルと、
前記第2の濾過液用出口および前記第2の連絡用ノズルに接続している第2の濾過液採集用ノズルとを備える。
2.第2のフィルタ・エレメント
3.フィルタ・エレメントのハウジング
4.素材用入口
5.フィルタ装置の廃液または濃縮液用の出口
6.第1の濾過液用出口
7.第2の濾過液用出口
8.フィルタ装置の長手方向の軸線
9.第1の濾過液採集用ノズル
10.第2の濾過液採集用ノズル
11.第1の絞り弁
12.第2の絞り弁
13.ポンプ
14.膨張容器の第1のポート
14’.膨張容器の第2のポート
15.第1の連絡用ノズル
16.第2の連絡用ノズル
17.第1の膨張容器
17’.第2の膨張容器
18.第1の膨張容器のハウジング
18’.第2の膨張容器のハウジング
19.第1の膨張容器の隔壁
19’.第2の膨張容器の隔壁
20.第1の膨張容器の第1の室
20’.第2の膨張容器の第1の室
21.第1の膨張容器の第2の室
21’.第2の膨張容器の第2の室
22.膨張容器の第1の室の弁
23.濃縮液または濾過液用出口の弁
24.第1の連絡用ノズルの第1の弁
25.第2の連絡用ノズルの第2の弁
26.三方接続手段
27.追加の弁
28.第2の濾過液用室
29.第1の逆流用ノズル
30.第2の逆流用ノズル
34.素材用室
35.第1の濾過液用室
B.逆流装置
F.フィルタ装置
Claims (19)
- 流体内の懸濁液中または溶液中の粒子を含む素材を濾過する方法において、
素材用入口を通して、フィルタ装置の素材用室に濾過すべき素材を供給する段階であり、前記フィルタ装置が、少なくともハウジングと、該ハウジング内に置かれた第1のフィルタ・エレメントとを有し、前記第1のフィルタ・エレメントが、前記素材用室を少なくとも第1の濾過液用室から分離し、前記両室が前記ハウジング内にある構成になされている、前記フィルタ装置の素材用室に濾過すべき素材を供給する段階と、
前記素材を、前記第1のフィルタ・エレメントを通して、濾過液をなす、粒子の少ない流体として前記第1の濾過液用室に導くことによって、前記素材を濾過する段階であり、前記濾過液が、前記第1の濾過液用室と連通する少なくとも1つの第1の濾過液用出口を通じて前記第1の濾過液用室を出るとともに、前記濾過液が、前記第1の濾過液用出口とは異なるとともに該第1の濾過液用出口から離れた位置にある第2の濾過液用出口からも前記フィルタ装置を出る、前記素材を濾過する段階と、
前記フィルタ装置を、少なくとも1つの膨張容器を含む第1の逆流装置によって逆流洗浄する段階であり、前記膨張容器が、該膨張容器を第1の室と第2の室に分割するために設けた隔壁を有し、前記第1の室は圧縮可能な媒体を収容するためのものであり、前記第2の室は前記濾過液を収容するためのものであり、前記第1の濾過液用出口は、第1の逆流用ノズルによって前記第2の室と連通している構成になされている、前記第1の逆流装置によって逆流洗浄する段階と、
前記第2の室内の前記濾過液を、加圧手段によって加圧する段階と、
前記濾過段階で、前記第1の濾過液用室内の前記濾過液の流速を変え、もって、前記第1の濾過液用室内の前記濾過液の圧力を増大させ、前記第1の膨張容器の前記第2の室を前記濾過液が満たす、前記濾過液の流速を変える段階と、
前記逆流洗浄段階で、前記濾過液の流速を変えることにより、前記第2の室内にある前記濾過液が、前記第1のフィルタ・エレメントの濾過液側から前記フィルタ装置の素材側に、前記第1のフィルタ・エレメントを通して強制通過せしめられ、もって、前記第1のフィルタ・エレメントの表面から堆積粒子を排除し、また、前記第1の濾過液用室内の圧力を低下させて、前記膨張容器の前記第2の室内にある前記濾過液によって前記圧力低下を均衡させ、それによって前記濾過液の流れを続行させて該濾過液を前記フィルタ装置から排出させる、前記濾過液の流速を変える段階とを含む、流体内の懸濁液中または溶液中の粒子を含む素材を濾過する方法。 - 前記加圧手段が、前記膨張容器の充填のために、前記第2の濾過液用出口における前記濾過液の流量を低減化すべく、前記第2の濾過液用出口で作動するようになされている請求項1に記載された流体内の懸濁液中または溶液中の粒子を含む素材を濾過する方法。
- 前記加圧手段が、前記濾過液の流量の変動を誘起する素材の流量の変動を誘起するために、前記素材用入口で作動するようになされている請求項1または請求項2に記載された流体内の懸濁液中または溶液中の粒子を含む素材を濾過する方法。
- 前記加圧手段が前記フィルタ装置の出口で作動するようになされ、前記出口が、前記濾過液の流量の変動を誘起する素材の流量の変動を誘起するための廃液用出口または濃縮液用出口である請求項1から請求項3までのいずれか1項に記載された流体内の懸濁液中または溶液中の粒子を含む素材を濾過する方法。
- 前記逆流洗浄段階で、前記フィルタ装置の逆流洗浄効果を増すために、前記濾過と前記逆流洗浄が同じ流れ方向で行なわれる請求項1から請求項4までのいずれか1項に記載された流体内の懸濁液中または溶液中の粒子を含む素材を濾過する方法。
- 前記フィルタ装置(F)が、濃縮液用出口(5)を有する十字流フィルタ装置として働く請求項1から請求項5までのいずれか1項に記載された流体内の懸濁液中または溶液中の粒子を含む素材を濾過する方法。
- 前記フィルタ装置(F)が全量濾過フィルタ装置として働く請求項1から請求項5までのいずれか1項に記載された流体内の懸濁液中または溶液中の粒子を含む素材を濾過する方法。
- 前記フィルタ装置(F)の逆流洗浄の際または後で前記素材用室内に残留している、所定の孔径よりも大きいサイズを有する前記粒子を除去する段階を含む請求項7に記載された流体内の懸濁液中または溶液中の粒子を含む素材を濾過する方法。
- 前記フィルタ装置内の前記第1のフィルタ・エレメント内に同心に配設された第2のフィルタ・エレメントを通過させて、前記素材を濾過する段階と、
第2の膨張容器の第2の室に前記第2の濾過液用出口を接続する段階であり、前記第2の膨張容器が、前記第2の膨張容器を第1の室と第2の室に分割する隔壁を有し、該第1の室が圧縮可能な媒体を収容するためのものであり、該第2の室が前記濾過液を収容するためのものであり、前記第2の膨張容器の前記第2の室が第2の逆流用ノズルによって前記第2の濾過液用出口(7)に接続されている、前記第2の膨張容器の前記第2の室に前記第2の濾過液用出口を接続する段階と、
前記素材を濾過する段階で、前記第1の濾過液用室内の前記濾過液の流速を変え、それによって、前記第1の濾過液用室内の前記濾過液の圧力を増大させ、前記第1の膨張容器の前記第2の室を前記濾過液が満たし、前記第2の濾過液用室内の前記濾過液の流速を変え、それによって、前記第2の濾過液用室内の前記濾過液の圧力を増大させ、前記第2の膨張容器の前記第2の室を前記濾過液が満たす、前記濾過液の流速を変える段階と、
逆流洗浄段階で、前記第1の濾過液用室内の前記濾過液の流速を変え、それによって、前記第1の膨張容器の前記第2の室内にある前記濾過液が、前記第1のフィルタ・エレメントの濾過液側から前記フィルタ装置の素材側に強制せしめられ、また、前記第2の濾過液用室内の前記濾過液の流速を変え、それによって、前記第2の膨張容器の前記第2の室内にある前記濾過液が、前記第2のフィルタ・エレメントの濾過液側から前記フィルタ装置の素材側に強制せしめられる、前記濾過液の流速を変える段階とを更に含む請求項6に記載された流体内の懸濁液中または溶液中の粒子を含む素材を濾過する方法。 - 前記フィルタ装置内の前記第1のフィルタ・エレメント内に同心に配設された第2のフィルタ・エレメントを通して、前記第2の濾過液用出口と接続されている第2の濾過液用室内に、濾過液をなす粒子の少ない流体として前記素材を導くことによって、前記素材を濾過する段階と、
第2の逆流用ノズルによって、前記第2の濾過液用出口を、第2の膨張容器の第2の室に接続する段階であり、前記第2の膨張容器が、前記第2の膨張容器を第1の室と第2の室に分割する隔壁を有し、前記第1の室が圧縮可能な媒体を収容するためのものであり、前記第2の室が前記濾過液を収容するためのものである、前記接続段階と、
第1の濾過液採集用ノズルを有する前記第1の濾過液用出口を、第1の連絡用ノズルおよび第2の連絡用ノズルによって、それぞれ前記第1および第2の逆流用ノズルに接続する段階であり、前記第1および第2の逆流用ノズルが弁を含む、前記接続段階と、
前記素材を濾過する段階で、前記濾過液用室内の前記濾過液の流速を変え、それによって、前記第1の逆流用ノズルの前記弁が開いている場合に、前記濾過液が前記第1の膨張容器の前記第2の室を満たし、前記第2の逆流用ノズルの前記弁が開いている場合に、前記濾過液が前記第2の膨張容器の前記第2の室を満たす、前記濾過液の流速を変える段階と、
逆流洗浄段階で、前記濾過液用室内の前記濾過液の流速を変え、それによって、前記第1の逆流用ノズルの前記弁が開いている場合に、前記第1の膨張容器の前記第2の室内にある前記濾過液が、前記フィルタ・エレメントの濾過液側から前記フィルタ装置の素材側に強制的に送られ、また、前記第2の逆流用ノズルの前記弁が開いている場合に、前記第2の膨張容器の前記第2の室内にある前記濾過液が、前記フィルタ・エレメントの濾過液側から前記フィルタ装置の素材側に強制的に送られる、前記濾過液の流速を変える段階とを更に含む請求項6に記載された流体内の懸濁液中または溶液中の粒子を含む素材を濾過する方法。 - 前記フィルタ装置内の前記第1のフィルタ・エレメント内に同心に配設された第2のフィルタ・エレメントを通して、前記第2の濾過液用出口と接続されている第2の濾過液用室内に、濾過液をなす粒子の少ない流体として前記素材を導くことによって、前記素材を濾過する段階と、
弁を含む第2の連絡用ノズルによって、前記膨張容器の前記第2の室に前記第2の濾過液用出口を接続する段階と、
弁を含む第1の連絡用ノズルを、前記第1の濾過液用出口と前記第1の逆流用ノズルに連通させる段階と、
逆流洗浄段階で、前記濾過液の流速を変え、それによって、前記第2の室内にある前記濾過液が、前記第1の連絡用ノズルが開いている場合に前記第1のフィルタ・エレメントを通して、前記第2の連絡用ノズルの前記弁が開いている場合に前記第2のフィルタ・エレメントを通して、前記第1のフィルタ・エレメントの濾過液側から前記フィルタ装置の素材側に強制的に送られる、前記濾過液の流速を変える段階とを更に含む請求項6に記載された流体内の懸濁液中または溶液中の粒子を含む素材を濾過する方法。 - 前記第2の連絡用ノズルが、第2の逆流用ノズルによって前記膨張容器の前記第2の室に接続されている請求項11に記載された流体内の懸濁液中または溶液中の粒子を含む素材を濾過する方法。
- 絞り弁によって加圧が行われる請求項9から請求項12までのいずれか1項に記載された流体内の懸濁液中または溶液中の粒子を含む素材を濾過する方法。
- 前記濃縮液用出口が前記素材用入口に接続されている請求項6、および、請求項9から請求項13までのいずれか1項に記載された流体内の懸濁液中または溶液中の粒子を含む素材を濾過する方法。
- 前記濃縮液用出口に弁を設けている請求項6、および、請求項9から請求項14までのいずれか1項に記載された流体内の懸濁液中または溶液中の粒子を含む素材を濾過する方法。
- 前記素材用入口が、第1の端部、第2の端部および第3の端部を有する三方接続手段を含み、前記第1の端部が前記フィルタ装置に接続され、前記第2の端部が素材タンクに接続されている請求項1から請求項15までのいずれか1項に記載された流体内の懸濁液中または溶液中の粒子を含む素材を濾過する方法。
- ポンプが前記三方接続手段を含む請求項5に従属する場合の請求項16に記載された流体内の懸濁液中または溶液中の粒子を含む素材を濾過する方法。
- ポンプが前記三方接続手段の前記第1の端部に接続されている請求項5に従属する場合の請求項16に記載された流体内の懸濁液中または溶液中の粒子を含む素材を濾過する方法。
- 前記第3の端部が引き出し出口である請求項16から請求項18までのいずれか1項に記載された流体内の懸濁液中または溶液中の粒子を含む素材を濾過する方法。
Applications Claiming Priority (3)
| Application Number | Priority Date | Filing Date | Title |
|---|---|---|---|
| EP04077962A EP1652564A1 (en) | 2004-10-27 | 2004-10-27 | Back-flush device |
| EP04077962.1 | 2004-10-27 | ||
| PCT/EP2005/055576 WO2006045821A1 (en) | 2004-10-27 | 2005-10-26 | Filter system |
Publications (3)
| Publication Number | Publication Date |
|---|---|
| JP2008517753A JP2008517753A (ja) | 2008-05-29 |
| JP2008517753A5 JP2008517753A5 (ja) | 2008-12-18 |
| JP5014141B2 true JP5014141B2 (ja) | 2012-08-29 |
Family
ID=34928610
Family Applications (1)
| Application Number | Title | Priority Date | Filing Date |
|---|---|---|---|
| JP2007538415A Expired - Fee Related JP5014141B2 (ja) | 2004-10-27 | 2005-10-26 | 流体内の懸濁液中または溶液中の粒子を含む素材を濾過する方法 |
Country Status (4)
| Country | Link |
|---|---|
| US (2) | US20070246408A1 (ja) |
| EP (2) | EP1652564A1 (ja) |
| JP (1) | JP5014141B2 (ja) |
| WO (1) | WO2006045821A1 (ja) |
Families Citing this family (6)
| Publication number | Priority date | Publication date | Assignee | Title |
|---|---|---|---|---|
| CN101954214A (zh) * | 2009-07-11 | 2011-01-26 | 唐伟钊 | 一种不溶解空气式永久性反冲洗过滤器 |
| ITUD20110028A1 (it) * | 2011-03-03 | 2012-09-04 | Sifa Srl | "gruppo, impianto e metodo di filtrazione" |
| CN103517753A (zh) * | 2011-05-13 | 2014-01-15 | 3M创新有限公司 | 使用大气气囊罐的错流过滤系统 |
| JP2014523969A (ja) | 2011-06-27 | 2014-09-18 | ソレラス・リミテッド | スパッタリングターゲット |
| ITRM20120316A1 (it) * | 2012-07-05 | 2014-01-06 | Meccanica Spadoni S R L | Apparato per la filtrazione di liquidi |
| CN105817063A (zh) * | 2016-01-08 | 2016-08-03 | 南通航泰船舶机械有限公司 | 一种系统压差驱动型反冲洗滤器 |
Family Cites Families (12)
| Publication number | Priority date | Publication date | Assignee | Title |
|---|---|---|---|---|
| DE2831607A1 (de) * | 1978-07-19 | 1980-01-31 | Peter Ueberall | Reinigungseinrichtung fuer fluessigkeiten |
| JPS60166013A (ja) * | 1984-02-03 | 1985-08-29 | Daicel Chem Ind Ltd | 濾過装置 |
| JPS637809A (ja) * | 1986-06-26 | 1988-01-13 | Babcock Hitachi Kk | スラリ中の粗粒分離装置 |
| EP0341573A3 (de) * | 1988-05-13 | 1990-05-09 | Sartorius Ag | Verfahren und Vorrichtung zur Filtration von Flüssigkeiten im Cross-Flow-Betrieb |
| JPH03169308A (ja) * | 1989-11-27 | 1991-07-23 | Kasei Naoetsu:Kk | 内圧式液体瀘過装置 |
| DK70090D0 (da) * | 1990-03-16 | 1990-03-16 | John Reipur | Fremgangsmaade og apparat til filtrering af et fluid |
| JPH0429726A (ja) * | 1990-05-24 | 1992-01-31 | Mitsubishi Kasei Corp | 清澄濾過装置 |
| DE4101229A1 (de) | 1991-01-17 | 1992-07-30 | Rostock Dieselmotoren | Filtersystem mit rueckspueleinrichtung zur reinigung eines mediums |
| FR2716385B1 (fr) * | 1994-02-18 | 1996-03-29 | Dumez Lyonnaise Eaux | Procédé et dispositif de rétrolavage de modules de filtration. |
| DE19810518A1 (de) * | 1998-03-11 | 1999-09-16 | Mann & Hummel Filter | Verfahren zum Rückspülen eines Filters und rückspülbare Filtereinrichtung |
| US6579447B2 (en) * | 2001-07-25 | 2003-06-17 | Lancer Partnership, Ltd. | Self-cleaning pre-filter system |
| US6562246B2 (en) * | 2001-08-31 | 2003-05-13 | Kadant Inc. | Pressurized backflush system |
-
2004
- 2004-10-27 EP EP04077962A patent/EP1652564A1/en not_active Withdrawn
-
2005
- 2005-10-26 WO PCT/EP2005/055576 patent/WO2006045821A1/en not_active Ceased
- 2005-10-26 EP EP05815457A patent/EP1833591A1/en not_active Withdrawn
- 2005-10-26 US US11/666,149 patent/US20070246408A1/en not_active Abandoned
- 2005-10-26 JP JP2007538415A patent/JP5014141B2/ja not_active Expired - Fee Related
-
2010
- 2010-05-27 US US12/801,204 patent/US20100307988A1/en not_active Abandoned
Also Published As
| Publication number | Publication date |
|---|---|
| WO2006045821A1 (en) | 2006-05-04 |
| US20070246408A1 (en) | 2007-10-25 |
| JP2008517753A (ja) | 2008-05-29 |
| US20100307988A1 (en) | 2010-12-09 |
| EP1652564A1 (en) | 2006-05-03 |
| WO2006045821A9 (en) | 2007-09-20 |
| EP1833591A1 (en) | 2007-09-19 |
Similar Documents
| Publication | Publication Date | Title |
|---|---|---|
| US6461513B1 (en) | Secondary-flow enhanced filtration system | |
| US8128829B2 (en) | Cross flow filter device | |
| EP0204836B1 (en) | Flow through filter with backflush clearing capability | |
| JPH0631112A (ja) | 高粘性液を濾過する逆洗浄可能なフィルタ装置 | |
| WO1999029393A1 (en) | Filtration apparatus | |
| US20100307988A1 (en) | Filter system | |
| US3812969A (en) | Apparatus for fluid treatment | |
| US4961851A (en) | Self-cleaning reverse osmosis liquid treatment system, method and dual configuration check valve therefor | |
| EP1115473B1 (en) | Filtration systems and methods | |
| US20100219130A1 (en) | System and Method of Fluid Filtration Utilizing Cross-Flow Currents | |
| US20070163941A1 (en) | System and Method of Fluid Filtration Utilizing Cross-Flow Currents | |
| JP3394490B2 (ja) | 濾過装置 | |
| WO2005082499A1 (en) | Apparatus and method for micro or ultrafiltration | |
| AU2003233905B2 (en) | Device for cross-current filtration | |
| JP3383453B2 (ja) | 油水分離装置 | |
| JP7399525B1 (ja) | 濾過用ストレーナの自動洗浄システム | |
| JP2691846B2 (ja) | 固液分離方法及びその装置 | |
| CN203428960U (zh) | 硅冷却液废液处理装置 | |
| KR20070025918A (ko) | 여과장치 | |
| US20190143249A1 (en) | Liquid filter | |
| JPH09892A (ja) | ろ過膜の洗浄方法 | |
| JP2004515343A (ja) | フロントモードで作動する中空繊維型フィルタの詰まり除去 | |
| JP2689065B2 (ja) | 分離モジュール | |
| WO2006020780A2 (en) | Bundled element filtration system and method |
Legal Events
| Date | Code | Title | Description |
|---|---|---|---|
| A521 | Request for written amendment filed |
Free format text: JAPANESE INTERMEDIATE CODE: A523 Effective date: 20081027 |
|
| A621 | Written request for application examination |
Free format text: JAPANESE INTERMEDIATE CODE: A621 Effective date: 20081027 |
|
| A977 | Report on retrieval |
Free format text: JAPANESE INTERMEDIATE CODE: A971007 Effective date: 20100809 |
|
| A131 | Notification of reasons for refusal |
Free format text: JAPANESE INTERMEDIATE CODE: A131 Effective date: 20100813 |
|
| A601 | Written request for extension of time |
Free format text: JAPANESE INTERMEDIATE CODE: A601 Effective date: 20101115 |
|
| A602 | Written permission of extension of time |
Free format text: JAPANESE INTERMEDIATE CODE: A602 Effective date: 20101122 |
|
| A601 | Written request for extension of time |
Free format text: JAPANESE INTERMEDIATE CODE: A601 Effective date: 20101213 |
|
| A602 | Written permission of extension of time |
Free format text: JAPANESE INTERMEDIATE CODE: A602 Effective date: 20101220 |
|
| A601 | Written request for extension of time |
Free format text: JAPANESE INTERMEDIATE CODE: A601 Effective date: 20110113 |
|
| A602 | Written permission of extension of time |
Free format text: JAPANESE INTERMEDIATE CODE: A602 Effective date: 20110120 |
|
| A521 | Request for written amendment filed |
Free format text: JAPANESE INTERMEDIATE CODE: A523 Effective date: 20110214 |
|
| A711 | Notification of change in applicant |
Free format text: JAPANESE INTERMEDIATE CODE: A711 Effective date: 20111129 |
|
| A131 | Notification of reasons for refusal |
Free format text: JAPANESE INTERMEDIATE CODE: A131 Effective date: 20120117 |
|
| A521 | Request for written amendment filed |
Free format text: JAPANESE INTERMEDIATE CODE: A523 Effective date: 20120417 |
|
| TRDD | Decision of grant or rejection written | ||
| A01 | Written decision to grant a patent or to grant a registration (utility model) |
Free format text: JAPANESE INTERMEDIATE CODE: A01 Effective date: 20120515 |
|
| A01 | Written decision to grant a patent or to grant a registration (utility model) |
Free format text: JAPANESE INTERMEDIATE CODE: A01 |
|
| A61 | First payment of annual fees (during grant procedure) |
Free format text: JAPANESE INTERMEDIATE CODE: A61 Effective date: 20120605 |
|
| FPAY | Renewal fee payment (event date is renewal date of database) |
Free format text: PAYMENT UNTIL: 20150615 Year of fee payment: 3 |
|
| R150 | Certificate of patent or registration of utility model |
Free format text: JAPANESE INTERMEDIATE CODE: R150 |
|
| S533 | Written request for registration of change of name |
Free format text: JAPANESE INTERMEDIATE CODE: R313533 |
|
| R350 | Written notification of registration of transfer |
Free format text: JAPANESE INTERMEDIATE CODE: R350 |
|
| R250 | Receipt of annual fees |
Free format text: JAPANESE INTERMEDIATE CODE: R250 |
|
| LAPS | Cancellation because of no payment of annual fees |
