JP5000000B1 - 手術用器具 - Google Patents

手術用器具 Download PDF

Info

Publication number
JP5000000B1
JP5000000B1 JP2011193780A JP2011193780A JP5000000B1 JP 5000000 B1 JP5000000 B1 JP 5000000B1 JP 2011193780 A JP2011193780 A JP 2011193780A JP 2011193780 A JP2011193780 A JP 2011193780A JP 5000000 B1 JP5000000 B1 JP 5000000B1
Authority
JP
Japan
Prior art keywords
probe
trabecular meshwork
vitrectomy
cutting
suction port
Prior art date
Legal status (The legal status is an assumption and is not a legal conclusion. Google has not performed a legal analysis and makes no representation as to the accuracy of the status listed.)
Active
Application number
JP2011193780A
Other languages
English (en)
Other versions
JP2013052168A (ja
Inventor
一夫 市川
Current Assignee (The listed assignees may be inaccurate. Google has not performed a legal analysis and makes no representation or warranty as to the accuracy of the list.)
Chukyo Medical Co Ltd
Original Assignee
Chukyo Medical Co Ltd
Priority date (The priority date is an assumption and is not a legal conclusion. Google has not performed a legal analysis and makes no representation as to the accuracy of the date listed.)
Filing date
Publication date
Priority to JP2011193780A priority Critical patent/JP5000000B1/ja
Application filed by Chukyo Medical Co Ltd filed Critical Chukyo Medical Co Ltd
Priority to US14/238,117 priority patent/US20140194916A1/en
Priority to PCT/JP2012/070599 priority patent/WO2013035497A1/ja
Priority to KR1020147004141A priority patent/KR101626103B1/ko
Priority to EP12830334.4A priority patent/EP2754427B1/en
Priority to CN201280042708.2A priority patent/CN103781445B/zh
Application granted granted Critical
Publication of JP5000000B1 publication Critical patent/JP5000000B1/ja
Publication of JP2013052168A publication Critical patent/JP2013052168A/ja
Priority to IL230888A priority patent/IL230888A0/en
Priority to US15/654,276 priority patent/US10463385B2/en
Active legal-status Critical Current
Anticipated expiration legal-status Critical

Links

Images

Classifications

    • AHUMAN NECESSITIES
    • A61MEDICAL OR VETERINARY SCIENCE; HYGIENE
    • A61BDIAGNOSIS; SURGERY; IDENTIFICATION
    • A61B17/00Surgical instruments, devices or methods
    • A61B17/32Surgical cutting instruments
    • A61B17/3203Fluid jet cutting instruments
    • AHUMAN NECESSITIES
    • A61MEDICAL OR VETERINARY SCIENCE; HYGIENE
    • A61BDIAGNOSIS; SURGERY; IDENTIFICATION
    • A61B17/00Surgical instruments, devices or methods
    • A61B17/32Surgical cutting instruments
    • A61B17/3205Excision instruments
    • AHUMAN NECESSITIES
    • A61MEDICAL OR VETERINARY SCIENCE; HYGIENE
    • A61FFILTERS IMPLANTABLE INTO BLOOD VESSELS; PROSTHESES; DEVICES PROVIDING PATENCY TO, OR PREVENTING COLLAPSING OF, TUBULAR STRUCTURES OF THE BODY, e.g. STENTS; ORTHOPAEDIC, NURSING OR CONTRACEPTIVE DEVICES; FOMENTATION; TREATMENT OR PROTECTION OF EYES OR EARS; BANDAGES, DRESSINGS OR ABSORBENT PADS; FIRST-AID KITS
    • A61F9/00Methods or devices for treatment of the eyes; Devices for putting in contact-lenses; Devices to correct squinting; Apparatus to guide the blind; Protective devices for the eyes, carried on the body or in the hand
    • A61F9/007Methods or devices for eye surgery
    • A61F9/00736Instruments for removal of intra-ocular material or intra-ocular injection, e.g. cataract instruments
    • A61F9/00763Instruments for removal of intra-ocular material or intra-ocular injection, e.g. cataract instruments with rotating or reciprocating cutting elements, e.g. concentric cutting needles
    • AHUMAN NECESSITIES
    • A61MEDICAL OR VETERINARY SCIENCE; HYGIENE
    • A61FFILTERS IMPLANTABLE INTO BLOOD VESSELS; PROSTHESES; DEVICES PROVIDING PATENCY TO, OR PREVENTING COLLAPSING OF, TUBULAR STRUCTURES OF THE BODY, e.g. STENTS; ORTHOPAEDIC, NURSING OR CONTRACEPTIVE DEVICES; FOMENTATION; TREATMENT OR PROTECTION OF EYES OR EARS; BANDAGES, DRESSINGS OR ABSORBENT PADS; FIRST-AID KITS
    • A61F9/00Methods or devices for treatment of the eyes; Devices for putting in contact-lenses; Devices to correct squinting; Apparatus to guide the blind; Protective devices for the eyes, carried on the body or in the hand
    • A61F9/007Methods or devices for eye surgery
    • A61F9/00781Apparatus for modifying intraocular pressure, e.g. for glaucoma treatment
    • AHUMAN NECESSITIES
    • A61MEDICAL OR VETERINARY SCIENCE; HYGIENE
    • A61NELECTROTHERAPY; MAGNETOTHERAPY; RADIATION THERAPY; ULTRASOUND THERAPY
    • A61N1/00Electrotherapy; Circuits therefor
    • A61N1/18Applying electric currents by contact electrodes
    • A61N1/32Applying electric currents by contact electrodes alternating or intermittent currents
    • A61N1/36Applying electric currents by contact electrodes alternating or intermittent currents for stimulation
    • A61N1/3601Applying electric currents by contact electrodes alternating or intermittent currents for stimulation of respiratory organs
    • AHUMAN NECESSITIES
    • A61MEDICAL OR VETERINARY SCIENCE; HYGIENE
    • A61BDIAGNOSIS; SURGERY; IDENTIFICATION
    • A61B17/00Surgical instruments, devices or methods
    • A61B2017/00535Surgical instruments, devices or methods pneumatically or hydraulically operated
    • A61B2017/00544Surgical instruments, devices or methods pneumatically or hydraulically operated pneumatically
    • AHUMAN NECESSITIES
    • A61MEDICAL OR VETERINARY SCIENCE; HYGIENE
    • A61BDIAGNOSIS; SURGERY; IDENTIFICATION
    • A61B90/00Instruments, implements or accessories specially adapted for surgery or diagnosis and not covered by any of the groups A61B1/00 - A61B50/00, e.g. for luxation treatment or for protecting wound edges
    • A61B90/08Accessories or related features not otherwise provided for
    • A61B2090/0801Prevention of accidental cutting or pricking
    • A61B2090/08021Prevention of accidental cutting or pricking of the patient or his organs

Landscapes

  • Health & Medical Sciences (AREA)
  • Life Sciences & Earth Sciences (AREA)
  • Surgery (AREA)
  • Ophthalmology & Optometry (AREA)
  • Veterinary Medicine (AREA)
  • Engineering & Computer Science (AREA)
  • Biomedical Technology (AREA)
  • Nuclear Medicine, Radiotherapy & Molecular Imaging (AREA)
  • Animal Behavior & Ethology (AREA)
  • General Health & Medical Sciences (AREA)
  • Public Health (AREA)
  • Heart & Thoracic Surgery (AREA)
  • Vascular Medicine (AREA)
  • Molecular Biology (AREA)
  • Medical Informatics (AREA)
  • Physiology (AREA)
  • Pulmonology (AREA)
  • Radiology & Medical Imaging (AREA)
  • Surgical Instruments (AREA)

Abstract

【課題】操作性に優れ、切除すべきでない部分の切除を確実に防止する緑内障の患者に対する眼科の手術用器具を提供する。
【解決手段】手術用器具1は、剛性を有するプローブ2を備え、このプローブ2をシュレム管内に挿入して線維柱帯を切除する。プローブ内には、カッタを有する内筒部が装備され、孔部22から吸引された線維柱帯が、内筒部の運動によってカッタで切断される。プローブ2先端には保護部21が形成されて、線維柱帯切除の際にシュレム管外壁を保護する。
【選択図】図1

Description

本発明は手術用器具に関する。
周知のとおり、緑内障は眼の主要な病気のひとつであり、失明の原因ともなり得るので適切な治療が不可欠である。緑内障は眼圧が長期間にわたって異常に高い数値を持続したときに起き、眼圧の上昇は、房水の流出が損なわれることにより生じる。したがって緑内障に対しては、適切に房水が流出するための治療が施される。
緑内障の治療法としては、薬の処方(目薬や経口薬)もあるが、外科的処置もある。線維柱帯の異常が房水の流出を損なう原因となることから、外科的処置として線維柱帯を除去する手術がある。この手術のための器具が下記特許文献1で提案されている。
特表2002−541975号公報
特許文献1に記載された線維柱帯切開器具は、線維柱帯切除を行う先端部を含めて全体が柔軟な構造なので、操作性が高くない可能性がある。さらに線維柱帯切除手術においては、切除する部分は適切に切除するとともに、切除しない部分は確実に切除を防止する機能が要求されるが、特許文献1に記載の器具では、切除すべきでない部分の切除防止のための構造が明確でないと考えられる。
そこで本発明が解決しようとする課題は、操作性に優れ、切除すべきでない部分の切除を確実に防止する眼科の手術用の器具を提供することにある。
上記課題を解決するために、本発明に係る手術用器具は、線維柱帯切除手術で使用される手術用器具であって、施術者が把持する把持部と、その把持部の端部から棒状に延びるように配置された剛性を有するプローブと、を備え、前記プローブは、切除部位である線維柱帯に向けて洗浄液を流出する流出口と、前記プローブの側面に形成されて、前記流出口から流出した洗浄液を廃液として回収するとともに、線維柱帯をプローブ内部へ吸引する吸引口と、その吸引口へ吸引された線維柱帯を切断する切断部と、前記吸引口および切断部よりも前記プローブの先端側に配置されて、前記プローブの先端において前記吸入口が形成された側面の側に延設された形状を有し、前記切断部による線維柱帯切除中に、前記切断部とシュレム管外壁との間に位置することで、非切除部位であるシュレム管外壁を切除および吸引から保護する保護部と、を備え、硝子体切除手術における動力の伝達と洗浄液の送出と廃液の回収とを行う硝子体切除用装置における硝子体切除用の動力供給部に接続されて、その装置から前記切断部に切断のための動力を送るための第1送出部と、前記硝子体切除用装置における硝子体切除用の洗浄液供給部に接続されて、その硝子体切除用装置から前記流出口に洗浄液を送るための第2送出部と、前記硝子体切除用装置における硝子体切除用の吸引部に接続されて、その硝子体切除用装置へ前記吸引口で吸引された廃液および切断された線維柱帯を送るための第3送出部と、を備えたことを特徴とする。
これにより本発明に係る手術用器具は、剛性を有して操作性に優れたプローブを有して切除部位を切除する眼科の手術用器具であり、そのプローブの先端側に、切除部位の切除中に、切断部と非切除部位との間に位置することで、非切除部位を切除および吸引から保護する保護部を備えた。したがって、切除部位を確実に切除しつつ、非切除部位の切除は確実に抑制する。よって眼科における効果的な外科的処置を行える手術用器具が実現される。
また前記手術は緑内障の手術であり、前記切断部は線維柱帯を切断し、前記保護部は、前記切断部による線維柱帯切除中に、前記切断部とシュレム管外壁との間に位置することで、前記非切除部位であるシュレム管外壁を切除および吸引から保護するとしてもよい。
この発明によれば、剛性を有して操作性に優れたプローブを有して線維柱帯を切除する眼科の手術用器具であり、そのプローブの先端側に、線維柱帯の切除中に、切断部とシュレム管外壁との間に位置することで、シュレム管外壁を切除および吸引から保護する保護部を備えた。したがって、線維柱帯を確実に切除しつつ、シュレム管外壁の切除は確実に抑制する。よって緑内障に対する効果的な外科的処置を行える手術用器具が実現される。
また前記吸入口は前記プローブの側面に形成され、前記保護部は、前記プローブの先端において前記吸入口が形成された側面の側に延設された形状を有するとしてもよい。
この発明によれば、切断部が隣接する吸入口をプローブの側面に配置し、プローブの先端における吸入口が形成された側面の側に保護部を延設した形状とするので、こうした簡素な構造によって、例えばプローブをシュレム管内に挿入して線維柱帯を切除し、かつプローブ先端に対向する位置のシュレム管外壁を保護部によって切除や吸引から確実に保護することが可能となる。
また前記プローブ内部に長手方向軸を共有するように配置された内筒部を備え、前記切断部は、その内筒部の側面に形成されて、内筒部のプローブに対する相対的な回転運動または並進運動によって切除部位を切断する切断刃を備えたとしてもよい。
この発明によれば、プローブ内部に相対的に移動可能な内筒部を備えて、内筒部に備えた切断刃が、内筒部の相対的な運動により切断機能を果たすので、プローブの円筒形状を利用して、簡素な構造によって切断刃を運動させる機構を形成して、これにより切除部位を吸引しつつ効果的に切断できる。
また前記切断部に切断のための動力を送るための第1送出部と、前記流出口に洗浄液を送るための第2送出部と、前記吸引口で吸引された廃液および切断された線維柱帯を送るための第3送出部と、を備え、線維柱帯切除手術以外の手術のために動力を送り、洗浄液を送り、廃液を回収する装置に、前記第1送出部、第2送出部、第3送出部を接続することにより、線維柱帯切除手術において、前記切断部が線維柱帯を切断し、前記流出口から洗浄液が流出し、前記吸引口が廃液を吸引するとしてもよい。
この発明によれば、本発明の手術用器具を、他の手術用の装置に接続することにより、緑内障患者に対する線維柱帯切除手術が実行できる。したがって手術装置を兼用できるので、医療現場の省スペース化、低コスト化に寄与する。
また前記線維柱帯切除手術以外の手術は硝子体切除手術であるとしてもよい。
この発明によれば、本発明の手術用器具を、硝子体切除用手術用の装置に接続することにより、緑内障患者に対する線維柱帯切除手術が実行できる。これにより、従来は別々に構築されていた硝子体切除用のシステムと線維柱帯切除用のシステムとの装置部分を兼用して、医療におけるシステムの簡素化、省スペース化、低コスト化に寄与するとの顕著な効果を奏する。
また本発明の手術用器具は、眼科の手術で使用される手術用器具であって、切除部位に向けて洗浄液を流出する流出口と、その流出口から流出した洗浄液を廃液として回収するとともに、切除部位をプローブ内部へ吸引する吸引口と、その吸引口へ吸引された切除部位を切断する切断部と、を備えた剛性を有するプローブに、前記手術用器具を取り付けるための取り付け部と、前記吸引口および切断部よりも前記プローブの先端側に配置されて、前記切断部による切除部位の切除中に、前記切断部と非切除部位との間に位置することで、非切除部位を切除および吸引から保護する保護部と、を備えたことを特徴とする。
これにより本発明の手術用器具は、保護部と取り付け部を有する構成によって、例えば既存の眼科の手術用器具に取り付けて使用することができる。したがって眼科手術における大きなコスト削減に寄与するとの顕著な効果を奏する。
また前記取り付け部によって前記プローブに取り付けられた状態で、前記保護部と前記吸引口との間の距離を調節する調節部を備えたとしてもよい。
この発明によれば、保護部と吸引口との間の距離を調節できるので、行う眼科手術に適した距離に調節して、適切な手術に貢献できる。例えば緑内障の患者に対する線維柱帯の除去手術に使用する場合、シュレム管内に保護部が進入した状態で、吸引口の位置が切除すべき線維柱帯の位置に来るようにできるので、適切な線維柱帯切除手術が行える。
本発明の1実施例における手術用器具を示す図。 制御装置に接続した状態を示す図。 本発明の手術用器具の第1実施形態を示す図。 第1実施形態において内筒部が回転した状態を示す図。 本発明の手術用器具の第2実施形態を示す側面図。 本発明の手術用器具の第3実施形態を示す側面図。 本発明の手術用器具の第4実施形態を示す側面図。 第4実施形態において内筒部が運動した状態を示す図。 本発明の手術用器具を用いた緑内障手術の様子の例を示す図。 図9の拡大図。 保護部の別の実施例を示す図。 図11を上から見た図。 図11を孔部の側から見た図。 本発明の手術用器具を硝子体切除用システムとの兼用の様子を示す図。 図10の拡大図。 緑内障手術において図10に先立つ手順の例を示す図。 本発明の手術用器具の取り付けタイプの実施形態を示す図。 取り付けタイプの手術用器具の一部断面図。 取り付けタイプの手術用器具の調節用装置の例を示す図。 取り付けタイプの手術用器具の第2の例の斜視図。 取り付けタイプの手術用器具の第3の例の斜視図。 図20又は図21を側方から見た図。
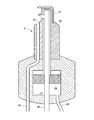
以下、本発明の実施例を図面を参照しつつ説明する。まず図1は、本発明の1実施例における手術用器具1(以下、器具)である。器具1は、緑内障手術における特に線維柱帯の切除で使用される器具であり、プローブ2、胴体部3、ケーブル・チューブ部4を備える。
プローブ2は、胴体部3の先端側から延びて、患者の眼に挿入される部位である。プローブは胴体部4から直線状に形成された円筒形状を有し、1点鎖線で囲まれた拡大部分に示されているように、先端側に位置する径が小さい小径部2aと、胴体3側の大径部2bとからなる。プローブ2(小径部2a、大径部2b)の径は、線維柱帯の切除に好適な数値とすればよい。
プローブ2の小径部2aは、図1のとおり、内部が空洞の円筒部20の先端近傍の側面に孔部20が形成され、孔部20の逆側の側面および先端端面側に保護部21を備える。手術時にプローブ2の先端が線維柱帯に挿入される。円筒部20の内部は後述するように吸引機構と接続されていて、孔部20の内部に線維柱帯の一部が吸引される。孔部20の内部にはカッタ(切断部)が備えられており、カッタによって吸引された線維柱帯が切断されて、胴体部3の方へ吸引される。手術により汚れた洗浄液も、孔部20から胴体部3の方へ吸引される。
プローブ2の大径部2bは、その先端近傍の側面に孔部23を備える。孔部23は、洗浄液を供給する部位から連結しており、手術時に、孔部23からプローブ先端方向に向けて、すなわち施術位置周辺に向けて、洗浄液が流出(噴出、射出)する。プローブ2の材質は、例えば金属や剛性を有する樹脂などとすればよい。
胴体部3(把持部)は、手術時に施術者が把持する部位であり、例えば把持に適した筒型形状で、内部に切断部を駆動する駆動部などを備える(後述)。また切除された線維柱帯や、洗浄液、その汚れた廃液などは、胴体部3の内部を通って、プローブから(あるいはプローブへ)送られる。
ケーブル・チューブ部4は、胴体部3の後端側から延びて、電力供給、洗浄液供給、切除部位および廃液回収に関係する。ケーブル・チューブ部4は複数のケーブルあるいはチューブを備えるとすればよく、例えば図1等のように、電力ケーブル40、洗浄液(洗浄流体)供給チューブ41、廃液チューブ42の3本(あるいは電力ケーブル40の両極線をそれぞれ数えれば4本)を備えるとすればよい。
電力ケーブル40は、後述するようにプローブ2の先端における切除処理のための電力を供給する。洗浄液供給チューブ41は、線維柱帯の切除施術中に施術部に洗浄液を送るためのチューブである。廃液チューブ42は、切除された線維柱帯や、施術部洗浄後の汚れた廃液や手術部位からの出血などを回収して廃棄するためのチューブである。
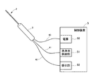
器具1は、図2に示されているように、手術時には制御装置5に接続して使用される。制御装置5は、主要な構成として、電源50(電力供給部)、洗浄液供給部51、吸引部52を備える。電源50は、器具1の電力ケーブル40が接続されることにより、器具1に電力を供給する。供給された電力により器具1は、切断部を駆動する。電源50は、商用電力を器具1に適した電力(例えば相対的に低い電圧値)に変換して、器具1に供給するとすればよい。洗浄液供給部51は、器具1の洗浄液チューブ41が接続されることにより、器具1に洗浄液を供給する。吸引部52は、器具1の廃液チューブ42が接続されることにより、器具1を通じて廃液、切除部位などを吸引する。
図3から図8は、器具1の複数の実施形態における詳細な構成を示す断面図である。これらの図を参照しながら、各実施形態における器具1の構成と動作を説明する。図3から図8は概要図であり、例えば図示縦方向の長さが圧縮されている。
まず図3は、第1実施形態におけるプローブ2、および胴体部3の軸方向断面図を示している。同図に示されたとおり、プローブ2は図1に示された円筒部20を、外筒部(外側の円筒部)として、その内側に内筒部25(内側の円筒部)を備える。内筒部25は外筒部(円筒部20)に対して相対運動可能なように配置されている。
内筒部25は内部が空洞とされた円筒形状であり、図3の位置関係で外筒部20の孔部22内と重なる位置に、内筒部25にも孔部24が形成されている。内筒部25の内部に形成された通路は、孔部24から廃液チューブ41まで連結する。外筒部20の図示右側と上側に渡って、保護部21が配置されている。保護部21は、例えば外筒部20の外形に沿って屈曲した板形状とすればよい。
図3に示すようにプローブ2は、例えば胴体部3に形成された孔部に挿入して固定された形態とすればよい。また保護部21も、例えば小径部2aと大径部2bとの境界のテーパ部に形成された孔部に挿入して固定された形態とすればよい。図3等では、円筒部20(外筒部)を大径部2bと一体で形成しているが、円筒部20(外筒部)は大径部2bとは別体として形成し、大径部2b内に挿入する形態でもよい。
小径部2aと大径部2bとの境界のテーパ部には孔部23、さらには胴体部3を通って洗浄液チューブまで貫通する、洗浄液のための通路が形成されている。洗浄液は、適切な水圧とともに制御装置5の洗浄液供給部51から供給されて、胴体部3、プローブ2を通過して孔部23から手術部位周辺へ噴出される。
手術時に孔部22と孔部24とが重なった位置関係となったときに、制御装置5の吸引部52が吸引することにより孔部22、24の内部にその近傍の線維柱帯(線維柱帯全体のうちの一部)が吸引される。同時に手術部位を洗浄した洗浄液も孔部22、24内に吸引される。
図3の実施形態においては、胴体部3内にモータ30が装備されている。モータ30は、胴体部3の中央の位置に、プローブ2の軸線と回転軸線を共有するように配置される。そしてモータ30は、電力ケーブル40を通じて制御装置5から電力が供給されて、内筒部25にプローブ2の軸線周りの回転運動をさせる。図4は、内筒部25が90度ほど回転した状態を示している。
内筒部25の孔部24の端部(例えば図示左右方向の端部)にはカッタ24aが形成され、内筒部25が外筒部20に対して回転することにより、上述のとおり孔部22、24内に吸引された線維柱帯がカッタ24aによって切断される。外筒部20の孔部22にもカッタを形成してもよい。切断された線維柱帯と廃液は、内筒部25内の通路を通って、さらに廃液チューブを通って吸引部52まで吸引される。吸引部52に貯留された線維柱帯や廃液は、例えば適切な方法で廃棄すればよい。
次に図5は、器具1の別の実施形態を示している。図5から図8の実施形態では、図3、図4と同符号で示された部位は同じ部位であり、重複する説明は省略する。
図5の実施形態では、モータ30の替わりにエアシリンダの機構が装備されている。そして制御装置5’は電力供給部50の替わりにポンプ53を装備する。また器具1は、電力ケーブル40の替わりに、動力としての空気を供給するエアチューブ40’を装備する。器具1は、胴体部3内にシリンダ31が形成され、ピストン32、ねじ部33を備える。
シリンダ31はプローブ2と軸線を共有する円筒形状で形成され、シリンダ31内に図示上下方向に移動可能なようにピストン32が配置される。ピストン32には、ねじ溝が形成され、ねじ部33のねじ溝とねじ嵌合している。ねじ部33は内筒部25に固定されている。
以上の構成で、制御装置5’のポンプ53から動力として空気の供給および吸引が繰り返されると、ピストン32が上下運動し、その上下運動がピストン32とねじ部33間のねじ機構によって、ねじ部33の回転運動に変換される。ねじ部33が回転運動することにより、内筒部25が回転する。これにより内筒部25の孔部24のカッタ24aが、孔部24内に吸引された線維柱帯を切断する。
次に図6は器具1の第3の実施形態を示す。この実施形態もエアシリンダ構造を備える。具体的には、器具1は胴体部3内に、シリンダ34が形成され、ピストン35、ギア36、ラック37を備える。シリンダ34はその軸方向が、プローブ2の軸方向と直交な円筒形状として形成され、ピストン35が図示左右方向に移動可能なようにシリンダ34内に配置される。ラック37はピストン35に固定されて、ピストン37と一体に左右に運動する。ギア36は、ラック37との間でカム機構を形成し、ラック37の並進運動を回転運動に変換する。ギア36は内筒部25に固定されている。
以上の構成で、器具1は、制御装置5’のポンプ53から動力として空気の供給および吸引が繰り返されると、ピストン32が図示左右運動し、それと一体にラック37も左右運動し、その左右運動がラック37とギア36間のカム機構によって、ギア36の回転運動に変換される。ギア36が回転運動することにより、内筒部25も回転する。これにより内筒部25の孔部24のカッタ24aが、孔部24内に吸引された線維柱帯を切断する。
なお図3、図4における内筒部25の回転運動は同一方向への一定速度の回転運動であり、図5、図6における内筒部25の回転運動では、正逆方向への所定回転角度幅の回転を繰り返すとすればよい。
次に、図7、図8は、器具1の第4の実施形態である。この実施形態では、内筒部25が図示上下方向へ平行移動する。具体的に器具1は、シリンダ31が形成され、ピストン38を備える。シリンダ31はプローブ2と軸線を共有する円筒形状で形成され、シリンダ31内に図示上下方向に移動可能なようにピストン38が配置される。ピストン38は内筒部25に固定されている。
以上の構成で、制御装置5’のポンプ53から動力として空気の供給および吸引が繰り返されると、ピストン38が図示上下運動する。ピストン38が上下運動することにより、内筒部25も上下運動する。図8には内筒部25が図示下方に移動した状態が示されている。内筒部25が下方へ移動することにより、内筒部25の孔部24のカッタ24aが、孔部24内に吸引された線維柱帯を切断する。
この実施形態では、内筒部25の孔部24における上側の端部にカッタ24aを形成すればよい。あるいは内筒部25の移動距離を長くして、内筒部25の孔部24における上下両側の端部にカッタ24aを形成して、上下両方のカッタ24aで線維柱帯を切断するようにすることも好適である。もちろん外筒部25の孔部22にもカッタを備えてよい。
以上の構成を備えた器具1を緑内障の外科的処置における線維柱帯の切除において使用する。図9に示された眼の構造の概要図を参照しつつ説明すると、眼の虹彩104の図示下部に位置する毛様体において房水は生成される。通常、この房水は、水晶体105に押し寄せた後に、前眼房101の周方向にある隅角から流れ出る。隅角には線維柱帯102やシュレム管103が存在する。線維柱帯102は房水の流出を制限するフィルタの役目を果たす。シュレム管103は房水が流れ出るための構造を有する。
線維柱帯102が異常に変形したり機能異常を起こした場合、前眼房101を出る房水の流れが制限される。それにより眼圧が異常に増加し、緑内障となる。本発明による手術用器具1は、この緑内障に対する外科的処置において効果的な器具である。器具1を用いた手術方法の一例は以下のとおりである。
手術の準備として、線維柱帯が隅角鏡を通して正面から見えるように、顕微鏡を術者側に30から45度傾けると同時に患者の頭位も決める。角膜をナイフ(例えば1.7mm)で切開し、房水を少し抜いた後、粘弾性物質を注入する。見やすくするために、特に隅角部分に充満させるとよい。隅角鏡を置いて線維柱帯を確認したらプローブ2をシュレム管103に挿入し、切除を開始する。図10に示されたとおり、シュレム管103内において、孔部21が形成された側へ向かって器具1を動かす。このとき、器具1が前進する方向は、保護部21が延設された方向と同じとなる。
時計回り、その後反時計周りに切除を進めると、90から120度まで切除できる。(白内障手術を同時に行う場合には、ここで1.7mmの角膜切開創を3.0mmまで広げ、レンズを入れる。)最後に粘弾性物質と逆流性出血を洗って完全に除去したら、創口部から房水が漏れてこないことを確認する。ある程度眼圧が保たれるように、必要ならば1針(例えば10−0ナイロン)ほど傷口を縫合する。
この手術の利点としては例えば、角膜100の切開創が小さく、シュレム管が損傷しにくいという低侵襲性と、線維柱帯を実際に見ながら切れる確実性等があげられる。また術後の重篤な合併症が少ないので、早期、中期で21mmHg以上の高眼圧の緑内障であれば、点眼を増やすよりも早期の手術適応の可能性がある。
以上のとおり、本発明の器具1を用いて、繊維柱帯が切除(掻爬)される(なお線維柱帯切除との表現には、前房側からシュレム管内壁を所定角度範囲で切除し、線維柱帯を露出させること等も含まれるとする)。この際、シュレム管外壁は保護部21により保護される。
なお保護部21は多様な形状が可能である。図11から図13には、保護部21の1実施形態が示されている。図11は斜視図、図12は図11を図示上方から見た図、図13は図11を孔部22の側から見た図である。上述のとおりプローブ2の小径部2aにおける孔部22が形成された側面と逆側の側面に当接するように保護部21は配置され、プローブ2の先端形状に沿って屈曲して、プローブ2の先端面にほぼ平行方向に延設されている。
図12に示すとおり、保護部21の前部21aは、三角形状(あるいは先細り形状)とすればよい(ただし角部は曲面形状とすればよい)。この形状は、図10に示すようにプローブ2をシュレム管103に沿って進行させるときに、進行方向に向かって保護部21の先が細くなっているので、プローブ2の進行が円滑に行える。このように保護部21は、プローブの先端をシュレム管に沿って進行させるガイド部の役割も果たす。
また図12に示すとおり、保護部21の先端21bは尖った形状としてもよい。この形状は、図16に示すように手術の最初にプローブの先端を線維柱帯の中に進入させるときに、保護部21の先端21bを線維柱帯に突き刺してプローブを進入させるのに好適である。
また図13(A)に示すように、保護部21の図示上端は丸く凹形状を持たせればよい。これにより手術時にシュレム管の曲面形状に沿い、シュレム管を傷つけないので好適である。保護部21の上端の形状は、山型の凹形状でもよい。あるいは図13(B)に示すとおり、保護部の図示上端は平坦な形状としてもよい。本発明では図13の例に限定されず、保護部21の図示上端の形状は、非切除部を保護する役割、ガイド部としての役割を果たす形状にすればよい。
プローブの先端の形状においては、保護部21(の上端)から孔部22までの距離を適切にすることが重要である。図15に示すとおり、保護部21(の上端)から孔部22までの距離dは、保護部21が線維柱帯に進入してからシュレム管に当接するまでの範囲内にある状態で、孔部22が切除すべき線維柱帯の位置に来るように設定する。ここで、切除すべき線維柱帯の位置とは、例えばシュレム管内の線維柱帯のうちで眼の中心に近い側(シュレム管にプローブを挿入する側)を含むとすればよい。
本発明の緑内障の手術用器具1は、既存の医療装置との並存が可能である。そのしくみが図14に示されている。
図14には、硝子体切除用の手術システムが示されている。同システムは、硝子体切除用制御装置500と硝子体切除用器具100を備える。硝子体切除用制御装置500は、硝子体切除用の電力供給部50(あるいはポンプ53)、洗浄液供給部51、吸引部52を備える。硝子体切除用器具100は、ケーブルあるいはチューブを備えて、それらを電力供給部50(あるいはポンプ53)、洗浄液供給部51、吸引部52に接続することにより、硝子体切除用器具100の切除部に患部(硝子体)切除のためにカッターを駆動する電力が供給され、手術部位へ洗浄液が供給され、切除された部位(硝子体)や、手術部位から還流された廃液が吸引、回収される。これにより硝子体切除用器具100を用いた硝子体切除手術が可能となる。
発明者の知見によれば、線維柱帯切除用の制御装置5(5’)に要求される機能は、既存の硝子体切除用制御装置500との機能と近く、両装置の兼用が十分可能である。すなわち、本発明の器具1に対する上述の制御装置5(5’)は、図14の硝子体切除用制御装置500で兼用(代行)することができる。これにより、従来は別々に構築されていた硝子体切除用のシステムと線維柱帯切除用のシステムとの装置部分を兼用して、眼科医療におけるシステムの簡素化、省スペース化、低コスト化に大きく寄与できる。なお硝子体切除用制御装置500に限らず、他の同様な機能を有する装置でもよい。
上記実施例は特許請求の範囲に記載された趣旨の範囲内で任意に変更してよい。例えば器具1は、硝子体の切除手術に用いてもよい。器具1は、硝子体切除に必要な装備を有するので、緑内障と硝子体の両方に対応できる高い汎用性を実現できる。
以上述べてきた実施形態は、図1に示すとおり保護部21と、それ以外のプローブ2、胴体部3、ケーブル・チューブ部4とが一体となった形態であったが、本発明はこうした形態に限定されない。図17には、保護部のみを取り付ける形態の取り付け型器具の斜視図が示されている。これを取り付ける対象は、例えば図14に示した硝子体手術用器具200とすればよい。以下では器具200に取り付けた場合を説明する。
なお器具200は、保護部が形成されていない以外は器具1と同様の構造、形状を有するとする。図18に示すとおり、器具200のプローブは、小径部220と大径部230とを有し、小径部220に孔部221が形成され、大径部230から小径部220へのテーパ部に孔部231が形成されている。孔部231からは施術部へ洗浄液を供給する。孔部221はカッタを装備して、線維柱帯(あるいは硝子体)を吸入して、カッタで切断し、廃液とともに制御装置へ送る。
図17に示された取り付けタイプの手術用器具300(以下、器具)は、先端側円筒部310(取り付け部)、胴体側円筒部320(取り付け部)、接続部330(調節部)からなる。先端側円筒部310に保護部311が形成され、先端側円筒部310、胴体側円筒部320、接続部330の順で、器具200のプローブの先端側から配置される。先端側円筒部310、胴体側円筒部320、接続部330には、軸方向中央部に器具200のプローブが挿入される貫通孔312が形成されている。
図18は、器具300が器具200に取り付けられた、すなわち器具200が貫通孔312に挿入された状態での一部断面図である。器具300は、器具200に取り付けるための構造とともに、保護部311の位置決めのための構造を備える。以下で、それらを説明する。
先端側円筒部310には、鍔部312、嵌合部313が形成されている。鍔部312は、先端側円筒部310の外周面において周方向外方に突出する形状で形成されている。嵌合部313は、先端側円筒部310の図示下端つまり胴体側の端部において、軸方向に向かう凹形状と凸形状とが周方向に沿って繰り返すように形成されている。
接続部330には、凹部332、ねじ溝部331が形成されている。凹部332は、接続部330の内周面に周方向に沿って形成された凹形状であって、先端側円筒部310の鍔部312と嵌合する。これにより先端側円筒部310と接続部330とは周方向に摺動可能となる。ねじ溝部331は、接続部330の内周面の凹部332より図示下部に形成されたねじ溝である。
胴体側円筒部320は、ねじ溝部321、嵌合部323、ボルト322を備える。ねじ溝部321は、胴体側円筒部320の外周面に形成されたねじ溝であり、接続部330のねじ溝部331と螺合する。これにより、接続部330を軸周りに回動させることによって、接続部330と胴体側円筒部320とは図示上下方向に相対移動する。
嵌合部323は、胴体側円筒部320の図示上端側において、軸方向に向かう凹形状と凸形状とが周方向に沿って繰り返すように形成されて、先端側円筒部310の嵌合部313と嵌合する。これにより胴体側円筒部320と先端側円筒部310とは、嵌合部313、323が嵌合しつつ図示上下方向に相対移動が可能となる。
ボルト322は、胴体側円筒部320の側面に形成された貫通孔に螺合されている。器具300に器具200が挿入されて適切な位置となった状態でボルト322を締め付けることによって、胴体側円筒部320が器具200に対して固定(位置決め)される。なおボルト322を備えず、胴体側円筒部320が適切な圧力で圧入されることによる固定でもよい。
ボルト322によって胴体側円筒部320が器具200固定された状態で、接続部330を軸周りに右回りに回動させると、胴体側円筒部320は固定されているので、接続部330が回動しながら図示上方へと移動する。鍔部312と凹部332とが嵌合しているので、接続部330の上方への移動につれて、先端側円筒部310も図示上方に移動する。先端側円筒部310の上方への移動の際、嵌合部313、323の嵌合によって、先端側円筒部310軸周りの回動は規制(禁止)される。したがって先端側円筒部310は回動せずに、図示上方に平行移動する。当然、接続部330を逆方向に回動させると、先端側円筒部310は図示下方に平行移動する。
以上のとおり、器具300に器具200のプローブを挿入して、ボルト322で胴体側円筒部320を器具200へ固定し、その状態で接続部330を回動させることによって、先端側円筒部310が図示上下方向に平行移動する。これにより、接続部330の回動角度を調節することによって、保護部311の適切な位置決めが行える。つまり、保護部311(の上端)から孔部221までの距離(図15のd)が適切に調節できる。このような取り付けタイプの器具300は既存の眼科手術用器具(例えば硝子体手術用器具や緑内障用の器具に限定されず、他の眼科手術用器具でもよい)に取り付けて使用できるので、顕著なコスト削減の効果を奏する。
接続部330を回動して、保護部311(の上端)から孔部221までの距離を適切に調節する処理は、施術者(作業者)が手作業で行ってもよいが、微細な位置決めであるので、機械によっておこなってもよい。この目的のための装置の例が図19に示されている。
図19の装置400は、筐体のなかに(器具200が挿入されてボルト322で固定された)器具300を配置(把持)して、保護部311を精密に位置決めするための装置である。装置400は、主要な構造として、把持部401、挟持部402、403、モータ410、計測部420、制御部430を備える。
把持部401は、接続部330を径方向外方から把持する部位である。把持部401は、周方向に間隔を置いて、あるいは全周に渡って配置されているとすればよい。挟持部402、403は、棒状の部位であり、図示左右方向に移動可能で、図19に示されるように、保護部311の上端(図示右端)と孔部221の上端(図示右端)とを(適切な圧力で)挟持する。
モータ410は、例えばステップモータなどとして、把持部401が軸周りの指令された角度だけ回動するように駆動する。計測部420、挟持部402、403のそれぞれの先端間の距離を計測する。計測方法は周知の電子計測の手法を用いればよい。
制御部430は、通常のコンピュータと同様の構造、すなわち各種計算などの情報処理のためのCPU、CPUの作業領域としての一時記憶部のRAM、プログラムなど必要な各種情報を記憶するROM等を備える。制御部430は、計測部420の計測結果をモニターしながら、保護部311(の上端)から孔部221までの距離が、線維柱帯切除手術で最適な距離となるための回動角度をモータ410に指令する。
制御部430によるこの制御は、例えばフィードバック制御とすればよい。すなわち、計測部420での計測値をフィードバックして目標値(目標距離)との差分を算出し、この算出結果を適切に設計されたコントローラに入力して、その出力をモータ410への入力値とすればよい。こうした制御によって、保護部311(の上端)から孔部221までの距離を最適な距離に調節できる。
本発明の手術用器具の取り付けタイプの形態は以上の例に限定されない。図20から図21に別の実施形態が示されている。図20は、取り付けタイプの手術用器具の第2の例の斜視図、図21は、取り付けタイプの手術用器具の第3の例の斜視図、図22は、図20又は図21を側方から見た図である。図20から図22の例は、図17等の例よりも簡素な形態であり、既存の器具(例えば器具200の場合で説明する)の先端のみに取り付ける形態である。
図20に示された器具300aは、左右両側に湾曲して延設された湾曲部340の図示上方に保護部311を有する。保護部311は、上述の保護部21と同様の形状とすればよい。器具300aは、器具200のプローブが湾曲部340内に挿入されるようにして、例えば器具200の先端側から装着する。
器具300aの器具200への固定は、例えば器具200のプローブが湾曲部340に圧入されることによってもよい。あるいは、器具200のプローブを湾曲部340内に挿入した後に、湾曲部340をペンチなどの器具で外側から加締める(押圧して変形する)ことによって器具200に固定する形態でもよい。あるいは湾曲部340の内側に接着材(粘着材)層を形成して、接着(粘着)によって器具200に固定してもよい。
図21に示された器具300bは、円筒形状の円筒部341の図示上方に保護部311が形成されている。器具300bは、器具200のプローブが円筒部341内に挿入されるようにして、例えば器具200の先端側から装着する。
器具300bの器具200への固定は、例えば器具200のプローブが円筒部341に圧入されることによってもよい。あるいは、器具200のプローブを円筒部341内に挿入した後に、円筒部341をペンチなどの器具で外側から加締める(押圧して変形する)ことによって器具200に固定する形態でもよい。あるいは円筒部341の内側に接着材(粘着材)層を形成して、接着(粘着)によって器具200に固定してもよい。
器具300a、300bにおいても、上述のように図15で示したような保護部311の上端から吸入口22までの距離dを適切にする必要がある。この目的のために、器具300a、300bには、図20、図21に示されているように、保護部311の図示下側に例えば板形状の長さ調節部311aが形成されている。
長さ調節部311aの形成によって、図22に示されているように、器具200の先端が長さ調節部311aに当接するように器具300a、300bが器具200に固定すれば、保護部311の上端から吸入口22までの距離dが、上述の意味で緑内障手術の線維柱帯切除に適切な長さになるようにする。長さ調節部311aの厚さは、この要求を満たすように、既存の器具200の寸法に適して設定しておく。以上のような簡易な形態の器具300a、300bを、既存の器具(器具200に限定されない)に装着することによって低コストで緑内障手術用の器具が作成できる。
1 手術用器具
2 プローブ
3 胴体部(把持部)
4 ケーブル・チューブ部
40 電力ケーブル(第1送出部)
40’ エアチューブ(第1送出部)
41 洗浄液チューブ(第2送出部)
42 廃液チューブ(第3送出部)

Claims (3)

  1. 線維柱帯切除手術で使用される手術用器具であって、
    施術者が把持する把持部と、
    その把持部の端部から棒状に延びるように配置された剛性を有するプローブと、
    を備え、前記プローブは、
    切除部位である線維柱帯に向けて洗浄液を流出する流出口と、
    前記プローブの側面に形成されて、前記流出口から流出した洗浄液を廃液として回収するとともに、線維柱帯をプローブ内部へ吸引する吸引口と、
    その吸引口へ吸引された線維柱帯を切断する切断部と、
    前記吸引口および切断部よりも前記プローブの先端側に配置されて、前記プローブの先端において前記吸入口が形成された側面の側に延設された形状を有し、前記切断部による線維柱帯切除中に、前記切断部とシュレム管外壁との間に位置することで、非切除部位であるシュレム管外壁を切除および吸引から保護する保護部と、を備え、
    硝子体切除手術における動力の伝達と洗浄液の送出と廃液の回収とを行う硝子体切除用装置における硝子体切除用の動力供給部に接続されて、その装置から前記切断部に切断のための動力を送るための第1送出部と、
    前記硝子体切除用装置における硝子体切除用の洗浄液供給部に接続されて、その硝子体切除用装置から前記流出口に洗浄液を送るための第2送出部と、
    前記硝子体切除用装置における硝子体切除用の吸引部に接続されて、その硝子体切除用装置へ前記吸引口で吸引された廃液および切断された線維柱帯を送るための第3送出部と、
    を備えたことを特徴とする手術用器具。
  2. 前記プローブ内部に長手方向軸を共有するように配置された内筒部を備え、
    前記切断部は、その内筒部の側面に形成されて、プローブに対する内筒部の相対的な回転運動または並進運動によって切除部位を切断する切断刃を備えた請求項に記載の手術用器具。
  3. 線維柱帯切除手術で使用される手術用器具であって、
    切除部位である線維柱帯に向けて洗浄液を流出する流出口と、前記プローブの側面に形成されて、前記流出口から流出した洗浄液を廃液として回収するとともに、線維柱帯をプローブ内部へ吸引する吸引口と、その吸引口へ吸引された線維柱帯を切断する切断部と、を備えた剛性を有するプローブに、前記手術用器具を取り付けるための取り付け部と、
    前記吸引口および切断部よりも前記プローブの先端側に配置されて、前記プローブの先端において前記吸引口が形成された側面の側に延設された形状を有し、前記切断部による線維柱帯切除中に、前記切断部とシュレム管外壁との間に位置することで、非切除部位であるシュレム管外壁を切除および吸引から保護する保護部と、
    前記取り付け部によって前記プローブに取り付けられた状態で、前記保護部と前記吸引口との間の距離を調節する調節部と、
    を備えたことを特徴とする手術用器具。
JP2011193780A 2011-09-06 2011-09-06 手術用器具 Active JP5000000B1 (ja)

Priority Applications (8)

Application Number Priority Date Filing Date Title
JP2011193780A JP5000000B1 (ja) 2011-09-06 2011-09-06 手術用器具
PCT/JP2012/070599 WO2013035497A1 (ja) 2011-09-06 2012-08-13 手術用器具
KR1020147004141A KR101626103B1 (ko) 2011-09-06 2012-08-13 수술용 기구
EP12830334.4A EP2754427B1 (en) 2011-09-06 2012-08-13 Surgical instrument
US14/238,117 US20140194916A1 (en) 2011-09-06 2012-08-13 Surgical instrument
CN201280042708.2A CN103781445B (zh) 2011-09-06 2012-08-13 手术用器具
IL230888A IL230888A0 (en) 2011-09-06 2014-02-09 surgical instrument
US15/654,276 US10463385B2 (en) 2011-09-06 2017-07-19 Surgical instrument

Applications Claiming Priority (1)

Application Number Priority Date Filing Date Title
JP2011193780A JP5000000B1 (ja) 2011-09-06 2011-09-06 手術用器具

Publications (2)

Publication Number Publication Date
JP5000000B1 true JP5000000B1 (ja) 2012-08-15
JP2013052168A JP2013052168A (ja) 2013-03-21

Family

ID=46793948

Family Applications (1)

Application Number Title Priority Date Filing Date
JP2011193780A Active JP5000000B1 (ja) 2011-09-06 2011-09-06 手術用器具

Country Status (7)

Country Link
US (2) US20140194916A1 (ja)
EP (1) EP2754427B1 (ja)
JP (1) JP5000000B1 (ja)
KR (1) KR101626103B1 (ja)
CN (1) CN103781445B (ja)
IL (1) IL230888A0 (ja)
WO (1) WO2013035497A1 (ja)

Cited By (1)

* Cited by examiner, † Cited by third party
Publication number Priority date Publication date Assignee Title
EP3875066A1 (en) 2020-03-05 2021-09-08 Chukyo Medical Co., Inc. Ophthalmic surgery instrument

Families Citing this family (20)

* Cited by examiner, † Cited by third party
Publication number Priority date Publication date Assignee Title
US7909789B2 (en) 2006-06-26 2011-03-22 Sight Sciences, Inc. Intraocular implants and methods and kits therefor
US8529622B2 (en) 2010-02-05 2013-09-10 Sight Sciences, Inc. Intraocular implants and related kits and methods
WO2013141898A1 (en) 2012-03-20 2013-09-26 Sight Sciences, Inc. Ocular delivery systems and methods
JP5458205B1 (ja) * 2013-06-28 2014-04-02 株式会社中京メディカル 手術用器具
US10299958B2 (en) 2015-03-31 2019-05-28 Sight Sciences, Inc. Ocular delivery systems and methods
DE102015208646A1 (de) * 2015-05-08 2016-11-10 Frank Zastrow Chirurgisches Handgerät sowie eine Schutzeinrichtung
JP6770291B2 (ja) * 2015-09-01 2020-10-14 マニー株式会社 硝子体手術用プローブ
CN105662700A (zh) * 2016-01-07 2016-06-15 佛山市禾才科技服务有限公司 一种双液流管的眼科手术刀
US10555834B2 (en) * 2016-07-11 2020-02-11 Novartis Ag Vitrectomy probe with rotary cutter and associated devices, systems, and methods
WO2018123973A1 (ja) * 2016-12-27 2018-07-05 ロート製薬株式会社 手術器具
CN107174399B (zh) * 2017-05-27 2019-07-12 天津优视眼科技术有限公司 一种内路实施的施莱姆氏管手术输送系统
WO2019160508A1 (en) * 2018-02-19 2019-08-22 Singapore Health Services Pte Ltd Method and apparatus for shearing tissue at a target surgical site
US12023054B2 (en) * 2018-09-28 2024-07-02 Scp Altis Catheter apparatus
GB2581316B (en) * 2018-11-08 2023-08-09 Nachum Zvi Device for removing liquid from an eye of a subject
US11504270B1 (en) 2019-09-27 2022-11-22 Sight Sciences, Inc. Ocular delivery systems and methods
KR102687459B1 (ko) 2020-05-15 2024-07-23 아이플로우 인코포레이티드 포유류 안구의 통상의 안방수 유출 경로에 임플란트하기 위한 장치
US12440374B2 (en) 2022-01-12 2025-10-14 Innovative Drive Corporation Mechanical hole punch for the reduction of intraocular pressure and methods of use
CN115590677B (zh) * 2022-10-20 2024-12-03 微创视神医疗科技(上海)有限公司 小梁网切除设备
CN116869735A (zh) * 2023-08-04 2023-10-13 中南大学湘雅医院 一种青光眼房水引流管植入推注装置
JP7411297B1 (ja) * 2023-08-28 2024-01-11 株式会社トラベクター 眼科手術用器具、眼内切除用部材及びその製造方法

Citations (2)

* Cited by examiner, † Cited by third party
Publication number Priority date Publication date Assignee Title
JP2005185427A (ja) * 2003-12-25 2005-07-14 Takashima Sangyo Kk 硝子体カッター及び該硝子体カッターを備える硝子体手術装置、硝子体カッター製造方法
JP2010099208A (ja) * 2008-10-22 2010-05-06 Nidek Co Ltd 灌流吸引装置

Family Cites Families (7)

* Cited by examiner, † Cited by third party
Publication number Priority date Publication date Assignee Title
US4759363A (en) * 1985-09-17 1988-07-26 Jensen Ronald P Scalpel with removable depth guard
US5106364A (en) * 1989-07-07 1992-04-21 Kabushiki Kaisha Topcon Surgical cutter
US5643297A (en) * 1992-11-09 1997-07-01 Endovascular Instruments, Inc. Intra-artery obstruction clearing apparatus and methods
US6514268B2 (en) * 1999-08-30 2003-02-04 Alcon Universal Ltd. Method of operating microsurgical instruments
CA2528060C (en) * 2003-06-10 2012-12-11 Neomedix Corporation Device and methods useable for treatment of glaucoma and other surgical procedures
EP2129347A1 (en) 2007-03-20 2009-12-09 Alcon, Inc. Surgical laser system control architecture
US20090287233A1 (en) * 2008-05-15 2009-11-19 Huculak John C Small Gauge Mechanical Tissue Cutter/Aspirator Probe For Glaucoma Surgery

Patent Citations (2)

* Cited by examiner, † Cited by third party
Publication number Priority date Publication date Assignee Title
JP2005185427A (ja) * 2003-12-25 2005-07-14 Takashima Sangyo Kk 硝子体カッター及び該硝子体カッターを備える硝子体手術装置、硝子体カッター製造方法
JP2010099208A (ja) * 2008-10-22 2010-05-06 Nidek Co Ltd 灌流吸引装置

Cited By (2)

* Cited by examiner, † Cited by third party
Publication number Priority date Publication date Assignee Title
EP3875066A1 (en) 2020-03-05 2021-09-08 Chukyo Medical Co., Inc. Ophthalmic surgery instrument
US11806281B2 (en) 2020-03-05 2023-11-07 Chukyo Medical Co., Inc. Ophthalmic surgery instrument

Also Published As

Publication number Publication date
WO2013035497A1 (ja) 2013-03-14
US10463385B2 (en) 2019-11-05
EP2754427A1 (en) 2014-07-16
KR101626103B1 (ko) 2016-05-31
EP2754427B1 (en) 2019-04-03
US20140194916A1 (en) 2014-07-10
EP2754427A4 (en) 2015-04-22
JP2013052168A (ja) 2013-03-21
KR20140057274A (ko) 2014-05-12
CN103781445B (zh) 2015-11-25
US20170311970A1 (en) 2017-11-02
CN103781445A (zh) 2014-05-07
IL230888A0 (en) 2014-03-31

Similar Documents

Publication Publication Date Title
JP5000000B1 (ja) 手術用器具
JP5529853B2 (ja) 緑内障手術のための小口径の機械組織切除/吸引プローブ
EP2197399B1 (en) One-hand device for ophthalmic surgery
US20200000637A1 (en) Apparatus and method for phacoemulsification
US9301873B2 (en) Phacoemulsification Needle
EP1700584B1 (en) Phacoemulsification tip
JP2018537214A (ja) 単一ポートハイブリッドゲージ手術装置および方法
US8801737B2 (en) Apparatus and method for phacoemulsification
EP3875066B1 (en) Ophthalmic surgery instrument
US9452084B2 (en) Apparatus and method for phacoemulsification
US9132033B2 (en) Phacoemulsification needle
JP5458205B1 (ja) 手術用器具
JP7411297B1 (ja) 眼科手術用器具、眼内切除用部材及びその製造方法

Legal Events

Date Code Title Description
TRDD Decision of grant or rejection written
A01 Written decision to grant a patent or to grant a registration (utility model)

Free format text: JAPANESE INTERMEDIATE CODE: A01

Effective date: 20120510

A01 Written decision to grant a patent or to grant a registration (utility model)

Free format text: JAPANESE INTERMEDIATE CODE: A01

A61 First payment of annual fees (during grant procedure)

Free format text: JAPANESE INTERMEDIATE CODE: A61

Effective date: 20120515

R150 Certificate of patent or registration of utility model

Ref document number: 5000000

Country of ref document: JP

Free format text: JAPANESE INTERMEDIATE CODE: R150

FPAY Renewal fee payment (event date is renewal date of database)

Free format text: PAYMENT UNTIL: 20150525

Year of fee payment: 3

R250 Receipt of annual fees

Free format text: JAPANESE INTERMEDIATE CODE: R250

R250 Receipt of annual fees

Free format text: JAPANESE INTERMEDIATE CODE: R250

R250 Receipt of annual fees

Free format text: JAPANESE INTERMEDIATE CODE: R250

R250 Receipt of annual fees

Free format text: JAPANESE INTERMEDIATE CODE: R250

S111 Request for change of ownership or part of ownership

Free format text: JAPANESE INTERMEDIATE CODE: R313113

S531 Written request for registration of change of domicile

Free format text: JAPANESE INTERMEDIATE CODE: R313531

R350 Written notification of registration of transfer

Free format text: JAPANESE INTERMEDIATE CODE: R350