JP4938560B2 - 産業用ロボット - Google Patents

産業用ロボット Download PDF

Info

Publication number
JP4938560B2
JP4938560B2 JP2007164948A JP2007164948A JP4938560B2 JP 4938560 B2 JP4938560 B2 JP 4938560B2 JP 2007164948 A JP2007164948 A JP 2007164948A JP 2007164948 A JP2007164948 A JP 2007164948A JP 4938560 B2 JP4938560 B2 JP 4938560B2
Authority
JP
Japan
Prior art keywords
wafer
gripping
hand
contact
arm
Prior art date
Legal status (The legal status is an assumption and is not a legal conclusion. Google has not performed a legal analysis and makes no representation as to the accuracy of the status listed.)
Expired - Fee Related
Application number
JP2007164948A
Other languages
English (en)
Other versions
JP2009000785A (ja
Inventor
隆之 矢澤
淳之介 小山
Current Assignee (The listed assignees may be inaccurate. Google has not performed a legal analysis and makes no representation or warranty as to the accuracy of the list.)
Nidec Instruments Corp
Original Assignee
Nidec Sankyo Corp
Priority date (The priority date is an assumption and is not a legal conclusion. Google has not performed a legal analysis and makes no representation as to the accuracy of the date listed.)
Filing date
Publication date
Application filed by Nidec Sankyo Corp filed Critical Nidec Sankyo Corp
Priority to JP2007164948A priority Critical patent/JP4938560B2/ja
Priority to TW097118569A priority patent/TWI441719B/zh
Priority to KR1020080051598A priority patent/KR101423776B1/ko
Priority to CN201510639459.0A priority patent/CN105269552B/zh
Priority to EP08010223.9A priority patent/EP2033745B1/en
Priority to US12/133,684 priority patent/US8043042B2/en
Publication of JP2009000785A publication Critical patent/JP2009000785A/ja
Application granted granted Critical
Publication of JP4938560B2 publication Critical patent/JP4938560B2/ja
Expired - Fee Related legal-status Critical Current
Anticipated expiration legal-status Critical

Links

Images

Landscapes

  • Manipulator (AREA)
  • Container, Conveyance, Adherence, Positioning, Of Wafer (AREA)

Description

本発明は、所定の搬送対象物を搬送する産業用ロボットに関する。
従来から、搬送対象物が収納される収納部から搬送対象物を搬出し、また、収納部へ搬送対象物を搬入する産業用ロボットが広く利用されている。この種の産業用ロボットとして、収納部となる真空チャンバーから搬送対象物となる半導体ウエハを搬出し、また、真空チャンバーへ半導体ウエハを搬入する産業用ロボットが知られている(たとえば、特許文献1参照)。
特許文献1に記載された産業用ロボットは、半導体デバイスの製造システムの中に組み込まれており、外部から半導体ウエハが持ち込まれるロードロックチャンバー(真空チャンバー)から半導体ウエハを搬出し、半導体ウエハに所定の処理を行うための処理チャンバー(真空チャンバー)へ半導体ウエハを搬入する。また、この産業用ロボットは、ロードロックチャンバーや処理チャンバーが周囲に配置された移送チャンバー(真空チャンバー)の中に配置されている。
近年、生産性の向上を図るため、産業用ロボットには、半導体ウエハの搬送速度の高速化が要求されている。一方で、搬送速度が高速化しても、半導体ウエハが載置されるハンド上で半導体ウエハが位置ずれを起こさないように、ハンド上で半導体ウエハを確実に把持する必要がある。ここで、大気中で使用される産業用ロボットでは、真空吸着で半導体ウエハを把持する方法が広く採用されているが、真空チャンバー内に配置される産業用ロボットでは、真空吸着で半導体ウエハを把持することができない。そこで、特許文献1では、この搬送速度の高速化の要求に応えるための手段として、ハンド上で半導体ウエハを把持する機械式のクランプ機構が提案されている。
特許文献1で提案されているクランプ機構は、ハンド上に取り付けられ半導体ウエハに当接するレバー機構と、ハンドを回動可能に保持するアームに取り付けられレバー機構を作動させる作動部材とから構成されている。また、作動部材は、アームに対するハンドの回動中心から偏心した位置に配置されており、アームとハンドとの間の相対回動に伴って、レバー機構を作動させる。特許文献1で提案されているクランプ機構は、このように、レバー機構を作動させることで、半導体ウエハの把持、解放を行う。
特開2000−308988号公報
しかしながら、特許文献1で提案されている半導体ウエハのクランプ機構では、アームとハンドとの間の相対回動によって、ハンドの回動中心から偏心した位置に配置される作動部材でレバー機構を作動させ、半導体ウエハの把持、解放を行っている。そのため、半導体ウエハを把持、解放するための構成が複雑となる。
そこで、本発明の課題は、簡易な構成で、搬送対象物の把持、解放を行うことができる産業用ロボットを提供することにある。
上記の課題を解決するため、本発明は、搬送対象物が収納される収納部からの搬送対象物の搬出および収納部への搬送対象物の搬入を行う産業用ロボットにおいて、搬送対象物を搭載するハンドと、ハンドを先端側で回動可能に保持するハンド保持アームを含む2本以上のアームを有し収納部に対する搬送対象物の出し入れの際に伸縮する多関節アーム部と、多関節アーム部を回動可能に保持する本体部とを備え、ハンドは、搬送対象物に当接して搬送対象物を把持するための把持部と、搬送対象物から退避させる方向へ把持部を付勢する付勢部材とを備え、把持部は、搬送対象物に当接可能な把持部材と、多関節アーム部の伸縮動作に伴う慣性力で、把持部材が搬送対象物に当接する方向へ把持部材を移動させる重量部材とを備えることを特徴とする。
本発明の産業用ロボットでは、ハンドが、搬送対象物に当接して搬送対象物を把持するための把持部と、搬送対象物から退避させる方向へ把持部を付勢する付勢部材とを備えている。また、把持部は、搬送対象物に当接可能な把持部材と、多関節アーム部の伸縮動作に伴う慣性力で、把持部材が搬送対象物に当接する方向へ把持部材を移動させる重量部材とを備えている。そのため、把持部材と重量部材とによる簡易な構成で、搬送対象物を把持し、また、付勢部材による簡易な構成で、搬送対象物を解放することができる。
本発明において、把持部は、ハンド保持アーム側となるハンドの基端側に配置され、ハンドは、搬送対象物の端部が当接する当接部を先端側に備え、重量部材は、収納部から搬送対象物を搬出する際の多関節アーム部の伸縮動作の減速時に、当接部から離れようとする搬送対象物を当接部に接した状態に維持させるため、当接部に向かう方向でかつ搬送対象物に当接する方向へ把持部材を移動させ、把持部材と当接部とで搬送対象物を保持している。このように構成すると、収納部から搬送対象物を搬出する際の多関節アーム部の伸縮動作の減速時には、把持部材によって、搬送対象物の位置ずれを防止することが可能となり、また、収納部から搬送対象物を搬出する際の多関節アーム部の伸縮動作の加速時や等速時には、搬送対象物の端部が当接部に当接するため、当接部によって、搬送対象物の位置ずれを防止することが可能となる。
本発明において、把持部は、ハンド保持アーム側となるハンドの基端側に配置され、ハンドは、搬送対象物の端部が当接する当接部を先端側に備え、重量部材は、収納部へ搬送対象物を搬入する際の多関節アーム部の伸縮動作の加速時に、当接部から離れようとする搬送対象物を当接部に接した状態に維持させるため、当接部に向かう方向でかつ搬送対象物に当接する方向へ把持部材を移動させ、把持部材と当接部とで搬送対象物を保持している。このように構成すると、収納部へ搬送対象物を搬入する際の多関節アーム部の伸縮動作の加速時には、把持部材によって、搬送対象物の位置ずれを防止することが可能となり、また、収納部へ搬送対象物を搬入する際の多関節アーム部の伸縮動作の減速時には、搬送対象物の端部が当接部に当接するため、当接部によって、搬送対象物の位置ずれを防止することが可能となる。
本発明において、ハンドは、付勢部材による把持部の付勢方向における把持部の動きを規制する規制部材を備えることが好ましい。このように構成すると、退避時における重量部材の位置決めを行うことが可能となり、多関節アーム部の伸縮動作に伴う慣性力を利用して確実に把持部材を搬送対象物に当接させることが可能となる。
本発明において、把持部は、把持部材と重量部材とを連結するとともに回動可能な略L形状のレバー部材を備え、把持部材は、レバー部材の一端側に取り付けられ、重量部材は、レバー部材の他端側に取り付けられていることが好ましい。このように構成すると、レバー部材を用いた簡易な構成で、搬送対象物に当接する方向へ慣性力によって把持部材を移動させることが可能になる。
本発明において、把持部材は、回動可能なローラであることが好ましい。このように構成すると、把持部材が搬送対象物に当接する際に、搬送対象物がハンド上で位置ずれを起こしている場合であっても、搬送対象物に損傷を与えることなく、搬送対象物を所定の位置へ適切に案内することが可能になる。
以上のように、本発明にかかる産業用ロボットでは、簡易な構成で、搬送対象物の把持、解放を行うことができる。
以下、本発明の実施の形態を図面に基づいて説明する。
(産業用ロボットの概略構成)
図1は、本発明の実施の形態にかかる産業用ロボット1を示す側面図である。図2は、図1に示す産業用ロボット1を示す平面図であり、(A)は多関節アーム部4が伸びている状態を示し、(B)は多関節アーム部4が縮んでいる状態を示す。図3は、図1に示す産業用ロボット1が組み込まれた半導体製造システム9の概略構成を示す平面図である。図4は、図1に示す多関節アーム部4およびハンド3内の動力の伝達機構を説明するための概略断面図である。図5は、図1に示す多関節アーム部4の伸縮状態とハンド3の向きとの関係を説明するための図である。図6は、図1に示すロボット1でウエハ2の搬出、搬入を行う際の中空回転軸16の駆動モータの速度と第1アーム7の回動角度との関係を示す図である。なお、図4では、図2(A)のE−E方向から見たときの多関節アーム部4等の概略断面を示している。
本形態の産業用ロボット1(以下、「ロボット1」とする。)は、搬送対象物である薄い円盤状の半導体ウエハ2(以下、「ウエハ2」とする。)を搬送するためのロボットである。このロボット1は、図1、図2に示すように、ウエハ2を搭載するハンド3と、ハンド3を回動可能に保持しウエハ2の搬送時に伸縮する多関節アーム部4と、多関節アーム部4を回動可能に保持する本体部5とを備えている。本形態の多関節アーム部4は、第2アーム6と第1アーム7との2本のアームによって構成されている。
また、本形態のロボット1は、たとえば、図3に示すような半導体製造システム9に組み込まれて使用される。具体的には、ロボット1は、半導体製造システム9と外部装置(図示省略)との間でウエハ2の受渡しを行う受渡しチャンバー10と、ウエハ2に所定の処理を行う処理チャンバー11と、ロボット1が配置される移送チャンバー12とを備える半導体製造システム9に組み込まれて使用される。
図3に示すように、半導体製造システム9では、複数(図3に示す例では2個)の受渡しチャンバー10と複数(図3に示す例では4個)の処理チャンバー11とが移送チャンバー12の周囲に配置されている。また、受渡しチャンバー10あるいは処理チャンバー11と移送チャンバー12との間には、ウエハ2の出し入れを行うためのゲート(図示省略)が配置されている。
移送チャンバー12に配置されたロボット1は、受渡しチャンバー10あるいは処理チャンバー11からウエハ2を搬出するとともに、受渡しチャンバー10あるいは処理チャンバー11へウエハ2を搬入する。すなわち、多関節アーム部4が伸縮して、受渡しチャンバー10および処理チャンバー11に対するウエハ2の出し入れを行う。具体的には、ウエハ2を搬入する際には、縮んでいた多関節アーム部4が伸び、ハンド3がゲートを通過して、受渡しチャンバー10あるいは処理チャンバー11の内部に入り込む。また、ウエハ2を搬出する際には、受渡しチャンバー10あるいは処理チャンバー11の内部に入り込んで伸びていた多関節アーム部4が縮み、ハンド3がゲートを通過して、移送チャンバー12の中に戻る。
また、ウエハ2を取り扱う際には、受渡しチャンバー10、処理チャンバー11および移送チャンバー12はともに真空状態とされる。すなわち、本形態のロボット1は、真空状態の中で使用される。なお、本形態では、受渡しチャンバー10および処理チャンバー11は、搬送対象物であるウエハ2が収納される収納部である。
図1、図2に示すように、ハンド3の基端側は、第2アーム6の先端側に回動可能に連結されている。第2アーム6の基端側は、第1アーム7の先端側に回動可能に連結されている。第1アーム7の基端側は、本体部5に回動可能に連結されている。また、上下方向では、ハンド3、第2アーム6、第1アーム7および本体部5は、上側からこの順番で配置されている。本形態では、第2アーム6は、ハンド3を先端側で回動可能に保持するハンド保持アームである。
本体部5は、外形が略円柱状となるように形成されている。この本体部5は、図4に示すように、径方向の中心部に配置される中実回転軸15と、中実回転軸15の外周面を覆うように中実回転軸15と同心状に配置される中空回転軸16と、中実回転軸15の上端側に固定されたプーリ17と、中実回転軸15を回動させるための駆動モータ(図示省略)と、中空回転軸16を回動させるための駆動モータ(図示省略)とを備えている。中空回転軸16の上端は、第1アーム7の基端側の底面に固定されている。
中空回転軸16は、中実回転軸15に対して相対回転可能となっている。また、本体部5は、中実回転軸15と中空回転軸16とを連結する連結機構(図示省略)を備えており、中実回転軸15と中空回転軸16とが一体で回動することも可能となっている。
第1アーム7は、図4に示すように、中空部を有する略中空状に形成されている。第1アーム7の基端側の内部には、プーリ17が配置されている。また、第1アーム7の先端側の内部には、固定軸18が固定されている。
第2アーム6も第1アーム7と同様に、図4に示すように、中空部を有する略中空状に形成されている。第2アーム6の基端側の底面には、プーリ19が固定されている。また、第2アーム6の先端側の内部には、固定軸20が固定されている。プーリ19は、第2アーム6の内部に配置される第1プーリ部19aと、第1アーム7の先端側の内部に配置される第2プーリ部19bと備えている。プーリ19には、固定軸18が挿通され、プーリ19は、固定軸18に対して回動可能となっている。プーリ17と第2プーリ部19bとの間には、ベルト21が掛け渡されている。
ハンド3の基端側の底面には、プーリ22が固定されている。プーリ22は、第2アーム6の先端側の内部に配置されている。また、プーリ22には、固定軸20が挿通され、プーリ22は、固定軸20に対して回動可能となっている。プーリ22と第1プーリ部19aとの間には、ベルト23が掛け渡されている。
なお、ハンド3の詳細な構成については後述する。
本形態では、中実回転軸15が固定された状態で、中空回転軸16が回動すると、多関節アーム部4が伸縮するように構成されている。すなわち、所定の状態で、中空回転軸16の駆動モータが駆動すると、多関節アーム部4が伸縮動作を行う。一方、中実回転軸15と中空回転軸16とが一体で回動すると、多関節アーム部4は伸縮せずに、本体部5に対して多関節アーム部4が旋回するように構成されている。すなわち、所定の状態で、中実回転軸15の駆動モータが駆動すると、多関節アーム部4が旋回動作を行う。
また、本形態では、プーリ17、19のプーリ間ピッチと、プーリ19、22のプーリ間ピッチとが等しくなっている。また、プーリ17の径と第2プーリ部19bの径と比が2:1となり、第1プーリ部19aの径とプーリ22の径との比が1:2となっている。そのため、本形態では、中実回転軸15が固定された状態で、中空回転軸16が回動すると、図5に示すように、ハンド3と第2アーム6との角度、および、第2アーム6と第1アーム7との角度は変化するが、ハンド3は、プーリ17の中心(すなわち、本体部5の中心)とプーリ22の中心(すなわち、ハンド3の回動中心)とを結んだ仮想直線X上を向きを一定にした状態で移動する。すなわち、本形態のロボット1は、多関節アーム部4が伸縮する際に、ハンド3が一定方向を向いた状態で放射状に移動するいわゆる円筒型ロボットである。
なお、図5(A)は、多関節アーム部4が最も伸びた状態を示し、この状態で、受渡しチャンバー10あるいは処理チャンバー11からのウエハ2の搬出が開始される。また、図5(D)は、多関節アーム部4が最も縮んだ状態を示し、この状態で、受渡しチャンバー10あるいは処理チャンバー11へのウエハ2の搬入が開始される。さらに、図5(B)は、多関節アーム部4の伸縮動作のちょうど中間状態を示している。すなわち、多関節アーム部4が、図5(A)の状態から図5(D)の状態までの間で伸縮動作を行うときの第1アーム7の回動角度をθとすると、図5(A)の状態の第1アーム7と図5(B)の状態の第1アーム7とによって形成される角度(あるいは、図5(D)の状態の第1アーム7と図5(B)の状態の第1アーム7とによって形成される角度)がθ/2となるときの状態を、図5(B)は示している。また、図5(C)は、ハンド3の回動中心と本体部5の中心とが一致した状態を示している。
本形態では、ウエハ2の搬出、搬入を行う際の中空回転軸16の駆動モータの回転速度は、図6に示すように変化する。すなわち、中空回転軸16の駆動モータは、加速後、定速で回転することなく、減速する。すなわち、中空回転軸16の回動に伴う多関節アーム部4の伸縮動作は、定速動作のない加減速動作のみである。
また、本形態では、中空回転軸16の駆動モータの加速レートと減速レートとが等しくなっており、図5(B)に示す状態で、中空回転軸16の駆動モータの加減速が切り替わる。すなわち、ウエハ2の搬出あるいは搬入開始後、第1アーム7がθ/2回転すると、多関節アーム部4の伸縮動作の加減速が切り替わる。
(ハンドの構成)
図7は、図1に示すハンド3の要部を示す平面図であり、(A)は把持部28がウエハ2から退避している状態を示し、(B)は把持部28がウエハ2を把持している状態を示す。図8は、図7に示すハンド3の要部の側面図である。図9は、図2(A)のF部の構成を側面から説明するための断面図である。図10は、図2(A)のG部の構成を側面から説明するための断面図である。なお、以下の説明では、便宜上、図7の上下方向を左右方向とし、図7の左右方向を前後方向とする。
ハンド3は、図7等に示すように、ウエハ2を載置するための2個の載置部材26と、2個の載置部材26の基端側が固定されるベース部材27と、ウエハ2の端部に当接してウエハ2を把持するための把持部28と、ウエハ2から退避させる方向へ把持部28を付勢する付勢部材としての引張りコイルバネ29と、ウエハ2の端部が当接する当接部としての当接部材30と、引張りコイルバネ29による把持部28の付勢方向における把持部28の動きを規制する規制部材31とを備えている。
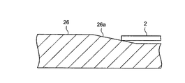
載置部材26は、薄板状の部材であり、たとえば、セラミックで形成されている。上述のように、2個の載置部材26の基端側はベース部材27に固定されている。具体的には、図2等に示すように、2個の載置部材26が左右方向に所定の間隔をあけた状態で互いに略平行になるように、その基端側がベース部材27に固定されている。載置部材26の基端側には、ウエハ2の端部の下端が当接する傾斜面26aが形成されている。具体的には、図10に示すように、傾斜面26aは、先端側に向かうにしたがって緩やかに下がるように形成されている。また、傾斜面26aは、図2(A)に示すように、上下方向で見たとき、傾斜面26aに当接するウエハ2の当接部分の接線方向と略平行になるように形成されている。
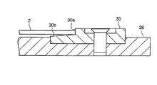
当接部材30は、2個の載置部材26の先端側にそれぞれ固定されている。この当接部材30には、図9に示すように、ウエハ2の端部が当接する鉛直面30aと、ウエハ2の端部の下端が当接する傾斜面30bとが形成されている。傾斜面30bは、鉛直面30aの下端からハンド3の基端側に向かって形成されるとともに、ハンド3の基端側に向かうにしたがって緩やかに下がるように形成されている。また、鉛直面30aおよび傾斜面30bは、図2(A)に示すように、上下方向で見たとき、傾斜面30bに当接するウエハ2の当接部分の接線方向と略平行になるように形成されている。
鉛直面30aは、後述のように、把持部28とともにウエハ2を把持する機能を果たしている。また、鉛直面30aは、後述のように、ウエハ2の搬出、搬入時に、ウエハ2の位置ずれを防止する機能を果たしている。
ベース部材27は、ハンド3の基端側部分を構成している。プーリ22は、このベース部材27の底面に固定されている。
把持部28は、ハンド3の基端側に配置されている。具体的には、把持部28は、ベース部材27の上面側に取り付けられている。この把持部28は、図7等に示すように、ウエハ2に当接するとともに回動可能な2個のローラ34と、多関節アーム部4の伸縮動作に伴う慣性力で、ローラ34がウエハ2へ当接する方向へローラ34を移動させるための2個の重量部材35と、ローラ34と重量部材35とを連結する2本のレバー部材36と、レバー部材36を回動可能に支持する2本の固定軸37とを備えている。2個のローラ34、2個の重量部材35、2本のレバー部材36および2本の固定軸37はそれぞれ、ハンド3の左右方向の中心位置に対して対称に配置されている。本形態では、ローラ34は、搬送対象物であるウエハ2に当接してウエハ2を把持する把持部材である。
2本の固定軸37はそれぞれ、図7に示すように、ベース部材27の先端側かつ左右両端側に固定されている。すなわち、2本の固定軸37は左右方向に所定の間隔をあけた状態で、ベース部材27の先端側に固定されている。また、固定軸37は、図8に示すように、ベース部材27の上面から突出するように、ベース部材27に固定されている。
レバー部材36は、略L形状に形成されている。具体的には、レバー部材36は、互いに略直角に連結される略直線状の第1レバー部36aと略直線状の第2レバー部36bとから構成されている。上述のように、レバー部材36は、固定軸37によって回動可能に支持されている。具体的には、第1レバー部36aと第2レバー部36bとの連結部が固定軸37によって回動可能に支持されている。また、略前後方向が第1レバー部36aの長手方向となり、略左右方向が第2レバー部36bの長手方向となるように、かつ、第1レバー部36aが固定軸37から先端側に向かって突出し、第2レバー部36bが固定軸37から左右方向の内側へ向かって突出するように、レバー部材36が固定軸37に回動可能に支持されている。
ローラ34は、レバー部材36の一端側に取り付けられている。具体的には、ローラ34は、第1レバー部36aの先端側に回動可能に取り付けられている。
重量部材35は、比重の大きな金属材料等で形成された重りである。本形態の重量部材35は、略円盤状に形成されている。この重量部材35は、レバー部材36の他端側に取り付けられている。具体的には、重量部材35は、第2レバー部36bの先端側に固定されている。
規制部材31は、平板状に形成され、左右方向と上下方向とによって形成される平面と平行になるように配置されている。具体的には、規制部材31は、2個の載置部材26の基端側の上面に固定されている。本形態では、規制部材31は、レバー部材36に固定された重量部材35よりもハンド3の先端側に配置されている。また、レバー部材36とともに固定軸37を中心に回動する重量部材35が当接可能となるように、規制部材31が配置されている。すなわち、本形態では、重量部材35が規制部材31に当接することで、引張りコイルバネ29による把持部28の付勢方向における把持部28の動きが規制されている。
図7に示すように、引張りコイルバネ29の一端は、規制部材31に取り付けられ、引張りコイルバネ29の他端は、第2レバー部36bの先端側に取り付けられている。そのため、上述のように、引張りコイルバネ29によって、把持部28(具体的には、ローラ34)は、ウエハ2から退避する方向へ付勢されている。具体的には、図7の上側に配置されるレバー部材36は、反時計方向に付勢され、図7の下側に配置されるレバー部材36は、時計方向に付勢されている。
本形態では、以下で述べるように、多関節アーム部4の伸縮動作に伴う慣性力で、ウエハ2に当接する方向へローラ34が移動するように、第2レバー部36bの長さ、重量部材35の重量および引張りコイルバネ29の付勢力等が設定されている。
図7(A)に示すように、本形態では通常、引張りコイルバネ29の付勢力で、把持部28はウエハ2から退避しており、ローラ34はウエハ2に当接していない。すなわち、把持部28はウエハ2を解放している。なお、このときには、重量部材35が規制部材31に当接しており、把持部28の動きが規制されている。
一方、受渡しチャンバー10あるいは処理チャンバー11からウエハ2を搬出するために、多関節アーム部4が伸びた状態から縮んでいき、多関節アーム部4の伸縮動作が減速動作になると、重量部材35には、ベース部材27に対する相対的な慣性力がハンド3の基端側に向かって生じる。そのため、図7(B)に示すように、レバー部材36は、引張りコイルバネ29の付勢力に抗してローラ34がウエハ2を把持する方向へ回動する。すなわち、重量部材35は、ウエハ2を搬出する際の多関節アーム部4の伸縮動作の減速時に、慣性力によって、ウエハ2に当接する方向へローラ34を移動させる。引張りコイルバネ29の付勢力に抗してレバー部材36が回動すると、ローラ34がウエハ2に当接しウエハ2を把持する。また、多関節アーム部4が縮んで停止すると、上述のように、引張りコイルバネ29の付勢力で、ローラ34はウエハ2を解放する。
同様に、受渡しチャンバー10あるいは処理チャンバー11へウエハ2を搬入するために、多関節アーム部4が縮んだ状態から伸びると、多関節アーム部4の伸縮動作の加速時に、重量部材35には、ベース部材27に対する相対的な慣性力がハンド3の基端側に向かって生じ、レバー部材36は、引張りコイルバネ29の付勢力に抗してローラ34がウエハ2を把持する方向へ回動する。すなわち、重量部材35は、ウエハ2を搬入する際の多関節アーム部4の伸縮動作の加速時に、慣性力によって、ウエハ2に当接する方向へローラ34を移動させる。引張りコイルバネ29の付勢力に抗してレバー部材36が回動すると、ローラ34がウエハ2に当接しウエハ2を把持する。また、多関節アーム部4が伸びて停止すると、引張りコイルバネ29の付勢力で、ローラ34はウエハ2を解放する。
なお、把持部28がウエハ2を把持しているときには、当接部材30の鉛直面30aもウエハ2に当接している。すなわち、把持部28と鉛直面30aとがウエハ2を把持している。本形態では、図2に示すように、略120°ピッチで、把持部28および鉛直面30aがウエハ2に当接して、把持部28および鉛直面30aがウエハ2を把持している。
また、ウエハ2を搬出する際の多関節アーム部4の動作の加速時には、ハンド3の先端側へ向かう相対的な慣性力がウエハ2に生じる。また、ウエハ2を搬入する際の多関節アーム部4の動作の減速時にも、ハンド3の先端側へ向かう相対的な慣性力がウエハ2に生じる。そのため、これらのときには、当接部材30の鉛直面30aにウエハ2が当接して、ウエハ2の位置ずれが防止される。
また、ウエハ2を搬出する際の多関節アーム部4の動作の加速時、および、ウエハ2を搬入する際の多関節アーム部4の動作の減速時には、重量部材35に、ベース部材27に対する相対的な慣性力がハンド3の先端側に向かって生じる。このときには、重量部材35が規制部材31に当接して、把持部28の動きが規制される。
(本形態の主な効果)
以上説明したように、本形態では、ハンド3が、ウエハ2に当接してウエハ2を把持するための把持部28と、ウエハ2から退避させる方向へ把持部28を付勢する引張りコイルバネ29とを備えている。また、把持部28は、ウエハ2に当接してウエハ2を把持するローラ34と、多関節アーム部4の伸縮動作に伴う慣性力で、ローラ34がウエハ2に当接する方向へローラ34を移動させる重量部材35とを備えている。そのため、ローラ34と重量部材35とによる簡易な構成で、ウエハ2を把持し、また、引張りコイルバネ29による簡易な構成で、ウエハ2を解放することができる。
本形態では、把持部28がハンド3の基端側に配置され、当接部材30がハンド3の先端側となる載置部材26の先端側に固定されている。また、ウエハ2を搬出する際の多関節アーム部4の伸縮動作の減速時には、重量部材35によって、ウエハ2に当接する方向へローラ34が移動する。そのため、ウエハ2を搬出する際の多関節アーム部4の伸縮動作の減速時には、ローラ34によって、ウエハ2の位置ずれを防止することができ、ウエハ2を搬出する際の多関節アーム部4の伸縮動作の加速時には、当接部材30(具体的には、鉛直面30a)によって、ウエハ2の位置ずれを防止することができる。
本形態では、ウエハ2を搬入する際の多関節アーム部4の伸縮動作の加速時に、重量部材35によって、ウエハ2に当接する方向へローラ34が移動する。そのため、同様に、ウエハ2を搬入する際の多関節アーム部4の伸縮動作の加速時には、ローラ34によって、ウエハ2の位置ずれを防止することができ、ウエハ2を搬入する際の多関節アーム部4の伸縮動作の減速時には、当接部材30(具体的には、鉛直面30a)によって、ウエハ2の位置ずれを防止することができる。
本形態では、ハンド3は、引張りコイルバネ29による把持部28の付勢方向における把持部28の動きを規制する規制部材31を備えている。そのため、把持部28がウエハ2から退避しているとき(すなわち、ウエハ2の解放時)の重量部材35の位置決めを行うことができる。したがって、重量部材35に、多関節アーム部4の伸縮動作に伴う慣性力を適切に働かせて、レバー部材36を確実に回動させることができる。その結果、ローラ34を確実にウエハ2に当接させることができる。
本形態では、略L形状に形成されたレバー部材36の一端側にローラ34が取り付けられ、レバー部材36の他端側に重量部材35が取り付けられている。そのため、固定軸37を中心に回動するレバー部材36を用いた簡易な構成で、ウエハ2に当接する方向へ慣性力によってローラ34を移動させることができる。
本形態では、把持部28は、ウエハ2に当接するとともに回動可能なローラ34を備えている。そのため、把持部28がウエハ2に当接する際に、ウエハ2がハンド3上で位置ずれを起こしている場合であっても、ローラ34の作用によって、ウエハ2に損傷を与えることなく、ウエハ2を所定の位置へ位置決めすることが可能になる。
(他の実施の形態)
上述した形態は、本発明の好適な形態の一例ではあるが、これに限定されるものではなく本発明の要旨を変更しない範囲において種々変形実施が可能である。
上述した形態では、引張りコイルバネ29によって、ウエハ2から退避する方向に把持部28が付勢されている。この他にもたとえば、図11に示すように、圧縮コイルバネ39によって、ウエハ2から退避する方向に把持部28が付勢されても良い。この場合には、図11に示すように、圧縮コイルバネ39の一端は、第2レバー部36bに取り付けられ、圧縮コイルバネ39の他端は、載置部材26(またはベース部材27)に取り付けられる。なお、図11では、上述した形態と同一の構成については、同一の符号を付している。
上述した形態では、ハンド3は、略L形状に形成された2本のレバー部材36を回動させてウエハ2を把持、解放する把持部28を備えている。この他にもたとえば、ハンド3は、把持部28に代えて、図12に示すように、ベルト41に固定された重量部材45とベルト41に保持部材42を介して取り付けられたローラ34とを有し、ローラ34を直線状に移動させてウエハ2を把持、解放する把持部48を備えていても良い。
この把持部48では、ベルト41は、たとえば、2個のプーリ43に掛け渡されている。また、ローラ34は、保持部材42の先端側に回動可能に取り付けられている。また、保持部材42の後端側には、引張りコイルバネ49の一端が取り付けられ、ベース部材27には、引張りコイルバネ49の他端が取り付けられている。上述した形態と同様に、この把持部48は、図12(A)に示すように、通常、引張りコイルバネ49の付勢力で、ウエハ2から退避している。また、把持部48は、ウエハ2を搬出する際の多関節アーム部4の伸縮動作の減速時、あるいは、ウエハ2を搬入する際の多関節アーム部4の伸縮動作の加速時に、図12(B)に示すように、慣性力によって、ローラ34でウエハ2を把持する。なお、図12では、上述した形態と同一の構成については、同一の符号を付している。
また、図12に示す把持部48において、ベルト41およびプーリ43に代えて、リニアガイドを用いても良い。
上述した形態では、中空回転軸16の回動に伴う多関節アーム部4の伸縮動作は、定速動作のない加減速動作のみである。この他にもたとえば、中空回転軸16の回動に伴う多関節アーム部4の伸縮動作には、加速動作、減速動作に加え、定速動作があっても良い。また、上述した形態では、中空回転軸16の駆動モータの加速レートと減速レートが等しくなっているが、中空回転軸16の駆動モータの加速レートと減速レートとが異なっていても良い。
上述した形態では、ローラ34が、搬送対象物であるウエハ2に当接してウエハ2を把持する把持部材である。この他にもたとえば、ウエハ2に当接してウエハ2を把持する把持部材は、レバー部材36の一端側に固定される固定部材であっても良い。また、上述した形態では、ウエハ2を把持する方向へ把持部28を付勢する付勢部材は、引張りコイルバネ29であるが、把持部28を付勢する付勢部材は、板バネ等の他のバネ部材やゴム等の弾性部材であっても良い。
上述した形態では、重量部材35が規制部材31に当接することで、引張りコイルバネ29による把持部28の付勢方向における把持部28の動きが規制されている。この他にもたとえば、レバー部材36が規制部材31に当接することで、引張りコイルバネ29による把持部28の付勢方向における把持部28の動きが規制されても良い。
上述した形態では、ロボット1は、多関節アーム部4が伸縮する際に、ハンド3が一定方向を向いた状態で放射状に移動するいわゆる円筒型ロボットである。この他にもたとえば、本発明の構成が適用されるロボットは、円筒型ロボットでなくても良い。すなわち、多関節アーム部の伸縮に伴ってハンド3の向きが変わるロボットにも本発明の構成を適用することができる。また、上述した形態では、多関節アーム部4は、第2アーム6と第1アーム7との2本のアームによって構成されているが、多関節アーム部4は、3本以上のアームによって構成されても良い。
上述した形態では、当接部材30は、載置部材26と別体で形成され、載置部材26に固定されているが、当接部材30と同様の機能を備える当接部が載置部材26に一体で形成されても良い。
上述した形態では、ロボット1は、真空状態で使用されるいわゆる真空ロボットであるが、ロボット1は、大気中で使用されても良い。すなわち、本発明の構成が適用されるロボットは真空ロボットには限定されない。また、上述した形態では、ロボット1に搬送される搬送対象物は円盤状のウエハ2であるが、ロボット1に搬送される搬送対象物は、ウエハ2以外の円盤状に形成された基板であっても良いし、矩形状等の多角形状に形成された基板等であっても良い。
本発明の実施の形態にかかる産業用ロボットを示す側面図である。 図1に示す産業用ロボットを示す平面図であり、(A)は多関節アーム部が伸びている状態を示し、(B)は多関節アーム部が縮んでいる状態を示す。 図1に示す産業用ロボットが組み込まれた半導体製造システムの概略構成を示す平面図である。 図1に示す多関節アーム部およびハンド内の動力の伝達機構を説明するための概略断面図である。 図1に示す多関節アーム部の伸縮状態とハンドの向きとの関係を説明するための図である。 図1に示すロボットでウエハの搬出、搬入を行う際の中空回転軸の駆動モータの速度と第1アームの回動角度との関係を示す図である。 図1に示すハンドの要部を示す平面図であり、(A)は把持部がウエハから退避している状態を示し、(B)は把持部がウエハを把持している状態を示す。 図7に示すハンドの要部の側面図である。 図2(A)のF部の構成を側面から説明するための断面図である。 図2(A)のG部の構成を側面から説明するための断面図である。 本発明の他の実施の形態にかかる付勢部材を説明するための図である。 本発明の他の実施の形態にかかる把持部を説明するための図である。
符号の説明
1 ロボット(産業用ロボット)
2 ウエハ(搬送対象物)
3 ハンド
4 多関節アーム部
5 本体部
6 第2アーム(ハンド保持アーム)
10 受渡しチャンバー(収納部)
11 処理チャンバー(収納部)
28、58 把持部
29、49 引張りコイルバネ(付勢部材)
30 当接部材(当接部)
31 規制部材
34 ローラ(把持部材)
35、45 重量部材
36 レバー部材
39 圧縮コイルバネ(付勢部材)

Claims (4)

  1. 搬送対象物が収納される収納部からの前記搬送対象物の搬出および前記収納部への前記搬送対象物の搬入を行う産業用ロボットにおいて、
    前記搬送対象物を搭載するハンドと、前記ハンドを先端側で回動可能に保持するハンド保持アームを含む2本以上のアームを有し前記収納部に対する前記搬送対象物の出し入れの際に伸縮する多関節アーム部と、前記多関節アーム部を回動可能に保持する本体部とを備え、
    前記ハンドは、前記搬送対象物に当接して前記搬送対象物を把持するための把持部と、前記搬送対象物から退避させる方向へ前記把持部を付勢する付勢部材と、先端側に設けられ前記搬送対象物の端部が当接する当接部とを備え、
    前記把持部は、前記搬送対象物に当接可能な把持部材と、前記多関節アーム部の伸縮動作に伴う慣性力で、前記把持部材が前記搬送対象物に当接する方向へ前記把持部材を移動させる重量部材とを備えるとともに、前記ハンド保持アーム側となる前記ハンドの基端側に配置され、
    前記重量部材は、前記収納部から前記搬送対象物を搬出する際の前記多関節アーム部の伸縮動作の減速時に、前記当接部から離れようとする前記搬送対象物を前記当接部に接した状態に維持させるため、前記当接部に向かう方向でかつ前記搬送対象物に当接する方向へ前記把持部材を移動させ、前記把持部材と前記当接部とで前記搬送対象物を保持し、さらに、前記収納部へ前記搬送対象物を搬入する際の前記多関節アーム部の伸縮動作の加速時に、前記当接部から離れようとする前記搬送対象物を前記当接部に接した状態に維持させるため、前記当接部に向かう方向でかつ前記搬送対象物に当接する方向へ前記把持部材を移動させ、前記把持部材と前記当接部とで前記搬送対象物を保持する、
    ことを特徴とする産業用ロボット。
  2. 前記ハンドは、前記付勢部材による前記把持部の付勢方向における前記把持部の動きを規制する規制部材を備えることを特徴とする請求項に記載の産業用ロボット。
  3. 前記把持部は、前記把持部材と前記重量部材とを連結するとともに回動可能な略L形状のレバー部材を備え、前記把持部材は、前記レバー部材の一端側に取り付けられ、前記重量部材は、前記レバー部材の他端側に取り付けられていることを特徴とする請求項1または2に記載の産業用ロボット。
  4. 前記把持部材は、回動可能なローラであることを特徴とする請求項1から3のいずれか1項に記載の産業用ロボット。
JP2007164948A 2007-06-05 2007-06-22 産業用ロボット Expired - Fee Related JP4938560B2 (ja)

Priority Applications (6)

Application Number Priority Date Filing Date Title
JP2007164948A JP4938560B2 (ja) 2007-06-22 2007-06-22 産業用ロボット
TW097118569A TWI441719B (zh) 2007-06-05 2008-05-20 Industrial robotic arm
KR1020080051598A KR101423776B1 (ko) 2007-06-05 2008-06-02 산업용 로보트
CN201510639459.0A CN105269552B (zh) 2007-06-05 2008-06-04 工业用机器人
EP08010223.9A EP2033745B1 (en) 2007-06-05 2008-06-04 Industrial robot
US12/133,684 US8043042B2 (en) 2007-06-05 2008-06-05 Industrial robot

Applications Claiming Priority (1)

Application Number Priority Date Filing Date Title
JP2007164948A JP4938560B2 (ja) 2007-06-22 2007-06-22 産業用ロボット

Publications (2)

Publication Number Publication Date
JP2009000785A JP2009000785A (ja) 2009-01-08
JP4938560B2 true JP4938560B2 (ja) 2012-05-23

Family

ID=40317732

Family Applications (1)

Application Number Title Priority Date Filing Date
JP2007164948A Expired - Fee Related JP4938560B2 (ja) 2007-06-05 2007-06-22 産業用ロボット

Country Status (1)

Country Link
JP (1) JP4938560B2 (ja)

Families Citing this family (3)

* Cited by examiner, † Cited by third party
Publication number Priority date Publication date Assignee Title
JP4889794B2 (ja) * 2010-01-29 2012-03-07 川崎重工業株式会社 ウエハ搬送ロボット及びウエハの解放方法
KR102172915B1 (ko) * 2019-02-13 2020-11-02 주식회사 피에스디이 기판 이송 방법. 기판 이송 유닛 및 엔드 이펙터
JP2024148634A (ja) * 2023-04-06 2024-10-18 株式会社Screenホールディングス 基板搬送装置の監視方法、および、基板処理装置

Family Cites Families (3)

* Cited by examiner, † Cited by third party
Publication number Priority date Publication date Assignee Title
JP2814167B2 (ja) * 1992-07-17 1998-10-22 東京エレクトロン株式会社 処理装置
JP2909362B2 (ja) * 1993-08-31 1999-06-23 大日本スクリーン製造株式会社 基板保持装置
US6322312B1 (en) * 1999-03-18 2001-11-27 Applied Materials, Inc. Mechanical gripper for wafer handling robots

Also Published As

Publication number Publication date
JP2009000785A (ja) 2009-01-08

Similar Documents

Publication Publication Date Title
JP4959427B2 (ja) 産業用ロボット
TWI441719B (zh) Industrial robotic arm
JP4979530B2 (ja) 産業用ロボット
TWI398335B (zh) Workpiece conveying system
EP1037264B1 (en) Mechanical gripper for wafer handling robots
CN104271474B (zh) 输送设备
US8882430B2 (en) Industrial robot
US9401296B2 (en) Vacuum robot adapted to grip and transport a substrate and method thereof with passive bias
US9561586B2 (en) Articulated robot, and conveying device
KR20080036072A (ko) 불균등 링크 스카라 아암
WO2012036189A1 (ja) 搬送装置、基板処理システム及び姿勢制御機構
JP4231552B2 (ja) 幅広リスト・屈曲アームを有する物体移送装置
JPH11288988A (ja) アライメント高速処理機構
JP5913845B2 (ja) 板状部材の搬送装置および搬送方法
JP4938560B2 (ja) 産業用ロボット
US20060157998A1 (en) Contamination-free edge gripping mechanism and method for loading/unloading and transferring flat objects
US12191187B2 (en) Dual arm with opposed dual end effectors and no vertical wafer overlap
JP2013013945A (ja) 板状部材の支持装置および支持方法、ならびに板状部材の搬送装置
JP7762607B2 (ja) 搬送ロボット
US20240379396A1 (en) Substrate processing apparatus
JP2023088620A (ja) 産業用ロボットおよび産業用ロボットの制御方法
CN119028886A (zh) 工业用机器人
JP2010069559A (ja) 搬送装置及び真空装置
JPH04152078A (ja) 多関節アーム移動装置

Legal Events

Date Code Title Description
A621 Written request for application examination

Free format text: JAPANESE INTERMEDIATE CODE: A621

Effective date: 20100223

A977 Report on retrieval

Free format text: JAPANESE INTERMEDIATE CODE: A971007

Effective date: 20110831

A131 Notification of reasons for refusal

Free format text: JAPANESE INTERMEDIATE CODE: A131

Effective date: 20110913

A521 Written amendment

Free format text: JAPANESE INTERMEDIATE CODE: A523

Effective date: 20111114

TRDD Decision of grant or rejection written
A01 Written decision to grant a patent or to grant a registration (utility model)

Free format text: JAPANESE INTERMEDIATE CODE: A01

Effective date: 20120207

A01 Written decision to grant a patent or to grant a registration (utility model)

Free format text: JAPANESE INTERMEDIATE CODE: A01

A61 First payment of annual fees (during grant procedure)

Free format text: JAPANESE INTERMEDIATE CODE: A61

Effective date: 20120223

FPAY Renewal fee payment (event date is renewal date of database)

Free format text: PAYMENT UNTIL: 20150302

Year of fee payment: 3

R150 Certificate of patent or registration of utility model

Ref document number: 4938560

Country of ref document: JP

Free format text: JAPANESE INTERMEDIATE CODE: R150

Free format text: JAPANESE INTERMEDIATE CODE: R150

LAPS Cancellation because of no payment of annual fees