JP4842582B2 - ガス分析装置 - Google Patents

ガス分析装置 Download PDF

Info

Publication number
JP4842582B2
JP4842582B2 JP2005226782A JP2005226782A JP4842582B2 JP 4842582 B2 JP4842582 B2 JP 4842582B2 JP 2005226782 A JP2005226782 A JP 2005226782A JP 2005226782 A JP2005226782 A JP 2005226782A JP 4842582 B2 JP4842582 B2 JP 4842582B2
Authority
JP
Japan
Prior art keywords
light
gas
passage hole
exhaust gas
sensor
Prior art date
Legal status (The legal status is an assumption and is not a legal conclusion. Google has not performed a legal analysis and makes no representation as to the accuracy of the status listed.)
Expired - Fee Related
Application number
JP2005226782A
Other languages
English (en)
Other versions
JP2007040891A (ja
Inventor
勝利 後藤
正裕 山蔭
倫保 岩瀬
時雄 岡野
祥啓 出口
剛俊 山浦
Current Assignee (The listed assignees may be inaccurate. Google has not performed a legal analysis and makes no representation or warranty as to the accuracy of the list.)
Mitsubishi Heavy Industries Ltd
Toyota Motor Corp
Original Assignee
Mitsubishi Heavy Industries Ltd
Toyota Motor Corp
Priority date (The priority date is an assumption and is not a legal conclusion. Google has not performed a legal analysis and makes no representation as to the accuracy of the date listed.)
Filing date
Publication date
Application filed by Mitsubishi Heavy Industries Ltd, Toyota Motor Corp filed Critical Mitsubishi Heavy Industries Ltd
Priority to JP2005226782A priority Critical patent/JP4842582B2/ja
Publication of JP2007040891A publication Critical patent/JP2007040891A/ja
Application granted granted Critical
Publication of JP4842582B2 publication Critical patent/JP4842582B2/ja
Anticipated expiration legal-status Critical
Expired - Fee Related legal-status Critical Current

Links

Images

Landscapes

  • Investigating Or Analysing Materials By Optical Means (AREA)

Description

本発明は、ガスの温度・濃度・化学種等を測定により求めることでガス分析を行なうガス分析装置に関する。
一般に、流路中を流れるガス中に光を照射し、ガス中を透過した光を検出することで、ガスの成分を測定するガス分析計が用いられており、この種のガス分析装置として、例えば特許文献1に記載のインラインガス分析計が知られている。このようなガス分析計は、ガスが流れる配管の管壁に二つの光透過性窓を対向またはほぼ対向するように形成し、これらの窓にそれぞれ一部を光透過部として残して配管内部に面する光反射面を形成し、一方の窓の光透過部の外方に光源およびカセグレン鏡を備えた光源部を、前記光源を出た光がカセグレン鏡を経て一方の窓の光透過部に対して斜め入射するように設けている。さらに、他方の窓の光透過部の外方に複数の波長の光を検出するための検出器部を設け、光源部を出た光が一方の窓の光透過部から配管内に入り、その後、二つの窓の光反射面間において複数回反射した後、他方の窓の光透過部を経て検出器部に入射するようにしている。このようなガス分析計を用いることで、ガスの温度・濃度・化学種等を測定することができ、その結果、ガスの成分等を分析することができる。
前述のような分析対象となるガスとしては、前記特許文献1に記載のような半導体製造時に用いられるインラインガスや自動車等の内燃機関から排出される排ガス、工場から排出される排ガス等が挙げられる。
特開2004−53405号公報
ところで、前記特許文献1に記載のガス分析装置は、光源を出た光が二つの窓の光反射面間において複数回反射して、検出器部に入射するように構成されているため、測定用の光が反射する際に散乱光が発生しやすく、発生した散乱光が乱反射して測定光とともに光検出器部に入射するおそれがあった。この結果、排気ガス中を透過した測定光に散乱光がノイズとして入り込み、測定精度が低下してしまうという問題点があった。
本発明は、このような問題に鑑みてなされたものであって、その目的とするところは、分析対象のガス中を透過させる測定用のレーザ光が乱反射や散乱をしても、測定光に散乱光が混入することを防止して測定精度を高めることができるガス分析装置を提供することにある。すなわち、ガス中を透過するレーザ光が受光される際に、何らかの要因で発生した散乱光が測定光とともに受光部に入光するのを防止して、測定精度を高めることができるガス分析装置を提供することにある。
前記目的を達成すべく、本発明に係るガス分析装置は、分析対象のガスにレーザ光を照射し、該ガス中を透過したレーザ光に基づいて前記ガスの成分濃度や温度を測定して分析するガス分析装置であって、このガス分析装置は、測定されるガスが流れる経路に固定されるセンサ部を備えており、このセンサ部は、センサベースと、前記センサベースに形成されたガスが流れるガス通過孔と、前記センサベースに固定されたレーザ光を照射する照射部および照射されたレーザ光を受光する受光部と、前記照射部から照射されたレーザ光が前記ガス通過孔を通って前記受光部に到達することができるように照射部側に形成された照射光通過孔と受光部側に形成された透過光通過孔とを備えており、前記照射光通過孔および透過光通過孔のうち少なくとも透過光通過孔の周面には、前記レーザ光が入射する角度と異なる入射角度で前記照射光通過孔または透過光通過孔に入射する散乱光を受光部に到達させないための散乱光排除手段が講じられていることを特徴としている。
前記のごとく構成された本発明のガス分析装置は、レーザ光発生手段から発生されたレーザ光は、散乱光排除手段が講じられた照射光通過孔からガスが通過しているガス通過孔内に照射され、ガス中を透過した透過レーザ光は散乱光排除手段が講じられた透過光通過孔を通して受光部に到達する。このため、測定用のレーザ光の散乱光の受光部への到達が防止され、散乱光が受光部で受光されないため、ガス中を透過したレーザ光に散乱光が混入することがなくなり、ガス成分の濃度や温度等を精度良く測定でき、ガス分析の精度向上を達成できる。なお、照射光通過孔の内周面にも、散乱光排除手段が講じられると好ましい。
他の態様として、前記センサ部は、センサベース内におけるガス通過孔外に、照射部が照射したレーザ光を反射して受光部に導光するための反射部材を備え、センサベースには、レーザ光を反射部材に到達させるための光通過孔が形成されており、光通過孔の内周面には、レーザ光が入射する角度と異なる入射角度で光通過孔に進入する散乱光を受光部に到達させないための散乱光排除手段が講じられていることを特徴としている。このように構成されたガス分析装置は、レーザ光のガス中の透過距離を大きくするべくレーザ光を反射させ、反射の際に発生する散乱光を光通過孔の散乱光排除手段で受光部に到達させないようにするため、測定用のレーザ光に散乱光が混入せず、測定精度を向上させることができる。
前記散乱光排除手段は、入射する散乱光を入射方向と反対の方向に反射させる反射面を含むことが好ましく、この反射面は照射光通過孔、透過光通過孔および光通過孔の内周面に形成されためねじ面を含むことが好ましい。この構成によれば、本来、測定用のレーザ光が入射する角度と異なる角度で散乱光が入射すると、めねじ面を含む散乱光排除手段で散乱光を入射方向と反対方向に反射させて受光部に到達させないため、受光部に散乱光が到達せず測定精度を高めることができる。反射面を形成するめねじ面は、レーザ光が通過する照射光通過孔や透過光通過孔、光通過孔の貫通部分に、めねじを形成するタップを通して加工することにより、容易に反射面を形成することができる。めねじ面はスパイラル状に傾斜面が連続しており、通過している測定用のレーザ光以外の散乱光は傾斜面に当たり反対方向に反射されるため、測定用のレーザ光にノイズとして混じることを防止できる。
また、前記散乱光排除手段は、前記照射光通過孔、透過光通過孔および光通過孔の内周面に粗面加工したときに形成される粗面であることが好ましい。この構成によれば、照射光通過孔、透過光通過孔および光通過孔の内周面に形成された粗面により、散乱光が入射しても粗面により反射されて減衰し受光部に到達できないため、受光されたレーザ光に散乱光が混入せず、測定精度を高めることができる。
前記光通過孔は、ガス通過孔側を大径とし反射部材側を小径とする先細孔として形成されていることが好ましい。この構成によれば、反射面に近接する先細孔は孔径が小径につぼめられ、入射側のガス通過孔に近接する孔径は大径で入射しやすく形成されているため、反射による散乱光を効果的に受光部に到達させず、ノイズを大幅に削減することができ、測定精度を向上させることができる。
前記ガス通過孔は、前記経路の断面形状と実質的に同じ断面形状であることが好ましい。すなわち、ガスが流れる経路の断面形状は通常、パイプのように円形であることが多く、ガス通過孔の形状をパイプの直径とほぼ等しい円形にすることが好ましい。このように構成すると、ガスが流れる経路中でガス分析のためにセンサ部を固定しても、ガス流れの乱れを防止することができ、ガス流れのロスが増えることを防止することができる。特に、ガスが流れる経路中に多数のセンサ部を設置するときに好適である。
前記センサ部は、前記経路中の複数個所に設置されることが好ましい。このように構成すると、ガスが流れる経路中の複数個所でガスの成分の濃度や温度を測定することができ、経路中のガスの成分の濃度変化等をリアルタイムで容易に測定して分析することができる。しかも、センサ部はレーザ光の照射部と、ガス中を透過したレーザ光の受光部とを備えるため、容易に設置することができる。
前記センサ部は、センサベースに反射部材を加熱するヒータを備えることが好ましい。特に、反射部材に近接して設置するとより好ましく、ヒータの設定温度は分析対象のガス中の含まれる水分の結露を防止する温度に設定すると好ましい。この構成によれば、ガス中に含まれる水分が反射部材の表面で結露するのを防止でき、レーザ光の反射率が向上し測定精度を高めることができる。また、内燃機関から排出される排ガスを分析する場合、内燃機関の始動前にヒータに通電して予熱しておくと、高温の排ガスによるミラー等の反射部材への熱ショックを低減でき、破損等を防止できると共に、表面と裏面との温度変化による変形を防止できる。
また、本発明のガス分析装置は、前記分析対象のガスが、内燃機関から排出される排ガスであり、内燃機関に接続される排ガス流路を前記経路としたことを特徴としている。この構成によれば、内燃機関から排出される排ガスの、排気経路中を流れる状態をリアルタイムで分析できるため、内燃機関の性能の確認や試験等を行なう際に有用である。
本発明のガス分析装置は、測定用レーザ光をガスが流通しているガス通過孔内に照射し、ガスを透過したレーザ光を受光するとき、散乱光の影響を殆ど受けないため、ガス成分の濃度の測定や温度の測定の精度を高めることができる。また、測定に際し、基準ガスや補助ガスを必要とせず、大掛かりな設備が不要であり、低コストで分析することができる。
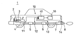
以下、本発明に係るガス分析装置を自動車の排ガス分析装置に用いた一実施形態を図面に基づき詳細に説明する。図1は、本実施形態に係る排ガス分析装置を自動車に搭載した要部構成図、図2は、図1の排ガス分析装置をエンジンベンチに搭載した状態の要部構成図、図3は、センサ部の要部の分解した状態の斜視図を含む排ガス分析装置の要部構成図、図4は、図3のセンサ部の詳細を示す一部を破断した正面図と、A−A線断面図、B−B線断面図およびC−C線要部断面図、図5は、レーザ発振・受光コントローラの要部構成および信号解析装置を含む排ガス分析装置の全体構成を示すブロック図である。
図1〜5において、本実施形態の排ガス分析装置は、分析対象ガスとして、自動車1に設置されたエンジン(内燃機関)2から排出される排ガスを分析する装置である。また、図2に示すように、エンジンベンチ1Aに設置されたエンジン2の排ガスを分析する装置である。エンジン2の各気筒から排出される排ガスは、エキゾーストマニホルド3で合流され、排気管4を通して第1触媒装置5に導入され、さらに第2触媒装置6に導入され、そのあとマフラー7を通して排気パイプ8から大気中に放出される。排ガスが流れる流路(経路)を構成する排気経路は、エキゾーストマニホルド3、排気管4、第1触媒装置5、第2触媒装置6、マフラー7、排気パイプ8から構成され、エンジン2から排出された排ガスを2つの触媒装置5,6で浄化し、マフラー7により消音、減圧して大気中に放出する。なお、マフラーはメインマフラーとサブマフラーの2つを有するものでもよい。
排気経路を構成する複数の部材は、フランジ部同士を対接させてボルト等で接続されている。例えば、第1、第2触媒装置5,6は大径の本体部の上流、下流側に排気パイプ部が連結され、これらの排気パイプ部の端部にフランジ部F,Fが溶接等により固着されている。また、マフラー7は大径の本体部の上流、下流側に排気パイプ部が連結され、これらの排気パイプ部の端部にフランジ部F,Fが固着されている。なお、末端の排気パイプ8はマフラー7に直接溶接等により固着されている。このように、排気経路を構成する複数の部材はフランジ部により接続され、排ガスが通過する断面形状が直径dの円形に形成されている。
本実施形態の排ガス分析装置10は、前記の排気経路の複数個所に設置された複数のセンサ部11〜14を備えて構成される。第1のセンサ部11は第1触媒装置5より上流側のエンジン側の排気管4との間に設置され、第2のセンサ部12は第1触媒装置5の下流側に設置され、第3のセンサ部13は第2触媒装置6の下流側に設置されている。そして、第4のセンサ部14はマフラー7の下流の排気パイプ8に設置されている。センサ部14は排気パイプの途中に設置されても、排気パイプの末端の開口部に挿入して設置するものでもよい。第1のセンサ部11の上流側の、エキゾーストマニホルド3で合流する前の1気筒毎の排気管にセンサ部を設置してもよい。
排気管4や第1触媒装置5、第2触媒装置6、マフラー7はフランジ部F,Fをボルトで締め付けることで連結されており、排気経路を構成する部材の間に設置されるセンサ部11,12,13は、フランジ部F,Fで挟まれた状態で設置されている。フランジ部F,Fは、排気経路を構成する部材の両端部に形成され、フランジ部同士の接合面は排気経路の中心線に対して直角に交差している。この結果、センサ部11〜13はフランジ部F,Fに挟まれて排気経路を横切るように設置される。第4のセンサ部14は排ガスが大気中に放出される直前の分析を行なうものであり、マフラー7から突出する排気パイプ8の中間部にフランジ部F,Fで挟んで設置してもよい。なお、センサ部の設置数は任意に設定すればよい。
各センサ部11〜14は同一構成であり、1つのセンサ部11について図3,4を参照して説明する。センサ部11は矩形状の薄板材から形成されたセンサベース20を有し、このセンサベースは中心部に排気パイプ部の円形断面の内径dと同じ直径dの排ガス通過孔21が形成されており、排ガス通過孔内を排ガスが通過する。板状のセンサベース20の厚さはレーザ光の照射部と受光部とを固定できる範囲で、できるだけ薄いことが好ましい。具体的にはセンサベース20の厚さは、例えば5〜20mm程度が好適である。20mmを超えると排ガス流れに乱れが生じやすく、5mmより薄いと測定用のレーザ光の照射部や、排ガス中を透過したレーザ光の受光部の取付固定が煩雑となる。また、排気経路の任意の個所に必要に応じて容易に設置できる。なお、センサベース20の厚さは任意に設定できる。
このように、センサベース20に形成された排ガス通過孔21の形状は、排ガス流れを乱さないように排気パイプ部の内径と同じ直径の円形に形成され、しかもセンサベース20は薄く形成されている。このため、排気経路中にセンサ部11〜14を取付けても排ガス流れを乱すことがなく、圧力損失が少なく円滑に排気させることができる。排ガス通過孔21の形状は、例えば直径が30mmの場合、30±1〜2mm程度であれば排ガス流れの乱れが起きにくいので、このような範囲に設定されると好ましい。この程度の範囲が実質的に同じ断面形状として好ましい範囲である。センサベース20を構成する板材としては金属板材やセラミック製の板材を用いているが、材質については特に問わない。
センサベース20はフランジ部F,Fに挟まれた状態で固定され、フランジ部F,Fとセンサベース20との間にはガスケット22,22が挟まれた状態で図示していないボルト、ナット等により固定される。ガスケット22は石綿等で形成され、排気管の内径と同じ直径の排ガス通過孔が開けられている。この構成により、フランジ部F,Fの間にセンサベース20を挟んで排気経路を接続しても、排ガスが途中で漏れることはなく、排気経路の長さの増加も少ない。図3は、排気管4の下流端に溶接されたフランジ部Fと、触媒装置5の上流側の排気パイプ部5aの端部に溶接されたフランジ部Fとの間に、ガスケット22,22を挟んでセンサベース20が固定される構成を示している。
センサベース20には、板厚の中央を端面から排ガス通過孔に向けて貫通する2つのセンサ孔23,24が形成されている。センサ孔23は排ガス通過孔21に向けて開口しており、照射されたレーザ光が排ガス通過孔21を通して受光部に到達できるように形成された照射光通過孔を構成している。また、センサ孔24は排ガス通過孔21に向けて開口しており、レーザ光が受光部に到達できるように形成された透過光通過孔を構成しており、センサ孔23,24は排ガスの流れる方向と直交して開口している。
センサ部11はレーザ光を照射する照射部として光ファイバ25Aがセンサ孔23に固定され、光ファイバ25Aから照射され排ガス通過孔21内に存在する排ガス中を透過したレーザ光を受光する受光部として、ディテクタ26Aがセンサ孔24に固定されている。すなわち、センサ部11は、照射側の光ファイバ25Aから排気経路を横切るように照射されたレーザ光が、2つのミラー30,31で反射され、排ガス中を透過して減衰し、ディテクタ26Aで受光される構成となっており、ミラーは照射されたレーザ光を反射してディテクタに導光している。
センサ孔23は排ガス通過孔21と照射部である光ファイバ25とを連通させ、光ファイバから照射される測定用レーザ光が通過する照射光通過孔を構成する。また、センサ孔24は排ガス通過孔21と受光部であるディテクタ26とを連通させ、排ガス中を透過したレーザ光が通過してディテクタ26に到達する透過光通過孔を構成する。そして、センサ孔23,24の内周面には、レーザ光が入射する角度と異なる入射角度で、散乱光がこれらのセンサ孔に入射するとき、散乱光を受光部に到達させないための散乱光排除手段としてめねじ面23a,24aが形成されている。センサ孔23,24に形成されためねじ面のうち、少なくとの受光側のめねじ面24aがあれば、ディテクタ26で受光される散乱光を大幅に除去することができる。
めねじ面としては、センサ孔の直径が5mm程度のときは5mmのメートルねじが好ましく、直径に合わせてねじ切りすることが好ましい。このようにセンサ孔の内周面をねじ切りしてめねじ面とすることで、センサ孔内を通過する散乱光はめねじ面23a,24aのスパイラル状に連続する傾斜面に当たり、レーザ光の入射された方向と反対方向に反射されるため、主要な測定用レーザ光と共に散乱光がセンサ孔を通過することはなくなる。このため、測定用のレーザ光に散乱光が混じることを防止できる。
2つのミラー30,31は、図4に詳細に示すようにセンサベース20の中心部の円形の排ガス通過孔21外に、排ガス通過孔を挟持する対向位置において各々取り付けられており、ミラーの反射面が互いに平行となるようにして2枚配置され、測定用のレーザ光を反射させるように上下に設置固定される。すなわち、ミラー30,31は排ガス通過孔21外で、排ガス通過孔を挟んで対向して平行状態に配置されている。ミラー30,31は排ガス通過孔21の外周側に平行に形成された2つの挿入溝32,33内に着脱可能に固定されており、光ファイバ25Aから排ガス通過孔21に向けて照射されたレーザ光をディテクタ26Aに到達させる機能を有している。ミラー30,31は厚さが数mm程度の長方形状の基板状に形成され、基板の一方の面に金やプラチナの薄膜が反射面として形成され、その上に保護層として、MgFやSiOの薄膜が形成されている。なお、保護膜は形成しなくてもよい。
また、ミラー30,31の表面に光触媒層を形成してもよい。光触媒層は、例えば二酸化チタン(TiO)の薄膜が好ましい。光触媒層は塗布、あるいはコーティングによってミラーの表面に薄膜として形成されている。光触媒層が二酸化チタンの場合、この薄膜は紫外光等の光触媒用の光線を吸収して活性化し、表面に付着した汚れを浮上らせ、浮上った汚れは排ガス流れにより流されて排気経路から外部に排出されるように機能する。このように、ミラーの表面に光触媒層を形成すると、ミラーの表面を清浄化できて好ましい。
センサベース20の排ガス通過孔21の外周に形成された挿入溝32,33は、ミラー30,31が緩く挿入できる程度の大きさに設定されている。挿入溝32,33はセンサベース20を貫通して両面側に開口しても、あるいは片面側に開口して他面側が閉塞している形状でもよい。ミラー30,31は挿入溝32,33内で取付ビス36によりスペーサ37を介して固定されている。ミラーが熱ショック等により破損した場合は、取付ビス36を緩めることで取り外して新しいミラーを固定することができる。また、ミラーが汚れたときに、センサベース20から取り外して清掃することもできる。
ミラー30,31は取付ビス36によりスペーサ37を介して固定されているため、エンジンの振動や排気管等の排気経路の振動でミラーが振動することを防止している。ミラーと取付ビスとの熱膨張の差を吸収するためスペーサ37が挟まれており、緩衝材として機能している。スペーサとしては耐環境性に優れ、弾性変形するものが好ましい。例えば、雲母系やカーボン系、銅等の板材が好ましい。このように、スペーサを介して取付ビスで固定することにより、800℃程度の高温状態でも振動することなく、安定して固定することができる。
ミラー30,31は石英、若しくはサファイア、セラミック等の母材の表面に反射材をコーティングして作製する。コーティング材としては、金や酸化チタン等のレーザ波長に合った反射率の高いものを選択することが好ましい。また、反射材を保護するコーティングとしてSiO等の透明で耐熱性に優れ、耐環境性に優れたものを最上面に形成することが好ましい。耐熱性に優れ、反射率の高いミラーを用いることで精度良い測定が可能となる。また、反射材として酸化チタンを用いるときは、酸化チタンが単独で耐環境性に優れ、光触媒として汚れ防止に有効であるため保護膜を形成する必要がなく、そのままの状態で測定することが好ましい。
排ガス通過孔21の内周面とミラーを固定する挿入溝32,33との間には、測定用のレーザ光がミラーに到達できるように光通過孔が形成されている。光通過孔としては貫通するスリットや、貫通する光通過孔等が形成される。本実施形態では、排気経路に直交する方向に直径が数mm程度の光通過孔38,38…が排ガス通過孔21の内周面から挿入溝32,33まで貫通して形成され、光通過孔は排ガス通過孔21の内周面とミラー30,31とを貫通している。この構成により、測定用の赤外レーザ光が照射部である光ファイバ25から排ガス通過孔21内に照射されると下方の光通過孔38を通して下方のミラー31に到達し、下方のミラーで上方に反射され、次いで上方の光通過孔38を通して上方のミラー30に到達し、上方のミラーで下方に反射され、上下で反射を繰返したあと上方に固定されたディテクタ26に受光される構成となっている。
センサベース20に形成された光通過孔38の内周面には、これらの光通過孔にレーザ光が入射する角度と異なる入射角度で、散乱光がこれらの光通過孔に入射するとき、散乱光を受光部に到達させないための散乱光排除手段として、めねじ38a…が形成されている。このめねじは、貫通孔にタップを通すことで容易に形成することができる。したがって、光ファイバ25Aから照射されたレーザ光は、めねじ38aが形成された光通過孔38を通してミラー30,31に到達することができる構成となっている。
光ファイバ25Aおよびディテクタ26Aはレーザ発振・受光コントローラ40に接続され、レーザ発振・受光コントローラ40から出射される赤外レーザ光が光ファイバ25Aを通してセンサベース20の排ガス通過孔21内に照射され、排ガス中を透過した赤外レーザ光が受光側のディテクタ26Aで受光され、信号線28Aを介してレーザ発振・受光コントローラ40に入力される構成となっている。光ファイバ25Aから照射された発光強度と、排ガス中を透過してディテクタ26Aで受光された受光強度等が、分析装置であるパーソナルコンピュータ55に供給される。このように、排ガス分析装置10は、複数のセンサ部11〜14と、レーザ発振・受光コントローラ40と、パーソナルコンピュータ55とを備えて構成される。
ここで、レーザ発振・受光コントローラ40について、図5を参照して説明する。レーザ発振・受光コントローラ40は、複数の波長の赤外レーザ光を照射する照射装置として、複数のレーザダイオードLD1〜LD5に、図示していないファンクションジェネレータ等の信号発生器から複数の周波数の信号を供給し、レーザダイオードLD1〜LD5は各周波数に対応してそれぞれ複数の波長の赤外レーザ光を照射する。レーザ発振・受光コントローラ40の信号発生器から出力される複数の周波数の信号がレーザダイオードLD1〜LD5に供給されて発光し、例えばLD1は波長が1300〜1330nm程度、LD2は1330〜1360nmというように、検出しようとする成分ガスのピーク波長が存在する波長帯が連続するような波長帯の赤外レーザ光を発生させるように設定されている。
排ガス中を透過させる赤外レーザ光の波長は、検出する排ガスの成分に合わせて設定され、一酸化炭素(CO)、二酸化炭素(CO)、アンモニア(NH)、メタン(CH)、水(HO)を検出する場合は、5つの波長の赤外レーザ光を使用する。例えば、アンモニアを検出するのに適した波長は1530nmであり、一酸化炭素を検出するのに適した波長は1560nmであり、二酸化炭素を検出するのに適した波長は1570nmである。また、メタンを検出するのに適した波長は1680nmであり、水を検出するのに適した波長は1350nmである。さらに、他の排ガスの成分の濃度を検出する場合は、排ガス成分の数に合わせて異なる波長の赤外レーザ光を使用する。なお、ガス濃度の検出は、同じ成分でも異なる波長である場合があり、異なる波長の中から選択して用いるようにしてもよい。
各レーザダイオードLD1〜LD5から照射された赤外レーザ光は光ファイバ42…により分波器43…に導光され、センサ部の数に合わせて分波器43…により分波される。図5では3つのセンサ部11〜13に合わせて各レーザダイオードLD1〜LD5から照射されたレーザ光は3つに分波される。そして分波器43…で分波されたレーザ光は、分波器44A…、44B…、44C…により信号光と測定光に分けられる。分波器44A…はセンサ部11用であり、分波器44B…はセンサ部12用、分波器44C…はセンサ部13用である。センサ部11用の5つの分波器44A…で分けられた信号光は光ファイバを通して合波器45Aで合波され、合波された複数の波長帯の信号光は光ファイバ47Aを通して後述する差分型光検出器50Aに導光される。一方、5つの分波器44A…で分けられた測定光は光ファイバを通して合波器46Aで合波され、光ファイバ25Aによりセンサ部11の照射部に導光される。
また、分波器43…で分波された赤外レーザ光は、センサ部12用の5つの分波器44B…により信号光と測定光に分けられ、信号光は合波器45Bで複数の波長帯を合波した信号光となり、光ファイバ47Bを通して差分型光検出器50Bに導光される。5つの分波器44B…により分けられた測定光は合波器46Bで合波され、光ファイバ25Bによりセンサ部12の照射部に導光される。さらに、分波器43…で分波された赤外レーザ光は、センサ部13用の5つの分波器44C…により信号光と測定光に分けられ、信号光は合波器45Cで複数の波長帯の信号光となり、光ファイバ47Cを通して差分型光検出器50Cに導光される。5つの分波器44C…により分けられた測定光は合波器46Cで合波され、光ファイバ25Cによりセンサ部13の照射部に導光される。
図5では、3つのセンサ部11〜13を示しているが、さらに多くのセンサ部14…を設置する場合は、分波器43でさらに多くのレーザ光に分波し、分波したレーザ光をさらに多くの分波器44…で測定光と信号光に分波し、信号用のレーザ光を合波器45…で合波してから差分型光検出器50…に導光すると共に、測定用のレーザ光を合波器46…で合波してから、さらに多くのセンサ部14…に導光する。
本実施形態の排ガス分析装置10は、測定用の赤外レーザ光をミラー30,31で反射させ排ガス中の透過距離を大きくするように構成されており、ミラー30,31で繰り返し反射された測定用のレーザ光がディテクタで受光される構成となっている。センサ部11〜13の受光部に接続された受光側のディテクタ26A,26B,26Cはレーザ発振・受光コントローラ40の差分型光検出器50A,50B,50Cに信号線28A,28B,28Cを介して接続される。また、合波器45A,45B,45Cで合波された信号光は光ファイバ47A,47B,47Cを通して差分型光検出器50A,50B,50Cに導光される。
3つの差分型光検出器50A,50B,50Cでは、排ガス中を透過して減衰した透過レーザ光と、排ガス中を透過していない信号レーザ光との差を取る構成となっている。信号レーザ光はフォトダイオード等に入力され、電気信号に変換される。差分型光検出器で算出された信号光と測定光の差分に相当する電気信号は、例えば図示していないプリアンプで増幅され、A/D変換器を介して信号解析装置であるパーソナルコンピュータ55に入力される。パーソナルコンピュータ55では、入力された信号から排ガスの成分の濃度や、排ガスの温度を算出して排ガスを分析する。
本発明の排ガス分析装置10は、例えば赤外レーザ光を排ガス中に透過させ、入射光の強度と排ガス中を透過したあとの透過光の強度に基づいて排ガスの成分の濃度を算出し、排ガスを分析するものである。すなわち、排ガスの成分の濃度Cは、以下の数式(1)から算出される。
C=−ln(I/I)/kL…(1)
この数式(1)において、Iは透過光強度、Iは入射光強度、kは吸収率、Lは透過距離である。したがって、信号光である入射光強度(I)に対する透過光強度(I)の比、シグナル強度(I/I)に基づいて排ガスの成分の濃度Cは算出される。透過光強度Iは、ディテクタ26A,26B,26Cを通して出力され、入射光強度Iは、光ファイバ47A,47B,47Cを通して差分型光検出器50A,50B,50C内のフォトダイオード等の光電変換器から出力される。本実施形態では入射光強度Iとして、排ガス中を透過しない信号光強度を用いている。
前記の如く構成された本実施形態の排ガス分析装置10の動作について以下に説明する。排ガスの成分の濃度を測定するときは、レーザ発振・受光コントローラ40の信号発生器を作動させて各レーザダイオードLD1〜LD5に信号を供給して各レーザダイオードLD1〜LD5から所定の波長の赤外レーザ光を発光させる。各レーザダイオードLD1〜LD5から発光された赤外レーザ光は、光ファイバ42…を通して分波器43…に至り、ここでセンサ部の数に合わせて分波される。
このあと、分波された赤外レーザ光は分波器44A…,44B…,44C…で測定光と信号光に分波される。1つのセンサ部11について詳細に説明すると、5つの分波器44Aで分波された信号光は合波器45Aで合波されて信号用レーザ光となり、差分型光検出器50Aに導光される。また、5つの分波器44Aで分波された測定光は合波器46Aで合波されて測定用レーザ光となり、センサ部11の照射部に光ファイバ25Aを通して導光される。他のセンサ部12,13についても、同様に分波器43…で分波されたあと、分波器44B…,44C…で信号光と測定光に分波され、合波器45B,45Cで合波されて、信号光は差分型光検出器50B,50Cに導光され、合波器46B,46Cで合波されて、測定光がセンサ部12,13に導光される。
そして、センサ部11〜13の光ファイバ25A,25B,25Cから照射された測定用の赤外レーザ光は、照射光通過孔であるセンサ孔23を通して排ガスが通過している排ガス通過孔21内に照射される。赤外レーザ光は排気経路である排ガス通過孔21内を横切り、光通過孔38を通してミラー31に到達し下方のミラー31で上方に反射され、ついで光通過孔38を通してミラー31に到達し上方のミラー30で下方に反射され、反射を繰返すことで排ガス中の透過距離が大きくなり、最後にセンサ孔24を通してディテクタ26A,26B,26Cで受光される。すなわち、測定用の赤外レーザ光は排ガス中を透過して減衰され、減衰された透過光が受光部であるディテクタで受光され、透過光(測定光)の光強度が測定される。
センサ孔23,24の内周面には、図6aに示されるように、散乱光排除手段としてめねじ23a,24aが形成されており、光通過孔38の内周面にも図6bに示されるように、散乱光排除手段としてめねじ38aが形成されているため、散乱光Sが発生しても散乱光はセンサ孔や光通過孔にレーザ光Rの本来の入射角度と異なる角度で入射するため、めねじ面で例えば反対方向に反射されてレーザ光に混入してセンサ孔23,24や光通過孔38を通過することはない。
また、測定用の赤外レーザ光は排気経路を構成するセンサ部の排ガス通過孔21内の、排気経路と直交する面内を横切って受光されるため、直交する1断面における排ガスの成分の濃度や温度をスポット的に測定することができる。すなわち、排気経路に沿った、ある長さの範囲の排ガスの成分の濃度や温度を測定するのでなく、排気経路を横切る所定の1面を基準とした排ガスの成分の濃度や温度を測定することができるので、スポット的な測定が可能となる。
排ガス中を通り減衰して受光部に到達した測定用の赤外レーザ光はディテクタ26A,26B,26Cで電気信号として出力され、信号線28A,28B,28Cを介して差分型光検出器50A,50B,50Cに供給される。一方、信号用レーザ光は差分型光検出器50A,50B,50Cに供給され、差分型光検出器では、複数の波長成分毎に透過光(測定光)と信号光の差を取り、透過光のうちの特定ガス成分のピーク波長を検出する。このようにして、差分型光検出器からの出力が信号解析装置であるパーソナルコンピュータ55に入力される。パーソナルコンピュータ55は、入力された複数の周波数帯ごとのピーク波長に基づいて、排ガスの成分の濃度測定や温度測定を実施して分析する。このようにして測定された排ガスの成分の濃度や温度は、散乱光の影響を受けないため、精度のよい測定が可能となり、分析精度が向上する。
気体は、それぞれ固有の吸収波長帯を持っており、その吸収波長帯には、例えば図7に示すように、多くの吸収線が存在している。図7aは低温のときのシグナル強度(=分子数割合)を示しており、図7bは高温のときのシグナル強度を示している。このように、シグナル強度は温度に依存して変化するため、シグナル強度比を測定することにより、測定時の排ガスの温度を算出することができる。
そして、図8に示すように、吸収線のうちの1本、例えば波長λ1に対してレーザ光の発振波長を掃引することによって吸収を測定する。この波形と信号レーザ光の波形との比をとることによって、スペクトルプロファイルを測定する。また、温度測定は、前記のスペクトルプロファイルを異なる2つの吸収線λ1、λ2について測定し、それらの面積比A1/A2(またはピークの高さの比P1/P2)をとることにより求めることができる。従来の波長変調法では、図8aに示すように、吸収スペクトルピークの先端の曲率により排ガスの成分の濃度を算出していたが、本発明では、図8bに示すように、吸収スペクトルの面積により排ガスの成分の濃度を算出するため、圧力の影響を受けにくい排ガスの成分の濃度の算出が可能となる。
本実施形態の排ガス分析装置10は、測定用レーザ光が通過する照射光通過孔であるセンサ孔23、透過光通過孔であるセンサ孔24およびレーザ光をミラーに到達させるための光通過孔38,38の内周面には散乱光排除手段としてめねじ面23a,24a,38aが形成されているため、排ガス通過孔内での乱反射による散乱光や、ミラー30,31で反射される際に発生する散乱光が受光部に到達することが少なく、受光部で受光されにくい構成となっており、受光部で受光された透過レーザ光に散乱光が混じることが少なく、散乱光によるノイズを低減できるため、測定精度を高めることができる。
測定用レーザ光が照射されるセンサ孔23は照射光通過孔を構成し、排ガス中を透過したレーザ光が受光されるセンサ孔24は透過光通過孔を構成し、これらの光通過孔の散乱光排除手段は、ねじ切り用のタップをねじ込むことで容易にめねじ面23a,24aとして形成することができる。また、排ガス通過孔21とミラーとを連通する光通過孔38,38も、ねじ切り用のタップをねじ込むことで、内周面に散乱光排除手段としてめねじ面38aを容易に形成することができる。
この測定に際し、センサ部のセンサベース20には、排気経路の断面形状と同じ直径の円形の排ガス通過孔21が形成され、しかもセンサベース20の厚さが薄く形成されていると共に、レーザ光が通過するセンサ孔23,24や光通過孔38,38が小さく形成されているため、排ガス流れを乱すことがなく排ガスが安定して流通するため、排気効率の低下を防止できる。しかも、排ガス流れを乱すことなく、排ガス中を透過させるレーザ光を反射させて排ガス中の透過距離を大きくして受光し、減衰量を大きくすることができるため、精度の高い測定が可能となる。なお、排ガス通過孔の断面形状は、排ガスの流れを乱さない範囲でほぼ等しく形成してもよい。
本発明の他の実施形態を図9に基づき詳細に説明する。図9は本発明に係る排ガス分析装置で使用するセンサ部の他の実施形態の正面図、D−D線断面図、E−E線断面図、F−F線要部断面図である。なお、この実施形態は前記した実施形態に対し、測定用のレーザ光が通過する光通過孔は、直径が徐々に変化するテーパ状の先細孔に形成され、この先細孔に散乱光排除手段としてテーパねじが形成されていることを特徴とする。そして、他の実質的に同等の構成については同じ符号を付して詳細な説明は省略する。
図9に示すセンサ部11Aは、センサベース20Aの中心に形成された排ガス通過孔21からミラーが固定された溝部まで貫通して先細孔38A…が形成されている。この先細孔は、例えばミラー側の直径が2mm程度で小さく、排ガス通過孔側の開口している直径が3〜4mm程度で排ガス通過孔側に向けて直径が徐々に大きくなるようにテーパ状に形成されている。このように、ミラー側の直径が小さく、開口側が大きい先細孔38Aとしているため、ミラーに入射するレーザ光は入射がしやすく、ミラー30,31でレーザ光が反射されるときに発生しやすい散乱光が先細孔を通過する通過光量を大幅に除去することができる。
しかも、レーザ光が先細孔38Aを通過しているときに散乱光は、内周面に形成されたテーパめねじ面38bで反射され、レーザ光に混じって先細孔38Aを通過することは殆どなくなり、測定用のレーザ光に散乱光が混じることを防止できる。この結果、排ガス中を透過したレーザ光に基づいて排ガスの成分の濃度等を測定する際に、測定光に散乱光が混じらないため測定精度を向上させることができる。特に、先細孔38Aでミラー30,31に面する孔径が小さく、レーザ光がミラーで反射された際の散乱光を通過させにくい構造のため、反射回数が多くても散乱光が混入しにくく、測定精度を高めることができる。
なお、図9では詳細に図示していないが、センサ孔23,24の内周面には、前記の実施形態と同様に散乱光排除手段としてめねじ面が形成されている。また、ミラー30,31の固定手段を図示していないが、図4のセンサ部と同様に取付ねじで固定してもよく、他の手段を用いて固定することもできる。散乱光排除手段として、めねじ面の例を示したが、多段スリットや段差面を形成して散乱光排除手段としてもよい。
本発明の他の実施形態を図10に基づき詳細に説明する。図10は本発明に係る排ガス分析装置で使用するセンサ部の他の実施形態の要部断面図である。なお、本実施形態のセンサ部11Bは、図10に示すように、ミラー30,31の表面に水滴が付着するのを防止する結露防止ヒータHを備えている。すなわち、ミラー31の裏面側に近接してセンサベース20Bには側方から取付け穴Haが形成され、この取付け穴内にヒータHが装着されている。取付け穴はドリル等で円柱形に形成され、この内部に円筒形のヒータHが挿入され固定されている。このヒータHの設定温度は、ミラー30,31の表面温度が150〜200℃となるように設定されることが好ましく、このように設定されることで、ミラーの表面に付着しようとする水分を気化させ、結露を防止することができる。
なお、図10では下方のミラー31に近接してヒータHを固定する例を示しているが、上方のミラーも同様にヒータが固定される。また、図10では、レーザ光がミラーに向けて通過する光通過孔としてスリット39が形成されている。このスリットの内周面にも散乱光排除手段が形成されている。散乱光排除手段としては内周面に粗面加工したときに形成される粗面や、梨地面等の凹凸処理面でもよい。また、センサベースがアルミニウムで形成される場合は、アルマイト処理で表面を微小凹凸面(粗面)とした散乱光排除手段を形成してもよい。
このヒータHは、エンジンの始動前に通電されることが好ましい。始動前に予め通電しておくと、ミラー30,31が冷えている状態で高温の排ガスが接触することによる熱ショックを防止でき、ミラーの熱ショックによる破損等を防止することができる。特に、排気経路の上流側ではエンジンから排出された排ガスは高温であるため、予めヒータに通電しておくことで熱ショックを防止してミラーの破損等を防ぐことができる。また、ミラーの排ガスが接触する表面は裏面と比較して高温となり、ミラー自体が熱変形するおそれがあるが、ヒータを適切な温度に設定することで熱変形を防止することができ、測定用のレーザ光の反射を安定させることができ、散乱光の発生を防止できる。
以上、本発明の実施形態について詳述したが、本発明は、前記の実施形態に限定されるものではなく、特許請求の範囲に記載された本発明の精神を逸脱しない範囲で、種々の設計変更を行うことができるものである。例えば、センサ部のガス通過孔に対向するようにレーザ光の照射部と受光部とを配置し、ミラー等の反射部材を使用しないでレーザ光を直接受光するように構成してもよい。また、ミラーを1枚使用し、照射部から照射されたレーザ光をミラーで1度だけ反射させて受光するように構成してもよい。
さらに、レーザ光が通過する光通過孔として光通過孔やテーパ状の先細孔の例を示したが、スリット等で光通過孔を形成し、スリットの内周面に反射防止加工を施してレーザ光の乱反射による散乱光を減衰させるようにしてもよい。測定用のレーザ光として赤外レーザ光の例を示したが、可視レーザ光や紫外レーザ光を用いてもよいのは勿論である。
センサ部のセンサベースに照射部として光ファイバを、受光部としてディテクタを備える例を示したが、センサベースに直接レーザダイオード等の照射部を備えてもよく、フォトダイオード等のディテクタの代わりに受光用の光ファイバを装着する構成としてもよい。また、光ファイバの照射部にコリメータレンズを設け、コリメータレンズを通してガス通過孔内にレーザ光を照射するようにしてもよい。
本発明の活用例として、このガス分析装置を用いてボイラー等の燃焼装置の排ガス分析を行なうことができ、自動車の排ガス分析の他に船舶や発電機等で使用する内燃機関の排ガス分析の用途にも適用できる。また、ガソリンエンジンの排ガス分析の他にディーゼルエンジンの排ガス分析を行なうことができ、さらに他の内燃機関の排ガス分析の用途にも適用できる。
本発明に係るガス分析装置としての排ガス分析装置を車両に搭載した一実施形態の要部構成図。 本発明に係るガス分析装置としての排ガス分析装置をエンジンベンチに搭載した他の実施形態の要部構成図。 1つのセンサ部の要部の分解した状態の斜視図を含む排ガス分析装置の要部構成図。 (a)は図3のセンサ部の一部を破断した正面図、(b)は(a)のA−A線断面図、(c)は(a)のB−B線断面図、(d)は(c)のC−C線要部断面図。 レーザ発振・受光コントローラの要部構成および信号解析装置を含む排ガス分析装置の全体構成を示すブロック図。 (a),(b)はそれぞれ、散乱光を排除する状態を示す要部拡大断面図。 吸収スペクトルの圧力の影響を示し、(a)は低温のときのシグナル強度の説明図、(b)は高温のときのシグナル強度の説明図。 (a)は従来の吸収スペクトルから排ガスの成分の濃度を算出する説明図、(b)は本発明の吸収スペクトルから排ガスの成分の濃度を算出する説明図。 センサ部の他の実施形態を示し、(a)はセンサ部の正面図、(b)は(a)のD−D線断面図、(c)は(a)のE−E線断面図、(d)は(c)のセンサベースのF−F線要部断面図。 センサ部のさらに他の実施形態を示す要部断面図。
符号の説明
1:自動車、1A:エンジンベンチ、2:エンジン(内燃機関)、3:エキゾーストマニホルド(排気経路)、4:排気管(排気経路)、5:第1触媒装置(排気経路)、6:第2触媒装置(排気経路)、7:マフラー(排気経路)、8:排気パイプ(排気経路)、10:排ガス分析装置(ガス分析装置)、11〜14,11A,11B:センサ部、20,20A,20B:センサベース、21:排ガス通過孔、23:センサ孔(照射光通過孔)、24:センサ孔(透過光通過孔)、23a,24a:めねじ面(散乱光排除手段)、25:光ファイバ(照射部)、26:ディテクタ(受光部)、30,31:ミラー、38:光通過孔、38a:めねじ面(散乱光排除手段)、38A:先細孔(光通過孔)、38b:テーパめねじ(散乱光排除手段)、39:スリット(光通過孔)、40:レーザ発振・受光コントローラ、43:分波器、44A〜44C:分波器、45A〜45C,46A〜46C:合波器、50A〜50C:差分型光検出器、55:パーソナルコンピュータ(信号解析装置)、H:ヒータ、R:レーザ光、S:散乱光

Claims (7)

  1. 分析対象のガスにレーザ光を照射し、該ガス中を透過したレーザ光に基づいて前記ガスの成分濃度や温度を測定して分析するガス分析装置であって、
    該ガス分析装置は、測定されるガスが流れる経路に固定されるセンサ部を備えており、
    該センサ部は、
    センサベースと、
    前記センサベースに形成されたガスが流れるガス通過孔と、
    前記センサベースに固定されたレーザ光を照射する照射部および照射されたレーザ光を受光する受光部と、
    前記照射部から照射されたレーザ光が前記ガス通過孔を通って前記受光部に到達することができるように照射部側に形成された照射光通過孔と受光部側に形成された透過光通過孔と
    前記センサベース内におけるガス通過孔外に配置されて前記照射部が照射したレーザ光を反射して前記受光部に導光するための反射部材と、
    前記センサベースに形成された前記レーザ光を前記反射部材に到達させるための光通過孔と、を備えており、
    前記照射光通過孔および透過光通過孔のうち少なくとも透過光通過孔の内周面前記レーザ光を減衰させて反射を防止する粗面が形成されており、
    前記光通過孔は、該光通過孔の内周面に前記レーザ光を減衰させて反射を防止する粗面が形成され、かつ、前記ガス通過孔側を大径とし前記反射部材側を小径とする先細孔として形成されていることを特徴とするガス分析装置。
  2. 前記粗面は、前記内周面に粗面加工を施すことによって形成されていることを特徴とする請求項に記載のガス分析装置。
  3. 前記センサベースがアルミニウムで形成される場合に、
    前記粗面は、前記内周面にアルマイト処理を施すことによって形成されていることを特徴とする請求項に記載のガス分析装置。
  4. 前記ガス通過孔は、前記経路の断面形状と実質的に同じ断面形状であることを特徴とする請求項1から請求項のいずれか一項に記載のガス分析装置。
  5. 前記センサ部は、前記経路中の複数個所に設置されることを特徴とする請求項1から請求項のいずれか一項に記載のガス分析装置。
  6. 前記センサ部は、前記センサベースに反射部材を加熱するヒータを備えることを特徴とする請求項1から請求項のいずれか一項に記載のガス分析装置。
  7. 前記分析対象のガスが、内燃機関から排出される排ガスであり、内燃機関に接続される排ガス流路を前記経路としたことを特徴とする請求項1から請求項のいずれか一項に記載のガス分析装置。
JP2005226782A 2005-08-04 2005-08-04 ガス分析装置 Expired - Fee Related JP4842582B2 (ja)

Priority Applications (1)

Application Number Priority Date Filing Date Title
JP2005226782A JP4842582B2 (ja) 2005-08-04 2005-08-04 ガス分析装置

Applications Claiming Priority (1)

Application Number Priority Date Filing Date Title
JP2005226782A JP4842582B2 (ja) 2005-08-04 2005-08-04 ガス分析装置

Publications (2)

Publication Number Publication Date
JP2007040891A JP2007040891A (ja) 2007-02-15
JP4842582B2 true JP4842582B2 (ja) 2011-12-21

Family

ID=37799004

Family Applications (1)

Application Number Title Priority Date Filing Date
JP2005226782A Expired - Fee Related JP4842582B2 (ja) 2005-08-04 2005-08-04 ガス分析装置

Country Status (1)

Country Link
JP (1) JP4842582B2 (ja)

Families Citing this family (4)

* Cited by examiner, † Cited by third party
Publication number Priority date Publication date Assignee Title
JP5199584B2 (ja) * 2007-02-19 2013-05-15 トヨタ自動車株式会社 排ガス分析用センサ
JP5362959B2 (ja) * 2007-02-19 2013-12-11 トヨタ自動車株式会社 排ガス分析用センサ
JP5052259B2 (ja) * 2007-08-21 2012-10-17 トヨタ自動車株式会社 排ガス分析用センサ
US11761891B2 (en) 2018-07-31 2023-09-19 Nec Corporation Receiver, fire detection system, and fire detection method

Family Cites Families (8)

* Cited by examiner, † Cited by third party
Publication number Priority date Publication date Assignee Title
JPS55119025A (en) * 1979-03-05 1980-09-12 Inst Himichiesukoi Fuijiki Aka Combined reflection optical system
JP2543137B2 (ja) * 1988-06-06 1996-10-16 株式会社豊田中央研究所 粉塵濃度測定装置
JPH0376153A (ja) * 1989-08-18 1991-04-02 Nec Corp 半導体入出力保護装置
DE4024954A1 (de) * 1990-08-07 1992-02-13 Behringwerke Ag Fotometeranordnung mit streulichtfalle
JPH09269293A (ja) * 1996-04-01 1997-10-14 Nisshin Koki Kk 微粒子検知器
JP4038631B2 (ja) * 1998-08-28 2008-01-30 株式会社堀場製作所 半導体レーザ分光法を用いた温度・濃度・化学種の高速計測方法および計測システム
US6421127B1 (en) * 1999-07-19 2002-07-16 American Air Liquide, Inc. Method and system for preventing deposition on an optical component in a spectroscopic sensor
JP2004053405A (ja) * 2002-07-19 2004-02-19 Horiba Ltd インラインガス分析計

Also Published As

Publication number Publication date
JP2007040891A (ja) 2007-02-15

Similar Documents

Publication Publication Date Title
JP4199766B2 (ja) 排ガス分析方法および排ガス分析装置
JP4673887B2 (ja) 排ガス分析装置
JP4732277B2 (ja) ガス分析装置及びガス分析方法
US7926332B2 (en) Exhaust gas analyzer and exhaust gas analyzing method
JP4781039B2 (ja) ガス分析装置
JP4713227B2 (ja) 排ガス分析装置および排ガス分析方法
JP2006184180A (ja) 排気ガス分析装置
JP4566070B2 (ja) 排ガス分析装置
JP4842582B2 (ja) ガス分析装置
JP5038923B2 (ja) 排ガス分析装置
WO2007119872A1 (ja) 排ガス分析装置
JP4490333B2 (ja) 排ガス分析装置
CN116249888A (zh) 燃烧区化学感测系统和相关方法
JP5199584B2 (ja) 排ガス分析用センサ

Legal Events

Date Code Title Description
A621 Written request for application examination

Free format text: JAPANESE INTERMEDIATE CODE: A621

Effective date: 20080521

A977 Report on retrieval

Free format text: JAPANESE INTERMEDIATE CODE: A971007

Effective date: 20101026

A131 Notification of reasons for refusal

Free format text: JAPANESE INTERMEDIATE CODE: A131

Effective date: 20101102

A521 Written amendment

Free format text: JAPANESE INTERMEDIATE CODE: A523

Effective date: 20101227

A131 Notification of reasons for refusal

Free format text: JAPANESE INTERMEDIATE CODE: A131

Effective date: 20110628

A521 Written amendment

Free format text: JAPANESE INTERMEDIATE CODE: A523

Effective date: 20110815

TRDD Decision of grant or rejection written
A01 Written decision to grant a patent or to grant a registration (utility model)

Free format text: JAPANESE INTERMEDIATE CODE: A01

Effective date: 20110920

A01 Written decision to grant a patent or to grant a registration (utility model)

Free format text: JAPANESE INTERMEDIATE CODE: A01

A61 First payment of annual fees (during grant procedure)

Free format text: JAPANESE INTERMEDIATE CODE: A61

Effective date: 20111006

FPAY Renewal fee payment (event date is renewal date of database)

Free format text: PAYMENT UNTIL: 20141014

Year of fee payment: 3

R250 Receipt of annual fees

Free format text: JAPANESE INTERMEDIATE CODE: R250

R250 Receipt of annual fees

Free format text: JAPANESE INTERMEDIATE CODE: R250

R250 Receipt of annual fees

Free format text: JAPANESE INTERMEDIATE CODE: R250

R250 Receipt of annual fees

Free format text: JAPANESE INTERMEDIATE CODE: R250

S111 Request for change of ownership or part of ownership

Free format text: JAPANESE INTERMEDIATE CODE: R313117

R350 Written notification of registration of transfer

Free format text: JAPANESE INTERMEDIATE CODE: R350

LAPS Cancellation because of no payment of annual fees