JP4808317B2 - 捕捉された液体の表面張力への影響が小さい使い捨て吸収物品 - Google Patents
捕捉された液体の表面張力への影響が小さい使い捨て吸収物品 Download PDFInfo
- Publication number
- JP4808317B2 JP4808317B2 JP2000617839A JP2000617839A JP4808317B2 JP 4808317 B2 JP4808317 B2 JP 4808317B2 JP 2000617839 A JP2000617839 A JP 2000617839A JP 2000617839 A JP2000617839 A JP 2000617839A JP 4808317 B2 JP4808317 B2 JP 4808317B2
- Authority
- JP
- Japan
- Prior art keywords
- liquid
- absorbent article
- topsheet
- disposable absorbent
- liquid handling
- Prior art date
- Legal status (The legal status is an assumption and is not a legal conclusion. Google has not performed a legal analysis and makes no representation as to the accuracy of the status listed.)
- Expired - Fee Related
Links
- 239000007788 liquid Substances 0.000 title claims description 274
- 239000002250 absorbent Substances 0.000 title claims description 158
- 230000002745 absorbent Effects 0.000 title claims description 158
- 239000000463 material Substances 0.000 claims description 118
- 238000003860 storage Methods 0.000 claims description 77
- 238000012360 testing method Methods 0.000 claims description 69
- 239000000835 fiber Substances 0.000 claims description 41
- 230000009467 reduction Effects 0.000 claims description 26
- 239000003795 chemical substances by application Substances 0.000 claims description 22
- 230000008878 coupling Effects 0.000 claims description 9
- 238000010168 coupling process Methods 0.000 claims description 9
- 238000005859 coupling reaction Methods 0.000 claims description 9
- 229920001600 hydrophobic polymer Polymers 0.000 claims description 9
- 230000037067 skin hydration Effects 0.000 claims description 6
- 239000002861 polymer material Substances 0.000 claims description 4
- 239000000523 sample Substances 0.000 description 144
- 239000012530 fluid Substances 0.000 description 76
- 239000010410 layer Substances 0.000 description 73
- 239000000203 mixture Substances 0.000 description 72
- 239000004094 surface-active agent Substances 0.000 description 42
- 238000000034 method Methods 0.000 description 34
- 239000010408 film Substances 0.000 description 32
- 239000011148 porous material Substances 0.000 description 29
- 238000007906 compression Methods 0.000 description 27
- 230000006835 compression Effects 0.000 description 27
- 239000000123 paper Substances 0.000 description 25
- XLYOFNOQVPJJNP-UHFFFAOYSA-N water Substances O XLYOFNOQVPJJNP-UHFFFAOYSA-N 0.000 description 24
- 239000000853 adhesive Substances 0.000 description 23
- 230000001070 adhesive effect Effects 0.000 description 23
- 239000003974 emollient agent Substances 0.000 description 23
- 210000002700 urine Anatomy 0.000 description 22
- 230000014759 maintenance of location Effects 0.000 description 21
- 230000002209 hydrophobic effect Effects 0.000 description 20
- 238000005259 measurement Methods 0.000 description 20
- 239000002699 waste material Substances 0.000 description 19
- 230000029142 excretion Effects 0.000 description 17
- 210000003608 fece Anatomy 0.000 description 16
- -1 polyethylene Polymers 0.000 description 12
- 210000000416 exudates and transudate Anatomy 0.000 description 11
- 230000002550 fecal effect Effects 0.000 description 11
- 238000002156 mixing Methods 0.000 description 10
- 230000008569 process Effects 0.000 description 10
- 102000008186 Collagen Human genes 0.000 description 9
- 108010035532 Collagen Proteins 0.000 description 9
- 229920001436 collagen Polymers 0.000 description 9
- 230000002829 reductive effect Effects 0.000 description 9
- 239000007787 solid Substances 0.000 description 9
- 239000012085 test solution Substances 0.000 description 9
- 230000003100 immobilizing effect Effects 0.000 description 8
- 238000004519 manufacturing process Methods 0.000 description 8
- 239000000243 solution Substances 0.000 description 8
- 229910001220 stainless steel Inorganic materials 0.000 description 8
- 238000010998 test method Methods 0.000 description 8
- 230000032258 transport Effects 0.000 description 8
- 238000010521 absorption reaction Methods 0.000 description 7
- 239000012153 distilled water Substances 0.000 description 7
- 239000006260 foam Substances 0.000 description 7
- 230000005484 gravity Effects 0.000 description 7
- 230000007246 mechanism Effects 0.000 description 7
- 239000010935 stainless steel Substances 0.000 description 7
- 238000003756 stirring Methods 0.000 description 7
- 239000004264 Petrolatum Substances 0.000 description 6
- 238000000576 coating method Methods 0.000 description 6
- 238000009826 distribution Methods 0.000 description 6
- 229940066842 petrolatum Drugs 0.000 description 6
- 235000019271 petrolatum Nutrition 0.000 description 6
- 239000002516 radical scavenger Substances 0.000 description 6
- 239000000126 substance Substances 0.000 description 6
- 238000012546 transfer Methods 0.000 description 6
- 230000009471 action Effects 0.000 description 5
- 239000011248 coating agent Substances 0.000 description 5
- 239000002131 composite material Substances 0.000 description 5
- 239000008367 deionised water Substances 0.000 description 5
- 229910021641 deionized water Inorganic materials 0.000 description 5
- 230000000694 effects Effects 0.000 description 5
- 239000000194 fatty acid Substances 0.000 description 5
- 239000011521 glass Substances 0.000 description 5
- 229930195733 hydrocarbon Natural products 0.000 description 5
- 150000002430 hydrocarbons Chemical class 0.000 description 5
- 238000011068 loading method Methods 0.000 description 5
- BASFCYQUMIYNBI-UHFFFAOYSA-N platinum Chemical compound [Pt] BASFCYQUMIYNBI-UHFFFAOYSA-N 0.000 description 5
- 229920000642 polymer Polymers 0.000 description 5
- 239000011347 resin Substances 0.000 description 5
- 229920005989 resin Polymers 0.000 description 5
- 206010021639 Incontinence Diseases 0.000 description 4
- KFZMGEQAYNKOFK-UHFFFAOYSA-N Isopropanol Chemical compound CC(C)O KFZMGEQAYNKOFK-UHFFFAOYSA-N 0.000 description 4
- 239000004743 Polypropylene Substances 0.000 description 4
- 230000002411 adverse Effects 0.000 description 4
- 230000008901 benefit Effects 0.000 description 4
- 210000001124 body fluid Anatomy 0.000 description 4
- 229920002678 cellulose Polymers 0.000 description 4
- 239000001913 cellulose Substances 0.000 description 4
- 238000013461 design Methods 0.000 description 4
- 150000002191 fatty alcohols Chemical class 0.000 description 4
- 238000007710 freezing Methods 0.000 description 4
- 230000008014 freezing Effects 0.000 description 4
- BXWNKGSJHAJOGX-UHFFFAOYSA-N hexadecan-1-ol Chemical compound CCCCCCCCCCCCCCCCO BXWNKGSJHAJOGX-UHFFFAOYSA-N 0.000 description 4
- IPCSVZSSVZVIGE-UHFFFAOYSA-N hexadecanoic acid Chemical compound CCCCCCCCCCCCCCCC(O)=O IPCSVZSSVZVIGE-UHFFFAOYSA-N 0.000 description 4
- 239000004615 ingredient Substances 0.000 description 4
- 238000002844 melting Methods 0.000 description 4
- 230000008018 melting Effects 0.000 description 4
- 230000005906 menstruation Effects 0.000 description 4
- GLDOVTGHNKAZLK-UHFFFAOYSA-N octadecan-1-ol Chemical compound CCCCCCCCCCCCCCCCCCO GLDOVTGHNKAZLK-UHFFFAOYSA-N 0.000 description 4
- 229920002401 polyacrylamide Polymers 0.000 description 4
- 229920001155 polypropylene Polymers 0.000 description 4
- 229920001296 polysiloxane Polymers 0.000 description 4
- 238000011282 treatment Methods 0.000 description 4
- 238000005303 weighing Methods 0.000 description 4
- 238000009736 wetting Methods 0.000 description 4
- OKTJSMMVPCPJKN-UHFFFAOYSA-N Carbon Chemical compound [C] OKTJSMMVPCPJKN-UHFFFAOYSA-N 0.000 description 3
- VYPSYNLAJGMNEJ-UHFFFAOYSA-N Silicium dioxide Chemical compound O=[Si]=O VYPSYNLAJGMNEJ-UHFFFAOYSA-N 0.000 description 3
- HEMHJVSKTPXQMS-UHFFFAOYSA-M Sodium hydroxide Chemical compound [OH-].[Na+] HEMHJVSKTPXQMS-UHFFFAOYSA-M 0.000 description 3
- 229920002125 Sokalan® Polymers 0.000 description 3
- 229910052782 aluminium Inorganic materials 0.000 description 3
- XAGFODPZIPBFFR-UHFFFAOYSA-N aluminium Chemical compound [Al] XAGFODPZIPBFFR-UHFFFAOYSA-N 0.000 description 3
- 230000036760 body temperature Effects 0.000 description 3
- 238000004364 calculation method Methods 0.000 description 3
- 125000004432 carbon atom Chemical group C* 0.000 description 3
- 238000011109 contamination Methods 0.000 description 3
- 230000001627 detrimental effect Effects 0.000 description 3
- 235000014113 dietary fatty acids Nutrition 0.000 description 3
- 229930195729 fatty acid Natural products 0.000 description 3
- 239000000834 fixative Substances 0.000 description 3
- 238000010438 heat treatment Methods 0.000 description 3
- 239000002480 mineral oil Substances 0.000 description 3
- 235000010446 mineral oil Nutrition 0.000 description 3
- 239000003921 oil Substances 0.000 description 3
- 230000035515 penetration Effects 0.000 description 3
- 239000003208 petroleum Substances 0.000 description 3
- 239000004926 polymethyl methacrylate Substances 0.000 description 3
- 229920000098 polyolefin Polymers 0.000 description 3
- 238000004381 surface treatment Methods 0.000 description 3
- 229920001169 thermoplastic Polymers 0.000 description 3
- 239000004416 thermosoftening plastic Substances 0.000 description 3
- IEORSVTYLWZQJQ-UHFFFAOYSA-N 2-(2-nonylphenoxy)ethanol Chemical compound CCCCCCCCCC1=CC=CC=C1OCCO IEORSVTYLWZQJQ-UHFFFAOYSA-N 0.000 description 2
- JVTIXNMXDLQEJE-UHFFFAOYSA-N 2-decanoyloxypropyl decanoate 2-octanoyloxypropyl octanoate Chemical compound C(CCCCCCC)(=O)OCC(C)OC(CCCCCCC)=O.C(=O)(CCCCCCCCC)OCC(C)OC(=O)CCCCCCCCC JVTIXNMXDLQEJE-UHFFFAOYSA-N 0.000 description 2
- 229920003043 Cellulose fiber Polymers 0.000 description 2
- LFQSCWFLJHTTHZ-UHFFFAOYSA-N Ethanol Chemical compound CCO LFQSCWFLJHTTHZ-UHFFFAOYSA-N 0.000 description 2
- TWRXJAOTZQYOKJ-UHFFFAOYSA-L Magnesium chloride Chemical compound [Mg+2].[Cl-].[Cl-] TWRXJAOTZQYOKJ-UHFFFAOYSA-L 0.000 description 2
- 235000021314 Palmitic acid Nutrition 0.000 description 2
- 229920005439 Perspex® Polymers 0.000 description 2
- 229920005372 Plexiglas® Polymers 0.000 description 2
- 239000004698 Polyethylene Substances 0.000 description 2
- 235000021355 Stearic acid Nutrition 0.000 description 2
- 229910021536 Zeolite Inorganic materials 0.000 description 2
- 239000012190 activator Substances 0.000 description 2
- 239000000654 additive Substances 0.000 description 2
- 239000012790 adhesive layer Substances 0.000 description 2
- 229960000541 cetyl alcohol Drugs 0.000 description 2
- 238000005520 cutting process Methods 0.000 description 2
- 238000007405 data analysis Methods 0.000 description 2
- 238000010586 diagram Methods 0.000 description 2
- HNPSIPDUKPIQMN-UHFFFAOYSA-N dioxosilane;oxo(oxoalumanyloxy)alumane Chemical compound O=[Si]=O.O=[Al]O[Al]=O HNPSIPDUKPIQMN-UHFFFAOYSA-N 0.000 description 2
- 238000001035 drying Methods 0.000 description 2
- 238000005516 engineering process Methods 0.000 description 2
- 238000007046 ethoxylation reaction Methods 0.000 description 2
- 239000004744 fabric Substances 0.000 description 2
- 239000002657 fibrous material Substances 0.000 description 2
- 238000001914 filtration Methods 0.000 description 2
- 229920002313 fluoropolymer Polymers 0.000 description 2
- 238000009472 formulation Methods 0.000 description 2
- 230000005660 hydrophilic surface Effects 0.000 description 2
- 125000002887 hydroxy group Chemical group [H]O* 0.000 description 2
- 238000010191 image analysis Methods 0.000 description 2
- 235000015110 jellies Nutrition 0.000 description 2
- 239000008274 jelly Substances 0.000 description 2
- 230000002175 menstrual effect Effects 0.000 description 2
- WQEPLUUGTLDZJY-UHFFFAOYSA-N n-Pentadecanoic acid Natural products CCCCCCCCCCCCCCC(O)=O WQEPLUUGTLDZJY-UHFFFAOYSA-N 0.000 description 2
- GOQYKNQRPGWPLP-UHFFFAOYSA-N n-heptadecyl alcohol Natural products CCCCCCCCCCCCCCCCCO GOQYKNQRPGWPLP-UHFFFAOYSA-N 0.000 description 2
- 229920000847 nonoxynol Polymers 0.000 description 2
- 239000004745 nonwoven fabric Substances 0.000 description 2
- QIQXTHQIDYTFRH-UHFFFAOYSA-N octadecanoic acid Chemical compound CCCCCCCCCCCCCCCCCC(O)=O QIQXTHQIDYTFRH-UHFFFAOYSA-N 0.000 description 2
- OQCDKBAXFALNLD-UHFFFAOYSA-N octadecanoic acid Natural products CCCCCCCC(C)CCCCCCCCC(O)=O OQCDKBAXFALNLD-UHFFFAOYSA-N 0.000 description 2
- 239000002245 particle Substances 0.000 description 2
- 229920003023 plastic Polymers 0.000 description 2
- 239000004033 plastic Substances 0.000 description 2
- 239000002985 plastic film Substances 0.000 description 2
- 229920006255 plastic film Polymers 0.000 description 2
- 229920000728 polyester Polymers 0.000 description 2
- 229920000573 polyethylene Polymers 0.000 description 2
- 229920001343 polytetrafluoroethylene Polymers 0.000 description 2
- 239000004810 polytetrafluoroethylene Substances 0.000 description 2
- 238000012545 processing Methods 0.000 description 2
- 239000003507 refrigerant Substances 0.000 description 2
- 230000000717 retained effect Effects 0.000 description 2
- 238000000926 separation method Methods 0.000 description 2
- 238000002791 soaking Methods 0.000 description 2
- 239000008117 stearic acid Substances 0.000 description 2
- 239000002344 surface layer Substances 0.000 description 2
- 229920002994 synthetic fiber Polymers 0.000 description 2
- 239000012209 synthetic fiber Substances 0.000 description 2
- 239000010457 zeolite Substances 0.000 description 2
- 241000251468 Actinopterygii Species 0.000 description 1
- 229910002016 Aerosil® 200 Inorganic materials 0.000 description 1
- 238000012935 Averaging Methods 0.000 description 1
- UXVMQQNJUSDDNG-UHFFFAOYSA-L Calcium chloride Chemical compound [Cl-].[Cl-].[Ca+2] UXVMQQNJUSDDNG-UHFFFAOYSA-L 0.000 description 1
- 229920000742 Cotton Polymers 0.000 description 1
- 239000004971 Cross linker Substances 0.000 description 1
- 235000003332 Ilex aquifolium Nutrition 0.000 description 1
- 235000002296 Ilex sandwicensis Nutrition 0.000 description 1
- 235000002294 Ilex volkensiana Nutrition 0.000 description 1
- 102100027256 Melanoma-associated antigen H1 Human genes 0.000 description 1
- VVQNEPGJFQJSBK-UHFFFAOYSA-N Methyl methacrylate Chemical compound COC(=O)C(C)=C VVQNEPGJFQJSBK-UHFFFAOYSA-N 0.000 description 1
- SNIOPGDIGTZGOP-UHFFFAOYSA-N Nitroglycerin Chemical compound [O-][N+](=O)OCC(O[N+]([O-])=O)CO[N+]([O-])=O SNIOPGDIGTZGOP-UHFFFAOYSA-N 0.000 description 1
- 239000004793 Polystyrene Substances 0.000 description 1
- 229920005830 Polyurethane Foam Polymers 0.000 description 1
- 229920001131 Pulp (paper) Polymers 0.000 description 1
- 229920001247 Reticulated foam Polymers 0.000 description 1
- 239000004809 Teflon Substances 0.000 description 1
- 229920006362 Teflon® Polymers 0.000 description 1
- 229920002522 Wood fibre Polymers 0.000 description 1
- 239000004480 active ingredient Substances 0.000 description 1
- 238000007792 addition Methods 0.000 description 1
- 239000012670 alkaline solution Substances 0.000 description 1
- 125000000217 alkyl group Chemical group 0.000 description 1
- 230000000845 anti-microbial effect Effects 0.000 description 1
- 239000007864 aqueous solution Substances 0.000 description 1
- 239000003212 astringent agent Substances 0.000 description 1
- 239000008280 blood Substances 0.000 description 1
- 210000004369 blood Anatomy 0.000 description 1
- 238000009530 blood pressure measurement Methods 0.000 description 1
- 239000010839 body fluid Substances 0.000 description 1
- 239000001110 calcium chloride Substances 0.000 description 1
- 229910001628 calcium chloride Inorganic materials 0.000 description 1
- 239000003610 charcoal Substances 0.000 description 1
- 239000003153 chemical reaction reagent Substances 0.000 description 1
- 238000004140 cleaning Methods 0.000 description 1
- 230000001427 coherent effect Effects 0.000 description 1
- 238000004891 communication Methods 0.000 description 1
- 230000001010 compromised effect Effects 0.000 description 1
- 238000001816 cooling Methods 0.000 description 1
- 239000006071 cream Substances 0.000 description 1
- 108010038764 cytoplasmic linker protein 170 Proteins 0.000 description 1
- 230000018044 dehydration Effects 0.000 description 1
- 238000006297 dehydration reaction Methods 0.000 description 1
- 239000002781 deodorant agent Substances 0.000 description 1
- 230000001419 dependent effect Effects 0.000 description 1
- 239000000645 desinfectant Substances 0.000 description 1
- 239000003599 detergent Substances 0.000 description 1
- 238000011161 development Methods 0.000 description 1
- 230000018109 developmental process Effects 0.000 description 1
- 238000009792 diffusion process Methods 0.000 description 1
- 208000028659 discharge Diseases 0.000 description 1
- 238000004851 dishwashing Methods 0.000 description 1
- 239000003814 drug Substances 0.000 description 1
- 238000010410 dusting Methods 0.000 description 1
- 239000003792 electrolyte Substances 0.000 description 1
- 238000004049 embossing Methods 0.000 description 1
- 238000011156 evaluation Methods 0.000 description 1
- 230000001747 exhibiting effect Effects 0.000 description 1
- 150000004665 fatty acids Chemical class 0.000 description 1
- 230000009969 flowable effect Effects 0.000 description 1
- 239000004811 fluoropolymer Substances 0.000 description 1
- 239000003205 fragrance Substances 0.000 description 1
- 239000003349 gelling agent Substances 0.000 description 1
- 238000009499 grossing Methods 0.000 description 1
- 235000015220 hamburgers Nutrition 0.000 description 1
- 239000008240 homogeneous mixture Substances 0.000 description 1
- 239000012943 hotmelt Substances 0.000 description 1
- 238000005286 illumination Methods 0.000 description 1
- 238000007654 immersion Methods 0.000 description 1
- 230000001771 impaired effect Effects 0.000 description 1
- 229910052500 inorganic mineral Inorganic materials 0.000 description 1
- 238000003780 insertion Methods 0.000 description 1
- 230000037431 insertion Effects 0.000 description 1
- 239000004816 latex Substances 0.000 description 1
- 229920000126 latex Polymers 0.000 description 1
- 230000000670 limiting effect Effects 0.000 description 1
- 229920000092 linear low density polyethylene Polymers 0.000 description 1
- 239000004707 linear low-density polyethylene Substances 0.000 description 1
- 239000006210 lotion Substances 0.000 description 1
- 210000003141 lower extremity Anatomy 0.000 description 1
- 230000001050 lubricating effect Effects 0.000 description 1
- 229910001629 magnesium chloride Inorganic materials 0.000 description 1
- 229910021645 metal ion Inorganic materials 0.000 description 1
- 239000003094 microcapsule Substances 0.000 description 1
- 238000013508 migration Methods 0.000 description 1
- 230000005012 migration Effects 0.000 description 1
- 239000011707 mineral Substances 0.000 description 1
- 239000012184 mineral wax Substances 0.000 description 1
- 239000003607 modifier Substances 0.000 description 1
- 239000003605 opacifier Substances 0.000 description 1
- 230000003204 osmotic effect Effects 0.000 description 1
- 239000011101 paper laminate Substances 0.000 description 1
- 239000012188 paraffin wax Substances 0.000 description 1
- 238000005192 partition Methods 0.000 description 1
- 235000021400 peanut butter Nutrition 0.000 description 1
- 229910052697 platinum Inorganic materials 0.000 description 1
- 229920000058 polyacrylate Polymers 0.000 description 1
- 229920006254 polymer film Polymers 0.000 description 1
- 229920002223 polystyrene Polymers 0.000 description 1
- 239000011496 polyurethane foam Substances 0.000 description 1
- 238000002360 preparation method Methods 0.000 description 1
- 239000011253 protective coating Substances 0.000 description 1
- 102000004169 proteins and genes Human genes 0.000 description 1
- 108090000623 proteins and genes Proteins 0.000 description 1
- 239000002994 raw material Substances 0.000 description 1
- 230000002940 repellent Effects 0.000 description 1
- 239000005871 repellent Substances 0.000 description 1
- 238000000518 rheometry Methods 0.000 description 1
- 238000005464 sample preparation method Methods 0.000 description 1
- 230000002000 scavenging effect Effects 0.000 description 1
- 230000028327 secretion Effects 0.000 description 1
- 239000000377 silicon dioxide Substances 0.000 description 1
- 239000004447 silicone coating Substances 0.000 description 1
- 239000011343 solid material Substances 0.000 description 1
- 239000008247 solid mixture Substances 0.000 description 1
- 239000002904 solvent Substances 0.000 description 1
- 238000001179 sorption measurement Methods 0.000 description 1
- 238000013112 stability test Methods 0.000 description 1
- 239000003381 stabilizer Substances 0.000 description 1
- 229920000247 superabsorbent polymer Polymers 0.000 description 1
- 239000004583 superabsorbent polymers (SAPs) Substances 0.000 description 1
- 210000004243 sweat Anatomy 0.000 description 1
- 230000001225 therapeutic effect Effects 0.000 description 1
- 239000010409 thin film Substances 0.000 description 1
- 238000012549 training Methods 0.000 description 1
- 238000013519 translation Methods 0.000 description 1
- 230000001960 triggered effect Effects 0.000 description 1
- 210000003708 urethra Anatomy 0.000 description 1
- 239000004034 viscosity adjusting agent Substances 0.000 description 1
- 238000005406 washing Methods 0.000 description 1
- 239000001993 wax Substances 0.000 description 1
- 239000002025 wood fiber Substances 0.000 description 1
Images
Classifications
-
- A—HUMAN NECESSITIES
- A61—MEDICAL OR VETERINARY SCIENCE; HYGIENE
- A61F—FILTERS IMPLANTABLE INTO BLOOD VESSELS; PROSTHESES; DEVICES PROVIDING PATENCY TO, OR PREVENTING COLLAPSING OF, TUBULAR STRUCTURES OF THE BODY, e.g. STENTS; ORTHOPAEDIC, NURSING OR CONTRACEPTIVE DEVICES; FOMENTATION; TREATMENT OR PROTECTION OF EYES OR EARS; BANDAGES, DRESSINGS OR ABSORBENT PADS; FIRST-AID KITS
- A61F13/00—Bandages or dressings; Absorbent pads
- A61F13/15—Absorbent pads, e.g. sanitary towels, swabs or tampons for external or internal application to the body; Supporting or fastening means therefor; Tampon applicators
- A61F13/51—Absorbent pads, e.g. sanitary towels, swabs or tampons for external or internal application to the body; Supporting or fastening means therefor; Tampon applicators characterised by the outer layers of the pads
- A61F13/511—Topsheet, i.e. the permeable cover or layer facing the skin
- A61F13/512—Topsheet, i.e. the permeable cover or layer facing the skin characterised by its apertures, e.g. perforations
-
- A—HUMAN NECESSITIES
- A61—MEDICAL OR VETERINARY SCIENCE; HYGIENE
- A61F—FILTERS IMPLANTABLE INTO BLOOD VESSELS; PROSTHESES; DEVICES PROVIDING PATENCY TO, OR PREVENTING COLLAPSING OF, TUBULAR STRUCTURES OF THE BODY, e.g. STENTS; ORTHOPAEDIC, NURSING OR CONTRACEPTIVE DEVICES; FOMENTATION; TREATMENT OR PROTECTION OF EYES OR EARS; BANDAGES, DRESSINGS OR ABSORBENT PADS; FIRST-AID KITS
- A61F13/00—Bandages or dressings; Absorbent pads
- A61F13/15—Absorbent pads, e.g. sanitary towels, swabs or tampons for external or internal application to the body; Supporting or fastening means therefor; Tampon applicators
-
- A—HUMAN NECESSITIES
- A61—MEDICAL OR VETERINARY SCIENCE; HYGIENE
- A61F—FILTERS IMPLANTABLE INTO BLOOD VESSELS; PROSTHESES; DEVICES PROVIDING PATENCY TO, OR PREVENTING COLLAPSING OF, TUBULAR STRUCTURES OF THE BODY, e.g. STENTS; ORTHOPAEDIC, NURSING OR CONTRACEPTIVE DEVICES; FOMENTATION; TREATMENT OR PROTECTION OF EYES OR EARS; BANDAGES, DRESSINGS OR ABSORBENT PADS; FIRST-AID KITS
- A61F13/00—Bandages or dressings; Absorbent pads
- A61F13/15—Absorbent pads, e.g. sanitary towels, swabs or tampons for external or internal application to the body; Supporting or fastening means therefor; Tampon applicators
- A61F13/15203—Properties of the article, e.g. stiffness or absorbency
-
- A—HUMAN NECESSITIES
- A61—MEDICAL OR VETERINARY SCIENCE; HYGIENE
- A61F—FILTERS IMPLANTABLE INTO BLOOD VESSELS; PROSTHESES; DEVICES PROVIDING PATENCY TO, OR PREVENTING COLLAPSING OF, TUBULAR STRUCTURES OF THE BODY, e.g. STENTS; ORTHOPAEDIC, NURSING OR CONTRACEPTIVE DEVICES; FOMENTATION; TREATMENT OR PROTECTION OF EYES OR EARS; BANDAGES, DRESSINGS OR ABSORBENT PADS; FIRST-AID KITS
- A61F13/00—Bandages or dressings; Absorbent pads
- A61F13/15—Absorbent pads, e.g. sanitary towels, swabs or tampons for external or internal application to the body; Supporting or fastening means therefor; Tampon applicators
- A61F13/53—Absorbent pads, e.g. sanitary towels, swabs or tampons for external or internal application to the body; Supporting or fastening means therefor; Tampon applicators characterised by the absorbing medium
- A61F13/534—Absorbent pads, e.g. sanitary towels, swabs or tampons for external or internal application to the body; Supporting or fastening means therefor; Tampon applicators characterised by the absorbing medium having an inhomogeneous composition through the thickness of the pad
- A61F13/537—Absorbent pads, e.g. sanitary towels, swabs or tampons for external or internal application to the body; Supporting or fastening means therefor; Tampon applicators characterised by the absorbing medium having an inhomogeneous composition through the thickness of the pad characterised by a layer facilitating or inhibiting flow in one direction or plane, e.g. a wicking layer
- A61F13/53704—Absorbent pads, e.g. sanitary towels, swabs or tampons for external or internal application to the body; Supporting or fastening means therefor; Tampon applicators characterised by the absorbing medium having an inhomogeneous composition through the thickness of the pad characterised by a layer facilitating or inhibiting flow in one direction or plane, e.g. a wicking layer the layer having an inhibiting function on liquid propagation
-
- A—HUMAN NECESSITIES
- A61—MEDICAL OR VETERINARY SCIENCE; HYGIENE
- A61F—FILTERS IMPLANTABLE INTO BLOOD VESSELS; PROSTHESES; DEVICES PROVIDING PATENCY TO, OR PREVENTING COLLAPSING OF, TUBULAR STRUCTURES OF THE BODY, e.g. STENTS; ORTHOPAEDIC, NURSING OR CONTRACEPTIVE DEVICES; FOMENTATION; TREATMENT OR PROTECTION OF EYES OR EARS; BANDAGES, DRESSINGS OR ABSORBENT PADS; FIRST-AID KITS
- A61F13/00—Bandages or dressings; Absorbent pads
- A61F13/15—Absorbent pads, e.g. sanitary towels, swabs or tampons for external or internal application to the body; Supporting or fastening means therefor; Tampon applicators
- A61F13/53—Absorbent pads, e.g. sanitary towels, swabs or tampons for external or internal application to the body; Supporting or fastening means therefor; Tampon applicators characterised by the absorbing medium
- A61F13/534—Absorbent pads, e.g. sanitary towels, swabs or tampons for external or internal application to the body; Supporting or fastening means therefor; Tampon applicators characterised by the absorbing medium having an inhomogeneous composition through the thickness of the pad
- A61F13/537—Absorbent pads, e.g. sanitary towels, swabs or tampons for external or internal application to the body; Supporting or fastening means therefor; Tampon applicators characterised by the absorbing medium having an inhomogeneous composition through the thickness of the pad characterised by a layer facilitating or inhibiting flow in one direction or plane, e.g. a wicking layer
- A61F13/53708—Absorbent pads, e.g. sanitary towels, swabs or tampons for external or internal application to the body; Supporting or fastening means therefor; Tampon applicators characterised by the absorbing medium having an inhomogeneous composition through the thickness of the pad characterised by a layer facilitating or inhibiting flow in one direction or plane, e.g. a wicking layer the layer having a promotional function on liquid propagation in at least one direction
- A61F13/53713—Absorbent pads, e.g. sanitary towels, swabs or tampons for external or internal application to the body; Supporting or fastening means therefor; Tampon applicators characterised by the absorbing medium having an inhomogeneous composition through the thickness of the pad characterised by a layer facilitating or inhibiting flow in one direction or plane, e.g. a wicking layer the layer having a promotional function on liquid propagation in at least one direction the layer having a promotional function on liquid propagation in the vertical direction
-
- A—HUMAN NECESSITIES
- A61—MEDICAL OR VETERINARY SCIENCE; HYGIENE
- A61F—FILTERS IMPLANTABLE INTO BLOOD VESSELS; PROSTHESES; DEVICES PROVIDING PATENCY TO, OR PREVENTING COLLAPSING OF, TUBULAR STRUCTURES OF THE BODY, e.g. STENTS; ORTHOPAEDIC, NURSING OR CONTRACEPTIVE DEVICES; FOMENTATION; TREATMENT OR PROTECTION OF EYES OR EARS; BANDAGES, DRESSINGS OR ABSORBENT PADS; FIRST-AID KITS
- A61F13/00—Bandages or dressings; Absorbent pads
- A61F13/15—Absorbent pads, e.g. sanitary towels, swabs or tampons for external or internal application to the body; Supporting or fastening means therefor; Tampon applicators
- A61F13/53—Absorbent pads, e.g. sanitary towels, swabs or tampons for external or internal application to the body; Supporting or fastening means therefor; Tampon applicators characterised by the absorbing medium
- A61F13/534—Absorbent pads, e.g. sanitary towels, swabs or tampons for external or internal application to the body; Supporting or fastening means therefor; Tampon applicators characterised by the absorbing medium having an inhomogeneous composition through the thickness of the pad
- A61F13/537—Absorbent pads, e.g. sanitary towels, swabs or tampons for external or internal application to the body; Supporting or fastening means therefor; Tampon applicators characterised by the absorbing medium having an inhomogeneous composition through the thickness of the pad characterised by a layer facilitating or inhibiting flow in one direction or plane, e.g. a wicking layer
- A61F13/53743—Absorbent pads, e.g. sanitary towels, swabs or tampons for external or internal application to the body; Supporting or fastening means therefor; Tampon applicators characterised by the absorbing medium having an inhomogeneous composition through the thickness of the pad characterised by a layer facilitating or inhibiting flow in one direction or plane, e.g. a wicking layer characterised by the position of the layer relative to the other layers
- A61F13/53747—Absorbent pads, e.g. sanitary towels, swabs or tampons for external or internal application to the body; Supporting or fastening means therefor; Tampon applicators characterised by the absorbing medium having an inhomogeneous composition through the thickness of the pad characterised by a layer facilitating or inhibiting flow in one direction or plane, e.g. a wicking layer characterised by the position of the layer relative to the other layers the layer is facing the topsheet
-
- A—HUMAN NECESSITIES
- A61—MEDICAL OR VETERINARY SCIENCE; HYGIENE
- A61F—FILTERS IMPLANTABLE INTO BLOOD VESSELS; PROSTHESES; DEVICES PROVIDING PATENCY TO, OR PREVENTING COLLAPSING OF, TUBULAR STRUCTURES OF THE BODY, e.g. STENTS; ORTHOPAEDIC, NURSING OR CONTRACEPTIVE DEVICES; FOMENTATION; TREATMENT OR PROTECTION OF EYES OR EARS; BANDAGES, DRESSINGS OR ABSORBENT PADS; FIRST-AID KITS
- A61F13/00—Bandages or dressings; Absorbent pads
- A61F13/15—Absorbent pads, e.g. sanitary towels, swabs or tampons for external or internal application to the body; Supporting or fastening means therefor; Tampon applicators
- A61F13/53—Absorbent pads, e.g. sanitary towels, swabs or tampons for external or internal application to the body; Supporting or fastening means therefor; Tampon applicators characterised by the absorbing medium
- A61F13/534—Absorbent pads, e.g. sanitary towels, swabs or tampons for external or internal application to the body; Supporting or fastening means therefor; Tampon applicators characterised by the absorbing medium having an inhomogeneous composition through the thickness of the pad
- A61F13/537—Absorbent pads, e.g. sanitary towels, swabs or tampons for external or internal application to the body; Supporting or fastening means therefor; Tampon applicators characterised by the absorbing medium having an inhomogeneous composition through the thickness of the pad characterised by a layer facilitating or inhibiting flow in one direction or plane, e.g. a wicking layer
- A61F13/5376—Absorbent pads, e.g. sanitary towels, swabs or tampons for external or internal application to the body; Supporting or fastening means therefor; Tampon applicators characterised by the absorbing medium having an inhomogeneous composition through the thickness of the pad characterised by a layer facilitating or inhibiting flow in one direction or plane, e.g. a wicking layer characterised by the performance of the layer, e.g. acquisition rate, distribution time, transfer time
-
- A—HUMAN NECESSITIES
- A61—MEDICAL OR VETERINARY SCIENCE; HYGIENE
- A61F—FILTERS IMPLANTABLE INTO BLOOD VESSELS; PROSTHESES; DEVICES PROVIDING PATENCY TO, OR PREVENTING COLLAPSING OF, TUBULAR STRUCTURES OF THE BODY, e.g. STENTS; ORTHOPAEDIC, NURSING OR CONTRACEPTIVE DEVICES; FOMENTATION; TREATMENT OR PROTECTION OF EYES OR EARS; BANDAGES, DRESSINGS OR ABSORBENT PADS; FIRST-AID KITS
- A61F13/00—Bandages or dressings; Absorbent pads
- A61F13/15—Absorbent pads, e.g. sanitary towels, swabs or tampons for external or internal application to the body; Supporting or fastening means therefor; Tampon applicators
- A61F13/53—Absorbent pads, e.g. sanitary towels, swabs or tampons for external or internal application to the body; Supporting or fastening means therefor; Tampon applicators characterised by the absorbing medium
- A61F13/538—Absorbent pads, e.g. sanitary towels, swabs or tampons for external or internal application to the body; Supporting or fastening means therefor; Tampon applicators characterised by the absorbing medium characterised by specific fibre orientation or weave
-
- A—HUMAN NECESSITIES
- A61—MEDICAL OR VETERINARY SCIENCE; HYGIENE
- A61F—FILTERS IMPLANTABLE INTO BLOOD VESSELS; PROSTHESES; DEVICES PROVIDING PATENCY TO, OR PREVENTING COLLAPSING OF, TUBULAR STRUCTURES OF THE BODY, e.g. STENTS; ORTHOPAEDIC, NURSING OR CONTRACEPTIVE DEVICES; FOMENTATION; TREATMENT OR PROTECTION OF EYES OR EARS; BANDAGES, DRESSINGS OR ABSORBENT PADS; FIRST-AID KITS
- A61F13/00—Bandages or dressings; Absorbent pads
- A61F13/15—Absorbent pads, e.g. sanitary towels, swabs or tampons for external or internal application to the body; Supporting or fastening means therefor; Tampon applicators
- A61F13/15203—Properties of the article, e.g. stiffness or absorbency
- A61F2013/15284—Properties of the article, e.g. stiffness or absorbency characterized by quantifiable properties
- A61F2013/15422—Density
- A61F2013/15439—Density with a density gradient in the vertical plane
-
- A—HUMAN NECESSITIES
- A61—MEDICAL OR VETERINARY SCIENCE; HYGIENE
- A61F—FILTERS IMPLANTABLE INTO BLOOD VESSELS; PROSTHESES; DEVICES PROVIDING PATENCY TO, OR PREVENTING COLLAPSING OF, TUBULAR STRUCTURES OF THE BODY, e.g. STENTS; ORTHOPAEDIC, NURSING OR CONTRACEPTIVE DEVICES; FOMENTATION; TREATMENT OR PROTECTION OF EYES OR EARS; BANDAGES, DRESSINGS OR ABSORBENT PADS; FIRST-AID KITS
- A61F13/00—Bandages or dressings; Absorbent pads
- A61F13/15—Absorbent pads, e.g. sanitary towels, swabs or tampons for external or internal application to the body; Supporting or fastening means therefor; Tampon applicators
- A61F13/45—Absorbent pads, e.g. sanitary towels, swabs or tampons for external or internal application to the body; Supporting or fastening means therefor; Tampon applicators characterised by the shape
- A61F13/49—Absorbent pads, e.g. sanitary towels, swabs or tampons for external or internal application to the body; Supporting or fastening means therefor; Tampon applicators characterised by the shape specially adapted to be worn around the waist, e.g. diapers, nappies
- A61F13/495—Absorbent pads, e.g. sanitary towels, swabs or tampons for external or internal application to the body; Supporting or fastening means therefor; Tampon applicators characterised by the shape specially adapted to be worn around the waist, e.g. diapers, nappies with faecal cavity
- A61F2013/4958—Absorbent pads, e.g. sanitary towels, swabs or tampons for external or internal application to the body; Supporting or fastening means therefor; Tampon applicators characterised by the shape specially adapted to be worn around the waist, e.g. diapers, nappies with faecal cavity with a faecal management layer
-
- A—HUMAN NECESSITIES
- A61—MEDICAL OR VETERINARY SCIENCE; HYGIENE
- A61F—FILTERS IMPLANTABLE INTO BLOOD VESSELS; PROSTHESES; DEVICES PROVIDING PATENCY TO, OR PREVENTING COLLAPSING OF, TUBULAR STRUCTURES OF THE BODY, e.g. STENTS; ORTHOPAEDIC, NURSING OR CONTRACEPTIVE DEVICES; FOMENTATION; TREATMENT OR PROTECTION OF EYES OR EARS; BANDAGES, DRESSINGS OR ABSORBENT PADS; FIRST-AID KITS
- A61F13/00—Bandages or dressings; Absorbent pads
- A61F13/15—Absorbent pads, e.g. sanitary towels, swabs or tampons for external or internal application to the body; Supporting or fastening means therefor; Tampon applicators
- A61F13/51—Absorbent pads, e.g. sanitary towels, swabs or tampons for external or internal application to the body; Supporting or fastening means therefor; Tampon applicators characterised by the outer layers of the pads
- A61F2013/51059—Absorbent pads, e.g. sanitary towels, swabs or tampons for external or internal application to the body; Supporting or fastening means therefor; Tampon applicators characterised by the outer layers of the pads being sprayed with chemicals
- A61F2013/51066—Absorbent pads, e.g. sanitary towels, swabs or tampons for external or internal application to the body; Supporting or fastening means therefor; Tampon applicators characterised by the outer layers of the pads being sprayed with chemicals for rendering the surface hydrophilic
-
- A—HUMAN NECESSITIES
- A61—MEDICAL OR VETERINARY SCIENCE; HYGIENE
- A61F—FILTERS IMPLANTABLE INTO BLOOD VESSELS; PROSTHESES; DEVICES PROVIDING PATENCY TO, OR PREVENTING COLLAPSING OF, TUBULAR STRUCTURES OF THE BODY, e.g. STENTS; ORTHOPAEDIC, NURSING OR CONTRACEPTIVE DEVICES; FOMENTATION; TREATMENT OR PROTECTION OF EYES OR EARS; BANDAGES, DRESSINGS OR ABSORBENT PADS; FIRST-AID KITS
- A61F13/00—Bandages or dressings; Absorbent pads
- A61F13/15—Absorbent pads, e.g. sanitary towels, swabs or tampons for external or internal application to the body; Supporting or fastening means therefor; Tampon applicators
- A61F13/51—Absorbent pads, e.g. sanitary towels, swabs or tampons for external or internal application to the body; Supporting or fastening means therefor; Tampon applicators characterised by the outer layers of the pads
- A61F13/511—Topsheet, i.e. the permeable cover or layer facing the skin
- A61F13/512—Topsheet, i.e. the permeable cover or layer facing the skin characterised by its apertures, e.g. perforations
- A61F2013/5127—Topsheet, i.e. the permeable cover or layer facing the skin characterised by its apertures, e.g. perforations characterized by the dimension of apertures
-
- A—HUMAN NECESSITIES
- A61—MEDICAL OR VETERINARY SCIENCE; HYGIENE
- A61F—FILTERS IMPLANTABLE INTO BLOOD VESSELS; PROSTHESES; DEVICES PROVIDING PATENCY TO, OR PREVENTING COLLAPSING OF, TUBULAR STRUCTURES OF THE BODY, e.g. STENTS; ORTHOPAEDIC, NURSING OR CONTRACEPTIVE DEVICES; FOMENTATION; TREATMENT OR PROTECTION OF EYES OR EARS; BANDAGES, DRESSINGS OR ABSORBENT PADS; FIRST-AID KITS
- A61F13/00—Bandages or dressings; Absorbent pads
- A61F13/15—Absorbent pads, e.g. sanitary towels, swabs or tampons for external or internal application to the body; Supporting or fastening means therefor; Tampon applicators
- A61F13/53—Absorbent pads, e.g. sanitary towels, swabs or tampons for external or internal application to the body; Supporting or fastening means therefor; Tampon applicators characterised by the absorbing medium
- A61F13/534—Absorbent pads, e.g. sanitary towels, swabs or tampons for external or internal application to the body; Supporting or fastening means therefor; Tampon applicators characterised by the absorbing medium having an inhomogeneous composition through the thickness of the pad
- A61F13/537—Absorbent pads, e.g. sanitary towels, swabs or tampons for external or internal application to the body; Supporting or fastening means therefor; Tampon applicators characterised by the absorbing medium having an inhomogeneous composition through the thickness of the pad characterised by a layer facilitating or inhibiting flow in one direction or plane, e.g. a wicking layer
- A61F13/53708—Absorbent pads, e.g. sanitary towels, swabs or tampons for external or internal application to the body; Supporting or fastening means therefor; Tampon applicators characterised by the absorbing medium having an inhomogeneous composition through the thickness of the pad characterised by a layer facilitating or inhibiting flow in one direction or plane, e.g. a wicking layer the layer having a promotional function on liquid propagation in at least one direction
- A61F2013/53721—Absorbent pads, e.g. sanitary towels, swabs or tampons for external or internal application to the body; Supporting or fastening means therefor; Tampon applicators characterised by the absorbing medium having an inhomogeneous composition through the thickness of the pad characterised by a layer facilitating or inhibiting flow in one direction or plane, e.g. a wicking layer the layer having a promotional function on liquid propagation in at least one direction with capillary means
-
- A—HUMAN NECESSITIES
- A61—MEDICAL OR VETERINARY SCIENCE; HYGIENE
- A61F—FILTERS IMPLANTABLE INTO BLOOD VESSELS; PROSTHESES; DEVICES PROVIDING PATENCY TO, OR PREVENTING COLLAPSING OF, TUBULAR STRUCTURES OF THE BODY, e.g. STENTS; ORTHOPAEDIC, NURSING OR CONTRACEPTIVE DEVICES; FOMENTATION; TREATMENT OR PROTECTION OF EYES OR EARS; BANDAGES, DRESSINGS OR ABSORBENT PADS; FIRST-AID KITS
- A61F13/00—Bandages or dressings; Absorbent pads
- A61F13/15—Absorbent pads, e.g. sanitary towels, swabs or tampons for external or internal application to the body; Supporting or fastening means therefor; Tampon applicators
- A61F13/53—Absorbent pads, e.g. sanitary towels, swabs or tampons for external or internal application to the body; Supporting or fastening means therefor; Tampon applicators characterised by the absorbing medium
- A61F13/534—Absorbent pads, e.g. sanitary towels, swabs or tampons for external or internal application to the body; Supporting or fastening means therefor; Tampon applicators characterised by the absorbing medium having an inhomogeneous composition through the thickness of the pad
- A61F13/537—Absorbent pads, e.g. sanitary towels, swabs or tampons for external or internal application to the body; Supporting or fastening means therefor; Tampon applicators characterised by the absorbing medium having an inhomogeneous composition through the thickness of the pad characterised by a layer facilitating or inhibiting flow in one direction or plane, e.g. a wicking layer
- A61F2013/53765—Absorbent pads, e.g. sanitary towels, swabs or tampons for external or internal application to the body; Supporting or fastening means therefor; Tampon applicators characterised by the absorbing medium having an inhomogeneous composition through the thickness of the pad characterised by a layer facilitating or inhibiting flow in one direction or plane, e.g. a wicking layer characterized by its geometry
- A61F2013/53782—Absorbent pads, e.g. sanitary towels, swabs or tampons for external or internal application to the body; Supporting or fastening means therefor; Tampon applicators characterised by the absorbing medium having an inhomogeneous composition through the thickness of the pad characterised by a layer facilitating or inhibiting flow in one direction or plane, e.g. a wicking layer characterized by its geometry with holes
-
- A—HUMAN NECESSITIES
- A61—MEDICAL OR VETERINARY SCIENCE; HYGIENE
- A61F—FILTERS IMPLANTABLE INTO BLOOD VESSELS; PROSTHESES; DEVICES PROVIDING PATENCY TO, OR PREVENTING COLLAPSING OF, TUBULAR STRUCTURES OF THE BODY, e.g. STENTS; ORTHOPAEDIC, NURSING OR CONTRACEPTIVE DEVICES; FOMENTATION; TREATMENT OR PROTECTION OF EYES OR EARS; BANDAGES, DRESSINGS OR ABSORBENT PADS; FIRST-AID KITS
- A61F13/00—Bandages or dressings; Absorbent pads
- A61F13/15—Absorbent pads, e.g. sanitary towels, swabs or tampons for external or internal application to the body; Supporting or fastening means therefor; Tampon applicators
- A61F13/53—Absorbent pads, e.g. sanitary towels, swabs or tampons for external or internal application to the body; Supporting or fastening means therefor; Tampon applicators characterised by the absorbing medium
- A61F13/538—Absorbent pads, e.g. sanitary towels, swabs or tampons for external or internal application to the body; Supporting or fastening means therefor; Tampon applicators characterised by the absorbing medium characterised by specific fibre orientation or weave
- A61F2013/5383—Absorbent pads, e.g. sanitary towels, swabs or tampons for external or internal application to the body; Supporting or fastening means therefor; Tampon applicators characterised by the absorbing medium characterised by specific fibre orientation or weave by the fibre orientation in the x-y plane
Landscapes
- Health & Medical Sciences (AREA)
- Epidemiology (AREA)
- Engineering & Computer Science (AREA)
- Biomedical Technology (AREA)
- Heart & Thoracic Surgery (AREA)
- Vascular Medicine (AREA)
- Life Sciences & Earth Sciences (AREA)
- Animal Behavior & Ethology (AREA)
- General Health & Medical Sciences (AREA)
- Public Health (AREA)
- Veterinary Medicine (AREA)
- Absorbent Articles And Supports Therefor (AREA)
- Orthopedics, Nursing, And Contraception (AREA)
- Laminated Bodies (AREA)
Description
【発明の属する技術分野】
本発明は、尿、月経、又は糞便等の体液を保持するための吸収物品に関し、詳細には、水性の物質を捕捉して保持する吸収物品の性能に関する。本発明は、更に、乳児用おむつ又はトレーニングパンツ、成人失禁者用製品、及び女性用衛生製品等の使い捨て吸収物品に関する。
【0002】
【従来の技術】
使い捨て吸収物品、尿、月経流体、又は糞便等の身体から排出されたものを受け入れて保持する技術から既知である。これによって二つの基本的機構が用いられる。第1に、このような排出の包含は、一般的には、物品と多くの場合において着用者の皮膚との間のシールの不透過性材料又は構造によるガスケット機能によって行われる。他の重要な機構は、排出物を吸収物品内に保持することであり、これは、一般的には、吸収構造を使用して排出物を取り上げることによって行われる。多くの場合、吸収機構は、排出物の水性成分の取り扱いに関する。
【0003】
吸収物品が発揮しなければならない重要な性能上の基準の1つは、捕捉速度である。明らかに、液体の迅速な捕捉は、滲出と滲出物の貯蔵との間の期間が短いことを保証する。
【0004】
しかしながら、吸収物品のエレメントは、多くの場合、疎水性のポリオレフィン等のポリマー材料から形成されている。例えば、これらのエレメントは、熱結合された不織材料から製造できる。これらの材料は、例えば入手し易く製造が容易であり、低価格であるといった利点を提供するために選択される。
【0005】
少なくともこのようなエレメントの表面に親水化剤を加えることによって、このようなエレメントを親水化することが従来技術で既知である。水性流体の捕捉中、捕捉された液体に界面活性剤を放出し、液体の表面張力減少を減少し、及び従って、エレメントの表面を液体によって湿潤できる。
【0006】
更に、液体取り扱い構造の液体取り扱い性が損なわれないようにするため、液体が放出された後に液体取り扱い構造の親水性を維持するため、高濃度の親水化剤を適用することが教示されている。
【0007】
しかしながら、捕捉された液体に界面活性剤を放出することによって、液体の表面張力を大幅に低下させる。かくして、吸収物品の毛管吸引力及び従って捕捉速度が低下する。
【0008】
最近、吸収物品の分野では、糞便等の高粘度液体を容易に受容するため、大きな開孔を持つ液体取り扱い構造を提供することが行われている。勿論、このような大きな開孔は、毛管吸引力及び吸収物品の液体捕捉速度を低下させる。従って、このような開放構造を持つ吸収物品では、捕捉された液体の表面張力の減少による悪影響が増大する。
【0009】
【発明が解決しようとする課題】
本発明の目的は、従来技術の吸収物品が提起した問題点を解決する吸収物品を提供することである。
【0010】
本発明の特定の目的は、捕捉された液体の表面張力に実質的に影響を及ぼさない吸収物品を提供することである。
【0011】
本発明の別の目的は、疎水性有孔トップシートの下の大きな開孔を持つ液体取り扱い構造に良好な液体捕捉性を付与できる吸収物品を提供することである。
【0012】
本発明の更に別の目的は、捕捉された液体に界面活性剤を少量しか放出しない吸収物品を提供することである。
【0013】
本発明の他の目的は、液体捕捉速度が優れており且つトップシートを通した再湿潤が低い吸収物品を提供することである。
【0014】
【課題を解決するための手段】
本発明は、液体透過性トップシート、周囲が前記トップシートに少なくとも部分的に接合された液体不透過性バックシート、前記トップシートと前記液体貯蔵構造との中間に位置決めされた液体取り扱い構造を含み、この液体取り扱い構造は、実質的に、疎水性ポリマー材料から製造され、前記液体取り扱い構造は、この液体取り扱い構造の表面エネルギーを少なくとも40mN/mまで高めるのに十分な量の親水化剤を含み、前記液体取り扱い構造は、未圧縮状態のキャリパに対する坪量の比が1mm当り100g/m2 より小さい、使い捨て吸収物品において、前記液体取り扱い構造の表面張力の減少は、本明細書中に開示した表面張力減少試験に従って15mN/mより小さい、ことを特徴とする使い捨て吸収物品を提供する。
【0015】
更に、本発明は、液体透過性トップシート、周囲が前記トップシートに少なくとも部分的に接合された液体不透過性バックシート、前記トップシートと前記液体貯蔵構造との中間に位置決めされた液体取り扱い構造を含み、この液体取り扱い構造は、疎水性ポリマー繊維で実質的に形成された熱結合した不織材料であり、前記液体取り扱い構造は、この液体取り扱い構造の表面エネルギーを少なくとも40mN/mまで高めるのに十分な量の親水化剤を含む、使い捨て吸収物品において、前記液体取り扱い構造の表面張力の減少は、本明細書中に開示した表面張力減少試験に従って15mN/mより小さい、ことを特徴とする使い捨て吸収物品を提供する。
【0016】
本発明は、更に、前記トップシートが、実質的に、疎水性ポリマー材料から形成されており、前記トップシートは、トップシートの表面エネルギーを少なくとも40mN/mまで高めるのに十分な量の親水化剤を含み、前記トップシートの表面張力の減少は、本明細書中に開示した表面張力減少試験に従って15mN/mより小さい、使い捨て吸収物品を提供する。
【0017】
本発明は、更に、前記液体貯蔵構造は、少なくとも一つのラップシートを更に含み、このラップシートの表面張力の減少は、本明細書中に開示した表面張力減少試験に従って15mN/mより小さい、使い捨て吸収物品を提供する。
【0018】
本発明は、更に、横方向中心線、第1領域、及び第2領域を含み、前記第1領域は前記横方向中心線の前方に位置決めされており、前記第1領域は、使用中に着用者の前胴部と接触し、前記第2領域は前記横方向中心線の後方に位置決めされており、前記第2領域は、使用中に着用者の後胴部と接触し、前記液体取り扱い構造の一部が前記第1領域に位置決めされ、前記液体取り扱い構造の一部が前記第2領域に位置決めされている、使い捨て吸収物品を提供する。
【0019】
本発明は、更に、前記使い捨て吸収物品は、第1領域全製品捕捉性が第1の迸りで3.75ml/sより大きく且つ第4の迸りで0.5ml/sより大きい、使い捨て吸収物品を提供する。
【0020】
本発明は、更に、前記使い捨て吸収物品は、前領域皮膚水和再湿潤値が120mgより小さい、使い捨て吸収物品を提供する。
【0021】
本発明は、更に、前記トップシートは、少なくとも0.2mm2 の大きさの複数の孔を有する、使い捨て吸収物品を提供する。
【0022】
本発明は、更に、前記トップシートは、12%より大きい開放領域を有する、使い捨て吸収物品を提供する。
【0023】
本発明は、更に、前記トップシートは不織材料層を有する、使い捨て吸収物品を提供する。
【0024】
本発明は、更に、前記液体取り扱い構造は、裏地及び繊維シートを含み、前記繊維シートは、間隔が隔てられた結合位置で前記裏地に固定部分を有し、前記シートの円弧状部分が結合位置間で前記裏地から突出している、使い捨て吸収物品を提供する。
【0025】
本明細書は、本発明を指摘し且つ明瞭に特許請求する特許請求の範囲で締めくくられるけれども、本発明は、同様の構成要素に同じ参照番号を附した添付図面を参照して以下の説明を読むことによって、更によく理解されるであろう。
【0026】
【発明の実施の形態】
本発明の吸収物品を様々な実施形態によって及び様々な特徴によって以下に説明する。一つの実施形態の特徴を本明細書中に開示した別の実施形態の特徴と及び/又は本明細書中に開示した他の特徴と組み合わせることによって、本発明のこの他の実施形態を得ることができる。これらの他の実施形態は、本明細書中に暗黙に開示されているものと考えられ、及び従って本発明の部分を形成する。特定の特徴を組み合わせることによって本発明の部分を形成しない非機能的物品がもたらされる場合があるということは当業者には明らかであろう。
【0027】
5.1 吸収物品
本明細書中で使用されているように、「吸収物品」という用語は、身体の滲出物を吸収して収容する装置に関し、更に詳細には、身体から排出された様々な滲出物を吸収し且つ収容するために身体に当てて又は身体の近くに配置した装置に関する。「使い捨て」という用語は、本明細書中では、洗濯又は他の方法で再生したり吸収物品として再使用するようになっていない(即ち一回使用した後に廃棄されるようになっており、好ましくはリサイクル、堆肥化、又は環境に影響を及ぼさない他の方法で処分されるようになっている)吸収物品を説明するために使用される。「一体の」吸収物品は、互いに合一して協調した全体を形成する別々の部品で形成されており、そのために別々のホルダ及びライナ等の別に取り扱われる部品を必要としない吸収物品に関する。本発明の吸収物品の好ましい実施形態は、一体の使い捨て吸収物品、即ち図1に示すおむつ20である。本明細書中で使用されているように、「おむつ」という用語は、一般に乳児や成人の失禁者が着用する吸収物品に関する。おむつは、着用者の下肢の周囲に着用される。本発明は、失禁者用ブリーフ、失禁者用下着、吸収体挿入体、おむつホルダ及びライナ、女性用衛生衣料、等の他の吸収物品にも適用できる。
【0028】
5.2 おむつ
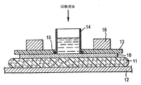
図1は、おむつ20の構造を更に明瞭に示すために構造の幾つかの部分を切り開いて示す、平らに拡げた状態の本発明のおむつ20の平面図である。着用者に向いたおむつ20の部分が図面を見る人に向かって配向されている。図1に示すように、おむつ20は、好ましくは、液体透過性トップシート24、液体不透過性バックシート26、好ましくはトップシート24の一部とバックシート26との間に位置決めされた液体貯蔵構造28、トップシート24と液体貯蔵構造28との間に位置決めされた液体取り扱い構造29、サイドパネル30、弾性脚カフ32、弾性胴部装置34、及び全体に参照番号40を附したファスニングシステムを含む。
【0029】
おむつ20は、前胴部領域36、この前胴部領域36とは反対側の後胴部領域38、及び前胴部領域と後胴部領域との間に配置された股部領域37を持つように図1に示してある。おむつ20は、おむつ20の着用時に着用者の前側と並置される第1領域81、及びこの第1領域81とは反対側にあり、おむつ20の着用時に着用者の後側と並置される第2領域82を含む。おむつ20の周囲はおむつ20の外縁部によって画成されており、長さ方向縁部50がおむつ20の長さ方向中心線100とほぼ平行に延び、端縁部52が、おむつ20の横方向中心線110とほぼ平行に長さ方向縁部50間を延びる。図1では、第1領域81は、一方の端縁部52から横方向中心線110まで延びるように示してあり、第2領域82は反対側の端縁部52から横方向中心線110まで延びるように示してある。議論の目的のため、横方向中心線110は、図1において、第1領域81と第2領域82との間の境界として示してある。しかしながら、第1領域81と第2領域82との間の境界は、他の位置に位置決めしてもよく、例えば夫々の端縁部52の一方に近付けてもよい。着用者の前側と並置される第1領域81は、尿の取り扱いにおいて優れていなければならない。着用者の後側と並置される第2領域82は、糞便、特に低粘度の糞便の取り扱いにおいて優れていなければならない。
【0030】
おむつ20のシャシー22は、おむつ20の主本体を構成する。シャシー22は、液体貯蔵構造28の少なくとも一部を含み、好ましくはトップシート24及びバックシート26を含む外カバー層を含む。吸収物品が別体のホルダ及びライナを含む場合には、シャシー22は、全体として、ホルダ及びライナを含む。(例えば、ホルダは、物品の外カバーを形成する材料でできた一つ又はそれよりも多くの層を含み、ライナは、トップシート、バックシート、及び液体貯蔵構造を含む吸収体アッセンブリを含む。このような場合には、ホルダ及び/又はライナは、ライナを使用時間に亘って所定の場所に保持するのに使用されるファスニングエレメントを含む。)一体の吸収物品については、シャシー22は、他の特徴が追加されて複合おむつ構造を形成するおむつの主構造を含む。
【0031】
図1は、トップシート24及びバックシート26の長さ寸法及び幅寸法が液体貯蔵構造28及び液体取り扱い構造29よりも概して大きいおむつ20の実施形態を示す。トップシート24及びバックシート26は、液体貯蔵構造28の縁部を越えて延びており、これによっておむつ20の周囲を形成する。
【0032】
トップシート24、バックシート26及びシャシー22は、様々な既知の形体で組み立てることができるが、好ましいおむつ形体は、1975年1月14日にケネスB.ブエルに付与された「使い捨ておむつ用収縮性サイド部分」という標題の米国特許第3,860,003号、1992年9月9日にブエルに付与された米国特許第5,151,092号、及び1993年6月22日にブエルに付与された米国特許第5,221,274号に記載されている。他の適当なおむつシャシー設計は、1996年10月29日にロウ等に付与された「多ゾーン構造弾性様フィルムウェブ伸長性弾性胴部装置を持つ吸収物品」という標題の米国特許第5,569,232号、1996年9月10日にロウ等に付与された「多ゾーン構造弾性様フィルムウェブ伸長性弾性胴部装置を持つ吸収物品」という標題の米国特許第5,554,144号、1996年9月10日にロウ等に付与された「多ゾーン構造弾性様フィルムウェブ伸長性弾性胴部装置を持つ吸収物品」という標題の米国特許第5,554,143号、1996年9月10日にロウ等に付与された「多ゾーン構造弾性様フィルムウェブ伸長性弾性胴部装置を持つ吸収物品」という標題の米国特許第5,554,145号、及び1996年9月17日にロウ等に付与された「多ゾーン構造弾性様フィルムウェブ伸長性弾性胴部装置を持つ吸収物品」という標題の米国特許第5,556,394号に開示されている。これらの特許に触れたことにより、これらの特許に開示されている内容は本明細書中に組入れたものとする。
【0033】
おむつ20の内面は、使用中に着用者の身体と隣接するおむつ20の部分を構成する(即ち、内面は、全体として、トップシート24の少なくとも一部及びトップシート24に接合された他の構成要素によって形成される)。外面は、使用中に着用者の身体から遠ざけて位置決めされたおむつ20の部分を構成する(即ち、外面は、全体として、バックシート26の少なくとも一部及びバックシート26に接合された他の構成要素によって形成される)。
【0034】
5.3 水性液体取り扱い性
水性の液体に対する液体取り扱い性は、本発明の重要な特徴である。「水性の液体」という用語は、本明細書中で使用されているように、尿、糞便、月経分泌物、血液、汗、等の体液を含むがこれらに限定されない。
【0035】
5.3.1 液体流路
本発明を更に説明するため、液体が最初に物品に当たる「ローディング点」から「最終貯蔵領域」まで、即ち着用者に及ぼす影響を最小にして流体を貯蔵するようになった物品の領域まで吸収物品を通る流体流路を以下に説明する。最新のおむつ設計は、多くの場合、いわゆる超吸収体を使用するが、流体結合手段を含む他の構造もまた本発明の範疇に含まれる。
流体が最初に物品と接触するとき、即ちいわゆる「捕捉段階」のとき、流体を物品の小孔/開口部にできるだけ迅速に浸透させるのが望ましい。これは大きな開口部及び/又は材料の親水性表面によって高められる。
吸収構造での次の流体取り扱い段階、即ちいわゆる「貯蔵段階」は、最終的貯蔵のため、多かれ少なかれ遠隔の位置まで流体を移送することに関する。
【0036】
5.3.2 液体流れ機構
概括的に述べると、液体の移送は、二つの機構によって行うことができる。
(1)重力が駆動力である「自由流れ」。この種の流れは、大きな開孔及び低い表面エネルギー、即ち親水性表面によって高められる。しかしながら、この流れは、定義すると、単に重力方向であり、これは、場合によっては有用であるが、更に多くの場合では、例えば着用者の姿勢等の様々な使用状況に適合するためには強い制限である。
(2)毛管力により支配される「毛管流れ」。この流れ機構は、重力により支配される流れに打ち勝つことができる。毛管流を説明するのに使用される等式の一つは、以下のラプラス方程式である。
【数1】
ここで、PC は毛管圧力であり、γは液体の表面張力であり、θは液体と毛管表面との間の接触角度であり、Rは毛管の直径である。
【0037】
毛管流をもたらす駆動力である毛管圧力を高めるため、
・毛管の表面エネルギーと液体の表面張力との間の差を最大にすることによって接触角度を小さくすること、
・細い毛管を提供すること、
・移送されるべき液体の表面張力を高めること、又は換言すると液体の表面張力が低下しないようにすること、
が必要とされるということがこの方程式から容易にわかる。
しかしながら、夫々の文献に更に詳細に説明された吸収物品を設計する場合にも制限が存在する。
【0038】
5.3.3 親水性
本発明の使い捨て吸収物品は、物品の流体取り扱い性を最適にするため、様々な親水性の材料を含む。
親水性を表現する一つの方法は、接触角度を計測する方法である。ここで、この角度は、ガス(一般的には空気)環境中の中実材料の表面に液滴が形成された場合に形成される角度である。材料が疎水性であればある程、接触角度が大きくなり、極端な場合には、流体は、表面上にほぼ球形の液滴を形成する。材料が親水性であればある程、流体は更に大きく拡がり、極端な場合には、表面を薄膜をなしてほぼ覆う。
【0039】
多くの場合、接触角度が小さい材料を親水性と呼び、接触角度が大きい材料を疎水性と呼ぶ。しかしながら、本発明の正確な範囲について、接触角度を正確に決定することは重要ではなく、むしろ、特定の計測技術での差がこの方法の正確さよりも大きいように、特定の材料が未処理の材料よりも親水性が大きいように処理してあるかどうかである。
【0040】
湿潤性である、又は親水性であるといったこの必要条件を容易に満たす流体取り扱いエレメントを形成するのに適した多くの材料が存在する。詳細には、セルロースをベースとした繊維質材料又はセルローススポンジ等の自然由来材料は自然の親水性を備えている。即ち、このような材料は、表面にあるそれらの化学組成である水酸基又は他の活性部位により、水性流体によって容易に湿潤されることができるように比表面エネルギーをもたらす。
【0041】
しかしながら、水酸基又は他の極部位を表面上に僅かしか備えていないために比較的疎水性である別の材料群がある。最も既知の例示の材料は、ポリエチレン又はポリプロピレン等のオレフィンポリマーでできているが、このような材料を含む異相構造もまた含まれる。従来の接着剤−特に「ホットメルト型」接着剤−は、一般的には、構造ポリマー、粘着付与剤、樹脂、等の多くの様々な構成要素を含み、これらの多くもまた疎水性である。
【0042】
このような材料は疎水性であるにも拘わらず、手に入り易い、加工が容易である、使用後に廃棄する上で都合がよいといった他の理由のため、使い捨て吸収物品で使用する上で魅力的である。
【0043】
かくして、当該技術分野では、一般的には、このような人工の疎水性ポリマーを親水化剤即ち「界面活性剤」によって処理することによって疎水性に対処する。このような薬剤は、繊維材料、ウェブ材料、又はフィルム材料の表面に適用できる。例えば、欧州特許第A−0.340.763号(ハンセン)に記載されているように、界面活性剤は、樹脂に比較的低い含有率で組み込むこともできる。(本質的に疎水性)のベース樹脂(例えばポリプロピレン)が約0.5%乃至3%(総重量に基づく百分率)の親水化剤を含むように組み込むこともできる。これらの親水化剤は、樹脂に亘って均等に分配されているのがよく、又はこれらの濃度が表面に向かって高くなるように、場合によっては表面から遠い領域、例えば繊維のコアに検出可能な量で存在しないように分配されているのがよい。親水性にとって有効なのは、材料の表面にある親水化剤の部分だけである。
【0044】
本発明の吸収物品の液体取り扱い性は、高い親水性を示す材料を流路に沿って設けることによって支持できる。このような親水性勾配は、接触角度の減少により毛管圧力を増大することによって、一つの材料から次の材料までの液体の輸送を促す。
【0045】
液体流路内の第一材料、即ちローディング点を構成する材料は、吸収物品のトップシート24である。この材料は、物品の使用中に着用者の皮膚と接触する材料でもある。後者の理由により、トップシートは、使用中にできるだけ乾燥しているのが望ましい。トップシートの乾燥性は、基本的には、二つのファクタ、即ちトップシート内の液体保持性、及び流体が液体流路に沿って逆方向に戻ることによって管理される。疎水性トップシートの展開は、これらのファクタの両方に関してその乾燥性を改善する。疎水性であることによりトップシートの毛管吸引力が低下した場合には、トップシートの小孔内に保持できる液体の量が少なくなり、下層からの液体再湿潤が抑えられる。
【0046】
液体捕捉の観点から見ると、トップシートの疎水性は明らかに有害である。しかしながら、本発明のトップシートに孔、即ち巨視的小孔が設けられている場合には、表面疎水性の特徴を吸収物品の全体としての液体捕捉必要条件と組み合わせることができる。
【0047】
トップシートの真下に配置された本発明の液体取り扱い構造は、トップシートの孔を通した液体の捕捉を補助するため、少なくとも部分的に親水性である必要がある。次に生じる迸りに対する液体の捕捉を促すため、本発明の液体取り扱い構造は、使用中に実質的に更に疎水性にならないのが望ましい。
【0048】
本発明の液体貯蔵構造は、更に、親水性である必要があり、液体を液体取り扱い構造から液体貯蔵構造内に移送するため、及び液体を液体貯蔵構造内に保持するため、好ましくは液体取り扱い構造よりも親水性が高い。
【0049】
5.3.4. 孔径
液体流路に沿って液体を移送するため、流路に沿った孔径を小さくした様々な材料を提供するのが望ましい。孔径が小さい材料は、孔径が大きい材料よりも毛管圧力が高い。かくして、更に小さな孔が設けられた材料は、液体を孔径が大きい材料から能動的に捕捉することができる。換言すると、これらの材料は、他の材料を脱水できる。
従って、本発明の吸収物品は、好ましくは、流路に沿った液体の移送を促すため、孔径が減少する様々な材料を液体流路に沿って含む。
【0050】
上述のように、本発明のトップシートは、トップシートの疎水性に拘わらず液体を通過させることができるように孔が設けられていることを必要とする。本発明の液体取り扱い構造は、好ましくは、月経や糞便等の中程度乃至高程度の粘度の液体を含む体液を迅速に捕捉できるようにするために大きな孔を有する。液体貯蔵構造は、体液の水性成分を液体貯蔵構造に移送して貯蔵するための毛管吸引力を提供するため、好ましくは小さな孔を有する。
【0051】
5.3.5 液体の表面張力
流体及び湿潤材料の表面張力及び表面エネルギーが液体移送特性に及ぼす効果は、例えばシャタジーの「吸収性」(エルゼビア、アミステルダム1985年)に広範に論じられている。
しかしながら、本発明者は、続いて起こる湿潤サイクルに亘って特性を維持する目的を含む、流体による材料の湿潤を観察することが重要であるばかりでなく、排出された流体の特性を観察すること、及び吸収構造用の材料の選択及びこれらの材料の吸収構造での配置の改良を最適にするためにこの発見を活用することが重要であるということに気付いた。
上掲のラプラス方程式から、捕捉されるべき液体の表面張力の減少は、様々な材料の毛管圧力及び液体取り扱い性にとって有害であるということがわかる。
【0052】
従って、吸収物品の親水化した様々な材料を液体が通過する際に吸収物品が液体の高い表面張力を維持することが、本発明の随意の特徴である。換言すると、親水性を高めるために界面活性剤で処理した吸収物品のエレメントは、それらの界面活性剤を流体中に失わないか或いは僅かしか失わないということが本発明の随意のエレメントである。
【0053】
一般的に使用されているノニルフェノールエトキシレート(NPE)等の従来の薬剤は容易に除去され得るのに対し、本発明の教示による材料は、通過する液体の表面張力を本質的には減少しない。このことは、流体流路、トップシート、液体取り扱い構造、及び液体貯蔵構造に沿った全ての機能的エレメントに当てはまる。
【0054】
従来の界面活性剤技術の範囲内で、界面活性剤を洗い落とそうとする水性流体と接触した後でも表面の親水性を維持することに大きな労力が払われてきた。これは、(疎水性)ポリマーと界面活性剤(例えば欧州特許第0.598.204号(ガラヴァグリア)又はWO95/10648(エヴァーハート)に記載された界面活性剤)との間の結合を更に強くすることによって、又は表面から洗い落とされた界面活性剤を、ポリマーのコアから、拡散機構によって置換することによって行うことができる。
【0055】
更に、材料、後の毛管移動性を最大にするようにいわゆる「掃去剤」を吸収構造に加えることによって浸透流体の表面張力を高めることが本発明の随意のエレメントである。流体の表面張力を高めるための技術は、洗剤の技術分野等の様々な技術分野で利用できる。本質的には、これを行うために二つの方法がある。第1の方法は、溶液に電解質を加えることである。本発明でこれを行う場合には、この後に行われる流体取り扱い工程のため、汚染物が入らないように注意を払わなければならない。例えば、特にCa++等の二価の金属イオンは、超吸収体の吸収性に有害な作用を及ぼす。表面張力を高めるための第2の方法は、活性炭やゼオライト等の高表面積の物質を吸収物品に加えることである。このような物質は、表面に界面活性剤を吸着することによって界面活性剤の移動性を制限する。このように移動性が制限された界面活性剤は、もはや液体の表面に移動できず、これによって液体の表面張力を減少する。
【0056】
5.3.6 液体捕捉
本明細書中で使用する「液体捕捉」という用語は、本発明のトップシートの上に置かれた液体がトップシートの表面から吸収物品内に吸収される速度に関する。
本発明の吸収物品の液体捕捉性は、以下に説明する完成製品捕捉試験によって評価される。
本発明の吸収物品の液体捕捉速度は、最初の迸りで少なくとも3.75ml/sであり、好ましくは最初の迸りで少なくとも4ml/sであり、更に好ましくは最初の迸りで少なくとも4.5ml/sであり、最も好ましくは最初の迸りで少なくとも5ml/sである。更に、本発明の吸収物品の液体捕捉速度は、4回目の迸りで少なくとも0.5ml/sであり、好ましくは4回目の迸りで少なくとも0.6ml/sであり、更に好ましくは4回目の迸りで少なくとも0.8ml/sであり、最も好ましくは4回目の迸りで少なくとも1.0ml/sである。
【0057】
5.3.7 液体再湿潤
本明細書中で使用する「液体再湿潤」という用語は、捕捉後にこの捕捉された液体を含んだ吸収物品のトップシートを通して圧力で絞り出される既に捕捉された液体に関する。
本発明の吸収物品の液体再湿潤性は、以下に説明するコラーゲン再湿潤試験によって評価され、皮膚水和値によって定量される。
本発明の吸収物品の前領域の皮膚水和値は、120mgより小さく、好ましくは90mgより小さく、更に好ましくは70mgより小さく、最も好ましくは50mgより小さい。
随意であるが、後領域の皮膚水和値は、120mgより小さいのがよく、好ましくは90mgより小さいのがよく、更に好ましくは70mgより小さいのがよく、最も好ましくは50mgより小さいのがよい。
【0058】
5.3.8 トップシート湿潤性
本発明の吸収物品の使用者に面する表面の乾いた感触を支持するため、本発明の吸収物品のトップシート湿潤性は、以下に開示するトップシート完成製品乾燥性によれば、好ましくは、300mgより小さく、更に好ましくは200mgより小さく、更にもっと好ましくは100mgより小さく、更にもっと好ましくは80mgより小さく、最も好ましくは50mgより小さい。
【0059】
5.4 高粘度液体の取り扱い
更に、本発明の吸収物品は、好ましくは、高粘度液体の取り扱いを提供し、詳細には、粘性流体身体排泄物の液体取り扱いを提供する。
【0060】
本明細書中で使用されているように、「粘性流体身体排泄物(viscous fluid bodily waste)」即ち「VFBW」という用語は、一般的には、制御応力流動計の平行なプレートを使用する制御応力流動度測定試験で、1/秒の剪断速度での粘度が約10cPよりも大きく且つ約2×105 cPよりも小さく(約35℃)、更に詳細には約103 cP乃至105 cPの、身体から排泄された任意の排泄物に関する。(参照のため、水は20℃で1.0cPであり、ジフクリーミー・ピーナッツバター(オハイオ州シンシナチのプロクターアンドギャンブル社から入手できる)は、この同じ剪断速度で、25℃で約4×105 cPである。)本発明で使用した、粘度を決定するための方法は、以下の試験方法の章に詳細に記載してある。
【0061】
粘性流体身体排泄物がひとたび液体取り扱い構造に侵入した後、排泄物を貯蔵し、即ち残りの着用サイクル中に着用者から遠ざけた状態で保持し、及び交換プロセス中に介護従事者から遠ざけるのが望ましい。本明細書中で使用されているように、「貯蔵」という用語は、おむつに出されたものが着用者の皮膚と直ちには接触しないか或いはこれにアクセスできないように、おむつに出されたものを物品の身体に面する表面から物理的に分離することに関する。圧力下貯蔵、即ち「貯蔵」は、以下の試験方法の章に詳細に記載してあるように、構造の単位面積当りに保持されたものの量として計測される。圧力下貯蔵力が低過ぎる場合には、皮膚と接触しないように離して貯蔵できる粘性流体身体排泄物の、構造の単位面積当りの絶対量が減少する。適当な貯蔵力は、漏れが生じる可能性及び粘性流体身体排泄物によって汚される皮膚の面積を減少する上で重要である。これは、貯蔵された粘性流体身体排泄物が構造の身体に面する表面に現れて漏れたり物品内で移動することが少ないためである。
【0062】
本発明の好ましい実施形態では、吸収物品は、圧力下貯蔵力の値が、1m2 の液体取り扱い構造当りの粘性流体身体排泄物の貯蔵量が約800gよりも大きい液体取り扱い構造を含まなければならない。更に好ましくは、液体取り扱い構造の圧力下貯蔵力の値は、粘性流体身体排泄物に関し、約900g/m2 より大きい。更に好ましくは、液体取り扱い構造の圧力下貯蔵力の値は、粘性流体身体排泄物に関し、約1000g/m2 より大きくなければならず、最も好ましくは、粘性流体身体排泄物に関し、約1100g/m2 より大きい。一般的には、圧力下貯蔵力の値は、少なくとも約800g/m2 乃至約10000g/m2 であり、約1000g/m2 乃至約10000g/m2 であるのがよいということがわかっている。(圧力下貯蔵についてのこれらの好ましいパラメータは、一体化した物品に関し、好ましくはこれらの物品の所期の使用について評価される。従って、物品の全ての構成要素又は層は、それらの性能の計測を行う場合、通常の使用中にとる形体でなければならない。圧力下貯蔵性を決定するための更に詳細な説明は、以下の試験方法の章に含まれる。)
【0063】
吸収物品によって受け入れられるか或いは吸収物品を通過する粘性流体身体排泄物は、好ましくはおむつ内に着用者から遠ざけて保持される。身体排泄物、特に粘性流体身体排泄物を保持する一つの好ましい方法は、排泄物を着用者から遠ざけた位置で固定化することである。本明細書中で使用されているように、「固定化」という用語は、貯蔵された粘性流体身体排泄物を、圧力下で及び/又は重力の作用が加わった状態で保持する、材料又は構造の性能に関する。圧縮反転状態での固定化又は「固定化」は、排泄物の粘度を(例えば脱水によって)高めることによって、機械的閉じ込め(即ち、粘性流体身体排泄物と材料又は構造の内部領域との接触表面積を高めることにより生じる表面エネルギー現象)によって、又は当該技術分野で既知の任意の他の手段によって行うことができる。以下の試験方法の章に更に詳細に説明する「圧縮反転状態での固定化」は、以下に説明するように、反転圧力サイクルが構造に加えられた後に構造内に残る粘性流体身体排泄物又は等価物の割合に関して計測される。「圧縮反転状態での保持」又は「保持」は、大きな応力が加わる使用状態でどれ程多くの粘性流体身体排泄物が「貯蔵された」状態に保持されているのかの絶対的計測値である。
【0064】
好ましくは、液体取り扱い構造は、圧縮反転状態での保持の値が、構造に浸透した粘性流体身体排泄物の約7.5gより大きい。更に好ましくは、液体取り扱い構造は、圧縮反転状態での保持の値が、以下に説明する圧縮反転状態での保持試験を受けた後、粘性流体身体排泄物で、約8.0gより大きく、更に好ましくは約8.5gより大きい。一般的には、圧縮反転状態での保持の値は、少なくとも約7.5g乃至約100.0gであり、約8.0g乃至約100.0gが適当であるということがわかった。同じ状態で、液体取り扱い構造の圧縮反転状態での固定化の値は、液体取り扱い構造によって受け入れられた粘性流体身体排泄物の少なくとも70%である。更に好ましくは、液体取り扱い構造の圧縮反転状態での固定化の値は、少なくとも約80%であり、最も好ましくはエレメント120によって受け入れられた粘性流体身体排泄物の少なくとも約85%である。一般的には圧縮反転状態での固定化の値は、少なくとも約70%乃至約100%であり、約80%乃至約100%が適当であるということがわかった。(これらの好ましい、圧縮反転状態での固定化及び保持のパラメータは、好ましくは所期の使用状態で評価される一体化した物品に関する。従って、物品の全ての構成要素又は層は、それらの性能の計測を行うときにそれらが通常の使用中の形体でなければならない。圧縮反転状態での固定化及び保持のパラメータを決定するための方法の更に詳細な説明は、以下の試験方法の章に含まれる。)
【0065】
適当な固定化及び保持性を備えていないと、改良された受容性及び貯蔵性の効果が低下する。これは、粘性流体身体排泄物が、構造の身体に面する表面に戻り、漏れや着用者の皮膚の汚れを引き起こす可能性を高くしてしまうためである。更に、固定化は、構造が排泄物を最初に受け入れてこれを貯蔵する場合に最も効果的である。着用者の皮膚から遠ざけて貯蔵される前に固定化した粘性流体身体排泄物は、皮膚と接触したトップシート上にとどまる。皮膚と接触した粘性流体身体排泄物を固定化することにより、介護従事者が交換/クリーニングプロセス中に必要な労力が増大し、微小レベルの残留汚染が起こる可能性が高くなる。「微小レベルの汚染」という用語は、皮膚に残るが裸眼では容易には見えない残留排泄物に関する。従って、所与の構造について粘性流体身体排泄物を効果的に管理するためのその使用を決定する場合に少なくとも三つのパラメータ(受容性、貯蔵性、及び固定化、又は受容性、貯蔵性、及び保持)を考慮するのがよい。
【0066】
幾つかの実施形態では、異なる部分で受容性が異なるおむつ20を提供するのが望ましい。これは、受容性が異なる領域を持つように製造された又は処理された単一のトップシートを提供することによって行うことができる。更に、滲出した粘性流体身体排泄物が更に良好に制御されるようにトップシートを物品の身体に面する表面の平面の上方に持ち上げることができる。幾つかの実施形態では、粘性流体身体排泄物源の近く(例えば、肛門周囲領域)でトップシートを着用者の皮膚と接触させるのが望ましい場合がある。
【0067】
以下に開示するトランストップシート容量試験で計測したトランストップシート容量は、低粘度糞便を取り扱う性能である。おむつ20の第1領域81及び第2領域82は、トランストップシート容量が相対的に高くなければならない。
【0068】
低粘度糞便を取り扱うのに必要な最小トランストップシート容量とこの最小容量を持つおむつ20の表面積との間には逆関係がある。おむつ20の表面積の大部分は、低粘度糞便を取り扱うのに十分なトランストップシート容量を持つため、必要なトランストップシート容量が減少する。
【0069】
いずれにせよ、おむつ20の第1領域81及び第2領域82のトランストップシート容量は、おむつ20の少なくとも0.02m2 の表面積がこのようなトランストップシート容量を持ち、好ましくはおむつ20の少なくとも0.03m2 がこのようなトランストップシート容量を持つ場合、好ましくは、6.45cm2 (1平方インチ)当り少なくとも約300gである。
【0070】
本発明によるおむつ20の第1領域81の少なくとも一部及び第2領域82の少なくとも一部が提供するトランストップシート容量は、好ましくは、1m2 当り少なくとも300gであり、更に好ましくは1m2 当り少なくとも400gであり、更にもっと好ましくは1m2 当り少なくとも500gであり、更にもっと好ましくは1m2 当り少なくとも600gであり、最も好ましくは1m2 当り少なくとも700gである。
【0071】
5.5 液体貯蔵構造
液体貯蔵構造28は、概して圧縮性で、形態に馴染み、着用者の皮膚を刺激せず、尿及び他の特定の身体の滲出物等の液体を吸収して保持できる任意の吸収体手段であるのがよい。図1に示すように、液体貯蔵構造28は、衣料対向面、身体対向面、側縁部、及び胴縁部を有する。液体貯蔵構造28は、様々な大きさ及び形状(例えば矩形、砂時計形状、T字形状、非対称形状等)で製造でき、使い捨ておむつ及び他の吸収物品で一般的に使用されている一般にエアーフェルトと呼ばれる微粉砕した木材パルプ等の様々な液体吸収性材料から製造できる。他の適当な吸収材料の例には、クレープト・セルロースワッディング、コフォームを含む溶融吹き出しポリマー、化学的に補剛した改質した又は架橋したセルロース繊維、薄葉紙ラップ及び薄葉紙積層体を含む薄葉紙、吸収体フォーム、吸収体スポンジ、超吸収体ポリマー、吸収体ゲル化剤、又は任意の等価の材料又はこれらの材料の組み合わせが含まれる。
【0072】
液体貯蔵構造28の形体及び構造もまた変化させることができる(例えば、液体貯蔵構造28は、様々なキャリパのゾーン、親水性勾配、孔径勾配、超吸収体勾配、又は低平均密度で低平均坪量の捕捉ゾーンを備えていてもよく、又は一つ又はそれよりも多くの層又は構造を含むのがよい)。しかしながら、液体貯蔵構造28の全吸収面積は、おむつ20の設計負荷及び所期の使用に適合しなければならない。更に、液体貯蔵構造28の大きさ及び吸収領域は、乳児から成人の範囲の着用者に合わせて変化させるのがよい。
【0073】
液体貯蔵構造28として使用するための例示の吸収構造は、1986年9月9日にワイズマン等に付与された「高密度吸収構造」という標題の米国特許第4,610,678号、1987年6月16日にワイズマン等に付与された「二層コアを持つ吸収物品」という標題の米国特許第4,673,402号、1989年12月19日にアンスタットに付与された「ダスティング層を持つ吸収体コア」という標題の米国特許第4,888,231号、及び1989年5月30日にアルマニー等に付与された「低密度で低坪量の捕捉ゾーンを持つ高密度吸収部材」という標題の米国特許第4,834,735号に記載されている。
【0074】
5.5.2 ラップシート
本発明の液体貯蔵構造は、更に、少なくとも一つのラップシートを含む。このラップシートは、液体受け入れ領域から液体貯蔵構造までの流路がウェブを通過するように、吸収構造の表面の少なくとも一部で吸収構造を覆う。かくして、「ラッピング」という用語の意味は、完全に包囲するか或いは包むことだけを意味すると解してはならない。このような実施形態の一例は、液体貯蔵構造の上面を覆うラップシートであり、その場合、ラップシートは、側面をラップシートで覆うことができるが必ずしもラップシートによって覆われている必要がないように、コアと隣接して付着される。
【0075】
好ましい実施形態では、ラップシートは、液体貯蔵構造の他の表面もまた覆い、一つの好ましい実施形態では、液体貯蔵構造が完全に包まれるように6つの表面全てを覆う。別の好ましく且つ製造が更に容易な実施形態は、上面並びに二つの側面を、これらの周囲に折畳むことによって覆い、下面を部分的に又は完全に覆う。
【0076】
一つよりも多くのラップシートによって、又はその性質が領域によって異なる一つのラップシートによって吸収物品を包むことができる。例えば、流体流路にない吸収部材の表面部分は、流体親水性を全く持たず、即ち限定的な流路親水性しか備えていない。即ち、異なるラップ材料をこのような領域で使用でき、又は吸収部材材料を従来の薄葉紙材料によって包むことができるが、バックシート材料等の他の機能を同時に持つことができる不透過性シート等の他のエレメントによっても包むことができる。
【0077】
勿論、流体流路及び詳細には毛管移送勾配が中断しないように吸収構造及びラップシートが互いに流体連通していることが重要な必要条件である。これの好ましい実施形態は、ラップシート及び吸収構造の少なくとも表面が上文中に説明したように互いに直接接触した設計である。
【0078】
薄葉紙層、不織布、等から適当なラップシートを製造することが当該技術分野で一般的に既知である。本発明のラップシートについて使用されるべき好ましい不織材料は、例えば欧州特許出願第98107288.7号(ファッチ)に開示されている。これらの親水性材料は、捕捉された液体への界面活性剤の放出量が低く、及び従って、本発明の吸収物品の液体取り扱い性に悪影響を及ぼさない。本発明の吸収物品の液体取り扱い性に悪影響を及ぼさないようにするため、適当なラップシートは、表面張力減少値が、下文に定義する表面張力減少試験によれば、15mN/mより小さく、好ましくは12mN/mより小さく、更に好ましくは9mN/mより小さく、更にもっと好ましくは6mN/mより小さく、最も好ましくは3mN/mより小さい。
【0079】
5.6 バックシート
バックシート26は、液体貯蔵構造28の衣料対向面と隣接して位置決めされ、好ましくは、当該技術分野で既知のように、取り付け手段(図示せず)によって衣料対向面に接合される。本明細書中で使用されているように、「接合された」という用語は、一つのエレメントを他のエレメントに取り付けることによって一つのエレメントを他のエレメントに直接的に固定した形体、及びエレメントを中間部材に取り付け、この部材を他のエレメントに取り付けることによってエレメントを他のエレメントに間接的に固定した形体を含む。
【0080】
例えば、バックシート26は、均等な連続した接着剤層によって、パターンをなした接着剤層によって、又は接着剤の別々の線、螺旋、又は点からなるアレイによって液体貯蔵構造28に固定できる。満足がいくことがわかっている接着剤は、ミネソタ州セントポールのH.B.フューラー社が製造し、HL−1258として販売している接着剤である。取り付け手段は、好ましくは、1986年5月4日にミネトラ等に付与された「使い捨て排泄物包含衣料」という標題の米国特許第4,573,986号に開示されているように、接着剤のフィラメントからなる開放パターンネットワークでできており、更に好ましくは、1975年10月7日にスプラーグ・ジュニアに付与された米国特許第3,911,173号、1978年11月22日にジッカー等に付与された米国特許第4,785,966号、及び1989年6月27日にウェレニックに付与された米国特許第4,842,666号に示された装置及び方法によって例示されているように、接着剤フィラメントの幾つかの線を渦状にして螺旋パターンにする。これらの特許に触れたことにより、これらの特許に開示されている内容は本明細書中に組入れたものとする。別の態様では、取り付け手段は、熱結合、圧力結合、超音波結合、動的機械的結合、又は任意の他の適当な取り付け手段、又はこれらの取り付け手段の当該技術分野で既知の組み合わせを含んでもよい。
【0081】
バックシート26は、液体(例えば尿)に対して不透過性であり、好ましくは薄いプラスチックフィルムから製造されるが、可撓性で液体不透過性の他の材料を使用してもよい。本明細書中で使用されているように、「可撓性」という用語は、柔軟であり且つ人体の全体形状及び輪郭に容易に馴染む材料に関する。
【0082】
バックシート26は、液体貯蔵構造28に吸収されて包含された滲出物が、おむつ20と接触するベッドシーツや下着等の物品を濡らすことがないようにする。かくして、バックシート26は、織製材料又は不織材料、ポリエチレンやポリプロピレン製の熱可塑性フィルム等のポリマーフィルム、又はフィルムでコーティングした不織材料等の複合材料を含む。好ましくは、バックシート26は、厚さが約0.012mm(0.5ミル)乃至約0.051mm(2.0ミル)の熱可塑性フィルムである。バックシート26についての特に好ましい材料には、インディアナ州テルホイテのトレッデガー産業社が製造しているRR8220吹き出しフィルム及びRR5475流延フィルムが含まれる。更に布に近い外観を与えるため、エンボス加工及び/又は艶消し仕上げをバックシート26に施す。更に、バックシート26は、滲出物がバックシート26を通過しないようにしながら、蒸気を液体貯蔵構造28から逃がすことができる(即ち通気性がある)のがよい。
【0083】
5.7 トップシート
本発明のトップシート24は、第1面、即ち使い捨ておむつの内部に向かって、詳細には液体貯蔵構造28に向かって差し向けられた内面、及び反対側の第2面、即ちおむつの着用時に着用者の皮膚に向かって差し向けられる外面を有する。
【0084】
トップシート24は、液体貯蔵構造28の身体対向面と並置されているが、必ずしもこれと隣接していなくてもよく、好ましくは、当該技術分野で既知の手段によってバックシート26又は液体貯蔵構造28に接合されている。本発明の好ましい実施形態では、トップシート24及びバックシート26は、おむつの周囲で互いに直接的に接合される。
【0085】
トップシート24は、柔軟であり、軟らかな触感を持ち、着用者の皮膚を刺激しない。更に、トップシート24は、液体透過性であり、その厚さを通して液体(例えば尿)を容易に浸透させることができる。適当なトップシート24は、多孔質フォーム、網状フォーム、有孔プラスチックフィルム、又は天然繊維(例えば木材繊維又は綿繊維)、合成繊維(例えばポリエステル繊維やポリプロピレン繊維)又は天然繊維と合成繊維の混紡でできた織製ウェブ又は不織ウェブ等の様々な材料から製造できる。好ましくは、トップシート24は、液体貯蔵構造28に含まれる液体から着用者の皮膚を隔離するため、疎水性材料で作られている。
【0086】
5.7.1 概括的特性
5.7.1.1 機能的特性
本発明のトップシートは、トップシートでの液体の保持を最小にするため、及び液体取り扱い構造又は液体貯蔵構造から着用者の皮膚へ戻る液体再湿潤を最小にするため、疎水性である。
随意であるが、本発明のトップシートは、トップシートでの液体の保持を最小にするため、及び液体取り扱い構造又は液体貯蔵構造から着用者の皮膚へ戻る液体再湿潤を最小にするため、疎油性でもあるのがよい。
【0087】
本発明のトップシートは、以下に定義する液体保持試験によるトップシートの液体保持が、表面張力が約62mN/mの試験液体について、50mgより小さく、好ましくは40mgより小さく、更に好ましくは30mgより小さく、最も好ましくは20mgより小さい。
【0088】
本発明のトップシートは、以下に定義する液体保持試験によるトップシートの液体保持が、表面張力が約33mN/mの試験液体について、150mgより小さく、好ましくは120mgより小さく、更に好ましくは90mgより小さく、最も好ましくは70mgより小さい。
【0089】
本発明のトップシートの身体対向側の、表面張力が少なくとも72mN/mの蒸留水についての接触角度は、少なくとも90°、好ましくは少なくとも100°、更に好ましくは少なくとも110°、更にもっと好ましくは少なくとも120°、最も好ましくは125°より大きい。大きな接触角度は、トップシートの小孔の毛管吸引力を低下する。90°よりも大きい接触角度は、毛管吸引力をマイナスにし、従って、夫々の小孔を撥水性にする。
【0090】
5.7.1.2 構造特性
トップシート24は、好ましくは、孔の有効サイズが少なくとも0.2mm2 の複数の孔を有し、更に好ましくは、孔の有効サイズが少なくとも0.5mm2 の複数の孔を有し、更にもっと好ましくは、孔の有効サイズが少なくとも1.0mm2 の複数の孔を有し、最も好ましくは、孔の有効サイズが少なくとも2.0mm2 の複数の孔を有する。有効孔は、以下に説明する画像捕捉パラメータでの0−255の標準グレイレベルスケールでグレイレベルが10又はそれよりも小さい孔である。
トップシート24の有効開放面積は、好ましくは、少なくとも15%、更に好ましくは少なくとも20%、更にもっと好ましくは少なくとも25%、最も好ましくは少なくとも30%である。
孔の有効サイズ及び有効開放面積を決定するための方法は、方法の章に説明する。
【0091】
5.7.2 製造技術
トップシートとして使用するための適当な材料及び構造には、有孔不織ウェブ、有孔フィルム、有孔形成フィルム、スクリム、織製ウェブ、スクリム、ネット、巨視的な孔が設けられた薄いフォーム、上述材料の複合材料、等が含まれる。トップシート24の製造には、多くの製造技術を使用できる。例えば、トップシート24は、スパンボンデッド繊維、カーデッド繊維、湿式堆積繊維、溶融吹き出し繊維、ヒドロエンタングルド繊維、これらの組み合わせ繊維又は複合積層繊維、等でできた不織ウェブであるのがよい。好ましいトップシート24は、ワイヤフォーミングスクリーン上でヒドロエンタングルド加工し且つ不織布の技術分野の当業者に既知の手段で熱によってエアスルー結合したカーデッド/カーデッド複合材料、及び繊維質ウェブのヒドロエンタングルメントを含む。
【0092】
5.7.3 表面処理
本発明の吸収物品のトップシート24は、トップシートの表面エネルギーを少なくとも40mN/mまで、好ましくは少なくとも45mN/mまで、更に好ましくは50mN/mまで、最も好ましくは少なくとも60mN/mまで高めるため、表面仕上げが施してあるのがよい。適当な界面活性剤及び適当な製造技術が当該技術分野で既知である。
更に、本発明のトップシート24は、トップシートの表面の少なくとも一部の表面自由エネルギーを減少し、及び従って表面のこの部分を更に疎水性にし、最終的には疎油性にする表面仕上げを備えているのがよい。
【0093】
構造は、トップシートの異なる領域に個々の液体取り扱い特性を提供するため、トップシートの主表面と平行な方向に疎水性勾配を備えているのがよい。トップシートは、更に、トップシートを通る液体の移送を高めるため、トップシートの主表面と垂直な方向に疎水性勾配を備えているのがよい。
【0094】
トップシート24の表面、詳細には使用中に着用者に面する表面の少なくとも一部は、薄いフルオロカーボンポリマーフィルム等の表面コーティングを備えているのがよい。このような表面コーティングを得るための適当な技術は、当該技術分野で既知であり、例えば欧州特許出願第98116895.8号、WO97/42356(グレアソン)、及びWO96/00548(オウエレット)に記載されている。別の適当な表面処理は、ミシガン州ミッドランドのダウ・コーニング社からSyl−Off7677として入手できるシリコーン剥離コーティングであり、これにSyl−Off7048として入手できる架橋剤を、夫々、100重量部対10重量部の比で加える。別の適当な表面処理は、ニューヨーク州ウォーターフォードのゼネラル・エレクトリック社のシリコーン生産部からUV9300及びUV9380C−D1の表示で商業的に入手できる二種類のシリコーンの夫々を100重量部対2.5重量部の比で混合した紫外線硬化性シリコーンのコーティングである。別の適当な処理には、デンマーク国ヴァーデのファイバヴィジョン社からT190及びT198の表示で入手できる繊維仕上げ、ドイツ国ボブリンゲンのシルアンドソイレヒャー社からシラストールFC1760の表示で入手できる繊維仕上げ、米国ミネソタ州セントポールの3M社から入手できるメルトイン添加剤が含まれる。他の適当な処理材料には、フルオロポリマー(例えばテフロン(登録商標)の商標で商業的に入手できるポリテトラフルオロエチレン(PTFE))やクロロフルオロポリマー等の弗素化材料が含まれるが、これらの材料に限定されない。表面エネルギー減少領域を提供する上で適当であることがわかった他の材料には、ペトロラタム、ラテックス、パラフィン、等が含まれる。
【0095】
本発明のトップシート24は、疎水性ポリマー及び疎油ポリマーを含むのがよい。このようなポリマーを製造するためのプロセス及びこのような材料から物品を製造するためのプロセスは当該技術分野で既知であり、例えば米国特許第3,870,767号(グリマウド)に記載されている。
随意であるが、本発明のトップシートは、欧州特許出願第98116895.8(ダゴスティーノ等、プロクターアンドギャンブル社の事件番号第CM1893FQ号)及び欧州特許出願第98116894.1号(ダゴスティーノ等、プロクターアンドギャンブル社の事件番号第CM1894FQ号)に記載されているように、中程度のプラズマグロー放電処理によって処理できる。
【0096】
5.7.4 スキンケア組成物
トップシートの外面は、20℃で半固形又は固形であり、着用者の皮膚に部分的に移行できる有効量のスキンケア組成物を含むのがよい。本発明の吸収物品の好ましい実施形態では、所期の使用中に使用者の皮膚に少なくとも部分的に移行できる吸収物品はスキンケア組成物を追加に含む。好ましくは、このような油分含有組成物を吸収物品の身体対向面に配置する。油分含有組成物は、マイクロカプセルに封入する等によって、所期の使用時にだけ放出されるように展開することもできる。
【0097】
本発明の吸収物品に適したスキンケア組成物は、例えば、WO96/16682(ロウ等)に記載されている。
好ましくは、本発明の吸収物品に適したスキンケア組成物は、室温で吸収物品内の位置に関して比較的固定化され且つ局所化され、体温で使用者に移行でき、極端な収納状態で完全には液体にならないような溶融プロファイルを有する。重要なことには、本発明のスキンケア組成物は、通常の接触、使用者の動き、及び/又は体温によって皮膚に容易に移行できる。
【0098】
本発明の吸収物品に適したスキンケア組成物は、20℃即ち室温で固形であり、更に多くの場合、半固形である。「半固形」という用語は、スキンケア組成物が疑似塑性流体又は塑性流体で代表的な流動学的形態を有するということを意味する。スキンケア組成物は、剪断が加えられていない場合には半固形の外観を持つが、剪断速度が上昇すると流動するようにつくることができる。これは、スキンケア組成物が主に固形組成物を含むけれども、幾つかの微量液体成分を更に含む。
【0099】
本発明の吸収物品に適したスキンケア組成物は、スキンケア組成物の移動を最小にするため、室温で少なくとも半固形である。更に、スキンケア組成物は、好ましくは、潜在的に「高応力の」収容状態よりも上の最終融点(100%液体)が45℃より大きい。
【0100】
詳細には、本発明の吸収物品に適したスキンケア組成物は、以下の溶融プロファイルを有する。
【表1】
【0101】
室温で固形又は半固形であることにより、これらのスキンケア組成物は、これらの組成物を適用した吸収物品の内部に流入したり移動したりする傾向を持たない。このことは、所望の治療上の利点又は保護コーティングの利点を提供するのに必要なスキンケア組成物の量が少ないということを意味する。
【0102】
本発明の吸収物品の身体対向面に適用する場合、本発明の吸収物品に適したスキンケア組成物は通常の接触、使用者の動き、及び/又は体温によって使用者の皮膚に移行できる。
【0103】
本発明の吸収物品の好ましい実施形態は、有効量のスキンケア組成物を含む。本明細書中で使用したように、「有効量のスキンケア組成物コーティング」という用語は、おむつのトップシートに適用した場合にその所期の保護、治療、又は美観を満たす上で効果的な、特定のスキンケア組成物の量に関する。勿論、スキンケア組成物コーティングの有効量は、使用される特定のスキンケア組成物に大きく左右される。
【0104】
本発明の吸収物品に適したスキンケア組成物は、(1)皮膚軟化剤、(2)皮膚軟化剤用の固定化剤、(3)随意の親水性界面活性剤、及び(4)他の随意の成分を含む。
【0105】
皮膚軟化剤、固定化剤、及び随意の成分を含む配合済のスキンケア組成物の粘度は、スキンケア組成物が吸収物品の内部にできるだけ流入しないように、できるだけ高くなければならない。残念なことに、粘度が高いとスキンケア組成物を加工上の問題点を生じずに付けるのが困難になる。従って、粘度が、スキンケア組成物が吸収物品の身体対向面上で局所的になった状態を保持するのに十分に高いけれども、加工上の問題点を生じる程は高くないようにバランスをとらなければならない。スキンケア組成物についての適当な粘度は、代表的には、60℃で計測した場合、約5cP乃至約200cPであるが、好ましくは約15cP乃至約100cPである。
【0106】
5.7.4.1 皮膚軟化剤
スキンケア組成物の重要な活性成分は、一つ又はそれよりも多くの皮膚軟化剤である。本明細書中で使用されているように、皮膚軟化剤は、皮膚を柔らかくし、滑らかにし、しなやかにし、コーティングし、潤滑にし、水分を提供し、又は清潔にする材料である。皮膚軟化剤は、代表的には、これらの目的のうちの幾つか、例えば皮膚を滑らかにし、水分を提供し、及び潤滑にするといった目的を達成する。本発明の吸収物品で使用するのに適当であるためには、これらの皮膚軟化剤は、室温で塑性であるか或いは流体稠度のいずれかである。この特定の皮膚軟化剤の稠度により、スキンケア組成物は軟らかなすべすべしたローションのような触感を提供する。
【0107】
本発明の吸収物品で有用な皮膚軟化剤は、石油をベースとした皮膚軟化剤、脂肪酸エステル型皮膚軟化剤、アルキルエトキシレート型皮膚軟化剤、脂肪酸エステルエトキシレート皮膚軟化剤、脂肪アルコール型皮膚軟化剤、ポリシロキサン型皮膚軟化剤、又はこれらの皮膚軟化剤の混合物である。石油をベースとした適当な皮膚軟化剤には、鎖長が16炭素原子乃至32炭素原子の炭化水素、又は炭化水素混合物が含まれる。石油をベースとしたこのような鎖長の炭化水素には、鉱油(「液体ペトロラタム」としても既知である)及びペトロラタム(「鉱蝋」、「ペトロラタムゼリー」、及び「ミネラルゼリー」としても既知である)が含まれる。鉱油は、鎖長が16炭素原子乃至20炭素原子の炭化水素からなる低粘度混合物に関する。ペトロラタムは、これよりも粘度が高い、鎖長が16炭素原子乃至32炭素原子の炭化水素の混合物に関する。ペトロラタム及び鉱油は、本発明のスキンケア組成物用の特に好ましい皮膚軟化剤である。
【0108】
5.7.4.2 皮膚軟化剤用固定化剤
固定化剤は、スキンケア組成物が付けられた吸収物品の表面上で皮膚軟化剤が主として局所的である状態を保持することによって、皮膚軟化剤が本発明の吸収物品内に移動する即ち流入する傾向に抗する作用をなす。
【0109】
本発明の吸収物品での使用に適した固定化剤は、C14−C22脂肪アルコール、C12−C22脂肪酸、及びエトキシ化の平均の程度が2乃至約30のC12−C22脂肪アルコールエトキシレート、及びこれらの混合物からなる群から選択された部材からなるのがよい。好ましい固定化剤は、C16−C18脂肪アルコールを含み、最も好ましくは、セチルアルコール、ステアリルアルコール、及びこれらの混合物からなる群から選択される。セチルアルコール及びステアリルアルコールの混合物が特に好ましい。他の好ましい固定剤には、C16−C18脂肪酸が含まれ、最も好ましくは、パルミチン酸、ステアリン酸及びこれらの混合物からなる群から選択される。パルミチン酸及びステアリン酸の混合物が特に好ましい。更に他の好ましい固定剤には、エトキシ化の平均の程度が約5乃至約20のC16−C18脂肪アルコールエトキシレートが含まれる。好ましくは、脂肪アルコール、脂肪酸、及び脂肪アルコールは線状である。
【0110】
5.7.4.3 随意の親水性界面活性剤
スキンケア組成物は、吸収物品の少なくとも第1構成要素に液体を迅速に浸透できるようにするのに十分に湿潤性であることもまた重要である。これにより、身体の滲出物が少なくとも第1構成要素に引き込まれないで、スキンケア組成物コーティングを流し落とすことが起こり難くする。本発明のスキンケア組成物で使用される特定の固定化剤によっては、湿潤性を改善するために追加の親水性界面活性剤(又は親水性界面活性剤の混合物)が必要とされる場合がある。
【0111】
5.7.4.4 他の随意の構成要素
油を基剤とした組成物は、皮膚軟化剤、クリーム、及びこの種のスキンケア組成物に代表的に存在する随意の他の成分を含むことができる。これらの随意の成分には、水、粘度改質剤、香料、消毒剤抗菌物質活性化剤、薬品活性化剤、フィルム形成剤、脱臭剤、乳白剤、収斂剤、溶剤、等が含まれる。更に、スキンケア組成物の棚寿命を高めるためにセルロース誘導体、蛋白質、及びレスチン等の安定剤を加えることができる。これらの材料は全て、このような配合物用の添加剤として当該技術分野で既知であり、本発明のスキンケア組成物で適量で使用できる。
【0112】
5.8 液体取り扱い構造
5.8.1 特性
5.8.1.1 位置決め
液体取り扱い構造は、トップシートと液体貯蔵構造との間に配置される。トップシートを通して捕捉された身体からの流体排泄物が液体取り扱い構造に進入するように液体取り扱い構造をトップシートと作動的に関連させるのが好ましい。幾つかの変形例では、液体取り扱い構造は、脚カフ、胴バンド、糞便排泄物包含ポケット、等を含むのがよく、又は任意のこのような特徴と作動的に関連しているのがよい。
【0113】
液体取り扱い構造の一部が吸収物品の第1領域に位置決めされており、液体取り扱い構造の一部が吸収物品の第2領域に位置決めされている。好ましい実施形態では、液体取り扱い構造の少なくとも一部が、着用時に着用者の尿道の近くにある物品の領域に配置される。
【0114】
5.8.1.2 機能的特性
本発明の液体取り扱い構造は、好ましくは、吸収物品によって受け入れられて貯蔵された身体からの粘性の流体排泄物を受け入れ、貯蔵し、固定化し、保持することができる。これらの機能は、本発明の吸収物品全体について上文中に説明した。
更に、液体取り扱い構造は、身体からの粘性の流体排泄物を吸収物品20内に、バックシート26の平面に対してほぼ平行な方向で移送できる。移送は積極的に行われ、毛管力又は他の力により、身体からの粘性の流体排泄物又はその成分(例えば自由水)の移動が生じる。他の実施形態では、移送は積極的に行われず、これにより身体からの粘性の流体排泄物又はその成分は、外部から加えられた重力等の力、着用者の圧力、又は着用者の動きの作用で構造を通って移動する。移送が積極的に行われない場合には、液体取り扱い構造は、身体からの粘性の流体排泄物が構造を通って最小のエネルギー入力で容易に移動できるように、比較的大きな相互連結されたチャンネル等を持たなければならない。
【0115】
本発明の液体取り扱い構造は、好ましくは、液体取り扱い構造が液体と接触したときにこの液体の表面張力を低下させない。必要な場合には、セルロース繊維、ポリエステル繊維、等の真性親水性材料を使用するか或いは、液体中に容易には放出されない界面活性剤で疎水性材料を処理するかのいずれかを行うが望ましい。
【0116】
5.8.1.3 構造特性
本発明の液体取り扱い構造の、未圧縮状態のキャリパに対する坪量の比は、1mm当り100g/m2 より小さい。即ち、液体取り扱い構造は、尿、月経、糞便、等の身体の滲出物を容易に受け入れるため、開放構造を有する。好ましくは、本発明の液体取り扱い構造の、未圧縮状態のキャリパに対する坪量の比は、1mm当り90g/m2 より小さい。更に好ましくは、本発明の液体取り扱い構造の、未圧縮状態のキャリパに対する坪量の比は、1mm当り80g/m2 より小さい。最も好ましくは、本発明の液体取り扱い構造の、未圧縮状態のキャリパに対する坪量の比は、1mm当り70g/m2 より小さい。1mm当り100g/m2 より大きい比を持つ液体取り扱い構造は、糞便や月経等の身体からの高粘度の流体を容易に受け入れるのに十分な開放性を提供できる。
【0117】
液体取り扱い構造の坪量は、一般的には、5g/m2 乃至500g/m2 である。坪量が5g/m2 よりも小さい液体取り扱い構造は、所望の弾性及び圧縮抵抗を提供できない。坪量が500g/m2 より大きい液体取り扱い構造は、吸収物品に望ましからぬ重量を加え、これにより使用者の快適性を損なう。
【0118】
本発明の液体取り扱い構造のキャリパは、一般的には、少なくとも0.5mmであり、好ましくは少なくとも1mmである。これよりも大きいキャリパ、例えば5.0cmのキャリパは、身体の滲出物、詳細には低粘度糞便の取り扱いに優れているが、このようなキャリパは、おむつを望ましからぬ程に嵩張らせてしまい、そのため、着用者の快適性を損なう。
【0119】
別の重要な特性は、液体取り扱い構造29の弾性である。開放したままにするため、液体取り扱い構造29は、パッケージ力、及び着用者によって加えられた力に耐えるのに十分な弾性を持たなければならない。好ましくは、液体取り扱い構造29は、1N/cm2 の圧力を30秒間に亘って加えた後の弾性が少なくとも50%であり、更に好ましくは、1N/cm2 の圧力を30秒間に亘って加えた後の弾性が少なくとも75%であり、最も好ましくは、1N/cm2 の圧力を30秒間に亘って加えた後の弾性が少なくとも85%である。
【0120】
液体取り扱い構造は、その構成に拘わらず、圧縮力が液体取り扱い構造に加わった場合に或る十分なレベルの容量を維持するように、圧縮に耐えなければならない。好ましくは、液体取り扱い構造は、1N/cm2 の圧縮力が構造に加わった場合にその元の厚さの少なくとも約35%を維持できる。更に好ましくは、液体取り扱い構造は、1N/cm2 の圧縮力が加わった場合にその元の厚さの少なくとも約50%、及び最も好ましくは少なくとも約70%を維持できなければならない。一般的には、好ましい実施形態では、液体取り扱い構造は1N/cm2 の圧縮力が構造に加わった場合にその元の厚さの約35%乃至99%を維持できる。更に好ましくは、液体取り扱い構造は1N/cm2 の圧縮力が加わった場合にその元の厚さの約50%乃至95%を維持できなければならない。
【0121】
本発明の液体取り扱い構造は、液体取り扱い構造の表面エネルギーを、少なくとも40mN/m、好ましくは少なくとも40mN/m、更に好ましくは少なくとも50mN/m、最も好ましくは少なくとも60mN/mまで高めるため、界面活性剤を含む。適当な界面活性剤及び適当な製造技術が当該技術分野で既知である。
【0122】
本発明の吸収物品の液体取り扱い性に悪影響が及ぼされないようにするため、液体取り扱い構造の表面張力減少値は、以下に定義する表面張力減少試験によれば、15mN/mより小さく、好ましくは12mN/mより小さく、更に好ましくは9mN/mより小さく、更にもっと好ましくは6mN/mより小さく、最も好ましくは3mN/mより小さい。
【0123】
5.8.2 液体取り扱い構造の構造
液体取り扱い構造は、身体の滲出物を上文中に説明したように受け入れ、貯蔵し、固定化できる任意の材料又は構造でできているのがよい。かくして、液体取り扱い構造は一つの材料又は互いに作動的に関連した多数の材料を含むのがよい。更に、液体取り扱い構造は、おむつ20の別のエレメントと一体であってもよいし、又はおむつ20の一つ又はそれよりも多くのエレメントに直接的に又は間接的に接合された一つ又はそれよりも多くの別体のエレメントであってもよい。液体取り扱い構造がコア28の少なくとも一部を含む実施形態が考えられる。
【0124】
5.8.3 適当な材料
液体取り扱い構造として使用するのに適当な材料には、孔径が大きい連続気泡フォーム、巨視的な孔が設けられた耐圧縮性不織布ハイロフト、連続気泡フォーム及び独立気泡フォームでできた大径粒子形成体(巨視的な孔の、及び/又は微視的な孔の)、ハイロフト不織布、ポリオレフィン、ポリスチレン、ポリウレタンのフォーム又は粒子、垂直方向に配向された多数のループ状ストランド繊維を含む構造、パンチ孔又は窪みを持つ上文中に説明した液体貯蔵構造、等が含まれる。(本明細書中で使用されているように、「微視的な孔の」という用語は、流体を毛管作用で移送できる材料に関する。「巨視的な孔の」という用語は、流体を毛管作用で移送するには孔径が大き過ぎる材料に関し、この場合、孔径は、一般的には、約0.5mmより大きく、更に詳細には約1.0mmより大きい。)一実施形態は、ミネソタ州ミネアポリスの3M社からXPL−7124として入手できる、未圧縮状態での厚さが約1.5mmの機械式ファスニングループランディングエレメントを含む。別の実施形態は、クリンプ加工を施し且つ樹脂結合した6デニールの不織ハイロフトを含む。これは、坪量が110g/m2 であり、未圧縮状態での厚さが7.9mmであり、ジョージア州レンズのグリット社から入手できる。液体取り扱い構造又はその任意の部分は、エレメントの性能又は他の特性を追加し、高め、又は変更するため、ローション又は他の既知の物質を含むか或いはこのような物質によってコーティングしてある。
【0125】
5.8.3.1 裏地を備えたループ材料シート
図2は、液体取り扱い構造29の一実施形態を示す。一般的には、液体取り扱い構造29は、裏地120を持つループ材料118のシートである。裏地は、前主面123及び後主面124を有する。空間をなすように形成された繊維シート126の長さ方向に配向された多数のファイバの概して変形していないアンカー部分127が、裏地層120に、間隔が隔てられた細長い概して平行な結合位置128のところで埋め込まれることによって結合されている。結合位置128は、前面123に沿って一方向で連続しており、繊維シート126の円弧状部分130が裏地層120の前面123から結合位置128間で連続した列をなして突出しており、ループ材料118のシートに亘って横方向に延びている。繊維シート126の円弧状部分130は、裏地層120からの高さがほぼ均等であり、約0.5mmより大きく、好ましくは約1.0mmより大きく、成形繊維シート126の高さは、結合位置128間の距離の少なくとも1/3倍であり、好ましくは1/2倍乃至1.5倍である。繊維シート126の個々の繊維の大きさは、25デニールよりも小さく(好ましくは1デニール乃至10デニール)、裏地120無しの繊維シート126の坪量は、円弧状部分130に沿った繊維シート126の繊維間に十分な開放領域(即ち、開放領域が10%乃至90%)を提供し、糞便が円弧状部分130に沿って個々の繊維内に容易に浸透するようにするため、第1面123に沿って計測して、5g/m2 乃至300g/m2 の範囲(好ましくは15g/m2 乃至100g/m2 の範囲)内にある。
【0126】
裏地120として使用するのに適した材料には、熱可塑性フィルム、多孔質フィルム、有孔フィルム、有孔形成フィルム、無孔形成フィルム、不織ウェブ、通気性フィルム等の通気性材料が含まれるが、これらの材料に限定されない。通気性フィルムには、微孔質フィルム、有孔不織ウェブ、等が含まれるが、これらのフィルムに限定されない。裏地120は、好ましくは、約0.00125cm乃至0.025cmの範囲の厚さを持つ比較的薄い層である。
【0127】
繊維シート126の繊維は、平行な結合位置128に関して様々な方向に配置でき且つ円弧状部分130の交差箇所で互いに結合されていても結合されていなくてもよく;繊維シート126の繊維の大部分(即ち80%又は90%よりも大きい)が結合位置128に対してほぼ直角方向に延びた状態で平行な結合位置128に関して様々な方向に配置でき;又は繊維シート126の個々の繊維の全てが、ほぼ平行に離間された結合位置128に対してほぼ直角方向に延びることができる。
【0128】
身体の滲出物及び詳細には低粘度糞便の取り扱いを最も効果的にするため、液体取り扱い構造は、ロフテッドオープン構造を持たなければならない。この場合の重要な構成要素は、裏地120からの繊維シート126の円弧状部分130の高さである。上文中に言及したように、繊維シート126の円弧状部分130は、裏地120からの高さがほぼ均等であり、約0.5mmより大きく、好ましくは約1.0mmより大きい。
【0129】
5.8.3.2 成形フィルム
別の態様では、非吸収体液体取り扱い構造29を提供してもよい。非吸収体液体取り扱い構造29を選択した場合には、上文中に説明したキャリパの必要条件を満たす有孔成形フィルムの形態で提供される。適当な成形フィルムは、インディアナ州テルホイテのトレッデガー産業社からX5790の表示で入手できる。勿論、液体取り扱い構造29が非吸収体である場合には、内側に置かれた流体を吸収して保持する上で適当な容量を持つ液体貯蔵構造28と関連していなければならない。
【0130】
5.9 接着剤
吸収物品の互いに隣接した二つの構成要素の表面の少なくとも一部を接着剤で互いに取り付けることが当該技術分野で一般的に既知である。
詳細には、二つの構成要素間の界面が液体流路に沿った場所に位置決めされている場合には、いずれか一方の構成要素の親水性を損なうことがないように親水性接着剤を拡げるのが望ましい。好ましくは、液体の表面張力を捕捉中に低下させることがないようにするため、界面活性剤の放出が少ない親水性接着剤を使用する。このような接着剤は、現在係属中の欧州特許出願に記載されている。
【0131】
本発明の衛生物品に適した接着剤は、ジャイコ人工尿を用いた接触角度が70°よりも小さく、好ましくは50°よりも小さく、更に好ましくは40°よりも小さく、最も好ましくは30°より小さい。
【0132】
本発明の衛生物品に適した接着剤によるジャイコ人工尿の表面張力の低下は、好ましくは、人工尿に浸漬した後5時間で10mN/mより小さく、更に好ましくは、人工尿に浸漬した後5時間で9mN/mより小さく、更にもっと好ましくは、人工尿に浸漬した後5時間で8mN/mより小さく、更にもっと好ましくは、人工尿に浸漬した後5時間で7mN/mより小さく、最も好ましくは、人工尿に浸漬した後5時間で6mN/mより小さい。
【0133】
本発明の衛生物品に適した接着剤は、低レベルの適当な界面活性剤を適当な疎水性接着剤と混合することによって得ることができる。接着剤の混合は、疎水性接着剤及び界面活性剤を計量し、容器に入れ、この容器を疎水性接着剤の融点よりも僅かに上の温度まで注意深く加熱し、約10分間に亘って攪拌し、最後に混合物を冷却することによって行うことができる。
【0134】
界面活性剤の特定の濃度範囲は、当業者に明らかであるように、使用される特定の接着剤及び特定の界面活性剤で決まる。界面活性剤濃度が低過ぎると、接着剤と水との接触角度が高くなり、即ち更に親水性の接着剤となる。界面活性剤濃度が高過ぎると、液中への界面活性剤分子の放出が増大する。本発明にとって有用であることがわかった界面活性剤濃度は、0.1重量%乃至3重量%であり、好ましくは0.2重量%乃至2重量%であり、更に好ましくは0.25重量%乃至1.5重量%であり、最も好ましくは0.5重量%乃至1重量%である。
【0135】
本発明にとって適当であることがわかった疎水性接着剤は、米国ミネソタ州セントポールのH.B.フューラー社から1462の表示で商業的に入手できる。本発明にとって適当であることがわかった界面活性剤は、ドイツ国エッセンのTh.ゴールドシュミットAGからテゴタイン(Tegotain)Dの表示で商業的に入手できる。接着剤及び界面活性剤のこの特定の組み合わせにとって有用であることがわかった界面活性剤濃度は、0.5重量%乃至1重量%である。
【0136】
しかしながら、接着剤及び界面活性剤の多くの他の組み合わせもまた本発明の必要条件を満たすということは当業者には明らかであろう。このことは、上述の例と同じ化学等級に属する接着剤及び界面活性剤について特にいえる。本発明は、これらの組み合わせもまた含もうとするものである。
【0137】
5.10 掃去剤
本発明の吸収物品の随意の特徴は、掃去剤を含むことである。「掃去剤」という用語は、界面活性剤の表面活性を抑えることによって界面活性剤の水溶液の表面張力を高めることができる物質に関する。掃去剤は、界面活性剤の易動度を例えば吸着により制限することによって機能できる。
適当な界面活性剤には、チャコール(好ましくは表面積が900m2 /gよりも大きく、ドイツ国のカーボテック・アキトフコーレンGmbHからPAK1000の表示で商業的に入手できる)、ゼオライト(好ましくは表面積が少なくとも200m2 /g、ドイツ国のデグサAGからエーロジル(Aerosil)200の表示で商業的に入手できる)、シリカ、等が含まれるが、これらに限定されない。
掃去剤は、液体流路に沿った任意の適当な位置に配置でき、当該技術分野で既知の適当な手段によって任意の適当な構成要素の表面に取り付けることができる。
【0138】
6. 方法
特記していないけれども、全ての試験は、約22℃±2℃で、及び35±15%の相対湿度で行われる。
特記していないけれども、試験方法で使用する合成尿はジャイコ・シニュラインとして一般に既知であり、ペンシルバニア州キャンプヒルのジャイコ薬品社から入手できる。合成尿の配合は、KClが2.0g/l、Na2 SO4 が2.0g/l、(NH4 )H2 PO4 が0.85g/l、(NH4 )H2 PO4 が0.15g/l、CaCl2 が0.19g/l、MgCl2 が0.23g/lである。全ての化学薬品は試薬等級である。合成尿のpHは、6.0乃至6.4である。
【0139】
6.1 完成製品捕捉試験
図3を参照すると、吸収構造(10)には、ポンプ(米国シカゴのコール・パーマー・インスツルメンツ社が供給している型番7520−00)を使用して試料表面の上方5cmの高さから75mlの合成尿の迸りが15ml/sの流量で加えられる。尿を吸収する時間をタイマーによって記録する。物品が一杯になるまで、迸りを、5分毎に正確に5分の迸り間隔で繰り返す。現在の試験データは、4回加えた後に発生される。
【0140】
コアを含み、トップシート及びバックシートを備えた試験試料を、パースペクスボックス(そのベース12だけが示してある)内でフォームプラットホーム11上に拡げる。直径5cmの開口部がそのほぼ中央に設けられたパースペクスプレート13を試料の上に置く。開口部に嵌着して接着したシリンダ14を通して合成尿を試料に導入する。電極15をプレートの最下面に吸収構造10の表面と接触した状態で配置する。電極は、タイマーに接続してある。例えば乳児の体重をシミュレートするため、荷重16をプレートの上に載せる。この試験では、代表的には、50g/cm2 (0.7psi)の圧力を使用する。
【0141】
試料流体をシリンダに導入すると、代表的には、この流体が吸収構造の上に溜まることにより電極間の電気回路が閉じる。これによりタイマーの作動を開始する。タイマーは、吸収構造が尿の迸りを吸収したときに停止し、電極間の電気回路が開く。
【0142】
捕捉速度は、単位時間(秒)当りに吸収された迸りの容積と定義される。試料に導入された各迸りについて捕捉速度を計算する。本発明に関して特に重要なのは4回の迸りのうちの最初の迸り及び最後の迸りである。
【0143】
この試験は、主として、約300ml乃至400mlの吸収力を持つ製品を評価するように設計されている。吸収力が大幅に異なる製品を評価しなければならない場合には、特に迸り当りの流体容積の設定を理論的吸収力の約20%まで適当に調節し、偏差を記録しなければならない。
【0144】
6.2 トップシート−完成製品湿潤性試験
上文中に説明した完成製品捕捉試験を二つの迸りに関してだけ実行し、5分間乃至6分間待機した後、トップシートを製品の残りから注意深く(好ましくはできるだけ完全に)取り外し、一片のトップシートを切り出す。完成製品捕捉試験の捕捉点は、切り出した片に関してほぼ中央にある。トップシート片は、長さが200mmで幅が120mmでなければならない。次いで、トップシートの湿潤重量を計測する。最後に、トップシートを(例えば約60℃のオーブン内で加熱することによって)注意深く乾燥させ、トップシートの乾燥重量を計測する。トップシートの湿潤性は、トップシートの湿潤重量と乾燥重量との間の差である。
【0145】
6.3 液体保持試験
液体保持試験は、所定の表面張力を持つ試験液に一時的に浸漬した材料試料に保持される液体を計測する。試験液は、蒸留水を使用し、適量の適当な界面活性剤を水に溶解することによって調製される。
長さが50mmで幅が50mmの寸法を持つ材料の試料を調製し、計量する。試料を試験液に約5分間に亘って浸漬する。試料を試験液から取り出した後、試料を注意深く震盪し、余分の液体を材料試料の表面から落とす。
湿潤重量を計測し、湿潤重量と乾燥重量との間の差を取ることによって材料試料の液体保持量を得る。
【0146】
6.4 コラーゲン再湿潤試験法
試験を実施する前に、ドイツ国ワインハイムのナチュリン(NATURIN)GmbHから購入したコラーゲンフィルムを、試料カッター装置を使用して直径90mmの円形シートに切断することによって、及び試験室の制御された環境内でフィルムを少なくとも12時間に亘って平衡状態にすることによって調製する(コラーゲンフィルムの全ての取り扱いにトゥィーザーを使用する)。
図4は、コラーゲン再湿潤試験法を行うのに使用される実験センタを示す。
【0147】
上述の捕捉試験の最後の迸りを吸収してから少なくとも5分後であるが6分を越えない時期にカバープレート及び重りを外し、試験試料(4100)を実験台に注意深く平らに置く。
【0148】
予め切断し且つ平衡状態にした4枚のコラーゲン材料(4110)を少なくとも1mgの精度で計量した後、物品のローディング点の中心に位置決めし、直径が90mmで厚さが約20mmのパースペクスプレート(4120)で覆う。15kgの重り(4130)を注意深く(中央に)載せる。30±2秒後、重り及びパースペクスプレートを再び注意深く取り外し、コラーゲンフィルムを再計量する。
皮膚水和値は、コラーゲンフィルムが吸収した水分であり、mgで表される。
【0149】
6.5 糞便類似物の調製
6.5.1 糞便類似物A
類似物Aは、オハイオ州ブレックスビルのB.F.グッドリッチ社から入手できるカーボポル(Carbopol)941の10g、又は当量のアクリルポリマーを900mlの蒸留水に混合することによって形成した糞便類似物である。カーボポル941及び蒸留水を別々に計量し且つ計測する。直径5.08cm(2インチ)のパドルを持つ3ブレード式船舶用プロペラ(オハイオ州シンシナチのVWRサイエンティフィック・プロダクツ社から入手できる、直径0.9525cm(3/8インチ)の攪拌シャフトBR4553−52に取り付けられたカタログ番号第4553−62)を使用して蒸留水を攪拌する。プロペラの速度は、混合中、450rpmで一定でなければならない。ミキサーは、跳ねを生ぜずに渦を形成しなければならない。カーボポルは、白色クランプ即ち「フィッシュアイ」を作ることなく渦に引き込まれて混合されるように、ゆっくりと篩分けして水に入れられる。全てのカーボポルが加えられるまで、及びその後2分間の期間に亘って混合物を攪拌する。均質な混合物を得るのに必要なだけ、混合物が入ったボウルの側部を引っ掻かなければならず、ボウルを回転させなければならない。(混合物は、気泡で僅かに白濁する。)次いで、ニュージャージー州フィリップスバーグのJ.T.バーガー社から入手できる1.0Nの容積NaOH溶液100gを混合物にゆっくりと分配し、これを均質になるまで攪拌する。混合物は、濃厚であり且つ透明でなければならない。アルカリ溶液を加えた後、2分間に亘って混合物を攪拌しなければならない。中和した混合物を少なくとも12時間に亘って平衡状態にできなければならず、その後96時間以内に圧力下受容性試験に使用しなければならない。カーボポル混合物を使用する前に、混合物を均質化するため、溶液内で低速(約50rpm)で約1分間に亘って攪拌しなければならない。
類似物Aは、正しく調製された場合には、20℃乃至23℃の温度で計測した3.12/秒の剪断速度で約13000Pa・sの剪断粘度を有する。
【0150】
6.5.2 糞便類似物B
この計測で使用する試験類似物(類似物B)は、以下のように調製した水性ポリアクリルアミド溶液である。ウィスコンシン州ミルウォーキーのアルドリッチ化学社から入手できる22.5gのポリアクリルアミドを、オハイオ州シンシナチのプロクターアンドギャンブル社から入手できるドーン(Dawn)食器洗い溶液20gを1000mlの蒸留水で希釈した溶液と混合する。混合は、混合中のプロペラの速度が約650rpmで一定でなければならないという点を除くと、類似物Aの混合で使用したのと同じプロペラを使用して行われる。混合は、82.2℃(180F)の水浴中で30分間に亘って行われる。加熱した水浴を取り除き、混合物を更に30分間に亘って攪拌する。混合物を少なくとも12時間に亘って平衡状態にし、96時間以内に圧縮反転状態での固定化試験に使用する。類似物Bは、約7.5g乃至約10.5gの硬さ値(以下に説明するように計測する)を持たなければならない。類似物Bは、授乳期の乳児の柔らかくて流れやすい糞便の水吸収力をシミュレートするように設計されている。類似物Bは、一般的には、類似物Aよりも受容性が高く(即ち動き易く)そのため、保持しておくのが困難である。
【0151】
6.5.3 糞便類似物C
ここで使用する試験類似物Cは、以下のように調製した水性ポリアクリルアミド溶液である。ウィスコンシン州ミルウォーキーのアルドリッチ化学社から入手できる11.1gのポリアクリルアミドを、米国のシリクロンスタジオ社から入手できるフェクロン(FeClone)#4の4.12g及び米国のシリクロンスタジオ社から入手できるフェクロン(FeClone)#7の4.12を906.5mlの蒸留水で希釈した溶液と混合する。混合は、混合中のプロペラの速度が約650rpmで一定でなければならないという点を除くと、類似物Aの混合で使用したのと同じプロペラを使用して行われる。混合は、82.2℃(180F)の水浴中で30分間に亘って行われる。加熱した水浴を取り除き、混合物を更に30分間に亘って攪拌する。混合物を少なくとも12時間に亘って平衡状態にし、96時間以内に糞便受容性試験に使用する。類似物Cは、約3g乃至約5gの硬さ値(以下に説明するように計測する)を持たなければならない。
【0152】
6.6 硬度方法
硬度は、スティーブンス−ファーネルQTS−25テクスチャーアナライザー7113−5kg型、及びインテル社の486プロセッサ又はこれよりも高速のマシンに基づく関連ソフトウェアを使用して計測される。1.27cm(1/2インチ)のステンレス鋼性の球状プローブ及び類似物ソケットが設けられている。適当なプローブは、英国ハットフィールドのレオナード・ファーネル社から入手できるTA18プローブである。類似物ソケットは、7mlの線状低密度ポリエチレンシンチレーションバイアル(13.97cm(0.55インチ)±0.127(0.005インチ)の内径を有する)を切断して約16mmの長さにすることによって得ることができる。適当なバイアルは、ニュージャージー州ヴァインランドのキンブル・ガラス社から#58503−7バイアルとして入手できる。類似物ソケットを、類似物(以下に説明するように類似物A又はB)又は試験されるべき糞便で上縁部(レベル)まで充填する。改質剤の評価を行おうとする場合には、以下に説明する試料調製方法によって試料を調製する。バイアルを1.27cm(1/2インチ)のステンレス鋼性の球状プローブの真下に置く。プローブを下ろし、バイアル内の類似物の表面と接触させる。プローブ5162を毎分約100mmで下方に7mm移動し、次いで停止する。硬度は、プローブがその7mmのストロークで遭遇する最大記録抵抗力である。(室内及び類似物の温度は、計測中、約18.33℃乃至23.89℃(約650F乃至750F)でなければならない。)参考のため、硬度は、材料の粘度と弾性率の組み合わせである材料の複素弾性率と強固に関連していることがわかった。
【0153】
6.7 トランストップシート容量
トランストップシート容量は、以下の試験によって計測される。この計測で使用される装置839を図8に示す。糞便類似物Aを使用してトランストップシート容量を計測する。
【0154】
プレート842に取り付けられた中空ステンレス鋼シリンダ840を提供する。ステンレス鋼シリンダ840は、高さが7.5cm(2.95インチ)であり、内径が5.08cm(2.00インチ)であり、外径が6.3cm(2.48インチ)である。シリンダ840の底部は、プレートの下に3.5mmの距離だけ延びており、厚さが3.5mmの環状リップを有する。リップ843は、以下に論じる糞便類似物が試料の指定試験領域の外側に漏れないようにする。
【0155】
更に、100.6gの重り844もまた提供される。この重り844もまた円筒形形状であり、5.08cm(2.0インチ)の直径を有し、そのため、重り844はシリンダ840にぴったりと嵌着するが、シリンダ840の穴を通って自由に摺動できる。この構成は、49.57kg/m2 (0.071psi)の圧力を提供し、試験面積は20.271cm2 (3.142平方インチ)である。所望であれば、重り844は、この重りをシリンダ840に容易に挿入でき且つ取り出すことができるようにするハンドル845を有するのがよい。
【0156】
試験されるべき試料846を提供する。試料846は、好ましくは、現存のおむつ20の第2領域82から切り出されるが、おむつ20の様々な構成要素の積層体としての原材料で予め供給してもよい。試料846を10.16cm×10.16cm(4インチ×4インチ)の正方形に切断する。試料846は、試料846を画成する正方形の内側に液体貯蔵構造28を持つおむつ20の任意の領域から取り出される。
【0157】
試料846をおむつ20から切り出す場合、試料は、トップシート24からバックシート26までのおむつ20の全ての層及び構成要素を含まなければならない。試料846をおむつ20から取り出すとき、試料846を壊さないように、又はトップシート24の意図せぬ大きな変形が生じないように注意を払わなければならない。トップシート24又はおむつ20のその等価物を試料846の残りから取り外す。試料846(第1トップシート24を含まない)を0.01gの精度で計量する。ついでトップシート24を、試料846でのその元の位置に、試料に結合しないで注意深く戻す。試料846をおむつ20から取り外す上で、又はトップシート24を試料846から取り外す上で困難に直面した場合、試料846及びこれを取り囲むおむつ20の部分を、切断前又は切断後に凍結させる。凍結は、マサチューセッツ州ウォルサムのフィリップスECG社が製造しているPH100−15回路冷媒を使用して行うことができる。
【0158】
シリンダ840を試料846の中央に置く。5mm乃至6mmの開口部を持つ注射器が10cm3 の試験流体をシリンダ840の穴を通して試料846の上に分配する。試験流体は、上文中に説明した配合の糞便類似物Aであり、10000cP乃至15000cPで剪断速度がゼロである。100.6gの重り844をシリンダ840の穴を通して挿入し、試験流体に静かに置き、2分間の期間に亘って放置する。
【0159】
2分後、重り844及びシリンダ840を試料846から取り外す。トップシート24を試料846と平行に引きずることによってトップシート24を試料846から取り外し、廃棄する。次いで試料846の残りの部分を再計量する。トランストップシート容量は、トップシート24の下にある試料846の全ての層の重量増大を、試料846の20.271cm2 (3.142平方インチ)の試験領域で除した値である。
【0160】
6.8 圧力下受容性
圧力下受容性は、図5に示す装置5139を使用する以下の試験によって計測される。中空プレキシガラスシリンダ5140を提供し、厚さが約9.5mmのステンレス鋼プレート5142に取り付ける。プレート5142は約10.16cm×10.16cm(約4インチ×4インチ)の正方形である。シリンダ5140及びプレートの組み合わせの高さは7.6cm(約3.0インチ)であり、内径が5.08cm(約2.00インチ)であり、外径が6.3cm(約2.48インチ)である。シリンダ5140の底部は、プレート5142の下方に約3.5mmの距離に亘って延びている。リップ5143は、試験流体5166が指定試験領域の外に漏れないようにする。625gの二つの重り5156もまた提供されており、これらの重りの各々は、直径が5.08cm(約2.0インチ)である。
【0161】
円筒形形状の24.6gのプレキシガラス重り5144が提供される。この重り5144の直径は5.08cm(約2.0インチ)であり、そのため重り5144は密な許容差でシリンダ5140に嵌着するが、シリンダ5140の穴5141を通って自由に摺動できる。この構成は、約119Pa(約0.017psi)の圧力を提供し、約20.271cm2 (3.142平方インチ)の試験面積を提供する。所望であれば、重り5144は、シリンダ5140への重りの挿入及び取り出しを容易に行うことができるようにするハンドル5145を有する。このような場合には、ハンドル5145及び円筒形重り5144の組み合わせ質量は、24.6gに等しくなければならない。
【0162】
圧力下受容性について試験されるべき構造の試料5146を提供する。この試料5146は現存のおむつから切り出したものであってもよいし、又はおむつに形成されていない材料から形成されていてもよい。試料5146は、物品で使用することが意図された構造全体又は評価されるべき物品の構造全体を含む、これにはトップ層5161が含まれる。(上文中の受容性エレメントの章で説明したように、別個の受容性エレメントの圧力下受容性を計測するため、任意の下側構造又は層の代わりに標準貯蔵エレメント5147を使用して圧力下受容性試験を行う。ここで使用する標準貯蔵エレメント5147は、10.16cm(4インチ)平方で厚さが1.6mmのアルミニウムプレートであり、図7に示すように、等間隔に間隔が隔てられた直径が4.3mmの153個の穴5168でできたパターンが設けられている。これらの穴は、6.45cm2 (1平方インチ)当り約26個の穴があるように配置されている。)試料5146は、10.16cm×10.16cm(4インチ×4インチ)の正方形に切り出さなければならない。
【0163】
10.16cm×10.16cm(4インチ×4インチ)の5層の高坪量吸取り紙5149が提供される。試料5146のトップ層5161を取り外し、試料5146の残りの構成要素又は層(多数の構成要素又は層がある場合)及び5枚の吸取り紙材料シート5149を0.01gの精度で計量する。かくして、試料5146をおむつから取り出したとき、トップシート、第2トップシート、捕捉層、液体貯蔵構造、等のおむつの層を計量前に分離しなければならない。(場合によっては、一つの層が二つ又はそれよりも多くの永久的に結合された構成要素でできている。)これを行うとき、試料5146を壊さないように、又は試料5146の任意の部分の意図せぬ大きな変形が生じないように注意を払わなければならない。試料5146の層を凍結させることにより、試料5146の隣接層からの分離を補助できる。凍結は、マサチューセッツ州ウォルサムのフィリップスECG社が製造しているPH100−15回路冷媒を使用して行うことができる。
【0164】
試料5146は、吸取り紙材料5149の5枚の積み重ね層の上で元の形体に再組み立てし、着用者に面するようになった試料5146の側部を上に向けて吸取り紙材料5149から遠ざかるように配向しなければならない。吸取り紙材料5149は、好ましくは、ペンシルバニア州マウント・ホーリースプリングのアフルストルムフィルタレーション社から#632−025として入手できる濾過等級の紙であり、約90g/m2 の坪量を有する。
【0165】
試料5146及び吸取り紙材料5149の組み合わせアッセンブリを、スティーブンス−ファーネルQTS−25型番7113−5kgテクスチャーアナライザー5160(英国ハットフィールドのレオナード・ファーネル社から入手できる)の作用面5164の中央にプローブ5162の下に置く。適当なプローブ5162は、英国ハットフィールドのレオナード・ファーネル社から入手できる100cmのアルミニウム製円筒形平頭延長ロッド「QTSM3100」である。シリンダ5140は、試料5146の中央に置かれる。二つの625gの重り5156をプレート5142の両隅部に(対角線方向に)置き、プレートを安定化させる。4mm乃至6mmの開口部を持つ注射器を使用し、約10cm3 の粘性流体身体排泄物類似物5166(上述の類似物C)をシリンダ5140の穴5141を通して試料5146の上に分配する。
【0166】
適量の粘性流体身体排泄物類似物5166、即ち類似物Cを計量してシリンダ5140に入れた後、24.6gの重り5144をシリンダ5140の穴5140に類似物の表面に載るまでゆっくりと静かに挿入する。テクスチャーアナライザー5160を付勢し、プローブ5162で円筒形重り5144を毎分10mmの速度で、抵抗力が1.42N(144.6g重)に達するまで押す。テクスチャーアナライザー5160は、1.42N(144.6g重)の抵抗力に達すると下降ストロークを停止するように設定されている。記録装置は、0.049N(5g重)の抵抗力でトリガーされるように設定されており、これによって開始点s0 を定義する。1.42N(144.6g重)の最大抵抗力は、加えられた700Pa(0.1psi)の圧力と対応する。1.42N(144.6g重)の抵抗力に達すると、プローブ5162がその開始位置まで引っ込められる。
【0167】
重り5144をシリンダ5140から取り外した後、シリンダ5140内に残る類似物Cが試料に滴り落ちないように注意を払いながらシリンダ5140を試料5146の表面から取り除く。次いで、可能であれば、トップ層5161を下側にある層の表面と平行に引きずることによって、試料5146のトップ層5161を試料5146の下側にある層から取り外す。下側にある層と平行に引きずることによってトップ層5161を取り外すのが困難な特別の構造については、トップ層5161を試料5146の下側にある層から引き剥がすことができ又は持ち上げて外すことができる。試料5146が一つの層でできている場合には、以下に説明する標準受容エレメントを試料5146のトップ層5161として使用する。次いで試料5146の下側にある層及び吸取り紙材料5149を計量する。
【0168】
荷重AL が作用した状態での試料5146の受容性は、単位面積当りに実施される仕事W(mJ)当りの、試料5146の上面層を通した試験類似物Cの浸透により生じる試料5146の下側にある層及び吸取り紙材料5149の組み合わせ重量の増大と等しい。仕事Wは、プローブの下降ストロークに抵抗する力F(s)を開始点s0 から全移動距離に亘ってsmax で1.42N(144.6g重)の最大力になるまで積分することによって計算される。
【数2】
【0169】
6.9 圧力下貯蔵性
圧力下貯蔵性の計測は、上文中に説明し且つ図5に示したのと同じ装置5139を使用して行われる。上述の圧力下受容性試験に説明した中空シリンダ5140、重り1544、及び625gの重り5156を提供する。圧力下貯蔵性について試験されるべき構造の試料5146もまた提供する。この場合も、試料5146は現存のおむつ20から切り出すことができ、又はおむつに形成されていない材料から形成できる。試料5146は、物品で使用することが意図された構造全体又は評価されるべき物品の構造全体を含む。(上文中の貯蔵エレメントの 章で説明したように、別個の貯蔵エレメントの圧力下貯蔵性を計測するため、任意の上側構造又は層の代わりに標準受容エレメントを使用して圧力下貯蔵試験を行う。標準受容エレメント150は、イリノイ州シカゴのマッカーサーカールサプライ社から#9226T45として入手できる16×16メッシュのステンレス鋼ワイヤクロス304型(標準等級)である。)試料5146は、10.16cm×10.16cm(約4インチ×4インチ)の正方形に切断しなければならない。
【0170】
10.16cm×10.16cm(4インチ×4インチ)の5層の高坪量吸取り紙5149(上述の圧力下受容性試験に説明したのと同じ)が提供される。試料5146のトップ層5161を取り外し、試料5146の残りの構成要素又は層(多数の構成要素又は層がある場合)及び5枚の吸取り紙材料シート5149を0.01gの精度で計量する。かくして、試料5146をおむつから取り出したとき、トップシート等のおむつのトップ層5161を計量前に試料5146から分離しなければならない。これを行うとき、試料5146を壊さないように、又は試料5146のエレメントの意図せぬ大きな変形が生じないように注意を払わなければならない。試料5146の層を上文中に説明したように凍結させることにより、試料5146の隣接層からの分離を補助できる。
【0171】
試料5146は、吸取り紙材料5149の5枚の積み重ねシートの上で元の形体に再組み立てし、着用者に面するようになった側部を上に向けて吸取り紙材料5149から遠ざかるように配向しなければならない。試料5146及び吸取り紙材料5149の組み合わせアッセンブリを、テクスチャーアナライザー5160(上文中に説明した)の作用面5164の中央にプローブ5162の下に置く。シリンダ5140を試料5146の中央に置く。625gの二つの重り5156をプレート5142の対角線方向の両隅部に置き、プレートを安定化させる。4mm乃至6mmの開口部を持つ注射器を使用し、10cm3 の類似物(上文中に説明した)をシリンダ5140の穴5141を通して試料5146の上に分配する。24.6gの重り5144をシリンダ5140の穴5141に挿入し、テクスチャーアナライザー5160を付勢し、プローブ5162で円筒形重り5144を毎分10mmの速度で、抵抗力が1.42N(144.6g重)に達するまで押す。(1.42N(144.6g重)の最大抵抗力は、加えられた700Pa即ち0.1psiの圧力と対応する。)1.42N(144.6g重)の抵抗力に達すると、プローブ5162をその開始位置まで引っ込める。
【0172】
重り5144をシリンダ5140から取り外した後、シリンダ5140内に残る類似物Cが試料に滴り落ちないように注意を払いながらシリンダ5140及び重り5156を試料5146の表面から取り外す。次いで、可能であれば、試料5146を作用面5164と平行に引きずることによって、試料5146をテクスチャーアナライザー5160の作用面5164から取り外す。上側にある層と平行に引きずることによってトップ層5161を取り外すのが困難な特別の構造については、トップ層5161を試料5146の下側にある層から引き剥がすことができ又は持ち上げて外すことができる。次いで、試料5146及び吸取り紙5149を計量する。貯蔵された類似物Cの量は、単位面積を基として試料5146に試験類似物Cが浸透することにより生じる、試料5146の下側にある層及び吸取り紙5149の組み合わせ重量の増大に等しい。
【0173】
6.10 圧縮反転状態での固定化及び保持
圧縮反転状態での固定化及び圧縮反転状態での保持を計測するため、シリンダ5140を図5に示すようにプレート5142に取り付ける。シリンダ5140は、高さが7.5cm(約2.95インチ)であり、内径が5.08cm(約2.00インチ)であり、外径が6.3cm(約2.48インチ)である。中空シリンダ5140及びプレート5142は、プレートが下側に「リップ」5143を備えておらず、シリンダ5140及びプレート5142の両方がステンレス鋼製でないことを除くと、上文中に説明した圧力下受容性試験及び圧力下貯蔵性試験で使用したのと同じである。ステンレス鋼製のシリンダ5140及びプレート5142の組み合わせ重量は約1170gである。
【0174】
試験されるべき構造の試料5146を提供し、トップ層5161が試料5146に含まれる場合にはこれを取り外す。試料5146の下側の残りの層及び5つの吸取り紙材料層5149を組み立てて計量する。次いで、トップ層5161をこのアッセンブリの上に置く。試料5146は、組み立てられて構造にされていない材料からつくることもできる。試験されるべき試料5146及び吸取り紙5149の組み合わせアッセンブリを実験台天板5165に置く。(上述の固定化エレメントの章で説明したように、別個の固定化エレメント及び保持エレメントの圧縮反転状態での固定化及び圧縮反転状態での保持性を計測するため、圧縮反転状態での固定化試験は、何等かのトップ層5161の代わりに標準受容エレメントを使用して行われる。この評価では全ての下側の層が含まれる。)4mm乃至6mmの開口部を持つ注射器を使用し、10cm3 の試験類似物をシリンダ5140の穴5141を通して試料5146の上に分配する。
【0175】
試験類似物(類似物B)を3分間に亘って重力の作用で試料5146に浸透させる。次いで、シリンダ5140を試料5146の表面から取り外し、試料5146全体を計量する。トップ層5161を下側にある層の表面から垂直方向に持ち上げ、余分の類似物Bを下層にドレンバックできるようにすることによって、試料5146のトップ層5161を試料5146の下側にある層から除去する。次いで試料5146の残り及び吸取り紙材料5149のアッセンブリを計量する。これは、この試験のローディング中に構造によって吸収された類似物Bの正味量の計測値QB を提供する。次いで試料5146を再度組み立てる。これはトップ表面層5161を含む。10.16cm平方(4インチ平方)の三層の吸取り紙材料5149を提供し、計量する。標準貯蔵エレメント5147を提供し、三層の吸取り紙材料5149の上に置く。再度組み立てた試料5146を逆様にし、標準貯蔵エレメント5147及び三層の吸取り紙材料5149のアッセンブリの上に置く。(標準貯蔵エレメント5147は、10.16cm(4インチ)平方で厚さが1.6mmのアルミニウムプレートであり、図7に示すように、等間隔に間隔が隔てられた直径が4.3mmの153個の穴5168でできたパターンが設けられている。これらの穴は、6.45cm2 (1平方インチ)当り約26個の穴があるように配置されている。)
次いで、7.257kg(16ポンド)の103.23cm2 (16平方インチ)の重り5158(7000Pa即ち1.0psigと対応する)を、標準貯蔵エレメント5147から遠ざかる方に向いた試料5146の表面に静かに載せる。3分後に重り5158を取り外し、類似物Bが侵入する側部を上に向けて試料5146を再配向する。トップ層5161を取り外し、試料5146の残りの層及び五層の吸取り紙材料の重量を計測し、記録する。試料の圧縮反転状態での保持RCIは、反転サイクル後に構造の下側の層内に存在する試験類似物Bの実際の正味量をして計算される。
【0176】
圧縮反転状態での固定化ICIは、ローディング工程中に構造に浸透し、反転工程後に構造の下側の層に残る(表面層を通って試料の下側の層に通過した)試験類似物Bのパーセンテージとして計算される。圧縮反転状態での固定化を決定するための方程式は以下の通りである。
【数3】
【0177】
6.11 表面張力計測
全ての計測は、既知のリング法を適用する商業的に入手可能なデジタル式張力計、即ちドイツ国のクラッスGmbHのK10T型で行う。これによって、試験液に浸漬したプラチナ製の円形のリングを上方に引っ張る力を監視し、重力及び浮力を考慮して表面張力を決定し、N/cmで表す。
【0178】
全てのガラス製容器及びプラチナリングをイソプロパノール及び脱イオン水で清浄化した後、50℃の乾燥オーブン内で乾燥させる。計測を行う直ぐ前にガラス容器をブンゼンバーナーの火炎を使用して更に清浄化し且つ乾燥させ、その後デシケーター内で37℃まで冷却する。
【0179】
全ての計測は、試験溶液及び試料ホルダを37℃まで加熱することによって、37℃で行われる。
【0180】
器具のガラスビーカーを25ml(±5ml)の試験溶液で(好ましくはビュレット等の移送器具を使用せずに主リザーバから直接的に)充填し、試料ホルダに置く。次いで、プラチナリングを加熱し、ブンゼンバーナーの火炎内で赤熱するまで加熱し、リング保持装置に直ちに入れる。
【0181】
器具は、次いで、計測を自動的に実行する、即ち力を計測しながらリングを浸漬し、一定の速度で引っ張る。結果は器具のディスプレーから直接的に読み取ることができる。
特記されていない限り、各計測を3回繰り返し、結果を平均する。
【0182】
6.12 表面張力減少計測
本発明の表面張力減少試験は、本発明の吸収物品の一つの構成要素が、捕捉された液体の表面張力に及ぼす影響を計測しようとするものである。
【0183】
全てのガラス製容器及びプラチナリングをイソプロパノール及び脱イオン水で清浄化した後、50℃の乾燥オーブン内で乾燥させる。計測を行う直ぐ前にガラス容器をブンゼンバーナーの火炎を使用して更に清浄化し且つ乾燥させ、その後デシケーター内で37℃まで冷却する。
【0184】
試験の開始時に40mlの脱イオン水の表面張力を上述の表面張力試験によって計測する。次いで、試験されるべき構成要素の三つの試料を40mlの脱イオン水に浸漬する。構成要素の試料は、約0.05gと計量される。試料の形体は、詳細には、捕捉された液体にアクセスできる表面積に関して、吸収物品の構成要素の形体とできるだけ似ていなければならない。構成要素の試料の重量が0.05gより小さい場合には、試験液の量をこれに従って調節しなければならない。5分後、試験液から試料を完全に取り出す。残りの液体の表面張力の計測を3回行う。
吸収物品の試験構成要素の表面張力の減少は、脱イオン水の最初の表面張力と最終的な表面張力との間の差である。
【0185】
6.13 トップシートの有効孔径及び開放領域の決定方法
有効孔径及び開放領域は、以下に説明する画像分析を使用する以下の手順によって決定される。この手順は、三つの重要な工程、即ち画像捕捉工程、即ちトップシート24の表面上の領域を代表する画像を得る工程、画像計測工程、即ち画像及び個々の孔及びこれらの孔の周囲の開放領域のパーセンテージを計測する工程、及びデータ分析工程、即ち開放領域のパーセンテージ計測値、個々の孔領域の計測値、及び周囲の計測値を、拡げたシートに写し、ここで周波数分布、領域分布の和、及び液圧半径の計算を行う工程を含む。
【0186】
フレームグラッバボード、顕微鏡、カメラ、及び画像分析ソフトウェアを含む画像分析システムを使用する。マサチューセッツ州マールボロのデータ・トランスレーション社から入手できる型番DT2855フレームグラッバボードが提供される。更に、VH5900モニター顕微鏡、米国ニュージャージー州フェアーローンのキーエンス社から入手できる接触型照光ヘッドを備えたVH50レンズを持つビデオカメラが提供され、コンピューターファイルに取り込まれるべき画像を捕捉するのに使用される。キーエンス社の顕微鏡が画像を捕捉し、フレームグラッバボードがこの画像の類似信号をコンピューターが読み取ることができるデジタルフォーマットに変換する。画像をコンピューターファイルに取り込み、ワシントン州エドマオンのバイオスキャン社から入手できるオプティマス画像分析ソフトウェア第3.1版等の適当なソフトウェアを使用して計測する。オプティマス画像分析ソフトウェアを使用するため、コンピューターは、ワシントン州レッドモンドのマイクロソフト社から入手できるウィンドウズソフトウェアの3.0版又はそれよりも最新版を備えていなければならない。更に、少なくともインテル80386と等価のCPUを備えている。任意の適当なデスクトップ型PCを使用でき、486DX33型PCが特に適していることがわかった。ファイルに取り込まれて呼び出される画像をソニーのトリニトロンモニター型番PVM−1343MOに表示する。最終的なディスプレー倍率は約50倍である。
【0187】
上述の画像捕捉工程は、特定の種類のおむつ20の代表的なトップシート24の試料から、又は試験されるべき試料材料から10個の異なる領域を必要とする。各領域は矩形であり、約5.8mm×4.2mmである。孔とこれらの孔を画成する試料の部分との間のコントラストを高めるため、試料を黒色のマットボードに置く。平均グレイレベル及び黒色マットボードの標準偏差は、夫々、16及び4である。
【0188】
画像の捕捉は、コピースタンドによって試料の真上に取り付けられたキーエンスモニター顕微鏡を使用して、室内灯を消した状態で行われる。試料を照光するキーエンス光源を調節し、オプティマスソフトウェアでモニターし、ニューヨーク州ロチェスターのイーストマンコダック社から入手できるコダックグレイスケールで、0.3密度ウェッジの平均グレイレベル及び標準偏差を計測する。キーエンス光源の制御装置は、照光されたウェッジの平均グレイレベルが111+1であり、標準偏差が10+1であるように調節される。全ての画像を一回の時期中に捕捉し、ウェッジの平均グレイレベル及び標準偏差を画像捕捉プロセスに亘って計測することによってキーエンス光源をモニターする。
【0189】
個々の孔の計測時に、有効孔径だけが重要である。有効孔径の計測は、トップシート24の多孔度に寄与する孔径を定量し、孔となる領域を横切る繊維又は繊維束の寄与を考慮に入れて行われる。有効孔は、本明細書中に説明した画像捕捉パラメータを使用したグレイレベルが18と等しいか或いはこれ以下のトップシート24を通る任意の穴である。かくして、横断繊維によって所期の穴を複数の有効穴に分割できる。
【0190】
試料画像から捕捉した定規画像によって画像分析ソフトウェアをmm単位で較正する。取り込まれた画像の各々にオプティマス3.1画像メニューにある3×3ピクセル平均化フィルタを適用し、ノイズを減少させる。0乃至18のグレイレベルで穴を検出する。5.8×4.2視認領域内に完全には含まれない穴は、個々の領域及び周囲の計測で考慮しない。従って、領域及び周囲の平均及び分布は、視野内に完全には含まれない穴による影響を受けない。
【0191】
しかしながら、画像で完全には見ることができない個々の穴は、開放領域のパーセンテージの計算に含まれる。この相違は、開放領域のパーセンテージが、単に、画像のピクセルの総数に対する0乃至18のピクセル画像比であるために生じる。グレイレベルが19又はそれよりも多くの領域は開放領域の計算で数えない。
【0192】
各トップシート24について10画像の平均値についての開放領域パーセンテージは、オプティマス画像分析ソフトウェアを使用して計測される。開放領域パーセンテージは、グレイレベルが0乃至18のピクセルの数の、画像のピクセル総数に対する比であると定義される。開放領域パーセンテージは、トップシート試料からの一つの特定の領域を代表する各画像について計測される。次いで、10個の個々の画像の各々からの開放領域パーセンテージを平均し、試料全体についての開放領域パーセンテージを算出する。
【0193】
データ分析は、エクセルスプレッドシートによって行われる。これもまたワシントン州レッドモンドのマイクロソフト社から入手できる。エクセルスプレッドシートは、オプティマスソフトウェアで得られた開放領域パーセンテージ、孔領域、及び孔周囲の計測値を組織化する。試料の平均値及び標準偏差、個々の孔領域の大きさ及び周波数分布、及び個々の孔についての液圧半径の計算(周囲で除した領域)は、スプレッドシートを用いて得られる。
【0194】
個々の孔領域の分布もまた、エクセルスプレッドシートを使用して計算される。孔は、特定の大きさ範囲のビン(bin)に分類される。所期の特定の大きさ範囲に入る孔領域の数並びに各範囲内の領域の和を決定する。範囲は、0.05mm2 の増分で設定される。これらの領域は、試料の全体開放領域のパーセンテージとして表される。領域分布の周波数及び和は、各試料についての全ての10個の画像から個々の孔の計測値を合わせることによって得られる。
【図面の簡単な説明】
【図1】 図1は、下側にある構造を明らかにするために幾つかの部分が切除してある、おむつの衣料対向面が図面を見る人の方に向いている、本発明の吸収物品の実施形態の平面図である。
【図2】 図2は、液体取り扱い構造の斜視図である。
【図3】 図3は、捕捉試験用の試験設備の図である。
【図4】 図4は、捕捉後コラーゲン再湿潤法用の試験設備の図である。
【図5】 図5は、構造の圧力下受容性及び圧力下貯蔵性を計測するために使用される装置の概略正面図である。
【図6】 図6は、構造の圧縮反転状態での保持性及び固定化を計測するために使用される装置の概略側面図である。
【図7】 図7は、一つの標準貯蔵エレメントの平面図である。
【図8】 図8は、構造のトランストップシート容量を計測するために使用される装置の概略正面図である。
Claims (10)
- 液体透過性トップシート、周囲が前記トップシートに少なくとも部分的に接合された液体不透過性バックシート、前記トップシートと液体貯蔵構造との中間に位置決めされた液体取り扱い構造を含み、この液体取り扱い構造は、実質的に疎水性ポリマー材料から成り、前記液体取り扱い構造は、この液体取り扱い構造の表面エネルギーを少なくとも40mN/mまで高めるのに十分な量の親水化剤を含み、前記液体取り扱い構造は、未圧縮状態のキャリパに対する坪量の比が1mm当り100g/m2 よりも小さい、使い捨て吸収物品において、前記液体取り扱い構造による、捕捉された液体の表面張力の減少は、本明細書中に開示した表面張力減少試験に従って15mN/mよりも小さく、前記液体取り扱い構造は、裏地及び繊維シートを含み、前記繊維シートは、間隔が隔てられた結合位置で前記裏地に固定部分を有し、前記シートの複数の円弧状部分が複数の結合位置間で前記裏地から突出している、ことを特徴とする使い捨て吸収物品。
- 液体透過性トップシート、周囲が前記トップシートに少なくとも部分的に接合された液体不透過性バックシート、前記トップシートと液体貯蔵構造との中間に位置決めされた液体取り扱い構造を含み、この液体取り扱い構造は、疎水性ポリマー繊維で実質的に形成された熱結合した不織材料であり、前記液体取り扱い構造は、この液体取り扱い構造の表面エネルギーを少なくとも40mN/mまで高めるのに十分な量の親水化剤を含む、使い捨て吸収物品において、前記液体取り扱い構造による、捕捉された液体の表面張力の減少は、本明細書中に開示した表面張力減少試験に従って15mN/mより小さく、前記液体取り扱い構造は、裏地及び繊維シートを含み、前記繊維シートは、間隔が隔てられた結合位置で前記裏地に固定部分を有し、前記シートの複数の円弧状部分が複数の結合位置間で前記裏地から突出している、ことを特徴とする使い捨て吸収物品。
- 請求項1又は2に記載の使い捨て吸収物品において、前記トップシートは、実質的に疎水性ポリマー材料から形成されており、前記トップシートは、前記トップシートの表面エネルギーを少なくとも40mN/mまで高めるのに十分な量の親水化剤を含み、前記トップシートの表面張力の減少は、本明細書中に開示した表面張力減少試験に従って15mN/mより小さい、使い捨て吸収物品。
- 請求項1又は2に記載の使い捨て吸収物品において、前記液体貯蔵構造は、少なくとも一つのラップシートを更に含み、このラップシートの表面張力の減少は、本明細書中に開示した表面張力減少試験に従って15mN/mより小さい、使い捨て吸収物品。
- 請求項1に記載の使い捨て吸収物品において、横方向中心線、第1領域、及び第2領域を更に含み、前記第1領域は前記横方向中心線の前方に位置決めされており、前記第1領域は、使用中に着用者の前胴部と接触し、前記第2領域は前記横方向中心線の後方に位置決めされており、前記第2領域は、使用中に着用者の後胴部と接触し、前記液体取り扱い構造の一部が前記第1領域に位置決めされ、前記液体取り扱い構造の一部が前記第2領域に位置決めされている、使い捨て吸収物品。
- 請求項1に記載の使い捨て吸収物品において、前記使い捨て吸収物品は、第1領域全製品捕捉性が第1の迸りで3.75ml/sより大きく且つ第4の迸りで0.5ml/sより大きい、使い捨て吸収物品。
- 請求項1に記載の使い捨て吸収物品において、前記使い捨て吸収物品は、前領域皮膚水和再湿潤値が120mgより小さい、使い捨て吸収物品。
- 請求項1に記載の使い捨て吸収物品において、前記トップシートは、少なくとも0.2mm2 の大きさの複数の孔を有する、使い捨て吸収物品。
- 請求項1に記載の使い捨て吸収物品において、前記トップシートは、12%よりも大きい開放領域を有する、使い捨て吸収物品。
- 請求項8又は9に記載の使い捨て吸収物品において、前記トップシートは不織材料層を有する、使い捨て吸収物品。
Applications Claiming Priority (3)
| Application Number | Priority Date | Filing Date | Title |
|---|---|---|---|
| EP99108658A EP1051959A1 (en) | 1999-05-14 | 1999-05-14 | Disposable absorbent article having reduced impact on surface tension of acquired liquid |
| EP99108658.8 | 1999-05-14 | ||
| PCT/US2000/012693 WO2000069380A1 (en) | 1999-05-14 | 2000-05-09 | Disposable absorbent article having reduced impact on surface tension of acquired liquid |
Publications (2)
| Publication Number | Publication Date |
|---|---|
| JP2002543922A JP2002543922A (ja) | 2002-12-24 |
| JP4808317B2 true JP4808317B2 (ja) | 2011-11-02 |
Family
ID=8238085
Family Applications (1)
| Application Number | Title | Priority Date | Filing Date |
|---|---|---|---|
| JP2000617839A Expired - Fee Related JP4808317B2 (ja) | 1999-05-14 | 2000-05-09 | 捕捉された液体の表面張力への影響が小さい使い捨て吸収物品 |
Country Status (11)
| Country | Link |
|---|---|
| EP (2) | EP1051959A1 (ja) |
| JP (1) | JP4808317B2 (ja) |
| AR (1) | AR020027A1 (ja) |
| AT (1) | ATE253882T1 (ja) |
| AU (1) | AU4997200A (ja) |
| CA (1) | CA2373020A1 (ja) |
| DE (1) | DE60006522T2 (ja) |
| MX (1) | MXPA01011663A (ja) |
| PE (1) | PE20001476A1 (ja) |
| TW (1) | TW446555B (ja) |
| WO (1) | WO2000069380A1 (ja) |
Families Citing this family (4)
| Publication number | Priority date | Publication date | Assignee | Title |
|---|---|---|---|---|
| EP1187588B1 (en) * | 1999-04-29 | 2006-08-02 | Paragon Trade Brands, Inc. | Absorbent article comprising topsheet with low surfactant or no synthetic surfactant |
| FR2848815B1 (fr) * | 2002-12-20 | 2005-03-18 | Procter & Gamble | Couche jetable. |
| US7655829B2 (en) | 2005-07-29 | 2010-02-02 | Kimberly-Clark Worldwide, Inc. | Absorbent pad with activated carbon ink for odor control |
| JP2014104109A (ja) * | 2012-11-27 | 2014-06-09 | Kao Corp | 吸収性物品のスキンケア効果の評価方法 |
Citations (9)
| Publication number | Priority date | Publication date | Assignee | Title |
|---|---|---|---|---|
| JPS6324944A (ja) * | 1986-07-18 | 1988-02-02 | ユニ・チヤ−ム株式会社 | 使い捨て吸収性物品 |
| JPH021266A (ja) * | 1987-10-16 | 1990-01-05 | Kimberly Clark Corp | 疎水性運搬層を有する吸収物 |
| JPH03251244A (ja) * | 1990-02-28 | 1991-11-08 | Uni Charm Corp | 吸収性物品 |
| JPH0489053A (ja) * | 1990-08-01 | 1992-03-23 | Kao Corp | 吸収性物品 |
| JPH04314742A (ja) * | 1990-12-17 | 1992-11-05 | Kimberly Clark Corp | ポリオレフィン物品及びその製造方法 |
| JPH05293137A (ja) * | 1992-04-23 | 1993-11-09 | Asahi Chem Ind Co Ltd | 吸液構造体 |
| JPH06228864A (ja) * | 1992-11-19 | 1994-08-16 | Kimberly Clark Corp | 湿潤性を向上したポリマ織物 |
| JPH10192342A (ja) * | 1996-12-28 | 1998-07-28 | Uni Charm Corp | 使い捨て着用吸収性物品 |
| JPH11500048A (ja) * | 1995-11-14 | 1999-01-06 | ザ、プロクター、エンド、ギャンブル、カンパニー | 減少した表面湿潤度を有する使い捨て吸収製品 |
Family Cites Families (7)
| Publication number | Priority date | Publication date | Assignee | Title |
|---|---|---|---|---|
| US3860003B2 (en) | 1973-11-21 | 1990-06-19 | Contractable side portions for disposable diaper | |
| EP0521016B1 (en) * | 1990-03-21 | 1995-06-28 | Fiberweb North America, Inc. | Nonwoven fabric for diaper top sheet and method of making same |
| US5151092A (en) | 1991-06-13 | 1992-09-29 | The Procter & Gamble Company | Absorbent article with dynamic elastic waist feature having a predisposed resilient flexural hinge |
| US5221274A (en) | 1991-06-13 | 1993-06-22 | The Procter & Gamble Company | Absorbent article with dynamic elastic waist feature having a predisposed resilient flexural hinge |
| US5554145A (en) | 1994-02-28 | 1996-09-10 | The Procter & Gamble Company | Absorbent article with multiple zone structural elastic-like film web extensible waist feature |
| US5676660A (en) * | 1995-02-08 | 1997-10-14 | Sanyo Chemical Industries, Ltd. | Absorbent product including absorbent layer treated with surface active agent |
| US5693037A (en) * | 1995-04-21 | 1997-12-02 | The Procter & Gamble Company | Absorbent articles having improved surfactant-treated hydrophilic topsheets |
-
1999
- 1999-05-14 EP EP99108658A patent/EP1051959A1/en not_active Withdrawn
-
2000
- 2000-05-09 JP JP2000617839A patent/JP4808317B2/ja not_active Expired - Fee Related
- 2000-05-09 WO PCT/US2000/012693 patent/WO2000069380A1/en not_active Ceased
- 2000-05-09 CA CA002373020A patent/CA2373020A1/en not_active Abandoned
- 2000-05-09 AT AT00932226T patent/ATE253882T1/de not_active IP Right Cessation
- 2000-05-09 AU AU49972/00A patent/AU4997200A/en not_active Abandoned
- 2000-05-09 MX MXPA01011663A patent/MXPA01011663A/es active IP Right Grant
- 2000-05-09 EP EP00932226A patent/EP1180995B1/en not_active Revoked
- 2000-05-09 DE DE60006522T patent/DE60006522T2/de not_active Revoked
- 2000-05-12 AR ARP000102317A patent/AR020027A1/es not_active Application Discontinuation
- 2000-05-12 TW TW089109158A patent/TW446555B/zh active
- 2000-05-15 PE PE2000000451A patent/PE20001476A1/es not_active Application Discontinuation
Patent Citations (9)
| Publication number | Priority date | Publication date | Assignee | Title |
|---|---|---|---|---|
| JPS6324944A (ja) * | 1986-07-18 | 1988-02-02 | ユニ・チヤ−ム株式会社 | 使い捨て吸収性物品 |
| JPH021266A (ja) * | 1987-10-16 | 1990-01-05 | Kimberly Clark Corp | 疎水性運搬層を有する吸収物 |
| JPH03251244A (ja) * | 1990-02-28 | 1991-11-08 | Uni Charm Corp | 吸収性物品 |
| JPH0489053A (ja) * | 1990-08-01 | 1992-03-23 | Kao Corp | 吸収性物品 |
| JPH04314742A (ja) * | 1990-12-17 | 1992-11-05 | Kimberly Clark Corp | ポリオレフィン物品及びその製造方法 |
| JPH05293137A (ja) * | 1992-04-23 | 1993-11-09 | Asahi Chem Ind Co Ltd | 吸液構造体 |
| JPH06228864A (ja) * | 1992-11-19 | 1994-08-16 | Kimberly Clark Corp | 湿潤性を向上したポリマ織物 |
| JPH11500048A (ja) * | 1995-11-14 | 1999-01-06 | ザ、プロクター、エンド、ギャンブル、カンパニー | 減少した表面湿潤度を有する使い捨て吸収製品 |
| JPH10192342A (ja) * | 1996-12-28 | 1998-07-28 | Uni Charm Corp | 使い捨て着用吸収性物品 |
Also Published As
| Publication number | Publication date |
|---|---|
| AR020027A1 (es) | 2002-03-27 |
| PE20001476A1 (es) | 2001-02-24 |
| ATE253882T1 (de) | 2003-11-15 |
| CA2373020A1 (en) | 2000-11-23 |
| EP1180995A1 (en) | 2002-02-27 |
| MXPA01011663A (es) | 2002-06-04 |
| AU4997200A (en) | 2000-12-05 |
| DE60006522D1 (de) | 2003-12-18 |
| WO2000069380A1 (en) | 2000-11-23 |
| TW446555B (en) | 2001-07-21 |
| EP1180995B1 (en) | 2003-11-12 |
| JP2002543922A (ja) | 2002-12-24 |
| EP1051959A1 (en) | 2000-11-15 |
| DE60006522T2 (de) | 2004-09-23 |
Similar Documents
| Publication | Publication Date | Title |
|---|---|---|
| US6010491A (en) | Viscous fluid bodily waste management article | |
| US6849065B2 (en) | Liquid removal system having improved dryness of the user facing surface | |
| KR100308550B1 (ko) | 제어된피부수화효과를갖는일회용흡수제품 | |
| US5977430A (en) | Absorbent article with macro-particulate storage structure | |
| US5957906A (en) | Diaper with improved feces management properties | |
| CA2372877C (en) | Disposable absorbent article having hydrophobic topsheet and improved liquid handling performance | |
| US6703537B1 (en) | Absorbent article having improved fecal storage structure | |
| US6706946B1 (en) | Disposable absorbent article having hydrophobic topsheet and improved liquid handling performance | |
| US6156020A (en) | Absorbent article with micro-particulate storage member | |
| HU221144B1 (en) | Disposable absorbent article having reduced wet through equipped with a breathable backsheet and method making thereof | |
| JPH09501588A (ja) | 低粘度糞便を貯蔵する能力を有する使い捨て吸収物品 | |
| RU2493878C1 (ru) | Основа, содержащая композицию в виде лосьона, ограничивающая прилипание фекалий или менструальных выделений к коже | |
| US7033340B1 (en) | Disposable absorbent article having reduced impact on surface tension of acquired liquid | |
| JP3245176B2 (ja) | 液体接触角勾配および穿孔バックシート層を有する吸収性製品 | |
| JP4554089B2 (ja) | 低粘性液体取り扱いと高粘性液体取り扱いとを組み合わせた使い捨て吸収物品 | |
| JP4808317B2 (ja) | 捕捉された液体の表面張力への影響が小さい使い捨て吸収物品 | |
| US6635801B1 (en) | Disposable absorbent article combining low viscosity liquid handling and high viscosity liquid handling |
Legal Events
| Date | Code | Title | Description |
|---|---|---|---|
| A621 | Written request for application examination |
Free format text: JAPANESE INTERMEDIATE CODE: A621 Effective date: 20070410 |
|
| A977 | Report on retrieval |
Free format text: JAPANESE INTERMEDIATE CODE: A971007 Effective date: 20090624 |
|
| A131 | Notification of reasons for refusal |
Free format text: JAPANESE INTERMEDIATE CODE: A131 Effective date: 20090630 |
|
| A601 | Written request for extension of time |
Free format text: JAPANESE INTERMEDIATE CODE: A601 Effective date: 20090930 |
|
| A602 | Written permission of extension of time |
Free format text: JAPANESE INTERMEDIATE CODE: A602 Effective date: 20091007 |
|
| A601 | Written request for extension of time |
Free format text: JAPANESE INTERMEDIATE CODE: A601 Effective date: 20091030 |
|
| A602 | Written permission of extension of time |
Free format text: JAPANESE INTERMEDIATE CODE: A602 Effective date: 20091109 |
|
| A601 | Written request for extension of time |
Free format text: JAPANESE INTERMEDIATE CODE: A601 Effective date: 20091130 |
|
| A602 | Written permission of extension of time |
Free format text: JAPANESE INTERMEDIATE CODE: A602 Effective date: 20091207 |
|
| A521 | Request for written amendment filed |
Free format text: JAPANESE INTERMEDIATE CODE: A523 Effective date: 20100104 |
|
| A131 | Notification of reasons for refusal |
Free format text: JAPANESE INTERMEDIATE CODE: A131 Effective date: 20100903 |
|
| A601 | Written request for extension of time |
Free format text: JAPANESE INTERMEDIATE CODE: A601 Effective date: 20101203 |
|
| A602 | Written permission of extension of time |
Free format text: JAPANESE INTERMEDIATE CODE: A602 Effective date: 20101210 |
|
| A521 | Request for written amendment filed |
Free format text: JAPANESE INTERMEDIATE CODE: A523 Effective date: 20110104 |
|
| TRDD | Decision of grant or rejection written | ||
| A01 | Written decision to grant a patent or to grant a registration (utility model) |
Free format text: JAPANESE INTERMEDIATE CODE: A01 Effective date: 20110722 |
|
| A01 | Written decision to grant a patent or to grant a registration (utility model) |
Free format text: JAPANESE INTERMEDIATE CODE: A01 |
|
| A61 | First payment of annual fees (during grant procedure) |
Free format text: JAPANESE INTERMEDIATE CODE: A61 Effective date: 20110817 |
|
| FPAY | Renewal fee payment (event date is renewal date of database) |
Free format text: PAYMENT UNTIL: 20140826 Year of fee payment: 3 |
|
| R150 | Certificate of patent or registration of utility model |
Free format text: JAPANESE INTERMEDIATE CODE: R150 |
|
| R250 | Receipt of annual fees |
Free format text: JAPANESE INTERMEDIATE CODE: R250 |
|
| R250 | Receipt of annual fees |
Free format text: JAPANESE INTERMEDIATE CODE: R250 |
|
| R250 | Receipt of annual fees |
Free format text: JAPANESE INTERMEDIATE CODE: R250 |
|
| R250 | Receipt of annual fees |
Free format text: JAPANESE INTERMEDIATE CODE: R250 |
|
| LAPS | Cancellation because of no payment of annual fees |
