JP4751440B2 - 近視野光プローブとその製造方法、およびその近視野光プローブを用いた近視野光装置 - Google Patents

近視野光プローブとその製造方法、およびその近視野光プローブを用いた近視野光装置 Download PDF

Info

Publication number
JP4751440B2
JP4751440B2 JP2008322798A JP2008322798A JP4751440B2 JP 4751440 B2 JP4751440 B2 JP 4751440B2 JP 2008322798 A JP2008322798 A JP 2008322798A JP 2008322798 A JP2008322798 A JP 2008322798A JP 4751440 B2 JP4751440 B2 JP 4751440B2
Authority
JP
Japan
Prior art keywords
field optical
light
optical probe
tip
field
Prior art date
Legal status (The legal status is an assumption and is not a legal conclusion. Google has not performed a legal analysis and makes no representation as to the accuracy of the status listed.)
Expired - Fee Related
Application number
JP2008322798A
Other languages
English (en)
Other versions
JP2009058534A (ja
Inventor
隆 新輪
健二 加藤
宣行 笠間
学 大海
靖幸 光岡
進 市原
Current Assignee (The listed assignees may be inaccurate. Google has not performed a legal analysis and makes no representation or warranty as to the accuracy of the list.)
Seiko Instruments Inc
Original Assignee
Seiko Instruments Inc
Priority date (The priority date is an assumption and is not a legal conclusion. Google has not performed a legal analysis and makes no representation as to the accuracy of the date listed.)
Filing date
Publication date
Application filed by Seiko Instruments Inc filed Critical Seiko Instruments Inc
Priority to JP2008322798A priority Critical patent/JP4751440B2/ja
Publication of JP2009058534A publication Critical patent/JP2009058534A/ja
Application granted granted Critical
Publication of JP4751440B2 publication Critical patent/JP4751440B2/ja
Anticipated expiration legal-status Critical
Expired - Fee Related legal-status Critical Current

Links

Images

Landscapes

  • Length Measuring Devices By Optical Means (AREA)

Description

この発明は、試料の微細領域における光学特性を観察、計測、加工する近視野光プローブとその製造方法に関する。
現在、 走査型近視野顕微鏡(以下、SNOMと略す)では、先鋭化された先端に微小開口を有する光媒体をプローブとして用い、先端および微小開口を光の波長以下まで測定試料に近づけることで、試料の光学特性や形状を高分解能で測定している。この装置では、試料に対して垂直に保持した直線状の光ファイバープローブの先端を、試料表面に対して水平に振動させ、試料表面とプローブ先端のせん断力によって生じる振動振幅の変化の検出を、プローブ先端にレーザ光を照射し、その影の変化を検出することによって行い、振幅が一定になるように試料を微動機構で動かすことによってプローブ先端と試料表面の間隔を一定に保ち、微動機構に入力した信号強度から表面形状を検出するとともに試料の光学特性の測定を行う装置が提案されている。
また、鈎状に成形した光ファイバープローブを原子間力顕微鏡(以下AFMと略す)のカンチレバーとして使用し、AFM動作すると同時に光ファイバープローブの先端から試料にレーザ光を照射し、表面形状を検出するとともに試料の光学特性の測定を行う走査型近視野原子間力顕微鏡が提案されている(特開平7−174542号公報)。図16は、従来例の光ファイバープローブを示す構成図である。この光ファイバープローブは、周囲が金属膜被覆502で覆われた光ファイバー501を用いている。また、探針部503が先鋭化されており、探針部503の先端に開口504を有する。
一方、微細領域の形状観察手段として利用されているAFMでは、シリコンプロセスで製造されたシリコンや窒化シリコンのマイクロカンチレバーが広く利用されている。AFMで使用されるマイクロカンチレバーは共振周波数が高く、量産性が良く形状のばらつきが少ないため、バネ定数や共振周波数などの機械的特性が均一であるという特徴を有している。AFMで使用されるマイクロカンチレバーのチップ先端に微小開口を形成することによって、図17に示すように、チップ505、レバー506、基部507、微小開口508および遮光膜509からなるSNOM用プローブが知られている(S. StateplaceMunster et. al., Novel micromachined cantilever sensors for scanning near-field optical microscopy, Journal of Microscopy, vol.186, pp17-22, 1997)。ここで、チップ505およびレバー506は窒化珪素やシリコンで形成されている。このSNOM用プローブに図17中Lightで示されるように光を入射することによって、微小開口508から近視野光を照射することができる。
しかしながら、図16に示す従来の光ファイバープローブは、一本ずつ手作りで作製されるため量産性が悪い。また、光ファイバー501を光伝搬体として用いているため、波長による伝搬特性の差が大きく、分光分析に用いることが困難である。
また、図17に示したSNOM用プローブは、シリコンプロセスによって大量生産が容易であるが、チップ部分の窪みに空気中の埃をはじめとする異物が侵入しやすいため、微小開口から照射される近視野光の強度が安定しない問題があった。また、チップの位置がカンチレバーの先端に形成されている場合、微小開口に光を導入する際に入射光のスポットがカンチレバーからはみ出してしまい、また、試料からの光信号を微小開口によって検出する際には、チップ先端部分以外の光信号を検出してしまう。したがって、SNOMの光像のS/N比が悪くなるという問題があった。また、シリコンの異方性エッチングによって形成したモールドを用いてチップを形成するため、チップ先端の先端角が約70゜と固定されてしまうため、微小開口から照射される近視野光の強度を大きくできないといった問題がある。また、レバー506やチップ505は、入射光や微小開口で検出した光の波長に対する反射率が小さい材料で構成される。図17に示したSNOM用プローブは、それらの構造材料が光路中にあるため、入射光や検出光の強度が構造材料上で反射することによって減衰し、微小開口508から照射される近視野光および微小開口508で検出した光の強度が小さくなるという問題もあった。
そこで、この発明は、上記に鑑みてなされたものであって、微小開口から光を照射および/または検出するSNOM用光カンチレバーであって、量産性、均一性に優れており、チップ部分に異物が侵入せずに安定した近視野光の強度が得られ、漏れ光を遮断して光像のS/N比を向上させ、大きな近視野光強度を得ることができる前記近視野光プローブとその製造方法を提供することを目的とする。
そこで、本発明では、近視野光を発生および/あるいは検出することで、試料の微小領域における光学情報を観察、計測する近視野光プローブにおいて、カンチレバーと、カンチレバーを支持する基部と、カンチレバーの基部とは反対側の面に形成された錘状のチップと、チップの先端に形成された微小開口と、カンチレバーの基部とは反対側の面と、チップの微小開口以外の部分に形成された遮光膜からなり、チップとカンチレバーが微小開口において発生および/あるいは検出する光の波長に対して透過率の高い透明材料を用いて形成され、チップが透明材料で充填されている構成とした。したがって、本発明の近視野光プローブは、微小開口に光を導入することによって試料に対して近視野光を照射すること、または/および、微小開口によって試料の微小領域における光学情報を検出することが可能である。
また、チップが透明材料で充填されているため、チップに異物が侵入することがなく、安定した強度をもつ近視野光の照射または/及び検出を行うことができる。さらに、透明体の屈折率は、空気の屈折率よりも大きいため、微小開口を透過する近視野光の光量を多くすることができる。
また、チップとカンチレバーが同一の透明材料で形成されている構成とした。したがって、チップとカンチレバーの界面における反射がないため、効率よく微小開口への光入射や微小開口からの光情報の検出を行うことができる。また、製造工程において一度に透明材料を形成することができるため、製造方法が容易になる。さらに、透明材料が、二酸化ケイ素である構成とした。二酸化ケイ素は、可視光領域において透過率が高い材料の一つであるため、効率よく近視野光を発生したり検出することができる。また、二酸化ケイ素は、シリコンプロセスにおいて一般的に使用される材料であるため、形状制御性が良く、かつ、量産性が良い。
また、チップとカンチレバーを光学的特性が異なる透明材料で形成する構成とした。したがって、例えばカンチレバーを二酸化ケイ素で形成し、チップをダイヤモンドで形成すると、二酸化ケイ素の加工性の良さにより、カンチレバーの共振周波数などの機械的特性を精度よく制御でき、かつ、ダイヤモンドの耐摩耗性の良さによってチップの耐摩耗性を向上させることができる。さらに、透明材料において、ダイヤモンドは透過率が高く、屈折率が非常に大きな材料の一つであり、微小開口を透過する近視野光の光量を多くすることができる。
また、チップが円錐形状である構成とした。したがって、微小開口の外形が円となり、入射光の偏光特性を制御することにより、任意の偏光特性をもつ近視野光を前記微小開口から照射することができる。
また、チップが錘体の側面の角度が異なる複数の錘体からなる構成とした。したがって、チップの先端角を小さくし、チップの途中までのテーパー角を大きくすることによって、凹凸像と光像の高分解能化と近視野光の高発生効率を同時に満たす前記近視野光プローブを提供することができる。同様に、微小開口によって試料の微小領域における光学情報を検出するコレクションモードにおいても、検出効率を向上させることが可能である。
カンチレバーに、微小開口に入射光を集光するためのまたは/および微小開口で検出した光をコリメートするためのレンズを備えている構成とし、レンズが、カンチレバーの基部側に形成されたフレネルレンズやカンチレバー内の屈折率分布を制御して形成される屈折率分布型レンズである構成とした。したがって、微小開口に入射する光量を大きくする事ができるため、微小開口から照射される近視野光の強度を大きくすることができる。また、微小開口によって検出された光をコリメートし、集光レンズによって検出器に導くことによって、試料の光学情報を効率よく検出することができる。
また、チップの先端が遮光膜の端面と略同一平面内に位置する構成とした。したがって、微小開口と試料の距離を非常に短くすることができるため、微小開口から照射または/および微小開口によって検出される近視野光を効率よく伝搬光に変換することができ、光学像のS/N比を向上させることができる。また、光学像の分解能が向上する。
また、チップの先端が遮光膜の端面よりも突出しており、その突出量が、微小開口への入射光、または/及び、微小開口で検出した光の波長の半分以下である構成とした。したがって、チップの先端半径が小さいため、走査型プローブ顕微鏡の凹凸像や光像の解像度を向上させることができる。さらに、チップの先端と微小開口の中心位置が一致するため凹凸像と光像の位置ずれ非常に小さい。
また、チップの高さをH、カンチレバーの傾斜角度をθ1、チップへの入射光のカンチレバー上でのスポット径または/および微小開口によって検出し、検出器に入射する光のカンチレバー上でのスポット径をR1、チップの中心からカンチレバーの自由端までの距離をL1としたとき、
R1 < L1 < H/tanθ1
を満たすL1を有する構成とした。また、カンチレバーの先端が、チップ側から基部側に広がるような傾斜部を有している構成とした。また、カンチレバーの側面が、チップ側から基部側に広がるような傾斜部を有している構成とした。さらに、カンチレバーの先端に、基部側に突出するように形成された薄板状の連結部が形成され、連結部からカンチレバーと略平行に伸びる薄板状のひさし部が形成されている構成とした。
このような構成により、チップの先端が試料に近接でき、かつ、入射光、または/および、微小開口で検出した光以外を完全に遮光することができるため、凹凸像と光像を安定して取得することができる。
また、前記近視野光プローブはシリコンプロセスを用いて作製できるため、量産性が高く、形状再現性もよい。また、近視野光プローブの製造工程において、前記カンチレバーの外形を形成する工程が前記傾斜部を形成するための等方性エッチングを含むこととした。また、前記近視野光プローブの製造工程において、前記連結部と前記ひさし部を形成する工程が、基板に段差を形成する工程と、前記基板に前記透明材料を堆積する工程を含む工程とした。したがって、前記近視野光プローブを容易に製造できる。
また、近視野光プローブを用いる近視野光装置において、微小開口へ光を導入あるいは微小開口からの光を検出する導入/検出光学系と、微小開口と試料との距離を検出する検出手段と、試料および/あるいは近視野光プローブを微動させる微動機構を有し、検出手段が光てこ法を用い、導入/検出光学系のレンズと検出手段のミラーとが一体化している構成とした。
また、近視野光プローブを用いる近視野光装置において、微小開口へ光を導入あるいは微小開口からの光を検出する導入/検出光学系と、微小開口と試料との距離を検出する検出手段と、試料および/あるいは近視野光プローブを微動させる微動機構を有し、検出手段がカンチレバーと略垂直な面内に光源と光検出器を有する構成とした。
また、光検出器が光源から出射した光のカンチレバーでの反射光を検出する構成とした。
また、光検出器が光源から出射した光のカンチレバーでの回折光を検出する構成とした。
従って、検出手段と前記導入/検出光学系とが干渉することなく、大きなNAを有する導入/検出光学系を用いることができるため、微小開口から光強度の大きな近視野光を出射することや、逆に、微小開口からの光を効率よく検出することが可能となる。
また、近視野光プローブを用いる近視野光装置において、微小開口へ光を導入あるいは微小開口からの光を検出する導入/検出光学系と、微小開口と試料との距離を検出する検出手段と、試料および/あるいは近視野光プローブを微動させる微動機構を有し、検出手段がカンチレバーに接近して配置された光ファイバーとカンチレバー間での干渉を検出する構成とした。
また、近視野光プローブを用いる近視野光装置において、微小開口へ光を導入あるいは微小開口からの光を検出する導入/検出光学系と、微小開口と試料との距離を検出する検出手段と、試料および/あるいは近視野光プローブを微動させる微動機構を有し、検出手段が近視野光プローブに設けられたカンチレバーの変位検出手段である構成とした。
従って、検出手段と導入/検出光学系とが干渉することなく、大きなNAを有する導入/検出光学系を用いることができるため、微小開口から光強度の大きな近視野光を出射することや、逆に、微小開口からの光を効率よく検出することが可能となる。その上、検出手段が小型軽量であるため、近視野光プローブを微動機構で高速に動かすことが可能となる。
また、近視野光プローブを用いる近視野光装置において、微小開口へ光を導入あるいは微小開口からの光を検出する導入/検出光学系と、微小開口と試料との距離を検出する検出手段と、試料および/あるいは近視野光プローブを微動させる微動機構を有し、導入/検出光学系が先端にレンズ機能を設けた光ファイバーを有する構成とした。
従って、検出手段と導入/検出光学系とが干渉することなく、微小開口から光強度の大きな近視野光を出射することや、逆に、微小開口からの光を効率よく検出することが可能となる。その上、導入/検出光学系が非常に小型軽量であるため、近視野光プローブを微動機構で高速に動かすことが可能となる。
また、カンチレバー上に、カンチレバーの固定端よりも自由端側に、前記チップとは別の凸部を有することを特徴とする近視野光プローブとした。また、凸部が、カンチレバー上の前記チップが形成された側の前記チップよりも固定端側に形成されていることを特徴とする近視野光プローブとした。
したがって、近視野光プローブ共振周波数を低くすることができ、光像のS/N比を向上させることができる。また、バネ定数を大きくすることができるために、遮光領域を設けたことで生じるエアダンピングによる影響を低減でき、安定した動作特性を有する近視野光プローブが得られる。
また、前記凸部が、カンチレバー上の前記チップが形成された側と反対側に形成されていることを特徴とする近視野光プローブとした。
したがって、起伏の大きな試料の観察において、前記凸部が試料と接触することがない近視野光プローブが得られる。
また、近視野光プローブの製造工程において、前記凸部と前記チップを同時に形成する工程を含むこととした。近視野光プローブの製造工程において、凸部を形成するための型を形成する工程と、型に凸部となる材料を堆積する工程と、凸部となる材料を平坦化し型に凸部となる材料を埋め込む工程と、凸部となる材料が埋め込まれた基板上にチップを形成する工程を含むことした。また、前記凸部となる材料を平坦化し型に凸部となる材料を埋め込む工程が、研磨工程であることとした。
したがって、共振周波数が低く、バネ定数の大きな近視野光プローブを大量生産性良く製造する事ができ、近視野光プローブを安価で提供することができる。
以上説明したように、本発明の第一の実施例によれば、微小開口の上部が透明体で充填された構造であるため、微小開口に異物が侵入することがない。したがって、近視野光プローブから発生する近視野光の強度が安定する。また、入射光または/および検出光の波長に対して透明な材料によって充填されたチップによって、チップの耐衝撃性や、耐摩耗性が向上する。また、チップを構成する材料の屈折率は、空気よりも大きいため、チップ内を伝搬する光の波長が空気中よりも短くなる。したがって、空気中を伝搬して微小開口を透過する場合よりも、微小開口を透過する光量が多くなるため、微小開口から照射される近視野光の強度を大きくすることができる。また、チップをダイヤモンドによって形成することによって、チップの耐摩耗性が向上し、さらに、屈折率が高いため微小開口から照射される近視野光の強度を大きくすることができる。また、チップの先端が遮光膜の端面よりも突出した構造である場合、チップの先端半径が小さいため、走査型プローブ顕微鏡の凹凸像や光像の解像度を向上させることができる。また、チップの先端が遮光膜の端面よりも突出した構造の場合、チップの先端と微小開口の中心位置が一致するため、凹凸像と光像の位置ずれ非常に小さい。また、近視野光プローブが式(4)を満たすL1を持つ場合、チップの先端が常に試料と接触し、かつ、入射光または/および検出光以外の漏れ光を完全に遮光することができるため、凹凸像と光像を安定して取得することができる。また、近視野光プローブに光を入射または/および近視野光プローブから光を検出するためのレンズのNAを大きくしても、レバーが透明体であるため、チップに入射または/およびチップから検出する光のケラレがないため、効率良く微小開口まで入射光を導くこと、または/および微小開口から検出光を検出することができ、微小開口から照射される近視野光の発生効率および/または微小開口における検出効率を大きくすることができる。また、透明体であるレバーおよびチップを伝搬して微小開口から近視野光を発生させる、または/および、微小開口において試料の光学情報を検出する近視野光プローブは、入射光の波長に対して透過率の高い波長領域が広い。したがって、分光分析などの応用分野に走査型プローブ顕微鏡を使用することができる。また、強度の大きな近視野光を発生させることができるため、フォトリソグラフィー、光造形、光CVD、熱的加工などに必要なエネルギー密度を持つ近視野光を照射することができ、光加工装置として走査型プローブ顕微鏡を用いることができ、同時に、凹凸像の分解能の高い近視野光プローブを用いて加工形状の観察を行うことができる。分光分析や加工装置としての走査型プローブ顕微鏡は、近視野光プローブから発生する近視野光の強度、または/および、微小開口における光情報の検出効率が大きいため、分析や加工にかかる時間を短くすることができる。また、近視野光プローブをマルチカンチレバーにすることによって、大面積を短時間で分析、加工することができる。
以下、本発明の近視野光デバイスとその製造方法について、添付の図面を参照して詳細に説明する。
(実施例1)
図1は、本発明の実施例1に係る近視野光プローブ1000の概略図である。本発明による近視野光プローブ1000は、チップ1、レバー2、基部3、遮光膜4、および微小開口5を備えている。錘状のチップ1および薄板の片持ち梁であるレバー2は一体に形成されており、チップ1は基部3から真っ直ぐに突き出たレバー2上に基部3とは反対側の面に形成される。遮光膜4はレバー2の基部3とは反対の面とチップ1の表面に形成される。レバー2の基部3とは反対の面すべてに遮光膜4を形成する必要は無いが、その方が好ましい。微小開口5は、チップ1の遮光膜4が無い部分である。チップ1の頂点は遮光膜4の端面よりも突出している。また、チップ1の先端は、遮光膜4の端面と同一平面内に位置していても良い。近視野光プローブ1000に外部から入射光999を導入することによって、近視野光プローブ1000は、微小開口5から近視野光を照射することができる。また、微小開口5によって、試料の光情報を検出することも可能である。さらに、微小開口5からの近視野光照射と微小開口での試料の光情報の検出を同時に行うことも可能である。
チップ1およびレバー2は、走査型近視野顕微鏡で用いられる入射光999の波長に対して透明な材料で形成される。入射光999の波長が可視領域の場合、二酸化珪素やダイヤモンドなどの誘電体や、ポリイミドをはじめとするポリマーがある。また、入射光999の波長が紫外領域では、チップ1およびレバー2の材料として、二フッ化マグネシウムや二酸化珪素などの誘電体がある。また、入射光999の波長が赤外領域の場合、チップ1およびレバー2の材料として、ジンクセレンやシリコンなどがある。基部3の材料は、シリコンや二酸化珪素などの誘電体や、アルミニウムやチタンなどの金属である。遮光膜4の材料は、アルミニウムや金などの入射光999、または/および、微小開口5によって検出した光の波長に対する遮光率の高い材料で形成される。
チップ1の高さは、数μm〜10数μmである。レバー2の長さは数十μmから数千μmである。また、レバー2の厚みは、数μm程度である。遮光膜4の厚さは遮光率によって異なるが、数十nmから数百nmである。図1中、下面からみた微小開口5の大きさおよび形状は、直径が入射光999、または/および、微小開口5によって検出した光の波長以下の円、または、その円に内接する多角形である。
図2に、近視野光プローブ1000のチップ1の近傍が試料6に近接した状態を示した側面図を示す。なお、簡単のため遮光膜4は省略している。近視野光プローブ1000は、角度θ1だけ傾いた状態で試料6に近接している。ここで、チップ1の高さをH、チップ1の先端からレバー2の先端までの距離をL1とすると、
L1 = H/tanθ1 …(1)
の時に、チップ1とレバー2の先端が同時に試料6に接触するため、走査型プローブ顕微鏡用のプローブとして使用することができない。従って、近視野光プローブ1000は、
L1 < H/tanθ1 …(2)
を満たさなければならない。入射光999を近視野光プローブ1000に入射する際に、光信号のS/N比を向上させるためには、入射光999のレバー2上でのスポットの半径をR1とすると、
R1 < L1 …(3)
を満たす遮光領域を設けなければならない。従って、L1は、
R1 < L1 < H/tanθ1 …(4)
を満たさなければならない。
本発明の実施例1に関わる近視野光プローブ1000を搭載した走査型プローブ顕微鏡20000の構成を図3に示す。ここでは簡単のため近視野光プローブ1000をコンタクトモードで制御する場合について説明する。この走査型プローブ顕微鏡20000は、図1に示した近視野光プローブ1000と、光情報測定用の光源601と、光源601の前面に配置したレンズ602と、レンズ602で集光した光を近視野光プローブ1000まで伝搬する光ファイバ603と、試料610の下方に配置されチップ10の先端で発生した伝搬光を反射するプリズム611と、プリズム611で反射した伝搬光を集光するレンズ614と、集光した伝搬光を受光する光検出部609と、を備えている。
また、近視野光プローブ1000の上方には、レーザ光を出力するレーザ発振器604と、近視野光プローブ1000のレバーと遮光膜の界面で反射したレーザ光を反射するミラー605と、反射したレーザ光を受光して光電変換する上下2分割した光電変換部606とを備えている。さらに、試料610およびプリズム611をXYZ方向に移動制御する粗動機構613および微動機構612と、これら粗動機構613および微動機構612を駆動するサーボ機構607と、装置全体の制御をするコンピュータ608とを備えている。
つぎに、この走査型プローブ顕微鏡20000の動作について説明する。レーザ発振器604から放出したレーザ光は、近視野光プローブ1000のレバーと遮光膜の界面で反射する。近視野光プローブ1000のレバーは、微小開口と試料610の表面が接近すると、試料610との間の引力または斥力によってたわむ。このため、反射したレーザ光の光路が変化することとなり、これを光電変換部606で検出する。
光電変換部606により検出された信号は、サーボ機構607に送られる。サーボ機構607は、光電変換部606で検出した信号に基づいて、試料610に対する近視野光プローブ1000のアプローチや、表面の観察の際に、近視野光プローブ1000のたわみが一定となるように、粗動機構613および微動機構612を制御する。コンピュータ608は、サーボ機構607の制御信号から表面形状の情報を受け取る。
また、光源601から放出された光はレンズ602により集光され、光ファイバ603に至る。光ファイバ603内を伝搬した光は、近視野光プローブ1000のチップにレバーを通して導入され、微小開口から試料610に照射される。一方、プリズム611により反射した試料610の光学的情報は、レンズ614により集光され、光検出部609に導入される。光検出部609の信号は、コンピュータ608のアナログ入力インタフェースを介して取得され、コンピュータ608により光学的情報として検出される。なお、チップへの光入射方法は、光ファイバ603を用いずに、光源601から放出された光をレンズによって直接チップ上へ集光して入射光を導入する方法でも良い。
また、ここでは主に、近視野光プローブ1000に光を入射し、微小開口5から試料に近視野光を照射するイルミネーションモードについて説明したが、試料6の表面に発生した近視野光を微小開口5によって検出するコレクションモードにおいても、近視野光プローブ1000を用いることができる。また、イルミネーションモードとコレクションモードを同時に行う観察方法においても、近視野光プローブ1000を用いることができるのは、言うまでもない。さらに、図2では、試料6を透過した光を検出する透過モードについて説明したが、試料6で反射した光を検出する反射モードにおいても近視野光プローブ1000を用いることができる。また、近視野光プローブ1000をバイモルフなどで加振することによって、レバー2を振動させ、チップ1と試料6との間に働く斥力や引力によって生じる、レバー2の振幅の変化や、レバー2の振動の周波数変化を一定に保つようにチップ1と試料6との距離を制御するダイナミックフォースモードでも近視野光プローブ1000を用いる事ができるのは言うまでもない。
以上説明したように、実施例1の近視野光プローブ1000によれば、微小開口5の上部が透明体で充填された構造であるため微小開口5に異物が侵入することがない。したがって、近視野光プローブ1000から発生する近視野光の強度が安定する。また、走査型近視野顕微鏡で用いられる光源の波長に対して透明な材料によって充填されたチップ1によって、チップ1の耐衝撃性や、耐摩耗性が向上する。また、チップ1を構成する材料の屈折率は空気よりも大きいため、チップ1内を伝搬する光の波長が空気中よりも短くなる。したがって、空気中を伝搬して微小開口5を透過する場合よりも、微小開口5を透過する光量が多くなるため、微小開口5から照射される近視野光の強度を大きくすることができる。また、チップ1の先端が遮光膜4の端面よりも突出した構造である場合、チップ1の先端半径が小さいため、走査型プローブ顕微鏡の凹凸像や光像の解像度を向上させることができる。さらに、チップ1の先端と微小開口5の中心位置が一致するため、凹凸像と光像の位置ずれ非常に小さい。また、L1が式(4)を満たすことによって、チップ1の先端が試料に近接し、かつ、入射光999を完全に遮光することができるため、凹凸像と光像を安定して取得することができる。また、走査型近視野顕微鏡1000に光を入射するためのレンズのNAを大きくしても、レバー2が透明体であるため、チップ1に入射する光のケラレがないため、効率良く微小開口5まで入射光を導くことができ、微小開口5から照射される近視野光の発生効率を大きくすることができる。また、レンズによって集光され透明体であるレバー2およびチップ1を伝搬して微小開口5から近視野光を発生させる近視野光プローブ1000は、入射光の波長に対して透過率の高い波長領域が広い。したがって、分光分析などの応用分野に走査型プローブ顕微鏡20000を使用することができる。また、強度の大きな近視野光を発生させることができるため、フォトリソグラフィー、光造形、光CVD、熱的加工などに必要なエネルギー密度を持つ近視野光を照射することができ、光加工装置として走査型プローブ顕微鏡20000を用いることができ、同時に、凹凸像の分解能の高い近視野光プローブ1000を用いて加工形状の観察を行うことができる。分光分析や加工装置としての走査型プローブ顕微鏡20000は、近視野光プローブ1000から発生する近視野光の強度が大きいため、分析や加工にかかる時間を短くすることができる。また、近視野光プローブ1000をマルチカンチレバーにすることによって、大面積を短時間で分析、加工することができる。
次に、本発明の実施例1による近視野光プローブ1000の製造方法を、図4と図5に基づいて説明する。
図4(a)は、基板102上にチップ1およびレバー2となる透明体101を堆積した状態を示している。なお、以下では、図の上部をおもて面、下部を裏面と呼ぶ。裏面にマスク材103を有する基板102上に、プラズマCVDやスパッタなどによって透明体101を堆積する。透明体101の堆積量はチップ1の高さとレバー2の厚みの和程度、あるいは若干厚めである。
透明体101を堆積した後、図4(b)に示すように、透明体101上に、チップ用マスク104をフォトリソグラフィー等の方法で形成する。チップ用マスク104にはフォトレジストやポリイミドなどの誘電体が用いられる。
チップ用マスク104を形成した後、ウエットエッチングやドライエッチングなどの等方性エッチングによって、図4(c)に示すようにチップ1を形成する。
チップ1を形成した後、図5(a)に示すように、透明体101上にレバー用マスク105を形成する。
レバー用マスク105を形成した後、図5(b)に示すように、リアクティブイオンエッチング(RIE)等の異方性ドライエッチングによって、レバー2を形成する。
レバー2を形成した後、フォトリソグラフィーによってマスク材103をパターニングする。その後、水酸化テトラメチルアンモニウム(TMAH)や水酸化カリウム(KOH)による結晶異方性エッチングや、異方性ドライエッチングなどによって、図5(c)に示すように、レバー2のリリースと基部3の形成を行う。
最後に、遮光膜4をおもて面に堆積し、遮光膜4の不要な部分を集束イオンビームや観察時にチップ1を試料に押しつけることによって取り除き、図5(d)に示すように、微小開口5を形成し、近視野光プローブ1000を得ることができる。
以上説明した製造方法によれば、本発明の実施例1に係る近視野光プローブ1000を製造することができる。また、上述した製造方法ではシリコンプロセスを用いているため、近視野光プローブを大量に、再現性良く製造することができる。従って、近視野光プローブ1000を安価に提供することができる。また、レバー2を小型化することが容易であるため、近視野光プローブのレバー2の共振周波数を高くすると同時にバネ定数を小さくすることができる。従って、走査型プローブ顕微鏡において、チップ1の先端と試料610との距離制御を安定して行うことができ、かつ、チップ1の先端及び試料610の損傷を抑えることができ、さらに、走査型プローブ顕微鏡の走査速度を大きくすることができる。また、透明体101とチップ用マスク104の密着性を制御することによって、任意のチップ1の先端角を得ることができる。従って、チップ先端の先端角を大きくすることによって、微小開口5から照射される近視野光の強度を大きくすることができる。また、チップ1の形成工程を複数回行うことによって、複数のテーパ角を持つチップ1を得ることができる。したがって、チップ1の先端角を小さくし、チップ1の途中までのテーパ角を大きくすることによって、凹凸像と光像の高分解能化と近視野光の高発生効率を同時に満たす近視野光プローブを提供することができる。同様に、微小開口5によって試料の微小領域における光学情報を検出するコレクションモードにおいても、検出効率を向上させることが可能である。また、図4(b)の上面からみたチップ用マスク104の外形を円や多角形にすることによって、チップ1の形状を円錐または任意の多角錘にすることができる。チップ1が円錐の場合、微小開口5の形状は円となり、近視野光プローブ1000に入射する光の偏光特性を制御することにより、任意の偏光特性をもつ近視野光を微小開口5から照射することができる。また、チップ1の形状が多角錘の場合、微小開口5の形状は、多角形となり、特定方向の偏光方向に大きな強度をもつ光を試料に照射することができる。また、基板102にフレネルレンズのパターンを形成し、フレネルレンズのパターン上にチップ1を形成することや、透明体101の堆積時にチップ1の形成される部分の透明体に屈折率分布を有する部分を形成することや、基板102のチップ1を形成する部分にレンズ状の凹部を形成し、透明体101を堆積することなどによってチップ1上にレンズを有する近視野光プローブ1000を得ることができる。従って、微小開口5から発生する近視野光の強度を大きくすることができる。また、近視野光プローブ1000の製造方法によれば、基部3に複数のレバー2、チップ1、微小開口5を有するマルチカンチレバーを形成することが容易である。マルチカンチレバーによれば、複数のチップ1や微小開口5を同時に走査することが可能でるため、大面積を高速に観察することができる。また、近視野光プローブ1000の製造方法によれば、同様な製造方法によって作製される圧電素子や静電容量型のセンサをレバー2に集積することが容易であるため、光てこを用いなくても、レバー2のたわみを検出することができる。また、レバー2を水晶をはじめとする圧電体で構成し、電極を形成することによってもレバー2のたわみを検出することができる。さらに、レバー2が水晶で構成された場合、レバー2のたわみ検出、および/または、レバー2の加振を行うこともできる。
(実施例2)
図6は、本発明の実施例2に係る近視野光プローブ2000の概略図である。近視野光プローブ2000は、実施例1の近視野光プローブ1000の構成要素と、レバー2の先端に設けられ、チップ1側から基部3側に広がり、レバー2と同一の材料からなる傾斜部7を有している。図6中にA−A' で示される部分の断面を図7に示す。図示するように、傾斜部7はレバー2の外周にも設けられて
いる。
近視野光プローブ2000のチップ1の近傍が試料6に近接した状態を図8に示す。なお、簡単のため遮光膜4は省略している。近視野光プローブ2000は角度θ1だけ傾いた状態で試料6に近接している。図8で、L1は式(1)で定義される長さであり、レバーの厚みをT、傾斜部7のテーパ角をθ2とすると、レバーの長手方向における傾斜部7の長さL2は、
L2=T/tan(90゜−θ2) …(5)
で求められる。したがって、本発明の近視野光プローブ2000は、近視野光プローブ1000よりもL2の長さだけ遮光領域を長くすることが可能になる。
傾斜部7以外の近視野光プローブ2000を構成する部分の材料および寸法は本発明の近視野光プローブ1000とほぼ同じである。
近視野光プローブ2000は、走査型プローブ顕微鏡20000の近視野光プローブ1000の代わりに用いることができる。
以上説明したように、本発明の近視野光プローブ2000によれば、本発明の第1の実施例よりも、遮光領域を広げることが可能であり、カンチレバー表面での反射による漏れ光による影響が少なくなるため、S/N比の良い光学像を得ることができる。また、近視野光プローブ2000の遮光領域を広げることによって、走査型プローブ顕微鏡20000において、光ファイバー603とレバー2の間隔を広げても漏れ光の影響を受けずに光学像を得ることができる。さらに、走査型プローブ顕微鏡20000の近視野光プローブ2000への光入射手段がレンズのみによる集光である場合、レンズのNAが小さくても、漏れ光の影響を受けずにS/N比の良い光学像を得ることが可能である。また、一般に、レンズのNAが小さいほど、レンズの焦点距離が長くなり、かつ、レンズの焦点深度が大きくなるため、近視野光プローブ2000とレンズの間隔を大きく取ることができるため、近視野光プローブ2000の位置あわせが容易になり、走査型プローブ顕微鏡20000の操作を簡易化できる。
本実施例による近視野光プローブ2000の製造方法は、実施例1の近視野光プローブ1000の製造方法とほぼ同様である。近視野光プローブ2000の製造方法では、図5(b)で説明した工程において、ウエットエッチングやドライエッチングによる等方性エッチングを用いることによって、傾斜部7を得ることができる。
したがって、本実施例2の近視野光プローブ2000の製造方法によれば、近視野光プローブ1000と同様の効果が得られる。また、本実施例2のように傾斜部7に遮光膜4を形成することは、本実施例1の近視野光プローブ1000のレバー2側面に遮光膜4を形成するよりも容易であるため、近視野光プローブ2000のレバー2側面に対する遮光が容易になる。
(実施例3)
図9は、本発明の実施例3に係る近視野光プローブ3000の概略図であり、走査型プローブ顕微鏡20000に搭載して使用することができる。近視野光プローブ3000は、実施例1の近視野光プローブ1000の構成要素と、レバー2の先端に設けられ、チップ1と反対側にのびる連結部8、および、連結部8からレバー2とほぼ並行に伸びるように形成されたひさし部9を有している。
連結部8、及び、ひさし部9は、レバー2と一体に形成されており、同一材料を用いて形成されている。また、連結部8、および、ひさし部9は、レバー2と別の材料を用いても良く、この場合、連結部8、および、ひさし部9の材料は、走査型プローブ顕微鏡20000における光源601から照射される光の波長に対して、不透明な材料でもよい。
図10は、近視野光プローブ3000のチップ1の先端が試料6に近接した状態を示した図である。なお、簡単のため遮光膜4は省略している。近視野光プローブ2000は、角度θ1だけ傾いた状態で試料6に近接している。図8において、L1は式(1)で定義される長さであり、連結部8の高さをDとすると、ひさし部9の先端が試料6に接触するときの長さは、L1+L3となる。ここで、
L3=D/tan(θ1) …(6)
である。従って、本発明の近視野光プローブ3000は、近視野光プローブ1000よりもL3の長さまで遮光領域を長くすることが可能になる。また、ひさし部9の先端に、本発明の実施例2で説明した傾斜部7を付加することによって、さらに遮光領域を広げられることは言うまでもない。レバー2とひさし部9との間隔Dは、1〜1000μmである。連結部8、および、ひさし部9以外の構成要素の各寸法は、近視野光プローブ1000と同様である。図11および図12は、近視野光プローブ3000のチップ1部分の斜視図である。近視野光プローブ3000のひさし部9は、図11に示すようにレバー2の先端方向にのみ有っても良いし、図12に示すようにチップ1の周囲を覆うようにしても良い。図12に示す形状によれば、図11の形状に比べ、レバー2の側面方向に対する漏れ光を効率よく遮蔽することができる。
以上述べたように、本発明の第三の実施例によれば、近視野光プローブ3000は、本発明の第二の実施例よりも、遮光領域を広げることができ、S/N比の高い光学像を得ることができる。また、傾斜部7を近視野光プローブ3000に適用することによって、さらに遮光領域を広げることができる。
図13〜図15は、本実施例3の近視野光プローブ3000の製造方法を説明した図である。なお、以下では、図面の上をおもて面、図面の下を裏面と称す。
まず、図13(a)に示すように、基板302上に形成されたマスク301を形成し、TMAHやKOHによる結晶異方性エッチングや、フッ酸と硝酸の混合液をはじめとするエッチャントによる等方性エッチングや、SF6 をはじめとする反応性ガスを用いた等方性ドライエッチングなどによって、基板302に窪み304を形成する。基板302の裏面には、マスク材303を形成しておく。マスク301は、二酸化珪素や窒化珪素やフォトレジストなどの誘電体やアルミニウムやクロムなどの金属を用いる。また、基板302は、シリコンやガラスなどの誘電体や、アルミニウムや鉄などの金属を用いる。マスク材303は、二酸化珪素や窒化珪素などの誘電体を用いる。窪み304の深さは、連結部8の高さDとほぼ同じである。
次に、マスク301を剥離し、図13(b)に示すように、基板302上に透明体305をプラズマCVDやスパッタによって形成する。透明体305の厚さは、近視野光プローブ3000のチップ1の高さとレバー2の厚さの和である。
次に、図13(c)に示すように、フォトリソグラフィーを用いて透明体305上にチップ用マスク306を形成する。チップ用マスク306にはフォトレジストや窒化珪素などの誘電体を用いる。
次に、実施例1の図4(c)から図5(b)で説明した方法と同様の方法で、図14(a)から図14(c)に示すように、チップ1およびレバー2を形成する。レバー2の形成と同時に、連結部8、および、ひさし部9が形成される。
次に、レバー2、連結部8、および、ひさし部9をリリースするために、図15(a)に示すように、おもて面に、リリース用マスク307を形成する。リリース用マスク307は、窒化珪素や二酸化ケイ素であり、プラズマCVDやスパッタによって堆積し、フォトリソグラフィーによってパターニングする。また、裏面のマスク材303をフォトリソグラフィーによってパターニングする。
次に、TMAHやKOHによる結晶異方性エッチングによって、図15(b)に示すように、レバー2、連結部8、および、ひさし部9をリリースし、同時に基部3を形成する。
最後に、リリース用マスク307を除去し、遮光膜4をおもて面に形成し、微小開口5をチップ1の先端に形成し、ウエハから取り出すことによって、図15(c)に示す近視野光プローブ3000が得られる。また、この工程において、リリース用マスク307を除去しなくても、同様な効果を得られる近視野光プローブ3000を得ることができる。
また、図14(b)から図14(c)で説明した、レバー2、連結部8、および、ひさし部9を形成する工程において、フッ酸をはじめとするウエットエッチングやドライエッチングによる等方性エッチングを用いることによって、ひさし部9の先端に傾斜部7を有する近視野光プローブ3000を得ることができる。
以上説明した製造方法により、実施例3の近視野光プローブ3000を得ることができる。この製造方法では、シリコンプロセスを用いて近視野光プローブを製造するため、大量に、性能が均一な走査型プローブ3000を得ることができる。したがって、安価な近視野光プローブ3000を提供することができる。
また、レバー2の先端にひさし部9、連結部8といったおもりを設けることによって、近視野光プローブ3000の共振周波数は、近視野光プローブ1000や近視野光プローブ2000の共振周波数よりも低くなる。ダイナミックフォースモードにおける走査型近視野顕微鏡では、近視野光プローブの共振周波数と入射光の強度変調の周波数を同期させて、その変調信号をロックインアンプで検出し、光像のS/N比を向上させている。しかしながら、一般的に変調信号の周波数が大きくなるほど光像の信号のノイズが多くなり、S/N比が低下する。したがって、共振周波数の低い近視野光プローブ3000によれば、S/N比の良い光像を取得することができる。
(実施例4)
図3では、近視野光プローブ1000を用いることにより、顕微鏡として機能する基本構造の例を示しているが、より光強度の強い近視野光を微小開口から発生させることで、加工や計測などを可能とする近視野光装置を提供することができる。近視野光プローブ1000の微小開口5から光強度の強い近視野光を発生させるためには、微小開口に光密度の高い光を導入する必要がある。
図18に本発明の第4の実施例による近視野光プローブを用いた近視野光装置の一部の構成図を示す。基本的には図3に示した走査型プローブ顕微鏡20000の構成と同じであり、同一箇所は図示や説明を省略する。光源(図示省略)からの光622を、鏡筒620に支持された集光レンズ621により微小開口5に集光する。ここで、開口数(NA)の大きな集光レンズ621を用いるほど微小開口5に光を集光することができるので、より光強度の強い近視野光を発生させることができる。しかし、NAの大きな集光レンズ621は、作動距離(WD)が短くなる。図3で示したように、いわゆる光てこ法を用いてレバーのたわみや振幅の変化を検出する方法においては、WDが短い場合には近視野光プローブ1000上部のスペースが少ない。そのため、光てこ用の構成部材や光路と、集光レンズ621や鏡筒620などが干渉して、NAの大きな集光レンズ621を用いることが困難である。
例えば光てこ法では、レーザー発振器604から出射した光をミラー623で折り曲げて近視野光プローブ1000のレバーに照射し、その反射光を上下2分割の光電変換部606で検出する。ここで、レーザー発振器604や光電変換部606は、近視野光プローブ1000のレバーと略同一平面内にある。そして、光てこの光路折り曲げ用に用いるミラー623を鏡筒620に取り付け、集光レンズ621とミラー623を一体にして、小型化、省スペース化する。これにより、光てこ用の光路や部材と、集光レンズ621や鏡筒620が干渉することなく、NAの大きな集光レンズ621を用いることが可能となる。
さらに、別の構成例を示す。図19に本発明の第4の実施例による近視野光プローブを用いた近視野光装置の一部の構成図を示す。近視野光プローブ1000のレバーに対して垂直な断面での構成を示す。ここでは、レーザー発振器604や光電変換部606は近視野光プローブ1000のレバーに略垂直面内にある。このような配置にすれば、近視野光プローブ1000やそのホルダーなどに干渉することなく、レーザー発振器604や光電変換部606を試料面に近づけ、レバーに対して大きな入射角でレーザー発振器604からの光を反射させることができる。このような構成でも、従来と同様にレバーのたわみや振動振幅の変化を検出可能である。そして、光路と集光レンズ621とが干渉することなく、多きなNAの集光レンズ621を用いることが可能となる。
さらに、別の構成例として、図20に本発明の第4の実施例による近視野光プローブを用いた近視野光装置の一部の構成図を示す。これも図19と同様に、レーザー発振器604や光電変換部606は、近視野光プローブ1000のレバーに略垂直面内にある。ここでは、レーザー発振器604からの光をレバーで反射させるのではなく、レバーを通してその回折光を光電変換部606で検出する。このような構成でも、従来と同様にレバーのたわみや振動振幅の変化を検出可能である。よって、図19と同様の効果を得ることができる。
さらに、別の構成例として、図21に本発明の第4の実施例による近視野光プローブを用いた近視野光装置の一部の構成を示す。ここでは、チップ上にレンズ637を形成した近視野光プローブ1000を用いている。この近視野光プローブ1000を用いることにより、集光レンズ638のNAが小さくても、集光レンズ638とレンズ637からなる複合レンズ系としてのNAを大きくすることができる。よって、WDの長い集光レンズ638と、通常の光てこの構成を用いても、微小開口5に光を集光することができ、微小開口5から大きな強度の近視野光を出射することができる。
以上示した実施例により、微小開口5に光密度の高い光を照射し、それによる光強度の強い近視野光を用いて、加工や精度の高い計測などを行う近視野光装置を提供することができる。
(実施例5)
図22に本発明の第5の実施例による近視野光プローブを用いた近視野光装置の一部の構成図を示す。基本的には図3に示した走査型プローブ顕微鏡20000の構成と同じであり、同一箇所は図示や説明を省略する。光源(図示省略)からの光を、光ファイバーからなる導入ファイバー630で近視野光プローブ1000近傍まで伝搬させ、導入ファイバー630先端に設けたレンズ631で集光して微小開口5に導入する。先端にレンズ631を設けた導入ファイバー630は、通常の光ファイバーの先端を研磨することにより、容易に作製することができる。この構造により、微小開口5に集光した光を導入できるため、微小開口5から強度の強い近視野光を出射することができる。さらに、導入ファイバー630とレンズ631を用いているため、顕微鏡の対物レンズなどより非常にコンパクトで軽量化することができる。そのため、通常の光てこの構成を用いても部材や光路の干渉なく、レバーのたわみや振動振幅の変化を検出することができることは言うまでもない。
本実施例では、さらに、近視野光プローブ1000と導入ファイバー630をファイバーホルダー632とプローブホルダー633を用いて一体化し、微動機構634で微動させる。近視野光プローブ1000と導入ファイバー630が共に小型軽量であるため、一体化しても小型軽量で、微動機構634による高速な移動が可能となる。近視野光プローブ1000のレバーのたわみや振動振幅の変化を検出するためには、小型軽量化が可能なように、ファイバーホルダー632に支持された干渉検出ファイバー635を用いる。干渉検出ファイバー635は通常の光ファイバーであり、干渉検出ファイバー635の出射端はレバーに近接して支持される。干渉検出ファイバー635の出射端からの光が、レバーの反射面で反射して再び干渉検出ファイバー635に戻ってくる。この戻り光強度の変化を干渉検出ファイバー635の他端で検出することにより、レバーのたわみや振動振幅の変化などを検出することが可能である。
本実施例のような構成にすることで、近視野光プローブ1000と微小開口5への光導入光学系、レバーの変位検出系などを一体化し、小型軽量にすることができる。そのため、微小開口5からの近視野光強度を大きくした状態で、近視野光プローブ1000を微動させることができる。よって、大面積の試料への対応や、高速走査などが可能となる。本実施例では、干渉検出ファイバー635を用いたが、例えば静電容量センサなどを用いても小型軽量化できるので、同様の効果が得られることは言うまでもない。
実施例4及び実施例5に述べた内容は、光てこ法を用いなくても、近視野光プローブ1000がレバーのたわみや振動振幅の検出機能を有している場合には、大きなNAの集光レンズを用いることが容易となるだけでなく、より小型軽量化できるため望ましいことは言うまでもない。例えば、レバーに圧電薄膜を積層形成することで、レバーのたわみを検出することも可能となる。
(実施例6)
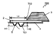
図23は、実施例6に係る近視野光プローブ7000の概略図であり、走査型プローブ顕微鏡20000に搭載して使用することができる。図1に示す近視野光プローブ1000と同一箇所には同じ符号を用いて説明する。近視野光プローブ7000は、図1に示す近視野光プローブ1000の構成におもり部701を加えた構成からなる。おもり部701は、レバー2の長さLx方向に対して、チップ1とレバー2の固定端702との間のレバー2上に形成される。おもり部701の高さH2は、チップ1の高さH1と同じかそれよりも低い。なお、おもり部701は、近視野光プローブ2000および近視野光プローブ3000上にも同様に形成してもよい。近視野光プローブ7000は、図2に示した近視野光プローブ1000と同様に、ある角度θ1だけ傾けた状態で試料に近接している。したがって、チップ1の先端が試料と近接しているときに、おもり部701が試料と干渉することはない。おもり部701の材質はチップ1と同じである。
本実施例による近視野光プローブ7000の製造方法は、前述した近視野光プローブ1000の製造方法とほぼ同様である。図24(a)は図4(b)で説明した工程に対応する図である。本実施例の近視野光プローブ7000の製造方法においては、図24(a)に示すようにチップ用マスク104と同時におもり部701を形成するためのマスク703を形成する。その後、図24(b)に示すように、ウエットエッチングやドライエッチングによって、チップ1およびおもり部701を形成する。その後の工程は、図4(d)以降と同じである。以上説明したように、本発明の近視野光プローブの製造方法によれば、大量生産性を損なわずにおもり部701を形成することができる。また、その他の近視野光プローブの製造方法においても、チップ用マスク104とおもり部701を形成するためのマスクを同時に形成するだけでおもり部701を形成することができる。また、同一の透明膜を同時にエッチングすることによってチップ1およびおもり部701を形成する事によって、おもり部701の高さH2をチップ1の高さH1と同じかそれよりも低く形成する事が容易になる。
近視野光プローブ7000のレバー2の形状は、近視野光プローブ1000または近視野光プローブ2000と同様である。しかしながら、近視野光プローブ7000のレバー2には、おもり部701がレバー2の固定端702よりもチップ1側に形成されているため、近視野光プローブ7000の共振周波数は、近視野光プローブ1000、近視野光プローブ2000および近視野光プローブ3000よりも低い。したがって、実施例3で述べたように、共振周波数の低い近視野光プローブ7000によれば、光像のS/N比を向上させることができる。
さらに、レバー2上におもり部701を形成した近視野光プローブ7000によれば、レバー2上のおもり部701を形成した部分が厚いため、近視野光プローブ1000、近視野光プローブ2000および近視野光プローブ3000よりもバネ定数が大きくなる。バネ定数の大きな近視野光プローブ7000は、遮光領域を設けたことによって生じるエアダンピングによる影響を低減でき、近視野光プローブ1000、近視野光プローブ2000および近視野光プローブ3000よりも安定した動作特性が得られる。
(実施例7)
本発明の実施例7に係る近視野光プローブ8000の概略を図25に示す。実施例7に係る近視野光プローブ8000を走査型プローブ顕微鏡20000に搭載して使用することができる。図23に示した近視野光プローブ7000と同一箇所には同じ符号を用いて説明する。近視野光プローブ8000は、レバー2のチップ1が形成された面と反対側におもり部801が形成される。おもり部801は、レバー2の固定端702よりも自由端側に形成される。おもり部801の厚さT1は500nm〜数10μmである。また、おもり部801の長さはレバー2の長さLxよりも短く、おもり部801の幅はレバー2の幅よりも狭い。おもり部801の材料はレバー2およびチップ1と同じでもよいし、別の材料でも良い。なお、おもり部801は、近視野光プローブ2000,近視野光プローブ3000および近視野光プローブ7000にも形成できる。
本発明の実施例7に係る近視野光プローブ8000によれば、本発明の実施の形態6で説明した効果に加え、おもり部801が、チップ1を形成した側と反対側に形成されているため、大きな起伏を有する試料を観察する場合でもおもり部801が試料と干渉することがないという効果がある。
図26を用いて本実施例の近視野光プローブ8000の製造方法を説明する。なお、図4〜5に示す近視野光プローブ1000の製造方法と同一箇所には同じ符号を用いて説明する。
まず、図26(a)に示すように、基板102上に段差形成用マスク802を形成し、ウエットエッチングやドライエッチングによって基板102に段差803を形成する。段差803の深さはおもり部801の厚さT1と同じである。
次に、段差形成用マスク802を除去し、図26(b)に示すように、段差803を形成した基板102上におもり部用材料804を堆積する。おもり部用材料804の厚さは、段差803の深さよりも厚い。おもり部用材料804の材料はおもり部801の材料と同一である。
次に、研磨、エッチバックなどの方法によって、おもり部用材料804を除去していき、図26(c)に示すように、基板102におもり部用材料804が埋め込まれた形状を形成する。
次に、図26(d)に示すように、透明体101を堆積する。これ以降の工程は、基板102におもり部用材料804が埋め込まれていること以外は、実施例1で説明した近視野光プローブ1000の製造方法と同じであるため、説明を省略する。
以上説明したように、本実施例の近視野光プローブ8000の製造方法によれば、近視野光プローブ8000をバッチプロセスによって作製する事ができる。したがって、大量生産によって安価な近視野光プローブ8000を提供することができる。
また、本発明の実施例1に係る近視野光プローブの製造方法によれば、近視野光プローブを製造することができる。また、上記で説明した製造方法は、シリコンプロセスを用いているため、近視野光プローブを大量に、再現性良く製造することができる。したがって、近視野光プローブを安価に提供することができる。また、レバーを小型化することが容易であるため、近視野光プローブのレバーの共振周波数を高くし、同時に、バネ定数を小さくすることができる。従って、走査型プローブ顕微鏡において、チップの先端と試料との距離制御を安定して行うことができ、かつ、チップの先端及び試料の損傷を抑えることができ、さらに、走査型プローブ顕微鏡の走査速度を大きくすることができる。また、透明体とチップ用マスクの密着性を制御することによって、任意のチップの先端角を得ることができる。従って、チップ先端の先端角を大きくすることによって、微小開口から照射または/および検出される近視野光の強度を大きくすることができる。また、チップの形成工程を複数回行うことによって、複数のテーパ角を持つチップを得ることができる。従って、チップの先端角を小さくし、チップの途中までのテーパー角を大きくすることによって、凹凸像と光像の高分解能化と近視野光の高発生効率を同時に満たす近視野光プローブを提供することができる。また、図4(b)の上面からみたチップ用マスクの外形を円や多角形にすることによって、チップの形状を円錐または任意の多角錘にすることができる。チップが円錐の場合、微小開口の形状は円となり、近視野光プローブに入射する光の偏光特性を制御することにより、任意の偏光特性をもつ近視野光を微小開口から照射することができる。また、チップの形状が多角錘の場合、微小開口の形状は、多角形となり、特定方向の偏光方向に大きな強度をもつ光を試料に照射することができる。また、基板にフレネルレンズのパターンを形成し、フレネルレンズのパターン上にチップ1を形成することや、透明体の堆積時にチップの形成される部分の透明体に、屈折率分布を有する部分を形成することや、基板のチップを形成する部分に、レンズ状の凹部を形成し、透明体を堆積することなどによってチップ上にレンズを有する近視野光プローブを得ることができる。従って、微小開口から発生する近視野光の強度を大きくすることができる。また、近視野光プローブの製造方法によれば、基部に複数のレバー、チップ、微小開口を有するマルチカンチレバーを形成することが容易である。マルチカンチレバーによれば、複数のチップや微小開口を同時に走査することが可能でるため、大面積を高速に観察することができる。また、近視野光プローブの製造方法によれば、同様な製造方法によって作製される圧電素子や静電容量型のセンサをレバーに集積する事が容易であるため、光てこを用いなくても、レバーのたわみを検出することができる。また、水晶をはじめとする圧電体でレバーを構成し、電極を形成することによってもレバーのたわみを検出することができる。さらに、レバーが水晶で構成された場合には、レバーのたわみ検出、および/または、レバーの加振を行うこともできる。
また、本発明の第2の実施例によれば、本発明の第1の実施例よりも、遮光領域を広げることが可能であり、カンチレバー表面での反射による漏れ光による影響が少なくなるため、S/N比の良い光学像を得ることができる。また、近視野光プローブの遮光領域を広げることによって、走査型プローブ顕微鏡において、光ファイバーとレバーの間隔を広げても漏れ光の影響を受けずに、光学像を得ることができる。さらに、走査型プローブ顕微鏡の近視野光プローブへの光入射または/および近視野光プローブからの検出手段がレンズのみによる集光である場合、レンズのNAが小さくても、漏れ光の影響を受けずにS/N比の良い光学像を得ることが可能である。また、一般に、レンズのNAが小さいほど、レンズの焦点距離が長くなり、かつ、レンズの焦点深度が大きくなるため、近視野光プローブとレンズの間隔を大きく取ることができるため、近視野光プローブの位置あわせが容易になり、走査型プローブ顕微鏡の操作を簡易化できる。
また、本発明の第2実施例で説明した製造方法によれば、本発明の第2実施例の近視野光プローブ2000を容易に製造でき、第1実施例で説明した製造方法と同様の効果が得られる。また、第2実施例の近視野光プローブ製造方法によれば、傾斜部に遮光膜を形成することは、第1実施例の近視野光プローブのレバー側面に遮光膜を形成するよりも容易であるため、第2実施例の近視野光プローブのレバー側面に対する遮光が容易になる。
また、本発明の第3実施例によれば、近視野光プローブは、本発明の第2実施例よりも、遮光領域を広げることができ、S/N比の高い光学像を得ることができる。また、第2実施例で説明した傾斜部を第3実施例の近視野光プローブに適用することによって、さらに遮光領域を広げることができる。
また、本発明の第3実施例による製造方法によれば、第3実施例で説明した近視野光プローブを得ることができ、かつ、シリコンプロセスを用いて製造するため、大量に、性能が均一な近視野光プローブを得ることができる。したがって、安価な近視野光プローブを提供することができる。
また、本発明の第3の実施例によれば、レバーの先端にひさし部、連結部といったおもりを設けることによって近視野光プローブ共振周波数を低くすることができ、S/N比の良い光像を取得することができる。
また、本発明の第4実施例によれば、光てこ法や同様の方法を用いてレバーのたわみや振動振幅の変化を検出すると共に、NAの大きな集光レンズを用いることができるため、微小開口に光密度の高い光を導入でき、微小開口から出射される近視野光強度を大きくすることができる。よって、本発明の近視野光装置は、観察に用いる顕微鏡としてだけではなく、S/Nの高い計測や加工などの用途にも使用可能となる。
また、本発明の第5実施例によれば、微小開口への光導入系や、レバーのたわみや振動振幅の変化検出系を小型軽量にできるため、近視野光プローブとそれらを一体化して、高速に微動させることができる。そのため、近視野光プローブを用いて大面積の試料を観察測定することや、近視野光プローブを高速走査することなどが可能となる。
また、本発明の第6実施例によれば、共振周波数が低く、かつ、バネ定数の大きな近視野光プローブが得られ、光像のS/N比を向上させることと、エアダンピングによる影響を低減した安定した動作特性が得られる。また、本発明の第6実施例による製造方法によれば、第6実施例で説明した近視野光プローブを得ることができるとともに、バッチプロセスによって製造できるため、安価で、性能が均一な近視野光プローブを提供することができる。また、同一の透明膜を同時にエッチングすることによりチップおよびおもり部を形成する事によって、おもり部の高さをチップの高さと同じかそれよりも低く形成する事が容易になる。
また、本発明の第7の実施例によれば、本発明の第6実施例の効果に加えて、カンチレバー上のおもりが、チップが形成された側と反対側に形成されているため、起伏の大きな試料の観察において、おもりが試料と接触することがない。したがって、起伏の大きな試料の観察を安定して行うことができる。また、本発明の第7の実施例による製造方法によれば、第7実施例で説明した近視野光プローブを得ることができるとともに、バッチプロセスによって製造できるため、安価で、性能が均一な近視野光プローブを提供することができる。
本発明の第1の実施例による近視野光プローブの構成図である。 本発明の第1の実施例による近視野光プローブのチップが試料と近接した状態を表す図である。 本発明の第1実施例による近視野光プローブを用いた走査型プローブ顕微鏡の構成図である。 本発明の第1実施例による近視野光プローブの製造方法を説明した図である。 本発明の第1実施例による近視野光プローブの製造方法を説明した図である。 本発明の第2実施例による近視野光プローブの構成図である。 本発明の第2実施例による近視野光プローブの断面図である。 本発明の第2実施例による近視野光プローブのチップが試料と近接した状態を表す図である。 本発明の第3実施例による近視野光プローブの構成図である。 本発明の第3実施例による近視野光プローブのチップが試料と近接した状態を表す図である。 本発明の第3実施例による近視野光プローブの先端部分の斜視図である。 本発明の第3実施例による近視野光プローブの先端部分の斜視図である。 本発明の第3実施例による近視野光プローブの製造方法を説明した図である。 本発明の第3実施例による近視野光プローブの製造方法を説明した図である。 本発明の第3実施例による近視野光プローブの製造方法を説明した図である。 従来の光ファイバープローブの構成図である。 従来のSNOM用プローブの構成図である。 本発明の第4実施例による近視野光プローブを用いた近視野光装置の一部の構成図である。 本発明の第4実施例による近視野光プローブを用いた近視野光装置の一部の構成図である。 本発明の第4実施例による近視野光プローブを用いた近視野光装置の一部の構成図である。 本発明の第4実施例による近視野光プローブを用いた近視野光装置の一部の構成図である。 本発明の第5実施例による近視野光プローブを用いた近視野光装置の一部の構成図である。 本発明の第6実施例による近視野光プローブの構成図である。 本発明の第6実施例による近視野光プローブの製造方法を説明した図である。 本発明の第7実施例による近視野光プローブの構成図である。 本発明の第7実施例による近視野光プローブの製造方法を説明した図である。
符号の説明
1 チップ
2 レバー
3 基部
4 遮光膜
5 微小開口
6 試料
7 傾斜部
8 連結部
9 ひさし部
H チップの高さ
θ1 カンチレバーの傾斜角度
R1 入射光のスポット径または/および微小開口によって検出した光を検出
器に集光するレンズのカンチレバー上でのスポット径
L1 チップの中心からカンチレバーの自由端までの距離
604 レーザ発振器
606 光電変換部
621 集光レンズ
630 導入ファイバー
631 レンズ
635 干渉検出ファイバー
701、801 おもり部

Claims (18)

  1. カンチレバーと、
    前記カンチレバーを支持する基部と、
    前記カンチレバーに形成され、前記基部とは反対側の面に形成された錘状のチップと、
    前記チップの先端に形成された微小開口と、
    前記カンチレバーの前記基部とは反対側の面、及び、前記チップの前記微小開口以外の面に形成された遮光膜と、を備え、
    前記チップの高さをH、前記カンチレバーの傾斜角度をθ1、前記チップに入射する入射光の前記カンチレバー上でのスポット径または/および前記微小開口によって検出し、検出器に入射する光の前記カンチレバー上でのスポット径をR1、前記チップの中心から前記カンチレバーの自由端までの距離をL1としたとき、
    R1<L1<H/tanθ1
    を満たすL1を有し、
    前記カンチレバーの側面が、前記チップ側から前記基部側に広がるような傾斜部を有することを特徴とする近視野光プローブ。
  2. 前記カンチレバーの先端が、前記チップ側から前記基部側に広がるような傾斜部を有していることを特徴とする請求項1に記載の近視野光プローブ。
  3. 前記カンチレバーの先端に、前記基部側に突出するように形成された薄板状の連結部が形成され、前記連結部から前記カンチレバーの長手方向と略平行に伸びる薄板状のひさし部が形成されている事を特徴とする請求項1または2のいずれか一項に記載の近視野光プローブ。
  4. 前記カンチレバー上に、前記カンチレバーの固定端よりも自由端側に、前記チップとは別の凸部を有することを特徴とする請求項1からのいずれか一項に記載の近視野光プローブ。
  5. 前記凸部が、前記カンチレバー上の前記チップが形成された側の前記チップよりも固定端側に形成されており、前記凸部の高さが前記チップの高さ以下であることを特徴とする請求項に記載の近視野光プローブ。
  6. 前記凸部が、前記カンチレバー上の前記チップが形成された側と反対側に形成されていることを特徴とする請求項に記載の近視野光プローブ。
  7. 請求項または請求項2のいずれか一項に記載の近視野光プローブの製造方法であって、前記カンチレバーの外形形成工程が、前記傾斜部を形成するための等方性エッチング工程を含むことを特徴とする近視野光プローブの製造方法。
  8. 請求項に記載の近視野光プローブの製造方法であって、前記連結部および前記ひさし部の形成工程が、基板に段差を形成する工程と、
    前記基板に前記透明材料を堆積する工程を含む事を特徴とする近視野光プローブの製造方法。
  9. 請求項または請求項5のいずれか一項に記載の近視野光プローブの製造方法であって、前記凸部と前記チップを同時に形成する工程を備えることを特徴とする近視野光プローブの製造方法。
  10. 請求項または請求項6のいずれか一項に記載の近視野光プローブの製造方法であって、前記凸部を形成するための型を形成する工程と、前記型に前記凸部となる材料を堆積する工程と、前記凸部となる材料を平坦化する工程と、
    前記凸部となる材料が埋め込まれた基板上に前記チップを形成する工程と、を備えることを特徴とする近視野光プローブの製造方法。
  11. 前記凸部となる材料を平坦化する工程が、研磨工程であることを特徴とする請求項10に記載の近視野光プローブの製造方法。
  12. 請求項1から請求項のいずれか一項に記載の近視野光プローブを用いる近視野光装置であって、
    前記微小開口へ光を導入あるいは前記微小開口からの光を検出する導入/検出光学系と、
    前記微小開口と前記試料との距離を検出する検出手段と、
    前記試料および/あるいは前記近視野光プローブを微動させる微動機構と、を備え、
    前記検出手段が光てこ法を用い、
    前記導入/検出光学系のレンズと前記検出手段のミラーとが一体化していることを特徴とする近視野光装置。
  13. 請求項1から請求項のいずれか一項に記載の近視野光プローブを用いる近視野光装置であって、
    前記微小開口へ光を導入あるいは前記微小開口からの光を検出する導入/検出光学系と、
    前記微小開口と前記試料との距離を検出する検出手段と、
    前記試料および/あるいは前記近視野光プローブを微動させる微動機構と、を備え、
    前記検出手段が、前記カンチレバーと略垂直な面内に光源と光検出器を有することを特徴とする近視野光装置。
  14. 前記光検出器が、前記光源から出射した光の前記カンチレバーでの反射光を検出することを特徴とする請求項13に記載の近視野光装置。
  15. 前記光検出器が、前記光源から出射した光の前記カンチレバーでの回折光を検出することを特徴とする請求項13に記載の近視野光装置。
  16. 請求項1から請求項のいずれか一項に記載の近視野光プローブを用いる近視野光装置であって、
    前記微小開口へ光を導入あるいは前記微小開口からの光を検出する導入/検出光学系と、
    前記微小開口と前記試料との距離を検出する検出手段と、
    前記試料および/あるいは前記近視野光プローブを微動させる微動機構と、を備え、
    前記検出手段が、前記カンチレバーに接近して配置された光ファイバーと前記カンチレバー間での干渉を検出することを特徴とする近視野光装置。
  17. 請求項1から請求項のいずれか一項に記載の近視野光プローブを用いる近視野光装置であって、
    前記微小開口へ光を導入あるいは前記微小開口からの光を検出する導入/検出光学系と、
    前記微小開口と前記試料との距離を検出する検出手段と、
    前記試料および/あるいは前記近視野光プローブを微動させる微動機構と、を備え、
    前記検出手段が、前記近視野光プローブに設けられたカンチレバーの変位検出手段であることを特徴とする近視野光装置。
  18. 請求項1から請求項のいずれか一項に記載の近視野光プローブを用いる近視野光装置であって、
    前記微小開口へ光を導入あるいは前記微小開口からの光を検出する導入/検出光学系と、
    前記微小開口と前記試料との距離を検出する検出手段と、
    前記試料および/あるいは前記近視野光プローブを微動させる微動機構と、を備え、
    前記導入/検出光学系が、先端にレンズ機能を設けた光ファイバーを有することを特徴とする近視野光装置。
JP2008322798A 1999-12-20 2008-12-18 近視野光プローブとその製造方法、およびその近視野光プローブを用いた近視野光装置 Expired - Fee Related JP4751440B2 (ja)

Priority Applications (1)

Application Number Priority Date Filing Date Title
JP2008322798A JP4751440B2 (ja) 1999-12-20 2008-12-18 近視野光プローブとその製造方法、およびその近視野光プローブを用いた近視野光装置

Applications Claiming Priority (5)

Application Number Priority Date Filing Date Title
JP36170199 1999-12-20
JP1999361701 1999-12-20
JP2000130826 2000-04-28
JP2000130826 2000-04-28
JP2008322798A JP4751440B2 (ja) 1999-12-20 2008-12-18 近視野光プローブとその製造方法、およびその近視野光プローブを用いた近視野光装置

Related Parent Applications (1)

Application Number Title Priority Date Filing Date
JP2000352778A Division JP4472863B2 (ja) 1999-12-20 2000-11-20 近視野光プローブおよびその近視野光プローブを用いた近視野光装置

Publications (2)

Publication Number Publication Date
JP2009058534A JP2009058534A (ja) 2009-03-19
JP4751440B2 true JP4751440B2 (ja) 2011-08-17

Family

ID=40554366

Family Applications (1)

Application Number Title Priority Date Filing Date
JP2008322798A Expired - Fee Related JP4751440B2 (ja) 1999-12-20 2008-12-18 近視野光プローブとその製造方法、およびその近視野光プローブを用いた近視野光装置

Country Status (1)

Country Link
JP (1) JP4751440B2 (ja)

Families Citing this family (1)

* Cited by examiner, † Cited by third party
Publication number Priority date Publication date Assignee Title
CN102565460B (zh) * 2010-12-17 2013-07-17 彭倍 连续直写纳米粒子溶液的扫描探针及其制造方法

Family Cites Families (6)

* Cited by examiner, † Cited by third party
Publication number Priority date Publication date Assignee Title
JPH06137846A (ja) * 1992-09-08 1994-05-20 Mitsubishi Electric Corp 原子間力顕微鏡装置
JPH06123621A (ja) * 1992-10-09 1994-05-06 Matsushita Electric Ind Co Ltd 原子間力顕微鏡用探針付カンチレバーおよびその製造方法
JPH08178639A (ja) * 1994-12-26 1996-07-12 Olympus Optical Co Ltd 走査型近接場光顕微鏡用カンチレバーの製造方法および製造装置および予備成形品
WO1997009584A1 (en) * 1995-09-01 1997-03-13 International Business Machines Corporation Cantilever with integrated deflection sensor
JPH1073607A (ja) * 1996-08-29 1998-03-17 Shimadzu Corp 走査型プローブ顕微鏡
JPH10246730A (ja) * 1997-03-04 1998-09-14 Canon Inc プローブとその製造方法、及び該プローブを備えた情報処理装置

Also Published As

Publication number Publication date
JP2009058534A (ja) 2009-03-19

Similar Documents

Publication Publication Date Title
JP4472863B2 (ja) 近視野光プローブおよびその近視野光プローブを用いた近視野光装置
US7496250B2 (en) Optical microcantilever
JP3047030B2 (ja) 走査型近視野原子間力顕微鏡
JP4751440B2 (ja) 近視野光プローブとその製造方法、およびその近視野光プローブを用いた近視野光装置
JP4717235B2 (ja) 光導波路プローブおよびその製造方法、ならびに走査型近視野顕微鏡
JP3949831B2 (ja) 光カンチレバーとその製造方法
JP4630943B2 (ja) 光マイクロカンチレバーの製造方法
JP4202076B2 (ja) 散乱型近接場顕微鏡
JP3953914B2 (ja) 透光孔付きカンチレバー及びその製造方法並びにそれを用いたビーム測定方法
JP2005207957A (ja) プローブ開口作製装置、プローブ開口作製方法およびプローブ
JP2002174582A (ja) 走査型近視野顕微鏡
JPH10104243A (ja) 走査型プローブ顕微鏡用カンチレバー
JP2006226901A (ja) 近接場光プローブ、この近接場光プローブの作製方法および作製装置
JP2006250623A (ja) 光検出装置及び光検出方法
KR20060119464A (ko) 개구부와 나노 스케일의 팁을 구비하는 다기능 주사 탐침

Legal Events

Date Code Title Description
A621 Written request for application examination

Free format text: JAPANESE INTERMEDIATE CODE: A621

Effective date: 20081219

RD01 Notification of change of attorney

Free format text: JAPANESE INTERMEDIATE CODE: A7421

Effective date: 20091108

RD01 Notification of change of attorney

Free format text: JAPANESE INTERMEDIATE CODE: A7421

Effective date: 20091113

A131 Notification of reasons for refusal

Free format text: JAPANESE INTERMEDIATE CODE: A131

Effective date: 20110118

A521 Written amendment

Free format text: JAPANESE INTERMEDIATE CODE: A523

Effective date: 20110308

TRDD Decision of grant or rejection written
A01 Written decision to grant a patent or to grant a registration (utility model)

Free format text: JAPANESE INTERMEDIATE CODE: A01

Effective date: 20110517

A01 Written decision to grant a patent or to grant a registration (utility model)

Free format text: JAPANESE INTERMEDIATE CODE: A01

A61 First payment of annual fees (during grant procedure)

Free format text: JAPANESE INTERMEDIATE CODE: A61

Effective date: 20110520

R150 Certificate of patent or registration of utility model

Free format text: JAPANESE INTERMEDIATE CODE: R150

FPAY Renewal fee payment (event date is renewal date of database)

Free format text: PAYMENT UNTIL: 20140527

Year of fee payment: 3

LAPS Cancellation because of no payment of annual fees