JP4741248B2 - マスクアセンブリのためのエルボー - Google Patents
マスクアセンブリのためのエルボー Download PDFInfo
- Publication number
- JP4741248B2 JP4741248B2 JP2004569778A JP2004569778A JP4741248B2 JP 4741248 B2 JP4741248 B2 JP 4741248B2 JP 2004569778 A JP2004569778 A JP 2004569778A JP 2004569778 A JP2004569778 A JP 2004569778A JP 4741248 B2 JP4741248 B2 JP 4741248B2
- Authority
- JP
- Japan
- Prior art keywords
- elbow
- mask
- assembly
- mask assembly
- baffle
- Prior art date
- Legal status (The legal status is an assumption and is not a legal conclusion. Google has not performed a legal analysis and makes no representation as to the accuracy of the status listed.)
- Expired - Fee Related
Links
Images
Classifications
-
- A—HUMAN NECESSITIES
- A61—MEDICAL OR VETERINARY SCIENCE; HYGIENE
- A61M—DEVICES FOR INTRODUCING MEDIA INTO, OR ONTO, THE BODY; DEVICES FOR TRANSDUCING BODY MEDIA OR FOR TAKING MEDIA FROM THE BODY; DEVICES FOR PRODUCING OR ENDING SLEEP OR STUPOR
- A61M16/00—Devices for influencing the respiratory system of patients by gas treatment, e.g. ventilators; Tracheal tubes
- A61M16/06—Respiratory or anaesthetic masks
-
- A—HUMAN NECESSITIES
- A61—MEDICAL OR VETERINARY SCIENCE; HYGIENE
- A61M—DEVICES FOR INTRODUCING MEDIA INTO, OR ONTO, THE BODY; DEVICES FOR TRANSDUCING BODY MEDIA OR FOR TAKING MEDIA FROM THE BODY; DEVICES FOR PRODUCING OR ENDING SLEEP OR STUPOR
- A61M16/00—Devices for influencing the respiratory system of patients by gas treatment, e.g. ventilators; Tracheal tubes
- A61M16/08—Bellows; Connecting tubes ; Water traps; Patient circuits
- A61M16/0875—Connecting tubes
-
- A—HUMAN NECESSITIES
- A61—MEDICAL OR VETERINARY SCIENCE; HYGIENE
- A61M—DEVICES FOR INTRODUCING MEDIA INTO, OR ONTO, THE BODY; DEVICES FOR TRANSDUCING BODY MEDIA OR FOR TAKING MEDIA FROM THE BODY; DEVICES FOR PRODUCING OR ENDING SLEEP OR STUPOR
- A61M16/00—Devices for influencing the respiratory system of patients by gas treatment, e.g. ventilators; Tracheal tubes
- A61M16/06—Respiratory or anaesthetic masks
- A61M16/0605—Means for improving the adaptation of the mask to the patient
-
- A—HUMAN NECESSITIES
- A61—MEDICAL OR VETERINARY SCIENCE; HYGIENE
- A61M—DEVICES FOR INTRODUCING MEDIA INTO, OR ONTO, THE BODY; DEVICES FOR TRANSDUCING BODY MEDIA OR FOR TAKING MEDIA FROM THE BODY; DEVICES FOR PRODUCING OR ENDING SLEEP OR STUPOR
- A61M16/00—Devices for influencing the respiratory system of patients by gas treatment, e.g. ventilators; Tracheal tubes
- A61M16/06—Respiratory or anaesthetic masks
- A61M16/0605—Means for improving the adaptation of the mask to the patient
- A61M16/0611—Means for improving the adaptation of the mask to the patient with a gusset portion
-
- A—HUMAN NECESSITIES
- A61—MEDICAL OR VETERINARY SCIENCE; HYGIENE
- A61M—DEVICES FOR INTRODUCING MEDIA INTO, OR ONTO, THE BODY; DEVICES FOR TRANSDUCING BODY MEDIA OR FOR TAKING MEDIA FROM THE BODY; DEVICES FOR PRODUCING OR ENDING SLEEP OR STUPOR
- A61M16/00—Devices for influencing the respiratory system of patients by gas treatment, e.g. ventilators; Tracheal tubes
- A61M16/06—Respiratory or anaesthetic masks
- A61M16/0605—Means for improving the adaptation of the mask to the patient
- A61M16/0616—Means for improving the adaptation of the mask to the patient with face sealing means comprising a flap or membrane projecting inwards, such that sealing increases with increasing inhalation gas pressure
- A61M16/0622—Means for improving the adaptation of the mask to the patient with face sealing means comprising a flap or membrane projecting inwards, such that sealing increases with increasing inhalation gas pressure having an underlying cushion
-
- A—HUMAN NECESSITIES
- A61—MEDICAL OR VETERINARY SCIENCE; HYGIENE
- A61M—DEVICES FOR INTRODUCING MEDIA INTO, OR ONTO, THE BODY; DEVICES FOR TRANSDUCING BODY MEDIA OR FOR TAKING MEDIA FROM THE BODY; DEVICES FOR PRODUCING OR ENDING SLEEP OR STUPOR
- A61M16/00—Devices for influencing the respiratory system of patients by gas treatment, e.g. ventilators; Tracheal tubes
- A61M16/06—Respiratory or anaesthetic masks
- A61M16/0605—Means for improving the adaptation of the mask to the patient
- A61M16/0633—Means for improving the adaptation of the mask to the patient with forehead support
-
- A—HUMAN NECESSITIES
- A61—MEDICAL OR VETERINARY SCIENCE; HYGIENE
- A61M—DEVICES FOR INTRODUCING MEDIA INTO, OR ONTO, THE BODY; DEVICES FOR TRANSDUCING BODY MEDIA OR FOR TAKING MEDIA FROM THE BODY; DEVICES FOR PRODUCING OR ENDING SLEEP OR STUPOR
- A61M16/00—Devices for influencing the respiratory system of patients by gas treatment, e.g. ventilators; Tracheal tubes
- A61M16/06—Respiratory or anaesthetic masks
- A61M16/0605—Means for improving the adaptation of the mask to the patient
- A61M16/0633—Means for improving the adaptation of the mask to the patient with forehead support
- A61M16/0638—Means for improving the adaptation of the mask to the patient with forehead support in the form of a pivot
-
- A—HUMAN NECESSITIES
- A61—MEDICAL OR VETERINARY SCIENCE; HYGIENE
- A61M—DEVICES FOR INTRODUCING MEDIA INTO, OR ONTO, THE BODY; DEVICES FOR TRANSDUCING BODY MEDIA OR FOR TAKING MEDIA FROM THE BODY; DEVICES FOR PRODUCING OR ENDING SLEEP OR STUPOR
- A61M16/00—Devices for influencing the respiratory system of patients by gas treatment, e.g. ventilators; Tracheal tubes
- A61M16/06—Respiratory or anaesthetic masks
- A61M16/0683—Holding devices therefor
-
- A—HUMAN NECESSITIES
- A61—MEDICAL OR VETERINARY SCIENCE; HYGIENE
- A61M—DEVICES FOR INTRODUCING MEDIA INTO, OR ONTO, THE BODY; DEVICES FOR TRANSDUCING BODY MEDIA OR FOR TAKING MEDIA FROM THE BODY; DEVICES FOR PRODUCING OR ENDING SLEEP OR STUPOR
- A61M16/00—Devices for influencing the respiratory system of patients by gas treatment, e.g. ventilators; Tracheal tubes
- A61M16/08—Bellows; Connecting tubes ; Water traps; Patient circuits
-
- A—HUMAN NECESSITIES
- A61—MEDICAL OR VETERINARY SCIENCE; HYGIENE
- A61M—DEVICES FOR INTRODUCING MEDIA INTO, OR ONTO, THE BODY; DEVICES FOR TRANSDUCING BODY MEDIA OR FOR TAKING MEDIA FROM THE BODY; DEVICES FOR PRODUCING OR ENDING SLEEP OR STUPOR
- A61M16/00—Devices for influencing the respiratory system of patients by gas treatment, e.g. ventilators; Tracheal tubes
- A61M16/08—Bellows; Connecting tubes ; Water traps; Patient circuits
- A61M16/0816—Joints or connectors
-
- A—HUMAN NECESSITIES
- A61—MEDICAL OR VETERINARY SCIENCE; HYGIENE
- A61M—DEVICES FOR INTRODUCING MEDIA INTO, OR ONTO, THE BODY; DEVICES FOR TRANSDUCING BODY MEDIA OR FOR TAKING MEDIA FROM THE BODY; DEVICES FOR PRODUCING OR ENDING SLEEP OR STUPOR
- A61M16/00—Devices for influencing the respiratory system of patients by gas treatment, e.g. ventilators; Tracheal tubes
- A61M16/08—Bellows; Connecting tubes ; Water traps; Patient circuits
- A61M16/0816—Joints or connectors
- A61M16/0825—Joints or connectors with ball-sockets
-
- A—HUMAN NECESSITIES
- A61—MEDICAL OR VETERINARY SCIENCE; HYGIENE
- A61M—DEVICES FOR INTRODUCING MEDIA INTO, OR ONTO, THE BODY; DEVICES FOR TRANSDUCING BODY MEDIA OR FOR TAKING MEDIA FROM THE BODY; DEVICES FOR PRODUCING OR ENDING SLEEP OR STUPOR
- A61M39/00—Tubes, tube connectors, tube couplings, valves, access sites or the like, specially adapted for medical use
- A61M39/10—Tube connectors; Tube couplings
-
- A—HUMAN NECESSITIES
- A62—LIFE-SAVING; FIRE-FIGHTING
- A62B—DEVICES, APPARATUS OR METHODS FOR LIFE-SAVING
- A62B9/00—Component parts for respiratory or breathing apparatus
- A62B9/04—Couplings; Supporting frames
-
- A—HUMAN NECESSITIES
- A61—MEDICAL OR VETERINARY SCIENCE; HYGIENE
- A61M—DEVICES FOR INTRODUCING MEDIA INTO, OR ONTO, THE BODY; DEVICES FOR TRANSDUCING BODY MEDIA OR FOR TAKING MEDIA FROM THE BODY; DEVICES FOR PRODUCING OR ENDING SLEEP OR STUPOR
- A61M2206/00—Characteristics of a physical parameter; associated device therefor
- A61M2206/10—Flow characteristics
- A61M2206/14—Static flow deviators in tubes disturbing laminar flow in tubes, e.g. archimedes screws
Landscapes
- Health & Medical Sciences (AREA)
- General Health & Medical Sciences (AREA)
- Pulmonology (AREA)
- Heart & Thoracic Surgery (AREA)
- Life Sciences & Earth Sciences (AREA)
- Biomedical Technology (AREA)
- Anesthesiology (AREA)
- Hematology (AREA)
- Engineering & Computer Science (AREA)
- Animal Behavior & Ethology (AREA)
- Public Health (AREA)
- Veterinary Medicine (AREA)
- Emergency Medicine (AREA)
- Business, Economics & Management (AREA)
- Emergency Management (AREA)
- Respiratory Apparatuses And Protective Means (AREA)
Applications Claiming Priority (7)
| Application Number | Priority Date | Filing Date | Title |
|---|---|---|---|
| US10/235,846 US6823869B2 (en) | 2001-09-07 | 2002-09-06 | Mask assembly |
| US10/235,846 | 2002-09-06 | ||
| US42469502P | 2002-11-08 | 2002-11-08 | |
| US60/424,695 | 2002-11-08 | ||
| US47492803P | 2003-06-03 | 2003-06-03 | |
| US60/474,928 | 2003-06-03 | ||
| PCT/AU2003/001162 WO2004022147A1 (en) | 2002-09-06 | 2003-09-05 | Elbow for mask assembly |
Related Child Applications (1)
| Application Number | Title | Priority Date | Filing Date |
|---|---|---|---|
| JP2010106600A Division JP5373694B2 (ja) | 2002-09-06 | 2010-05-06 | マスクアセンブリのためのエルボー |
Publications (2)
| Publication Number | Publication Date |
|---|---|
| JP2005537905A JP2005537905A (ja) | 2005-12-15 |
| JP4741248B2 true JP4741248B2 (ja) | 2011-08-03 |
Family
ID=31982281
Family Applications (3)
| Application Number | Title | Priority Date | Filing Date |
|---|---|---|---|
| JP2004569778A Expired - Fee Related JP4741248B2 (ja) | 2002-09-06 | 2003-09-05 | マスクアセンブリのためのエルボー |
| JP2010106600A Expired - Lifetime JP5373694B2 (ja) | 2002-09-06 | 2010-05-06 | マスクアセンブリのためのエルボー |
| JP2011183475A Expired - Fee Related JP5466213B2 (ja) | 2002-09-06 | 2011-08-25 | マスクアセンブリのためのエルボー |
Family Applications After (2)
| Application Number | Title | Priority Date | Filing Date |
|---|---|---|---|
| JP2010106600A Expired - Lifetime JP5373694B2 (ja) | 2002-09-06 | 2010-05-06 | マスクアセンブリのためのエルボー |
| JP2011183475A Expired - Fee Related JP5466213B2 (ja) | 2002-09-06 | 2011-08-25 | マスクアセンブリのためのエルボー |
Country Status (6)
| Country | Link |
|---|---|
| US (4) | US7011090B2 (enExample) |
| EP (1) | EP1545675B1 (enExample) |
| JP (3) | JP4741248B2 (enExample) |
| AU (1) | AU2003257273A1 (enExample) |
| NZ (2) | NZ595537A (enExample) |
| WO (1) | WO2004022147A1 (enExample) |
Families Citing this family (145)
| Publication number | Priority date | Publication date | Assignee | Title |
|---|---|---|---|---|
| AUPQ104099A0 (en) | 1999-06-18 | 1999-07-08 | Resmed Limited | Forehead support for facial mask |
| DE20017940U1 (de) * | 2000-10-19 | 2000-12-28 | MAP Medizintechnik für Arzt und Patient GmbH & Co KG, 82152 Planegg | Atemmaske zur Zufuhr eines Atemgases zu einem Maskenanwender sowie Ableitungseinrichtung zur Ableitung von Atemgas |
| JP4818569B2 (ja) | 2000-12-22 | 2011-11-16 | レスメド・リミテッド | マスク |
| DE10151984C5 (de) | 2001-10-22 | 2008-07-17 | Map Medizin-Technologie Gmbh | Applikationsvorrichtung für eine Atemmaskenanordnung |
| WO2003035156A2 (de) | 2001-10-22 | 2003-05-01 | Map Medizin-Technologie Gmbh | Atemmaskenanordnung sowie applikationsvorrichtung und stirnauflageeinrichtung hiervon |
| DE10201682A1 (de) | 2002-01-17 | 2003-07-31 | Map Medizin Technologie Gmbh | Atemmaskenanordnung |
| US6892729B2 (en) * | 2001-11-20 | 2005-05-17 | Fisher & Paykel Healthcare Limited | Patient interfaces |
| US7743767B2 (en) | 2002-04-23 | 2010-06-29 | Resmed Limited | Ergonomic and adjustable respiratory mask assembly with frame |
| AUPS192602A0 (en) | 2002-04-23 | 2002-05-30 | Resmed Limited | Nasal mask |
| US8997742B2 (en) | 2002-04-23 | 2015-04-07 | Resmed Limited | Ergonomic and adjustable respiratory mask assembly with cushion |
| USD485905S1 (en) | 2002-08-09 | 2004-01-27 | Resmed Limited | Nasal mask |
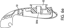
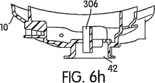
| NZ573196A (en) * | 2002-09-06 | 2010-07-30 | Resmed Ltd | Cushion for a respiratory mask assembly with two force applying features for respectively low and high mask pressure |
| NZ595537A (en) | 2002-09-06 | 2013-05-31 | Resmed Ltd | Elbow with gas diversion baffle for respiratory mask |
| ES2538603T3 (es) | 2002-09-06 | 2015-06-22 | Resmed Limited | Almohadilla para la frente para una mascarilla respiratoria |
| AU2003275762A1 (en) | 2002-11-06 | 2004-06-07 | Resmed Limited | Mask and components thereof |
| USD496098S1 (en) | 2002-11-08 | 2004-09-14 | Resmed Limited | Swivel elbow for mask assembly |
| WO2004052438A1 (en) | 2002-12-06 | 2004-06-24 | Fisher & Paykel Healthcare Limited | Mouthpiece |
| NZ577553A (en) | 2003-02-21 | 2011-01-28 | Resmed Ltd | Nasal assembly |
| ES2459216T3 (es) | 2003-05-02 | 2014-05-08 | Resmed Limited | Sistema de máscara |
| EP2510968B1 (en) * | 2003-12-31 | 2017-02-08 | ResMed Limited | Compact oronasal patient interface |
| DE102004002125B4 (de) * | 2004-01-14 | 2017-11-16 | Löwenstein Medical Technology S.A. | Vorrichtung zur Beatmung |
| WO2005079726A1 (en) | 2004-02-23 | 2005-09-01 | Fisher & Paykel Healthcare Limited | Breathing assistance apparatus |
| US9072852B2 (en) | 2004-04-02 | 2015-07-07 | Fisher & Paykel Healthcare Limited | Breathing assistance apparatus |
| US9295799B2 (en) | 2004-04-02 | 2016-03-29 | Fisher & Paykel Healthcare Limited | Breathing assistance apparatus |
| EP1740247B1 (en) | 2004-04-15 | 2012-09-26 | ResMed Limited | Positive-air-pressure machine conduit |
| WO2005118040A1 (en) * | 2004-06-03 | 2005-12-15 | Resmed Limited | Cushion for a patient interface |
| AU2012201085B2 (en) * | 2004-06-16 | 2014-04-17 | ResMed Pty Ltd | Cushion for a Respiratory Mask Assembly |
| NZ608551A (en) | 2004-06-16 | 2014-10-31 | Resmed Ltd | Cushion for a respiratory mask assembly |
| US7845352B2 (en) * | 2004-07-20 | 2010-12-07 | Carefusion 205, Inc. | Flexible CPAP mask |
| CN1988931B (zh) * | 2004-07-23 | 2010-06-23 | 雷斯梅德有限公司 | 用于病人接口的排放弯管 |
| WO2006122369A1 (en) * | 2005-05-20 | 2006-11-23 | Resmed Limited | Elbow for mask system |
| EP1776153B1 (de) * | 2004-08-02 | 2018-10-31 | ResMed R&D Germany GmbH | Vorrichtung zur ableitung von atemgas aus dem innenbereich einer atemmaske, sowie unter einschluss dieser vorrichtung gebildete atemmaskenanordnung an sich |
| WO2006024288A2 (de) * | 2004-09-03 | 2006-03-09 | Weinmann Geräte für Medizin GmbH & Co. KG | Atemmaske |
| US7624735B2 (en) * | 2004-09-21 | 2009-12-01 | Respironics Respiratory Drug Delivery (Uk) Ltd | Cheek-mounted patient interface |
| US7237551B2 (en) * | 2004-12-22 | 2007-07-03 | Ric Investments, Llc. | Cushion for a patient interface |
| AU2016204360B2 (en) * | 2005-01-12 | 2018-08-23 | ResMed Pty Ltd | Cushion for Patient Interface |
| EP1841484A4 (en) | 2005-01-12 | 2009-12-02 | Resmed Ltd | GAS REFRIGERATION BREATHING MASK AND METHOD OF MANUFACTURING THE MASK |
| ES2443959T5 (es) | 2005-01-12 | 2018-04-02 | Resmed Limited | Almohadilla para interfaz con un paciente |
| US7546837B2 (en) * | 2005-03-16 | 2009-06-16 | Ric Investments, Llc | Interface with rolling diaphragm |
| WO2006102708A1 (en) | 2005-04-01 | 2006-10-05 | Resmed Limited | Mask pressure regulation in cpap treatment and assisted respiration by dynamic control of mask vent flow |
| US20060266365A1 (en) * | 2005-05-31 | 2006-11-30 | Resmed Limited | Vent cover for a mask assembly |
| CN101237902B (zh) | 2005-06-06 | 2012-02-29 | 雷斯梅德有限公司 | 面罩系统 |
| US7490608B2 (en) | 2005-06-17 | 2009-02-17 | Nellcorr Puritan Bennett Llc | System and method for adjusting a gas delivery mask |
| US7827987B2 (en) | 2005-06-17 | 2010-11-09 | Nellcor Puritan Bennett Llc | Ball joint for providing flexibility to a gas delivery pathway |
| US7849855B2 (en) | 2005-06-17 | 2010-12-14 | Nellcor Puritan Bennett Llc | Gas exhaust system for a gas delivery mask |
| US7900630B2 (en) | 2005-06-17 | 2011-03-08 | Nellcor Puritan Bennett Llc | Gas delivery mask with flexible bellows |
| USD557408S1 (en) | 2005-10-07 | 2007-12-11 | Resmed Limited | Mask assembly |
| US8397728B2 (en) | 2005-10-14 | 2013-03-19 | Resmed Limited | Cushion to frame assembly mechanism |
| NZ567372A (en) * | 2005-10-17 | 2011-06-30 | Resmed Ltd | Anti-asphyxia valve assembly for respiratory mask with clip member to secure AAV assemblywithin an elbow |
| US20090126739A1 (en) | 2005-10-25 | 2009-05-21 | Resmed Limited | Interchangeable Mask Assembly |
| US20090151729A1 (en) * | 2005-11-08 | 2009-06-18 | Resmed Limited | Nasal Assembly |
| US20080053446A1 (en) * | 2006-03-31 | 2008-03-06 | Tiara Medical Systems, Inc. | Adjustable cpap mask assembly |
| FR2899483B1 (fr) * | 2006-04-06 | 2008-05-30 | Georges Boussignac | Dispositif de respiration artificielle pour patients atteints d'hypoxemie ou d'anoxemie |
| US8342181B2 (en) | 2006-06-16 | 2013-01-01 | Resmed Limited | Elbow assembly |
| CA2890556C (en) | 2006-07-14 | 2018-05-01 | Fisher & Paykel Healthcare Limited | Breathing assistance apparatus |
| WO2008010484A1 (en) | 2006-07-18 | 2008-01-24 | Teijin Pharma Limited | Respiring nose mask system |
| NZ612086A (en) * | 2006-07-28 | 2014-12-24 | Resmed Ltd | Delivery of respiratory therapy |
| ES2576454T3 (es) * | 2006-07-28 | 2016-07-07 | Resmed Ltd. | Administración de terapia respiratoria |
| CN103418070B (zh) * | 2006-12-15 | 2017-03-01 | 瑞思迈有限公司 | 呼吸治疗的传送系统 |
| EP2481434B1 (en) | 2006-12-15 | 2016-04-13 | ResMed Ltd. | Delivery of respiratory therapy |
| US8517023B2 (en) | 2007-01-30 | 2013-08-27 | Resmed Limited | Mask system with interchangeable headgear connectors |
| NZ578334A (en) | 2007-04-19 | 2011-01-28 | Resmed Ltd | Mask frame connected to face cushion via intervening clip |
| CN101678187B (zh) * | 2007-05-02 | 2014-07-16 | Ric投资有限责任公司 | 用于患者接口的衬垫 |
| US8875709B2 (en) | 2007-05-10 | 2014-11-04 | Resmed Limited | Mask assembly |
| JP2008310110A (ja) * | 2007-06-15 | 2008-12-25 | Konica Minolta Business Technologies Inc | 画像形成装置 |
| NZ706053A (en) | 2007-11-05 | 2016-10-28 | Resmed Ltd | Patient interface |
| EP2420281B1 (en) | 2007-08-24 | 2020-12-09 | ResMed Pty Ltd | Mask vent |
| WO2011014931A1 (en) | 2009-08-07 | 2011-02-10 | Resmed Ltd | Patient interface systems |
| US8573201B2 (en) | 2007-10-22 | 2013-11-05 | Resmed Limited | Patient interface systems |
| NZ701183A (en) | 2008-03-04 | 2014-11-28 | Resmed Ltd | Mask system |
| US11331447B2 (en) | 2008-03-04 | 2022-05-17 | ResMed Pty Ltd | Mask system with snap-fit shroud |
| EP2259828B1 (en) | 2008-03-04 | 2021-05-19 | ResMed Pty Ltd | Cushion element and respiratory mask assembly comprising same |
| WO2009108994A1 (en) | 2008-03-04 | 2009-09-11 | Resmed Ltd | A foam respiratory mask |
| WO2009136333A1 (en) * | 2008-05-07 | 2009-11-12 | Koninklijke Philips Electronics, N.V. | Exhaust assembly |
| US10792451B2 (en) | 2008-05-12 | 2020-10-06 | Fisher & Paykel Healthcare Limited | Patient interface and aspects thereof |
| US10258757B2 (en) | 2008-05-12 | 2019-04-16 | Fisher & Paykel Healthcare Limited | Patient interface and aspects thereof |
| US8291906B2 (en) | 2008-06-04 | 2012-10-23 | Resmed Limited | Patient interface systems |
| US8905031B2 (en) | 2008-06-04 | 2014-12-09 | Resmed Limited | Patient interface systems |
| EP3597251B1 (en) | 2008-06-05 | 2023-04-26 | ResMed Pty Ltd | Treatment of respiratory conditions |
| US11660413B2 (en) | 2008-07-18 | 2023-05-30 | Fisher & Paykel Healthcare Limited | Breathing assistance apparatus |
| AU2014202233B2 (en) * | 2008-07-18 | 2015-09-17 | Fisher & Paykel Healthcare Limited | Breathing assistance apparatus |
| ATE539788T1 (de) * | 2008-07-18 | 2012-01-15 | Fisher & Paykel Healthcare Ltd | Atemhilfsgerät |
| NZ591308A (en) | 2008-09-12 | 2013-09-27 | Resmed Ltd | Foam-based interfacing structure method and apparatus |
| EP3323462B1 (en) | 2008-10-10 | 2021-12-15 | Fisher & Paykel Healthcare Limited | Nasal pillows for a patient interface |
| EP2213324B1 (en) * | 2009-01-30 | 2016-07-27 | ResMed R&D Germany GmbH | Patient interface structure and method/tool for manufacturing same |
| US20100282264A1 (en) * | 2009-05-05 | 2010-11-11 | Hsiner Company, Ltd. | Respiratory mask having a damping ring |
| CN102458547B (zh) | 2009-05-29 | 2016-05-11 | 瑞思迈有限公司 | 鼻面罩系统 |
| AU2010256351B2 (en) | 2009-06-02 | 2013-08-29 | Resmed Limited | Unobtrusive nasal mask |
| EP2501423A4 (en) | 2009-11-18 | 2014-10-29 | Fisher & Paykel Healthcare Ltd | NOSE MASK |
| NZ713055A (en) | 2010-09-30 | 2017-04-28 | Resmed Ltd | Mask system |
| NZ713455A (en) | 2010-09-30 | 2017-04-28 | Resmed Ltd | Patient interface systems |
| EP2624903B1 (en) | 2010-10-08 | 2018-05-16 | Fisher & Paykel Healthcare Limited | Breathing assistance apparatus |
| WO2012052902A2 (en) * | 2010-10-22 | 2012-04-26 | Koninklijke Philips Electronics N.V. | Exhaust gas assembly for a patient interface device cross-reference to related applications |
| WO2012094730A1 (en) * | 2010-12-01 | 2012-07-19 | Southmedic Incorporated | Gas delivery mask for medical use |
| US20120234326A1 (en) * | 2011-01-14 | 2012-09-20 | Resmed Limited | Mask system |
| US10603456B2 (en) | 2011-04-15 | 2020-03-31 | Fisher & Paykel Healthcare Limited | Interface comprising a nasal sealing portion |
| GB2503843B (en) | 2011-04-15 | 2016-04-13 | Fisher & Paykel Healthcare Ltd | Interface comprising a rolling nasal bridge portion |
| WO2013068911A1 (en) * | 2011-11-07 | 2013-05-16 | Koninklijke Philips Electronics N.V. | Patient interface with snap-fit connector |
| US8434589B1 (en) * | 2011-11-14 | 2013-05-07 | Xerox Corporation | Obstruction device for reducing noise emitted from a blower |
| US9492086B2 (en) | 2012-03-21 | 2016-11-15 | Fresca Medical, Inc. | Apparatus, systems, and methods for treating obstructive sleep apnea |
| JP6357144B2 (ja) * | 2012-03-27 | 2018-07-11 | コーニンクレッカ フィリップス エヌ ヴェKoninklijke Philips N.V. | 皮膚の冷却を改善するユーザインターフェース装置 |
| WO2013155349A1 (en) | 2012-04-13 | 2013-10-17 | Fresca Medical Inc. | Sleep apnea device |
| EP4223343A3 (en) | 2012-07-27 | 2023-08-30 | ResMed Pty Ltd | Patient interface and method for making same |
| US9974915B2 (en) | 2012-07-27 | 2018-05-22 | Resmed Limited | Elastic headgear |
| US12390612B2 (en) | 2012-07-27 | 2025-08-19 | ResMed Pty Ltd | Patient interface with elastic headgear |
| GB2553475B8 (en) | 2012-08-08 | 2019-01-02 | Fisher & Paykel Healthcare Ltd | Headgear for patient interface |
| WO2014038959A1 (en) | 2012-09-04 | 2014-03-13 | Fisher & Paykel Healthcare Limited | Valsalva mask |
| DE102012020917A1 (de) * | 2012-10-25 | 2014-04-30 | Dräger Medical GmbH | Winkelstück für eine Beatmungsmaske |
| JP6382836B2 (ja) * | 2012-12-14 | 2018-08-29 | コーニンクレッカ フィリップス エヌ ヴェKoninklijke Philips N.V. | 汎用クッションテンプレートを用いた呼吸インターフェースデバイスのカスタマイズ |
| CN105377348B (zh) | 2013-01-16 | 2018-11-23 | 雷斯梅德有限公司 | 患者接口及其制作方法 |
| NZ729050A (en) * | 2013-01-18 | 2018-08-31 | ResMed Pty Ltd | Patient interface and method for making same |
| EP2953538B1 (en) * | 2013-02-11 | 2018-10-17 | Monitor Mask Inc. | Oxygen face mask and component system |
| US20140238401A1 (en) * | 2013-02-22 | 2014-08-28 | Walter Jent Paschall | Cpap system |
| USD749205S1 (en) | 2013-03-08 | 2016-02-09 | Fresca Medical, Inc. | Sleep apnea device |
| CA2844454C (en) | 2013-03-08 | 2017-07-11 | Teleflex Medical Incorporated | Exhalation scavenging therapy mask |
| US9757726B2 (en) | 2013-03-14 | 2017-09-12 | Inguran, Llc | System for high throughput sperm sorting |
| US10371622B2 (en) | 2013-03-14 | 2019-08-06 | Inguran, Llc | Device for high throughput sperm sorting |
| US10662408B2 (en) | 2013-03-14 | 2020-05-26 | Inguran, Llc | Methods for high throughput sperm sorting |
| FR3004953A1 (fr) * | 2013-04-29 | 2014-10-31 | Louis Pradin | Dispositif permettant d'eviter la transmission de maladies contagieuses avec l'extraction de l'expiration d'air pollue du malade respire pour une personne dans un lit a cote d'un malade sous traitement d'assistance respiratoire pour l'apnee du sommeil et pour eviter a ce malade des ulcerations a la cornee de ses yeux. |
| USD742501S1 (en) | 2013-07-18 | 2015-11-03 | Fresca Medical, Inc. | Sleep apnea device |
| USD742502S1 (en) | 2013-07-18 | 2015-11-03 | Fresca Medical, Inc. | Sleep apnea device |
| USD743021S1 (en) | 2013-07-18 | 2015-11-10 | Fresca Medical, Inc. | Sleep apnea device |
| USD745139S1 (en) | 2013-08-16 | 2015-12-08 | Fresca Medical, Inc. | Sleep apnea device |
| NZ720335A (en) | 2013-11-15 | 2021-07-30 | ResMed Pty Ltd | Patient interface and method for making same |
| US10065011B2 (en) * | 2014-05-21 | 2018-09-04 | Atom Medical Corporation | Gas supply mask apparatus |
| JP6271346B2 (ja) * | 2014-06-12 | 2018-01-31 | アトムメディカル株式会社 | ガス類供給用マスク装置 |
| USD759230S1 (en) | 2014-05-30 | 2016-06-14 | Fresca Medical, Inc. | Airflow generator for a sleep apnea system |
| EP2954919A1 (en) * | 2014-06-11 | 2015-12-16 | Air Liquide Medical Systems | Respiratory mask with venting holes |
| CN110507889B (zh) | 2014-07-18 | 2021-07-23 | 费雪派克医疗保健有限公司 | 头戴具夹扣装置 |
| CA3211125A1 (en) | 2014-08-25 | 2016-03-03 | Fisher & Paykel Healthcare Limited | Respiratory mask and related portions, components or sub-assemblies |
| CN104872864A (zh) * | 2014-12-10 | 2015-09-02 | 深圳市三恩科技有限公司 | 一种空气净化防护送风口罩 |
| CN107530518B (zh) | 2015-03-04 | 2020-09-08 | 费雪派克医疗保健有限公司 | 面罩系统头戴具 |
| JP6283325B2 (ja) * | 2015-03-09 | 2018-02-21 | アトムメディカル株式会社 | ガス類供給用マスク装置 |
| CN107921229A (zh) * | 2015-07-20 | 2018-04-17 | 瑞思迈有限公司 | 具有体积缩减构件的患者接口 |
| CN108348723B (zh) * | 2015-09-23 | 2021-01-15 | 瑞思迈私人有限公司 | 弯管组件 |
| USD882066S1 (en) | 2016-05-13 | 2020-04-21 | Fisher & Paykel Healthcare Limited | Frame for a breathing mask |
| USD895102S1 (en) * | 2016-11-30 | 2020-09-01 | ResMed Pty Ltd | Air delivery adapter for respiratory mask |
| USD863545S1 (en) * | 2016-11-30 | 2019-10-15 | ResMed Pty Ltd | Air delivery adapter for respiratory mask |
| USD823455S1 (en) | 2017-02-23 | 2018-07-17 | Fisher & Paykel Healthcare Limited | Cushion assembly for breathing mask assembly |
| USD824020S1 (en) | 2017-02-23 | 2018-07-24 | Fisher & Paykel Healthcare Limited | Cushion assembly for breathing mask assembly |
| USD823454S1 (en) | 2017-02-23 | 2018-07-17 | Fisher & Paykel Healthcare Limited | Cushion assembly for breathing mask assembly |
| TWI737934B (zh) * | 2018-09-14 | 2021-09-01 | 雃博股份有限公司 | 呼吸面罩 |
| CN109568756A (zh) * | 2018-12-29 | 2019-04-05 | 天津觉明科技有限公司 | 呼吸面罩和通气治疗设备 |
| USD999368S1 (en) * | 2019-12-02 | 2023-09-19 | Primed Halberstadt Medizintechnik Gmbh | Speaking valve with breathing filter for a tracheal tube |
| TWI770844B (zh) * | 2021-02-26 | 2022-07-11 | 雃博股份有限公司 | 患者介面 |
Family Cites Families (78)
| Publication number | Priority date | Publication date | Assignee | Title |
|---|---|---|---|---|
| US1081745A (en) | 1912-05-03 | 1913-12-16 | White S Dental Mfg Co | Nasal inhaler. |
| US2313999A (en) * | 1942-06-30 | 1943-03-16 | Air Reduction | Apparatus for administering oxygen |
| DE1102976B (de) * | 1954-01-16 | 1961-03-23 | Chirana Praha Np | Fuer Narkotisiergeraete oder Geraete fuer kuenstliche Beatmung bestimmtes Ventilstueck mit einem Einatmungsventil und einem Ausatmungsventil |
| US3724499A (en) * | 1971-06-03 | 1973-04-03 | Fmc Corp | Anti-cavitation system for fluid loading arms |
| US4266540A (en) * | 1978-10-13 | 1981-05-12 | Donald Panzik | Nasal oxygen therapy mask |
| US4446864A (en) * | 1980-07-10 | 1984-05-08 | Watson Robert L | Emergency ventilation tube |
| SE8008962L (sv) * | 1980-12-18 | 1982-06-19 | Erik Allan Lindkvist | Anordning vid narkosmask |
| EP0088761B1 (en) | 1981-04-24 | 1987-08-12 | Somed Pty. Ltd. | Device for treating snoring sickness |
| US4655213A (en) * | 1983-10-06 | 1987-04-07 | New York University | Method and apparatus for the treatment of obstructive sleep apnea |
| US4676241A (en) | 1984-01-16 | 1987-06-30 | W.L.G. Technology | Ventilation tube swivel |
| US4713844A (en) | 1986-07-16 | 1987-12-22 | Gentex Corporation | Protective helmet with face mask sealing means |
| US5199424A (en) | 1987-06-26 | 1993-04-06 | Sullivan Colin E | Device for monitoring breathing during sleep and control of CPAP treatment that is patient controlled |
| US5065756A (en) * | 1987-12-22 | 1991-11-19 | New York University | Method and apparatus for the treatment of obstructive sleep apnea |
| US5243971A (en) * | 1990-05-21 | 1993-09-14 | The University Of Sydney | Nasal mask for CPAP having ballooning/moulding seal with wearer's nose and facial contours |
| FR2682043A1 (fr) | 1991-10-03 | 1993-04-09 | Intertechnique Sa | Equipement respiratoire a masque oro-nasal. |
| US5560354A (en) * | 1993-06-18 | 1996-10-01 | Rescare Limited | Facial masks for assisted respiration or CPAP |
| US5441046A (en) | 1993-09-29 | 1995-08-15 | Respironics, Inc. | Quick release mechanism for nasal and/or oral gas delivery mask |
| EP2305116A1 (en) | 1993-11-05 | 2011-04-06 | ResMed Ltd. | Control of CPAP Treatment |
| US5694922A (en) * | 1994-05-18 | 1997-12-09 | Ballard Medical Products | Swivel tube connections with hermetic seals |
| US5735271A (en) * | 1994-05-18 | 1998-04-07 | Ballard Medical Products | Multiple access adaptors for monitoring, sampling, medicating, aspirating, and ventilating the respiratory tract of a patient |
| US5662101A (en) * | 1995-12-07 | 1997-09-02 | Respironics, Inc. | Respiratory facial mask |
| US5857460A (en) | 1996-03-14 | 1999-01-12 | Beth Israel Deaconess Medical Center, Inc. | Gas-sensing mask |
| US5657752A (en) * | 1996-03-28 | 1997-08-19 | Airways Associates | Nasal positive airway pressure mask and method |
| AUPO126596A0 (en) * | 1996-07-26 | 1996-08-22 | Resmed Limited | A nasal mask and mask cushion therefor |
| AUPO247496A0 (en) | 1996-09-23 | 1996-10-17 | Resmed Limited | Assisted ventilation to match patient respiratory need |
| US6192886B1 (en) * | 1996-10-17 | 2001-02-27 | Hans Rudolph, Inc. | Nasal mask |
| US5921239A (en) | 1997-01-07 | 1999-07-13 | Sunrise Medical Hhg Inc. | Face mask for patient breathing |
| US5746201A (en) * | 1997-01-23 | 1998-05-05 | Nellcor Puritan-Bennett | CPAP nose mask |
| US6412487B1 (en) | 1997-01-31 | 2002-07-02 | Resmed Limited | Mask cushion and frame assembly |
| AUPQ104099A0 (en) | 1999-06-18 | 1999-07-08 | Resmed Limited | Forehead support for facial mask |
| AUPP855099A0 (en) | 1999-02-09 | 1999-03-04 | Resmed Limited | Gas delivery connection assembly |
| AUPO504597A0 (en) | 1997-02-10 | 1997-03-06 | Resmed Limited | A mask and a vent assembly therefor |
| US5937851A (en) * | 1997-02-27 | 1999-08-17 | Respironics, Inc. | Swivel device utilizing bearing clearance to allow carbon dioxide laden exhaust |
| DE29723101U1 (de) | 1997-04-05 | 1998-05-28 | Gottlieb Weinmann Geräte für Medizin und Arbeitsschutz GmbH + Co. KG, 22525 Hamburg | Vorrichtung zur Ankopplung an Beatmungsmasken |
| US6119694A (en) | 1997-07-24 | 2000-09-19 | Respironics Georgia, Inc. | Nasal mask and headgear |
| US5947121A (en) * | 1997-11-28 | 1999-09-07 | Marshall; Patrick | Tracheotomy tube water blocking system |
| US6119693A (en) | 1998-01-16 | 2000-09-19 | Resmed Limited | Forehead support for facial mask |
| US5918598A (en) | 1998-04-10 | 1999-07-06 | Belfer; William A. | Strapless respiratory facial mask for customizing to the wearer's face |
| AUPP366398A0 (en) | 1998-05-22 | 1998-06-18 | Resmed Limited | Ventilatory assistance for treatment of cardiac failure and cheyne-stokes breathing |
| DE19840760C2 (de) * | 1998-09-07 | 2000-07-20 | Map Medizintechnik Gmbh | Schalldämpfer für Beatmungsvorrichtung |
| AUPQ102999A0 (en) | 1999-06-18 | 1999-07-08 | Resmed Limited | A connector for a respiratory mask and a respiratory mask |
| AUPP812199A0 (en) | 1999-01-12 | 1999-02-04 | Resmed Limited | Headgear |
| JP2000233024A (ja) * | 1999-02-12 | 2000-08-29 | Shigeo Chikui | 鞴型人工呼吸具の呼吸マスク弁装置 |
| US6338342B1 (en) | 1999-02-22 | 2002-01-15 | Cabot Safety Intermediate Corporation | Respirator headpiece and release mechanism |
| US6347631B1 (en) | 1999-11-09 | 2002-02-19 | Mallinckrodt, Inc. | Cantilever device and method for breathing devices and the like |
| US6412488B1 (en) * | 1999-05-12 | 2002-07-02 | Respironics, Inc. | Low contact nasal mask and system using same |
| US6505623B1 (en) * | 1999-06-04 | 2003-01-14 | Mallinckrodt Inc. | Hat-held respiratory mask |
| US6631718B1 (en) * | 1999-06-08 | 2003-10-14 | Sleepnet Corporation | Air mask with seal |
| US6467483B1 (en) * | 1999-07-28 | 2002-10-22 | Respironics, Inc. | Respiratory mask |
| US6435181B1 (en) * | 1999-08-30 | 2002-08-20 | Sunrise Medical Hhg Inc. | Respiratory mask with adjustable exhaust vent |
| US20010032648A1 (en) | 2000-03-03 | 2001-10-25 | Bernadette Jestrabek-Hart | Exhaust airway for nasal continuous positive airway pressure mask |
| US6595212B1 (en) * | 2000-04-17 | 2003-07-22 | Richard J. Arnott | Method and apparatus for maintaining airway patency |
| US6581594B1 (en) * | 2000-05-15 | 2003-06-24 | Resmed Limited | Respiratory mask having gas washout vent and gas washout vent for respiratory mask |
| US6450166B1 (en) * | 2000-05-17 | 2002-09-17 | Southmedic Incorporated | Patient oxygen delivery system |
| DE60114929T2 (de) * | 2000-06-14 | 2006-06-29 | Fisher & Paykel Healthcare Ltd., East Tamaki | Nasenmaske |
| US6986352B2 (en) | 2000-06-22 | 2006-01-17 | Resmed Limited | Mask with gusset |
| US6530373B1 (en) * | 2000-08-04 | 2003-03-11 | Mallinckrodt Inc. | Respirator mask |
| US6595207B1 (en) * | 2000-09-11 | 2003-07-22 | Southmedic Incorporated | Oxygen diffuser for patient oxygen delivery system |
| US6418928B1 (en) * | 2000-09-25 | 2002-07-16 | Mallinckrodt Inc. | Multi-seal respirator mask |
| US6508249B2 (en) * | 2000-10-05 | 2003-01-21 | Vital Signs, Inc. | Connecting apparatus for placing fluid flow paths in fluid communication |
| JP4818569B2 (ja) | 2000-12-22 | 2011-11-16 | レスメド・リミテッド | マスク |
| US7007696B2 (en) * | 2001-05-18 | 2006-03-07 | Tiara Medical Systems, Inc. | Mask cushion and method of using same |
| US6851425B2 (en) * | 2001-05-25 | 2005-02-08 | Respironics, Inc. | Exhaust port assembly for a pressure support system |
| GB0114368D0 (en) * | 2001-06-07 | 2001-08-08 | Smiths Industries Plc | Face masks |
| ATE390945T1 (de) | 2001-09-07 | 2008-04-15 | Resmed Ltd | Maskenanordnung |
| US6675796B2 (en) * | 2001-10-12 | 2004-01-13 | Southmedic Incorporated | Lightweight oxygen delivery device for patients |
| US6679265B2 (en) * | 2001-10-25 | 2004-01-20 | Worldwide Medical Technologies | Nasal cannula |
| US6892729B2 (en) | 2001-11-20 | 2005-05-17 | Fisher & Paykel Healthcare Limited | Patient interfaces |
| DE10158066A1 (de) * | 2001-11-27 | 2003-06-05 | Weinmann G Geraete Med | Beatmungsmaske |
| AUPS192602A0 (en) | 2002-04-23 | 2002-05-30 | Resmed Limited | Nasal mask |
| US8997742B2 (en) | 2002-04-23 | 2015-04-07 | Resmed Limited | Ergonomic and adjustable respiratory mask assembly with cushion |
| US7743767B2 (en) * | 2002-04-23 | 2010-06-29 | Resmed Limited | Ergonomic and adjustable respiratory mask assembly with frame |
| USD485905S1 (en) | 2002-08-09 | 2004-01-27 | Resmed Limited | Nasal mask |
| NZ595537A (en) | 2002-09-06 | 2013-05-31 | Resmed Ltd | Elbow with gas diversion baffle for respiratory mask |
| US6874502B1 (en) * | 2003-05-02 | 2005-04-05 | Ramses Nashed | Breathing circuit disconnect warning system and method for using a disconnect system |
| CN1988931B (zh) * | 2004-07-23 | 2010-06-23 | 雷斯梅德有限公司 | 用于病人接口的排放弯管 |
| WO2006122369A1 (en) * | 2005-05-20 | 2006-11-23 | Resmed Limited | Elbow for mask system |
| US8875709B2 (en) * | 2007-05-10 | 2014-11-04 | Resmed Limited | Mask assembly |
-
2003
- 2003-09-05 NZ NZ595537A patent/NZ595537A/xx not_active IP Right Cessation
- 2003-09-05 EP EP03793492.4A patent/EP1545675B1/en not_active Expired - Lifetime
- 2003-09-05 WO PCT/AU2003/001162 patent/WO2004022147A1/en not_active Ceased
- 2003-09-05 US US10/655,621 patent/US7011090B2/en not_active Expired - Lifetime
- 2003-09-05 JP JP2004569778A patent/JP4741248B2/ja not_active Expired - Fee Related
- 2003-09-05 NZ NZ573226A patent/NZ573226A/en not_active IP Right Cessation
- 2003-09-05 AU AU2003257273A patent/AU2003257273A1/en not_active Abandoned
-
2005
- 2005-12-30 US US11/320,633 patent/US7316230B2/en not_active Expired - Lifetime
-
2007
- 2007-12-14 US US12/000,601 patent/US8826908B2/en not_active Expired - Lifetime
-
2010
- 2010-05-06 JP JP2010106600A patent/JP5373694B2/ja not_active Expired - Lifetime
-
2011
- 2011-08-25 JP JP2011183475A patent/JP5466213B2/ja not_active Expired - Fee Related
-
2014
- 2014-09-05 US US14/477,973 patent/US9821134B2/en not_active Expired - Lifetime
Also Published As
| Publication number | Publication date |
|---|---|
| JP5466213B2 (ja) | 2014-04-09 |
| US20060102185A1 (en) | 2006-05-18 |
| JP2005537905A (ja) | 2005-12-15 |
| US20080099014A1 (en) | 2008-05-01 |
| AU2003257273A1 (en) | 2004-03-29 |
| NZ595537A (en) | 2013-05-31 |
| EP1545675A4 (en) | 2010-07-14 |
| JP5373694B2 (ja) | 2013-12-18 |
| US8826908B2 (en) | 2014-09-09 |
| WO2004022147A1 (en) | 2004-03-18 |
| EP1545675B1 (en) | 2014-03-05 |
| US20040112385A1 (en) | 2004-06-17 |
| US7011090B2 (en) | 2006-03-14 |
| NZ573226A (en) | 2010-07-30 |
| JP2010162411A (ja) | 2010-07-29 |
| EP1545675A1 (en) | 2005-06-29 |
| US7316230B2 (en) | 2008-01-08 |
| JP2011229997A (ja) | 2011-11-17 |
| US20140373848A1 (en) | 2014-12-25 |
| US9821134B2 (en) | 2017-11-21 |
Similar Documents
| Publication | Publication Date | Title |
|---|---|---|
| JP4741248B2 (ja) | マスクアセンブリのためのエルボー | |
| US7934501B2 (en) | Swivel elbow for a patient interface | |
| US9132256B2 (en) | Connector for a respiratory mask and a respiratory mask | |
| US11202877B2 (en) | Nasal assembly | |
| JP3961425B2 (ja) | 圧力支援システムの排気口組立体 | |
| US8333199B2 (en) | High flow therapy artificial airway interfaces and related methods | |
| US9339623B2 (en) | Exhaust gas assembly for a patient interface device | |
| US10413697B2 (en) | Oxygen mask | |
| NZ585826A (en) | Elbow with gas diversion baffle for respiratory mask | |
| JP5795024B2 (ja) | マスクアセンブリのためのエルボー |
Legal Events
| Date | Code | Title | Description |
|---|---|---|---|
| A621 | Written request for application examination |
Free format text: JAPANESE INTERMEDIATE CODE: A621 Effective date: 20060316 |
|
| A131 | Notification of reasons for refusal |
Free format text: JAPANESE INTERMEDIATE CODE: A131 Effective date: 20090331 |
|
| A601 | Written request for extension of time |
Free format text: JAPANESE INTERMEDIATE CODE: A601 Effective date: 20090630 |
|
| A602 | Written permission of extension of time |
Free format text: JAPANESE INTERMEDIATE CODE: A602 Effective date: 20090707 |
|
| A521 | Request for written amendment filed |
Free format text: JAPANESE INTERMEDIATE CODE: A523 Effective date: 20090715 |
|
| A131 | Notification of reasons for refusal |
Free format text: JAPANESE INTERMEDIATE CODE: A131 Effective date: 20100202 |
|
| A02 | Decision of refusal |
Free format text: JAPANESE INTERMEDIATE CODE: A02 Effective date: 20101116 |
|
| A521 | Request for written amendment filed |
Free format text: JAPANESE INTERMEDIATE CODE: A523 Effective date: 20110303 |
|
| A911 | Transfer to examiner for re-examination before appeal (zenchi) |
Free format text: JAPANESE INTERMEDIATE CODE: A911 Effective date: 20110322 |
|
| TRDD | Decision of grant or rejection written | ||
| A01 | Written decision to grant a patent or to grant a registration (utility model) |
Free format text: JAPANESE INTERMEDIATE CODE: A01 Effective date: 20110405 |
|
| A61 | First payment of annual fees (during grant procedure) |
Free format text: JAPANESE INTERMEDIATE CODE: A61 Effective date: 20110506 |
|
| R150 | Certificate of patent or registration of utility model |
Free format text: JAPANESE INTERMEDIATE CODE: R150 Ref document number: 4741248 Country of ref document: JP Free format text: JAPANESE INTERMEDIATE CODE: R150 |
|
| FPAY | Renewal fee payment (event date is renewal date of database) |
Free format text: PAYMENT UNTIL: 20140513 Year of fee payment: 3 |
|
| R250 | Receipt of annual fees |
Free format text: JAPANESE INTERMEDIATE CODE: R250 |
|
| R250 | Receipt of annual fees |
Free format text: JAPANESE INTERMEDIATE CODE: R250 |
|
| R250 | Receipt of annual fees |
Free format text: JAPANESE INTERMEDIATE CODE: R250 |
|
| R250 | Receipt of annual fees |
Free format text: JAPANESE INTERMEDIATE CODE: R250 |
|
| R250 | Receipt of annual fees |
Free format text: JAPANESE INTERMEDIATE CODE: R250 |
|
| R250 | Receipt of annual fees |
Free format text: JAPANESE INTERMEDIATE CODE: R250 |
|
| S533 | Written request for registration of change of name |
Free format text: JAPANESE INTERMEDIATE CODE: R313533 |
|
| R350 | Written notification of registration of transfer |
Free format text: JAPANESE INTERMEDIATE CODE: R350 |
|
| R250 | Receipt of annual fees |
Free format text: JAPANESE INTERMEDIATE CODE: R250 |
|
| R250 | Receipt of annual fees |
Free format text: JAPANESE INTERMEDIATE CODE: R250 |
|
| R250 | Receipt of annual fees |
Free format text: JAPANESE INTERMEDIATE CODE: R250 |
|
| LAPS | Cancellation because of no payment of annual fees |