JP4732991B2 - El装置 - Google Patents

El装置 Download PDF

Info

Publication number
JP4732991B2
JP4732991B2 JP2006260485A JP2006260485A JP4732991B2 JP 4732991 B2 JP4732991 B2 JP 4732991B2 JP 2006260485 A JP2006260485 A JP 2006260485A JP 2006260485 A JP2006260485 A JP 2006260485A JP 4732991 B2 JP4732991 B2 JP 4732991B2
Authority
JP
Japan
Prior art keywords
light
emitting layer
light output
color
emission
Prior art date
Legal status (The legal status is an assumption and is not a legal conclusion. Google has not performed a legal analysis and makes no representation as to the accuracy of the status listed.)
Active
Application number
JP2006260485A
Other languages
English (en)
Other versions
JP2007115679A (ja
Inventor
豊 久芳
真一 阿部
Current Assignee (The listed assignees may be inaccurate. Google has not performed a legal analysis and makes no representation or warranty as to the accuracy of the list.)
Kyocera Corp
Original Assignee
Kyocera Corp
Priority date (The priority date is an assumption and is not a legal conclusion. Google has not performed a legal analysis and makes no representation as to the accuracy of the date listed.)
Filing date
Publication date
Application filed by Kyocera Corp filed Critical Kyocera Corp
Priority to JP2006260485A priority Critical patent/JP4732991B2/ja
Publication of JP2007115679A publication Critical patent/JP2007115679A/ja
Application granted granted Critical
Publication of JP4732991B2 publication Critical patent/JP4732991B2/ja
Active legal-status Critical Current
Anticipated expiration legal-status Critical

Links

Images

Classifications

    • HELECTRICITY
    • H10SEMICONDUCTOR DEVICES; ELECTRIC SOLID-STATE DEVICES NOT OTHERWISE PROVIDED FOR
    • H10KORGANIC ELECTRIC SOLID-STATE DEVICES
    • H10K50/00Organic light-emitting devices
    • H10K50/80Constructional details
    • H10K50/85Arrangements for extracting light from the devices
    • H10K50/852Arrangements for extracting light from the devices comprising a resonant cavity structure, e.g. Bragg reflector pair

Landscapes

  • Physics & Mathematics (AREA)
  • Optics & Photonics (AREA)
  • Electroluminescent Light Sources (AREA)
  • Devices For Indicating Variable Information By Combining Individual Elements (AREA)

Description

本発明は、カラー発光を行うEL(Electroluminescent)装置に関
する。
EL装置は、発光層と、該発光層の光を共振する共振器構造とを有する光出力部を複数有している。共振器構造は、発光層を挟み込んだ電極間、光が通過するその他の層、部材等を含んで構成されている。この共振器構造で共振した光の共振波長は、EL装置から出射する光の出射角により変化し、これによってEL装置から出射する光の強度が光の出射角によって変化することが知られている。
この点に関し、カラー発光を行う従来のEL装置では、各色画素を構成する各光出力部の発光層が発光する赤、緑、青の各色の光の波長と、各光出力部の共振器構造の共振波長との関係に関する対策が十分ではなかった。
このため、従来のEL装置では、各色画素を形成する赤、緑、青の各光出力部から出射する各色の光の強度比が、光の出射角によって大きく変動し、出射角(視認方向)によって発光色が変化する色ずれが生じていた。
そこで、本発明の解決すべき課題は、視認方向の変化による発光色の色ずれを抑制することができるEL装置を提供することである。
上記の課題を解決するため、請求項1のEL装置は、発光層と、該発光層の発する光を共振する共振器構造と、を備えた複数の光出力部を有し、前記複数の光出力部は、第1の色の光を発する発光層を有する第1の光出力部と、前記第1の色と異なる色の光を発する発光層を有する第2の光出力部と、前記第1及び第2の光と異なる色の光を発する発光層を有する第3の光出力部と、を含んで構成され、前記第1乃至第3の光出力部に関して、前記発光層の主面に対して直交する方向に前記共振器構造を透過した光の透過スペクトルのピーク値を示す共振ピーク波長が、前記発光層が発光する光の発光スペクトルのピーク値を示す発光ピーク波長よりも長波長側にあるとともに、前記第1乃至第3の光出力部の発する光の前記発光ピーク波長とそれに対応する前記各共振ピーク波長との差をそれぞれΔλr、Δλg、Δλbとしたとき、0.5≦Δλg/Δλr≦2、及び0.5≦Δλb/Δλg≦2となることを特徴とする。
さらに、請求項に記載のEL装置は、請求項1に記載のEL装置において、前記第1乃至第3の光出力部の共振ピーク波長は、可視光領域に存在することを特徴とする。
また、請求項に記載のEL装置は、請求項1に記載のEL装置において、前記第1の色は赤色、前記第2の色は緑色、前記第3の色は青色であることを特徴とする。
また、請求項に記載のEL装置は、請求項1に記載のEL装置において、前記第1乃至第3の光出力部の前記共振器構造は、前記発光層の厚み方向の両側に設けられる一対の2つの電極の間に形成される単数もしくは複数の層を含むことを特徴とする。
また、請求項に記載のEL装置は、発光層と、該発光層の発する光を共振する共振器構造と、を備えた複数の光出力部を有し、前記複数の光出力部は、第1の色の光を発する発光層を有する第1の光出力部と、前記第1の色と異なる色の光を発する発光層を有する第2の光出力部と、前記第1及び第2の光と異なる色の光を発する発光層を有する第3の光出力部と、を含んで構成され、前記第1乃至第3の光出力部に関して、前記発光層の主面に対して直交する方向に前記共振器構造を透過した光の透過スペクトルのピーク値を示す共振ピーク波長が、前記発光層が発光する光の発光スペクトルのピーク値を示す発光ピーク波長よりも長波長側にあるとともに、前記第1乃至第3の光出力部を搭載する基板と、前記第1乃至第3の光出力部を被覆し、前記第1乃至第3の光出力部が発する光を透過する封止膜と、を更に備え、前記各光出力部の前記共振器構造は封止膜を含むことを特徴とする。
また、請求項に記載のEL装置は、発光層と、該発光層の発する光を共振する共振器構造と、を備えた複数の光出力部を有し、前記複数の光出力部は、第1の色の光を発する発光層を有する第1の光出力部と、前記第1の色と異なる色の光を発する発光層を有する第2の光出力部と、前記第1及び第2の光と異なる色の光を発する発光層を有する第3の光出力部と、を含んで構成され、前記第1乃至第3の光出力部に関して、前記発光層の主面に対して直交する方向に前記共振器構造を透過した光の透過スペクトルのピーク値を示す共振ピーク波長が、前記発光層が発光する光の発光スペクトルのピーク値を示す発光ピーク波長よりも長波長側にあるとともに、前記第1乃至第3の光出力部を搭載し、前記第1乃至第3の光出力部が発する光を透過する透明基板を更に備え、前記各光出力部の前記共振器構造は、前記透明基板含むことを特徴とする。
また、請求項に記載のEL装置は、発光層と、該発光層の発する光を共振する共振器構造と、を備えた複数の光出力部を有し、前記複数の光出力部は、第1の色の光を発する発光層を有する第1の光出力部と、前記第1の色と異なる色の光を発する発光層を有する第2の光出力部と、前記第1及び第2の光と異なる色の光を発する発光層を有する第3の光出力部と、を含んで構成され、前記第1乃至第3の光出力部に関して、前記発光層の主面に対して直交する方向に前記共振器構造を透過した光の透過スペクトルのピーク値を示す共振ピーク波長が、前記発光層が発光する光の発光スペクトルのピーク値を示す発光ピーク波長よりも長波長側にあるとともに、前記第1乃至第3の光出力部の前記共振器構造は、前記第1乃至第3の光出力部の発する光が外部に向けて出射されるまでに通過する全ての層および部材を含むことを特徴とする。
また、請求項に記載のEL装置は、発光層と、該発光層の発する光を共振する共振器構造と、を備えた複数の光出力部を有し、前記複数の光出力部は、第1の色の光を発する発光層を有する第1の光出力部と、前記第1の色と異なる色の光を発する発光層を有する第2の光出力部と、前記第1及び第2の光と異なる色の光を発する発光層を有する第3の光出力部と、を含んで構成され、前記第1乃至第3の光出力部に関して、前記発光層の主面に対して直交する方向に前記共振器構造を透過した光の透過スペクトルのピーク値を示す共振ピーク波長が、前記発光層が発光する光の発光スペクトルのピーク値を示す発光ピーク波長よりも長波長側にあるとともに、前記第1乃至第3光出力部の発する光の前記発光ピーク波長とそれに対応する前記各共振ピーク波長との差の絶対値は、前記共振器構造の厚みが大きい光出力部ほど大きく設定されていることを特徴とする。
本発明によれば、各光出力部の共振器構造の共振ピーク波長が、各光出力部に設けられる発光層が発光する各色の光の発光ピーク波長よりも長波長側にあるため、視認者の視認方向が正面方向に対して傾くように変化しても、各色の光の出射強度が視認方向の傾き角の増大に伴って揃って変化するようになっている。このため、視認方向の変化による発光色の色ずれを抑制することができる。
なお、EL装置が、比較的視野角の広さが要求される用途、例えばテレビ用のEL装置である場合、共振ピーク波長は発光ピーク波長よりも長波長側に位置することが好ましい。
すなわち、透過スペクトルの共振ピーク波長は視認方向が傾くにつれて短波長側に移動するため、共振ピーク波長が発光ピーク波長よりも短波長側に位置した状態で視認方向が傾くと、共振ピーク波長と発光ピーク波長との差が大きくなることに起因して透過スペクトルと発光スペクトルの積である出射スペクトルは減少するが、予め透過スペクトルの共振ピーク波長を発光スペクトルの発光ピーク波長よりも長波長側に設定しておけば、視認方向の傾斜角が小さいうちは共振ピーク波長と発光ピーク波長とが互いに近づくため、出射スペクトルが増加し、傾斜角が大きくなっても出射スペクトルの減少度合いは透過スペクトルの共振ピーク波長を発光ピーク波長よりも短波長側にずらす場合に比べて小さくなる。したがって、透過スペクトルの共振ピーク波長を発光スペクトルの発光ピーク波長よりも長波長側に設定した方が広い視野角が求められる場合、有利である。
また、本発明によれば、各光出力部における各色の光の発光ピーク波長とそれに対応する各共振ピーク波長との差Δλr、Δλg、Δλbの比を好適な範囲に設定することにより、視認方向の変化による発光色の色ずれをさらに的確に抑制することができる。
さらに、本発明によれば、共振器構造の厚みの大きさを加味して各光出力部の共振ピーク波長と発光ピーク波長との関係を設定することにより、視認方向の変化による発光色の色ずれを良好に抑制することができる。
<第1実施形態>
<色ずれの発生原理>
本実施形態の構成について説明する前に、まず色ずれの発生原理について説明する。
図1(A)及び図1(B)は、EL装置に含まれる共振器構造の特性と光の出射方向との関係を説明するための図である。
図1(A)及び図1(B)に示すように、EL装置1の光出力部10には、電界発光を行う発光層を含む有機層3の両側に電極等による反射面5,7が形成され、この反射面5,7により共振器構造9が形成されるようになっている。このため、このEL装置1から視認者側に出射される光は、有機層3で発光されて反射面5,7で反射されることなく一方の反射面5を透過した光と、有機層3で発光されて反射面5,7で1又は複数回反射されて一方の反射面5を透過した光との重ね合わせたものになっている。ここで、反射面5,7は、屈折率が大きく変化する境界面などにより形成される。反射面5,7として機能するものとしては、例えば、電極、光透過特性調整用の調整層の表面、有機層3を封止するための封止膜の表面、及びガラス基板(透明基板)の表面等が挙げられる。また、光出力部10とは、発光を行う有機層3と、その有機層3で発光された光の経路上に形成される共振器構造9とを含めた構成をいう。
このような共振器構造9は、図1(A)及び図1(B)に示すように、共振器構造9において重ね合わされて出射する光の経路がEL装置1から出射する光の出射方向D1によって異なり、これによって共振波長が変化する、という特性を有している。すなわち、図1(A)及び図1(B)は、出射方向D1が変化したときの反射回数がゼロの光の経路A及び反射回数が1回の光の経路Bを示している。図1(A)は光の出射方向D1がEL装置1の発光面に垂直な正面方向D2と平行なときに対応している。図1(B)は光の出射方向D1が正面方向D2に対して傾いているときに対応している。そして、この光の経路A,Bの光路差が出射角θの増大に伴って縮小し、これによって、出射角θの増大に伴い共振波長が短波長側に変化するようになっている。このため、有機層3で発光された光が共振器構造9を透過するときの透過スペクトルが、出射角θの増大に伴って図2の実線で示す状態から破線で示す状態に変化するようになっている。なお、出射角θとは、出射方向D1の正面方向D2に対する傾き角である。
図2のグラフの縦軸は、有機層3が発光した光のうちの共振器構造9を透過して外部に出射する光の割合(光の透過率)に対応している。以下、透過スペクトルに関するグラフの縦軸は光の透過率に対応している。一方、後記する発光スペクトル及び出射スペクトルに関するグラフの縦軸は光の強度に対応している。
有機層3が発光する光のスペクトルは、有機層3の材料特性により決定され、例えば図3に示すようなパターンを有している。この発光スペクトルは、光の出射方向D1の出射角θに依らずに一定である。
図4は、有機層3が発光する光の発光スペクトル、有機層3にて発生した光のうち、共振器構造9を介して外部に出射する割合を示す透過スペクトル、及びEL装置1から実際に出射する光の出射スペクトルの関係を示す図である。曲線L1が発光スペクトルを示し、曲線L2が透過スペクトルを示し、曲線L3が出射スペクトルを示している。図4における透過スペクトル(L2)及び出射スペクトル(L3)は、光出射方向D1の出射角θ=0°であるときを示している。図4に示すように、出射スペクトル(L3)は、発光スペクトル(L1)と透過スペクトル(L2)との積により与えられる。
上述のように、発光スペクトル(L1)は出射角θに依存しないが、透過スペクトル(L2)が出射角θに依存するため、発光スペクトル(L1)と透過スペクトル(L2)との関係が出射角θにより変化し、し、これによって出射スペクトル(L3)が変化する。
図5(A)ないし図5(C)は、光の出射角の変化による発光スペクトルと透過スペクトルの関係の変化を示す図である。図6(A)ないし図6(C)は、図5(A)ないし図5(C)の各状態における出射スペクトルを示す図である。より詳細には、図5(A)及び図6(A)は出射角θ=0°のときの各スペクトルを示す。図5(B)及び図6(B)は、出射角θ=C1(0°<C1<90°)であるときの各スペクトルを示す。図5(C)及び図6(C)は出射角θ=C2(0°<C2<90°、C2>C1)であるときの各スペクトルを示している。なお、図5(A)ないし図5(C)中の符号λ1は、発光スペクトル(L1)がピーク値となる発光波長を示している。
カラー発光を行うEL装置1では、赤、緑、青の各色の光を出力する第1ないし第3の光出力部10が形成される。このため、対応する色の異なる光出力部10同士で出射角θに対する透過スペクトルの変化特性が異なると、出射角θが変化した際に発光色の色ずれが生じる原因となる。
図7(A)ないし図7(C)は、従来のEL装置における第1ないし第3の光出力部の発光スペクトルと透過スペクトルとの関係を例示的に示す図である。
図7(A)に示すように、赤色に対応する第1の光出力部10の透過スペクトルL2rのピーク値における波長(以下、透過スペクトルのピーク値における波長を「共振ピーク波長」という)λ2rは、その光出力部10の発光スペクトルL1rのピーク値における波長(以下、発光スペクトルのピーク値における波長を「発光ピーク波長」という)λ1rの長波長側にある。また、図7(B)に示すように、緑色に対応する第2の光出力部10の透過スペクトルL2gのピーク値における共振ピーク波長λ2gは、その光出力部10の発光スペクトルL1gの発光ピーク波長λ1gとほぼ等しくなっている。また、図7(C)に示すように、青色に対応する第3の光出力部10の透過スペクトルの共振ピーク波長λ2bは、その光出力部10の発光スペクトルL1bの発光ピーク波長λ1bの短波長側にある。
このため、上記の従来のEL装置では、出射角θが変化した際に、第1ないし第3の光出力部10の共振ピーク波長λ2r,λ2g,λ2bが発光ピーク波長λ1r,λ1g,λ1bに対して無秩序に変化し、これによって、各色の光の出射強度(出射スペクトルのピーク値)の比率が大きく変化するようになっている。
図8は、図7(A)ないし図7(C)の構成が採用された場合における赤、緑、青の光の出射強度と出射角との関係を示す図である。図8中の曲線L4r,L4g,L4bは、第1ないし第3の光出力部10から実際に出射される各色の光の出射強度と出射角θとの関係を示している。各色の光の出射強度は出射角θ=0°の場合を基準に正規化している。
図8から分かるように、各色の光の出射強度の比が出射角θの値により大きく変化していることが分かる。このため、仮に出射角θ=0°を基準にしてEL装置の発光色を設定していても、出射角θが増大するのに伴ってその発光色がずれてゆくようになっている。
具体的には、出射角θ=0°からθが大きくなるのに伴って、赤色の光の出射強度の比率は増大するが、緑色及び青色の光の出射強度の比率は小さくなる。このため、正面方向D2を基準に白色光を出力していても、斜め方向からEL装置を見ると、赤色の成分の比率が相対的に上がっている分、赤みがかって見えるようになっている。
そこで、本願発明者らは、EL装置における第1ないし第3の光出力部10の発光スペクトル(L1r,L1g,L1b)と透過スペクトル(L2r,L2g,L2b)との関係を調節することにより、上記のような色ずれの課題を解決することを創出した。
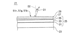
<EL装置の構成>
図9は、本発明の第1実施形態に係るEL装置の構成を概略的に示す断面図である。このEL装置21は、トップエミッションタイプであり、図9に示すように、透明基板であるガラス基板23と、そのガラス基板23上に形成された素子部25と、その素子部25の上に形成された調整層27と、その調整層27の上から素子部25全体を覆うように形成された封止膜29とを備えている。素子部25は、基板23側から順に、第1の電極31、有機層33及び第2の電極35を備えている。有機層33が第1及び第2の電極31,35によって挟み込まれている。
また、このEL装置21では、カラー発光を行うため、図10に示すように、赤、緑、青の各色に対応して第1ないし第3の光出力部51r,51g,51bが複数配設されている。ここで、光出力部51r,51g,51bとは、発光を行う有機層33と、その有機層33が発光した光の経路に形成される上述の共振器構造9(図1(A)及び図1(B)参照)とを含めた構成をいう。共振器構造9の具体例及びその特性等については、上述の通りである。
第1ないし第3の光出力部51r,51g,51bの有機層33には、後述のように、赤、緑、青の各波長の光を発光するのに適した材料が用いられている。
調整層27は、第1ないし第3の光出力部51r,51g,51bの光透過特性を調整するためのものであり、光出力部51r,51g,51bからの光の透過スペクトルが大きくなるように、その光学膜厚(nd)が光出力部51r,51g,51bごとに個別に設定されている。なお、調整層27は、第1ないし第3の光出力部51r,51g,51bごとに省略されることがある。調整層27の成膜手法としては、例えば蒸着法が用いられる。このため、調整層27は、メタルマスク等を用いることにより、各光出力部51r,51g,51bによって塗り分けを行うことができる。調整層27の好適な材料としては、スチリルアリーレン、ポリシラン等の透明有機材料、酸化チタン、硫化亜鉛等の透明無機材料等がある。これらの材料の中で、特に有機材料は、蒸着温度を低くできるため、基板23の温度上昇による素子部25へのダメージを小さく抑えることができるとともに、メタルマスクの温度上昇でメタルマスクが変形することに起因するパターンぼけを抑制しやすいという利点がある。さらに、図9に示す構成では、第2の電極35に接して調整層27が形成されるため、有機層33、第2の電極35の成膜を行うときの同一のチャンバ又は同一の真空度で調整層27の成膜を行うことができる。このため、製造装置の規模がコンパクトになり、かつ製造工程の高タクト化が図れる。
封止膜29は、有機層33及び第2の電極35等を封止するためのものであり、EL装置21の素子部25が形成される領域を完全に覆うようにして形成されている。封止膜29は、光透過性を有する絶縁材料、例えばSiNx等により形成され、光出力部51r、51g、51bを共通に被覆している。
素子部25の構成について説明する。第1の電極31は、有機層33が発光した光の少なくとも一部を有機層33側に反射するようになっており、透明、半透明、不透明のいずれの電極材料を用いて形成してもよい。但し、光の反射率を高めるためには、第1の電極31を半透明電極又は不透明電極とするのがよい。更に好ましくは第1の電極は、Al等の反射電極とするのがよい。第2の電極35は、光を透過する導電材料であればいずれの材料を用いて形成してもよい。但し、光の透過率を高めるためには、第2の電極35を半透明電極又は透明電極とするのがよい。なお、不透明電極の場合は、可視光の殆どを遮蔽する光学特性と大きな電気伝導性とを備えた材料で形成される。また、透明電極の場合は、可視光の多くを透過させるような光学特性と比較的大きな電気伝導性とを備えた材料で形成される。また、半透明電極の場合は、透明電極と不透明電極との中間的な特性を有するものであり、可視光を透過させるような光学特性を有している必要があるため、電極の膜厚を薄くすることでそのような光学特性を実現している。
ここで、透明電極に好適な材料としては、例えばITOやIZO等がある。また、透明電極の膜厚は、好ましくは50nm以上であり、より好ましくは100nm〜300nmの範囲にある。また、不透明電極に好適な材料としては、Al等がある。また、その膜厚は、好ましくは100nm〜300nmの範囲にある。また、半透明電極に好適な材料としては、Liなどのアルカリ金属、Mg,Ca,Sr,Baなどのアルカリ土類金属、あるいはAl,Si,Ag等がある。その膜厚は、好ましくは100nm未満であり、より好ましくは5nm〜50nmの範囲にある。
有機層33は、図10に示すように、基板23側から順に、正孔又は電子の注入を行うための電荷注入層41と、正孔又は電子の輸送を行うための電荷輸送層43と、EL発光を行う発光層45と、電子又は正孔の輸送を行うための電荷輸送層47と、電子又は正孔の注入を行うための電荷注入層49とを備えている。なお、本実施形態では、少なくとも一部に有機材料を用いて有機層33を形成するようにしたが、有機層33中の各層41,43,45,47,49のいずれかを無機材料により形成してもよい。また、各層41,43,45,47,49の全てを無機材料により形成しても良い。
また、本実施形態では、有機層33を5層構造で形成したが、種々の条件に応じて2ないし4層構造、発光層45のみの単層構造等、種々の層構造が採用される。例えば、第1及び第2の電極31,35の反射特性(不透明、半透明又は透明)及び極性(いずれを陽極側にするか等)、及び有機層33の発光色の種類(赤色、緑色、青色)等に応じて、有機層33の構成及び材料が決定される。具体例としては、例えば、Alq3(アルミキノリノール錯体)などの材料は、緑色の発光を行うとともに電子輸送性にも優れているため、緑色の発光を行う素子部25においては発光層と電子輸送層とがAlq3などの単一材料で構成される場合がある。また、透明電極を用いる場合には、金属の電子注入層を用いる場合が多い。なお、第1電極、第2電極、及び有機層は従来周知の蒸着法等の薄膜形成技術を用いることによって形成される。また封止膜は従来周知のCVD法あるいは蒸着法等の薄膜形成技術を採用することによって形成される。
<色ずれ防止について>
上述の色ずれの問題に対する本実施形態に係るEL装置21の構成について説明する。図11(A)ないし図11(C)は、本実施形態に係るEL装置における第1ないし第3の光出力部の発光スペクトルと透過スペクトルとの関係を例示的に示す図である。
本実施形態では、図11(A)ないし図11(C)に示すように、第1ないし第3の光出力部51r,51g,51bの光のうち、正面方向D2に共振器構造を透過した各色の光の透過スペクトルの共振ピーク波長λ2r,λ2g,λ2bが、その各光出力部51r,51g,51bに設けられる有機層33が発光する各色の光の発光スペクトルの発光ピーク波長λ1r,λ1g,λ1bのすべて長波長側に設定されている。なお、上記の共振ピーク波長λ2r,λ2g,λ2bとしては、可視光領域に存在するものが対象となる。
このため、このEL装置21では、出射角θが変化した際に、第1ないし第3の光出力部51r,51g,51bの共振ピーク波長λ2r,λ2g,λ2bが発光ピーク波長λ1r,λ1g,λ1bに対してほぼ同様な態様で変化し、赤、緑、青の各色の光の出射強度が出射角θの増大に伴って揃って変化するようになっている。その結果、出射角θが変化しても各色の光の出射強度の比率がほぼ一定に保たれるようになっている。
また、共振器構造9の要素としては、基本的には、光が通過する領域に存在する全ての層、部材が対象となりうる。具体的には、EL装置がトップエミッションタイプの場合、発光層からの光は最終的には封止膜29を透過して外部へ出射されるため、共振器構造9の要素は、電極31,35間に形成される各層、調整層27、封止膜29等となる。そして、これらの要素の組み合わせによって共振器構造9が構成されるようになっている。但し、電極31,35間に形成される共振器構造要素が全体の共振器構造9の特性に最も大きく影響する。
各光出力部51r,51g,51bの発する光の透過スペクトルの共振ピーク波長(λ2r,λ2g,λ2b)の調節は、例えば、各光出力部51r,51g,51bで発光される光の発光スペクトルの発光ピーク波長(λ1r,λ1g,λ1b)に対し、共振器構造9中の各層の光学膜厚(nd、nは層の屈折率、dは層の膜厚)を調節することにより行われる。光学膜厚の調節は、各層の膜厚や材料を調節することにより行われる。共振器構造9の光学膜厚(nd)を大きくすると、共振ピーク波長は長波長側に移動する。一方、共振器構造9の光学膜厚(nd)を小さくすると、共振ピーク波長は短波長側に移動する。
また発光スペクトルおよび透過スペクトルの測定方法は次のように行われる。すなわち、発光スペクトルは、収束イオンビーム(FIB)等によるエッチングやカッティングなどにより光出力部51r,51g,51bの有機層33(より好ましくは、発光層45)を露出させ、該露出部に対し紫外光を照射し、その紫外線照射により発光層45が発する光のフォトルミネッセンススペクトルを測定することにより得られる。照射する紫外光はキセノンランプ光源が良く、発光層45の吸収ピーク波長に相当する波長をフィルタリングして照射するのが最も好ましい。吸収ピーク波長の把握が困難な場合は365nmの波長の紫外光を照射して測定すれば良い。一方、透過スペクトルは、光出力部51r,51g,51bを構成する材料の屈折率(吸収係数含む)と膜厚を測定し、その値から従来周知のマトリックス法に基づき算出する。
これに対して、発光スペクトルまたは透過スペクトルのいずれか一方が測定困難である場合は、同一色の光出力部51r,51g,51bを最大階調で点灯させ、その出射スペクトルを測定し、該測定した出射スペクトルを測定可能であった発光スペクトルもしくは透過スペクトルのいずれか一方のスペクトルで除することにより、測定できなかった発光スペクトルもしくは透過スペクトルのうちの他方のスペクトルが算出され、この算出されたスペクトルを用いる。
図12は、図11(A)ないし図11(C)の構成における赤、緑、青の光の出射強度と出射角との関係を示す図であり、その関係が曲線L4r,L4g,L4bによって示されている。図12から分かるように、出射角θの変化により各色の光の出射強度が変化する際に、その各色の光の出射強度の比が出射角θの値に関わらずほぼ一定に保たれていることが分かる。図12の曲線L4r,L4g,L4bは出射角θの比較的広い範囲でほぼ同様な変化特性を有しているため、図12の出射強度の変化特性は、色ずれせずに広い視野角を実現するのに適していることが分かる。
また、各光出力部51r,51g,51bの共振器構造9の共振波長の具体的な設定例としては、次のような構成が望ましいことが分かっている。すなわち、各光出力部51r,51g,51bの共振器構造9の共振波長は、各色の発光ピーク波長λ1r,λ1g,λ1bと各共振ピーク波長λ2r,λ2g,λ2bとの差を、それぞれΔλr、Δλg、Δλbとしたとき、0.5≦Δλg/Δλr≦2、及び0.5≦Δλb/Δλg≦2となるように設定される。これらの値の上限値、下限値を外れると、色ズレは改善できるものの、出射スペクトルの値が小さくなり、発光輝度を維持するために消費電力が増大するおそれがある。
また、共振器構造9の厚みが厚い光出力部ほど、発光ピーク波長と共振ピーク波長との差の絶対値|Δλ|の値を大きく設定すれば、色ズレを更に改善することができる。その理由は、正面に対して角度を変化させたときに得られる共振器波長の短波長側へのシフトは、共振器構造の厚みに依存し、共振器構造の厚みが大きいほど同じ角度変化に対する共振波長のシフト量が大きくなるからである。本実施形態のように、共振器構造9の厚みが第1光出力部51r>第2光出力部51g>第3光出力部51bの順である場合、|Δλr|、|Δλg|、|Δλb|の大小関係は、|Δλr|>|Δλg|>|Δλb|となっていることが好ましい。
<実施例>
以下に、従来のEL装置に対応する比較例と、本実施形態に係るEL装置21の具体的な実施例とを比較して説明する。なお、この実施例では、電極31,35間の共振器構造要素に主に着目し、比較例との比較を行っている。
比較例の構成は下記の通りである。
(a) 正孔注入層41:無し
(b) 正孔輸送層43
材料:NPB
膜厚:70nm(赤)、50nm(緑、青)
(c) 発光層45
ホスト材料:Alq3(赤、緑)、SDPVBi(青)
ホスト膜厚:60nm(赤)、50nm(緑)、20nm(青)
ドーパント材料:DCJTB(赤)、クマリン(緑)、スチリルアミン(青)
(d) 電子輸送層47:無し
(e) 電子注入層49
材料:マグネシウム
膜厚:10nm
(f) 第2の電極(陰極)35
材料:ITO
膜厚:100nm
図13は、比較例の構成に基づいて各色の発光スペクトルと正面方向を基準とした透過スペクトルとの関係について行った光学シミュレーション結果を示す図である。図13が示すシミュレーション結果より、赤色の透過スペクトル(L2r)の共振ピーク波長は赤色の発光スペクトル(L1r)の発光ピーク波長の短波長側にあり、緑色の透過スペクトル(L2g)の共振ピーク波長は緑色の発光スペクトル(L1g)の発光ピーク波長とほぼ一致しており、青色の透過スペクトル(L2b)の共振ピーク波長は青色の発光スペクトル(L1b)の発光ピーク波長の長波長側にあることが分かる。
図14は、図13の構成に基づいて赤、緑、青の光の出射強度と出射角との関係について行った光学シミュレーション結果を示す図であり、その関係が曲線L4r,L4g,L4bによって示されている。図14のシミュレーション結果より、出射角θが増大したときに、赤色と緑色の光の出射強度が青色の光の出射強度に比して急激に低下しており、各色の出射強度の比率に大きな開きがあることが分かる。
次に、この比較例の構成において、正面方向D2を基準に、白色光の色座標がD65(黒体放射温度で6500K)となるように、赤、緑、青の光の出射強度を設定し、出射角θが増大したときの白色光のずれについて検討した。すると、この比較例では、出射角θ=60°のときの白色光の色座標のずれを計算すると、Δu’v’=0.026という結果が得られた。
続いて、本実施形態に係るEL装置21の具体的な実施例について説明する。この実施例では、上記の比較例の構成において、第1及び第2の光出力部51r,51gの発光スペクトルに対する透過スペクトルの関係を、第3の光出力部51bの発光スペクトルに対する透過スペクトルの関係に合わせて調節している。
実施例の構成は下記の通りである。
(a) 正孔注入層41:無し
(b) 正孔輸送層43
材料:NPB
膜厚:70nm(赤)、50nm(緑、青)
(c) 発光層45
ホスト材料:Alq3(赤、緑)、SDPVBi(青)
ホスト膜厚:68nm(赤)、65nm(緑)、20nm(青)
ドーパント材料:DCJTB(赤)、クマリン(緑)、スチリルアミン(青)
(d) 電子輸送層47:無し
(e) 電子注入層49
材料:マグネシウム
膜厚:10nm
(f) 第2の電極(陰極)35
材料:ITO
膜厚:100nm
図15は、上記の実施例の構成に基づいて各色の発光スペクトルと正面方向を基準とした透過スペクトルとの関係について行った光学シミュレーション結果を示す図である。図15が示すシミュレーション結果より、赤、緑、青のすべての色の透過スペクトル(L2r,L2g,L2b)の共振ピーク波長が、対応する色の発光スペクトル(L1r,L1g,L1b)の発光ピーク波長の長波長側に設定されている。
図16は、図15の構成に基づいて赤、緑、青の光の出射強度と出射角との関係について行った光学シミュレーション結果を示す図であり、その関係が曲線L4r,L4g,L4bによって示されている。図16のシミュレーション結果より、上記の図14のシミュレーション結果では、出射角θの増大に伴って赤色と緑色の光の出射強度が青色の光の出射強度に比して急速に低下していたが、青色の光の出射強度よりも低下度合いが抑制されていることが分かる。また、各色の出射強度の出射角θに対する変化特性の開きが抑制されている。
そして、この実施例において、正面方向D2を基準に、白色光の色座標がD65(黒体放射温度で6500K)となるように、赤、緑、青の光の出射強度を設定し、出射角θが増大したときの白色光のずれについて検討した。すると、この実施例では、出射角θ=60°のときの白色光の色座標のずれを計算すると、Δu’v’=0.014という結果が得られた。これより、上記の比較例に対し、色ずれが改善されていることが分かる。
なお、この実施例では、図16に示すように、出射角θ=0°、60°付近であるときに、色ずれが最小になるように各色の透過スペクトルが設定されているが、本実施例と異なる出射角θを基準として色ずれ改善を行ってもよく、その場合、各スペクトル幅の大小関係、及びピーク波長のずらし量をコントロールすればよい。
また、本実施例では共振器構造要素として電極間の共振器構造要素のみを考慮するようにしたが、調整層27、封止膜29等、外部に出射される発光層からの光が通過する各層を全て含めた共振器構造要素を加味して第1ないし第3の光出力部51r,51g,51bの共振器構造9の共振ピーク波長と各色の発光ピーク波長との関係を設定することが好ましい。
以上のように、本実施形態によれば、第1ないし第3の光出力部51r,51g,51bの発する光の正面方向D2を基準とした透過スペクトルの共振ピーク波長λ2r,λ2g,λ2bが、その各光出力部51r,51g,51bに設けられる有機層33が発光する各色の光の発光スペクトルの発光ピーク波長λ1r,λ1g,λ1bのすべて長波長側に設定されているため、視認者の視認方向が正面方向D2に対して傾くように変化しても、赤、緑、青の各色の光の出射強度が視認方向の傾き角の増大に伴って揃って変化するようになっている。このため、視認方向の変化による発光色の色ずれを抑制することができる。特に、本実施形態では、図12の出射強度の変化特性が示すように、色ずれせずに広い視野角を実現するのに適している。
また、各光出力部51r,51g,51bにおける赤、緑、青の光の発光ピーク波長λ1r,λ1g,λ1bとそれに対応する各共振ピーク波長λ2r,λ2g,λ2bとの差Δλr、Δλg、Δλbの比を上記のように最適な範囲に設定することにより、視認方向の変化による発光色の色ずれをさらに的確に抑制することができる。
<第2実施形態>
本実施形態に係るEL装置21が上述の第1実施形態に係るEL装置21と実質的に異なる点は、第1ないし第3の各光出力部51r,51g,51bにおける発光スペクトルに対する透過スペクトルの設定条件が異なるのみであり、大まかな装置構成は互いに共通しており、重複する部分については同一の参照符号を用い、説明を省略する。
図17(A)ないし図17(C)は、本発明の第2実施形態に係るEL装置の第1ないし第3の各光出力部における発光スペクトルと透過スペクトルとの関係を例示的に示す図である。本実施形態では、図17(A)ないし図17(C)に示すように、第1ないし第3の光出力部51r,51g,51bの正面方向D2を基準とした透過スペクトルの共振ピーク波長λ2r,λ2g,λ2bが、その各光出力部51r,51g,51bに設けられる有機層33が発光する各色の光の発光スペクトルの発光ピーク波長λ1r,λ1g,λ1bのすべて短波長側に設定されている。なお、上記の共振ピーク波長λ2r,λ2g,λ2bとしては、可視光領域に存在するものが対象となる。
このため、このEL装置21においても、出射角θが変化した際に、第1ないし第3の光出力部51r,51g,51bの共振ピーク波長λ2r,λ2g,λ2bが発光ピーク波長λ1r,λ1g,λ1bに対してほぼ同様な態様で変化し、赤、緑、青の各色の光の出射強度が出射角θの増大に伴って揃って変化するようになっている。その結果、出射角θが変化しても各色の光の出射強度の比率がほぼ一定に保たれるようになっている。
図18は、図17(A)ないし図17(C)の構成における赤、緑、青の光の出射強度と出射角との関係を示す図であり、その関係が曲線L4r,L4g,L4bによって示されている。図18から分かるように、出射角θの変化により各色の光の出射強度が変化する際に、その各色の光の出射強度の比が出射角θの値によりほぼ一定に保たれていることが分かる。
また、好ましくは、各光出力部51r,51g,51bの共振ピーク波長は、各色の発光ピーク波長λ1r,λ1g,λ1bと各共振ピーク波長λ2r,λ2g,λ2bとの差を、それぞれΔλr、Δλg、Δλbとしたとき、0.5≦Δλg/Δλr≦2、及び0.5≦Δλb/Δλg≦2となるように設定される。
これによって、本実施形態においても、上述の第1実施形態とほぼ同様な効果が得られる。特に、本実施形態では、図18の出射強度の変化特性が示すように、色ずれが抑制された指向性の高い視野特性を実現するのに適している。
なお、第1の実施形態と同様に、共振器構造9の厚みが厚い光出力部ほど、発光ピーク波長と共振ピーク波長との差の絶対値|Δλ|の値を大きく設定すれば、色ズレを更に改善することができる。ただし、本実施形態においては、共振ピーク波長を発光ピーク波長よりも短波長側にずらしており、各光出力部からの発光輝度が低下することから、第1実施形態の場合と比べて、その効果は小さいと考えられる。
<第3実施形態>
図19は、本発明の第3実施形態に係るEL装置の構成を概略的に示す断面図である。なお、図19の構成において、上記の図9の構成とおおよそ対応する部分には同一の参照符号を付し、説明の重複を回避することとする。
本実施形態に係るEL装置61は、図19に示すように、ボトムエミッションタイプであり、発光層の発する光は最終的に基板23を透過して外部に出射される。
このため、共振器構造9の要素として電極31,35間の共振器構造以外に考慮するとすれば、ガラス基板23自体、及び素子部25とガラス基板23との間に介在される図示しない層(平坦化膜等)など、発光層の発する光が通過する領域に存在する各層、各部材が共振器構造として挙げられる。
そして、本実施形態では、第1ないし第3の光出力部51r,51g,51bの各色の発光スペクトルの発光ピーク波長と正面方向の透過スペクトルの共振ピーク波長との関係を、上述の第1又は第2実施形態の要領で設定している。すなわち、第1ないし第3の光出力部51r,51g,51bに生じる正面方向D2を基準とした透過スペクトルの共振ピーク波長λ2r,λ2g,λ2bが、その各光出力部51r,51g,51bに設けられる有機層33が発光する各色の光の発光スペクトルの発光ピーク波長λ1r,λ1g,λ1bのすべて長波長側又は短波長側に設定している。なお、上記の共振ピーク波長λ2r,λ2g,λ2bとしては、可視光領域に存在するものが対象となる。
このため、本実施形態においても、上述の第1又は第2実施形態とほぼ同様な効果が得られる。
また、本実施形態では、ガラス基板23をも含めた共振器構造要素を加味して第1ないし第3の光出力部51r,51g,51bの共振器構造9の共振波長と各色の発光波長との関係を設定することにより、視認方向の変化による発光色の色ずれをさらに良好に抑制することができる。
以上のように、第1乃至第3の実施形態によれば、各光出力部の共振器構造の共振ピーク波長が、各光出力部に設けられる発光層が発光する各色の光の発光ピーク波長よりも全ての色について長波長側または短波長側にあるため、視認者の視認方向が正面方向に対して傾くように変化しても、各色の光の出射強度が視認方向の傾き角の増大に伴って揃って変化するようになっている。このため、視認方向の変化による発光色の色ずれを抑制することができる。
また、第1乃至第3の実施形態によれば、各光出力部における各色の光の発光ピーク波長とそれに対応する各共振ピーク波長との差Δλr、Δλg、Δλbの比を0.5≦Δλg/Δλr≦2、及び0.5≦Δλb/Δλg≦2に設定することにより、視認方向の変化による発光色の色ずれをさらに的確に抑制することができる。
さらに、第1乃至第3の実施形態によれば、影響の大きい電極間の共振器構造の共振特性を加味して各光出力部の共振ピーク波長と発光ピーク波長との関係を設定することにより、視認方向の変化による発光色の色ずれを良好に抑制することができる。
また、第1及び第2の実施形態によれば、封止膜を含めた共振器構造を加味して各光出力部の共振器構造の共振波長と各色の発光波長との関係を設定することにより、視認方向の変化による発光色の色ずれをさらに良好に抑制することができる。
さらに、第3の実施形態によれば、透明基板を含めた共振器構造を加味して各光出力部の共振器構造の共振波長と各色の発光波長との関係を設定することにより、視認方向の変化による発光色の色ずれをさらに良好に抑制することができる。
また、第1乃至第3の実施形態によれば、発光層の発する光が外部に出射されるまでに通過する全ての層および部材を共振器構造として加味して各光出力部の共振器構造の共振ピーク波長と発光ピーク波長との関係を設定することにより、視認方向の変化による発光色の色ずれを極めて良好に抑制することができる。
図1(A)及び図1(B)はEL装置に含まれる共振器構造の特性と光の出射方向との関係を説明するための図である。 共振器構造の透過スペクトルを示す図である。 有機層の発光スペクトルを示す図である。 有機層の発光スペクトル、共振器構造の透過スペクトル及び光の出射スペクトルの関係を示す図である。 図5(A)ないし図5(C)は光の出射角の変化による発光スペクトルと透過スペクトルの関係の変化を示す図である。 図6(A)ないし図6(C)は図5(A)ないし図5(C)の各状態における出射スペクトルを示す図である。 図7(A)ないし図7(C)は従来のEL装置における第1ないし第3の光出力部の発光スペクトルと透過スペクトルとの関係を例示的に示す図である。 図7(A)ないし図7(C)の構成が採用された場合における赤、緑、青の光の出射強度と出射角との関係を示す図である。 本発明の第1実施形態に係るEL装置の構成を概略的に示す断面図である。 図9のEL装置の第1ないし第3の光出力部の構成を概略的に示す断面図である。 図11(A)ないし図11(C)は図10の各光出力部における発光スペクトルと透過スペクトルとの関係を例示的に示す図である。 図11(A)ないし図11(C)の構成における赤、緑、青の光の出射強度と出射角との関係を示す図である。 比較例の構成に基づいて各色の発光スペクトルと透過スペクトルとの関係について行った光学シミュレーション結果を示す図である。 図13の構成に基づいて赤、緑、青の光の出射強度と出射角との関係について行った光学シミュレーション結果を示す図である。 第1実施形態に係るEL装置の具体的な実施例の構成に基づいて各色の発光スペクトルと透過スペクトルとの関係について行った光学シミュレーション結果を示す図である。 図15の構成に基づいて赤、緑、青の光の出射強度と出射角との関係について行った光学シミュレーション結果を示す図である。 図17(A)ないし図17(C)は本発明の第2実施形態に係るEL装置の第1ないし第3の各光出力部における発光スペクトルと透過スペクトルとの関係を例示的に示す図である。 図17(A)ないし図17(C)の構成における赤、緑、青の光の出射強度と出射角との関係を示す図である。 本発明の第3実施形態に係るEL装置の構成を概略的に示す断面図である。
符号の説明
1 EL装置
3 有機層
5,7 反射面
9 共振器構造
10 光出力部
21 EL装置
23 ガラス基板
25 素子部
27 調整層
29 封止膜
31 第1の電極
33 有機層
35 第2の電極
41 電荷注入層
43 電荷輸送層
45 発光層
47 電荷輸送層
49 電荷注入層
51r 第1の光出力部
51g 第2の光出力部
51b 第3の光出力部
61 EL装置
D1 出射方向
D2 正面方向
θ 出射角

Claims (8)

  1. EL装置において、
    発光層と、該発光層の発する光を共振する共振器構造と、を備えた複数の光出力部を有し、
    前記複数の光出力部は、第1の色の光を発する発光層を有する第1の光出力部と、前記第1の色と異なる色の光を発する発光層を有する第2の光出力部と、前記第1及び第2の光と異なる色の光を発する発光層を有する第3の光出力部と、を含んで構成され、
    前記第1乃至第3の光出力部に関して、前記発光層の主面に対して直交する方向に前記共振器構造を透過した光の透過スペクトルのピーク値を示す共振ピーク波長が、前記発光層が発光する光の発光スペクトルのピーク値を示す発光ピーク波長よりも長波長側にあるとともに、
    前記第1乃至第3の光出力部の発する光の前記発光ピーク波長とそれに対応する前記各共振ピーク波長との差をそれぞれΔλr、Δλg、Δλbとしたとき、0.5≦Δλg/Δλr≦2、及び0.5≦Δλb/Δλg≦2となることを特徴とするEL装置。
  2. 請求項1に記載のEL装置において、
    前記第1乃至第3の光出力部の共振ピーク波長は、可視光領域に存在することを特徴とするEL装置。
  3. 請求項1に記載のEL装置において、
    前記第1の色は赤色、前記第2の色は緑色、前記第3の色は青色であることを特徴とするEL装置。
  4. 請求項1に記載のEL装置において、
    前記第1乃至第3の光出力部の前記共振器構造は、
    前記発光層の厚み方向の両側に設けられる一対の2つの電極の間に形成される単数もしくは複数の層を含むことを特徴とするEL装置。
  5. L装置において、
    発光層と、該発光層の発する光を共振する共振器構造と、を備えた複数の光出力部を有し、
    前記複数の光出力部は、第1の色の光を発する発光層を有する第1の光出力部と、前記第1の色と異なる色の光を発する発光層を有する第2の光出力部と、前記第1及び第2の光と異なる色の光を発する発光層を有する第3の光出力部と、を含んで構成され、
    前記第1乃至第3の光出力部に関して、前記発光層の主面に対して直交する方向に前記共振器構造を透過した光の透過スペクトルのピーク値を示す共振ピーク波長が、前記発光層が発光する光の発光スペクトルのピーク値を示す発光ピーク波長よりも長波長側にあるとともに、
    前記第1乃至第3光出力部を搭載する基板と、前記第1乃至第3の光出力部を被覆し、前記第1乃至第3の光出力部が発する光を透過する封止膜と、を更に備え、
    前記各光出力部の前記共振器構造は封止膜を含むことを特徴とするEL装置。
  6. L装置において、
    発光層と、該発光層の発する光を共振する共振器構造と、を備えた複数の光出力部を有し、
    前記複数の光出力部は、第1の色の光を発する発光層を有する第1の光出力部と、前記第1の色と異なる色の光を発する発光層を有する第2の光出力部と、前記第1及び第2の光と異なる色の光を発する発光層を有する第3の光出力部と、を含んで構成され、
    前記第1乃至第3の光出力部に関して、前記発光層の主面に対して直交する方向に前記共振器構造を透過した光の透過スペクトルのピーク値を示す共振ピーク波長が、前記発光層が発光する光の発光スペクトルのピーク値を示す発光ピーク波長よりも長波長側にあるとともに、
    前記第1乃至第3の光出力部を搭載し、前記第1乃至第3の光出力部が発する光を透過する透明基板を更に備え、
    前記各光出力部の前記共振器構造は、前記透明基板を含むことを特徴とするEL装置。
  7. L装置において、
    発光層と、該発光層の発する光を共振する共振器構造と、を備えた複数の光出力部を有し、
    前記複数の光出力部は、第1の色の光を発する発光層を有する第1の光出力部と、前記第1の色と異なる色の光を発する発光層を有する第2の光出力部と、前記第1及び第2の光と異なる色の光を発する発光層を有する第3の光出力部と、を含んで構成され、
    前記第1乃至第3の光出力部に関して、前記発光層の主面に対して直交する方向に前記共振器構造を透過した光の透過スペクトルのピーク値を示す共振ピーク波長が、前記発光層が発光する光の発光スペクトルのピーク値を示す発光ピーク波長よりも長波長側にあるとともに、
    前記第1乃至第3の光出力部の前記共振器構造は、
    前記第1乃至第3の光出力部の発する光が外部に向けて出射されるまでに通過する全ての層および部材を含むことを特徴とするEL装置。
  8. L装置において、
    発光層と、該発光層の発する光を共振する共振器構造と、を備えた複数の光出力部を有し、
    前記複数の光出力部は、第1の色の光を発する発光層を有する第1の光出力部と、前記第1の色と異なる色の光を発する発光層を有する第2の光出力部と、前記第1及び第2の光と異なる色の光を発する発光層を有する第3の光出力部と、を含んで構成され、
    前記第1乃至第3の光出力部に関して、前記発光層の主面に対して直交する方向に前記共振器構造を透過した光の透過スペクトルのピーク値を示す共振ピーク波長が、前記発光層が発光する光の発光スペクトルのピーク値を示す発光ピーク波長よりも長波長側にあるとともに、
    前記第1乃至第3光出力部の発する光の前記発光ピーク波長とそれに対応する前記各共振ピーク波長との差の絶対値は、前記共振器構造の厚みが大きい光出力部ほど大きく設定されていることを特徴とするEL装置。
JP2006260485A 2005-09-26 2006-09-26 El装置 Active JP4732991B2 (ja)

Priority Applications (1)

Application Number Priority Date Filing Date Title
JP2006260485A JP4732991B2 (ja) 2005-09-26 2006-09-26 El装置

Applications Claiming Priority (3)

Application Number Priority Date Filing Date Title
JP2005278157 2005-09-26
JP2005278157 2005-09-26
JP2006260485A JP4732991B2 (ja) 2005-09-26 2006-09-26 El装置

Related Child Applications (1)

Application Number Title Priority Date Filing Date
JP2011077791A Division JP5073842B2 (ja) 2005-09-26 2011-03-31 El装置

Publications (2)

Publication Number Publication Date
JP2007115679A JP2007115679A (ja) 2007-05-10
JP4732991B2 true JP4732991B2 (ja) 2011-07-27

Family

ID=38097653

Family Applications (1)

Application Number Title Priority Date Filing Date
JP2006260485A Active JP4732991B2 (ja) 2005-09-26 2006-09-26 El装置

Country Status (1)

Country Link
JP (1) JP4732991B2 (ja)

Families Citing this family (13)

* Cited by examiner, † Cited by third party
Publication number Priority date Publication date Assignee Title
JP4588603B2 (ja) * 2005-09-30 2010-12-01 京セラ株式会社 電界発光装置
JP2009170127A (ja) * 2008-01-11 2009-07-30 Seiko Epson Corp 発光装置及び電子機器
WO2010143231A1 (ja) * 2009-06-11 2010-12-16 パイオニア株式会社 発光素子及び表示装置
CN102804921B (zh) * 2009-06-11 2016-05-25 日本先锋公司 发光元件和显示装置
JP2011210677A (ja) * 2010-03-30 2011-10-20 Fujifilm Corp 有機電界発光装置
JP2011210678A (ja) * 2010-03-30 2011-10-20 Fujifilm Corp 有機電界発光装置
JP5760699B2 (ja) * 2011-05-27 2015-08-12 セイコーエプソン株式会社 発光装置および電子機器
JP5485966B2 (ja) * 2011-10-25 2014-05-07 パイオニア株式会社 発光素子
JP6111478B2 (ja) * 2012-07-04 2017-04-12 株式会社Joled 発光素子及び表示装置
US10529780B2 (en) * 2017-02-28 2020-01-07 Semiconductor Energy Laboratory Co., Ltd. Display device, display module, and electronic device
JP7176552B2 (ja) 2020-08-31 2022-11-22 セイコーエプソン株式会社 電気光学装置および電子機器
JP7753128B2 (ja) 2021-04-13 2025-10-14 キヤノン株式会社 発光装置、表示装置、光電変換装置、電子機器、照明装置、および移動体
JP7703467B2 (ja) * 2021-04-13 2025-07-07 キヤノン株式会社 発光装置、表示装置、撮像装置、及び、電子機器

Family Cites Families (5)

* Cited by examiner, † Cited by third party
Publication number Priority date Publication date Assignee Title
JPH1167448A (ja) * 1997-08-26 1999-03-09 Toyota Central Res & Dev Lab Inc ディスプレイ装置
JP2001071558A (ja) * 1999-09-03 2001-03-21 Futaba Corp Elプリンタ及びel素子
EP2169738A3 (en) * 1999-11-22 2012-11-07 Sony Corporation Display device
JP3508741B2 (ja) * 2001-06-05 2004-03-22 ソニー株式会社 表示素子
JP2007052971A (ja) * 2005-08-17 2007-03-01 Seiko Epson Corp 発光装置、その設計方法および電子機器

Also Published As

Publication number Publication date
JP2007115679A (ja) 2007-05-10

Similar Documents

Publication Publication Date Title
JP5073842B2 (ja) El装置
US8593056B2 (en) Electroluminescent device
KR101434361B1 (ko) 백색 유기 전계 발광소자 및 이를 이용한 컬러 디스플레이장치
US7102282B1 (en) Display device with a cavity structure for resonating light
CN101409330B (zh) 白光有机发光器件及采用其的彩色显示设备
JP7495401B2 (ja) 複数個の青色放射層を有するマルチモーダルマイクロキャビティoled
US20090096358A1 (en) White organic light emitting device and color display apparatus employing the same
JP4732991B2 (ja) El装置
TWI699022B (zh) 發光裝置、顯示設備以及照明設備
JP4817789B2 (ja) 有機el表示装置
JP2020043059A (ja) 有機発光ダイオードマイクロスクリーン用のピクセル
JP2005276662A (ja) 発光表示装置
WO2016031757A1 (ja) 有機エレクトロルミネッセンス装置、有機エレクトロルミネッセンス装置の製造方法、照明装置、および表示装置
JP4655959B2 (ja) 表示素子
JP5309388B2 (ja) 自発光素子および表示装置
JP4548404B2 (ja) 表示装置
US7545096B2 (en) Trans-reflective organic electroluminescent panel and method of fabricating the same
JPH053081A (ja) 面発光装置
JP7317614B2 (ja) 表示装置
JP2013157276A (ja) 発光装置、画像形成装置及び撮像装置
JP2011141965A (ja) 有機el素子および表示装置

Legal Events

Date Code Title Description
A621 Written request for application examination

Free format text: JAPANESE INTERMEDIATE CODE: A621

Effective date: 20090316

RD04 Notification of resignation of power of attorney

Free format text: JAPANESE INTERMEDIATE CODE: A7424

Effective date: 20090615

A977 Report on retrieval

Free format text: JAPANESE INTERMEDIATE CODE: A971007

Effective date: 20110208

A131 Notification of reasons for refusal

Free format text: JAPANESE INTERMEDIATE CODE: A131

Effective date: 20110215

A521 Request for written amendment filed

Free format text: JAPANESE INTERMEDIATE CODE: A523

Effective date: 20110331

TRDD Decision of grant or rejection written
A01 Written decision to grant a patent or to grant a registration (utility model)

Free format text: JAPANESE INTERMEDIATE CODE: A01

Effective date: 20110419

A01 Written decision to grant a patent or to grant a registration (utility model)

Free format text: JAPANESE INTERMEDIATE CODE: A01

A61 First payment of annual fees (during grant procedure)

Free format text: JAPANESE INTERMEDIATE CODE: A61

Effective date: 20110421

FPAY Renewal fee payment (event date is renewal date of database)

Free format text: PAYMENT UNTIL: 20140428

Year of fee payment: 3

R150 Certificate of patent or registration of utility model

Ref document number: 4732991

Country of ref document: JP

Free format text: JAPANESE INTERMEDIATE CODE: R150

Free format text: JAPANESE INTERMEDIATE CODE: R150

S111 Request for change of ownership or part of ownership

Free format text: JAPANESE INTERMEDIATE CODE: R313113

FPAY Renewal fee payment (event date is renewal date of database)

Free format text: PAYMENT UNTIL: 20140428

Year of fee payment: 3

R350 Written notification of registration of transfer

Free format text: JAPANESE INTERMEDIATE CODE: R350

R250 Receipt of annual fees

Free format text: JAPANESE INTERMEDIATE CODE: R250

R250 Receipt of annual fees

Free format text: JAPANESE INTERMEDIATE CODE: R250

R250 Receipt of annual fees

Free format text: JAPANESE INTERMEDIATE CODE: R250

R250 Receipt of annual fees

Free format text: JAPANESE INTERMEDIATE CODE: R250

R250 Receipt of annual fees

Free format text: JAPANESE INTERMEDIATE CODE: R250

R250 Receipt of annual fees

Free format text: JAPANESE INTERMEDIATE CODE: R250

R250 Receipt of annual fees

Free format text: JAPANESE INTERMEDIATE CODE: R250

R250 Receipt of annual fees

Free format text: JAPANESE INTERMEDIATE CODE: R250

R250 Receipt of annual fees

Free format text: JAPANESE INTERMEDIATE CODE: R250

R250 Receipt of annual fees

Free format text: JAPANESE INTERMEDIATE CODE: R250

R250 Receipt of annual fees

Free format text: JAPANESE INTERMEDIATE CODE: R250

R250 Receipt of annual fees

Free format text: JAPANESE INTERMEDIATE CODE: R250