JP4653758B2 - 溶融金属のための加熱樋 - Google Patents

溶融金属のための加熱樋 Download PDF

Info

Publication number
JP4653758B2
JP4653758B2 JP2006543326A JP2006543326A JP4653758B2 JP 4653758 B2 JP4653758 B2 JP 4653758B2 JP 2006543326 A JP2006543326 A JP 2006543326A JP 2006543326 A JP2006543326 A JP 2006543326A JP 4653758 B2 JP4653758 B2 JP 4653758B2
Authority
JP
Japan
Prior art keywords
heating element
heat
metal
molten metal
bag
Prior art date
Legal status (The legal status is an assumption and is not a legal conclusion. Google has not performed a legal analysis and makes no representation as to the accuracy of the status listed.)
Expired - Lifetime
Application number
JP2006543326A
Other languages
English (en)
Other versions
JP2007513770A (ja
Inventor
ジョン・エス・ティンジー
デイビッド・エイ・サリー
ウェイド・リー・ボールズ
Current Assignee (The listed assignees may be inaccurate. Google has not performed a legal analysis and makes no representation or warranty as to the accuracy of the list.)
Novelis Inc Canada
Original Assignee
Novelis Inc Canada
Priority date (The priority date is an assumption and is not a legal conclusion. Google has not performed a legal analysis and makes no representation as to the accuracy of the date listed.)
Filing date
Publication date
Application filed by Novelis Inc Canada filed Critical Novelis Inc Canada
Publication of JP2007513770A publication Critical patent/JP2007513770A/ja
Application granted granted Critical
Publication of JP4653758B2 publication Critical patent/JP4653758B2/ja
Anticipated expiration legal-status Critical
Expired - Lifetime legal-status Critical Current

Links

Images

Classifications

    • BPERFORMING OPERATIONS; TRANSPORTING
    • B22CASTING; POWDER METALLURGY
    • B22DCASTING OF METALS; CASTING OF OTHER SUBSTANCES BY THE SAME PROCESSES OR DEVICES
    • B22D41/00Casting melt-holding vessels, e.g. ladles, tundishes, cups or the like
    • B22D41/005Casting melt-holding vessels, e.g. ladles, tundishes, cups or the like with heating or cooling means
    • B22D41/01Heating means
    • BPERFORMING OPERATIONS; TRANSPORTING
    • B22CASTING; POWDER METALLURGY
    • B22DCASTING OF METALS; CASTING OF OTHER SUBSTANCES BY THE SAME PROCESSES OR DEVICES
    • B22D35/00Equipment for conveying molten metal into beds or moulds
    • B22D35/04Equipment for conveying molten metal into beds or moulds into moulds, e.g. base plates, runners
    • BPERFORMING OPERATIONS; TRANSPORTING
    • B22CASTING; POWDER METALLURGY
    • B22DCASTING OF METALS; CASTING OF OTHER SUBSTANCES BY THE SAME PROCESSES OR DEVICES
    • B22D35/00Equipment for conveying molten metal into beds or moulds
    • B22D35/06Heating or cooling equipment

Landscapes

  • Engineering & Computer Science (AREA)
  • Mechanical Engineering (AREA)
  • Furnace Details (AREA)
  • Vertical, Hearth, Or Arc Furnaces (AREA)
  • Casting Support Devices, Ladles, And Melt Control Thereby (AREA)
  • Furnace Charging Or Discharging (AREA)
  • Continuous Casting (AREA)
  • Furnace Housings, Linings, Walls, And Ceilings (AREA)
  • Coating With Molten Metal (AREA)
  • Refinement Of Pig-Iron, Manufacture Of Cast Iron, And Steel Manufacture Other Than In Revolving Furnaces (AREA)

Description

本発明は、一般に溶融金属、より明確にはアルミニウム鋳造処理の溶融アルミニウムを輸送するための装置に関するものである。
溶融金属処理において、樋は一般に溶融炉から例えば鋳型や分析器などのいろいろな処理装置へ溶融金属を輸送するために使用される。十分な金属流量がある場合には、溶融金属の中に十分な顕熱があるので、樋による熱損失を補うことができる。しかしながら、金属流量が少ない状態又は樋を流れる時間が長い状態においては、過度の金属熱損失を防止するために何らかの形の樋加熱を必要とする。
Birchill他に係る特許文献1は、どの側からでも加熱することができる設備を備えた一般的な加熱樋を開示するが、効果的な温度制御をどのように実現するかの詳細な記述は少しもない。
Sivilottiに係る特許文献2は、溶融金属を収容するための耐熱性の内面を含み、発熱体によって取り囲まれた断熱性がありチューブ状の排出管を開示する。
2002年9月3日付のEckertに係る特許文献3は、樋の耐熱材料と密接な関係にある、側壁又は底に埋め込まれた加熱器を備えた加熱樋について説明する。
これらの2つの引用文献は共に伝導により加熱する加熱器を使用する。当該加熱器は、周囲の耐熱物との望ましい接触を確保することが難しいため、熱い場所及び一様でない加熱が生じる傾向がある。発熱体の胴部(element shell)の金属含浸又は膨張により閉塞する傾向にあるため維持するのが難しいこともある。熱的接触によって加熱器が加熱を行うとき、望ましい熱的接触の場合は、加熱器と周囲の材料との間の温度差が低くなるであろう。それゆえ、高い加熱温度が、望ましいワット密度とエネルギー伝達を達成するのに必要である。
Hebrantに係る特許文献4は、上蓋に取り付けられた加熱器を有する蓋付き加熱樋を開示する。主にこれらの加熱器は伝導よりむしろ放射により加熱を行う。そして、熱流束は加熱器の温度の4乗と放射を受ける表面とに依存する。放射加熱器は、高いワット密度に耐えうる。しかしながら、全体としては溶融金属の表面に放射する加熱器はその表面の低い放射率のため効果的でない。
溶融金属が樋を流れるときその中で不純物や含有物が形成されるという一般的な傾向があるが、これは、上から加熱した(上端で加熱した)樋においてはより深刻である。これらの含有物は、樋と通常樋が作られる耐熱材料との表面の大気中の酸素の存在下で増大する。溶融金属表面の高温と低い金属流速は、この効果を劇的に増大させる。
米国特許第3494410号明細書 米国特許第4345743号明細書 米国特許第6444165号明細書 米国特許第4531717号明細書 米国特許第6555165号明細書
従って、含有物の形成を低減しながら、流れている溶融金属に一様で制御可能な熱を供給する樋加熱処理を見つけることが望ましい。
従って、本発明は、1つの実施例において、下部壁と2つの側壁とにより形成された外胴部(outer shell)と、外胴部を満たす断熱層と、溶融金属を輸送するための伝導性(熱伝導性)があり、Uの形をした、耐熱性のある樋本体とを備え、樋本体は断熱層に埋め込まれた溶融金属を輸送するための樋(トラフ)を提供する。少なくとも1つの発熱体は、発熱体と樋本体との間に空隙を設けるため、樋本体に近接させつつ間隙を置いて、断熱層の中に位置付けられる。
本発明は、もう1つの実施例において、金属を輸送するための樋の中の溶融アルミニウムを加熱する方法を提供する。ここで、樋は下部壁と2つの側壁とにより形成された外胴部と、外胴部を満たす断熱層と、溶融金属を輸送するための伝導性があり、Uの形をした、耐熱性のある樋本体とを備えている。樋本体は断熱層に埋め込まれ、発熱体と樋本体との間に空隙を設けるため、樋本体に間隙を置いて、伝導性があり、Uの形をした、耐熱性のある樋近傍の樋内面に埋め込まれた1以上の放射加熱器によって熱を供給する。
図1及び2は、本発明による加熱樋の斜視図と断面図を示す。これらの図に示すように、樋10は、当技術分野で周知のように鋼鉄又は他の適した材料で作ることができる外胴部12と、分割された樋を互いに接続し、又は樋を金属取扱システムの他の部分に取り付けるのに適したエンドプレート13とを備える。外胴部12の内側は断熱層14であり、断熱層14の内部に置かれているのは溶融金属18を輸送するためのUの形をした樋本体16である。一般に、樋本体16は、高い伝導性があり、溶解金属からの腐食に耐性があり、そして密度が高い耐熱物、例えば炭化珪素又は黒鉛などで作ることができる。断熱層は、1種類の断熱板から構成してもよいし、又は内側から外側表面までさまざまな種類の副層に部類分けしてもよい。典型的に、断熱層は耐熱性があり繊維状の珪酸アルミニウム又は多孔性(pourable)断熱耐火物である。
樋本体は、耐熱材料、例えば、珪酸カルシウム(珪灰石)の耐熱板から製造された支柱(pier)19をおおう周囲の断熱層14の中で支えられる。
発熱体20は、空隙(air gap)28を設けるため、樋本体16に近接させつつ間隙を置いて、断熱層14の中において支柱19の間に位置付けられる。空隙28は発熱体20と樋本体16の間の放射熱伝達を可能にする。樋本体は高い伝導性があるので、熱収支としては、加熱器と樋本体の一部分で加熱器に間隙を置いて面している部分との間に大きな温度差が存在することとなる。たとえ加熱温度が伝導加熱状態で使用されたものより低くても、これは加熱器の効果的運転と高い熱流速を可能にする。加熱器と樋本体との断続的かそれとも不測の熱接触を防止するために、空隙28は十分であり、それゆえに、伝導による局部的な熱伝達、一様でない加熱及び熱い場所を排除する。空隙28の最大サイズは重大ではない。そして、1つの実施例において、対面している樋面積と比較して加熱器表面積をより大きくすることを可能とするためにより大きい間隙幅で、結果的により効果的な熱伝達を生じさせるために先細り形(テーパ形)の間隙を使用してもよい。また、珪灰石の支柱19への伝導熱の損失を回避するために、空隙は発熱体の側面と支柱の間までも続く。ここでは、1つの発熱体と言われているとはいえ、当然のことながらここに使用される「発熱体」という用語は1つより多い素子を含む。発熱体は例えばワトロウ(Watlow)によって提供されるような典型的な放射加熱器である。
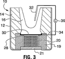
珪灰石などの耐熱材料のもう1つの閉鎖板21が、加熱器20の下に設けられている。樋を分解することなく、修理や交換を行うため加熱器を簡単に取り外すことを可能にするために、この板を取り外すことができる。
放射熱伝達を最大にするために、樋本体材料は高い放射吸収性を持つか、伝導性があり高い吸収性を持つ被覆剤で表面を覆われるべきである。炭化珪素及び黒鉛の樋材料は、本出願のために好ましい吸収性を持つ。
好ましくは、少なくとも1つの発熱体と樋本体の間の空隙28は、使用時の不測の熱接触を避けるために少なくとも0.5cmである。空間の実用的な理由から、一般的に、最大1cmの空隙を使用する。
さらに、図2は、溶融金属による熱損失を低減するために、当技術分野で周知の断熱蓋(断熱カバー)26を樋10の上に取り付けることができるというより好ましい実施例を示す。ある実施例においては、断熱蓋の下に不活性気体を注入するための設備を設け、そのような場合には、その蓋には適切な密閉手段が設けられる。
図3に示す好ましい実施例において、金属防壁として役目を果たすため、樋は、発熱体20の近傍に、例えば樋本体16の外面に合う金属や黒鉛の遮壁又は素焼板(porous sheet)30を含む金属又は非金属の金属浸入防壁をさらに備えることができる。この遮壁は鉄・ニッケル・クロム合金などの合金であってもよい。金属浸入防壁は熱的に安定性があり、アルミニウムを漏らさず、効果を失わず通過する放射熱に効果的であるべきである。典型的に、0.5mm×0.5mmのメッシュサイジングはこのために効果的である。
金属浸入防壁は導電性金属又は非金属から製造されるとき、防壁と樋の中の金属との間の伝導率の変化を検出するための手段を備えることにより金属漏出の検出のために使用されてもよい。当該検出器は、樋の中の金属の中に浸された探針32と、金属浸入防壁への探針32と電気的接続部34間を接続する伝導率検出器36との電気的接続部34とで構成してもよい。普通は、非常に低い伝導率が検出されるであろうが、金属浸入が起こると、伝導率は上昇し、伝導率検出器36は修正措置を取ることができるように故障を知らせるであろう。
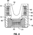
本発明の別の実施例を図4に示す。この実施例において、上記のように加熱器20におけるより大きいワット密度を可能にするため、放射間隙28が外面上先細り形になるように、珪灰石支柱19は外面上先細り形40である。また、図4は下部加熱器20と同様の加熱器42を、樋16の側面に沿った珪灰石の支持材44の間に取り付けるという別の実施例を示す。これらの加熱器それぞれに放熱間隙46を備え、その上、示された図において、放熱間隙は効果的に先細り形である。当然のことながら、図のように当該側面加熱器を下部加熱器と共に使用することもできるし、又はそれらだけで使用することもできる。また、ある実施例においては、側面加熱器への簡単なアクセスを可能にするために、下部閉鎖板21と同様のアクセス板(図示せず)を樋の側面に使用してもよい。
当技術分野で周知のように、適温制御システムを本発明の樋10と共に使用することができる。そのシステムは、1つ以上の発熱体20と溶融金属18の上部表面近くの樋本体16部分とに取り付けられた熱電対を備えることができる。樋加熱器制御プログラムは、発熱体20の出力を制限することにより発熱体20の寿命を長くすると同時に、正確な溶融金属温度を維持するのに、両方の種類の熱電対からの出力を利用する。加熱し、樋本体の中の溶融金属の表面温度を維持するのに、1種又は複数種の電圧を使用することができる。例えば、電圧は220ボルト又は110ボルトであってもよい。
加熱器制御プログラムの論理は、鋳型への導入の直前に溶融金属温度の厳しい許容範囲を維持するために、P.I.D.閉ループ制御を使用する。引例によってここに組み込まれたEckertに係る特許文献5において、適温制御システムの一例を見ることができる。
本発明の加熱樋の斜視図である。 図1の加熱樋の中央で切断した断面図である。 本発明の加熱樋のもう1つの実施例を示す図2と同様の断面図である。 本発明の加熱樋の別の実施例を示す図2と同様の断面図である。
符号の説明
10 樋、
12 外胴部、
13 エンドプレート、
14 断熱層、
16 樋本体、
18 溶融金属、
19 支柱、
20 発熱体、
21 閉鎖板、
26 断熱蓋、
28 空隙、
30 素焼板、
32 探針、
34 電気的接続部、
36 伝導率検出器、
40 先細り形、
42 (側面)加熱器、
44 支持材、
46 放熱間隙。

Claims (18)

  1. 溶融金属を輸送するための樋であって、
    (a)下部壁と2つの側壁とにより形成された外胴部と、
    (b)外胴部を満たす断熱層と、
    (c)断熱層に埋め込まれた、溶融金属を輸送するための伝導性及び耐熱性のある樋本体と、
    (d)発熱体と樋本体との間に空隙を設けるため、樋本体に近接させつつ間隙を置いて、断熱層の中に位置付けられた発熱体とを備えたことを特徴とする樋。
  2. 発熱体と樋本体との間の空隙は少なくとも0.5cmであることを特徴とする請求項1記載の樋。
  3. 発熱体と樋本体との間の空隙は1.0cmより小さいことを特徴とする請求項1記載の樋。
  4. 発熱体は樋の下部端近傍に位置付けられていることを特徴とする請求項1記載の樋。
  5. 発熱体は樋の側壁近傍に位置付けられていることを特徴とする請求項4記載の樋。
  6. 樋本体は炭化珪素又は黒鉛で作られていることを特徴とする請求項1記載の樋。
  7. 発熱体近傍に、樋本体の外部表面に取り付けられた金属浸入防壁手段をさらに備えたことを特徴とする請求項1記載の樋。
  8. 金属浸入防壁手段は合金又は非金属で作られていることを特徴とする請求項7記載の樋。
  9. 合金は鉄・ニッケル・クロム合金であることを特徴とする請求項8記載の樋。
  10. 非金属は黒鉛であることを特徴とする請求項8記載の樋。
  11. 発熱体と溶融金属近傍の樋本体の中とに取り付けられた熱電対と、
    発熱体から出力される熱を制御するためのP.I.D.閉ループ制御プログラムとをさらに備えたことを特徴とする請求項1記載の樋。
  12. 金属浸入防壁との1つの連結部と、樋の中の溶融金属の中に挿入するのに適したもう1つの連結部とに接続された伝導率検出器をさらに備え、
    上記伝導率検出器は、測定された伝導率が樋内面への金属浸入の結果として増加したとき信号を出すための手段を備えたことを特徴とする請求項7記載の樋。
  13. 樋の中で輸送されている溶融金属を加熱するための方法であって、
    上記樋は、
    下部壁と一対の側壁とにより形成された外胴部と、
    外胴部を満たす断熱層と
    断熱層に埋め込まれた、溶融金属を輸送するための伝導性及び耐熱性のある樋本体と、
    発熱体と樋との間に空隙を設けるため、樋本体に近接させつつ間隙を置いて、断熱層の中に位置付けられた発熱体とを備え、
    空隙を横切る放射熱伝達により加熱器から樋本体へ熱を移動させ、それによって樋本体及びその中で輸送されている溶融金属を一様に加熱することを特徴とする方法。
  14. 空隙幅は、0.5cmから1.0cmまでであることを特徴とする請求項13記載の方法。
  15. 発熱体を樋の下部端近傍に位置付けることを特徴とする請求項13記載の方法。
  16. 発熱体を樋の側壁近傍に位置付けることを特徴とする請求項13記載の方法。
  17. 発熱体から出力される熱を制御するため、発熱体と溶融金属近傍の樋本体の温度を測定し利用することを特徴とする請求項13記載の方法。
  18. 金属浸入防壁手段を発熱体近傍の樋本体の外側表面上に設け、
    浸入防壁と樋の中の溶融金属との間で伝導率を測定し、伝導率の増加により樋内面への金属浸入を知らせることを特徴とする請求項13記載の方法。
JP2006543326A 2003-12-11 2004-12-07 溶融金属のための加熱樋 Expired - Lifetime JP4653758B2 (ja)

Applications Claiming Priority (2)

Application Number Priority Date Filing Date Title
US10/735,075 US6973955B2 (en) 2003-12-11 2003-12-11 Heated trough for molten metal
PCT/CA2004/002085 WO2005056219A1 (en) 2003-12-11 2004-12-07 Heated trough for molten metal

Publications (2)

Publication Number Publication Date
JP2007513770A JP2007513770A (ja) 2007-05-31
JP4653758B2 true JP4653758B2 (ja) 2011-03-16

Family

ID=34653527

Family Applications (1)

Application Number Title Priority Date Filing Date
JP2006543326A Expired - Lifetime JP4653758B2 (ja) 2003-12-11 2004-12-07 溶融金属のための加熱樋

Country Status (14)

Country Link
US (1) US6973955B2 (ja)
EP (1) EP1691945B1 (ja)
JP (1) JP4653758B2 (ja)
KR (1) KR101130362B1 (ja)
CN (1) CN1894061B (ja)
AT (1) ATE385868T1 (ja)
BR (1) BRPI0417475B1 (ja)
CA (1) CA2546085C (ja)
DE (1) DE602004011816T2 (ja)
ES (1) ES2298844T3 (ja)
NO (1) NO20063130L (ja)
PT (1) PT1691945E (ja)
RU (1) RU2358831C2 (ja)
WO (1) WO2005056219A1 (ja)

Families Citing this family (34)

* Cited by examiner, † Cited by third party
Publication number Priority date Publication date Assignee Title
WO2008074134A1 (en) * 2006-12-19 2008-06-26 Novelis Inc. Method of and apparatus for conveying molten metals while providing heat thereto
US20110017785A1 (en) * 2008-01-21 2011-01-27 Edward Dean Carman Launder assembly and launder section
US9095896B2 (en) * 2008-11-03 2015-08-04 Pyrotek, Inc. Heated molten metal handling device
WO2011069250A1 (en) * 2009-12-10 2011-06-16 Novelis Inc. Compressive rod assembly for molten metal containment structure
ES2621389T3 (es) 2009-12-10 2017-07-03 Novelis, Inc. Método de formar juntas refractarias selladas en recipientes de contención de metal, y recipientes que incluyen juntas selladas
RU2549232C2 (ru) * 2009-12-10 2015-04-20 Новелис Инк. Сосуд для содержания расплавленного металла, имеющий сквозную вентиляцию
ES2537981T3 (es) 2009-12-10 2015-06-16 Novelis, Inc. Recipiente que contiene metal fundido y procedimientos de fabricación del mismo
EP2998047B1 (en) * 2010-04-19 2017-06-07 Novelis, Inc. Thermal optimization in vessels used for containing molten metals
CN102719808A (zh) * 2011-03-30 2012-10-10 北京北方微电子基地设备工艺研究中心有限责任公司 托盘及具有其的基片加工设备
CN102497680B (zh) * 2011-11-28 2013-06-19 武汉船用机械有限责任公司 一种衬套的加热装置
CN103286286B (zh) * 2012-02-22 2016-08-03 株式会社神户制钢所 对镁或镁合金构成的铸造物进行连续铸造的连续铸造装置及连续铸造方法
EP2861340B1 (en) * 2012-06-14 2017-12-06 Pyrotek, Inc. Receptacle for handling molten metal
CN102997684A (zh) * 2012-11-09 2013-03-27 江苏熙友磁电科技有限公司 保温炉入口浇嘴
CN102974813A (zh) * 2012-12-26 2013-03-20 烟台孚信达双金属股份有限公司 用于铜包铝水平连铸的铝液保温净化输送包
GB2515475B (en) * 2013-06-21 2016-08-31 Emp Tech Ltd Metallurgical apparatus
CN103438718A (zh) * 2013-07-24 2013-12-11 无锡圣恩铜业有限公司 保温炉入口浇嘴
GB201314376D0 (en) * 2013-08-12 2013-09-25 Pyrotek Engineering Materials Cross Feeder
US20150108325A1 (en) * 2013-10-23 2015-04-23 Keith Ryan Method and apparatus for electrically-heated refractory moulds and mandrels
CN103639376A (zh) * 2013-12-24 2014-03-19 金隆铜业有限公司 一种铜冶炼保温溜槽装置
US9781776B2 (en) * 2015-06-15 2017-10-03 Pyrotek, Incorporated Molten metal handling device heating system
CN106466710A (zh) * 2015-08-21 2017-03-01 宁波创润新材料有限公司 流槽预热罩和流槽预热方法
GB2543518A (en) * 2015-10-20 2017-04-26 Pyrotek Eng Mat Ltd Metal transfer device
JP2017177130A (ja) * 2016-03-29 2017-10-05 助川電気工業株式会社 高温流体用樋
US10408540B2 (en) * 2016-12-21 2019-09-10 Fives North American Combustion, Inc. Launder assembly
BR112020006155B1 (pt) * 2017-09-28 2022-08-30 Alum Indústria E Comércio De Insumos Para Fundição Ltda Epp Sistema de aquecimento interno para calhas refratárias
BR112020006164B1 (pt) * 2017-09-29 2022-08-30 Alum Indústria E Comércio De Insumos Para Fundição Ltda Epp Sistema de drenagem para calhas refratárias
RU2691827C1 (ru) * 2018-01-16 2019-06-18 Общество с ограниченной ответственностью "Резонанс" Желоб с радиационным нагревом для транспортировки расплавленных металлов
RU192356U1 (ru) * 2018-12-03 2019-09-13 Общество с ограниченной ответственностью "Научно-производственный центр магнитной гидродинамики" Транспортный желоб литейного комплекса разливки жидкого металла
CN112944919A (zh) * 2019-11-26 2021-06-11 科德尔科股份公司 用于转移熔炼炉中白金属的热通道
CN111283150A (zh) * 2020-04-01 2020-06-16 太原钢铁(集团)有限公司 一种非晶合金浇注用滤渣式流钢槽
CN112059160A (zh) * 2020-09-25 2020-12-11 无锡元基精密机械有限公司 一种中空型铸造流体流通保温系统
US20220111434A1 (en) * 2020-10-08 2022-04-14 Wagstaff, Inc. Material, apparatus, and method for refractory castings
US20240357712A1 (en) * 2023-04-21 2024-10-24 Wagstaff, Inc. Material, apparatus, and method for electrically shielding heated components
CN117000980A (zh) * 2023-06-26 2023-11-07 太原重工股份有限公司 槽形专用铸件浇注外设浇道工装

Family Cites Families (28)

* Cited by examiner, † Cited by third party
Publication number Priority date Publication date Assignee Title
US3551578A (en) * 1966-10-28 1970-12-29 Asea Ab Channel type furnace for vacuum
US3494410A (en) 1966-12-12 1970-02-10 Kaiser Aluminium Chem Corp Casting molten metal
JPS49325Y1 (ja) * 1970-11-09 1974-01-08
JPS5065914U (ja) * 1973-10-23 1975-06-13
JPS5098408A (ja) * 1973-12-29 1975-08-05
JPS52129603A (en) * 1976-04-23 1977-10-31 Taiko Refractories Channel for molten metals and method for construction thereof
JPS53127344U (ja) * 1977-03-18 1978-10-09
US4345743A (en) 1980-10-10 1982-08-24 Alcan Research And Development Limited Means and method for containing flowing or standing molten metal
JPS59114786U (ja) * 1983-01-20 1984-08-02 助川電気工業株式会社 溶融金属移送用ダクト
KR840007900A (ko) * 1983-03-04 1984-12-11 무라마쯔 후미오 언더 히이터(under-heater)형로(爐)
US4531717A (en) 1984-03-22 1985-07-30 Kaiser Aluminum & Chemical Corporation Preheated trough for molten metal transfer
US4635706A (en) 1985-06-06 1987-01-13 The Dow Chemical Company Molten metal handling system
CN85205652U (zh) * 1985-12-27 1986-11-05 哈尔滨市第一耐火材料厂 轻质保温流槽
SE462395B (sv) * 1988-11-18 1990-06-18 Avesta Ab Austenitisk jaern-nickel-krom-baslegering med goda hoegtemperaturegenskaper samt anvaendning av denna
NL8803103A (nl) * 1988-12-19 1990-07-16 Hoogovens Groep Bv Ijzergoot.
US4993607A (en) 1989-07-10 1991-02-19 General Electric Company Transfer tube with in situ heater
US5316071A (en) 1993-05-13 1994-05-31 Wagstaff Inc. Molten metal distribution launder
FR2705259B1 (fr) * 1993-05-19 1995-07-07 Pont A Mousson Dispositif d'alimentation en métal en fusion, notamment en fonte, d'une machine de coulée, et installation de coulée intégrant ce dispositif d'alimentation.
US5913353A (en) 1994-09-26 1999-06-22 Ford Global Technologies, Inc. Process for casting light metals
AT404328B (de) * 1995-03-24 1998-10-27 Rauch Fertigungstech Gmbh Verfahren und vorrichtung zum beschicken von giessmaschinen
RU2119556C1 (ru) * 1996-05-30 1998-09-27 Акционерное общество "АВИСМА титано-магниевый комбинат" Устройство для транспортировки расплавов
NL1003885C2 (nl) * 1996-08-27 1998-03-03 Hoogovens Tech Services Goot voor een hete smelt en gootsysteem.
EP0867413A1 (en) * 1997-03-27 1998-09-30 Alcatel A method for drawing an optical fibre from a glass preform
JP2000017313A (ja) * 1998-07-03 2000-01-18 Kawasaki Steel Corp 溶融金属用樋
JP4534048B2 (ja) * 1998-10-28 2010-09-01 有明セラコ株式会社 金属溶湯用樋
US6444165B1 (en) * 1999-01-12 2002-09-03 C. Edward Eckert Heated trough for molten aluminum
WO2003066913A1 (en) 2001-12-28 2003-08-14 Eckert Edward C Heatable trough for molten aluminium flow
DE10352453A1 (de) 2003-11-07 2005-06-02 Volkswagen Ag Verfahren zur Herstellung von Metall-Matrix-Verbundwerkstoffen

Also Published As

Publication number Publication date
US20050126738A1 (en) 2005-06-16
NO20063130L (no) 2006-07-05
ATE385868T1 (de) 2008-03-15
EP1691945B1 (en) 2008-02-13
PT1691945E (pt) 2008-04-03
DE602004011816T2 (de) 2009-01-29
BRPI0417475A (pt) 2007-05-08
CA2546085A1 (en) 2005-06-23
RU2006122205A (ru) 2008-01-20
CA2546085C (en) 2009-10-13
JP2007513770A (ja) 2007-05-31
CN1894061A (zh) 2007-01-10
RU2358831C2 (ru) 2009-06-20
WO2005056219A1 (en) 2005-06-23
ES2298844T3 (es) 2008-05-16
KR20060127034A (ko) 2006-12-11
EP1691945A4 (en) 2007-04-18
KR101130362B1 (ko) 2012-03-28
EP1691945A1 (en) 2006-08-23
CN1894061B (zh) 2011-12-21
DE602004011816D1 (de) 2008-03-27
US6973955B2 (en) 2005-12-13
BRPI0417475B1 (pt) 2012-06-26

Similar Documents

Publication Publication Date Title
JP4653758B2 (ja) 溶融金属のための加熱樋
JP5778249B2 (ja) 溶融金属を収容するために用いる容器での溶融金属の漏出の制限および熱的最適化
KR101240029B1 (ko) 용융 구리 주조용 라운더
JP2008526512A5 (ja)
EP0741853A1 (en) Internal refractory cooler
EP0090761A1 (fr) Rigole de coulée pour métaux liquides
JP7244445B2 (ja) 非鉄金属用溶解炉及び非鉄金属用保持炉
TW561081B (en) Method to adjust the temperature of a moulding trough and the moulding trough to implement this method
JP6054162B2 (ja) 取鍋予熱装置
RU2791751C1 (ru) Транспортный желоб жидкого металла c электрическим нагревом
CN112944919A (zh) 用于转移熔炼炉中白金属的热通道
AU682578B2 (en) Internal refractory cooler
RU2330391C2 (ru) Электрод и способ установки электрода в дуговой электропечи
JP2017177130A (ja) 高温流体用樋
CA2183520C (en) Internal refractory cooler
Uchida et al. HEAT TRANSFER ANALYSIS OF VARIOUS LADLE REFRACTORY LININGS
Roach et al. Induction melter apparatus

Legal Events

Date Code Title Description
A621 Written request for application examination

Free format text: JAPANESE INTERMEDIATE CODE: A621

Effective date: 20070808

A977 Report on retrieval

Free format text: JAPANESE INTERMEDIATE CODE: A971007

Effective date: 20090915

A131 Notification of reasons for refusal

Free format text: JAPANESE INTERMEDIATE CODE: A131

Effective date: 20090924

A521 Request for written amendment filed

Free format text: JAPANESE INTERMEDIATE CODE: A523

Effective date: 20091224

TRDD Decision of grant or rejection written
A01 Written decision to grant a patent or to grant a registration (utility model)

Free format text: JAPANESE INTERMEDIATE CODE: A01

Effective date: 20101124

A01 Written decision to grant a patent or to grant a registration (utility model)

Free format text: JAPANESE INTERMEDIATE CODE: A01

A61 First payment of annual fees (during grant procedure)

Free format text: JAPANESE INTERMEDIATE CODE: A61

Effective date: 20101217

R150 Certificate of patent or registration of utility model

Ref document number: 4653758

Country of ref document: JP

Free format text: JAPANESE INTERMEDIATE CODE: R150

Free format text: JAPANESE INTERMEDIATE CODE: R150

FPAY Renewal fee payment (event date is renewal date of database)

Free format text: PAYMENT UNTIL: 20131224

Year of fee payment: 3

R250 Receipt of annual fees

Free format text: JAPANESE INTERMEDIATE CODE: R250

R250 Receipt of annual fees

Free format text: JAPANESE INTERMEDIATE CODE: R250

R250 Receipt of annual fees

Free format text: JAPANESE INTERMEDIATE CODE: R250

R250 Receipt of annual fees

Free format text: JAPANESE INTERMEDIATE CODE: R250

R250 Receipt of annual fees

Free format text: JAPANESE INTERMEDIATE CODE: R250

R250 Receipt of annual fees

Free format text: JAPANESE INTERMEDIATE CODE: R250

R250 Receipt of annual fees

Free format text: JAPANESE INTERMEDIATE CODE: R250

R250 Receipt of annual fees

Free format text: JAPANESE INTERMEDIATE CODE: R250

R250 Receipt of annual fees

Free format text: JAPANESE INTERMEDIATE CODE: R250

R250 Receipt of annual fees

Free format text: JAPANESE INTERMEDIATE CODE: R250

R250 Receipt of annual fees

Free format text: JAPANESE INTERMEDIATE CODE: R250

EXPY Cancellation because of completion of term