JP4635789B2 - 軌道作業車両の走行装置 - Google Patents

軌道作業車両の走行装置 Download PDF

Info

Publication number
JP4635789B2
JP4635789B2 JP2005258083A JP2005258083A JP4635789B2 JP 4635789 B2 JP4635789 B2 JP 4635789B2 JP 2005258083 A JP2005258083 A JP 2005258083A JP 2005258083 A JP2005258083 A JP 2005258083A JP 4635789 B2 JP4635789 B2 JP 4635789B2
Authority
JP
Japan
Prior art keywords
unit
motor
drive pattern
wheel
track
Prior art date
Legal status (The legal status is an assumption and is not a legal conclusion. Google has not performed a legal analysis and makes no representation as to the accuracy of the status listed.)
Expired - Fee Related
Application number
JP2005258083A
Other languages
English (en)
Other versions
JP2007069703A (ja
Inventor
善伸 保坂
正敏 原
Current Assignee (The listed assignees may be inaccurate. Google has not performed a legal analysis and makes no representation or warranty as to the accuracy of the list.)
Kobelco Construction Machinery Co Ltd
Original Assignee
Kobelco Construction Machinery Co Ltd
Priority date (The priority date is an assumption and is not a legal conclusion. Google has not performed a legal analysis and makes no representation as to the accuracy of the date listed.)
Filing date
Publication date
Application filed by Kobelco Construction Machinery Co Ltd filed Critical Kobelco Construction Machinery Co Ltd
Priority to JP2005258083A priority Critical patent/JP4635789B2/ja
Publication of JP2007069703A publication Critical patent/JP2007069703A/ja
Application granted granted Critical
Publication of JP4635789B2 publication Critical patent/JP4635789B2/ja
Anticipated expiration legal-status Critical
Expired - Fee Related legal-status Critical Current

Links

Images

Landscapes

  • Arrangement Or Mounting Of Propulsion Units For Vehicles (AREA)

Description

本発明は軌道(主として電車が走行する鉄道)上を走行してクレーン作業を行う軌道作業車両の走行装置に関するものである。
たとえば鉄道用の軌道作業車両として、図6〜図8に示すように軌道外で走行するためのクローラ式の下部走行体1上に上部旋回体2を縦軸まわりに旋回自在に搭載して車両本体Aを構成し、この車両本体Aの上部旋回体2に吊り作業用の伸縮ブーム3(図7では省略)を起伏自在に取付ける一方、下部走行体1の前後両側にそれぞれ左右一対の走行装置B,B,C,Cを設けたものが公知である。
この前部及び後部両走行装置B,Cは、それぞれ車両中心線Oを挟んで左右対称に配置され、この前後両側における左右の走行装置B,B,C,Cが軌道Dの左右の線路4,4上に下ろされて車両本体Aを持ち上げた状態で、前部走行装置B,Bを駆動側、前部走行装置C,Cを従動側として軌道D上を走行する。
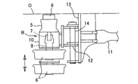
駆動側である前部左右の走行装置B,Bの構成を図8に拡大して示す。ここでは進行方向左側の走行装置Bのみを例示しているが、右側についても同じ構成となっている。
この走行装置Bは、駆動源であるモータ(油圧モータ)5と車輪6を同軸上で左右(図8の上下)に並べ、互いのモータ軸7と車軸8とを直結した構成となっている(特許文献1参照)。
図8中、9はモータ5に対する圧油給排用の配管が接続されるポートブロック、10は車輪6の車軸8を回転自在に支持する車軸ハウジングである。
この車軸ハウジング10は、下部走行体1に昇降可能に取付けられた昇降アーム11に対してブラケット12,13と左右方向の水平な支軸14とによって左右にスライド自在に取付けられ、走行装置B全体が軌道幅(線路幅)に応じて、実線で示す狭軌位置と二点鎖線で示す広軌位置との間でスライド(車輪間隔が拡縮)するように構成されている。
特開2003−72545号公報
ところが、上記のように走行モータ5と車輪6を直結した構成によると、高速走行には適する反面、牽引作業のように大出力を必要とする作業を行う場合に、モータ出力が不足する事態が発生していた。
この場合、走行装置B全体をモータ出力が大きいものに取り替えることは可能であるが、コストの点で不利となるだけでなく、重くて大きい装置全体を狭いスペース内で交換する作業自体がきわめて面倒であるため得策でない。
また、装置全体を減速機付きのものに取り替えることも考えられる。しかし、構成要素を同軸上に並べるという従来装置の基本思想に基づいて車輪と減速機とモータを同軸上に並べるとすると、減速機付きのものへの取替え時にスペースの制約を受け、とくに図8に示す狭軌状態では装置が本体中心線Oよりも内側にはみ出るおそれがあることから、実際上、このような取替えは不可能となっていた。
このため、求められる性能(高速性能と大出力性能)に応じた装置構成の転換は行っていないのが実情であり、この点の改善が望まれていた。
そこで本発明は、求められる性能に応じた装置構成の転換を限られたスペース内で簡単に行うことができる軌道作業車両の走行装置を提供するものである。
請求項1の発明は、車両中心線を挟んだ左右両側に設けられて軌道上を走行する軌道作業車両の走行装置において、装置全体を、車両本体に取付けられて軌道上で回転する車輪を含む車輪ユニットと、上記車輪の駆動源としてのモータを含むモータユニットと、上記モータの回転力を減速する減速機を含む減速ユニットとに分け、これら各ユニットを、車両中心線よりも外側で、下記(I)(II)の二つの駆動パターンに組み替え可能に構成したものである。
(I) 上記車輪ユニットとモータユニットを、同軸上でかつモータユニットを内側にして左右に並べ、互いのモータ軸と車軸とが直結される状態で両ユニットを着脱自在に連結した直結駆動パターン。
(II) 車輪ユニットとモータユニットを、それぞれの車軸及びモータ軸が内側を向く状態で平行に配置するとともに、この両ユニット間に上記減速ユニットを、減速機入力軸がモータ軸に、減速機出力軸が車軸にそれぞれ結合される状態で配置し、上記直結駆動パターンにおける車輪ユニットとモータユニットの連結構造と共通の連結構造によって車輪ユニットと減速ユニット、及び減速ユニットとモータユニットをそれぞれ着脱自在に連結した減速駆動パターン。
請求項2の発明は、請求項1の構成において、モータユニットのモータ軸と減速ユニットの減速機出力軸とを同一径とする一方、車輪ユニットに、モータユニットまたは減速ユニットが取付けられるユニット取付面を設け、直結駆動パターンにおけるこのユニット取付面からモータ軸先端までの距離D1と、減速駆動パターンにおけるユニット取付面から減速機出力軸の先端までの距離D2とをほぼ同じに設定したものである。
請求項3の発明は、請求項1または2の構成において、車輪ユニットに、モータユニットまたは減速ユニットが取付けられるユニット取付面を設け、直結駆動パターンにおける車輪ユニットのユニット取付面からモータユニットの内側端面までの距離をW1、減速駆動パターンにおける上記ユニット取付面から減速ユニットの内側端面までの距離をW2として、W1≧W2に設定したものである。
請求項4の発明は、請求項請求項1乃至3のいずれかの構成において、車輪ユニットを、軌道幅が狭い狭軌に適応する狭軌位置と、軌道幅が広い広軌に適応する広軌位置との間で移動可能に構成し、車輪ユニットが狭軌位置にセットされた状態で各ユニットを、車両中心線よりも外側で、直結駆動、減速駆動両パターンに組み替え可能に構成したものである。
請求項5の発明は、請求項1乃至4のいずれかの構成において、モータとして油圧モータを用いる一方、減速ユニットの減速機を、入力側と出力側の回転方向が同じとなるように構成したものである。
請求項6の発明は、請求項1乃至5のいずれかの構成において、減速駆動パターンにおいてモータユニットが車輪ユニットの上方に配置するように構成したものである。
本発明によると、装置全体を車輪ユニットとモータユニットと減速ユニットの三つのユニットに分けるとともに、この各ユニットを、車両中心線よりも外側で、モータユニットと車輪ユニットを同軸上に並べてモータと車輪とを直結する直結駆動パターンと、車輪ユニットとモータユニットを平行に配置し、減速ユニットをこれらに跨って配置する減速駆動パターンとに組み替え得るように構成したから、求められる性能(高速性能/大出力性能)に応じて駆動パターンを二種類のうちで転換することができる。
この場合、
(イ) 各ユニットを共通の連結構造により着脱してパターンの組み替えを行う構成としたこと、
(ロ) 減速ユニットが加わる減速駆動パターンにおいて、平行に配置した車輪、モータ両ユニット間に跨って減速ユニットを配置する構成、すなわち、装置全体の幅寸法が最小となるコの字形の機器レイアウトをとることによって車両中心線よりも外側での組み替えを実現したこと
により、装置構成の転換を限られたスペース内で簡単に行うことができる。
また、請求項2の発明によると、モータユニットのモータ軸と減速ユニットの減速機出力軸とを同一径とする一方、車輪ユニットに、モータユニットまたは減速ユニットが取付けられるユニット取付面を設け、直結駆動パターンにおけるこのユニット取付面からモータ軸先端までの距離D1と、減速駆動パターンにおけるユニット取付面から減速機出力軸の先端までの距離D2とをほぼ同じに設定したから、直結駆動パターンにおける車軸とモータ軸、及び減速駆動パターンにおける車軸と減速機出力軸を、軸径や結合代を調整するための余計なアダプタ等を介在させることなく直接、簡単に、かつ、モータ回転力の伝達効率が同じ状態で結合することができる。
請求項3の発明によると、W1≧W2の設定により、直結駆動パターンから減速駆動パターンへの転換時に、減速ユニットをモータユニット跡の空間に無理なく収めることができる。
請求項4の発明によると、狭軌と広軌とに応じて車輪幅が拡縮する車両において、幅拡張及び縮小両状態で転換が可能となる。
請求項5の発明によると、モータとして油圧モータを用いる場合に、減速ユニットの減速機を、入力側と出力側の回転方向が同じとなるように構成する(たとえば歯車減速機の場合、入力歯車と出力歯車との間に一つの中間歯車を設けた三連歯車構造を採用する)ことにより、両駆動パターンでモータの回転方向と車輪の回転方向を同じにできるため、モータに対する配管のつなぎ方を変える必要がない。
請求項6の発明によると、モータユニットを、減速駆動パターンで車輪ユニットの上方に位置するように構成したから、装置全体の前後方向寸法、つまり車両前方への突出量を小さくすることができる。
本発明の実施形態を図1〜図5によって説明する。
図1に実施形態にかかる軌道作業車両を示す。ここでは車両前半部のみを示し、後半部は図6〜図8に示す従来車両と同じにつき図示省略している。
また、この車両において、下部走行体1と上部旋回体2とによって車両本体Aが構成され、上部旋回体2にブーム(ここでは図示しない)が設けられる点等の基本的な構成は従来車両と同じにつき、説明を省略する。
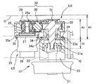
車両本体Aの前側において、車両中心線Oを挟んで左右両側に、駆動側である前部走行装置E,Eが設けられ、この左右の前部走行装置E,Eについて、車両中心線Oよりも外側で、連結/分離可能な複数のユニットを組み替えることによって、図1〜図4に示す減速駆動パターンと、図5に示す直結駆動パターンとに転換可能に構成されている。
進行方向左側の前部走行装置Eを例にとって説明を加えると、同装置Eは、車輪ユニットU1とモータユニットU2と減速ユニットU3とに分けられている。
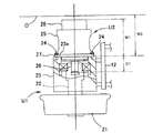
車輪ユニットU1は、車両本体Aの下部走行体1に取付けられて軌道D(線路4,4)上で回転する車輪21と、車軸22を回転自在に支持する車軸ハウジング23とを備え、この車軸ハウジング23が従来同様、ブラケット12,13及び支軸14によって下部走行体側の昇降アーム11に取付けられている。
車軸ハウジング23の内側端面にはユニット取付面23a(図4,5参照)が設けられ、このユニット取付面23aに、図5に示す直結駆動パターンではモータユニットU2、図1〜図4に示す減速駆動パターンでは減速ユニットU3の出力側がそれぞれ複数本のボルト24…によって着脱可能に取付けられる。
モータユニットU2は、車輪21の駆動源としてのモータ(油圧モータ)25を備え、図5に示す直結駆動パターンで、モータ軸26が車軸22に結合(たとえばスプライン係合)された状態で、このモータ25の一端側に設けられたフランジ27が車軸ハウジング23のユニット取付面23aに上記のように取付けられる。
28はモータ25の他端側に設けられたポートブロックである。
減速ユニットU3は、図4に示すように入力、中間、出力の三つの平歯車29,30,31を順番に噛合させた三連歯車構造の減速機32と、この減速機32が収容された減速機ハウジング33とによって構成されている。
減速機32には、入力歯車29に入力軸穴29aが設けられるとともに、出力歯車31に出力軸31aが減速機ハウジング33外に突出する状態で一体に設けられている。
また、減速機ハウジング33には、入力側に、減速駆動パターンでモータユニットU2と連結するためのモータユニット取付面33a(図4参照)が設けられるとともに、出力側に、車輪ユニットU1と連結するためのフランジ34が設けられている。図4中、34aはこのフランジ34の外側面である車輪ユニット取付面である。
この軌道作業車両において、高速走行を要求される場合には図5の直結駆動パターンがとられ、牽引作業のような大出力が必要で直結駆動パターンではモータ出力が不十分となる場合に図1〜図4に示す減速駆動パターンに組み替えられる。
この組み替えは次のように行われる。
(イ) 図5の状態でボルト24…を外してモータユニットU2を車輪ユニットU1から取外す。
(ロ) 図4に示すように車輪ユニットU1の前方にモータユニットU2を、そモータ軸26が車軸22と同じ内側を向く状態で平行に配置し、車輪ユニットU1に減速ユニットU3の出力側を、互いの車軸22と出力軸31aが結合された状態で、フランジ34(車輪ユニット取付面34a)、ユニット取付面23a、ボルト24…によって取付ける。
(ハ) 減速ユニットU3の入力側にモータユニットU2を、互いの入力軸穴29aとモータ軸26が結合された状態でフランジ27、モータユニット取付面33a、複数本のボルト35…によって取付ける。
こうして、各ユニットU1,U2,U3を平面視でコの字形、すなわち、車輪ユニットU1とモータユニットU2が前後に平行に並び、この両ユニットU1,U2間に減速ユニットU3が跨るレイアウトで連結する。
この状態で、モータ25の回転力が減速機32で減速されて車輪21に伝えられるため、直結駆動パターンと比較して大出力を得ることができる。
また、減速機32は三連歯車構造とされ、その入力側(入力歯車29)と出力側(出力歯車31)の回転方向が同じとなるため、直結駆動パターンと減速駆動パターンでモータ25の回転方向と車輪21の回転方向が同じとなる。このため、モータ25(ポートブロック28)に対する配管のつなぎ方を変える必要がない。
ここで、直結駆動、減速駆動両パターンにおいて、左右の走行装置E,E同士の干渉を避けるために、図示のように装置全体が車両中心線Oよりも外側、つまり狭軌状態であっても車両中心線Oよりも内側にはみ出ないことが必要となる。
しかも、この駆動パターンの転換を車両中心線Oよりも外側という限られたスペース内で簡単に行う必要がある。
また、直結駆動、減速駆動両パターンでモータ回転力の伝達効率を同等にする必要もある。
そこで、各部の構成、寸法等が次のように設定されている。
(1) 図5に示す直結駆動パターンでは、モータ軸26が車軸22に結合される。一方、図1〜図4に示す減速駆動パターンでは、モータ軸26が減速機32の入力歯車29(入力軸穴29a)に結合されるとともに、減速機32の出力軸31aが車軸22に結合される。
そこで、モータ軸26と減速機出力軸31aの軸径が同じとされている。
また、直結駆動パターンにおける車輪ユニットU1のユニット取付面23aからモータ軸先端までの距離D1(図5参照)と、減速駆動パターンにおけるユニット取付面23aから減速機出力軸31aの先端までの距離D2(図4参照)とがほぼ同じ(完全同一でも同一に近い関係でもよい)に設定されている。
この設定により、直結駆動パターンにおける車軸22とモータ軸26、及び減速駆動パターンにおける車軸22と減速機出力軸31aを、軸径や結合代を調整するための余計なアダプタ等を介在させることなく直接、簡単に、かつ、モータ回転力の伝達効率が同じ状態で結合することができる。
(2) 直結駆動パターンにおける車輪ユニットU1のユニット取付面23aからモータユニットU2の内側端面までの距離をW1(図5参照)、減速駆動パターンにおけるユニット取付面23aから減速ユニットU3の内側端面までの距離をW2(図4参照)として、W1≧W2に設定されている。
この設定により、直結駆動パターンから減速駆動パターンへの転換時に、減速ユニットU3をモータユニット跡の空間に無理なく収めることができる。
また、直結駆動、減速駆動両パターンで装置全体が狭軌状態での車両中心線Oよりも外側にくることが必要であるため、ユニット取付面23aから車両中心線Oまでの距離をW3(図4,5参照)とすると、W3≧W1≧W2に設定されている。
なお、W1,W2≦W3の条件さえ満足すればW1≦W2に設定してもよい。
(3) 直結駆動パターンでは車輪ユニットU1にモータユニットU2が連結され、減速駆動パターンでは車輪ユニットU1に減速ユニットU3、減速ユニットU3にモータユニットU2がそれぞれ連結されるため、これらの連結構造が同じに設定されている。
具体的には、上記連結部分のボルト穴(符号省略)の中心を通る円の直径、ボルト穴の直径、数、ピッチが同じとされている。
以上の設定により、直結駆動、減速駆動両パターンの転換作業を車両中心線Oよりも外側の限られたスペース内で簡単かつ迅速に行うことができる。
一方、減速駆動パターンにおいてモータユニットU2をただ車輪ユニットU1の前方に並べるだけでは、装置の前後方向寸法、つまり車両本体Aからの装置全体の突出量が大きくなるため、種々の障害が生じるおそれがある。
そこで、この実施形態では、減速駆動パターンにおいて、図3に示すようにモータユニットU2が車輪ユニットU1の前方でかつ上から見て車輪ユニットU1と一部重なる状態で上方に配置されている。いいかえれば、このような位置関係となるように各ユニットU1〜U3の外形、連結構造等が設定されている。
これにより、装置全体の前後方向寸法、すなわち車両本体Aからの前方突出量を小さくすることができる。
ところで、減速ユニットU3の減速機32は、上記実施形態で挙げた三連の平歯車構造以外のものに置き換えてもよい。この場合、入力側と出力側の回転方向が同じとなることが望ましいが、モータ25に対する配管のつなぎ換えを行うことを前提とすれば回転方向が逆となる構成をとってもよい。
また、モータ25として油圧モータに代えて電動機を用いてもよい。
本発明の実施形態にかかる走行装置を含む軌道作業車両の前半部の平面図である。 減速駆動パターンでの左側走行装置の拡大図である。 同側面図である。 同装置をさらに拡大しかつ一部を切り欠いて示す図である。 直結駆動パターンでの左側走行装置の図4相当図である。 従来の走行装置を含む軌道作業車両全体の概略側面図である。 同平面図である。 前部左側走行装置の拡大図である。
符号の説明
A 車両本体
D 軌道
4,4 線路
E 走行装置
U1 車輪ユニット
21 車輪
22 車軸
23 車軸ハウジング
23a ユニット取付面
U2 モータユニット
25 モータ
26 モータ軸
U3 減速ユニット
32 減速機
29,30,31 減速機を構成する平歯車
33 減速機ハウジング
33a 減速機ハウジングのモータユニット取付面
34a 同車輪ユニット取付面
D1 減速駆動パターンにおける車輪ユニットのユニット取付面からモータ軸の先端までの距離
D2 同取付面から減速機出力軸の先端までの距離
W1 直結駆動パターンにおけるユニット取付面からモータユニットの内側端面までの距離
W2 減速駆動パターンにおけるユニット取付面から減速ユニットの内側端面までの距離
W3 ユニット取付面から車両中心線までの距離
O 車両中心線

Claims (6)

  1. 車両中心線を挟んだ左右両側に設けられて軌道上を走行する軌道作業車両の走行装置において、装置全体を、車両本体に取付けられて軌道上で回転する車輪を含む車輪ユニットと、上記車輪の駆動源としてのモータを含むモータユニットと、上記モータの回転力を減速する減速機を含む減速ユニットとに分け、これら各ユニットを、車両中心線よりも外側で、下記(I)(II)の二つの駆動パターンに組み替え可能に構成したことを特徴とする軌道作業車両の走行装置。
    (I) 上記車輪ユニットとモータユニットを、同軸上でかつモータユニットを内側にして左右に並べ、互いのモータ軸と車軸とが直結される状態で両ユニットを着脱自在に連結した直結駆動パターン。
    (II) 車輪ユニットとモータユニットを、それぞれの車軸及びモータ軸が内側を向く状態で平行に配置するとともに、この両ユニット間に上記減速ユニットを、減速機入力軸がモータ軸に、減速機出力軸が車軸にそれぞれ結合される状態で配置し、上記直結駆動パターンにおける車輪ユニットとモータユニットの連結構造と共通の連結構造によって車輪ユニットと減速ユニット、及び減速ユニットとモータユニットをそれぞれ着脱自在に連結した減速駆動パターン。
  2. モータユニットのモータ軸と減速ユニットの減速機出力軸とを同一径とする一方、車輪ユニットに、モータユニットまたは減速ユニットが取付けられるユニット取付面を設け、直結駆動パターンにおけるこのユニット取付面からモータ軸先端までの距離D1と、減速駆動パターンにおけるユニット取付面から減速機出力軸の先端までの距離D2とをほぼ同じに設定したことを特徴とする請求項1記載の軌道作業車両の走行装置。
  3. 車輪ユニットに、モータユニットまたは減速ユニットが取付けられるユニット取付面を設け、直結駆動パターンにおける車輪ユニットのユニット取付面からモータユニットの内側端面までの距離をW1、減速駆動パターンにおける上記ユニット取付面から減速ユニットの内側端面までの距離をW2として、W1≧W2に設定したことを特徴とする請求項1または2記載の軌道作業車両の走行装置。
  4. 車輪ユニットを、軌道幅が狭い狭軌に適応する狭軌位置と、軌道幅が広い広軌に適応する広軌位置との間で移動可能に構成し、車輪ユニットが狭軌位置にセットされた状態で各ユニットを、車両中心線よりも外側で、直結駆動、減速駆動両パターンに組み替え可能に構成したことを特徴とする請求項1乃至3のいずれか1項に記載の軌道作業車両の走行装置。
  5. モータとして油圧モータを用いる一方、減速ユニットの減速機を、入力側と出力側の回転方向が同じとなるように構成したことを特徴とする請求項1乃至4のいずれか1項に記載の軌道作業車両の走行装置。
  6. 減速駆動パターンにおいてモータユニットが車輪ユニットの上方に配置するように構成したことを特徴とする請求項1乃至5のいずれか1項に記載の軌道作業車両の走行装置。
JP2005258083A 2005-09-06 2005-09-06 軌道作業車両の走行装置 Expired - Fee Related JP4635789B2 (ja)

Priority Applications (1)

Application Number Priority Date Filing Date Title
JP2005258083A JP4635789B2 (ja) 2005-09-06 2005-09-06 軌道作業車両の走行装置

Applications Claiming Priority (1)

Application Number Priority Date Filing Date Title
JP2005258083A JP4635789B2 (ja) 2005-09-06 2005-09-06 軌道作業車両の走行装置

Publications (2)

Publication Number Publication Date
JP2007069703A JP2007069703A (ja) 2007-03-22
JP4635789B2 true JP4635789B2 (ja) 2011-02-23

Family

ID=37931550

Family Applications (1)

Application Number Title Priority Date Filing Date
JP2005258083A Expired - Fee Related JP4635789B2 (ja) 2005-09-06 2005-09-06 軌道作業車両の走行装置

Country Status (1)

Country Link
JP (1) JP4635789B2 (ja)

Families Citing this family (3)

* Cited by examiner, † Cited by third party
Publication number Priority date Publication date Assignee Title
JP5750330B2 (ja) * 2011-07-25 2015-07-22 東芝テリー株式会社 自走式管内検査カメラ装置および管径変換ユニット
JP5868190B2 (ja) * 2012-01-12 2016-02-24 軌陸車テック株式会社 軌陸作業車
FR3049552B1 (fr) * 2016-03-29 2019-05-10 Unac Bras d’essieu pour essieu ferroviaire, essieu ferroviaire et vehicule ferroviaire comprenant un tel bras d’essieu.

Family Cites Families (3)

* Cited by examiner, † Cited by third party
Publication number Priority date Publication date Assignee Title
JPS6185567U (ja) * 1984-11-12 1986-06-05
JP3187491B2 (ja) * 1991-11-11 2001-07-11 大淀小松株式会社 軌陸両用車の車輪取付装置
JP2003072545A (ja) * 2001-08-31 2003-03-12 Kobelco Contstruction Machinery Ltd 軌道用作業機

Also Published As

Publication number Publication date
JP2007069703A (ja) 2007-03-22

Similar Documents

Publication Publication Date Title
US8640812B2 (en) Electric drive axle configuration
US7124853B1 (en) Multiwheeled modular rigid frame vehicle
US9561715B2 (en) Wheel hub with electric motor
JP5837471B2 (ja) 車両用動力伝達装置
EP0749862B1 (en) Travelling drive device for work vehicle
US7074149B2 (en) Transmission for wheel type working vehicle
JP2014098410A (ja) 車両用動力伝達装置
JP4635789B2 (ja) 軌道作業車両の走行装置
FI4276252T3 (en) Mobile working machine, in particular wheel loader, with an electric drive motor
US6779617B1 (en) Multiwheeled modular rigid frame vehicle
EP2189308A1 (en) Work vehicle
JP4987961B2 (ja) クローラ走行装置用の多重駆動装置
JPS6181819A (ja) 乗用作業機の動力伝達装置
JP5073088B1 (ja) バックホーローダ
CN220517901U (zh) 履带桥结构
CN116062026A (zh) 多轮行走机构同步驱动转向系统
JP4805654B2 (ja) クローラ型トラクタ
RU187174U1 (ru) Автогрейдер
CN223885655U (zh) 遥控多功能田园管理机
CN121341303A (zh) 一种履带底盘及森林开带机
JP3771112B2 (ja) 作業車用トランスミッション
CN211202857U (zh) 一种车辆、变速器及其换挡塔
CN110667702A (zh) 工程车的摆臂结构以及工程车
CN116901618A (zh) 履带桥结构
JP4869836B2 (ja) クローラ式作業車両

Legal Events

Date Code Title Description
A711 Notification of change in applicant

Free format text: JAPANESE INTERMEDIATE CODE: A711

Effective date: 20070821

A521 Request for written amendment filed

Free format text: JAPANESE INTERMEDIATE CODE: A821

Effective date: 20070822

A621 Written request for application examination

Free format text: JAPANESE INTERMEDIATE CODE: A621

Effective date: 20080512

A977 Report on retrieval

Free format text: JAPANESE INTERMEDIATE CODE: A971007

Effective date: 20100630

TRDD Decision of grant or rejection written
A01 Written decision to grant a patent or to grant a registration (utility model)

Free format text: JAPANESE INTERMEDIATE CODE: A01

Effective date: 20101026

A01 Written decision to grant a patent or to grant a registration (utility model)

Free format text: JAPANESE INTERMEDIATE CODE: A01

A61 First payment of annual fees (during grant procedure)

Free format text: JAPANESE INTERMEDIATE CODE: A61

Effective date: 20101108

FPAY Renewal fee payment (event date is renewal date of database)

Free format text: PAYMENT UNTIL: 20131203

Year of fee payment: 3

R150 Certificate of patent or registration of utility model

Ref document number: 4635789

Country of ref document: JP

Free format text: JAPANESE INTERMEDIATE CODE: R150

Free format text: JAPANESE INTERMEDIATE CODE: R150

LAPS Cancellation because of no payment of annual fees