JP4422927B2 - 土木工事における測量方法 - Google Patents
土木工事における測量方法 Download PDFInfo
- Publication number
- JP4422927B2 JP4422927B2 JP2001200693A JP2001200693A JP4422927B2 JP 4422927 B2 JP4422927 B2 JP 4422927B2 JP 2001200693 A JP2001200693 A JP 2001200693A JP 2001200693 A JP2001200693 A JP 2001200693A JP 4422927 B2 JP4422927 B2 JP 4422927B2
- Authority
- JP
- Japan
- Prior art keywords
- point
- civil engineering
- measured
- rangefinder
- operator
- Prior art date
- Legal status (The legal status is an assumption and is not a legal conclusion. Google has not performed a legal analysis and makes no representation as to the accuracy of the status listed.)
- Expired - Lifetime
Links
- 238000000034 method Methods 0.000 title claims description 14
- 238000005259 measurement Methods 0.000 claims description 32
- 238000013461 design Methods 0.000 claims description 14
- 238000010276 construction Methods 0.000 claims description 3
- 238000012545 processing Methods 0.000 claims description 3
- 238000004891 communication Methods 0.000 description 4
- 238000010586 diagram Methods 0.000 description 4
- 238000001514 detection method Methods 0.000 description 2
- 238000003754 machining Methods 0.000 description 2
- 230000035945 sensitivity Effects 0.000 description 2
- 238000012937 correction Methods 0.000 description 1
- 230000000694 effects Effects 0.000 description 1
- 238000003384 imaging method Methods 0.000 description 1
- 238000009434 installation Methods 0.000 description 1
- 239000011435 rock Substances 0.000 description 1
- 239000000523 sample Substances 0.000 description 1
- 239000002689 soil Substances 0.000 description 1
- 238000012876 topography Methods 0.000 description 1
Images
Landscapes
- Arrangements For Transmission Of Measured Signals (AREA)
- Measurement Of Optical Distance (AREA)
- Optical Radar Systems And Details Thereof (AREA)
Description
【発明の属する技術分野】
この発明は、土木工事の現場における出来形管理のための測量などに特に適した測量方法に関するものである。
【0002】
【従来の技術】
現在用いられている光波測距儀(この明細書では、単に測距儀と記す)には、被測定点に向けて照射した光ビームを被測定点に設けた反射ミラーで反射させ、この反射光によって種々の測定を行うプリズム式のものと、反射ミラーを用いないで被測定点に直接光ビームを当て、その点からの反射光を検出して測定するノンプリズム式のものとがある。前者にはミラーの移動に応じてミラーを自動的に追尾する自動追尾型測距儀も知られており、一度ミラーを視準した後は測距儀の操作者は不要で、被測定点側に1名の操作者が居ればいわゆるワンマン測量が可能である。また後者は測距儀の操作者が被測定点を視準することで測量を行うものであり、被測定点側の操作者は不要で測距儀の操作者だけでワンマン測量が可能である。
【0003】
しかしながら、土木工事の現場における出来形管理は、定期的な測量結果に応じて重機のオペレータに視認されやすい位置に板材などで目印を設置するいわゆる丁張り作業を行い、この目印に基づいて重機による加工作業を行うという手順を繰り返すことで行われている。このため、次回の測量までは正確な加工精度が判らず、しかも丁張り作業にかなりの時間を要すると共にその間は工事が中断されるために、工事の効率的な進行が妨げられるという問題点がある。また測量技術者を常時確保しておく必要があり、更に、工事現場は足場が悪くて危険な場所が多いためにミラーの操作者が立ち入ることができず、ミラー式の場合には測量が困難になることがある。
【0004】
【発明が解決しようとする課題】
この発明はこの点に着目し、ワンマン測量を可能にすると共に丁張り作業を不要とし、例えば重機のオペレータ自身が一人で測量を行いながら土木工事の加工作業を実施できるようにすることを課題としてなされたものである。
【0006】
【課題を解決するための手段】
上記の課題を達成するために、この出願の発明では、少なくとも、自動追尾型測距儀と、この測距儀に追尾の指示を行う遠隔制御手段と、光ビームを出力する投光器と、移動型コンピュータ、とを使用し、上記測距儀を3次元位置が既知な定点に設置して3次元位置が既知な基準点を視準させて測定することにより測距儀の位置と向きを確定し、次いで操作者が上記投光器を操作し、光ビームを上記基準点に当ててから被測定点まで移動してこれを測距儀に自動追尾させ、所定の測定を行って得られた被測定点のデータを上記測距儀から上記移動型コンピュータに転送してデータ処理することにより、上記基準点に関連付けて被測定点の3次元位置を算出するようにしている。従って、この方法により測距儀の設置後は一人の操作者が光ビームを操作してワンマン測量を行うことができる。なお、光ビームには、一般には可視光やレーザー光が用いられる。
【0007】
なお、上記の自動追尾型測距儀としては、追尾すべき光ビームを見失った時に所定の固定点を視準する状態に自動的に戻るものを使用することが望ましい。これによって、光ビームの追尾が不調に終わった場合でも測量を再開することができる。
【0010】
上記による3次元位置の算出結果を用いて、例えばあらかじめ移動型コンピュータに入力されている被測定点の設計位置との偏差を求めることができ、更にこの偏差をディスプレイ上に表示することができる。この表示は、単に数値データで示すこともできるが、例えば、設計上の断面図と被測定点の位置を示すマークとによって表示するようにすれば、偏差の大きさなどを視覚的に確認することができ、現状地形の把握が容易となる。またこのディスプレイを土木工事現場における重機に搭載しておけば、重機のオペレータが設計位置との偏差を確認しながら正確な加工作業を行うことが可能となる。
【0011】
【発明の実施の形態】
次にこの発明の実施の形態を説明する。図1は第1の発明を実施するためのシステムの基本構成を示している。図において、1は例えば可視光を出力する投光器2を備えているノンプリズム式の測距儀、2aは投光器2から出力される光ビーム、3は遠隔制御器、4は移動型コンピュータであり、測距儀1にはミラー式の場合よりも反射光の検出感度の高いものが使用される。投光器2はその投光軸が測距軸と平行になるように測距儀1に併設されている。なお、投光軸と測距軸とはその構造上数センチ離れることになるが、この差が問題になる場合には被測定点までの距離に応じて補正演算を行えばよい。
【0012】
移動型コンピュータ4としては、携帯や移動に適していて一般にモバイルコンピュータと称されているような各種の小型コンピュータ(以下、単にコンピュータと記す)が使用される。なお、遠隔制御器3はこのコンピュータ4で兼ねることができる。5はパワーショベルやブルドーザーなどの土木工事用重機、5aはその運転室を示している。コンピュータ4はこの運転室5aの適所に配置されるが、重機5のオペレータによるワンマン測量を行わない場合には他の場所に設置されてもよい。6aは測距儀1側に設けられている送受信器、6bはコンピュータ4側に設けられている送受信器であり、各種のデータや指令信号などを測距儀1とコンピュータ4との間で送受信するものである。なお、この送受信器6a、6bによる通信は電波を用いる無線通信で行われるが、他の媒体を用いた無線通信のほか、場合によっては有線通信で行うことも可能である。
【0013】
上述のシステムによる測量は次のように行われる。まず、測距儀1を3次元位置が既知な定点Aに設置し、その光ビーム2aを操作者、例えば重機5のオペレータが遠隔制御して3次元位置が既知な基準点Bに当て、その部分の岩石や土などからの反射光を測距儀1で検出して測定を行う。この測定は、水平角や高低角、斜距離などについて行い、測距儀1の位置と向きを確定する。なお基準点Bの視準は、遠隔制御ではなく操作者による直接操作で行ってもよい。次に、オペレータが遠隔制御器3を操作して測距儀1の光ビーム2aを被測定点Cに当てて測定の指示信号を送り、測距儀1が水平角、高低角、斜距離など必要な項目についての測定を行う。こうして得られた被測定点Cのデータは送受信器6a、6bによって測距儀1からコンピュータ4に転送され、コンピュータ4では受信したこれらのデータを処理し、基準点Bに対する相対的な位置から被測定点Cの3次元位置を算出するのである。
【0014】
コンピュータ4にはあらかじめ工事区域の設計値のデータが入力してあり、上記の算出された被測定点Cの3次元位置すなわち測定値と、被測定点Cの設計値との偏差が演算される。これらの測定値と偏差とは適宜コンピュータ4のメモリに記憶されるが、必要に応じてコンピュータ4のディスプレイに表示される。この表示は、単なる数値の表示だけではなく、例えば被測定点Cの位置を示すマークと、この位置における設計上の垂直断面図とを用いて表示される。なお、上記のディスプレイはコンピュータ4に付属しているものだけでなく、状況に応じて他のディスプレイを利用することもできる。
【0015】
図2はこのような表示画像の一例である。Dは設計上の断面図であり、被測定点Cはその位置を示すマークC1と、設計値との垂直方向の偏差を示す線C2、水平方向の偏差を示す線C3、設計斜面に対する垂線方向の偏差を示す線C4で表示されている。このような表示により、重機5のオペレータは設計値との偏差を視覚的に理解することができるので、作業を進めやすくなる。なお、上記の各線にそれぞれの偏差の数値を併記するようにすれば、偏差の大きさが具体的な数字によっても示されるので、より十分に状況を把握することができる。
【0016】
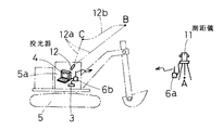
図3は第2の発明を実施するためのシステムの基本構成を示しており、11は自動追尾型の測距儀、12は投光器、12aは投光器12の光ビーム、12bは光ビーム12aが当たる位置の移動軌跡である。その他は図1と同様であり、同一の符号で示してある。測距儀11は投光器を備えていないノンプリズム式のものであり、ミラー式の場合よりも反射光の検出感度の高いものが使用される。また投光器12は可視光あるいはレーザー光を出力するもので、オペレータが手に持って操作できる小型軽量なものが使用される。
【0017】
このシステムによる測量は次のように行われる。まず、測距儀11を3次元位置が既知な定点Aに設置し、操作者が測距儀11を操作して3次元位置が既知な基準点Bを視準して測定を行い、測距儀11の位置と向きを確定する。この時の操作は視準操作に慣れた者が行うが、重機5のオペレータ自身が行うこともできる。次にオペレータが投光器12を操作し、その光ビーム12aを基準点Bに当ててから被測定点Cまで移動させる。測距儀11はこの光ビーム12aが当たる位置を自動追尾した後、被測定点Cに対する水平角、高低角、斜距離などの必要な項目についての測定を行う。こうして得られた被測定点Cのデータは、送受信器6a、6bによって測距儀11からコンピュータ4に転送され、コンピュータ4では受信したこれらのデータを処理し、基準点Bに対する相対的な位置から被測定点Cの3次元位置を算出するのである。以後の測定値や偏差の表示は上述した第1の発明の場合と同様である。
【0018】
なお、上記の自動追尾が不調に終わって測距儀11が光ビーム12aを見失った時には、所定の固定点、例えば、基準点Bを視準する状態に自動的に戻るようにしてある。従って、追尾動作が正常に行われなかった場合でも、再操作によって測量を行うことができる。
【0019】
各発明における定点Aと基準点Bは、作業区域外でしかも作業区域に近い地点で上述した所定の動作や操作が支障なく行える箇所が選定される。また、被測定点Cは操作者から見える地点が選定されるが、通常の作業の場合には重機5のオペレータが当面の作業の目標となる地点を選定し、作業の進捗に応じて被測定点Cを適宜移動しながら随時測量を行い、これを目標として作業を進めることになる。このように、測距儀1あるいは11を一旦設置した後は、重機5のオペレータは一人で測量を繰り返しながら作業を行うのである。
【0020】
図4は第3の発明を実施するためのシステムの基本構成を示しており、21は例えばCCD素子とこれに必要な制御部を備えることによって実現される撮像機能を搭載した測距儀、22は重機5の運転室5aの適所に配置された第2のディスプレイである。測距儀21は図3のシステムの場合と同様なノンプリズム式のものであり、撮像される画像中には画像の中心点を指示する軸心マークが重畳して表示され、この軸心マークと一致している部分が視準点となるように構成されている。また、測距儀21で撮像される画像は電気信号に変換されて送受信器6a、6bを介して重機5に伝送され、ディスプレイ22に再生表示されるように構成されている。なお、この第2のディスプレイ22はコンピュータ4のディスプレイで兼ねることもできる。その他は図1のシステムの場合と同様である。
【0021】
このシステムによる測量は次のように行われる。まず、測距儀21を3次元位置が既知な定点Aに設置し、遠隔操作あるいは直接操作により3次元位置が既知な基準点Bを視準し、基準点Bに対する水平角や高低角、斜距離などを測定して測距儀21の位置と向きを確定する。次に、重機5のオペレータがディスプレイ22に表示される画像を見ながら遠隔制御器3を操作して測距儀21の向きを制御し、測距儀21を被測定点Cに向ける。画像の中心には測定の軸心を示す例えば十字状の軸心マークが常に表示されているので、このマークと目標とする被測定点Cとを一致させた状態で測定の指示信号を送ると、測距儀21によって水平角、高低角、斜距離など必要な項目の測定が行われる。
【0022】
こうして得られた被測定点Cのデータは送受信器6a、6bによって測距儀21からコンピュータ4に転送され、コンピュータ4では受信したこれらのデータを処理し、基準点Bに対する相対的な位置から被測定点Cの3次元位置を算出するのである。以後の測定値や偏差の表示は上述した第1及び第2の発明の場合と同様である。通常のビデオカメラなどに準じた機能を測距儀21に搭載することは比較的容易であるから、光ビームが見えにくいなどの問題に煩わされることなく測定できる。また、被測定点Cが操作者から直接目視できる位置になくても測定できるので便利であり、実用性が向上する。
【0023】
【発明の効果】
以上の説明から明らかなように、この発明の測量方法は、自動追尾型測距儀を用いて、操作者が投光器の光ビームを操作して測距儀による測量を行い、その結果を移動型コンピュータで処理して被測定点の3次元位置を算出するようにしたものである。従って、丁張り作業が不要であり、測量技術者を常時配置しておく必要がなく、一人の操作者によるワンマン測量が可能となる。しかも必要に応じて随時被測定点を容易に測量できるので、高精度の作業を効率よく且つ安全に進めることができ、作業に要するコストも大幅に低減させることが可能となる。
【0025】
また、被測定点の算出された3次元位置と設計位置との偏差を求めてこれをディスプレイに表示することにより、偏差の大きさを確認することが容易となり、更に、設計上の断面図と被測定点の位置を示すマークとによって表示することにより、偏差の程度を視覚的に容易に確認することができる。また、土木工事現場における重機のオペレータが操作者となれば、作業の効率化が一層容易となる。
【図面の簡単な説明】
【図1】第1の発明を実施するためのシステムの基本構成を示す図である。
【図2】ディスプレイに表示される画像の一例を示す図である。
【図3】第2の発明を実施するためのシステムの基本構成を示す図である。
【図4】第3の発明を実施するためのシステムの基本構成を示す図である。
【符号の説明】
1、11、21 測距儀
2、12 投光器
2a、12a 光ビーム
3 遠隔制御器
4 移動型コンピュータ
5 重機
5a 運転室
6a、6b 送受信器
22 第2のディスプレイ
A 定点
B 基準点
C 被測定点
Claims (6)
- 少なくとも、自動追尾型測距儀と、この測距儀に追尾の指示を行う遠隔制御手段と、光ビームを出力する投光器と、移動型コンピュータ、とを使用し、上記測距儀を3次元位置が既知な定点に設置して3次元位置が既知な基準点を視準させて測定することにより測距儀の位置と向きを確定し、次いで操作者が上記投光器を操作し、光ビームを上記基準点に当ててから被測定点まで移動してこれを測距儀に自動追尾させ、所定の測定を行って得られた被測定点のデータを上記測距儀から上記移動型コンピュータに転送してデータ処理することにより、上記基準点に関連付けて被測定点の3次元位置を算出することを特徴とする土木工事における測量方法。
- 追尾すべき光ビームを見失った時に所定の固定点を視準する状態に自動的に戻るように構成されている自動追尾型測距儀を使用する請求項1記載の土木工事における測量方法。
- 算出された被測定点の3次元位置とあらかじめ移動型コンピュータに入力されている被測定点の設計位置との偏差を求めるようにした請求項1又は2記載の土木工事における測量方法。
- 被測定点の算出された3次元位置と設計位置との偏差をディスプレイ上に表示するようにした請求項3記載の土木工事における測量方法。
- 被測定点の算出された3次元位置と設計位置との偏差を設計上の断面図と被測定点の位置を示すマークとによって表示するようにした請求項4記載の土木工事における測量方法。
- 上記操作者が土木工事現場における重機のオペレータである請求項1乃至5のいずれかに記載の土木工事における測量方法。
Priority Applications (1)
| Application Number | Priority Date | Filing Date | Title |
|---|---|---|---|
| JP2001200693A JP4422927B2 (ja) | 2001-03-21 | 2001-07-02 | 土木工事における測量方法 |
Applications Claiming Priority (3)
| Application Number | Priority Date | Filing Date | Title |
|---|---|---|---|
| JP2001079692 | 2001-03-21 | ||
| JP2001-79692 | 2001-03-21 | ||
| JP2001200693A JP4422927B2 (ja) | 2001-03-21 | 2001-07-02 | 土木工事における測量方法 |
Publications (2)
| Publication Number | Publication Date |
|---|---|
| JP2002350134A JP2002350134A (ja) | 2002-12-04 |
| JP4422927B2 true JP4422927B2 (ja) | 2010-03-03 |
Family
ID=26611617
Family Applications (1)
| Application Number | Title | Priority Date | Filing Date |
|---|---|---|---|
| JP2001200693A Expired - Lifetime JP4422927B2 (ja) | 2001-03-21 | 2001-07-02 | 土木工事における測量方法 |
Country Status (1)
| Country | Link |
|---|---|
| JP (1) | JP4422927B2 (ja) |
Families Citing this family (1)
| Publication number | Priority date | Publication date | Assignee | Title |
|---|---|---|---|---|
| JP6539485B2 (ja) * | 2015-04-21 | 2019-07-03 | 株式会社ミツトヨ | 追尾式レーザ干渉計を用いた測定システム、及びその復帰方法 |
-
2001
- 2001-07-02 JP JP2001200693A patent/JP4422927B2/ja not_active Expired - Lifetime
Also Published As
| Publication number | Publication date |
|---|---|
| JP2002350134A (ja) | 2002-12-04 |
Similar Documents
| Publication | Publication Date | Title |
|---|---|---|
| US9453729B2 (en) | Layout equipment and layout method | |
| CN103592943B (zh) | 用于机器零件控制的方法和设备 | |
| US7742176B2 (en) | Method and system for determining the spatial position of a hand-held measuring appliance | |
| US7701566B2 (en) | Surveying system | |
| US6381006B1 (en) | Spatial positioning | |
| EP1503176A2 (en) | Survey guiding system | |
| JPH1047961A (ja) | 制御システム及び制御方法 | |
| JP2866289B2 (ja) | 建設機械の位置及び姿勢表示方法 | |
| US20110153167A1 (en) | Excavator control using ranging radios | |
| JP2006003119A (ja) | 位置測定システム | |
| JPH032513A (ja) | 自動測量装置 | |
| JP7341632B2 (ja) | 反射ターゲット | |
| AU2016308671A1 (en) | A drill rig positioning and drill rod alignment system | |
| JP2021085770A (ja) | 移動体の位置情報取得方法、移動体の位置情報取得システム及び移動体の位置情報取得のためのコンピュータプログラム | |
| JP4422927B2 (ja) | 土木工事における測量方法 | |
| JP2913512B2 (ja) | 測量情報の送受信ターゲット | |
| JP2831204B2 (ja) | 移動体の位置出し装置 | |
| JP4477209B2 (ja) | 建設機械用の方向角測定装置 | |
| JP6667939B2 (ja) | 転圧機械 | |
| JPH0843093A (ja) | 工事途上における工事完了部分及び重機の位置測定方法 | |
| JP3015956B1 (ja) | 測量における円柱形状地物の測定方法 | |
| JPH07113640A (ja) | レーザ測距による掘削機の姿勢測定方法及びその装置 | |
| KR100409267B1 (ko) | 무선모뎀을 이용한 실시간 파일항타 측정 시스템 및 방법 | |
| JPH06100078B2 (ja) | トンネル覆工機の自動測量位置決めシステム | |
| JPH0611344A (ja) | 移動体の位置・姿勢測量方法 |
Legal Events
| Date | Code | Title | Description |
|---|---|---|---|
| A521 | Written amendment |
Free format text: JAPANESE INTERMEDIATE CODE: A821 Effective date: 20050817 |
|
| A711 | Notification of change in applicant |
Free format text: JAPANESE INTERMEDIATE CODE: A711 Effective date: 20050817 |
|
| A521 | Written amendment |
Free format text: JAPANESE INTERMEDIATE CODE: A821 Effective date: 20050817 |
|
| A521 | Written amendment |
Free format text: JAPANESE INTERMEDIATE CODE: A523 Effective date: 20051017 |
|
| A621 | Written request for application examination |
Free format text: JAPANESE INTERMEDIATE CODE: A621 Effective date: 20070424 |
|
| A977 | Report on retrieval |
Free format text: JAPANESE INTERMEDIATE CODE: A971007 Effective date: 20090610 |
|
| A131 | Notification of reasons for refusal |
Free format text: JAPANESE INTERMEDIATE CODE: A131 Effective date: 20090616 |
|
| A521 | Written amendment |
Free format text: JAPANESE INTERMEDIATE CODE: A523 Effective date: 20090730 |
|
| TRDD | Decision of grant or rejection written | ||
| A01 | Written decision to grant a patent or to grant a registration (utility model) |
Free format text: JAPANESE INTERMEDIATE CODE: A01 Effective date: 20091110 |
|
| A01 | Written decision to grant a patent or to grant a registration (utility model) |
Free format text: JAPANESE INTERMEDIATE CODE: A01 |
|
| A61 | First payment of annual fees (during grant procedure) |
Free format text: JAPANESE INTERMEDIATE CODE: A61 Effective date: 20091207 |
|
| FPAY | Renewal fee payment (event date is renewal date of database) |
Free format text: PAYMENT UNTIL: 20121211 Year of fee payment: 3 |
|
| R150 | Certificate of patent or registration of utility model |
Free format text: JAPANESE INTERMEDIATE CODE: R150 Ref document number: 4422927 Country of ref document: JP Free format text: JAPANESE INTERMEDIATE CODE: R150 |
|
| FPAY | Renewal fee payment (event date is renewal date of database) |
Free format text: PAYMENT UNTIL: 20151211 Year of fee payment: 6 |
|
| R250 | Receipt of annual fees |
Free format text: JAPANESE INTERMEDIATE CODE: R250 |
|
| R250 | Receipt of annual fees |
Free format text: JAPANESE INTERMEDIATE CODE: R250 |
|
| R250 | Receipt of annual fees |
Free format text: JAPANESE INTERMEDIATE CODE: R250 |
|
| EXPY | Cancellation because of completion of term |