JP4417455B2 - 繊維材料層の製造方法 - Google Patents
繊維材料層の製造方法 Download PDFInfo
- Publication number
- JP4417455B2 JP4417455B2 JP34384898A JP34384898A JP4417455B2 JP 4417455 B2 JP4417455 B2 JP 4417455B2 JP 34384898 A JP34384898 A JP 34384898A JP 34384898 A JP34384898 A JP 34384898A JP 4417455 B2 JP4417455 B2 JP 4417455B2
- Authority
- JP
- Japan
- Prior art keywords
- layer
- bonding
- pattern
- fiber
- fibers
- Prior art date
- Legal status (The legal status is an assumption and is not a legal conclusion. Google has not performed a legal analysis and makes no representation as to the accuracy of the status listed.)
- Expired - Lifetime
Links
- 238000004519 manufacturing process Methods 0.000 title claims description 9
- 239000002657 fibrous material Substances 0.000 title claims description 8
- 239000000463 material Substances 0.000 claims description 99
- 239000000835 fiber Substances 0.000 claims description 65
- 230000002745 absorbent Effects 0.000 claims description 25
- 239000002250 absorbent Substances 0.000 claims description 25
- 238000000034 method Methods 0.000 claims description 20
- 238000003466 welding Methods 0.000 claims description 17
- 239000000853 adhesive Substances 0.000 claims description 16
- 238000009826 distribution Methods 0.000 claims description 16
- 230000001070 adhesive effect Effects 0.000 claims description 15
- 206010021639 Incontinence Diseases 0.000 claims description 13
- 239000002985 plastic film Substances 0.000 claims description 3
- 229920006255 plastic film Polymers 0.000 claims description 3
- 238000007664 blowing Methods 0.000 claims description 2
- 238000003892 spreading Methods 0.000 claims description 2
- 239000007788 liquid Substances 0.000 description 34
- 239000006096 absorbing agent Substances 0.000 description 11
- 229920002678 cellulose Polymers 0.000 description 3
- 239000001913 cellulose Substances 0.000 description 3
- 229920000728 polyester Polymers 0.000 description 3
- -1 polyethylene Polymers 0.000 description 3
- 238000009736 wetting Methods 0.000 description 3
- 229920000742 Cotton Polymers 0.000 description 2
- 239000004952 Polyamide Substances 0.000 description 2
- 239000004743 Polypropylene Substances 0.000 description 2
- 229920000297 Rayon Polymers 0.000 description 2
- 238000010521 absorption reaction Methods 0.000 description 2
- 210000001124 body fluid Anatomy 0.000 description 2
- 239000006261 foam material Substances 0.000 description 2
- 230000002209 hydrophobic effect Effects 0.000 description 2
- 238000002844 melting Methods 0.000 description 2
- 230000008018 melting Effects 0.000 description 2
- 239000004745 nonwoven fabric Substances 0.000 description 2
- 229920002647 polyamide Polymers 0.000 description 2
- 229920000642 polymer Polymers 0.000 description 2
- 229920001155 polypropylene Polymers 0.000 description 2
- 229920005992 thermoplastic resin Polymers 0.000 description 2
- XLYOFNOQVPJJNP-UHFFFAOYSA-N water Substances O XLYOFNOQVPJJNP-UHFFFAOYSA-N 0.000 description 2
- 229920001634 Copolyester Polymers 0.000 description 1
- 239000004698 Polyethylene Substances 0.000 description 1
- 238000004026 adhesive bonding Methods 0.000 description 1
- 238000005452 bending Methods 0.000 description 1
- 239000008280 blood Substances 0.000 description 1
- 210000004369 blood Anatomy 0.000 description 1
- 239000010839 body fluid Substances 0.000 description 1
- 238000003490 calendering Methods 0.000 description 1
- 229920002301 cellulose acetate Polymers 0.000 description 1
- 238000005520 cutting process Methods 0.000 description 1
- 230000001419 dependent effect Effects 0.000 description 1
- 238000010586 diagram Methods 0.000 description 1
- 239000006185 dispersion Substances 0.000 description 1
- 210000004177 elastic tissue Anatomy 0.000 description 1
- 239000000155 melt Substances 0.000 description 1
- 230000027939 micturition Effects 0.000 description 1
- 230000035515 penetration Effects 0.000 description 1
- 230000035699 permeability Effects 0.000 description 1
- 229920000747 poly(lactic acid) Polymers 0.000 description 1
- 229920000573 polyethylene Polymers 0.000 description 1
- 229920000098 polyolefin Polymers 0.000 description 1
- 229920002689 polyvinyl acetate Polymers 0.000 description 1
- 239000011118 polyvinyl acetate Substances 0.000 description 1
- 239000002964 rayon Substances 0.000 description 1
- 238000005096 rolling process Methods 0.000 description 1
- 238000000926 separation method Methods 0.000 description 1
- 238000003860 storage Methods 0.000 description 1
- 229920000247 superabsorbent polymer Polymers 0.000 description 1
- 239000004583 superabsorbent polymers (SAPs) Substances 0.000 description 1
- 229920002994 synthetic fiber Polymers 0.000 description 1
- 239000012209 synthetic fiber Substances 0.000 description 1
- 210000001519 tissue Anatomy 0.000 description 1
- 210000002700 urine Anatomy 0.000 description 1
Images
Classifications
-
- A—HUMAN NECESSITIES
- A61—MEDICAL OR VETERINARY SCIENCE; HYGIENE
- A61F—FILTERS IMPLANTABLE INTO BLOOD VESSELS; PROSTHESES; DEVICES PROVIDING PATENCY TO, OR PREVENTING COLLAPSING OF, TUBULAR STRUCTURES OF THE BODY, e.g. STENTS; ORTHOPAEDIC, NURSING OR CONTRACEPTIVE DEVICES; FOMENTATION; TREATMENT OR PROTECTION OF EYES OR EARS; BANDAGES, DRESSINGS OR ABSORBENT PADS; FIRST-AID KITS
- A61F13/00—Bandages or dressings; Absorbent pads
- A61F13/15—Absorbent pads, e.g. sanitary towels, swabs or tampons for external or internal application to the body; Supporting or fastening means therefor; Tampon applicators
- A61F13/53—Absorbent pads, e.g. sanitary towels, swabs or tampons for external or internal application to the body; Supporting or fastening means therefor; Tampon applicators characterised by the absorbing medium
- A61F13/534—Absorbent pads, e.g. sanitary towels, swabs or tampons for external or internal application to the body; Supporting or fastening means therefor; Tampon applicators characterised by the absorbing medium having an inhomogeneous composition through the thickness of the pad
- A61F13/537—Absorbent pads, e.g. sanitary towels, swabs or tampons for external or internal application to the body; Supporting or fastening means therefor; Tampon applicators characterised by the absorbing medium having an inhomogeneous composition through the thickness of the pad characterised by a layer facilitating or inhibiting flow in one direction or plane, e.g. a wicking layer
- A61F13/53743—Absorbent pads, e.g. sanitary towels, swabs or tampons for external or internal application to the body; Supporting or fastening means therefor; Tampon applicators characterised by the absorbing medium having an inhomogeneous composition through the thickness of the pad characterised by a layer facilitating or inhibiting flow in one direction or plane, e.g. a wicking layer characterised by the position of the layer relative to the other layers
- A61F13/53747—Absorbent pads, e.g. sanitary towels, swabs or tampons for external or internal application to the body; Supporting or fastening means therefor; Tampon applicators characterised by the absorbing medium having an inhomogeneous composition through the thickness of the pad characterised by a layer facilitating or inhibiting flow in one direction or plane, e.g. a wicking layer characterised by the position of the layer relative to the other layers the layer is facing the topsheet
-
- A—HUMAN NECESSITIES
- A61—MEDICAL OR VETERINARY SCIENCE; HYGIENE
- A61F—FILTERS IMPLANTABLE INTO BLOOD VESSELS; PROSTHESES; DEVICES PROVIDING PATENCY TO, OR PREVENTING COLLAPSING OF, TUBULAR STRUCTURES OF THE BODY, e.g. STENTS; ORTHOPAEDIC, NURSING OR CONTRACEPTIVE DEVICES; FOMENTATION; TREATMENT OR PROTECTION OF EYES OR EARS; BANDAGES, DRESSINGS OR ABSORBENT PADS; FIRST-AID KITS
- A61F13/00—Bandages or dressings; Absorbent pads
- A61F13/15—Absorbent pads, e.g. sanitary towels, swabs or tampons for external or internal application to the body; Supporting or fastening means therefor; Tampon applicators
- A61F13/15577—Apparatus or processes for manufacturing
- A61F13/15617—Making absorbent pads from fibres or pulverulent material with or without treatment of the fibres
-
- A—HUMAN NECESSITIES
- A61—MEDICAL OR VETERINARY SCIENCE; HYGIENE
- A61F—FILTERS IMPLANTABLE INTO BLOOD VESSELS; PROSTHESES; DEVICES PROVIDING PATENCY TO, OR PREVENTING COLLAPSING OF, TUBULAR STRUCTURES OF THE BODY, e.g. STENTS; ORTHOPAEDIC, NURSING OR CONTRACEPTIVE DEVICES; FOMENTATION; TREATMENT OR PROTECTION OF EYES OR EARS; BANDAGES, DRESSINGS OR ABSORBENT PADS; FIRST-AID KITS
- A61F13/00—Bandages or dressings; Absorbent pads
- A61F13/15—Absorbent pads, e.g. sanitary towels, swabs or tampons for external or internal application to the body; Supporting or fastening means therefor; Tampon applicators
- A61F13/53—Absorbent pads, e.g. sanitary towels, swabs or tampons for external or internal application to the body; Supporting or fastening means therefor; Tampon applicators characterised by the absorbing medium
- A61F13/534—Absorbent pads, e.g. sanitary towels, swabs or tampons for external or internal application to the body; Supporting or fastening means therefor; Tampon applicators characterised by the absorbing medium having an inhomogeneous composition through the thickness of the pad
- A61F13/537—Absorbent pads, e.g. sanitary towels, swabs or tampons for external or internal application to the body; Supporting or fastening means therefor; Tampon applicators characterised by the absorbing medium having an inhomogeneous composition through the thickness of the pad characterised by a layer facilitating or inhibiting flow in one direction or plane, e.g. a wicking layer
- A61F13/53708—Absorbent pads, e.g. sanitary towels, swabs or tampons for external or internal application to the body; Supporting or fastening means therefor; Tampon applicators characterised by the absorbing medium having an inhomogeneous composition through the thickness of the pad characterised by a layer facilitating or inhibiting flow in one direction or plane, e.g. a wicking layer the layer having a promotional function on liquid propagation in at least one direction
- A61F13/53713—Absorbent pads, e.g. sanitary towels, swabs or tampons for external or internal application to the body; Supporting or fastening means therefor; Tampon applicators characterised by the absorbing medium having an inhomogeneous composition through the thickness of the pad characterised by a layer facilitating or inhibiting flow in one direction or plane, e.g. a wicking layer the layer having a promotional function on liquid propagation in at least one direction the layer having a promotional function on liquid propagation in the vertical direction
-
- A—HUMAN NECESSITIES
- A61—MEDICAL OR VETERINARY SCIENCE; HYGIENE
- A61F—FILTERS IMPLANTABLE INTO BLOOD VESSELS; PROSTHESES; DEVICES PROVIDING PATENCY TO, OR PREVENTING COLLAPSING OF, TUBULAR STRUCTURES OF THE BODY, e.g. STENTS; ORTHOPAEDIC, NURSING OR CONTRACEPTIVE DEVICES; FOMENTATION; TREATMENT OR PROTECTION OF EYES OR EARS; BANDAGES, DRESSINGS OR ABSORBENT PADS; FIRST-AID KITS
- A61F13/00—Bandages or dressings; Absorbent pads
- A61F13/15—Absorbent pads, e.g. sanitary towels, swabs or tampons for external or internal application to the body; Supporting or fastening means therefor; Tampon applicators
- A61F13/53—Absorbent pads, e.g. sanitary towels, swabs or tampons for external or internal application to the body; Supporting or fastening means therefor; Tampon applicators characterised by the absorbing medium
- A61F13/534—Absorbent pads, e.g. sanitary towels, swabs or tampons for external or internal application to the body; Supporting or fastening means therefor; Tampon applicators characterised by the absorbing medium having an inhomogeneous composition through the thickness of the pad
- A61F13/537—Absorbent pads, e.g. sanitary towels, swabs or tampons for external or internal application to the body; Supporting or fastening means therefor; Tampon applicators characterised by the absorbing medium having an inhomogeneous composition through the thickness of the pad characterised by a layer facilitating or inhibiting flow in one direction or plane, e.g. a wicking layer
- A61F13/53708—Absorbent pads, e.g. sanitary towels, swabs or tampons for external or internal application to the body; Supporting or fastening means therefor; Tampon applicators characterised by the absorbing medium having an inhomogeneous composition through the thickness of the pad characterised by a layer facilitating or inhibiting flow in one direction or plane, e.g. a wicking layer the layer having a promotional function on liquid propagation in at least one direction
- A61F13/53717—Absorbent pads, e.g. sanitary towels, swabs or tampons for external or internal application to the body; Supporting or fastening means therefor; Tampon applicators characterised by the absorbing medium having an inhomogeneous composition through the thickness of the pad characterised by a layer facilitating or inhibiting flow in one direction or plane, e.g. a wicking layer the layer having a promotional function on liquid propagation in at least one direction the layer having a promotional function on liquid propagation in the horizontal direction
-
- A—HUMAN NECESSITIES
- A61—MEDICAL OR VETERINARY SCIENCE; HYGIENE
- A61F—FILTERS IMPLANTABLE INTO BLOOD VESSELS; PROSTHESES; DEVICES PROVIDING PATENCY TO, OR PREVENTING COLLAPSING OF, TUBULAR STRUCTURES OF THE BODY, e.g. STENTS; ORTHOPAEDIC, NURSING OR CONTRACEPTIVE DEVICES; FOMENTATION; TREATMENT OR PROTECTION OF EYES OR EARS; BANDAGES, DRESSINGS OR ABSORBENT PADS; FIRST-AID KITS
- A61F13/00—Bandages or dressings; Absorbent pads
- A61F13/15—Absorbent pads, e.g. sanitary towels, swabs or tampons for external or internal application to the body; Supporting or fastening means therefor; Tampon applicators
- A61F13/15203—Properties of the article, e.g. stiffness or absorbency
- A61F2013/15284—Properties of the article, e.g. stiffness or absorbency characterized by quantifiable properties
- A61F2013/15406—Basis weight
-
- A—HUMAN NECESSITIES
- A61—MEDICAL OR VETERINARY SCIENCE; HYGIENE
- A61F—FILTERS IMPLANTABLE INTO BLOOD VESSELS; PROSTHESES; DEVICES PROVIDING PATENCY TO, OR PREVENTING COLLAPSING OF, TUBULAR STRUCTURES OF THE BODY, e.g. STENTS; ORTHOPAEDIC, NURSING OR CONTRACEPTIVE DEVICES; FOMENTATION; TREATMENT OR PROTECTION OF EYES OR EARS; BANDAGES, DRESSINGS OR ABSORBENT PADS; FIRST-AID KITS
- A61F13/00—Bandages or dressings; Absorbent pads
- A61F13/15—Absorbent pads, e.g. sanitary towels, swabs or tampons for external or internal application to the body; Supporting or fastening means therefor; Tampon applicators
- A61F13/15203—Properties of the article, e.g. stiffness or absorbency
- A61F2013/15284—Properties of the article, e.g. stiffness or absorbency characterized by quantifiable properties
- A61F2013/15447—Fibre dimension, e.g. denier or tex
-
- A—HUMAN NECESSITIES
- A61—MEDICAL OR VETERINARY SCIENCE; HYGIENE
- A61F—FILTERS IMPLANTABLE INTO BLOOD VESSELS; PROSTHESES; DEVICES PROVIDING PATENCY TO, OR PREVENTING COLLAPSING OF, TUBULAR STRUCTURES OF THE BODY, e.g. STENTS; ORTHOPAEDIC, NURSING OR CONTRACEPTIVE DEVICES; FOMENTATION; TREATMENT OR PROTECTION OF EYES OR EARS; BANDAGES, DRESSINGS OR ABSORBENT PADS; FIRST-AID KITS
- A61F13/00—Bandages or dressings; Absorbent pads
- A61F13/15—Absorbent pads, e.g. sanitary towels, swabs or tampons for external or internal application to the body; Supporting or fastening means therefor; Tampon applicators
- A61F13/53—Absorbent pads, e.g. sanitary towels, swabs or tampons for external or internal application to the body; Supporting or fastening means therefor; Tampon applicators characterised by the absorbing medium
- A61F2013/530131—Absorbent pads, e.g. sanitary towels, swabs or tampons for external or internal application to the body; Supporting or fastening means therefor; Tampon applicators characterised by the absorbing medium being made in fibre but being not pulp
- A61F2013/530138—Absorbent pads, e.g. sanitary towels, swabs or tampons for external or internal application to the body; Supporting or fastening means therefor; Tampon applicators characterised by the absorbing medium being made in fibre but being not pulp characterized by the fibre length
- A61F2013/530153—Absorbent pads, e.g. sanitary towels, swabs or tampons for external or internal application to the body; Supporting or fastening means therefor; Tampon applicators characterised by the absorbing medium being made in fibre but being not pulp characterized by the fibre length being long
-
- A—HUMAN NECESSITIES
- A61—MEDICAL OR VETERINARY SCIENCE; HYGIENE
- A61F—FILTERS IMPLANTABLE INTO BLOOD VESSELS; PROSTHESES; DEVICES PROVIDING PATENCY TO, OR PREVENTING COLLAPSING OF, TUBULAR STRUCTURES OF THE BODY, e.g. STENTS; ORTHOPAEDIC, NURSING OR CONTRACEPTIVE DEVICES; FOMENTATION; TREATMENT OR PROTECTION OF EYES OR EARS; BANDAGES, DRESSINGS OR ABSORBENT PADS; FIRST-AID KITS
- A61F13/00—Bandages or dressings; Absorbent pads
- A61F13/15—Absorbent pads, e.g. sanitary towels, swabs or tampons for external or internal application to the body; Supporting or fastening means therefor; Tampon applicators
- A61F13/53—Absorbent pads, e.g. sanitary towels, swabs or tampons for external or internal application to the body; Supporting or fastening means therefor; Tampon applicators characterised by the absorbing medium
- A61F2013/530131—Absorbent pads, e.g. sanitary towels, swabs or tampons for external or internal application to the body; Supporting or fastening means therefor; Tampon applicators characterised by the absorbing medium being made in fibre but being not pulp
- A61F2013/530182—Absorbent pads, e.g. sanitary towels, swabs or tampons for external or internal application to the body; Supporting or fastening means therefor; Tampon applicators characterised by the absorbing medium being made in fibre but being not pulp characterized by the connection between the fibres
-
- A—HUMAN NECESSITIES
- A61—MEDICAL OR VETERINARY SCIENCE; HYGIENE
- A61F—FILTERS IMPLANTABLE INTO BLOOD VESSELS; PROSTHESES; DEVICES PROVIDING PATENCY TO, OR PREVENTING COLLAPSING OF, TUBULAR STRUCTURES OF THE BODY, e.g. STENTS; ORTHOPAEDIC, NURSING OR CONTRACEPTIVE DEVICES; FOMENTATION; TREATMENT OR PROTECTION OF EYES OR EARS; BANDAGES, DRESSINGS OR ABSORBENT PADS; FIRST-AID KITS
- A61F13/00—Bandages or dressings; Absorbent pads
- A61F13/15—Absorbent pads, e.g. sanitary towels, swabs or tampons for external or internal application to the body; Supporting or fastening means therefor; Tampon applicators
- A61F13/53—Absorbent pads, e.g. sanitary towels, swabs or tampons for external or internal application to the body; Supporting or fastening means therefor; Tampon applicators characterised by the absorbing medium
- A61F13/534—Absorbent pads, e.g. sanitary towels, swabs or tampons for external or internal application to the body; Supporting or fastening means therefor; Tampon applicators characterised by the absorbing medium having an inhomogeneous composition through the thickness of the pad
- A61F13/537—Absorbent pads, e.g. sanitary towels, swabs or tampons for external or internal application to the body; Supporting or fastening means therefor; Tampon applicators characterised by the absorbing medium having an inhomogeneous composition through the thickness of the pad characterised by a layer facilitating or inhibiting flow in one direction or plane, e.g. a wicking layer
- A61F2013/53765—Absorbent pads, e.g. sanitary towels, swabs or tampons for external or internal application to the body; Supporting or fastening means therefor; Tampon applicators characterised by the absorbing medium having an inhomogeneous composition through the thickness of the pad characterised by a layer facilitating or inhibiting flow in one direction or plane, e.g. a wicking layer characterized by its geometry
- A61F2013/53778—Absorbent pads, e.g. sanitary towels, swabs or tampons for external or internal application to the body; Supporting or fastening means therefor; Tampon applicators characterised by the absorbing medium having an inhomogeneous composition through the thickness of the pad characterised by a layer facilitating or inhibiting flow in one direction or plane, e.g. a wicking layer characterized by its geometry with grooves
-
- A—HUMAN NECESSITIES
- A61—MEDICAL OR VETERINARY SCIENCE; HYGIENE
- A61F—FILTERS IMPLANTABLE INTO BLOOD VESSELS; PROSTHESES; DEVICES PROVIDING PATENCY TO, OR PREVENTING COLLAPSING OF, TUBULAR STRUCTURES OF THE BODY, e.g. STENTS; ORTHOPAEDIC, NURSING OR CONTRACEPTIVE DEVICES; FOMENTATION; TREATMENT OR PROTECTION OF EYES OR EARS; BANDAGES, DRESSINGS OR ABSORBENT PADS; FIRST-AID KITS
- A61F13/00—Bandages or dressings; Absorbent pads
- A61F13/15—Absorbent pads, e.g. sanitary towels, swabs or tampons for external or internal application to the body; Supporting or fastening means therefor; Tampon applicators
- A61F13/53—Absorbent pads, e.g. sanitary towels, swabs or tampons for external or internal application to the body; Supporting or fastening means therefor; Tampon applicators characterised by the absorbing medium
- A61F13/534—Absorbent pads, e.g. sanitary towels, swabs or tampons for external or internal application to the body; Supporting or fastening means therefor; Tampon applicators characterised by the absorbing medium having an inhomogeneous composition through the thickness of the pad
- A61F13/537—Absorbent pads, e.g. sanitary towels, swabs or tampons for external or internal application to the body; Supporting or fastening means therefor; Tampon applicators characterised by the absorbing medium having an inhomogeneous composition through the thickness of the pad characterised by a layer facilitating or inhibiting flow in one direction or plane, e.g. a wicking layer
- A61F2013/53791—Absorbent pads, e.g. sanitary towels, swabs or tampons for external or internal application to the body; Supporting or fastening means therefor; Tampon applicators characterised by the absorbing medium having an inhomogeneous composition through the thickness of the pad characterised by a layer facilitating or inhibiting flow in one direction or plane, e.g. a wicking layer being resilient or elastic
-
- Y—GENERAL TAGGING OF NEW TECHNOLOGICAL DEVELOPMENTS; GENERAL TAGGING OF CROSS-SECTIONAL TECHNOLOGIES SPANNING OVER SEVERAL SECTIONS OF THE IPC; TECHNICAL SUBJECTS COVERED BY FORMER USPC CROSS-REFERENCE ART COLLECTIONS [XRACs] AND DIGESTS
- Y10—TECHNICAL SUBJECTS COVERED BY FORMER USPC
- Y10T—TECHNICAL SUBJECTS COVERED BY FORMER US CLASSIFICATION
- Y10T156/00—Adhesive bonding and miscellaneous chemical manufacture
- Y10T156/10—Methods of surface bonding and/or assembly therefor
- Y10T156/1002—Methods of surface bonding and/or assembly therefor with permanent bending or reshaping or surface deformation of self sustaining lamina
- Y10T156/1007—Running or continuous length work
- Y10T156/1023—Surface deformation only [e.g., embossing]
-
- Y—GENERAL TAGGING OF NEW TECHNOLOGICAL DEVELOPMENTS; GENERAL TAGGING OF CROSS-SECTIONAL TECHNOLOGIES SPANNING OVER SEVERAL SECTIONS OF THE IPC; TECHNICAL SUBJECTS COVERED BY FORMER USPC CROSS-REFERENCE ART COLLECTIONS [XRACs] AND DIGESTS
- Y10—TECHNICAL SUBJECTS COVERED BY FORMER USPC
- Y10T—TECHNICAL SUBJECTS COVERED BY FORMER US CLASSIFICATION
- Y10T428/00—Stock material or miscellaneous articles
- Y10T428/24—Structurally defined web or sheet [e.g., overall dimension, etc.]
- Y10T428/24479—Structurally defined web or sheet [e.g., overall dimension, etc.] including variation in thickness
Landscapes
- Health & Medical Sciences (AREA)
- Engineering & Computer Science (AREA)
- Life Sciences & Earth Sciences (AREA)
- Biomedical Technology (AREA)
- Heart & Thoracic Surgery (AREA)
- Vascular Medicine (AREA)
- Epidemiology (AREA)
- Animal Behavior & Ethology (AREA)
- General Health & Medical Sciences (AREA)
- Public Health (AREA)
- Veterinary Medicine (AREA)
- Manufacturing & Machinery (AREA)
- Absorbent Articles And Supports Therefor (AREA)
- Nonwoven Fabrics (AREA)
- Orthopedics, Nursing, And Contraception (AREA)
Description
【発明の属する技術分野】
本発明はおむつ、パンツ型おむつ、失禁ガード、衛生ナプキン、又はそれらの類似物品の如き吸収物品に組み入れられることを主に意図される繊維材料層の製造方法に関する。
【0002】
【従来の技術】
上述の種類の吸収物品は尿や血液の如き体液を吸収することを意図されている。それらは液体浸透性のトップシートを通常含む。それは使用中、着用者に面することを意図され、例えばスパンボンド材料の不織布材料の形状である。又、トップシートと吸収体との間に液体取得層(liquid acquisition layer)を組み入れることも知られている。前記液体取得層は多量の液体を迅速に受け取りそれを分配し、下にある吸収体によってそれが吸収される前にそれを一時的に貯蔵する能力を持つ。これはいわゆる超吸収体を多量に含むことが多い今日の薄い圧縮された吸収体においては特に重要である。超吸収体は高い吸収能力を持つが、多くの場合吸収速度が低すぎるので、排尿時に数秒間で排出される可能性のある多量の液体を瞬時に吸収することができない。
【0003】
多孔質の比較的厚い取得層は、例えば繊維詰綿、カーディングされた繊維ウェブ、又は他のタイプの繊維材料の形状で、高い瞬間液体受容能力を持ち、かつ液体が吸収体によって吸収される前にそれを一時的に貯蔵することができる。同様のことが多孔質フォーム材料に当てはまる。次に液体は下にある吸収体へと連続的に排出され、その後、取得層は繰り返しの湿潤から液体を受け取る能力を再び持つ。
【0004】
かかる多孔質取得層を含む吸収物品の例は例えばUS−A−3371667,EP−A−0312118,及びEP−A−0474777に開示されている。吸収物品において取得層として今日用いられている材料は大部分が良好に機能するが、比較的高価であり、多量の液体が関与する場合は特に第二、第三回目の湿潤において不十分な取得時間を持つ可能性がたまにある。
【0005】
吸収物品の縦方向に液体を広げるために物品中に連続的な非接着合成繊維(いわゆるトウ)を用いることはEP−A−0391814及びGB−B−2209672において既に知られている。
【0006】
他の問題はこの種の吸収物品に用いられる従来の液体浸透性トップシート材料(通常はスパンボンド材料の如き合成繊維の不織布材料)は取得層よりも低い液体取得速度を持つことが多く、液体が取得層に到達する前に物品から漏れ出す可能性があるということである。もちろんこの問題は極めて開放性に富み、かつ高い液体浸透性を持つトップシート材料を用いることによって解決することができる。しかし、かかる開放トップシート材料は強度が低すぎるという問題を生ずる可能性がある。又、取得層からの鋭い繊維末端が開放トップシート材料を貫通し、使用者を刺激するかもしれない。
【0007】
本発明の目的及び最も重大な特徴
本発明の目的は繰り返しの湿潤においても高い液体取得速度を持ち、高い強度、着用耐性、及び高い快適性を持ち、しかも低コストで製造可能な繊維材料層の製造方法を提供することである。その製造方法はそのうえ高い製造速度に適用されるべき方法である。本発明によればこれは以下の手順によって与えられる:少なくとも一束の連続的なフィラメント(いわゆるトウ)を取り、それを開繊してフィラメントを分離し、均一に広げて所望の繊維分布を持つ層にし、その後で層を接着パターンの点、スポット、又は線で接着する(ただしフィラメントは相互には実質的に接着されない)。
【0008】
本発明の更なる特徴は特許請求の範囲及び以下の記載から明らかであろう。
【0009】
材料層はトップシート材料の下の液体取得層、トップシート材料、又は一体化されたトップシート/液体取得層として用いることができる。
【0010】
【発明の実施の形態】
次に本発明を添付の図に示された実施例のいくつかを参照してより詳細に以下に記述する。
【0011】
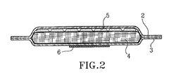
図1及び図2は液体浸透性トップシート2、液体不透性バックシート3、及びその間に包まれる吸収体4を含む失禁ガード1の一例を模式的に示す。多孔質の弾性液体取得層5が液体浸透性トップシート2と吸収体4との間に配置されている。
【0012】
液体浸透性トップシート2は例えば合成フィラメントのスパンボンド材料、メルトブローン材料、サーマルボンド材料、又は接着されカーディングされた繊維材料の不織布材料を含む。液体不透性バックシート3はプラスチックフィルム、液体不透性材料で被覆された不織布材料、又は液体浸透に耐性のある疎水性不織布材料からなることができる。
【0013】
トップシート2及びバックシート3は吸収体4及び液体取得層3よりも大きい表面積を持ち、その縁の外側へ延長している。層2及び3は突出部分内で例えば接着又は熱又は超音波による溶接によって相互連結される。
【0014】
吸収体4はいかなる従来の種類のものであってもよい。通常の吸収材料の例はセルロース毛羽パルプ、ティッシュ層、高吸収体ポリマー(いわゆる超吸収体)、吸収体フォーム材料、吸収体不織布材料などである。セルロース毛羽パルプを吸収体中の超吸収体と組み合わせることは一般的である。又、液体取得能力、液体分散能力、及び液体貯蔵能力に関して異なる特性を持つ異なる材料の層を含む吸収体を用いることも一般的である。このことは当業者には周知であり、詳細に記述する必要はない。例えば赤ん坊のおむつ及び失禁ガードで一般的な薄い吸収体はセルロース毛羽パルプ及び超吸収体の圧縮されかつ混合された又は層状にされた構造からなることが多い。
【0015】
液体不透性バックシート3の外側に、自己接着性接着剤のストリップの形の取付手段6が配置される。図1に示される種類の失禁ガードは比較的軽度の失禁に苦しんでいる人によって用いられることを主に意図され、通常のパンツの中に容易に着用される。取付手段6は使用中パンツの中で失禁ガードをある場所に保っておくのに役立つ。(例えば横方向の)多数の他のタイプの接着パターンはフックとループ、スナップファスナー、ガードル、特殊なパンツの如き他のタイプの取付手段と同様にもちろん可能である。
【0016】
失禁ガードは幅広い端部分7及び端部分の間に位置する幅の狭い股部分8を持つ砂時計形状である。股部分9は使用中、着用者の脚の間の股に着用されるように意図される失禁ガードの部分であり、排出された体液のための受け取り部分として役立つ。
【0017】
図に示され、上にのみ記述された失禁ガードは吸収物品の非限定例であることは注意されるべきである。従って物品の形状及びその構成は変化させることができる。又、吸収物品はおむつ、パンツ型おむつ、衛生ナプキンなどであることもできる。吸収物品は使い捨てであってもよく、又は再利用可能であってもよい。しかし、再利用可能な物品としては上述した以外の他の材料がそれぞれ液体浸透性トップシート及び吸収体として用いられる。
【0018】
液体浸透性トップシート2と吸収体4との間には多量の液体を迅速に受け取り、液体を分配し、それが下にある吸収体4によって吸収される前に一時的にそれを貯蔵する能力を有する多孔質の弾性取得層5が配置されている。この能力は材料の湿潤後も本質的に維持されるべきである。取得層5はその外側に延長する吸収体4全体をカバーしてもよく、又は吸収体の中央部分のほんの一部分だけをカバーしてもよい。
【0019】
本発明によれば取得層5は連続的な繊維9(いわゆるトウ)の層からなり、それは接着パターン10を形成する点、スポット、又は線で共に接着されているが、相互には実質的に接着されていない。図1に示される実施例においては、接着パターン10はジグザグに配置された短い線を持つ線パターンである。接着パターンは例えば超音波溶接又は他の熱的接着によってなされる。他の好適な熱的接着法の例はパターン圧延(pattern calendering)、レーザー接着などである。このことは、トウ中の繊維の少なくともいくつかは熱可塑性樹脂であるということを意味する。熱可塑性樹脂繊維の例はポリオレフィン、ポリアミド、ポリエステルなどである。又、いわゆる二成分繊維も含まれる。熱的接着の代わりとして、接着は、いわゆるプリント接着又はドット接着を通じた接着剤、又はいわゆるニードリング又はウォータージェットによるからみ合いを通じた機械的接着によって行うことができる。接着タイプの選択はどのタイプの繊維がトウで用いられるかによって主に決定される。
【0020】
接着パターン10のデザインはもちろん幅広い制限内で変化させることができる。パターンは点、スポット、又は好ましくは線の形状であってもよい。線は真っ直ぐであってもよいし、曲がっていてもよく、長さは数ミリメートルから物品全体を横方向又は対角線状に横切って延長する程度まで変化させることができる。好ましくは線は繊維9の縦方向を横切るか斜めに横切って延長し、複数の繊維が各接着線によって相互に接着される。又、異なる接着線が繊維の縦方向を横切って見られるように相互に重なるならば、繊維の大部分はそれらの長さの少なくともある部分においては接着されるので有利である。
【0021】
接着パターンは取得層5全体に渡って同一であってもよく、又はその異なる部分において異なってもよい。従って、接着パターンは湿潤領域ではまばらであり、その外側では緻密であってもよい。又、接着パターンを層5が物品の異なる部分で異なる厚さを持つように設計することもできる(例えば液体受容容量を与えるボール形状を作り出すために物品の中央部分を薄く、周囲の縁部分を厚くするか、代わりに体との良好な接触を与えるために中央部分を周囲の縁部分よりも厚くする)。
【0022】
図3及び図4においては横方向の短い線で単純な接着パターン10で接着された連続的な繊維9の層11の一部が模式的に示されている。繊維9は接着部位を除いては相互に接着されていない。
【0023】
本発明による連続的な繊維9の層11は吸収物品中の液体取得層として以外にも着用者に最も近いトップシート材料又は組み合わされたトップシート/取得層として配置することができる。又、それは例えば不織布の支持材料に接着することもできる。
【0024】
本発明による材料層を製造する方法はいくつかの手順を含み、それは図5、図6及び図7に模式的に示されている。繊維トウ12は大形袋(sacks)で、又は連続的な繊維のベール又はロールの形状で供給される。それらは真っ直ぐであるか、縮れているか、又は曲がっている。縮れているか又は曲がっている繊維がその場合、好ましい。何故ならそれらは極めて開放的で空気を含んだ構造を与えるからである。トウ中の繊維はポリエチレン、ポリプロピレン、ポリアミド、ポリエステル、ポリラクチド、ポリビニルアセテート、セルロースアセテート、ビスコース及びレーヨンの如き再生繊維、又は低い融点を持つポリマーのシェルと高い融点を持つポリマーのコアを持つ二成分タイプの材料の如きいかなる好適な材料であってもよい。特に好ましいものは例えばポリエステル、コポリエステル、及びポリプロピレンの高い弾性を持つ繊維である。
【0025】
繊維の厚さは変化させることができるが、もし材料が取得層として用いられるのならば0.5−10dtex、好ましくは1.5−25、最も好ましくは2−15dtexであるべきである。開放的で空気を含む構造は比較的粗い繊維の大きさと組み合わされて極めて迅速な液体取得を与える。その上、材料は縦方向に強度を与える連続的な繊維、及び横方向に強度を与える接着パターンのため、頑丈である。
【0026】
ベールなどは特別な開繊装置(opening equipments)で開繊され、その中で繊維は相互から分離され、延伸され広げられて本質的に均一な厚い層にされる。層は上述の所望の接着パターンで接着され、吸収物品での適用の前又は後に好適な長さに切断される。代わりに接着は切断後になされてもよい。トウは取得材料として通常用いられる不織布、詰綿などと比較すると繊維の比較的安価な配布形態である。
【0027】
図6からわかるように、開繊装置13はロールニップを形成する1組以上のロールを含む。前記ロールは滑らかであるか、又は一方のロールがねじ山をつけられ反対のロールはそのねじ山に対抗したロールである。繊維トウは前記ロールニップを通して供給され、それは繊維の分離を与える。繊維はロールニップ14を通過する間に延伸される。このタイプの開繊装置は従来の種類のものであり、様々な構造で市場で入手可能である。
【0028】
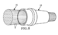
図6に示される実施例によれば、開繊された繊維トウ(それは今や分離された個々の繊維9の広げられた層の形状である)は材料ウェブ15中へ実質的にその縦方向に空気をブローするエジェクター(ejector)18を通して案内される。このスルーエア・ブロー(through−air blowing)は材料ウェブの所望の容量及び嵩を達成するために重要である。図8においてはエジェクター18を通した材料ウェブ15の供給が模式的に示されている。材料は包囲された室内で材料の供給方向に見られるとおり材料を横切って及び材料に沿って空気をブローするエジェクター18を通して供給される。これによって繊維の増大された混合が達成され、その結果、各繊維が隣接する繊維に依存することが少なくなる。特に繊維が縮んでいるか又はらせん状に曲がっている場合、材料ウェブの毛羽立ちは顕著に増大する。材料ウェブを通る気流は材料ウェブの供給方向に沿って、横切って、又は斜めに横切って作られる。気流はエジェクター以外の他の方法によって(例えばいわゆるエアナイフによって)達成することができる。材料ウェブを横切る気流はそれを均一にするのに寄与する。
【0029】
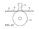
次に材料ウェブ15は接着ステーション20(これはこの実施例では超音波溶接装置である)に供給される。これはパターンロール22の丁度反対側に配置された超音波ホーン21を含む(図10)。
【0030】
パターンロール22はマクロパターンを形成するパターンロール22の突出部分24の最上表面に例えば線パターンか他の任意のパターンのマクロパターン以外にもミクロパターンのでこぼこ又は溝を付けられた表面を与えられてもよい。このことは図11において示されており、そこではマクロパターンは24、ミクロパターンは25の符号を記されている。
【0031】
ミクロパターンによって溶接表面全体は小さな部分に分割され、そこにおいては溶融する材料は少なく、材料ウェブと超音波溶接装置との間の摩擦は減少される。ミクロパターンの高さはミリメートルの1/10の大きさであり、これはそれらの長さと幅にわたって適用される。ミクロパターンは接着中に接合部が破損する危険なしに高スピードで溶接することを可能にする。でこぼこの材料ウェブ、すなわち材料の厚さが機械方向を横切って変化するウェブを溶接することも可能であろう。
【0032】
又、超音波ホーン21にでこぼこの又は溝の付いた表面を持たせることも可能であろう。
【0033】
上述した通りパターン圧延、レーザー接着の如き超音波溶接以外の他のタイプの熱的接着法が利用可能である。熱的接着の代わりとして接着は接着剤によって(いわゆるプリント接着又はドット接着)、又は機械的に(いわゆるニードリング又はウォータージェットによるからみ合いによって)行うことができる。
【0034】
あるいは材料ウェブ15はパターン接着後に不織布材料23又はプラスチックフィルムと貼合されることができ、それらは熱的接着(例えば超音波溶接)又は接着剤によって孔あけされるか又は空気を通されてもよい。不織布材料23などはその幅全体に渡って材料ウェブ15と貼合されるか、又はストリップ形状で材料ウェブの縁のみと貼合されることができる。不織布材料23などは疎水性又は親水性であり、液体が吸収物品の縁の方へと広がること及び液体が着用者の皮膚の方へと再湿潤することを防止するのに役立つ。
【0035】
パターン接着された材料ウェブ15は不織布材料などと任意に貼合される。それらは巻き取りロールに巻き取られてもよく、又はおむつ製造機などに直接供給されてもよく、そこでそれはおむつ、パンツ型おむつ、失禁ガード、衛生ナプキンなどの吸収物品中の層として適用される。
【0036】
図7に示される実施例によれば1以上の折り畳み装置17がエジェクター18の前に配置され、材料ウェブ15は前記折り畳み装置において縦方向に1回以上折り畳まれる。折り畳み装置17は材料ウェブ15の一部が材料ウェブの一部又は残りの部分の上へ折り畳まれるようにさせるガイドプレートからなる。この折り畳みは例えば二重折り畳み(材料ウェブの半分が他の半分の上に折り畳まれる)、二方向からの折り畳み(材料ウェブの両縁の一部が材料ウェブの残り又は残りの一部の上に折り畳まれる)、又は重複折り畳み(材料ウェブがその折り畳まれた部分が材料ウェブの中央部分において相互に重複するように両方向から折り畳まれる)の様々な方法で行うことができる。材料ウェブ15のこの折り畳みは開繊装置後に材料ウェブが不均一な繊維分布を持つ場合には適切であり、それは材料ウェブの折り畳みによって均一化することができる。
【0037】
又、用いられる折り畳み方法によって折り畳み装置17を通過した材料ウェブ15の繊維分布を制御することが可能である。従って横方向に本質的に均一な繊維分布を持つ材料ウェブ、又は中央部分において又は縁に沿って厚みが大きい、横方向に変化する繊維分布を持つウェブを得ることができる。
【0038】
折り畳み装置17の後にエジェクター18が上述したように配置される。
【0039】
材料ウェブの横方向における繊維分布の更なる制御は図7に示す実施例によって、例えばじょうご19の、特定の断面形状を持つガイド装置において得られ、それを通って材料ウェブ15はそれが接着ステーション20の方へ供給される前に供給される。従ってじょうご19の断面形状は繊維分布を決定し、じょうごの形状を変化させることによって材料ウェブ15が接着ステーション20で接着される前に材料ウェブ15の所望の幅及び横方向での材料ウェブ15の厚さの所望の分布を得ることができる。
【0040】
図9a,9b,9cにおいては異なる断面形状を持つじょうご19のいくつかの変形例が示されている。図9aに示されるじょうごは本質的に真っ直ぐの縁を持ち、比較的急激なテーパーを持ち、長くて狭い長方形のニブ(nib)19aに通ずる。このじょうごを用いると繊維は全幅に渡って均一に分布されるだろう。じょうご19内の空間は所望の材料容量よりもわずかにいくらか大きくすべきである。ニブ19aは繊維に均一な層で安定するための時間を与える。
【0041】
図9bにおいてはD形の断面を持つじょうごが示されており、これを用いると縁部分と比較して中央部分において繊維の増大した密度を得ることができる。繊維がじょうごの中へそして外へと案内されるときもし材料ウェブが凸表面に渡って曲げられると、繊維にとってはじょうごの中央に通過するための最短の道があるので、これによって材料ウェブの中央において繊維の増大した密度が得られる。繊維分布はじょうごの入口及び出口において楕円率及び「ブリトニングスグラッド(brytningsgrad)」によって制御することができる。材料ウェブはじょうごの出口において前方に真っ直ぐ案内されるか、又は上方又は下方に曲げられてもよく、それは繊維分布に影響を与えることができる。
【0042】
図9cにおいては横方向において曲げられたじょうごが示されている。そこでは材料ウェブは凹表面に渡って案内され、繊維はそれによって縁の方へ外へ案内され、そこにおいては材料ウェブの縁に沿って増大した繊維密度が得られる。繊維分布は入口及び出口における凸の度合い及び曲げの度合いによって案内することができる。
【0043】
図9dにおいては楕円リング19の形状の(つまり図9a,9b,9cにおいて示されたじょうごよりも本質的に短い長さを持つ)ガイド装置が示されている。
【0044】
折り畳み装置17は常に必要であるわけではなく、材料ウェブが不均一であって均一化される必要があるときのみ必要である。不均一な材料ウェブは二つ以上のじょうご又はリング19を通過することによっても十分に均一にされるだろう。
【0045】
じょうご19からの出口の直後に材料ウェブは接着ステーション20の方へと供給される。それは実施例においては超音波溶接装置からなるものとして示されている。これはパターンロール22の丁度反対側に配置された超音波ホーン21を含む(図10)。超音波溶接装置の方への材料ウェブの供給、及び材料ウェブ15のウェブ張力は制御された方法での材料ウェブの接着にとって重要である。超音波溶接装置への材料ウェブの供給が適切になされていない場合に起こるかもしれない問題は以下の危険性があるということである:
− 材料ウェブは材料の高すぎる延伸のため、溶接中に引き裂かれて分離するだろう;
− 材料は繊維が溶接装置の通過中に同一の条件を持っていないために上側及び下側において異なる度合いの延伸を持つだろう;
− 材料ウェブは超音波ホーン21の前で張り出し、それは超音波溶接装置への材料の不均一な供給を生ずるだろう。
【0046】
図10に示され、上でも述べられているように、ガイド装置の入口及び/又は出口に関して材料ウェブの供給方向を変化させることによって、材料ウェブの横方向における繊維分布は制御される。
【0047】
しかし、横方向に材料ウェブを形成するじょうご19又は他のタイプのガイド装置は常に必要であるわけではなく、これらの場合、材料ウェブはエジェクター18におけるスルーエア・ブローの後、図6に示されるように接着ステーション20へと直接供給される。
【図面の簡単な説明】
【図1】失禁ガードの形状の吸収物品の平面図である。
【図2】図1中の線II−IIに沿った断面図である。
【図3】本発明による繊維材料層の一部分を模式的に示したものである。
【図4】図3中の線IV−IVに沿った拡大されたスケールでの断面図を示したものである。
【図5】本発明による方法の様々な主要な手順をブロックダイヤグラムの形で模式的に示したものである。
【図6】本発明による方法を実行するためのプロセス装置の模式的な側面図である。
【図7】プロセス装置に含まれる均一化装置の改良された実施例の模式的な側面図を示したものである。
【図8】エジェクターを通した繊維層の供給を模式的に示したものである。
【図9】図9a,9b,9c,9dは均一化装置に含まれるガイド手段のいくつかのバリエーションを示したものである。
【図10】接着ステーション(この場合、超音波溶接装置)の方への材料層の供給の模式的側面図を示したものである。
【図11】接着パターンを与える超音波溶接装置上のパターンの特別な配置を拡大されたスケールで模式的に示したものである。
【符号の説明】
1 失禁ガード
2 トップシート
3 バックシート
4 吸収体
5 取得層
6 取得手段
7 端部分
8 股部分
9 繊維
10 接着パターン
12 トウ
13 開繊装置
14 ロールニップ
15 材料ウェブ
17 折り畳み装置
18 エジェクター
19 ガイド装置
20 接着ステーション
21 接着ホーン
22 パターンロール
23 不織布材料
24 突出部分
25 溝
Claims (11)
- おむつ、パンツ型おむつ、失禁ガード、衛生ナプキン、又はそれらの類似物品の如き吸収物品に組み入れられることを主に意図される繊維材料層の製造方法であって、
少なくとも一束の連続的なフィラメント(いわゆるトウ(12))を取るステップと、
前記トウ(12)を開繊してフィラメントを分離するステップと、
前記トウを均一に広げて所望の繊維分布を持つ層にするステップと、
その後に前記層を接着パターンの点、スポット、または線で接着するステップであって、これら接着パターンの点、スポット、または線以外の部分では前記フィラメントは相互に接着されない、ステップと、
を備える製造方法において、
前記接着するステップの前に、開繊されて分離された繊維層(15)を通るように空気を吹き込むことによって材料ウェブの所望の容量及び嵩を達成することを特徴とする繊維材料層の製造方法。 - 前記トウをロールニップ(14)に通すことによって前記トウ(12)を開繊して繊維(9)を分離し、一方同時に前記繊維を延伸することを特徴とする請求項1の方法。
- 空気が本質的に繊維方向の縦方向に、横方向に、及び/又は繊維方向に斜めに横切って通過するように吹き込まれることを特徴とする請求項1又は2の方法。
- 前記繊維層(15)が包囲された室内において材料を横切って及び材料に沿って空気を吹き込むエジェクター(18)を通り抜けることを特徴とする請求項3の方法。
- 開繊されて分離された前記繊維層(15)がその縦方向に1回以上折り畳まれることを特徴とする請求項1−4のいずれかの方法。
- 開繊されて分離された前記繊維層(15)が該層の横方向における繊維分布を制御するように設計された特定の断面形状を持つガイド装置(19)へ供給されることを特徴とする請求項1−5のいずれかの方法。
- 前記層の横方向での繊維分布のガイドを与えるため、前記繊維層(15)の供給方向が前記ガイド装置(19)への入口及び/又は前記ガイド装置(19)からの出口に関連して変化させられることを特徴とする請求項6の方法。
- 前記繊維層(15)が前記ガイド装置(19)からの出口の直後に所望の接着パターンで接着されることを特徴とする請求項5又は6の方法。
- 接着がホーン(21)及びパターンロール(22)を含む超音波溶接装置によって行われる(ただし、パターンロールは所望の接着パターンを与える突出部分(24)を持ち、それらの上の前記突出部分は溝(25)などの形状のでこぼこの表面を与えられている)ことを特徴とする請求項1−8のいずれかの方法。
- 接着がホーン(21)及びパターンロール(22)を含む超音波溶接装置によって行われる(ただし、前記ホーンは溝などの形状のでこぼこの表面を持つ)ことを特徴とする請求項1−9のいずれかの方法。
- 前記繊維層(15)がその幅の少なくとも一部に渡って不織布材料(23)、又はプラスチックフィルムなどと貼り合わされることを特徴とする請求項1−10のいずれかの方法。
Applications Claiming Priority (4)
| Application Number | Priority Date | Filing Date | Title |
|---|---|---|---|
| SE9704484A SE514391C2 (sv) | 1997-12-03 | 1997-12-03 | Absorberande alster |
| SE9704484-6 | 1997-12-03 | ||
| SE9802517A SE9802517L (sv) | 1997-12-03 | 1998-07-13 | Metod för framställningav ett fiberbaserat materi alskikt |
| SE9802517-4 | 1998-07-13 |
Publications (2)
| Publication Number | Publication Date |
|---|---|
| JPH11256462A JPH11256462A (ja) | 1999-09-21 |
| JP4417455B2 true JP4417455B2 (ja) | 2010-02-17 |
Family
ID=26663145
Family Applications (1)
| Application Number | Title | Priority Date | Filing Date |
|---|---|---|---|
| JP34384898A Expired - Lifetime JP4417455B2 (ja) | 1997-12-03 | 1998-12-03 | 繊維材料層の製造方法 |
Country Status (5)
| Country | Link |
|---|---|
| US (1) | US6511566B1 (ja) |
| EP (1) | EP0937792B1 (ja) |
| JP (1) | JP4417455B2 (ja) |
| DE (1) | DE69838092T2 (ja) |
| SE (1) | SE9802517L (ja) |
Families Citing this family (30)
| Publication number | Priority date | Publication date | Assignee | Title |
|---|---|---|---|---|
| SE516036C2 (sv) | 2000-03-27 | 2001-11-12 | Sca Hygiene Prod Ab | Fiberbaserat materialskikt innefattande minst två banor av kontinuerliga fibrer, s.k. tow, metod för framställning därav samt absorberande alster innehållande skiktet |
| ES2225307T3 (es) * | 2000-04-18 | 2005-03-16 | Vliesstoff-Technologie In 3. Dimension Kg | Estructura textil no tejida que incorpora conjuntos de filamentos estabilizados. |
| SE520110C2 (sv) * | 2001-09-06 | 2003-05-27 | Sca Hygiene Prod Ab | Metod för framställning av ett fiberbaserat materialskikt, ett fiberbaserat materialskikt samt en absorberande produkt innehållande detsamma. |
| US6888045B2 (en) | 2001-09-06 | 2005-05-03 | Sca Hygiene Products Ab | Method of producing a fibrous material layer, a fibrous material layer and an absorbent article containing same |
| US20050215962A1 (en) * | 2002-01-16 | 2005-09-29 | John Litvay | Tow-based absorbent articles with a single casing sheet |
| US20050107759A1 (en) * | 2002-01-17 | 2005-05-19 | Andrew Waksmundzki | Absorbent article with three-dimensional extrudate forming sap containment wells |
| DE10208353A1 (de) | 2002-02-27 | 2003-09-11 | Trevira Gmbh | Verfahren zur Herstellung feiner stauchgekräuselter Kabel aus synthetischen Filamenten sowie deren Weiterverarbeitung zu textilen Hygieneartikeln |
| GB2394232A (en) * | 2002-10-17 | 2004-04-21 | Lohmann Gmbh & Co Kg | Non-woven material containing fully stabilized filament assemblies |
| TW200413018A (en) * | 2002-12-26 | 2004-08-01 | Shiseido Co Ltd | Oil-in-water type emulsified cosmetic |
| US20040138634A1 (en) * | 2003-01-10 | 2004-07-15 | Litvay John D. | Absorbent article having improved softness |
| US7320581B2 (en) * | 2003-11-17 | 2008-01-22 | Aktiengesellschaft Adolph Saurer | Stabilized filament drawing device for a meltspinning apparatus |
| US7172398B2 (en) * | 2003-11-17 | 2007-02-06 | Aktiengesellschaft Adolph Saurer | Stabilized filament drawing device for a meltspinning apparatus and meltspinning apparatus including such stabilized filament drawing devices |
| JP4553646B2 (ja) * | 2004-06-30 | 2010-09-29 | 大王製紙株式会社 | 吸収体の製造方法およびその製造設備、ならびに吸収体 |
| US8859844B2 (en) * | 2004-06-30 | 2014-10-14 | Diao Paper Corporation | Sanitary napkin with a tow fiber assembly |
| US20070095454A1 (en) * | 2004-09-02 | 2007-05-03 | Panther Allen L | Ultrasonic joining of polymer mats to mechanical devices including electric appliances |
| JP4324067B2 (ja) * | 2004-09-30 | 2009-09-02 | 大王製紙株式会社 | 紙おむつ |
| JP4841224B2 (ja) * | 2005-10-26 | 2011-12-21 | 大王製紙株式会社 | 吸収性物品 |
| EP1962755B1 (en) | 2005-12-21 | 2012-06-27 | SCA Hygiene Products AB | Side panel for an absorbent article, such as a diaper, an incontinence guard or similar |
| GB0606661D0 (en) | 2006-04-03 | 2006-05-10 | Brightwake Ltd | Improvements relating to dressings |
| US7615128B2 (en) * | 2006-04-05 | 2009-11-10 | Mikkelsen Graphic Engineering, Inc. | Method and apparatus for fray-free textile cutting |
| US20070234862A1 (en) * | 2006-04-05 | 2007-10-11 | Mikkelsen Graphic Engineering, Inc. | Method and Apparatus for Fray-Free Cutting with Laser Anti-Fray Inducement |
| US7338355B2 (en) * | 2006-06-13 | 2008-03-04 | 3M Innovative Properties Company | Abrasive article and methods of making and using the same |
| US20080015532A1 (en) * | 2006-07-13 | 2008-01-17 | Tyco Healthcare Retail Services Ag | Absorbent article having multi fiber and density absorbent core |
| WO2008146541A1 (ja) * | 2007-06-01 | 2008-12-04 | Uni-Charm Corporation | シート状部材の積層体 |
| US8292863B2 (en) * | 2009-10-21 | 2012-10-23 | Donoho Christopher D | Disposable diaper with pouches |
| US8426671B2 (en) | 2011-02-11 | 2013-04-23 | Polymer Group, Inc. | Liquid management layer for personal care absorbent articles |
| GB2493960B (en) | 2011-08-25 | 2013-09-18 | Brightwake Ltd | Non-adherent wound dressing |
| US8623248B2 (en) | 2011-11-16 | 2014-01-07 | Celanese Acetate Llc | Methods for producing nonwoven materials from continuous tow bands |
| EP3517674A1 (en) * | 2018-01-29 | 2019-07-31 | The Procter & Gamble Company | Apparatus and method for ultrasonic bonding |
| CN112689494B (zh) * | 2018-07-19 | 2022-08-09 | Twe 默莱贝克 | 用作一次性吸收制品组分的多层非织造结构 |
Family Cites Families (29)
| Publication number | Priority date | Publication date | Assignee | Title |
|---|---|---|---|---|
| US3802980A (en) * | 1962-03-19 | 1974-04-09 | C Harmon | Continuous filament web and method of manufacturing the same |
| US3371667A (en) | 1964-06-11 | 1968-03-05 | Johnson & Johnson | Article for absorbing body exudates |
| GB1132984A (en) * | 1965-04-01 | 1968-11-06 | Courtaulds Ltd | Process and apparatus for opening tow |
| GB1137870A (en) * | 1965-04-27 | 1968-12-27 | Courtaulds Ltd | Improved method of spreading a tow of textile filaments |
| US3535745A (en) | 1967-09-18 | 1970-10-27 | Eastman Kodak Co | Method and apparatus for opening multifilament tows |
| JPS56106710U (ja) * | 1980-01-17 | 1981-08-19 | ||
| US4334340A (en) * | 1980-01-25 | 1982-06-15 | Crown Zellerbach Corporation | System and method for dispersing filaments |
| US4340563A (en) * | 1980-05-05 | 1982-07-20 | Kimberly-Clark Corporation | Method for forming nonwoven webs |
| US4435239A (en) * | 1982-03-19 | 1984-03-06 | Eastman Kodak Company | Pneumatic tow blooming process |
| US4685914A (en) * | 1983-09-23 | 1987-08-11 | Personal Products Company | Disposable urinary pad |
| GB2209672B (en) | 1987-09-14 | 1991-05-22 | Robinson & Sons Ltd | Incontinence pad |
| US4798603A (en) | 1987-10-16 | 1989-01-17 | Kimberly-Clark Corporation | Absorbent article having a hydrophobic transport layer |
| NZ233094A (en) | 1989-04-04 | 1992-07-28 | Eastman Kodak Co | Synthetic fibre with grooves spontaneously transports water on its surface |
| SE463746B (sv) | 1989-05-31 | 1991-01-21 | Moelnlycke Ab | Absorberande alster av engaangstyp |
| US5128193A (en) * | 1990-01-16 | 1992-07-07 | Chicopee | Absorbent fibrous structure |
| US5234720A (en) * | 1990-01-18 | 1993-08-10 | Eastman Kodak Company | Process of preparing lubricant-impregnated fibers |
| US5382245A (en) * | 1991-07-23 | 1995-01-17 | The Procter & Gamble Company | Absorbent articles, especially catamenials, having improved fluid directionality |
| US5146651A (en) * | 1990-12-21 | 1992-09-15 | E. I. Du Pont De Nemours And Company | Process and apparatus for tow cross-section measurement and control |
| WO1993009745A1 (en) | 1991-11-11 | 1993-05-27 | The Procter & Gamble Company | Absorbent article having rapid distribution strip |
| US5669895A (en) | 1991-11-11 | 1997-09-23 | The Procter & Gamble Company | Absorbent article having rapid distribution strip |
| US5466513A (en) * | 1992-12-18 | 1995-11-14 | Kimberly-Clark Corporation | Multi-layer absorbent composite |
| US5607766A (en) * | 1993-03-30 | 1997-03-04 | American Filtrona Corporation | Polyethylene terephthalate sheath/thermoplastic polymer core bicomponent fibers, method of making same and products formed therefrom |
| US6166285A (en) * | 1994-11-28 | 2000-12-26 | The Procter & Gamble Company | Absorbent articles having cuffs with skin care composition disposed thereon |
| EP0803602A4 (en) * | 1995-01-12 | 2002-06-26 | Japan Absorbent Tech Inst | ELASTIC COMPOSITE BODY WITH MULTIPLE STRETCHABILITY AND METHOD FOR THEIR PRODUCTION |
| JPH09117470A (ja) * | 1995-10-27 | 1997-05-06 | Chisso Corp | 吸収性物品 |
| US5626571A (en) * | 1995-11-30 | 1997-05-06 | The Procter & Gamble Company | Absorbent articles having soft, strong nonwoven component |
| US5810800A (en) * | 1996-06-27 | 1998-09-22 | The Procter & Gamble Company | Absorbent article having flexure resistant elasticized cuffs |
| US5851665A (en) * | 1996-06-28 | 1998-12-22 | E. I. Du Pont De Nemours And Company | Fiberfill structure |
| US6127593A (en) * | 1997-11-25 | 2000-10-03 | The Procter & Gamble Company | Flushable fibrous structures |
-
1998
- 1998-07-13 SE SE9802517A patent/SE9802517L/xx not_active Application Discontinuation
- 1998-12-03 DE DE69838092T patent/DE69838092T2/de not_active Expired - Lifetime
- 1998-12-03 US US09/204,540 patent/US6511566B1/en not_active Expired - Lifetime
- 1998-12-03 EP EP98850187A patent/EP0937792B1/en not_active Expired - Lifetime
- 1998-12-03 JP JP34384898A patent/JP4417455B2/ja not_active Expired - Lifetime
Also Published As
| Publication number | Publication date |
|---|---|
| JPH11256462A (ja) | 1999-09-21 |
| DE69838092T2 (de) | 2008-04-10 |
| SE9802517L (sv) | 1999-06-04 |
| US6511566B1 (en) | 2003-01-28 |
| EP0937792A1 (en) | 1999-08-25 |
| SE9802517D0 (sv) | 1998-07-13 |
| EP0937792B1 (en) | 2007-07-18 |
| DE69838092D1 (de) | 2007-08-30 |
Similar Documents
| Publication | Publication Date | Title |
|---|---|---|
| JP4417455B2 (ja) | 繊維材料層の製造方法 | |
| EP1035817B1 (en) | Absorbent article | |
| US11786415B2 (en) | Absorbent articles with visually different chassis and waistbands | |
| US6417427B1 (en) | Absorbent article having layer of continuous fibers bonded in a pattern | |
| EP1274383B1 (en) | Fibrous material layer, method for its manufacture, and absorbent article comprising the material layer in question | |
| US6888045B2 (en) | Method of producing a fibrous material layer, a fibrous material layer and an absorbent article containing same | |
| JPH06158501A (ja) | フィルム積層材料及びその製造方法と製造装置 | |
| HU217332B (hu) | Abszorbens cikk összeolvasztott rétegekkel, folyadékáteresztő réteg abszorbens cikkekhez és eljárás abszorbens cikk két folyadékáteresztő rétegének felületi egyesítésére | |
| CZ284462B6 (cs) | Složený netkaný materiál a způsob jeho výroby | |
| JP2019080907A (ja) | 吸収性物品 | |
| EP1424978B1 (en) | A method of producing a fibrous material layer, a fibrous material layer and an absorbent article containing same | |
| WO2024063772A1 (en) | A reinforced nonwoven material |
Legal Events
| Date | Code | Title | Description |
|---|---|---|---|
| A621 | Written request for application examination |
Free format text: JAPANESE INTERMEDIATE CODE: A621 Effective date: 20051012 |
|
| RD04 | Notification of resignation of power of attorney |
Free format text: JAPANESE INTERMEDIATE CODE: A7424 Effective date: 20080725 |
|
| A977 | Report on retrieval |
Free format text: JAPANESE INTERMEDIATE CODE: A971007 Effective date: 20080807 |
|
| RD03 | Notification of appointment of power of attorney |
Free format text: JAPANESE INTERMEDIATE CODE: A7423 Effective date: 20080813 |
|
| A131 | Notification of reasons for refusal |
Free format text: JAPANESE INTERMEDIATE CODE: A131 Effective date: 20080924 |
|
| A521 | Written amendment |
Free format text: JAPANESE INTERMEDIATE CODE: A523 Effective date: 20081224 |
|
| A131 | Notification of reasons for refusal |
Free format text: JAPANESE INTERMEDIATE CODE: A131 Effective date: 20090714 |
|
| A521 | Written amendment |
Free format text: JAPANESE INTERMEDIATE CODE: A523 Effective date: 20091002 |
|
| TRDD | Decision of grant or rejection written | ||
| A01 | Written decision to grant a patent or to grant a registration (utility model) |
Free format text: JAPANESE INTERMEDIATE CODE: A01 Effective date: 20091027 |
|
| A01 | Written decision to grant a patent or to grant a registration (utility model) |
Free format text: JAPANESE INTERMEDIATE CODE: A01 |
|
| A61 | First payment of annual fees (during grant procedure) |
Free format text: JAPANESE INTERMEDIATE CODE: A61 Effective date: 20091126 |
|
| R150 | Certificate of patent or registration of utility model |
Free format text: JAPANESE INTERMEDIATE CODE: R150 |
|
| FPAY | Renewal fee payment (event date is renewal date of database) |
Free format text: PAYMENT UNTIL: 20121204 Year of fee payment: 3 |
|
| FPAY | Renewal fee payment (event date is renewal date of database) |
Free format text: PAYMENT UNTIL: 20131204 Year of fee payment: 4 |
|
| R250 | Receipt of annual fees |
Free format text: JAPANESE INTERMEDIATE CODE: R250 |
|
| R250 | Receipt of annual fees |
Free format text: JAPANESE INTERMEDIATE CODE: R250 |
|
| R250 | Receipt of annual fees |
Free format text: JAPANESE INTERMEDIATE CODE: R250 |
|
| R250 | Receipt of annual fees |
Free format text: JAPANESE INTERMEDIATE CODE: R250 |
|
| S533 | Written request for registration of change of name |
Free format text: JAPANESE INTERMEDIATE CODE: R313533 |
|
| R350 | Written notification of registration of transfer |
Free format text: JAPANESE INTERMEDIATE CODE: R350 |
|
| EXPY | Cancellation because of completion of term |