JP4411489B2 - 管のメカニカル継手用の付勢拘束ガスケット - Google Patents

管のメカニカル継手用の付勢拘束ガスケット Download PDF

Info

Publication number
JP4411489B2
JP4411489B2 JP2005510604A JP2005510604A JP4411489B2 JP 4411489 B2 JP4411489 B2 JP 4411489B2 JP 2005510604 A JP2005510604 A JP 2005510604A JP 2005510604 A JP2005510604 A JP 2005510604A JP 4411489 B2 JP4411489 B2 JP 4411489B2
Authority
JP
Japan
Prior art keywords
gasket
spigot
bell
retainer
groove
Prior art date
Legal status (The legal status is an assumption and is not a legal conclusion. Google has not performed a legal analysis and makes no representation as to the accuracy of the status listed.)
Expired - Fee Related
Application number
JP2005510604A
Other languages
English (en)
Other versions
JP2007521443A (ja
Inventor
コープランド,ダニエル,アルバート
Current Assignee (The listed assignees may be inaccurate. Google has not performed a legal analysis and makes no representation or warranty as to the accuracy of the list.)
United States Pipe and Foundry Co LLC
Original Assignee
United States Pipe and Foundry Co LLC
Priority date (The priority date is an assumption and is not a legal conclusion. Google has not performed a legal analysis and makes no representation as to the accuracy of the date listed.)
Filing date
Publication date
Application filed by United States Pipe and Foundry Co LLC filed Critical United States Pipe and Foundry Co LLC
Publication of JP2007521443A publication Critical patent/JP2007521443A/ja
Application granted granted Critical
Publication of JP4411489B2 publication Critical patent/JP4411489B2/ja
Anticipated expiration legal-status Critical
Expired - Fee Related legal-status Critical Current

Links

Images

Classifications

    • FMECHANICAL ENGINEERING; LIGHTING; HEATING; WEAPONS; BLASTING
    • F16ENGINEERING ELEMENTS AND UNITS; GENERAL MEASURES FOR PRODUCING AND MAINTAINING EFFECTIVE FUNCTIONING OF MACHINES OR INSTALLATIONS; THERMAL INSULATION IN GENERAL
    • F16LPIPES; JOINTS OR FITTINGS FOR PIPES; SUPPORTS FOR PIPES, CABLES OR PROTECTIVE TUBING; MEANS FOR THERMAL INSULATION IN GENERAL
    • F16L21/00Joints with sleeve or socket
    • F16L21/08Joints with sleeve or socket with additional locking means

Landscapes

  • Engineering & Computer Science (AREA)
  • General Engineering & Computer Science (AREA)
  • Mechanical Engineering (AREA)
  • Gasket Seals (AREA)
  • Joints With Sleeves (AREA)
  • Joints Allowing Movement (AREA)

Description

本発明は、概して管の間の又は管と継手との間の接続に関するものである。より具体的には、本発明は、従来技術において公知の締結されたプッシュ−オン継手及びメカニカル継手の両方の長所を最大化する2本の管を接続する装置及び方法を教示するものである。本発明は、管同士、同様に、継手、付属品及び接続に適用するものである。
スラスト力、土の運動及び管に作用する機械的な外力のため、この産業は、隣接する管の間の接続の維持の問題に相当に注意することに注目してきた。この注意の結果は、従来技術において公知の異なる方式及びアプローチを多数有することになっている。これらの方式の大多数は、「プッシュ−オン」継手又は「メカニカル」継手のいずれかとして分類することができる。本発明の適用又は使用に関して、本発明者による「管」として参照されるものは、継手、接続及びあらゆる他の管の付属品を含むと理解されるべきである。
ストレート管の接続のために当該技術において使用される殆どの一般的な装置は、「プッシュ−オン」管/ベル構造である。これらのプッシュ−オン方式は、特許文献1に例示されており、また、ストレート管の接続の大多数を占めている。一般的な構造では、管のスピゴット端が、もう一方の管のベル端内に締りばめされたガスケットを介して滑り込む。フォロワリング、スタッフィングボックス又は他の一般的な外部圧縮手段は、プッシュ−オン継手には存在しない。加えて、一般的なプッシュ−オン継手は、拘束手段を含まないが、継手を拘束したい場合には、そのような手段としてタイバー、コンクリートスラストブロック、スクリュ及び付加的なリングアタッチメントが使用されている。この技術の発達は、拘束手段を含むプッシュ−オン継手の革新及び修正へと進んでいる。そのような拘束プッシュ−オン継手の例示は、特許文献2、特許文献3及び特許文献4を含む。そのような発達における接続の締結は、スピゴットに係合するガスケット内のロックセグメントすなわち楔によって行われる。このロックセグメントは、スピゴット端のベル端への挿入を許容するが、スピゴットを離脱する反対方向の力がかかると、このロックセグメントがスピゴットに噛み込む方向にピボット動作して、それ以上の離脱を止めるように向けられている。この効果は、子供の「フィンガーロック」トイによく似ており、管を強く離脱させようとするほど、その食込みによってより大きなロック作用が生じる。これらのプッシュ−オンタイプの継手は、優れた柔軟性並びに軸方向及びそれ以外の方向の両方の離脱力に対する抵抗力を備えている。しかしながら、この産業では、これらの接続を継手に適用する場合、そのような構造において、最初にスピゴットをベルに押込むのに必要な高い装置圧力を発生させるために、継手を充分に締結することが実行不可能であるという、重大な困難性を経験している。
米国特許第2953398号明細書 米国特許第5295697号明細書 米国特許第5464228号明細書 米国特許第5067751号明細書
「メカニカル継手」は、管産業において幅広く使用された周知の標準化された接続装置である。そのような接続は、継目でスピゴットの周り及びベル内でガスケットを圧縮することによって、一体化された2本の管を流体シールする。メカニカル接続は、管のスピゴットが挿入される受入側の管の外側フランジを有するベルによって特徴付けられる。このベルは、管のスピゴットの周囲に緊密に嵌合するガスケットが着座し、更に、サポート圧縮リングすなわちガスケット押えを受けるようになっている。組付に際して、スピゴットは、ベルに完全に進入し、ガスケットは、ベル内及びスピゴットの周りに緊密に着座する。そして、ガスケット押えは、これを比較的高トルクで締付けられる締結ボルト等の手段を介してベルフランジに固く締結することによって、ガスケットに押付けられる。この構造は、一般的に、ベルの中へ軸方向に延びるガスケット押えの内径の周りのリップを含む。このガスケット押えの形状は、リップがガスケットに押付けられて、ガスケットが変形するのに充分な圧力で圧縮されるようになっている。ガスケットは、ベルとガスケット押えとの間で圧縮されることにより、内側へ押し潰されて、挿入された管の部分の外側とベルの内側との両方に気密的に接触する。この変形は、ガスケットのシール効果を圧縮又は高い挿入力なしで容易に得られるシール効果を超えて増強する。
メカニカル接続は、産業上、幅広い許容性を備えており、また、ANSI/AWWA C111/A21.11−95等の国内及び国際規格の対象となっている。このような接続に対して工業的共通性が与えられ、また、これらの規格の特性が仕様に組み込まれることにより、あらゆるメカニカル接続は、最適な統一性を得るために、それらの仕様が確認されるべきである。標準化されたメカニカル継手を改良するために多数の試みがなされている。これらの試みは、管の離脱に抵抗する機械的な結合を生じる付加的な機構又はアタッチメントを含むという殆ど共通の特徴を有している。ベル又はガスケット押え(又はこれらの両方)の修正を必要とするこのような試みは、ハウの米国特許(特許文献5)及びマックウエインの米国特許(特許文献6)に例示されており、前者は、ガスケット押えの中に凹ませたロックインサートを使用し、また、後者は、歯付きカムを有する特別に修正されたボルトが設けられた改良されたガスケット押えを開示しており、ボルトが修正されたベルのリップの下にフックされてガスケット押えの溝に押込まれたとき、歯付きカムがピボット動作してスピゴットに噛み込む。
米国特許第784400号明細書 米国特許第1818493号明細書
更なる解決策は、ガスケットとガスケット押えとの間に介装された付加的な拘束装置すなわち歯を使用し、これらは、ガスケット押えが締付けられることによってスピゴットへ押付けられる。これらの装置は、ウエキの米国特許(特許文献7)及びパーセボイスの米国特許(特許文献8)に含まれており、これらは、標準のメカニカル継手の簡素なベル−ガスケット−ガスケット押え構造に加えて複数の付加的なロック装置の使用を必要とする。ギルクリストの米国特許(特許文献9)、デント他の米国特許(特許文献10)及びハンター他の米国特許(特許文献11)は、ガスケット押えが完全に着座する前に、噛合い歯が早期に係合する可能性があると考えられる。リチャードソン他の米国特許(特許文献12)は、犠牲スキッドパッドを使用して歯の早期係合を防止することによってこの潜在的な問題の解決を試みている。
米国特許第4664426号明細書 米国特許第5297826号明細書 米国特許第4878698号明細書 米国特許第5335946号明細書 米国特許第5398946号明細書 米国特許第5803513号明細書
付加的な解決策は、ベルに取付けられた(又は組み込まれた)ボルトアセンブリを使用し、このアセンブリは、特殊な構造のボルトを締付け、これによって駆動されるボルト又は装置がスピゴットの外表面に押付けられるようにする。これらのボルト機構は、当該技術において一般に知られた商標「MEGALUG」(米国商標登録第1383971号)の下でEBAAアイアン社によって販売される装置によって例示される。このタイプの解決策の更なる例示は、ハシモトの米国特許(特許文献13)を含み、これは、締付けられたときロック楔に作用するボルトを含むように標準ガスケット押えを修正している。管が地面に固定される環境において設置されるとき、配置する際、管の下側に必要な複数の付加的なボルトがあることは一般的に不便である。このような下側のボルトは、コスト及び設置時間を増大させる。しかしながら、ボルトロック機構が少数のみのボルト配置を使用する場合、ある状況ではボルトの内側への圧力がスピゴットの断面形状を変形させることがある。例えば、ある状況において3つのボルトのみの配置を使用することは、スピゴットを僅かに三角形に変形させる望ましくない可能性を生じることがある。
米国特許第4647083号明細書
また、これらの構造のそれぞれは、付加的な部品の製造にかかる費用及び付加的な部品が望ましくない故障の可能性を増大させるという事実等の実際的な問題に苦しむことに当業者は気付くであろう。
更に、これらの解決策のそれぞれは、「静的な」継手を考えている。パイプラインは、一般的に固定されて動かない構造であると考えられているが、耐久性のある継手は、継目においてある程度の柔軟性及び「遊び」を許容する必要がある。そのような運動の許容は、パイプラインが設置された環境が実際には静的でないことから、必要とされている。スラスト力は、管をその縦軸からその軸のいずれかの側への角度へ向けて移動させようとする縦軸すなわち軸方向でない荷重を生じることがある。管内に移送される物質の圧力が変化すると、その力も同様に変化する。加えて、管が設置される場所は、一般に考えられているように安定していることは稀である。実際、管が地面の上に設置された場合、管は、安定性を増強するベッド又は溝の装着要素の利点を有していない。結局、一般的な地面に設置された管でさえ、沈降、侵食、機械的な力(例えば構造近傍の)及び土の運動(地震等)による移動に耐えなければならない。
プッシュ−オン継手のバリエーションは、ミラーの米国特許(特許文献14)に示され、これは、ロックセグメントに圧力を生じさせ、これにより、これらをスピゴットへ押付けるためにベルの特殊なリップ内に嵌め込まれる圧縮スナップ−リングを使用する。あるいは、ミラーのものと同様、あるいは、ミラーの代替案は、同様に、装着時にロックセグメントをスピゴットに押付ける。バールの米国特許(特許文献15)は、同様に、ほぼ円錐台構造に配置された硬化部分を完全に包んだガスケットを使用する。そのような硬化部分は、その部分の両端を含む平面に沿ったガスケットの圧縮に対する抵抗を付与する状態となる。スピゴットが引張り力を受けたとき、管の移動によってガスケットが回動する。ガスケットが回動すると、やがて、更なる回動のためには圧縮する必要がある硬化された平面の位置に遭遇する。最適な状態では、その硬化によってガスケットを圧縮することができず、これにより、更に回動することができない。回動が停止することによって、ガスケットは、スピゴットとベルとの間のロックに基づく静止摩擦状態となる。特に、他の特徴の中で、バールによって教示された構造は、ラバーと管との摩擦結合を残している。
米国特許第2201372号明細書 米国特許第3445120号明細書
以下に示された本発明の目的は、選択的及び例示的な目的に過ぎず、本発明の実施に必要なもの、又は、達成される目的の全てを挙げたものとして読まれるべきではない。
上述の検討によって提案されるように、本発明の例示的でかつ限定的でない他の目的は、関連するメカニカル継手のベル、スピゴット又はガスケット押えのいかなる構造変更又は追加を必要とすることなく、継手を拘束継手に変換可能にする標準のメカニカル継手のガスケットと交換可能なガスケットを提供することである。
例示的でかつ限定的でない更なる他の目的は、高に挿入圧力を必要としない管用の動的な継手を提供することである。
本発明の例示的でかつ限定的でない更なる他の目的は、一般的に構成された管継手を拘束するコスト効率的な方法及び装置を提供することである。
上記の目的及び利点は、提出された特許請求の範囲の記載を除き、本発明の技術的思想及び実施の全てでもないし、個々に決定的なものでもない。本発明の他の目的及び利点は、以下の本発明の説明から当業者には明らかになるであろう。
本発明は、継手のベル、スピゴット又はガスケット押えの形状の変更を必要とすることなく、かつ、付加的な締結具又は装置の追加を必要とすることなく、標準のメカニカル継手を拘束メカニカル継手に変換するためのガスケットを基本として説明することができる。本発明の実施において、標準のメカニカル継手のベル及びガスケット押えの構造は、一方の管のスピゴット端ともう一方の管のベル端とのラバーと管との摩擦に勝る拘束力で拘束された関係(拘束は、係合されたベルとスピゴットとの軸方向の分離に対する抵抗として定義される)の接続を使用することができる。教示されたいくつかの実施形態のより具体的な検討において、本発明は、ベル内に嵌合するガスケットを形成し、自然状態では、ガスケットが変形する隙間が存在し、順次、ロックセグメントの回動運動に影響する。この方法では、ガスケットの形状は、ガスケット押えのベルへの締付け過程で、回動のタイミング及び程度に影響する。過度の噛み込みが回避され、同時に、適切な瞬間で充分な噛み込みを確実にする。ロックセグメントの回動のタイミング及び程度の制御は、ガスケットの性能に影響し、本発明の説明された実施形態によって処理される。ロックセグメントの回動の程度は、拘束の適用に影響する。拘束が生じると、一般的には、ロックセグメントがベルとスピゴットとの間の干渉位置に回動されたとき、更なる有意に役立つガスケットの圧縮は、一般的には、もはや生じない。ロックセグメントの回動が早過ぎると、ガスケットの圧縮が不充分になり、シールが不充分になる。ロックセグメントの回動が遅すぎると、継手の拘束が不充分になる。
以下は、本発明の詳細な説明である。当業者は、ここに提供される具体例は、本発明者が最も好ましいと思う実施形態に関する例示の目的を意図するものであり、本発明の範囲の限定として解釈されるものではない。ここで参照される「管」は、同様にあらゆる管、付属品、締結具、又は、製造方法又は材料にかかわらず、あらゆる他の接続される装置又は要素を参照すると理解されたい。
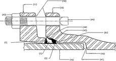
図面に向かうと、図1は、一般的なメカニカル継手の図を表している。本発明に従った継手の組付けは、当該技術において公知のように実施されている。特に、公知技術と同様に本発明にも等しく適合できる公知の様々な要素を変更することはないが、この継手は、次の関係に基づく継手要素を含んでいる。圧縮リングすなわちガスケット押え11は、スピゴット10上に配置され、ガスケット2は、スピゴット10の外周に配置されている。そして、スピゴット10は、スピゴット10の端部41がベル12内の環状肩部42によって止められるまで、ベル12内へ進入する。ガスケット2は、図示されるように環状の凹部シート43に着座するまでベル12内に進入する。そして、ガスケット押え11は、
ガスケット2に当接して、締結装置44によってベル12に締結され、この締結装置44は、開口46に挿通されてナット47に係合するボルトとしてここに記載されている。明らかなように、ナット47の引き付けすなわち締付けによって、ガスケット押え11がガスケット2に押付けられて、これを圧縮する。オーバーセンタクランプ、カムロック、傾斜した楔、傾斜した環状リング及びリベット等の他の締付け手段が当業者には明らかであり、ガスケット押え11とベル12との間の軸方向の間隔を減少させるために使用できるあらゆる機構がここに含まれる。凹部シート43とガスケット押え11との強制によって、ガスケット2の変形が主に径方向内側へ向けられて、スピゴット10とのシール係合に向けられる。ここに開示された発明は、この相互関係を構築し、スピゴット、ベル又はガスケット押えの変更を必要とせず、そのような修正が別途望まれたならば、そのような変更を本発明の範囲に含ませることができる。
従来技術において公知のように、従来の理解は、自然状態におけるガスケット2の輪郭は、ガスケット2を最終的に組付けようとする場所におけるベル12の内部の輪郭にほぼ一致することが推奨されている。そのように輪郭を一致させる目的は、ガスケット2をベル12に緊密に合せて流体のシールを強化できるようにするためである。図示の実施形態では、従来の知識は、ガスケット2の径方向外側の輪郭をベル12の凹部シート43とほぼ同じ形状とすることを推奨している。図1に示されるように、自然状態において、従来技術のガスケットの主な係合表面は、ベル12の内側表面にスムースに係合する。したがって、従来技術のガスケットにおいて、組付け後のシール境界のそれらの領域におけるガスケットの輪郭は、自然状態におけるガスケットの輪郭とほぼ同じである。
図2及び図8に記載されているように、本発明のロックセグメント1は、ベル、ガスケット押え又はスピゴットの形状の変更を必要とすることなく、いずれの標準メカニカル継手の中にも嵌合するように形成されたガスケット2の中に嵌合するように構成されている。ガスケット2は、エラストマー材料、他の弾性材料又は変形可能な材料であり、メカニカル継手の実施に使用される当業者が理解するようなものである。ガスケット2の有利な形状は、図3に示されるように、スピゴット10に接触する径方向内側表面4、ガスケット押えすなわち圧縮リング11によって圧縮されるグランド表面7、軸方向の挿入を導く前表面61及び自然状態においては凹部シート43にスムースに嵌合しない図示のような形状の径方向外側表面を有する環状のリングである。特に、図示された実施形態では、ガスケット2の径方向外側表面は、ガスケット2の前部の前表面61の付近に圧縮シート表面9を有しており、この圧縮シート表面9は、凹部シート43の領域に嵌合してシールを行う。また、図示の実施形態を特徴付けるのは、ガスケット2の輪郭が再び径方向外側へ延びて後部シール64の領域でベル12に嵌合する前に、自然状態において凹部シート43から離れて径方向に凹んだ溝63を形成する歪制御表面62である。歪制御表面62は、溝63内へ通じ、ガスケット2の中心軸に対して5度から20度の間の角度で配置されている。これらの表面は、ここに説明したように、図面において容易に区別することができるが、これらの表面の変化は、圧縮されない状態では、図示された形状におけるのと同じように、容易に明白にはならない。図示の実施形態では、ガスケット2は、ANSI/
AWWA C111/A21.11−95の全ての要求に合致する。特に、あらゆる所与のスピゴット10に対して、ガスケット2は、スピゴット10の外径よりも僅かに小さい内径を有する。したがって、スピゴット10の外側のガスケット2の配置は、一般的に、ガスケット2を拡張してスピゴット10の周りに密着させる力を生じることを要求する。
あるいは、環状の(径方向の)凹みである溝63は、ガスケット2が自然状態(すなわち変形前)において可能なだけ完全にベル12内に進入され、回転されて変形することなく可能なだけ多く凹部シート43の領域でベル12に接触したとき、ガスケット2と凹部シート43との間に空隙が残り、溝63がそのような凹みすなわち空隙になるという事実によって特徴付けられることに注目されたい。図2及び図4に示されるように、この実施形態では、圧縮及び組付の進んだ段階中でも、溝63の部分は、ガスケット材料の空隙として残る。他の実施形態では、溝63は、ゴムのフィルムによって覆われ、あるいは、ガスケット2の径方向外側表面の下の空隙として、本発明の技術的思想及び範囲において溝63として作用するようにしてもよい。
本発明の構造、効果又は範囲の適用、若しくは、他の本発明の実施によって可能な利点を制限することなく、この空隙を有することの作用的な特徴は、図示の実施形態において、少なくとも2つの利点を得ると考えられ、その一方のみが技術的な利点となる。出願人は、これらの利点の1つ又はそれ以上を有する実施形態のみについてのこの検討によって本発明を限定しないことに注意すべきである。第一に、圧縮シート表面9の圧縮及び異なる場所において凹部シート43に対する歪制御表面62の分離は、シール効果を増強するように凹部シート43との初期接触の点の間で多段階の圧縮を有する2つの分離したシール領域を生じると考えられる。また、ガスケットランド49に押付けられる後部シール64は、更に他のシール領域を生成する。これは、ガスケット2のその領域における少なくとも一点に対して最大圧力を生じて、高い流体漏れ圧力に耐えるのに役立ち、更に、柔軟性及び他の高圧表面領域低圧シールの利点を得ると思われる。
第二の認識される利益は、ロックセグメント1の動きの作動上の効果であり、これについては、以下に更に詳細に説明する。
ガスケット2は、少なくとも1つのロックセグメント1を含み、このロックセグメント1は、図5に示されるように形成され、また、図8に示されるようにガスケット2に埋め込まれる。本発明の通常の実施では、ガスケット2に複数のロックセグメント1が円周方向に分散され、この配置は、好ましくは正確に又はほぼ対称とされるが必須ではない。これらのロックセグメント1の数は、継手に作用する予想される分離しようとする力に関連して選択することができ、力がより大きいほど、より多くの数のロックセグメント1が推奨される。本発明者は、3つ以上のロックセグメント1を推奨するが、本発明はこれに限定されない。例えば、350psiの圧力の流体を移送しようとする8インチ直径の管に使用するのに好ましいロックセグメント1の構造は、ガスケット2(例えば径方向内側表面4)の円周方向に対向するスピゴットの周りに等間隔で8乃至10個のロックセグメント1を含む。あるいは、ガスケット2の円周(少なくともその寸法の2分の1)に対して適用可能な単一のロックセグメント1を使用してもよい。
分離しようとする力(図1においてベクトル50、50a及び50bとして図式的に示される)は、スピゴット10をベル12から抜こうとする。矢印50によって表されるように、いくつかの分離しようとする力は、組付けられた2本の管の共通軸と平行である。他の分離しようとする力は、ベクトル50a及び50bで示されるように、軸と平行でなく、これは、取付台の移動又はスピゴット10の周囲の締結の不均一によるものである。ロックセグメント1は、スピゴット10の把持及び分離しようとする力のベル12に対する力の少なくとも一部への変換を意図するものである。ロックセグメント1は、少なくともガスケット2がガスケット押え11によって圧縮されたとき、ガスケット2の内側表面4から突出する複数の歯6を有している。歯6は、スピゴット10に接触し、好ましくはスピゴット10の外側を構成する材料よりも硬い物質で作られている。特定の実施形態では、歯6は、図8に示すように、ガスケット2が圧縮されない状態において、既に内側表面4から露出されている。この露出は、内側表面からの突出により、又は、歯6を覆うガスケット材料の切欠きによって内側表面4の下部を僅かに凹ませることによってなすことができ、これは、図3以下に図示される実施形態である。図3及び図8に示されるように、ガスケット2は、歯6に対して凹部が形成され、その歯6のスピゴット10への食込みに干渉しないようにする。他の好ましい実施形態では、ガスケット2の中に僅かに凹まされて圧縮性又は穴あけ可能な材料の膜又は薄い層で覆われた歯6を設けている。本発明者は、歯6の間又は歯6に直接隣接する少なくともいくらかの領域は、ラバーがなくてスピゴット10の貫通を許すことを提案する。初期に隠れていることの利点は、歯6のスピゴット10への実質的な係合の前に、ガスケット押え11をより大きく前進させることができ、これにより、ガスケット2をより大きく圧縮できることである。これにより、より大きなシール効果を達成することができる。
好ましくは、ロックセグメント1は、複数の歯6を有している。実験された形状では、歯6の尖端は、アーチ状に配置されている。このアーチ状の配置は、スピゴット10の外周又はベル12の内側寸法の変更にかかわらず、歯6がスピゴット10を噛む能力を増強する。これは、スピゴット10とベル12との間の隙間が大きいことにより(製造公差によることが多い)、組付けの際、ガスケット2が圧縮されたとき、ロックセグメント1が図2に示される非圧縮形状にあるよりも急な角度に回動するからである。歯6がアーチ状にされることにより、ロックセグメント1が回動したとき、最も軸方向内側の歯が回動してスピゴット10に接触する。このアーチ形状は、更に、ロックセグメント1の回動にかかわらず、少なくとも2つの歯6をスピゴット10に接触させるようにする。これは、このアーチ形状において、いずれの隣接する歯6の間にも直線を描くことができるからである。両方の噛み込む歯6のそれぞれの側に追加の歯6があることは、これらの隣接する歯6がスピゴット10に対する角度が噛み込むために最適に配置されないようになり、これらの隣接する歯6は、スピゴット10に噛み込む歯6よりもスピゴット10に対して実質的により平行な角度でスピゴット10に接触するという事実により、ロックセグメント1によるスピゴット10への過度の噛み込みの防止を補助するという利益を得る。したがって、より平行な角度のため、隣接する歯6は、更なる噛み込みに対するストッパとして作用する。
図5に詳細に示される形状において、ロックセグメント1の断面は、上述のようにそこからアーチ状に延びる歯6を有する歯付エッジ16と、突起17ヘ向かう傾斜にそって径方向及び軸方向に延びる後表面13とを有している。後表面13は、図示のように、メカニカル継手が組付てられたとき、ガスケット押え11にぴったりと近接又は直接接触するようになっている。突起17には、歯付エッジ16と共に軸方向に内側へ向かって、圧縮表面15を表す1つ又は一連の表面が続いている。この実施形態では、後表面13は、この継手が組付てられたとき、ガスケット押え11にぴったりと近接し、このロックセグメント1の最も径方向外側の領域は、ベル12のガスケットランド49にぴったりと近接する。ガスケット2のエラストマー材料の体積は、後表面13とガスケット押え11との間よりも、圧縮シート表面9(実際には、その肩部)とロックセグメント1との間のほうがより大きい。
スピゴット10のガスケット2への挿入時に、ロックセグメント1の歯付エッジ16は、スピゴット10によって径方向外側へ押され、ロックセグメント1の回動運動が生じる。ロックセグメント1の圧縮表面15と凹部シート43との間にある圧縮可能な材料の体積は、ガスケット2が破損することなく、ロックセグメント1が外側へ移動すなわち回動するように考慮される。歯付エッジ16に沿った歯6のアーチ形状が与えられることにより、径方向外側へ回動されたときでも、少なくとも1つの歯6は、圧縮したときスピゴット10に接触するようにバランスされる(一方で、本発明者は、以下説明するように、ロックセグメント1の歯6がガスケット2から凹まされることにより、あるいは、ガスケット2が完全に圧縮されたとき、その材料又は物質が少なくとも1つの歯6のスピゴット10に対する有効な把持を妨げない限り、エラストマー材料又は他の物質の薄い層の存在により、歯6の少なくともいくつかはスピゴット10との直接的な物理的接触から離れることができることを本発明者は本発明の範囲内で認識している)。スピゴット10は、従来技術のように、環状の肩部42によって止められるまで進入することができる。
スピゴット10のベル12へのそのような挿入に続いて、ガスケット2は、基本的に図2に表される位置に配置され、ガスケット2は、ある程度、凹部シート43に既に接触している。いずれにしても、シール及び継手の締結の効果を充分に奏するようなガスケット2の実質的な圧縮は、この段階ではなされていない。ガスケット2、グランド表面7及びベル12に対してガスケット押えのリップ71が進行することによって更なる組付が行われる。当業者には明らかなように、このガスケット押え11の進行は、ガスケット2との接触によってガスケット2を凹部シート43の内側へ押付け、又は、さらに力強く押付ける。図4に示されるように、ガスケット2、図示された実施形態においては特に圧縮シート表面9は、凹部シート43に当接して変形する。ガスケット2の変形は、特に歪制御表面62の領域では、図示された実施形態においてロックセグメント1の実質的な回動に先立って生じる。この組付操作段階は、初期段階と考えられ、ロックセグメントのほぼ並進運動を特徴とする。ロックセグメント1に作用する力は、ロックセグメント1の後表面13に作用させるガスケット押え11と、ロックセグメント1、スピゴット10及びベル12の間に拘束されるガスケットラバーに蓄えられる圧縮エネルギとの間で主にバランスされる。この圧縮エネルギは、「圧力中心」として知られる位置でロックセグメント1に作用し、この圧力中心は、図示された実施形態では、ロックセグメント1に作用するガスケット押え11によって付与される力のベクトルとほぼ一直線であると考えられる。
ガスケット押え11が図4に示される位置を超えて進み続けることにより、ロックセグメント1が回動する。組付操作のこの段階は、過渡段階であり、ロックセグメント1の並進運動の量が比較的減少してロックセグメント1の回動運動の量が比較的増加することを特徴とする。換言すると、ガスケット押え11によって付与される入力に対して、上部の突起17が歯6よりも速い速度でベル12内へ進入する。この現象は、ガスケット2が圧縮されることにより、ガスケット2に蓄えられた圧縮エネルギの圧力中心がロックセグメント1の歯6により近づき、上部の突起17から離れるように移動するからである。この段階でのロックセグメント1の回動は、溝63によって影響され、ガスケット2の圧力中心の歯6へ向かう移動に関係している。溝63が圧縮に対して最も抵抗が少ない、したがって、変形に対して最も抵抗が少ない領域を与えるので(ラバーは変形するが圧縮されないことが当該技術において知られている)、ロックセグメント1の上部(図面上で見て)が溝63へ向かって回動して、ガスケット材料がその領域の中へ変形することによって溝63の寸法が減少する。
ガスケット押え11が進行することにより、ロックセグメント1がスピゴット10及びベル12の両方に抵抗をもって接触する所まで、ロックセグメント1は、ほぼこのような方法で回動し続ける。この組付操作段階は、最終段階として知られ、図示された実施形態では、ロックセグメント1の実質的な回転運動及び溝63の実質的な潰れを特徴とする。このロックセグメント1及びガスケット2の態様は、図5に描かれている。本実施形態における抵抗を伴う接触は、特にロックセグメント1の歯6及び突起17と、対応するスピゴット10及びベル12の継手表面との間である。組付の最終段階に入るまで、歯6がスピゴット10に抵抗をもって接触又は突起17がベル12に抵抗をもって接触した場合、この接触は摺動性であることがわかる。溝63がほぼ潰れて組付の最終段階が開始したとき、更なるガスケット2の変形は、極端に制限されて、ロックセグメント1の更なる軸方向への移動を阻止する。ガスケット押え11とベル12との間の締付け機構(例えばボルト44)に作用される付加的なクランプ力は、ガスケット押え11及びロックセグメント1の接触によって生じる力のベクトルと、ガスケット2の圧力中心とロックセグメント1との間の力のベクトルとのアンバランスによって、ロックセグメント1に大きな回動エネルギを付与する。ロックセグメント1の更なる回動は、スピゴット10及びベル12の塑性変形によって、ロックセグメント1の歯6によるスピゴット10への噛み込み及びロックセグメント1の突起17によるベル12への噛み込みを発生させる。この噛み込みは、ロックセグメント1によるスピゴット10とベル12との間のメカニカルロックを提供し、これにより、継手の拘束が得られる。
挿入に引続き、前述の説明から少なくとも1つの歯6がスピゴット10に把持接触し続け、また、突起17がベル12に接触し続けることが明白になる。スピゴット10をベル12の外側へ移動させようとすると、この少なくとも1つの歯6をスピゴット10と共にベル12の軸方向外側に移動させようとするが、後表面13とガスケット押え2のリップ71との間の抵抗をもった接触、及び、ロックセグメント1、ベル12及びスピゴット10の間の径方向圧力と同様に軸方向の抵抗を生じさせる方向のロックセグメント1の回動によって軸方向の移動は不可能である。この軸方向の抵抗すなわち拘束は、スピゴット10とベル12との間の間隔よりもロックセグメント1の長さを大きくする方向のロックセグメント1の回動によって生じる。ベル12及びスピゴット10に付与される軸方向の荷重と径方向の荷重との間のバランスは、本発明の性能に影響し、ロックセグメント1の形状に影響される。ベル12とスピゴット10とを分離しようとする力が増大すると、ロックセグメント1によってベル12及びスピゴット10に付与される軸方向の抵抗も増大する。また、付与される径方向の荷重は、ロックセグメント1の歯6及び突起17がスピゴット10及びベル12にそれぞれ係合するのを保持する。その径方向成分が小さすぎる場合、ロックセグメント1は、スピゴット10又はベル12から離脱する。その径方向成分が大きすぎる場合、ロックセグメント1によるスピゴット10の過度の変形又は噛み込みが生じる可能性がある。
この特徴は、示された他の実施形態でも同様、特に利点を表すが、これらの特徴及び利点の有無は、それぞれ特定の請求項の限定としてのみ、本発明の範囲に必要とされることを本発明者は注意する。本発明者は、請求の範囲に明確に含まれる範囲を除き、これらの利点、構造又は可能性は、本発明の限定とは考えない。
スピゴット及びベルの製造公差は、正確でなく、したがって、いくつかの設置例では、凹部シート43等のベル12の特性を含むスピゴット10とベル12との間の間隔は、他の設置例のその間隔よりも大きくなったり小さくなったりする。ロックセグメント1の上述の実施形態では、スピゴット10と凹部シート43との間の隙間は、意図されたものか、それよりも小さく、ガスケット押え11の締付時に、ロックセグメント1の少なくとも1つの歯がスピゴット10へ移動され、上部の突起17がベル12へ移動される。本発明者は、ガスケット材料の支持圧力によって、ロックセグメント1は、ベル12、スピゴット10及びガスケット2の間のほぼ有効なシールが圧縮によって有効とされるまで、スピゴット10に噛み込まない。したがって、歯6は、ガスケット2の最適な圧縮を得る能力を反対に作用させることによって、スピゴット10に過度に早期に係合することができない。この遅延された係合は、上述の手段、すなわち、ガスケット2の形状、特に溝63、圧縮シート表面9、歪制御表面62、ガスケット2のエラストマー特性、ロックセグメント1の形状、ガスケット2におけるロックセグメント1の位置又はこれらの特徴の様々な組合せによって作動させることができる。ガスケット押え11に加えてベル12との接触によって、分離させる力は、ロックセグメント1によってガスケット押え11に対してだけでなく、ベル12に対しても伝達される。これは、ボルト45及びガスケット押え11によって抵抗される潜在的な実質的な力を減少させることで重要である。ボルト44及びガスケット押え11が歪めてガスケット2のシール効果を減少させる高荷重下において、ロックセグメント1を介してベル12へ向かう分離させる力のベクトルの大きさが非常に大きい部分を転換する本発明の能力によってシール効果を高めることができる。
スピゴット10とガスケット2の凹部シート43との間隔が比較的小さい前段落のような状況に対して、その隙間が大きい場合、以下のように、ロックセグメント1において、過大な回動動作が生じると考えられる。
大きな隙間がある状態では(例えば、製造公差及び組付状態が、ベル12の寸法が最大直径状態でスピゴット10の寸法が最小直径状態であるようなとき)、組付初期に、ガスケット2又はロックセグメント1のいずれもスピゴット10又はベル12のいずれか又は両方に接触しない。前述のように、スピゴット10、ガスケット押え11及びベル12によってガスケット2に作用されてガスケット2をスピゴット10及びベル12の両方に押付ける圧縮力によって過渡段階中にガスケット2の変形が生じる。しかしながら、この段階では、ロックセグメント1は、まだスピゴット10及びベル12のいずれにも接触していない。組付の過渡段階の終わりが近づくと、ガスケット2の圧縮によって生じるガスケット2の弾性変形によってガスケット2の溝63が閉じて、上述のように圧縮されたガスケット2の圧力中心の移動及びそのロックセグメント1との関係によって、ロック部材1の急激な回動が生じる。この急激な回動は、ロックセグメント1を大きな隙間に橋渡しできるようにし、さもなければ、この大きな隙間は拘束が不可能である。そして、上述のように、組付けの最終段階が進行して、歯6をスピゴット10に噛み込ませ、突起17をベル12に噛み込ませる。
ロックセグメント1の一実施形態において、上部の突起17は、角ばった形状に形成することができる。そのような角ばった形状は、ロックセグメント1とベル12との間に充分な圧力がかけられたとき、その部分がベル12に噛み込む。そのような噛み込みは、いずれにせよ適当な高圧下で生じるが、実際には、上述の小さい隙間の状況では、この噛み込む傾向は、その角度の鋭さを調整することによって制御することができる。本発明者は、いずれかの所与の段階で角度がより鋭いほど、圧力曲線に沿ってより早くその段階でベル12に噛み込むようになることに注目する。したがって、上部の突起17の角度の鋭さを調整することによってロックセグメント1の最終的な回動の所望の位置へ向かう傾向を調整することが可能であり、順次、上部の突起17の予想される最大の径方向外側への移動を調整することができる。上部の突起17をベル12へ移動させるのに充分な圧力では、ロックセグメント1の回動は、実質的に阻止され、ロック部材1、スピゴット10又はベル12のいずれかの塑性変形の状態下で生じることに注意すべきである。この機構は、ロックセグメント1の回動と係合のポイントの制御とのバランスに使用することができる。
同様に、上部の突起17が丸みを帯びた形状に形成されている場合、ロックセグメント1の移動は、上部の突起17がベル12に圧縮されずに当接するまでロックセグメント1の軸方向の移動が許容されるように調整され、この位置は、上部の突起17でロックセグメント1に作用する軸方向及び径方向の力が回動中心をその付近に配置させるものである。このバリエーションは、ロックセグメント1の係合の更なる制御及び本発明のコンポーネントにかかる全ての荷重に対して分配された軸方向及び径方向の荷重のバランスを可能にする。
図7に示されるように、他の実施形態は、ロックセグメント1の後表面に曲り部3を含んでいる。曲り部3は、過渡組付段階の初期段階において、拘束装置44の締付け中に、ガスケット押え11に接触する。曲り部3の位置及び形状は、回動、係合及びロックアップ中のロックセグメント1の挙動を更に変化させるようにされている。曲り部3の位置及び形状は、ロック部材1の挙動を変化させるために修正された曲り部3のいくつかの特徴を表すことによって更に説明することができる。曲り部3が急な曲率である場合、曲り部3は、その接触点でガスケット押え11に噛み込むようにすることができる。この噛み込みは、最終組付け段階が完了したとき、ロックセグメント1の更なる回動に追加の抵抗を付与し、これにより、ロックセグメントの軸方向及び径方向の荷重の分配がバランスしたとき、ロック部材1の作動線の角度の依存がいくらか解放される。加えて、曲り部3は、ロックセグメント1の径方向外側又は内側に配置することができる。曲り部3をロックセグメント1の径方向外側に配置すると、組付過渡段階中にロックセグメント1の回動傾向が増大して、ロックセグメント1のより早期の係合及びロックアップを促進する。曲り部3をロックセグメント1の径方向内側に配置すると、これに対応して反対の効果が得られる。
曲り部3が、上部の突起17がベル12に噛み込むのと同時にガスケット押え11に噛み込むようにした場合、軸方向及び径方向の両方の荷重がベル12に伝達される状況が生じるが、これらは、複数の荷重経路に沿ってバランスする。
曲り部3及び上部の突起17の角度の変更の発想を追加することによるそれらの点の間の変移は、図2のものよりも明白なものではない。実際は、この変化は、曲り部3及び上部の突起17の両方として作用する共通の曲線となるように円滑に行われる。曲線は、曲線の曲率半径を変更することによって、又は、小さな塊又は係合点(本発明の目的によって曲り部3又は上部の突起17と考えられる)として作用する他の点を含むことによって、有効に噛み込むようにすることができる。
上述のものに含まれるか、あるいは、溝63又は溝63の周りの領域が変更された更なる他の実施形態は、ガスケット2の他の部分とは異なる変形特性を有する第2又は第3のエラストマー材料の戦略的な配置を含む。この戦略的な配置は、ロックセグメント1の上部の突起17の近くに前面の傾斜15の配置を最適に含む。この配置は、環状の凹部シート43へ向かって移動する上部の突起17の潜在能力に影響し、これにより、上部の突起17のベル12への噛み込み前に、上部の突起17の実質的な回動を停止させる。同様に、そのような第2又は第3のラバーは、曲がり部3の径方向外側に配置されて、曲り部3がスピゴット10の径方向外側へ移動する最大能力に影響する。
上述の多くがメカニカル継手の初期装着に関して検討されているが、本発明者は、本発明の使用の価値及び適用性は、現存するメカニカル継手を「改造」すなわち修復することに注目する。簡単に再結合可能なガスケット2のリングの切離し(好ましくは半径方向の角度で)によって、ガスケット2は、既存のスピゴットに嵌合することができ、古いガスケットを取外した後、適当な位置へ移動させることができる。そして、ガスケット押え11は、再度取付けることができ、標準のメカニカル継手のガスケット−拘束メカニカル継手への改造を完了することができる。
以上は、この開示の発明の教示と共に、本発明の範囲及び実施の中で、工業的技術に基づいて、当業者がその技術の通常の技量を用いてこれらの実施形態及び他の実施形態を作ることができるように、本発明の原理及び実施を当業者に教示するために選択された本発明の特定の例示的な実施形態を表している。本発明者は、本発明は、多数の特定の実施形態を有するが本発明の範囲は、提出された請求の範囲を超えて限定されるものではないことを強調する。本出願人が特に宣言した場合を除いて、図示の実施形態に関連する詳細な説明において一貫して使用するいかなる用語も、一般的にその用語が理解されているよりも狭い特定の意味に限定することを意図しているものではない。
適当にガスケットを有する一般的なメカニカル管継手を示す図である。 本発明の初期段階で圧縮されていないガスケットのロックセグメントの配置及び断面が見られる場所における縦断面を示す図である。 ガスケットの一実施形態の縦断面を示す図である。 過渡段階における組付中の継手のガスケット及びロックセグメントを示す図である。 本発明に役立つロックセグメント形状の一実施形態を示す図である。 圧縮されてロック状態で拘束した後の本発明の継手を示す図である。 本発明のガスケットに役立つロックセグメントの他の実施形態を示す図である。 他の実施形態のロックセグメントを適用した本発明に使用するガスケットを示す縦断面図である。

Claims (15)

  1. ガスケット押えを使用して雄管部分を雌管部分に接続するとき、スタッフィングボックスアセンブリ内で使用するための拘束ガスケットであって、
    a)スピゴット−対向表面と、組立状態において前記雌管部分の内側表面に対向する径方向外側表面と、ガスケット押え−対向表面と、前記径方向外側表面に径方向内向きに配置された溝とを有する圧縮可能な本体と、
    b)歯部及び該歯部の径方向外側に配置された上部突起を有し、前記ガスケット押えによって当該拘束ガスケットが圧縮されたとき、前記圧縮可能な本体に対して回転して、前記歯部の少なくとも一部が前記雄管部分に係合し、前記上部突起の少なくとも一部が前記雌管部分に係合するように配置されたロック部材とを備えていることを特徴とする拘束ガスケット。
  2. 前記溝は、当該ガスケットの前部と前記ロック部材の径方向最も外側の領域との間に配置されていることを特徴とする請求項1に記載の拘束ガスケット。
  3. 前記溝は、前記径方向外側表面の外形の一部を形成することを特徴とする請求項1に記載の拘束ガスケット。
  4. 前記径方向外側表面は、圧縮シート表面及び歪制御表面を含み、前記歪制御表面は、前記溝内へ通じ、当該ガスケットの中心軸に対して5度から20度の間の角度で配置されていることを特徴とする請求項3に記載の拘束ガスケット。
  5. 前記溝は、前記径方向外側表面の下方の空隙であることを特徴とする請求項1に記載の拘束ガスケット。
  6. 更に、変形特性の異なる複数の領域を備え、該領域の変形特性によって前記ロック部材を移動させることを特徴する請求項1に記載の拘束ガスケット。
  7. a)ガスケットの一部をベルとスピゴットとの間にシール関係で押込み、
    b)ステップ(a)の後に、前記ガスケットを圧縮して、該ガスケットの溝の少なくとも一部を潰し、
    c)ステップ(b)の開始の後に、ロック部分を回動させて前記ベルと前記スピゴットとの間に抵抗をもって接触させるステップを備えることを特徴とする拘束メカニカル継手の組付方法。
  8. 前記溝は、前記ガスケットの径方向外側表面の下方の空隙であることを特徴とする請求項7に記載の組付方法。
  9. 前記溝は、前記ガスケットの径方向外側表面の環状の凹みであることを特徴とする請求項7に記載のアセンブリ方法。
  10. 圧縮に応答して変形したとき、その圧力中心が変化することにより、内部に埋め込まれたロックセグメントを回転させることを特徴とするスタッフィングボックスアセンブリ内で使用するための拘束ガスケット。
  11. 圧力中心は、圧縮可能な空隙又は溝によって変化することを特徴とする請求項10に記載の拘束ガスケット。
  12. 径方向内側に少なくとも1つの歯が配置されたロックセグメントを備えていることを特徴とする請求項10に記載の拘束ガスケット。
  13. 前記ロックセグメントは、径方向内側に配置された複数の歯を備え、該歯の少なくとも2つの間の領域は、ガスケット材料が欠けていることを特徴とする請求項12に記載の拘束ガスケット。
  14. 雄管部分を雌管部分に接続するとき、スタッフィングボックスアセンブリ内で使用する拘束ガスケットとガスケット押えとの組合わせであって、
    前記ガスケット押えは、前記雌管部分に堅固に結合され、前記拘束ガスケットは、
    a)スピゴット−対向表面と、径方向外側表面と、前記ガスケット押えに接続するガスケット押え−対向表面と、径方向外側表面において、前記拘束ガスケットを間に入れて前記ガスケット押えを前記雌管部分に連結したとき、前記雌管部分に当接する表面と、ロック部材の径方向最も外側の領域との間に配置された径方向内向きの溝とを有する変形可能な本体と、
    b)少なくとも一部が前記溝と前記ガスケット押え−対向表面との間に配置され、歯部及び前記本体に埋め込まれた本体部分を有し、前記ガスケット押えによって前記拘束ガスケットが圧縮されたとき、回転して前記歯部の少なくとも一部が前記雄管部に係合するように配置された前記ロック部材とを備えていることを特徴とする拘束ガスケットとガスケット押えとの組合わせ。
  15. スタッフィングボックスアセンブリ内で使用する拘束ガスケットとガスケット押えとの組合わせであって、
    前記拘束ガスケットは、ロックセグメントを含み、前記ガスケット押えのベルへの締付けに応答する変形によって、その圧力中心が変化して、変形の段階中にロックセグメントが軸方向に移動し、変形の次の段階で、続いて前記ロックセグメントが回転し、
    ロックセグメントは、径方向内側に面した少なくとも1つの歯部を有し、また、前記拘束ガスケットの溝がつぶれることによって、前記ロックセグメントの径方向外側端部が径方向内側端部よりも大きく移動するように前記拘束ガスケット内に配置されていることを特徴とする拘束ガスケットとガスケット押えとの組合わせ。
JP2005510604A 2003-10-15 2003-10-15 管のメカニカル継手用の付勢拘束ガスケット Expired - Fee Related JP4411489B2 (ja)

Applications Claiming Priority (1)

Application Number Priority Date Filing Date Title
PCT/US2003/032648 WO2005047745A2 (en) 2003-10-15 2003-10-15 Energized restraining gasket for mechanical joints of pipes

Publications (2)

Publication Number Publication Date
JP2007521443A JP2007521443A (ja) 2007-08-02
JP4411489B2 true JP4411489B2 (ja) 2010-02-10

Family

ID=34589271

Family Applications (1)

Application Number Title Priority Date Filing Date
JP2005510604A Expired - Fee Related JP4411489B2 (ja) 2003-10-15 2003-10-15 管のメカニカル継手用の付勢拘束ガスケット

Country Status (8)

Country Link
EP (1) EP1673568A4 (ja)
JP (1) JP4411489B2 (ja)
CN (1) CN100504133C (ja)
AU (1) AU2003282837B2 (ja)
CA (2) CA2536500C (ja)
MX (1) MXPA06003795A (ja)
RU (1) RU2336454C2 (ja)
WO (1) WO2005047745A2 (ja)

Families Citing this family (16)

* Cited by examiner, † Cited by third party
Publication number Priority date Publication date Assignee Title
US7104573B2 (en) 2000-06-08 2006-09-12 United States Pipe And Foundy Company, Llc Energized restraining gasket for mechanical joints of pipes
US7108289B1 (en) 2000-06-08 2006-09-19 United States Pipe And Foundry Company, Llc Restraining gasket for mechanical joints of pipes
WO2005031174A2 (en) 2003-09-25 2005-04-07 United States Pipe And Foundry Company, Llc Centroidally twistable compression ring for pipe joints
FR2907877B1 (fr) * 2006-10-31 2012-06-22 Saint Gobain Pont A Mousson Jonction tubulaire
CN103148293B (zh) * 2009-01-27 2015-07-29 株式会社久保田 管接头
UA92680C2 (uk) * 2009-05-05 2010-11-25 Открытое Акционерное Общество "Укргидропроект" Конструкція напірних сталезалізобетонних (залізобетонних) водоводів в м'яких ґрунтах
US20110291409A1 (en) * 2010-06-01 2011-12-01 Kennedy Jr Harold Pipe Gripping Elements with Buttress Pockets and Pipe Joint Restraints Incorporating Same
CN102683571A (zh) * 2012-05-31 2012-09-19 华南理工大学 一种大功率led散热结构
CN104913132B (zh) 2014-03-10 2019-05-10 科斯摩工机股份有限公司 流体管的脱离防止装置和管接头
WO2017169531A1 (ja) * 2016-03-28 2017-10-05 株式会社クボタ 管継手、離脱防止部材および管の接合方法
US11774012B2 (en) 2018-09-18 2023-10-03 Asml Netherlands B.V. Apparatus for high pressure connection
CN109084105B (zh) * 2018-10-26 2023-08-29 江苏格睿特管网工程有限公司 钢筋混凝土推进管环槽型接头连接结构
CA3057911A1 (en) 2019-10-08 2021-04-08 Ipex Technologies Inc. Push-fit pipe fitting
US11204114B2 (en) 2019-11-22 2021-12-21 Trinity Bay Equipment Holdings, LLC Reusable pipe fitting systems and methods
CN113738983B (zh) * 2020-12-11 2023-03-24 上海威逊机械连接件有限公司 快装式管件组件及其应用
CN114662345B (zh) * 2022-05-23 2022-08-05 中国二十二冶集团有限公司 大直径虾壳弯管制作方法

Family Cites Families (11)

* Cited by examiner, † Cited by third party
Publication number Priority date Publication date Assignee Title
NL107650C (ja) * 1956-05-28
BE668603A (ja) * 1964-08-20
US3726549A (en) * 1971-09-15 1973-04-10 E Bradley Pipe joint retainer gland
DE3336855A1 (de) * 1983-10-11 1985-04-25 Thyssen Industrie Ag, 4300 Essen Schubgesicherte steckverbindung fuer rohre, insbesondere muffenrohre
US5219189A (en) * 1989-12-11 1993-06-15 Pont-A-Mousson S.A. Composite gasket for the locked assembly of spigot and socket pipes
US5067751A (en) * 1990-07-27 1991-11-26 American Cast Iron Pipe Company Gasket for field adaptable push-on restrained joint and joint thus produced
FR2683609B1 (fr) * 1991-11-07 1995-01-20 Pont A Mousson Joint verrouille pour canalisations.
US5464228A (en) * 1992-11-04 1995-11-07 United States Pipe And Foundry Company Restraining element for pressure pipe joints
FR2708077B1 (fr) * 1993-07-23 1995-09-22 Pont A Mousson Insert de verrouillage électriquement isolant pour garniture d'étanchéité, garniture d'étanchéité correspondante, et procédé de fabrication de tels inserts.
FR2766552B1 (fr) * 1997-07-25 1999-09-03 Pont A Mousson Dispositif pour l'assemblage de deux elements de canalisation, et assemblages d'elements de canalisation en comportant application
US20020017789A1 (en) * 1999-06-16 2002-02-14 Holmes William W. Gland pipe fitting

Also Published As

Publication number Publication date
AU2003282837A1 (en) 2004-06-06
WO2005047745A2 (en) 2005-05-26
CN100504133C (zh) 2009-06-24
AU2003282837B2 (en) 2010-03-04
CA2536500A1 (en) 2005-05-26
CA2709737C (en) 2012-09-25
CA2709737A1 (en) 2005-05-26
JP2007521443A (ja) 2007-08-02
EP1673568A2 (en) 2006-06-28
CA2536500C (en) 2010-11-02
AU2003282837A8 (en) 2005-06-06
MXPA06003795A (es) 2006-06-14
WO2005047745A3 (en) 2005-08-18
RU2336454C2 (ru) 2008-10-20
RU2006110374A (ru) 2007-11-20
CN1860321A (zh) 2006-11-08
EP1673568A4 (en) 2010-07-07

Similar Documents

Publication Publication Date Title
US7104573B2 (en) Energized restraining gasket for mechanical joints of pipes
JP4411489B2 (ja) 管のメカニカル継手用の付勢拘束ガスケット
US7108289B1 (en) Restraining gasket for mechanical joints of pipes
JP5681229B2 (ja) 管継手
EP1180630B1 (en) Pipe coupler and method of coupling
US4097074A (en) Pipe joint construction
US4040651A (en) Self-locking pipe coupling
GB2218768A (en) Pipe coupling with compressible sleeve
JP2001330185A (ja) 耐震継手ならびに耐震管路
GB2303677A (en) Pipe coupling
EP1164325A2 (en) Pipe coupling
JPS60245891A (ja) スラスト力から保護した密閉プラスチツク管ソケツト結合装置
JP3479354B2 (ja) 管接続構造
JP2537578B2 (ja) 管継手
EP0044719A1 (en) Improvements in apparatus for sealing pipes
KR20060038484A (ko) 파이프의 기계적 조인트를 위한 구속 개스킷
CN211735676U (zh) 一种柔性密封锁环连接套及连接结构
JP3861203B2 (ja) 伸縮可撓管継手の仮締用スペーサ及び仮締構造
JP3650904B2 (ja) 耐震異形管継手
EP0312317A2 (en) Pipe couplings
JPH08247359A (ja) 管継手用管離脱防止装置
JP3197655B2 (ja) 管継ぎ手構造
JPH11270764A (ja) 管継手構造
JP2025060432A (ja) 管継手の止水構造及びこれに用いるゴム輪
PL206982B1 (pl) Uszczelka blokująca

Legal Events

Date Code Title Description
A131 Notification of reasons for refusal

Free format text: JAPANESE INTERMEDIATE CODE: A131

Effective date: 20081126

A601 Written request for extension of time

Free format text: JAPANESE INTERMEDIATE CODE: A601

Effective date: 20090226

A602 Written permission of extension of time

Free format text: JAPANESE INTERMEDIATE CODE: A602

Effective date: 20090305

A601 Written request for extension of time

Free format text: JAPANESE INTERMEDIATE CODE: A601

Effective date: 20090325

A602 Written permission of extension of time

Free format text: JAPANESE INTERMEDIATE CODE: A602

Effective date: 20090401

A601 Written request for extension of time

Free format text: JAPANESE INTERMEDIATE CODE: A601

Effective date: 20090427

A602 Written permission of extension of time

Free format text: JAPANESE INTERMEDIATE CODE: A602

Effective date: 20090508

A521 Request for written amendment filed

Free format text: JAPANESE INTERMEDIATE CODE: A523

Effective date: 20090522

TRDD Decision of grant or rejection written
A01 Written decision to grant a patent or to grant a registration (utility model)

Free format text: JAPANESE INTERMEDIATE CODE: A01

Effective date: 20091007

A01 Written decision to grant a patent or to grant a registration (utility model)

Free format text: JAPANESE INTERMEDIATE CODE: A01

A61 First payment of annual fees (during grant procedure)

Free format text: JAPANESE INTERMEDIATE CODE: A61

Effective date: 20091102

FPAY Renewal fee payment (event date is renewal date of database)

Free format text: PAYMENT UNTIL: 20121127

Year of fee payment: 3

R150 Certificate of patent or registration of utility model

Free format text: JAPANESE INTERMEDIATE CODE: R150

LAPS Cancellation because of no payment of annual fees