JP4383358B2 - コネクタハウジングの成形方法及びコネクタハウジング - Google Patents

コネクタハウジングの成形方法及びコネクタハウジング Download PDF

Info

Publication number
JP4383358B2
JP4383358B2 JP2005003909A JP2005003909A JP4383358B2 JP 4383358 B2 JP4383358 B2 JP 4383358B2 JP 2005003909 A JP2005003909 A JP 2005003909A JP 2005003909 A JP2005003909 A JP 2005003909A JP 4383358 B2 JP4383358 B2 JP 4383358B2
Authority
JP
Japan
Prior art keywords
connector housing
core
mold
locking
locking lance
Prior art date
Legal status (The legal status is an assumption and is not a legal conclusion. Google has not performed a legal analysis and makes no representation as to the accuracy of the status listed.)
Expired - Fee Related
Application number
JP2005003909A
Other languages
English (en)
Other versions
JP2006196214A (ja
Inventor
一人 大▲高▼
孝宜 平川
Current Assignee (The listed assignees may be inaccurate. Google has not performed a legal analysis and makes no representation or warranty as to the accuracy of the list.)
Yazaki Corp
Original Assignee
Yazaki Corp
Priority date (The priority date is an assumption and is not a legal conclusion. Google has not performed a legal analysis and makes no representation as to the accuracy of the date listed.)
Filing date
Publication date
Application filed by Yazaki Corp filed Critical Yazaki Corp
Priority to JP2005003909A priority Critical patent/JP4383358B2/ja
Publication of JP2006196214A publication Critical patent/JP2006196214A/ja
Application granted granted Critical
Publication of JP4383358B2 publication Critical patent/JP4383358B2/ja
Anticipated expiration legal-status Critical
Expired - Fee Related legal-status Critical Current

Links

Images

Landscapes

  • Manufacturing Of Electrical Connectors (AREA)
  • Moulds For Moulding Plastics Or The Like (AREA)
  • Connector Housings Or Holding Contact Members (AREA)

Description

本発明は、端子を係止するための係止ランスを無理抜きすることなく樹脂成形することのできるコネクタハウジングの成形方法及びコネクタハウジングに関するものである。
図12は、従来の樹脂部品の成形方法の一形態を示すものである(特許文献1参照)。
この樹脂部品59は成形型51で成形され、成形型51は、下側の固定金型52と上側の可動金型(図示せず)と、固定金型52に進退自在に設けられた可動コア53と突き出しピン54とで構成されている。可動コア53の左右において固定金型52に係止ランス形成用の凹部55が設けられ、可動コア53に係止ランス56の突起57を形成するための凹部58が設けられている。
固定金型52と可動金型との間に樹脂材を射出し、図12のように可動金型を上昇させると共に、突き出しピン54と一体に可動コア53を上昇させることで、ハウジング59が固定金型52から抜き出され、図12の状態からさらに突き出しピン54を上昇させることで、係止ランス56が外向きに撓みつつ、係止ランス56の突起57が可動コア53の凹部58から抜き出される(無理抜きされる)。
図13は、成形型で成形される樹脂部品としてのコネクタハウジングの一形態を示すものである(特許文献2参照)。
このコネクタハウジング61は、上下二段に端子収容室63を有し、各端子収容室63の上壁に可撓性の係止ランス62を一体に形成したものであり、係止ランス62は前端にやや傾斜した係止面62aを有し、係止面62aの前方に対向してコネクタ嵌合面側の壁部(前壁)65に型抜き孔64が設けられ、型抜き孔64の下側に相手端子挿入孔67が連続して設けられている。
端子収容室63には後部開口から電線付きの雌端子66が挿入され、係止ランス62で雌端子66の前端上側の突部68が係止される。突部68は矩形筒状の電気接触部69に設けられ、電気接触部69は内側に弾性接触片70を有している。このコネクタハウジング61は上下方向に進退自在なスペーサ71を有し、雌端子66はスペーサ71で二重係止される。各端子66とコネクタハウジング61とでコネクタが構成される。
特開2003−39508号公報(第3頁、図4) 特開2004−39498号公報(図11)
しかしながら、上記図12の樹脂部品の成形方法にあっては、可撓性の係止ランス56を無理抜きする関係で、係止ランス56の変形(それに伴う係止力の低下)や破損を生じやすくなり、係止ランス56の変形や破損を防止するためには、係止ランス56の突起57の後端(アンダカット部である係止面)57aに型抜き方向の傾斜面を形成しなければならず、傾斜面57aで部品(図示せず)を係止するために、係止力(保持力)が低下するという問題があった。
また、図13に示すコネクタハウジング(樹脂部品)61とその成形方法にあっては、係止ランス62の先端側の係止面62aに対する型抜き孔(開口)64をコネクタハウジング61のコネクタ嵌合面側の壁部(前壁)65に形成する関係で、例えば型抜き孔64に相手側の雄端子や係止解除用の治具棒等が侵入して端子66の係止を不意に解除したり、係止ランス62を破損させてしまうという懸念や、ハウジング前壁65において相手端子挿入孔67と型抜き孔64とが連通して、前壁65の強度が低下すると言った懸念があった。
また、図13以外の他のコネクタハウジング(図示せず)において、係止ランスの先端の係止面を成形するのに例えばハウジング前壁の相手端子挿入孔を型抜き孔として使用する場合は、係止ランスの幅横を大きくして係止力を増加させようとすると、相手端子挿入孔の周囲の相手端子拾いテーパ面(図13の符号67a)の幅を含めたコネクタハウジングの横幅が大きくなってしまい、それを防ぐには、相手端子拾いテーパ面(67a)を小さくしなければならず、相手雄端子の挿入性が悪化するという問題を生じてしまう。
本発明は、上記した各点に鑑み、型抜き時にコネクタハウジングの係止ランスを破損させたり、コネクタハウジングの使用時に係止ランスを不用意に破損や係止解除させる心配がなく、また、係止ランスの係止力を高く維持することができ、しかもコネクタハウジングの肥大化を防止することのできるコネクタハウジングの成形方法及びコネクタハウジングを提供することを目的とする。
上記目的を達成するために、本発明の請求項1に係るコネクタハウジングの成形方法は、コネクタハウジングを成形する一方の成形型と他方の成形型と、該一方の成形型に設けられたコア部材とを備え、該コア部材が、第一コアと、該第一コアに沿って相対的に進退可能な第二コアとで成り、該第一コアと該第二コアとが並列に整合した状態で、該第一コアと該第二コアとに係止ランス成形用の溝部が一体的に設けられ、該第二コアの溝部の型抜き反対方向の端部に傾斜面が形成されたコネクタハウジング成形型を用いて、前記一方の成形型と他方の成形型との間に樹脂材を充填し、前記溝部で可撓性の係止ランスを成形し、該樹脂材の固化後に両成形型を開き、該一方の成形型側で前記第二コアを型抜き方向に移動させることで、該係止ランスを撓ませて該溝部から離型させ、その状態でコネクタハウジングを該一方の成形型から離脱させることを特徴とする。
上記構成により、コネクタハウジングの係止ランスが第二コアの傾斜面に沿ってスムーズに押し上げられつつ撓み、係止ランスが撓んだ状態でコネクタハウジングが成形型から離脱されるから、係止ランスの無理抜きがなくなり、係止ランスの傷みや過度の変形が防止される。また、係止ランスの係止面がコネクタハウジングのコネクタ嵌合面側の壁部の型抜き孔を必要とすることなくスムーズ且つ確実に成形される。
請求項2に係るコネクタハウジングの成形方法は、請求項1記載のコネクタハウジングの成形方法において、前記両成形型を閉じた状態で、前記溝部に沿って前記他方の成形型の突板部を位置させ、該溝部と該突板部との間で前記係止ランスを成形することを特徴とする。
上記構成により、溝部がその基部側を除いて突板部で塞がれて、溝部の底面と突板部との間で係止ランスが成形される。両成形型を開いた際に突板部が抜き出され、係止ランスに対する撓み空間と係止解除用の治具棒挿入孔が同軸に連通して成形される。
請求項3に係るコネクタハウジングの成形方法は、請求項1又は2記載のコネクタハウジングの成形方法において、前記両成形型を閉じた状態で、前記コア部材の先端に前記他方の成形型の突部を当接させ、該突部とその基端側のテーパ面で相手端子挿入孔と相手端子拾い面を成形することを特徴とする。
上記構成により、他方の成形型の突部がコア部材の先端に当接した状態で樹脂成形が行われ、突部によってコネクタハウジングの相手端子挿入孔と相手端子拾いテーパ面が成形される。このように、相手端子挿入孔の成形は係止ランスの成形とは別に行われるから、係止ランスの幅を広く成形しても、相手端子挿入孔の幅や相手端子拾い面の幅は係止ランスの幅とは無関係に適宜寸法に設定することができる。
請求項4に係るコネクタハウジングの成形方法は、請求項1〜3の何れかに記載のコネクタハウジングの成形方法において、前記第一コアの溝部の前記型抜き反対方向の端部に垂直面を形成し、該垂直面で前記係止ランスの係止面を成形することを特徴とする。
上記構成により、第一コアの溝端の垂直面で係止ランスの先端に垂直な係止面が成形され、係止ランスの係止面で端子に対する高い係止力が発揮される。
請求項5に係るコネクタハウジングの成形方法は、請求項1〜4の何れかに記載のコネクタハウジングの成形方法において、前記第二コアを一対の前記第一コアで挟んでスライド自在に配置したことを特徴とする。
上記構成により、係止ランスの幅方向中央に傾斜面が成形され、係止ランスの幅方向両側に係止面が成形される。係止ランスの中央の傾斜面は、例えば係止解除用の治具棒を進入係合させるランス撓ませ用の凹部面として作用する。
請求項6に係るコネクタハウジングは、請求項1〜5の何れかに記載のコネクタハウジングの成形方法で成形され、前記係止ランスの前記係止面に対向してコネクタ嵌合面側の壁部を有することを特徴とする。
上記構成により、係止ランスの係止面に対向してコネクタハウジングのコネクタ嵌合面側の壁部に型抜き孔が位置せず、型抜き孔に起因する悪影響が回避される。
請求項1記載の発明によれば、係止ランスの無理抜きがなくなるから、係止ランスの破損や過大な変形による係止力の低下等が防止され、コネクタハウジングの係止ランスの端子係止力が高く維持され、端子に対する係止の信頼性が向上する。
請求項2記載の発明によれば、突板部で溝部を塞いで、溝部内に係止ランスを確実に形成することができる。また、突板部で係止ランス撓み空間と係止解除用の治具棒挿入孔を同時に成形することができる。
請求項3記載の発明によれば、相手端子挿入孔の成形を係止ランスの成形とは別に行うことで、係止ランスの幅を広く成形しても、相手端子挿入孔の幅や相手端子拾い面の幅を係止ランスの幅とは無関係に適宜寸法に設定することができ、これにより、従来の相手端子拾い面が狭くなったり、コネクタハウジングの幅が肥大化したりする問題が解消され、適切な相手端子拾い面を持ったコンパクトなコネクタハウジングを得ることができる。
請求項4記載の発明によれば、係止ランスの垂直な係止面で端子を確実に係止することができ、係止の信頼性が一層向上する。
請求項5記載の発明によれば、係止ランスの両側の係止面で高い係止力を発揮させることができ、また、中央の傾斜面で係止ランスによる端子の係止を解除させることができる。
請求項6記載の発明によれば、従来のような係止ランスの係止面を成形するための型抜き孔が不要となるから、型抜き孔から不用意に治具棒や相手端子等を挿入して係止ランスを破損させたり、端子の係止を不用意に解除させたりする心配がなくなり、端子係止の信頼性が向上する。また、型抜き孔に起因するコネクタ嵌合面側の壁部の強度低下が防止される。
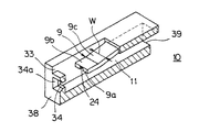
図1〜図10は、本発明に係るコネクタハウジングの成形方法の一実施形態を示すものである。この成形方法によって、図11に示すコネクタハウジング10が成形される。
このコネクタハウジング10(図11)は、端子収容室11に臨む可撓性の係止ランス9を有し、係止ランス9は前端中央に係止解除用の傾斜状の凹部24を有し、ハウジング前壁38の相手端子挿入孔34の上側に横幅方向の隔壁42を介して係止解除用の治具棒挿入孔33を有している。係止ランス9の先端の係止面9aは前方の隔壁42の後面42aに対向している。
端子収容室11には後部開口39から電線付きの雌端子(図示せず)が挿入され、雌端子の箱状等の電気接触部の後端が係止ランス9の前端の係止面9aで当接係止される。コネクタハウジング10と端子とでコネクタが構成される。
図11のコネクタハウジング10を成形する方法として、図1〜図2の如く、コネクタハウジング10(図12)の内側部分である端子収容室11や係止ランス9を形成する一方の成形型1(図4)のコア部材2を用いる。
図1において、コア部材2は、左右一対の対称な固定コア(第一コア)3と、一対の固定コア3の中間に挟まれて位置し、固定コア3に対して後退可能な可動コア(第二コア)4とで構成されている。各コア3,4は、図1で水平に突出した板状の突出部(符号3,4で代用)と、突出部3,4の基端に直交して垂直方向に幅広の基部5,6とで構成されている。各突出部3,4が幅方向に接合して矩形棒状の一本の突出部7を構成している。固定コア3の基部5は一方の成形型1(図4)に固定され、可動コア4の基部6は成形型1とは独立して進退可能である。
コア部材2の突出部7の長手方向中間部において水平な上壁面に係止ランス形成用の溝部8が形成されている。固定コア3の溝部8は、係止ランス9(図12)の先端(前端)の係止面9aを形成する前端の垂直面12と、垂直面12に直交して続く短い水平面13と、水平面13から後方に立ち上げられた緩やかな傾斜面14と、前端の垂直面12に直交して水平面13と傾斜面14との両側に立ち上げられた側端の垂直面15とを有している。
溝部8の前端面12の中央には可動コア4の傾斜面16(図2)が位置している。傾斜面16は本例で45゜程度のもので、可動コア4の上端面から後方に向けて斜め下向きに形成されている。傾斜面16は可動コア4の短い水平面17に交差し、水平面17は後方に立ち上げられた緩やかな傾斜面18に続いている。可動コア4の水平面17は固定コア3の水平面13に同一面に続き、可動コア4の後半の傾斜面18は固定コア3の傾斜面14に同一面で続いている。固定コア3の溝部前端面12が垂直面であるのに対して、可動コア4の溝部前端面16は傾斜面となっている。
図2の如く、可動コア4は左右の固定コア3の間で両固定コア3の垂直な内面19に沿って後方にスライドし、可動コア4の溝部前端の傾斜面16と、傾斜面16の前側に続く突出部分20とが固定コア3の溝部8内に位置する。突出部分20は可動コア4の溝部8aによって形成されたものであり、突出部分20の上端面は可動コア4の後半の上端面や固定コア3の上端面と同一面に位置する。可動コア4が後退することで、一対の固定コア3の前端側の間に隙間(符号19で代用)が生じる。
なお、コア部材2の「上下前後左右」や「垂直、水平」の方向性はあくまでも説明の便宜上のものであり、例えばコア部材2を水平ではなく垂直に配置すれば、「前後」は「上下」となり、「上下」は「左右」となる。
図3〜図10は、本発明に係る成形型41を用いたコネクタハウジング(樹脂部品)の成形方法の一実施形態を示すものである。図3,図5,図7,図9は要部縦断面図で、図4,図6,図8,図10は全体横断面図である。工程順に言えば、図3と図4は対応し、図5と図6は対応し、図7と図8は対応し、図9と図10は対応している。
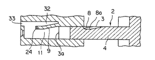
図3,図4は、成形型41を閉じて樹脂材を充填した状態を示している。
図3の如く、一方の成形型1(図4)のコア部材2の前端面は他方の成形型21の突部22の前端面に当接し、コア部材2の前部上端面は他方の成形型21の水平な突板部23の下面に接触し、突板部23の下面とコア部材2の溝部8との間に係止ランス9が樹脂成形され、コア部材2や突板部23の外側にコネクタハウジング10の壁部が樹脂成形されている。係止ランス9には前端の幅方向中央に可動コア4の傾斜面16によって傾斜面24が形成されている。可動コア4の水平面17(図1)と後半の傾斜面18によって係止ランス9の水平部9bと傾斜部9cが形成されている。
図4の如く、一方の成形型1と他方の成形型21との間でコネクタハウジング10が樹脂成形される。一方の成形型1はコネクタハウジング10の後半部を成形する凹部25を有し、他方の成形型21はコネクタハウジング10の前半部を成形する凹部26を有している。一方の成形型1は可動金型として作用し、他方の成形型21は固定金型として作用する。一方の成形型1を固定とし、他方の成形型21を可動とすることも可能である。
一方の成形型1の中央の矩形状の孔部にコア部材2が挿通され、可動コア4のみが進退自在となっている。可動コアの基部6は後方の筒状のスライド部35に一体に続き、スライド部35は中心のシャフト36に沿ってアクチュエータ(図示せず)で進退駆動される。シャフト36は垂直な可動板28に続き、可動板28は後方の基台27内のシャフト延長部37に続き、可動板には少なくとも左右一対の突き出しピン29が前向きに突設され、シャフト延長部37は可動板28及び突き出しピン29と一体にアクチュエータ(図示せず)で進退駆動される。
図4では、突き出しピン29の先端がコネクタハウジング10の後端に接している。他方の成形型21には、後方の基台30から樹脂注入(射出成形)用のゲート31が設けられ、ゲート31は成形型21の凹部26に開口している。
図5,図6は樹脂材を固化させて成形型を開いた状態を示している。
図5の如く、一方の成形型1がコア部材2やコネクタハウジング10と一体的に後退し、一方の成形型1から他方の成形型21の突板部23が抜き出されることで、係止ランス9の撓み空間32と係止解除用の治具棒挿入孔33が同軸上に連通して形成される。係止ランス9はコア部材2の溝部8内に入ったままである。
突板部23の前半下面は係止ランス9の後半の傾斜部9cに対応した傾斜面23aとなっており、係止ランス9の後半の傾斜部9cの基端側は溝部8から上方に露出している。突板部23の前半の左右両側には一方の成形型1の内壁(図示せず)が位置して、係止ランス9の傾斜部9cの基部側の側面を形成する。成形型1の内壁(図示せず)を用いずに溝部8のみで係止ランス9を全長に渡って形成することも可能である。
また、他方の成形型21の突部22が抜き出されることで、相手端子挿入孔34が形成され、突部22の基端側のテーパ面22aで挿入孔34の前端開口の周縁(上下左右)に相手端子案内用のテーパ面34aが形成される。
図6の如く、一方の成形型1がコア部材2やコネクタハウジング10と共に後退し、コネクタハウジング10の前半部が他方の成形型21から抜き出されて露出する。その他の状態は図4と同様である。
図7,図8は、コア部材2の中央の可動コア4を後退移動させて係止ランス9を撓み空間32内に撓ませた状態を示している。
図7の如く、左右の固定コア3をコネクタハウジング10内に残した状態で、中央の可動コア4が後退し、可動コア4の溝部8aに続く前側上部の突出部20が係止ランス9を押し上げて撓み変形させる。係止ランス9の下面は可動コア4や固定コア3の上端面とほぼ同一面に位置する。他方の成形型21の状態は図5と同様である。
図8の如く、中央の可動コア4が後退し、可動コア4の幅広の基部6に続くスライド部35の後端が可動板28の前端に当接して停止する。それ以外の状態は図6と同様である。
図9,図10は、製品であるコネクタハウジング10を突き出しピン29で押し出した状態を示している。
図9の如く、中央の可動コア4と両側の固定コア3とが図7の軸方向の位置ずれ寸法を保ったままの状態で、コア部材2に対してコネクタハウジング10が突き出しピン29(図10)で押し出されて前進し、固定コア3の前端3aが係止ランス9の基端よりも後方に位置し、これと同時に係止ランス9の撓みが解除され、端子収容室11内に弾性的に復帰する。係止ランス9の撓み空間32は係止解除用の治具棒挿入孔33に同軸に連通する。その他の状態は図7と同様である。
図10の如く、一方の成形型1側の可動板28がシャフト延長部37の駆動で一対の突き出しピン29と一体に前進し、突き出しピン29の先端が一方の成形型1の凹部25内のコネクタハウジング10の後端を押圧して、凹部25から前方に押し出す。コネクタハウジング10は下側のパレット等で回収され、次の工程(例えば端子挿入工程等)に送られる。その他の状態は図8と同様である。
上記実施形態のコネクタハウジングの成形方法によれば、図7,図9の如く、係止ランス9を撓ませた状態で固定コア3の型抜きを行うから、係止ランス9と固定コア3とが何ら干渉することがなく、スムーズな型抜きが行われ、係止ランス9の破損や大きな変形とそれに伴う係止力の低下が防止される。
また、図3の工程で、係止ランス9の前端の係止面9aを垂直に形成することで、端子の係止力が高まり、しかも係止面9aを垂直に形成しても、図7の工程で係止ランス9を撓ませて固定コア3の溝部8から簡単且つスムーズに離型させることができ、係止面9aの傷付きや変形を確実に防止することができる。
また、図5のように、係止ランス9をコア部材2の溝部8内で樹脂成形するから、従来のようにコネクタハウジングの相手端子挿入孔を他方の成形型の型抜き孔とする必要がなくなり、図11のコネクタハウジング10の如く、相手端子挿入孔34の大きさを自由に調整でき(小さくすることができ)、挿入孔34の周縁の端子拾いテーパ面34aを大きく形成することができると共に、端子拾いテーパ面34aの形成に伴うコネクタハウジング10の幅方向や高さ方向の肥大化を防止することができる。
なお、上記実施形態においては、係止ランス9の前端中央の傾斜面24を係止解除用としたが、必ずしも係止解除用とする必要はなく、単に可動コア4をスムーズに抜くための傾斜面24とすることも可能である。また、係止ランス9の係止面9aの角度は必ずしも垂直に限らず、傾斜面24と同方向に若干傾斜したものであってもよく、この場合も型抜きはスムーズに行われる。
また、上記実施形態においては、可動コア4を一対の固定コア3の間に配置したが、例えば一つの可動コア4と一つの固定コア3を並列に配置して、係止ランス9の前端の係止面9aと傾斜面24とを左右に並列に形成することも可能である。
また、上記実施形態においては、固化したコネクタハウジング10を突き出しピン29で押し出したが、突き出しピン29に代えて例えばエア圧によるエアブローやエアシリンダ等の押し出し手段を用いることも可能である。
また、例えば図7において、コネクタハウジング10の後端40を前端(コネクタ嵌合面側)とし、その前端をフロントホルダ(図示せず)で塞ぐようにし、コネクタハウジング10の相手端子挿入孔34を拡径して雌端子挿入孔とし、この雌端子挿入孔から端子収容室11に雌端子を挿入して係止ランス9の下向きの突起(図示せず)で雌端子を係止させるようにすることも可能である。この場合、係止ランス9の突起はランス先端の傾斜面24と同じ方向の傾斜面と反対方向の垂直な係止面を有し、この傾斜面が可動コア4の傾斜面16に沿って持ち上げられつつスムーズに離型される。
また、上記実施形態においては、ワイヤハーネスの部品であるコネクタのハウジング10を樹脂成形したが、コネクタハウジング10は例えば電気接続箱(図示せず)に一体に形成されるものであってもよく、あるいは、コネクタハウジング以外に樹脂部品として例えばケース等のハウジングを形成し、その係止ランスで端子以外の部品を係止させるようにすることも可能である。
また、上記実施形態において、両成形型1,21への樹脂材の充填は、溶融した樹脂材を注入してもよく、あるいはペレット状の固形の樹脂材を両成形型に充填した後、成形型を加熱して樹脂材を溶融させてもよく、あるいは熱可塑性ではなく熱硬化性の樹脂材を用いて固化させてもよい。また、本発明は、コネクタハウジングの成形方法及びコネクタハウジングのみに限らず、コネクタハウジング成形型としても有効なものである。
本発明に係るコネクタハウジングの成形方法で使用する成形型の要部を示す斜視図である。 同じく成形型の要部の動作を示す斜視図である。 成形型を閉じて樹脂材を充填した状態を示す要部縦断面図である。 成形型を閉じて樹脂材を充填した状態を示す全体横断面図である。 成形型を開いた状態を示す要部縦断面図である。 成形型を開いた状態を示す全体横断面図である。 可動コアを後退させた状態を示す要部縦断面図である。 可動コアを後退させた状態を示す全体横断面図である。 コネクタハウジングを突き出しピンで押し出した状態を示す要部縦断面図である。 コネクタハウジングを突き出しピンで押し出した状態を示す全体横断面図である。 本発明の成形方法で形成されたコネクタハウジングの一形態を示す斜視図である。 従来の樹脂部品の成形型の一形態を示す縦断面図である。 従来の他の成形型で形成されるコネクタハウジングの一形態を示す縦断面図である。
符号の説明
1 一方の成形型
2 コア部材
3 固定コア(第一コア)
4 可動コア(第二コア)
8,8a 溝部
9 係止ランス
9a 係止面
10 コネクタハウジング
12 垂直面
16 傾斜面
21 他方の成形型
22 突部
22a テーパ面
23 突板部
32 撓み空間
34 相手端子挿入孔
34a 相手端子拾い面

Claims (6)

  1. コネクタハウジングを成形する一方の成形型と他方の成形型と、該一方の成形型に設けられたコア部材とを備え、該コア部材が、第一コアと、該第一コアに沿って相対的に進退可能な第二コアとで成り、該第一コアと該第二コアとが並列に整合した状態で、該第一コアと該第二コアとに係止ランス成形用の溝部が一体的に設けられ、該第二コアの溝部の型抜き反対方向の端部に傾斜面が形成されたコネクタハウジング成形型を用いて、
    前記一方の成形型と他方の成形型との間に樹脂材を充填し、前記溝部で可撓性の係止ランスを成形し、該樹脂材の固化後に両成形型を開き、該一方の成形型側で前記第二コアを型抜き方向に移動させることで、該係止ランスを撓ませて該溝部から離型させ、その状態でコネクタハウジングを該一方の成形型から離脱させることを特徴とするコネクタハウジングの成形方法。
  2. 前記両成形型を閉じた状態で、前記溝部に沿って前記他方の成形型の突板部を位置させ、該溝部と該突板部との間で前記係止ランスを成形することを特徴とする請求項1記載のコネクタハウジングの成形方法。
  3. 前記両成形型を閉じた状態で、前記コア部材の先端に前記他方の成形型の突部を当接させ、該突部とその基端側のテーパ面で相手端子挿入孔と相手端子拾い面を成形することを特徴とする請求項1又は2記載のコネクタハウジングの成形方法。
  4. 前記第一コアの溝部の前記型抜き反対方向の端部に垂直面を形成し、該垂直面で前記係止ランスの係止面を成形することを特徴とする請求項1〜3の何れかに記載のコネクタハウジングの成形方法。
  5. 前記第二コアを一対の前記第一コアで挟んでスライド自在に配置したことを特徴とする請求項1〜4の何れかに記載のコネクタハウジングの成形方法。
  6. 請求項1〜5の何れかに記載のコネクタハウジングの成形方法で成形され、前記係止ランスの前記係止面に対向してコネクタ嵌合面側の壁部を有することを特徴とするコネクタハウジング。
JP2005003909A 2005-01-11 2005-01-11 コネクタハウジングの成形方法及びコネクタハウジング Expired - Fee Related JP4383358B2 (ja)

Priority Applications (1)

Application Number Priority Date Filing Date Title
JP2005003909A JP4383358B2 (ja) 2005-01-11 2005-01-11 コネクタハウジングの成形方法及びコネクタハウジング

Applications Claiming Priority (1)

Application Number Priority Date Filing Date Title
JP2005003909A JP4383358B2 (ja) 2005-01-11 2005-01-11 コネクタハウジングの成形方法及びコネクタハウジング

Publications (2)

Publication Number Publication Date
JP2006196214A JP2006196214A (ja) 2006-07-27
JP4383358B2 true JP4383358B2 (ja) 2009-12-16

Family

ID=36802125

Family Applications (1)

Application Number Title Priority Date Filing Date
JP2005003909A Expired - Fee Related JP4383358B2 (ja) 2005-01-11 2005-01-11 コネクタハウジングの成形方法及びコネクタハウジング

Country Status (1)

Country Link
JP (1) JP4383358B2 (ja)

Families Citing this family (6)

* Cited by examiner, † Cited by third party
Publication number Priority date Publication date Assignee Title
DE102006004782B4 (de) * 2006-02-02 2011-05-12 Harting Electric Gmbh & Co. Kg Verfahren zur Herstellung einer Verrastungsvorrichtung für einen elektrischen Kontakt in einem Steckverbinder
JP5258667B2 (ja) 2009-04-23 2013-08-07 矢崎総業株式会社 ハウジングの成形型構造及びハウジングの成形方法並びにハウジング
DE102010031771B4 (de) * 2009-08-10 2014-07-03 Sumitomo Wiring Systems, Ltd. Verbinderherstellungsverfahren, Formwerkzeug
JP5192017B2 (ja) * 2010-07-13 2013-05-08 矢崎総業株式会社 コネクタ
KR101683102B1 (ko) * 2015-12-31 2016-12-20 경일대학교산학협력단 커넥터용 단납기 금형
DE102016203089B4 (de) * 2016-02-26 2017-11-09 Robert Bosch Gmbh Demontagesystem für elektrische Steckverbindung

Also Published As

Publication number Publication date
JP2006196214A (ja) 2006-07-27

Similar Documents

Publication Publication Date Title
JP5258667B2 (ja) ハウジングの成形型構造及びハウジングの成形方法並びにハウジング
US6953358B2 (en) Connector, a disengagement jig and a method
KR101453709B1 (ko) 단부고정형 랜스를 구비한 커넥터 하우징 및 커넥터 하우징용 분리 지그
JP3539672B2 (ja) コネクタの端子係止解除構造
US6699420B2 (en) Method of manufacturing a connector having rear holders
JP4383358B2 (ja) コネクタハウジングの成形方法及びコネクタハウジング
US6623313B1 (en) Connector
US6851976B2 (en) Connector, a terminal fitting and a method for inserting a terminal fitting
US7131869B2 (en) Connector and resin molding method therefor
US6790085B2 (en) Terminal fitting and a connector
US7033230B2 (en) Connector
JP3099712B2 (ja) コネクタの製造方法、コネクタの製造用金型、樹脂成形品の製造方法およびこれに使用する金型
JP3593532B2 (ja) コネクタの端子係止解除構造
US7104783B2 (en) Mold tooling having cavity stabilizers
JP7286086B2 (ja) コネクタ用ハウジング、及びコネクタ用ハウジングの製造方法
JP2000150048A (ja) コネクタ及びその製造方法
CN118219509A (zh) 一种抽芯机构及其模具
JP3629976B2 (ja) 樹脂ランスの構造
JP6112399B2 (ja) コネクタ及びコネクタの製造方法
JP2005005126A (ja) コネクタ
CN109366904B (zh) 一种卡针机构及注塑系统
JP2010123451A (ja) コネクタハウジング
JPH10284213A (ja) コネクタハウジングの成形方法および成形用金型
JP3860142B2 (ja) コネクタ
JP3147754B2 (ja) コネクタの製造金型及び製造方法

Legal Events

Date Code Title Description
A621 Written request for application examination

Free format text: JAPANESE INTERMEDIATE CODE: A621

Effective date: 20070620

A977 Report on retrieval

Free format text: JAPANESE INTERMEDIATE CODE: A971007

Effective date: 20090824

TRDD Decision of grant or rejection written
A01 Written decision to grant a patent or to grant a registration (utility model)

Free format text: JAPANESE INTERMEDIATE CODE: A01

Effective date: 20090908

A01 Written decision to grant a patent or to grant a registration (utility model)

Free format text: JAPANESE INTERMEDIATE CODE: A01

A61 First payment of annual fees (during grant procedure)

Free format text: JAPANESE INTERMEDIATE CODE: A61

Effective date: 20090918

FPAY Renewal fee payment (event date is renewal date of database)

Free format text: PAYMENT UNTIL: 20121002

Year of fee payment: 3

R150 Certificate of patent or registration of utility model

Free format text: JAPANESE INTERMEDIATE CODE: R150

FPAY Renewal fee payment (event date is renewal date of database)

Free format text: PAYMENT UNTIL: 20131002

Year of fee payment: 4

R250 Receipt of annual fees

Free format text: JAPANESE INTERMEDIATE CODE: R250

R250 Receipt of annual fees

Free format text: JAPANESE INTERMEDIATE CODE: R250

LAPS Cancellation because of no payment of annual fees