JP4376552B2 - ケ−スのハンドル - Google Patents
ケ−スのハンドル Download PDFInfo
- Publication number
- JP4376552B2 JP4376552B2 JP2003159018A JP2003159018A JP4376552B2 JP 4376552 B2 JP4376552 B2 JP 4376552B2 JP 2003159018 A JP2003159018 A JP 2003159018A JP 2003159018 A JP2003159018 A JP 2003159018A JP 4376552 B2 JP4376552 B2 JP 4376552B2
- Authority
- JP
- Japan
- Prior art keywords
- handle
- gripping member
- hole
- case
- handle body
- Prior art date
- Legal status (The legal status is an assumption and is not a legal conclusion. Google has not performed a legal analysis and makes no representation as to the accuracy of the status listed.)
- Expired - Fee Related
Links
- 229920003002 synthetic resin Polymers 0.000 claims description 6
- 239000000057 synthetic resin Substances 0.000 claims description 6
- 239000011162 core material Substances 0.000 description 26
- JOYRKODLDBILNP-UHFFFAOYSA-N Ethyl urethane Chemical compound CCOC(N)=O JOYRKODLDBILNP-UHFFFAOYSA-N 0.000 description 4
- BZHJMEDXRYGGRV-UHFFFAOYSA-N Vinyl chloride Chemical compound ClC=C BZHJMEDXRYGGRV-UHFFFAOYSA-N 0.000 description 4
- DQXBYHZEEUGOBF-UHFFFAOYSA-N but-3-enoic acid;ethene Chemical compound C=C.OC(=O)CC=C DQXBYHZEEUGOBF-UHFFFAOYSA-N 0.000 description 4
- 239000005038 ethylene vinyl acetate Substances 0.000 description 4
- 229920001200 poly(ethylene-vinyl acetate) Polymers 0.000 description 4
- 239000004744 fabric Substances 0.000 description 3
- 230000000694 effects Effects 0.000 description 2
- 238000000465 moulding Methods 0.000 description 2
- 230000002093 peripheral effect Effects 0.000 description 2
- 238000005452 bending Methods 0.000 description 1
- 230000037431 insertion Effects 0.000 description 1
- 238000003780 insertion Methods 0.000 description 1
- 239000002759 woven fabric Substances 0.000 description 1
Images
Landscapes
- Purses, Travelling Bags, Baskets, Or Suitcases (AREA)
Description
【発明の属する技術分野】
本発明は、握持部材とハンドル本体の組合せからなるケ−スのハンドルの改良に関する。
【0002】
【従来の技術】
従来からケ−スのハンドルとして、例えば特許文献1で竿ケ−スに取り付けたハンドルが紹介されている。
【特許文献1】
特開平2001−190200号公報
【0003】
特許文献1には、柔軟性を有する筒状体に芯材が内装され、さらに握持部のゴム筒が外装されている。
しかし、このハンドルは、筒状体が布で形成され、その外側にゴム筒が、その内側に芯材が差し込まれ、ゴム筒と芯材間に布が介在するため、両者が滑りやすい。
しかも、筒状体に、芯材が差し込まれているだけであるため、前記筒状体に対し握持部のゴム筒の形状を保持する芯材がその長手方向に動いたり、周方向に回動したりするおそれがある。
【0004】
【発明が解決しようとする課題】
解決しようとする課題は、
特許文献1で竿ケ−スに取り付けたハンドルは、布で形成された筒状体に対し芯材がその長手方向に動いたり、周方向に回動したりするおそれがあることである。
【0005】
本発明の目的は前記欠点に鑑み、可撓性を有する握持部材の貫通孔内にハンドル本体を移動規制してハンドル本体を取り付けたケ−スを持ち運び易くしたケ−スのハンドルを提供することである。
【0006】
【課題を解決するための手段】
上記課題を解決するために、
請求項1に係わる本発明は、可撓性を有し長手方向に貫通孔を設けた握持部材の前記貫通孔にハンドル本体を挿通し、前記ハンドル本体の長手方向の中央側は前記握持部材の貫通孔内に圧入され、前記ハンドル本体の長手方向の両端側は前記中央側より剛性が小さく形成されて前記握持部材の貫通孔から突出し、ハンドル本体の中央側と握持部材は、握持部材に設けた貫通孔から外側に通じる係合孔とハンドル本体に設けた係合突部からなる係合部を有し、互いに移動を規制していることを要旨とするものである。
請求項2に係わる本発明は、ハンドル本体は合成樹脂で一体に成形されていることを要旨とするものである。
請求項3に係わる本発明は、ハンドル本体の両端側は、中央側より薄肉に形成したことを要旨とするものである。
【0007】
本発明により、可撓性を有する握持部材2の貫通孔2a内にハンドル本体3、3′の中央側を圧入し、ハンドル本体の中央側と握持部材は、握持部材に設けた貫通孔から外側に通じる係合孔とハンドル本体に設けた係合突部からなる係合部によって、ハンドル本体3、3′に対する握持部材2の移動を規制して握持部を握りやすくし、ハンドル本体3、3′の両端側は中央側より剛性が小さくケ−スが搖れ動いて振動が緩和されるようにしたので、ハンドル本体3、3′を取り付けたケ−ス4、5が持ち運び易くなる。
【0008】
【発明の実施の形態】
以下、図示の実施例によって本発明を説明すると、図1から図8は第1実施例で、図1はケ−スのハンドルの側面図、図2はケ−スのハンドルの断面図、図3は図2の一部拡大断面側面図、図4は握持部材の側面図、図5は握持部材の断面側面図、図6は図5のF6−F6断面線の断面背面図、図7は図5のF7−F7断面線の断面正面図、図8はケ−スのハンドルが竿ケ−スに固定された側面図である。
【0009】
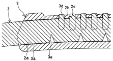
ケ−スのハンドル1は、塩化ビニル、ウレタン、エチレン酢酸ビニル等の合成樹脂で可撓性を有するように円筒状に形成された握持部材2の長手方向に形成された貫通孔2a内に、塩化ビニル、ウレタン、エチレン酢酸ビニル等の合成樹脂で形成されたハンドル本体3の中央側の握持部材2の長手方向に伸びる芯部3aが圧入されて構成されている。
【0010】
握持部材2の貫通孔2aは両端に開口が形成され、断面は略円形に形成され、貫通孔2aの上側の中央側は薄肉部2bに形成されている。
薄肉部2bには貫通孔2aから握持部材2の上面側に通じる係合孔2cが形成され、この係合孔2cは握持部材2の周方向に略半円で握持部材2の長手方向に略等間隔に複数形成されている。
ハンドル本体3はその長手方向中央側の芯部3aと芯部3aの両端の脚部3b、3cが一体に形成され、ハンドル本体3の中央側の芯部3aは外径が貫通孔2aの内径より幾分大径に形成され、芯部3aの上側に係合孔2cに嵌合可能な寸法の周方向に略半円で長手方向に略等間隔の複数の係合突部3dが形成されて係合突部3dの高さは薄肉部2bの外周面より幾分突出する高さになっている。
芯部3aの下方側に長手方向に沿って複数の切り欠き3eが設けられている。
柔軟性を有するように中央側の芯部3aより薄肉又は小径に形成された脚部3b、3cの両端には夫々竿ケ−ス4に取り付けるビスや鋲の挿通孔3fが穿設されている。
【0011】
握持部材2の貫通孔2aにハンドル本体3の芯部3aが圧入される時は、芯部3aを握持部材2の可撓性を利用して貫通孔2aを広げながら差し込み、圧入されて貫通孔2a内に保持され握持部材2が動くことを規制する。
しかも、ハンドル本体3の芯部3aの上方側に握持部材2の貫通孔2aから上面側に通じる係合孔2cに係合する係合突部3dがハンドル本体3の芯部3aに一体に形成され、ハンドル本体3の芯部3aが握持部材2の貫通孔2aに差し込まれたときに係合孔2cと係合突部3dの両者が係合される。
この係合によって、ハンドル本体3と握持部材2が位置決めされ、握持部材2の移動が規制され、ハンドル本体3の長手方向への移動及び周方向への移動が防止される。
しかも、係合突部3dが握持部材2の係合孔2cから握持部材2の外方に突出するように設けられているため握持部材2の移動が確実に規制される。
【0012】
なお、ハンドル本体3の中央側の芯部3aは、握持部材2の貫通孔2aに差し込まれて、握ったときに握持部材2の形状が保持され、しっかりした握持感が得られるように握持部材2より大きな剛性(曲げ剛性)を有している。
ハンドル本体3の両端側に一体に形成された脚部3b、3cは、竿ケ−ス4に(直接または止着部材を介して間接的に)取り付けられており、ハンドル本体3の中央側に比べて剛性が小さく、歪みやすくなっており、さらに、柔軟性を有するように薄肉又は小径の円や楕円に形成され、又、さらに薄肉のベルト状を呈してもよい。
したがって、握持部材2を握って竿ケ−ス4を持ち運ぶとき握持部材2の変形が防止されて握りやすく、脚部3b、3cの歪みで竿ケ−ス4が搖れ動くためケ−スの振動が緩和されて疲れない。
【0013】
ハンドル本体3の中央側の下方側に長手方向に沿って複数の切り欠き3eが設けられていると、握持部材2を握って竿ケ−ス4を持ち運ぶとき手の平の形状に合致するように上方が突となる湾曲状に曲がる(歪む)ようになり手が痛まず握持しやすくなる。
なお、ハンドル本体3の中央側の芯部3aは、はじめからハンドル本体3の成型時に上方が突となる湾曲状に形成してもよい。
なお、上記構成に加えてさらに、握持部材2の貫通孔2aとハンドル本体3の中央側の両方または何れか一方を非円形に形成して握持部材2の移動を規制してもよい。
握持部材2の薄肉部2bの外周面からハンドル本体3の係合突部3dを幾分突出させると、釣具の竿ケ−ス4の場合、餌が係合孔2cに入らず、潮が入って固まることもない。
【0014】
前記のようにケ−スのハンドルが構成されると、可撓性を有する握持部材2の貫通孔2a内にハンドル本体3の中央側を圧入してハンドル本体3に対する握持部材2の移動を規制して握持部を握りやすくし、ハンドル本体3の両端側は中央側より剛性が小さくケ−スが搖れ動いて振動が緩和されるようにしたので、ハンドル本体3を取り付けたケ−ス4を持ち運び易くなる。
【0015】
図9から図14は第2実施例で、図9はトランク型のケ−スに取り付けたケ−スのハンドルの側面図、図10はケ−スのハンドルの平面図、図11はケ−スのハンドルの分解断面側面図、図12はトランク型のケ−スに取り付けたケ−スのハンドルの断面側面図、図13は図12の一部拡大断面側面図、図14は図13のF14−F14断面線の正面図である。
【0016】
第2実施例でケ−スのハンドル1′は、塩化ビニル、ウレタン、エチレン酢酸ビニル等の合成樹脂で可撓性を有するように円筒状に形成された握持部材2の長手方向に形成された貫通孔2a内に、塩化ビニル、ウレタン、エチレン酢酸ビニル等の合成樹脂で形成されたハンドル本体3′の棒状の芯部3gの中央側が圧入され、芯部3gの中心に長手方向の角形の貫通孔3hが穿設されて貫通孔3h内にハンドル本体3′の織布製のベルト部3″が挿通固定されて構成されている。
芯部3gから突出したベルト部3″が第1実施例の脚部3b、3cに該当する部分であり、芯部3gより剛性が小さく歪んだり、曲ったりしやすい。
芯部3gは握持部材2の長さの中に納められている。
ベルト部3″の両端はトランク型のケ−ス5に鋲等で取り付けられている。
他の構成は前記第1実施例と略同一である。
【0017】
ベルト部3″はハンドル本体3′の芯部3gの成形時にインサ−ト成形で固定したり、又、接着で固定してもよく、互いにずれて動いてしまうことが防止されている。
【0018】
【発明の効果】
本発明は、以上説明したような形態で実施され、以下に記載されるような効果を奏する。
【0019】
可撓性を有する握持部材の貫通孔内にハンドル本体の中央側を圧入してハンドル本体に対する握持部材の移動を規制して握持部を握りやすくし、ハンドル本体の両端側は中央側より剛性が小さくケ−スが搖れ動いて振動が緩和されるようにしたので、ハンドル本体を取り付けたケ−スが持ち運び易くなる。
【図面の簡単な説明】
【図1】第1実施例で、ケ−スのハンドルの側面図である。
【図2】同ケ−スのハンドルの断面図である。
【図3】同図2の一部拡大断面側面図である。
【図4】同握持部材の側面図である。
【図5】同握持部材の断面側面図である。
【図6】同図5のF6−F6断面線の断面背面図である。
【図7】同図5のF7−F7断面線の断面正面図である。
【図8】同ケ−スのハンドルが竿ケ−スに固定された側面図である。
【図9】第2実施例で、トランク型のケ−スに取り付けたケ−スのハンドルの側面図である。
【図10】同ケ−スのハンドルの平面図である。
【図11】同ケ−スのハンドルの分解断面側面図である。
【図12】同トランク型のケ−スに取り付けたケ−スのハンドルの断面側面図である。
【図13】同図12の一部拡大断面側面図である。
【図14】同図13のF14−F14断面線の正面図である。
【符号の説明】
1、1′ ケ−スのハンドル
2 握持部材
2a 貫通孔
2c 係合孔
3、3′ ハンドル本体
3d 係合突部
4、5 ケ−ス
Claims (3)
- 可撓性を有し長手方向に貫通孔を設けた握持部材の前記貫通孔にハンドル本体を挿通し、前記ハンドル本体の長手方向の中央側は前記握持部材の貫通孔内に圧入され、前記ハンドル本体の長手方向の両端側は前記中央側より剛性が小さく形成されて前記握持部材の貫通孔から突出し、ハンドル本体の中央側と握持部材は、握持部材に設けた貫通孔から外側に通じる係合孔とハンドル本体に設けた係合突部からなる係合部を有し、互いに移動を規制していることを特徴とするケ−スのハンドル。
- ハンドル本体は合成樹脂で一体に成形されていることを特徴とする請求項1記載のケースのハンドル。
- ハンドル本体の両端側は、中央側より薄肉に形成したことを特徴とする請求項1または2記載のケースのハンドル。
Priority Applications (1)
| Application Number | Priority Date | Filing Date | Title |
|---|---|---|---|
| JP2003159018A JP4376552B2 (ja) | 2003-06-04 | 2003-06-04 | ケ−スのハンドル |
Applications Claiming Priority (1)
| Application Number | Priority Date | Filing Date | Title |
|---|---|---|---|
| JP2003159018A JP4376552B2 (ja) | 2003-06-04 | 2003-06-04 | ケ−スのハンドル |
Publications (2)
| Publication Number | Publication Date |
|---|---|
| JP2004357891A JP2004357891A (ja) | 2004-12-24 |
| JP4376552B2 true JP4376552B2 (ja) | 2009-12-02 |
Family
ID=34052205
Family Applications (1)
| Application Number | Title | Priority Date | Filing Date |
|---|---|---|---|
| JP2003159018A Expired - Fee Related JP4376552B2 (ja) | 2003-06-04 | 2003-06-04 | ケ−スのハンドル |
Country Status (1)
| Country | Link |
|---|---|
| JP (1) | JP4376552B2 (ja) |
-
2003
- 2003-06-04 JP JP2003159018A patent/JP4376552B2/ja not_active Expired - Fee Related
Also Published As
| Publication number | Publication date |
|---|---|
| JP2004357891A (ja) | 2004-12-24 |
Similar Documents
| Publication | Publication Date | Title |
|---|---|---|
| KR101398283B1 (ko) | 칫솔 | |
| US9538802B2 (en) | Fastening devices and methods | |
| US5485811A (en) | Stretchable molded leash | |
| CN203971311U (zh) | 面肌锻炼器具 | |
| JP4090876B2 (ja) | デンタルフロスホルダ | |
| US20060021631A1 (en) | Non-slip layer for hair accessories | |
| JP4376552B2 (ja) | ケ−スのハンドル | |
| US20210244135A1 (en) | Fastening devices and methods | |
| ES2908028T3 (es) | Dispositivo de anclaje de fuerza | |
| JP2010273587A (ja) | 筒状リールシート | |
| CN113994939A (zh) | 卷线器座 | |
| JP4094499B2 (ja) | ケ−スのハンドルとその製造方法 | |
| US20230389706A1 (en) | Pillow | |
| JPH0372495B2 (ja) | ||
| JP4052634B2 (ja) | 釣竿 | |
| JP4365141B2 (ja) | ケースのハンドル | |
| JP6533712B2 (ja) | 引き手 | |
| US11320065B2 (en) | Tubing and cable organizing device | |
| JP4817638B2 (ja) | フープ | |
| NL1030139C2 (nl) | Opzetstuk ten gebruike in combinatie met een elektronische tandenborstel. | |
| KR200443955Y1 (ko) | 셔츠 보형물 | |
| JP3000030U (ja) | 釣り竿の元竿 | |
| JPH0939971A (ja) | 取手付プラスチツクボトル | |
| JP7012173B2 (ja) | 制御可能なブラシ | |
| JP2015223313A (ja) | ヘアーブラシ |
Legal Events
| Date | Code | Title | Description |
|---|---|---|---|
| A621 | Written request for application examination |
Free format text: JAPANESE INTERMEDIATE CODE: A621 Effective date: 20060529 |
|
| A977 | Report on retrieval |
Free format text: JAPANESE INTERMEDIATE CODE: A971007 Effective date: 20081215 |
|
| A131 | Notification of reasons for refusal |
Free format text: JAPANESE INTERMEDIATE CODE: A131 Effective date: 20090602 |
|
| A521 | Written amendment |
Free format text: JAPANESE INTERMEDIATE CODE: A523 Effective date: 20090721 |
|
| TRDD | Decision of grant or rejection written | ||
| A01 | Written decision to grant a patent or to grant a registration (utility model) |
Free format text: JAPANESE INTERMEDIATE CODE: A01 Effective date: 20090908 |
|
| A01 | Written decision to grant a patent or to grant a registration (utility model) |
Free format text: JAPANESE INTERMEDIATE CODE: A01 |
|
| A61 | First payment of annual fees (during grant procedure) |
Free format text: JAPANESE INTERMEDIATE CODE: A61 Effective date: 20090909 |
|
| R150 | Certificate of patent or registration of utility model |
Free format text: JAPANESE INTERMEDIATE CODE: R150 |
|
| FPAY | Renewal fee payment (event date is renewal date of database) |
Free format text: PAYMENT UNTIL: 20120918 Year of fee payment: 3 |
|
| FPAY | Renewal fee payment (event date is renewal date of database) |
Free format text: PAYMENT UNTIL: 20120918 Year of fee payment: 3 |
|
| FPAY | Renewal fee payment (event date is renewal date of database) |
Free format text: PAYMENT UNTIL: 20120918 Year of fee payment: 3 |
|
| FPAY | Renewal fee payment (event date is renewal date of database) |
Free format text: PAYMENT UNTIL: 20130918 Year of fee payment: 4 |
|
| LAPS | Cancellation because of no payment of annual fees |