JP4367956B2 - 自動麻雀卓 - Google Patents

自動麻雀卓 Download PDF

Info

Publication number
JP4367956B2
JP4367956B2 JP2006205597A JP2006205597A JP4367956B2 JP 4367956 B2 JP4367956 B2 JP 4367956B2 JP 2006205597 A JP2006205597 A JP 2006205597A JP 2006205597 A JP2006205597 A JP 2006205597A JP 4367956 B2 JP4367956 B2 JP 4367956B2
Authority
JP
Japan
Prior art keywords
rotating body
cylindrical rotating
standby
kite
stage
Prior art date
Legal status (The legal status is an assumption and is not a legal conclusion. Google has not performed a legal analysis and makes no representation as to the accuracy of the status listed.)
Expired - Fee Related
Application number
JP2006205597A
Other languages
English (en)
Other versions
JP2006314830A (ja
JP2006314830A5 (ja
Inventor
貞男 渡辺
収 高橋
英樹 小松原
智久 野々山
Current Assignee (The listed assignees may be inaccurate. Google has not performed a legal analysis and makes no representation or warranty as to the accuracy of the list.)
Individual
Original Assignee
Individual
Priority date (The priority date is an assumption and is not a legal conclusion. Google has not performed a legal analysis and makes no representation as to the accuracy of the date listed.)
Filing date
Publication date
Family has litigation
First worldwide family litigation filed litigation Critical https://patents.darts-ip.com/?family=37535966&utm_source=google_patent&utm_medium=platform_link&utm_campaign=public_patent_search&patent=JP4367956(B2) "Global patent litigation dataset” by Darts-ip is licensed under a Creative Commons Attribution 4.0 International License.
Application filed by Individual filed Critical Individual
Priority to JP2006205597A priority Critical patent/JP4367956B2/ja
Publication of JP2006314830A publication Critical patent/JP2006314830A/ja
Publication of JP2006314830A5 publication Critical patent/JP2006314830A5/ja
Application granted granted Critical
Publication of JP4367956B2 publication Critical patent/JP4367956B2/ja
Anticipated expiration legal-status Critical
Expired - Fee Related legal-status Critical Current

Links

Images

Landscapes

  • Feeding Of Articles To Conveyors (AREA)

Description

本発明は、卓内に投入された1組の牌を攪拌処理した後、自動的に整列牌を天板上に押し上げることのできる自動麻雀卓に関するものである。
自動麻雀卓は、種々の技術開発がなされているが、牌を攪拌して整列する洗牌技術としては、大凡、(1)傾斜ターンテーブルとホッパリングを用いて1つの取出口から牌を取出す方式、(2)水平ターンテーブルを用いて4つの取出口から牌を取出す方式に大別することができるが、(1)の公知例としては特許文献1(特開昭54-40741号公報)が、(2)の公知例としては特許文献2(特開昭61-244384号公報)が知られている。
現在、ゲーム終了後の牌を麻雀卓の内部に投下して、攪拌しつつ牌を取り上げ、各場に均等数の2段積み牌を正方形状に配列形成して待機させ、次のプレイ開始にあたって、この正方形状に配列した2段積み牌を天板上に押し出すものが殆どであるが、このような、従来型の自動麻雀卓を用いた場合、ゲーム開始において、慣習的に、親が振ったサイコロの目によって、懸賞牌を反転させたり、城壁牌の一部を各プレーヤーが順にとって配牌を行っている。
このように従来型の自動麻雀卓においては、人手によって配牌を行うという作業が必要であるが、係る行為は、煩わしい上に、間違えたり、2段積み牌を崩してしまったりするという問題点を有している。
こうした問題に対処するため特許文献3及び特許文献4には、2段積み整列牌と共に配牌用の整列牌までを自動的に形成し、これらを天板上に押し出すことのできる自動麻雀卓が開示されている。しかし、これらの自動麻雀卓は、いずれも配牌、及び2段積み牌をそれぞれ専用に設けられた2つの別の昇降機構によって天板上に押し出すものであって、構造が複雑で大型化するという問題点を有している。
このことは、例えば、特許文献3に開示された自動麻雀卓の洗牌技術は、従来の特許文献1に開示された従来の自動麻雀卓と同様な技術が用いられており、攪拌装置内の牌のひとつの出口から取り出す場合、各場に牌を移送するための大きなコンベヤが必要となる。そのため、特許文献3に開示された自動麻雀卓では、同公報第1図に示されるように、各場において、2段積み牌用の昇降台と待機台と、配牌用昇降台と待機台と、更には搬送コンベアとの多くの装置が並ぶため複雑になり、麻雀卓が大型化になってしまうとういう虞があった。
また、前掲の特許文献2に開示された自動麻雀卓の洗牌技術は、磁石を埋没した水平回転体を各場毎に設けて、攪拌装置内の牌を取り出すため大きなコンベヤは不要であるが、2段積み牌が水平回転体の吸着面より下に設けなければならないこと、及び、水平回転体が昇降台の下方にはみだすので昇降台を水平回転体以下には下げられず、このため、特許文献5に開示されているように、2段積み牌を天板上に押し出すとき、待機台上の2段積み牌を昇降台の降下位置まで持ち上げて昇降台に移載しなければならず、2段積み牌を天板上に押し出す機構が複雑で大型化してしまう。
更に、前掲の特許文献4に開示された技術は、同報第3図、及び、第5図に示されるように、磁石を埋没した水平回転体とその横に設けた小型搬送コンベヤによって牌を取り出しているが、水平回転体と搬送コンベヤ等の攪拌装置の周辺が複雑で場所をとり、やはり複雑で大型化してしまう。
特開昭54−40741号公報 特開昭61−244384号公報 特開昭62−49879号公報 特開昭62−68479号公報 特開昭61−244385号公報
本発明は、これらの問題点に鑑みてなされたもので、自動麻雀卓において、攪拌装置から牌を取り上げ、形成・供給機構に供給する機構を簡単にし、機構自体を小型にし、自動麻雀卓をコンパクトで経済的にすることを課題とするものである。
上記課題を解決するための請求項1の発明は、各場へ牌を供給するためのつの開口が設けられている天板を有する本体と、磁性体を埋設した牌を攪拌するため前記本体内に設けられた攪拌装置と、前記各場の開口に対応してそれぞれ前記攪拌装置から牌を取り上げる汲上機構と、該汲上機構によって取り上げられた牌を一方向に整列して送り出すための整列機構と、該整列機構から牌を受け取り所定の整列牌を形成して待機させるための形成・待機機構と、該形成・待機機構で形成され待機している前記整列牌を対応する開口から天板上に上昇させる機構とを備えた自動麻雀卓であって、
前記攪拌装置は回転するターンテーブルと外壁とが設けられ、攪拌された牌は前記ターンテーブルの回転により外壁に向かって移動させ、前記牌を取り上げる汲上機構は円筒回転体が設けられ、該円筒回転体の周面部位には前記円筒回転体の一側端から牌の横幅ほどの幅をもつ吸着面を配設し、前記吸着面の中心には磁石を埋没し、前記吸着面に磁気力により牌を吸着して下方から上方に吸い上げるように円筒回転体を回転させ、前記整列機構は、前記円筒回転体に吸い上げられた牌の方向を揃えるため前記吸着面の外側の軌道に沿って配設した案内部材と、該案内部材の延長上であって前記円筒回転体の頂上付近には前記円筒回転体の吸着面から牌を剥離して前記形成・待機機構に導くための誘導路を設け、前記円筒回転体によって下方位置にて取り上げられた牌は、前記案内部材にそって牌の向きを揃えながら上方に移動するとともに前記誘導路の一端に捕捉されて前記円筒回転体から離脱するようにしたことを特徴とする。
請求項2の発明は、請求項1に記載の自動麻雀卓において、前記形成・待機機構は、前記誘導路に捕捉された牌の進行方向の延長上に該牌を載置するための載置部を設け、前記誘導路に捕捉された牌を受け取り前記載置部に移送するための移送手段と、前記載置部の一方の側に整列牌を形成して待機させるための待機台を含む待機機構と、前記載置部を挟み前記待機台の反対側から前記載置部に移送された牌を前記待機台上に押し出して前記待機台上に所定数の整列牌を形成するための押出機構とを含み、前記円筒回転体の駆動機構と、前記移送手段の駆動機構と、前記押出機構の駆動機構は同一の駆動源に連結されているとともに、前記円筒回転体と、前記移送手段と、前記押出機構は所定の位相関係で協働していることを特徴とする。
請求項3の発明は、請求項2に記載の自動麻雀卓において、前記待機機構には1段積の配牌ブロックが形成される第1の台(配牌台801)と2段積牌ブロックが形成される第2の台(待機台802)が設けられ、前記載置部には第1の台と第2の台に対応する載置台(下載置台702、上載置台703)が設けられ、前記整列機構から送り出される牌を、前記2つの載置台に選択的に送給するための選択送給手段とを備え、前記第1の台上に配牌ブロックとして形成・待機させると共に、前記第2の台上に二段積み牌ブロックとして形成・待機させるようにしたことを特徴とする。
請求項4の発明は、請求項1乃至3のいずれかに記載の自動麻雀卓において、前記汲上機構と前記形成・待機機構との間に牌反転機構650を備え、懸賞牌を形成できるようにしたことを特徴とする。
請求項1の発明によれば、牌を取り上げる汲上機構を、円筒回転体と吸着面を設けて、吸着面の牌を磁気力により吸着して下方から上方に吸い上げるように円筒回転体を縦方向に回転させたので、スペース的には従来の水平方向に回転する汲上方式とは異なり円筒回転体の幅は牌の縦幅と略等しい寸法でよく、かつ、水平方向の移動は円筒回転体の幅があれば良いから、これらにより、攪拌装置から牌を取り上げる汲上機構を小型にすることができ、結果として、自動麻雀卓の全体が小型、軽量、コンパクトとなり経済的に有利となる。
また、請求項1の効果に加えて、請求項2の発明によれば、載置部に移送された牌を反対側から待機機構台上に押し出すので、無理なく整列牌を形成することができ、請求項3の発明によれば、予め配牌と2段積牌とを形成しておくことができ、請求項4の発明によれば、配牌の形成と同時に懸賞牌を配置することができる。
以下、図面を参照して本発明の好適な自動麻雀卓の実施の形態の一例につき詳細に説明する。
図1は、本発明による自動麻雀卓の実施の形態の一例を概略的に示す斜視図である。自動麻雀卓1は、本体2がスタンド3によって支えられており、本体2に設けられた天板4の中央部には牌を落とし込むための牌投入口4Aが形成されている。牌投入口4Aは蓋5によって開閉できる構成となっており、蓋5は図示しない開閉機構によって開閉される。本体2の中央に設けられている操作板6のスタートスイッチ6Aを操作することにより開閉機構が作動して蓋5を下方に移動させ、牌を牌投入口4Aから下方に落とし込むことができるようになっている。
天板4上であって、牌投入口4Aと天板4の周縁との間には、配牌用の整列牌(以後、配牌ブロックと称する)BA及びプレー開始後にプレーヤが順番に取り込むための牌を2段積みとした2段積み整列牌(以後、2段積牌ブロックと称する)BBを本体2の内部から天板4の上面に供給するための細長い矩形の4つの牌出口(開口)7A、7B、7C、7Dが各プレーヤに対向するようにして形成されており、これらの牌出口7A、7B、7C、7Dは、後述するようにして各ブロックを供給するときだけ開く構成となっている。
図2は、自動麻雀卓1において使用される牌10の構成を示す図である。牌10は合成樹脂の成形体として作られており、その内部に磁性体が埋設された構造となっている。本実施の形態においては、この磁性体として磁石11が用いられており、磁石11は牌10の中央部に埋設されている。なお、自動麻雀卓1においては牌は2組用いられ、その一方の組で競技し、他方の組の牌は自動麻雀卓1内で攪拌処理して、配牌ブロックと2段積牌ブロックの2種の整列牌に形成して待機させておく構成となっている。
図1では図示するのを省略しているが、自動麻雀卓1の本体2の下方には、配牌有/無選択スイッチ、懸賞牌有/無選択スイッチ及びゲーム選択スイッチが設けられており、これらのスイッチを適宜に操作して目的に適ったゲームを行うことができるようになっている。また、ゲーム選択スイッチにより、3人用3種類、4人用3種類の計6種類のゲームモードを選択でき、各ゲームモードに対応した配列パターンが適用される。
図3は、自動麻雀卓1の内部機構を説明するための、天板4を取り外した場合の自動麻雀卓1本体2内の概略平面図である。本体2内の中央部分には、落とし込まれた牌を攪拌するための攪拌機構100が設けられており、本体2の四隅部には、攪拌機構100によって攪拌された牌を汲み上げるための汲上機構200がそれぞれ設けられている。
攪拌機構100は、中央部に対して外側がやや低く形成されている円形状のターンテーブル101と、ターンテーブル101を囲むように形成された外壁102と、一端がそれぞれターンテーブル101中心付近に固定された2つの棒状弾性体103、103と、ターンテーブル101の下面側にその周縁に沿って等間隔に設けられた4つの牌反転用磁石104と、ターンテーブル駆動機構105とを備えて成っている。ターンテーブル101の下には歯車106が設けられており、ターンテーブル101は歯車106と同期して回転するように構成されている。
歯車106は4つの汲上機構200の各駆動用歯車201とそれぞれ噛み合っている。ターンテーブル駆動機構105は4つの駆動用歯車201のうちの1つを回転駆動させるため、その駆動用歯車201と一体に運動するタイミングプーリ202とタイミングベルト203を介して連結されている駆動モータ204を備えている。したがって、駆動モータ204が駆動されるとその回転がタイミングベルト203を介してタイミングプーリ202に伝達され、駆動用歯車201がタイミングプーリ202と一体に回転し、駆動用歯車201と噛み合っている歯車106が回転し、これによりターンテーブル101が矢印方向に回転する。
そして、ターンテーブル101の回転により、他の3つの駆動用歯車201も同時に回転する。図22には、歯車106と駆動用歯車201との噛合状態が見えている。
図22を参照すると、駆動用歯車201の中心には孔が設けられており、駆動用歯車201は該孔内に支持軸205が挿通されて回転自在に保持されている。
駆動用歯車201の下方においてタイミングプーリ202が歯車201に固定されている。そして、支持軸205に固着されたトルクリミッタ206の上部に形成された凸部と駆動用歯車201の下方に形成された凹部とが係合するように構成されている。したがって歯車106の回転に伴い駆動用歯車201が回転すると、駆動用歯車201に係合しているトルクリミッタ206が回転しこれにより支持軸205が回転する。トルクリミッタ206は支持軸205に過大な負荷が生じた時の衝撃をやわらげる役目を果たす目的で備えられている。
ターンテーブル101のやや上方には、適度な可撓性を持たせたコイルバネからなる棒状弾性体103、103が、各一端を中央部の保持体112に固定することによって放射状に配設されている。保持体112は回転せず静止したままであるから、ターンテーブル101が回転すると、牌投入口4A(図1参照)よりターンテーブル101上に落とし込まれて山積み状となった牌10は棒状弾性体103により押しやられ、牌10は棒状弾性体103の手前側に集められて攪拌されることになる。この場合、牌10はターンテーブル101の回転力により自ら棒状弾性体103を押して屈曲させながら徐々に外壁102側に向かって移動していく。
図4及び図5を参照して、ターンテーブル101の外壁102側に移動した牌を汲み上げるための汲上機構200について説明する。
汲上機構200は、前述の如く4つ設けられているが、4つの汲上機構200は、全く同様に構成されているため、ここでは、そのうちの1つの機構200について説明する。汲上機構200は、外壁102側に移動してきた牌10を取り上げるための機構であり、牌10を磁気力により吸着するための円筒回転体401と、円筒回転体駆動機構404とを備えて成っている。
先ず、円筒回転体401について図6及び図7を参照して説明する。図6は円筒回転体401の立面図、図7は円筒回転体401の平面図である。円筒回転体401は牌10の縦幅と略等しい長さ(lL )の高さ寸法を有した円筒形状をした樹脂材からなり、一側端から牌の横幅分の長さ(ls )の位置には溝401Aが形成されている。円筒回転体401の周面部位には、2カ所等間隔に、平伏牌の面積ほど平に削り落とした吸着面401Bが形成されており、その中心部には吸着面401Bから僅かの埋設深さ距離をもって、磁石401Cが埋設されている。
円筒回転体401には、内端縁側にテーパ付けされた比較的幅の狭いフランジ部401Eが形成されており、フランジ部401Eは、吸着面401Bに対応する部分に後端に僅かに傾斜部401Dを残して前記吸着面401Bと同面になるような切欠401Fが形成されている。
再び図4及び図5を参照すると、円筒回転体401の中心には回転軸405が嵌挿されていて、円筒回転体401はこの回転軸405に固定されており、この回転軸405は円筒回転体401を挟む案内部材501と反対側に設けた側壁を固定するベース(図示せず)とによって回転自在に支持されている。
円筒回転体401が固定されている回転軸405にはタイミングプーリ405Aが固定的に取り付けられている。また、駆動用歯車201の上方には別の回転軸406が設けられており、この回転軸406にはタイミングプーリ406Aが固定的に取り付けられている。回転軸405のタイミングプーリ405Aと回転軸406のタイミングプーリ406Aとはタイミングベルト407によって連結されており、回転軸406は支持軸205とカサ歯車408を介して連結されている。ここでは、駆動用歯車201が一回転すると円筒回転体401が一回転する構成となっている。円筒回転体401は、ターンテーブル101内を覗くように突出しており、且つ、円筒回転体401とターンテーブル101との隙間は牌10の厚さよりやや広い程度になっていて、この間を通過する平伏状の牌10を円筒回転体401に埋設した磁石401C(図6、図7参照)で吸着して牌を汲み上げることができるようになっている。
円筒回転体401に埋設した磁石401Cの極性と、牌10に埋設した磁石11の極性との関係は、牌10が字面を上にした状態で円筒回転体401に吸着するように定められている。例えば牌10の字面側をS極とした場合、吸着面401B側がN極となるように各磁石が埋設されている。
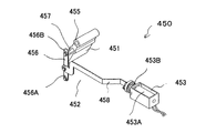
円筒回転体401に上述の如くして吸着された牌10の汲み上げ許可、禁止の制御を可能とするため、円筒回転体401の周面に接近して進入口開閉機構450が設けられている。
進入口開閉機構450は、仕切片451を牌10の進入を許す開位置又は牌10の進入を禁止する閉位置に位置決めすることができるようにしたもので、仕切片451をリンク機構452を介してソレノイド453に連結した構成となっている。
図8を参照して進入口開閉機構450について説明する。仕切片451は板状部材であり、支持軸454に揺動自在に取り付けられている(図5参照)。そして、仕切片451には仕切片451を開閉駆動するためのソレノイド453がリンク機構452を介して連結されている。図5及び図8に示すように、仕切片451の上部にはスリーブ455が設けられており、案内部材501と反対側に設けた側壁との間に設けた支持軸454にスリーブ455が挿通することによって仕切片451が揺動自在に支持されている。リンク機構452の短いリンク456の下端456Aは案内部材501に回動自在に支持され上端456Bには支軸457が設けられていて、支軸457は仕切片451内に適当な深さではまっている。ソレノイド453のプランジャー453Aにはコイルバネ453Bが設けられており常に長いリンク458を前方に押している。これによりソレノイド453に通電すると長いリンク458がソレノイド453側に引かれて仕切片451はソレノイド453側に回動し、牌10の進入を禁止する閉位置に位置決めされる。また、ソレノイド453への通電を中止すると長いリンク458がコイルバネ453Bによって前方に押されて仕切片451はソレノイド453から離れる方向に回動し、牌10の進入を許可する開位置に位置決めされる。
ここで、図3を参照して牌10がターンテーブル101から汲上機構200に移動してくるまでの状態について説明する。ターンテーブル101の下面に設けた牌反転用磁石104の極性は、字面を下にしている平伏牌を反転するように定められている。上述の例で言えば、S極を上側にして設置される。この牌反転用磁石104の作用によって、ターンテーブル101の周縁付近を移動する牌のうち、字面を下にしている牌10はこの牌反転用磁石104の頭上において反発力を受けて反転し、字面が上面側となる。
円筒回転体401の手前には、ターンテーブル101から牌の厚さ分よりやや高く離れた位置に、外壁102から内側に向かって突設した湾曲状の障害壁113が設けられており、ターンテーブル101の周縁を移動している牌10のうち、平伏牌においては容易に障害壁113の下を通過できるようにし、字面を横に向けた状態の立牌は、この障害壁113に邪魔されて転倒、又は、立牌状態で湾曲縁に沿って移動するようになっている。そして字面を上にした牌10は円筒回転体401下方に到達するようになっている。
図9を参照してターンテーブル101上から牌が汲み上げられる際の汲上機構200の一連の動作について説明する。円筒回転体401の吸着面401Bがターンテーブル101の面と対向している状態のとき、ターンテーブル101上に字面を上側にして載っている牌10が、ターンテーブル101と円筒回転体401の吸着面401Bとの間に進入してくると、円筒回転体401内の吸着面401B下方に埋設されている磁石401Cと牌10内の磁石11との間に磁気吸引力が働き、牌10が吸着面401Bに吸着される。牌10を吸着面401Bに吸着した円筒回転体401がX方向に回転することにより牌10は汲み上げられる。
汲上機構200によって汲み上げた牌10を縦長方向に整列させるための整列機構500について説明する。整列機構500は、案内部材501と誘導路504とを備えて成っている。汲上機構200によって汲み上げられた牌10は、案内部材501によってその縦長の方向に進行するように向きを変更しつつ誘導路504に送り込まれる構成となっている。
図10及び図11を参照して、吸着面401Bに様々な角度にて吸着した牌10が、整列機構500により縦長方向に整列する動作について説明する。案内部材501の入り口付近で吸着面401Bからはみ出た側面が、案内部材先端502に接触して抵抗を受けるが、牌10に埋設されている磁石11の中心が、円筒回転体401に埋設されている磁石401Cの中心に吸引されて回転しながら向きを変え、当該側面が案内部材501の内壁面501Aと並行状態になって整列機構500の内部に進入する。
図10は牌の長手側面が案内部材先端502に接触する様子を示したもので牌10は縦長の状態で整列機構500の内部に進入する。この状態で進入した牌10は案内部材501の途中に用意されている切欠503を通過して上部に到達する。案内部材501の内壁は上部付近にて緩やかに外側に向かっていて、牌10は向きを外側に向けると共に吸着面401Bからはみ出していく。牌10の中心が最高点を通過すると牌10は下方に向きを変えるがこのとき牌10の先頭部分は誘導路504の入り口付近に到達する。誘導路504は両側を案内部材501と側壁に囲まれたスロープからなり、図示するようにスロープ先端の一部は溝401A内に突出している。案内部材501によって吸着面401Bから外側に逸脱した牌10の先端はこのスロープ先端を跨ぐようにして誘導路504内に進入する。
図11は牌10の短手側面が案内部材先端502に接触する様子を示したものである。牌10は短手側面が案内部材先端502に接触して図10の場合と同様に回転するが、牌10は傾斜部401Dを跨いだ形で横長の状態になって内部に進入する。このとき牌10に埋設されている磁石11の中心が、円筒回転体401に埋設されている磁石401Cの中心より外側に偏っているため、牌10は内側に吸引力を受け、当該側面は案内部材501の内壁面501Aに圧接した状態で整列機構500の内部に進入する。
牌10の中心が切欠503に到達すると、内壁に当接している側面は抵抗を受けているため牌10は切欠先端505を中心に回転し牌10の一部は切欠503内に進入する。このとき傾斜部401Dによって僅かに浮き上がっていた牌10の一端が傾斜部401D上を滑落して牌10の回転を加速する。なお、傾斜部401Dは回転を補助するためであって特に設けなくともよい。この状態で牌10が更に進むと、牌長手側面が切欠後端506に接触し、再度回転して長手側面を案内部材501の内壁面501Aに当接して前進する。上述の如く、様々な角度で円筒回転体401に吸着した牌10は整列機構500により一定の向きに制御される。
図4、図5、図9に示されるように、案内部材501の頂上付近にて内壁に設られた孔内には反射型フォトセンサからなる入口センサ403が設けられており、牌10は入口センサ403によりその進入が電気的に検知される。そして円筒回転体401によって送られてきた牌10は、円筒回転体401の頂上付近において誘導路504の一端504Aにより捕捉され、円筒回転体401の回転につれて吸着面401Bより剥離され、下方に向けて傾斜している誘導路504に沿って自重によって自然落下し、振り分け機構600に向けて前進する構成となっている。
誘導路504の進行方向の延長上には、一端を回動自在に軸支した可動片601とソレノイドからなる牌反転機構650が設けられている。牌反転機構650は牌10を反転させるのに使用されるものであり、ソレノイド620によって駆動される可動片601は通常図示の位置にある。可動片601には磁石602が埋設されており、字面を下にして落下してくる牌10は、磁石602によって吸引されて可動片601上で停止するよう構成されている。牌反転機構650の動作については、後述する。
次に、振り分け機構600について説明する。振り分け機構600は、整列機構500より牌反転機構650を介して送られてきた牌10を、後で詳しく説明する載置部701の下載置台702又は上載置台703のいずれかに選択的に送り込むための機構である。振り分け機構600は、牌を移動させるために必要な円盤回転体603とその駆動機構、及び、牌の軌道を制御するための振り分け板604とその駆動機構を有している。
図12を参照して円盤回転体603について説明する。円盤回転体603は、円筒形の基部605を有しており、基部605の側面にフランジ状に薄板606が形成され、さらに薄板606上に基部605と同程度の厚さの棒状押し片607が等間隔に2個配設されており、基部605の中心は回転軸406(図5参照)に固着されている。
次に、図13を参照して振り分け板604について説明する。振り分け板604は、円盤回転体603の基部605(図12参照)と同半径の仰木型状基部608を備えており、仰木型状基部608の一端を延設した平板状基部609に、側壁610及び上板611が図示の如く形成されていると共に、ストッパ612が図示の位置に設けられている。基部608の中心には孔613が形成されており、孔613内に回転軸406(図5参照)を嵌挿し、これにより振り分け板604は回転軸406によって回動自在に支持されている。
ここで、図4も併せて参照すると、円盤回転体603の薄板606と、振り分け板604の側壁610との間隔は牌の幅より僅かに広い程度に保持されている。そして振り分け板604は、バネ630によって常時下側に向けられていると共に、リンク615を介してソレノイド614に連結しており、ソレノイド614を駆動することにより牌の出口を上方向に変更し、前方に配設されている、後述する押出機構700の載置部701の下載置台702又は上載置台703上のいずれかに牌10を振り分けて載置することができるように構成されている。
上述の如く構成されている振り分け機構600による牌の振り分け動作について説明する。図13には振り分け板604が下載置台702に向けられているときの状態が示されており、汲み上げ途中の牌10と誘導路504上の牌10と棒状押し片607に後端を押されて移送(移送手段)されている牌10とが示されている。ここでは、磁石401Cと棒状押し片607との位相関係がほぼ90度の状態が示されている。
図14には、図13において棒状押し片607に押されていた牌10が下載置台702に押し込まれたときの状態が示されており、このとき誘導路504上にあった牌10は可動片601内の磁石602に吸引され、汲み上げ途中であった牌10は円筒回転体401上に汲み上げられている。
図15及び図16は振り分け板604が上載置台703に向けられているときの牌の移送状態を説明するためのものである。図15において、可動片601上にある牌10は、その後端下側を棒状押し片607によって押し上げられるようにして磁石602から剥離させられ、振り分け板604の平板上基部609上に押し出される。そして次に、図16に示される如く、牌10は押し片607によって平板上基部609上で前方に押されて前進し、さらに押し片607に押されて牌10の先端が上載置台703上の中心まで進むと、載置部701の上部片704内にS極を下にして埋設されている磁石705によって吸引され、上載置台703上の所定の位置に載置される。
次に、図17乃至図19を参照し、牌反転機構650により振り分け機構600に進入する前に牌10を反転させる場合の動作について説明する。まず、図17において、牌10が円筒回転体401により汲み上げられ、牌10の汲み上げが入口センサ403によって検知されると、この検知結果に応答してソレノイド410が作動し、仕切り片451が牌10の通過を禁止する閉位置とされる。すなわち、牌反転機構650により牌10を反転させる場合には、反転させるべき牌が入口センサ403により検出されたことに応答して進入口開閉機構450を動作させて仕切り片451を閉位置に切り換える。このとき、牌反転機構650のソレノイド620が作動して可動片601は図示の位置に後退し誘導路504の下方に位置して間隙616が形成される。この状態において、仕切り片451は開位置とされ、牌10を汲み上げる誘導路504を落下滑走してくる牌10は間隙616内に落下する。
図18は、間隙616内に落下した牌10がストッパ612によって受け止められている状態が示されている。図18に示すようにストッパ612は、右肩上りに傾斜していて牌10が受け止められたときに牌10が左に傾いた状態で静止するように構成されている。なお、補助的に、振り分け板604の仰木型状基部608の裏側の適当な位置に磁石を埋設しても良い。
図19は、ストッパ612上に載置されていた牌10が棒状押し片607によって字面10Bを上にした状態で仰木型状基部608に沿って移送される様子が示されている。牌10は字面10Bが上にされた状態で移動されていき、懸賞牌となるものである。この牌10は、この後、平板状基部609上を移動し、下載置台702上に載置されるが、牌10の平板状基部609から下載置台702への移動については、図13及び図14を用いて説明した場合と全く同様であるので、ここでの詳しい説明は省略する。
上述の如くして牌10は振り分け機構600から押出機構700の載置部701の下載置台702又は上載置台703上へ載置される。図4を参照すると、振り分け機構600によって振り分けられた牌10は、振り分け機構600から牌10の進行方向上に設けられている押出機構700に移送される。
図20は押出機構700の載置部701の斜視図、図21は押出機構700の斜視図、図22は押出機構700の立面図である。図13、図20〜図22を参照して押出機構700について説明する。
押出機構700は、載置部701と押出部730とを備えて成っている。押出機構700の載置部701は牌10を載置するための下載置台702と上載置台703とを備えた2層構造部を有しており、下載置台702及び上載置台703の突き当たりにはストッパとして働く側壁706が設けられている。棒状押し片607によっていずれの載置台702、703に押し込まれた牌10も側壁706によって制止されるようになっている。上載置台703の上方には、牌10の厚さ分より若干大きい程度の間隔をあけて上部片704が設けられている。このようにして載置部701には牌10を収容するための上部空間741と下部空間742とが形成されている。
上部空間741において、側壁706と対向する開口から牌10が振り分け機構600により上部空間741内に押し込まれてきて上載置台703上に載置される。
下部空間742においても、同様に、側壁706と対向する開口から牌10が振り分け機構600により下部空間742内に押し込まれてきて下載置台702上に載置される。側壁706には反射型フォトセンサ707及び708が設けられており、下載置台702上に載置された牌10は反射型フォトセンサ707にて、また上載置台703上に載置された牌10は反射型フォトセンサ708にて検知される。
載置部701に隣接して牌10の進入方向に対して左側に押出部730が配設されている。押出部730は、上側押し込み片709及び下側押し込み片710を備えており、各押し込み片709及び710は、L字状の連結アーム712の一端に上部空間741及び下部空間742にそれぞれ対向するように取り付けられており、連結アーム712の他端は摺動片711に連結されている。摺動片711は水平に保持された支持棒713に水平摺動自在に嵌挿されており、一方、連結アーム712の下側にはコロ714があって連結アーム712の水平運動を保持すると共に、図22に示すように各押し込み片709、710が取り付けられている連結アーム712の一端は、載置部701に水平に保持された支持棒712Aに挿通されていて、押し込み片709、710の横振れを抑止している。(図9参照)。
ここで図4も併せて参照すると、駆動用歯車201の上方には2つのコロ715を等間隔に配設した回転板716が支軸205に固着されており、一方、摺動片711の下方には当て板717が突設形成されていて、コロ715が矢印の向きに回転して当て板717に当接している間、摺動片711は点線で示す位置に前進する。摺動片711の上部には戻しバネ718があって、コロ715が当て板717からはずれると同時に摺動片711は元位置に後退する。コロ715と棒状押し片607の位相関係は棒状押し片607が下載置台702上に牌10を押し込んだ直後にその棒状押し片607がほぼ水平になった時に、コロ715が当て板717に当接するように構成されている。
押出機構700は上述の如く構成されているので、上載置台703上に載置された牌10は、上載置台703上に押し込まれた直後に、上側押し込み片709がX方向(図22参照)に水平移動して点線で示す位置まで前進するので、上載置台703上の上部空間741内から脱出して押出機構700から押し出される。牌10が下部空間742内の下載置台702上に載置された場合には、牌10が下載置台702上に押し込まれた直後に下側押込片710がX方向に水平移動して点線で示す位置まで前進するので、下載置台702上の下部空間742内から脱出して押出機構700から押し出されるようになっている。
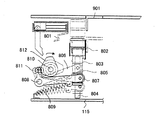
図22に示されているように、押出機構700から押し出された牌10を順次受け取って整列させるため、押出機構700の牌10の押し出し側で、載置部701を挟みその反対側には、待機機構800が設けられている。
図22を参照して待機機構800について説明する。待機機構800は、載置部701に一旦載置された牌10が押出部730によって押し出されたときに、この押し出された牌10を受け取って順次1段又は2段に整列させていき、これにより所要の配牌ブロック又は2段積牌ブロックを形成して待機させておくための機構である。待機機構800は1段積の配牌ブロックが形成される配牌台801及び2段積牌ブロックが形成される待機台802とを備えて成っており、すなわち、待機機構には1段積の配牌ブロックが形成される第1の台(配牌台801)と2段積牌ブロックが形成される第2の台(待機台802)とが設けられ、待機台802は後述する駆動機構に連結されている。待機台802が原点位置(通常位置)にある時には、待機台802は下載置台702と同一レベル、又は僅かに低いレベルにある。一方、配牌台801は後述する駆動機構に連結しており、配牌台801が原点位置(通常位置)にあるときには、配牌台801は上載置台703と同一レベル、又は僅かに低いレベルに静止している。
押出機構700の下載置台702上に振り分け載置された牌10は下側押し込み片710によって押し出されて下載置台702に隣接する待機台802上に移動する。そして次の牌10が下載置台702上に載置され下側押し込み片710によって押し出されてくると、先に待機台802上に載せられていた牌10は次の牌10に押圧され、図22のX方向である下側押し込み片710の押出方向に牌1つ分だけ進む。上述の動作が所要の回数繰り返し行われることにより、下載置台702上に振り分け載置された牌10が待機台802上に、先ず、所要の数だけ一段に整列される。
このようにして一段目の整列が終了すると、待機台802は牌10の厚さ分だけ下降し、その後一段目の牌10の上に上述と全く同様にして2段目に整列させるための牌10が下載置台702から下側押し込み片710により順次押し出される。一段目の牌10の上に載せられた牌10は、隣り合って押圧してくる牌10により一段目の牌上を下側押し込み片710の押出方向に移動する。この動作が所要の回数繰り返されて一段目の牌10上に二段目の牌10が整列され、これにより所要の2段積牌ブロックが形成される。
一方、上載置台703上に振り分け載置された牌10は、上側押し込み片709によって押し出されて配牌台801上に移動する。そして次の牌10が上載置台703上に載置され上側押し込み片709によって押し出されると、先に配牌台801の上に載せられていた牌10は、次に押し出されてきた牌10によって押圧され、上側押込片709の押出方向に牌1つ分だけ移動する。この動作が所要の回数繰り返し行われることにより、上載置台703上に振り分け載置された牌10は配牌台801上に整列され、所要の数の牌が1段1列の状態で形成され、これにより所要の配牌ブロックが形成される。以上の説明から判るように、振り分け機構600及び押出機構700によって、整列機構500から送り出される牌10を配牌台801(第1の台)上又は待機台802(第2の台)上のいずれか一方に送給するための選択送給機構を構成している。
上述した待機台802は、押出機構700から牌を受け取るためだけでなく、待機台802上に形成された2段積牌ブロックを後述する昇降台901に移載させるため、上下動するようになっている。また、配牌台801は、待機台802が上方へ移動する場合に、待機台802の上方への移動を邪魔することがないように回動運動を行うように構成されている。
図23、図24を参照して待機台802を上下動させるための構成について説明する。待機台802は下面2カ所において直方体状の保持部材803に固定されており、この保持部材803の中央に設けたガイド孔がベース板115に垂直に立てられた支持軸804に嵌挿されており、これにより保持部材803は待機台802を上下摺動自在に支持する。保持部材803の下方側面には横溝805が形成されており、この横溝805には、アーム806の一端に設けたコロ807が嵌合している。
アーム806はベース板115をコ字状に折り曲げた側板840上に設けた固定軸808に回動自在に支持されていると共に付勢バネ809によって下方に付勢されている。アーム806の上方には、ベース板115の側板を貫通して回転自在に支持されているカム軸810が設けられている。アーム806のもう一方の端にはコロ811が設けられており、コロ811はカム軸810上に配設されたカム812に当接するように設けられている。
カム軸810は歯車813、814を介して駆動モータ815に連結しており、駆動モータ815を起動してカム軸810を一回転させると、待機台802は図で点線と実線とで示される間を1回上下運動を行う。また、カム軸810の一方の端には回転角を検出して駆動モータ815を停止制御するために、切欠を有したセンサ板816とフォトインタラプタ818a〜818cが配設されていて、この3組のセンサにより検出されたカム軸810の回転角に応じて待機台802の原点位置、下降位置、及び上昇位置が検出される。
次に、図24及び図25を参照して配牌台801の回動運動について説明する。配牌台801はベース板115の側板840に設けた固定軸820によって回動自在に支持されたアーム821の先端に固定されている。アーム821はバネ823によってばね付勢されている。アーム821のもう一方の端にはコロ822があり、カム軸810上に設けたカム812に当接していて、カム軸810を矢印の方向に一回転すると配牌台801は点線と実線で示される位置の間を回動して往復動する。
このようにして待機台802の垂直往復動と、配牌台801の回転往復動とを一本のカム軸810の一回転によって行うもので、カム軸810とカム812との関係について以下に説明する。
カム軸810が原点位置にあるとき、待機台802は前述したように下載置台702の高さにあり、また、配牌台801は上載置台703の高さ位置にある。待機台802上に1段目(下段)の整列牌が形成されると駆動モータ815を起動してカム軸810を矢印の向きに回転させ、待機台802を下降させる。配牌台801は下降位置を維持する。待機台802が牌1個分下降した下降位置にてフォトインタラプタ818bはセンサ板816の切欠の開始端を検出して駆動モータ815を停止する。この状態にて待機台802上に2段目(上段)の整列牌が形成される。この状態で配牌台801上には配牌が、待機台802上には2段積み牌が形成される。
以上の説明から判るように、振り分け機構600、押出機構700及び待機機構800によって、整列機構500から送り出される牌10を第1の台である配牌台801上に配牌ブロックとして形成してそこに待機させ、整列機構500から送り出される牌10を第2の台である待機台802上に2段積牌ブロックとして形成してそこに待機させておくためのブロック形成・待機機構が構成されている。
このようにして、配牌台801上に形成されて待機している配牌ブロックと、待機台802上に形成されて待機している2段積牌ブロックとは、移載機構として働く押し板機構1000により選択的に昇降機構900の昇降台901上に移載される構成となっている。
図3から判るように、上述の如く動作する配牌台801、待機台802上に形成された配牌ブロック、又は2段積牌ブロックを受け取り天板4上のレベルまで上昇させるため、配牌台801、待機台802の近傍に昇降台機構900、及び押板機構1000が設けられている。図26も併せて参照すると、配牌台801、待機台802と昇降台機構900、押板機構1000との概略構成図が示されている。
図26には、配牌台801及び待機台802に牌ブロックがいずれも形成されていない場合の状態が示されている。配牌台801、待機台802の本体2の中心側には上下動する昇降台901が設けられており、配牌台801の本体2の周縁側には、前後に水平移動する押し板1004を含む押板機構1000が設けられている。
図27は昇降台機構900の斜視図、図28は昇降台機構900の正面図である。図24、図27、図28を参照して昇降台機構900について説明する。L字状の昇降台901のほぼ中央には保持部材902が固定されている。保持部材902にはガイド孔が設けられており、このガイド孔にはベース板115に垂直に固定された支軸903が挿通されているので、保持部材902及び昇降台901は支軸903に沿って上下に運動することができる。保持部材902とベース板115の間には引張りバネ904が設けられており、引張りバネ904により昇降台901は常にベース板115に向かう方向に付勢されている。
保持部材902の下方には、支軸903に嵌挿して摺動部材906が設けられており、摺動部材906の背面には左右対称に長穴溝905が形成され、摺動部材906の一方の側面には前後方向に横溝964が形成されている。摺動部材906の両側には、それぞれ先端にコロ907を配したアーム908が保持部材909に固定され、この保持部材909は固定ピン910によって回動自在に支持されている。保持部材909先端のコロ911は摺動部材906の長穴溝905に勘合して設けられており、摺動部材906を上下させるとこれに連動して昇降台901は上下に運動することができるようになっている。
図29は摺動部材906の駆動機構を説明するための説明図である。図24及び図29を参照して摺動部材906の駆動機構について説明すると、この駆動機構は、摺動部材906に隣接して設けたコ字状板金960上に設けられており、コ字状板金960の側面にはカム軸1010が回転自在に保持されている。このカム軸の一端は駆動モータ912に直結して設けられており、カム軸1010上には昇降台駆動用カム1011が配設されている。
昇降台駆動用カム1011の下方にはアーム961が板金960の側面間に設けた保持軸1007によって回動自在に保持されている。アーム961の先端にはコロ962が、また、中間にはコロ963が設けられており、コロ962は横溝964に嵌合し、コロ963はカム1011に当接されている。カム軸1010の他端には、切欠を有したセンサ板965が設けられており、フォトインンタラプタ966によって切欠が検出されて駆動モータ912が一回転制御される。摺動部材906は駆動モータ912により上下運動するよう構成されており、摺動部材906の上下動に連動して昇降台901も上下運動を行う。
図30は、上述の如く構成されている昇降台機構900の昇降台901上に、配牌台801に形成された配牌ブロック、又は待機台802上に形成された2段積牌ブロックを押し出して移動させるための押し板機構1000について説明するための立面図であり、図24、図30を参照して押し板機構1000ついて説明する。
コ字状の固定板1001はベース板115の側面840上方にて固定されている(図26参照)。この固定板1001には図3に示すように一対の支持軸1051が設けられている。この一対の支持軸1051に縦溝1002を有する摺動片1003が水平往復動自在に嵌挿されている。断面L字状の押し板1004は、図26にて示される如く上面中央部がT字状に突設形成されており、この突設された部位を摺動片1003に固定すると共に、両側には押し板1004と固定板1001との間に一対の付勢バネ1005、1005が設けられている。
アーム1006は保持軸1007に回動自在に保持されており、一端にはコロ1008が設けられ、コロ1008は摺動片1003に形成されている縦溝1002に当接して設けられている。アーム1006の他端に設けられたコロ1009は、カム軸1010上にカム1011に隣接して設けたカム1012に当接されている。そして、前述した駆動モータ912を一回転すると、押し板1004は点線で示される位置と実線で示される位置との間で1回の水平往復運動を行う。
このようにして昇降台901の垂直往復動と、押し板1004の水平往復動とを一本のカム軸1010の一回転によって行うものであって、昇降台駆動用カム1011とカム1012との関係は、駆動モータ912を起動して天板4の高さ位置にある昇降台901を所定の下降位置にまで下降させ、この状態で後退位置にある押し板1004を前進させて整列牌を移載し、移載が終了して押し板1004が後退を開始した時点で、昇降台901を上昇して整列牌を天板上に押し出し、昇降台901が天板4の位置に、また、押し板1004が後退位置に達した時に駆動モータ912が停止するように構成されている。
待機機構800、昇降台機構900、押し板機構1000は上述の如く動作するよう構成されており、図23〜図25を参照して配牌台801上の配牌が天板4上に移動してから待機台802上の2段積み牌が天板4上の高さ位置に上昇する際の動作について説明する。まず、駆動モータ912を一回転して昇降台901と押し板1004を駆動し、配牌台801上の配牌を天板4上に押し出すと、
駆動モータ815が起動してカム軸810が矢印の方向に回転する。
カム軸810の回転により、配牌台801が図中に点線で示される位置まで後退してその状態を維持し、この間、所定の下降位置にある待機台802が上昇を開始する。待機台802が昇降台901の下降位置の高さ位置まで上昇するとフォトインタラプタ818cはセンサ板816の切欠を検出し、この検出に応じて駆動モータ815が停止する。
この状態で再び駆動モータ912が一回転して昇降台901と押し板1004が駆動され、2段積み牌が天板4上に押し出される。カム軸1010が原点位置に復帰した後、再度、駆動モータ815が回転すると、この回転により待機台802は下降を開始する。
待機台802が配牌台801の移動軌跡上からはずれた時点で配牌台801は原点位置への復帰動作を開始し、配牌台801及び待機台802が原点位置に復帰した位置にてフォトインタラプタ818aがセンサ板816の切欠を検出し、この検出に応じて駆動モータ815が停止する。なお、当然のことながら、配牌を行わない場合は、配牌の移載・上昇動作は行われない。
図31は、自動麻雀卓1の制御系統の構成を示すブロック図である。自動麻雀卓1には、操作用の各種スイッチ、及び牌10の位置や各部材の位置等を検出するためのセンサからの出力に応答し、各種部材を駆動するためのソレノイド又はモータを制御して所要の作動を行わせるための制御演算を実行するための演算装置30が設けられている。演算装置30はマイクロコンピュータを用いたデータ処理装置として構成されていて、上述した各種制御動作を実行させるために必要な各種制御プログラムが予め格納されている。
自動麻雀卓1には、上述した牌10の汲み上げから配牌ブロック及び2段積牌ブロックを形成して天板上に持ち上げるまでの一連の機構が東、南、西、北の各場にそれぞれ1組づつ設けられている。図31では、東の場について、2つの入出力インターフェイス41、42を用いて各種の入出力情報を演算装置30に入出力する詳細構成が示されているが、その他の各場についても同様である。
仕切片を回動するためのソレノイド453、入口センサ403、反転機構用のソレノイド620、振り分け板用のソレノイド614、上下載置台に設けられている反射型フォトセンサ707、708はインターフェイス41を介して演算装置30と接続されている。
昇降台用の駆動モータ912及びフォトインタラプタ966、待機台用の駆動モータ815と3つのフォトインタラプタ818a、818b、818cとはインターフェイス42を介して演算装置30に接続されている。
また、演算装置30にはこの他に4つの入出力インターフェイス43、44、45、46が接続されており、演算装置30は各入出力インターフェイス43〜46とそれぞれ所要の入出力情報を入出力するよう構成されている。
天板スイッチ51及び汲上機構及びターンテーブルを駆動させる駆動モータ204は入出力インターフェイス43を介して演算装置30に接続されている。また、ゲーム選択スイッチ52、ゲームモード表示器53、懸賞牌有/無選択スイッチ54、配牌有/無選択スイッチ55は入出力インターフェイス44を介して演算装置30に接続されている。
入出力インターフェイス45には蓋開閉モータ56、開センサ57、閉センサ58が接続されており、これらのモータ及び各センサは入出力インターフェイス45を介して演算装置30に接続されている。スタートスイッチ6A、スタートランプ59、その他各種スイッチやランプ、センサ等が入出力インターフェイス46を介して演算装置30に接続されている。
図32には、2段積牌ブロック(以下、単に2段積牌と称することがある)の形成、天板上への押し出しについての制御動作を説明するためのフローチャートが示されている。
処理が開始されると、ステップS1では、スタートスイッチ6AがONとされたか否かが判別される。スタートスイッチ6AがONとされず、OFFである場合には、再度ステップS1が実行される。スタートスイッチ6AがONとされた場合にはステップS2に入る。
ステップS2では、牌投入口4Aを開く処理が行われた後、ステップS3ではスタートスイッチ6AがONとされたか否かが判別される。スタートスイッチ6AがONとされず、OFFである場合にはステップS3に戻る。スタートスイッチ6AがONとされた場合には、ステップS4に入る。
ステップS4では、スタートランプ59をOFFとする処理が行われ、ステップS5では牌投入口4Aを閉じる処理が行われる。次に、ステップS6では予め形成され、待機していた2段積牌が天板4上に押し出され、ステップS7ではステップS2で取り込まれた牌を用いて2段積牌を形成する処理が行われる。
ステップS8では、2段積牌形成処理が完了したか否かが判別され、2段積牌形成処理が完了していない場合には、ステップS8の判別結果はNOとなり、ステップS7に戻る。2段積牌形成処理が完了した場合には、ステップS8の判別結果はYESとなり、ステップS9に入り、ここでは準備完了を示すスタートランプ59をONにする処理が行われ、その後ステップS1に戻る。
図33には、懸賞牌を形成した2段積牌ブロックの形成、天板上への押し出しの場合の制御動作を説明するためのフローチャートが示されている。
処理が開始されると、ステップS21ではスタートスイッチ6AがONであるか否かが判別される。スタートスイッチ6AがOFFである場合には、ステップS21に戻り、スタートスイッチ6AがONである場合には、ステップS22に入る。
ステップS22では牌投入口4Aを開く処理が行われ、ステップS23ではスタートスイッチ6AがONであるか否かが判別される。スタートスイッチ6AがOFFである場合にはステップS23に戻り、スタートスイッチ6AがONである場合にはステップS24に入る。
ステップS24ではスタートランプ59をOFFにする処理が行われ、ステップS25では牌投入口4Aを閉じる処理が行われる。ステップS26では2段積牌を天板4上に押し出す処理が行われ、ステップS27では乱数により懸賞牌の位置が決定される。ステップS28では2段積牌を形成すると同時にその中に懸賞牌を配置する処理が行われる。乱数を用いることによりその処理が偶然的に行われることになるので好ましい。以下に説明する各種処理や切り換え等においても乱数を用いているが、同様の効果を期待することができる。
ステップS29では懸賞牌の配置されている2段積牌を形成する処理が完了したか否かが判別される。懸賞牌の配置されている2段積牌を形成する処理が完了していない場合にはステップS29の判別結果はNOとなり、ステップS28に戻る。懸賞牌の配置されている2段積牌を形成する処理が完了した場合にはステップS29の判別結果はYESとなり、ステップS30に入る。ステップS30ではスタートランプ59をONする処理が行われ、ステップS21に戻る。
図34は、配牌ブロック(以下、単に配牌と称することがある)及び2段積牌を天板4上に順次押し上げる場合の動作を説明するためのフローチャートである。
処理が開始されると、ステップS41ではスタートスイッチ6AがON、OFFのいずれであるかが判別される。スタートスイッチ6AがOFFである場合にはステップS41に戻り、スタートスイッチ6AがONである場合にはステップS42に入り、ここでは牌投入口を開く処理が行われる。
ステップS43ではスタートスイッチ6AがON、OFFいずれであるかが判別される。スタートスイッチ6AがOFFの場合にはステップS43に戻る。スタートスイッチ6AがONの場合にはステップS44に入り、ここでは牌投入口4Aが閉じられる。
ステップS45では、配牌を天板4上に押し出す処理が行われ、ステップS46ではスタートスイッチ6AがON、OFFのいずれであるかが判別される。スタートスイッチ6AがOFFの場合にはステップS46に戻り、スタートスイッチ6AがONである場合には、ステップS47に入る。
ステップS47では、スタートランプ59がOFFにされ、ステップS48では2段積牌を天板4上に押し出す処理が行われる。ステップS49では乱数を用いて懸賞牌の出る場を決定する処理が行われ、ステップS50では乱数を用いて配牌開始時期を決定する処理が行われる。ステップS51では配牌及び2段積牌を形成すると同時にそれらの中に懸賞牌を配置する処理が行われる。
ステップS52では配牌及び2段積牌を形成すると同時にそれらの中に懸賞牌を配置する処理が完了したか否かが判別され、配牌及び2段積牌を形成すると同時にそれらの中に懸賞牌を配置する処理が完了していない場合にはステップS52の判別結果はNOとなり、ステップS51に戻る。配牌及び2段積牌を形成すると同時にそれらの中に懸賞牌を配置する処理が完了した場合にはステップS52の判別結果はYESとなり、ステップS53に入る。
ステップS53では、スタートランプ59がONとされ、ステップS41に戻る。
次に自動麻雀卓1の動作について説明する。図1及び図35を参照して4人用(136牌)、懸賞牌なし、配牌なしに設定した場合の自動麻雀卓1の動作について説明する。図35はこの場合の2段積み牌の配列を示す平面図である。競技終了後は使用した牌は天板4上に散乱しており、もう一組の牌は既に2段積み整列状態で本体2内に待機している。この状態では、天板4中央に配設されているスタートスイッチ6A内の照光ランプ(スタートランプ59)は点灯しており、
自動麻雀卓1を使用するための操作が可能であることを表示している。
使用者がスタートスイッチ6Aを操作すると、天板4中央の牌投入口4Aが開口され、使用者は使用済みの牌10を牌投入口4Aから本体2の内部に落とし込む。また、スイッチ操作が行われると同時に駆動モータ204が回転を開始して攪拌機構100が作動状態とされるので、本体2内に投入された牌10はターンテーブル101上で徐々に外側に拡散する。攪拌機構100の作動に伴い汲上機構200、整列機構500、振り分け機構600、及び押出機構700が同時に作動を開始するが、汲上機構200の入り口にある仕切片451は閉じられており、牌10の汲み上げは禁止されている。
再度、使用者がスタートスイッチ6Aを操作すると、駆動モータ912が作動して2段積み牌を天板4上に押し上げる。この作動完了と共に駆動モータ815が作動し配牌台801及び待機台802は原点位置にて停止する。スタートスイッチ6A内の照光ランプを消灯し操作不能を表示すると共に仕切り片451が作動して開状態となり、汲み上げが可能とされる。
ターンテーブル101上の牌10は攪拌されながら徐々に周縁に向かって移動する。周縁を移動中の牌10にあって字面が下に向いている牌は牌反転用磁石104に反発し、字面を上に向けるよう反転する。また、字面を横に向けた立牌であっても状態によっては回転力を受けて回転し、字面を上に向けた状態となる。字面を横に向けた立牌10は、攪拌機構100の攪拌動作に伴い、次第に平伏状態となる。こうしてターンテーブル101の周縁を移動している牌10は、障害壁113に到達するが、このとき平伏牌にあっては下方をすり抜け、一方、立牌にあっては障害壁113にあたって転倒するか、又は、立牌状態のまま障害壁113に沿って移動する。
回転中の円筒回転体401の吸着面401Bが下降位置にあって、その下方を移動中の字面を上にした牌10は容易に吸着されて上方に汲み上げられる。円筒回転体401に吸着された牌10は、案内部材501によって縦長の向きに統一されて上方に汲み上げられると共に、入口センサ403によって計数検知される。
汲み上げられた牌10は誘導路504に進入して吸着面401Bから剥離され、誘導路504上を滑走した後、可動片601に吸引されて停止する。可動片601上の牌10は回転している棒状押し片607に押されて磁石602から剥離すると共に、振り分け板604の仰木型状基部608に沿って前進し、棒状押し片607がほぼ水平状態になった辺りで、牌10は下載置台702上に送り込まれる。
下載置台702上の牌10は側壁706内に設けた反射型フォトセンサ707にて検知される。棒状押し片607が牌10を下載置台702上に送り込んでから少し遅れて、下側押し込み片710が前進して下載置台702上の牌10を待機台802上に押し込んでいく。このようにして牌10は次々と待機台802上に押し込まれていき、1段目の整列牌が形成されていく。
また、汲上機構200の入り口に設けた入口センサ403によって17牌目が検知されると、入り口の仕切片451が制御されて牌10の汲み上げが禁止される。17牌目の牌10が下載置台702に到達して下側押し込み片710によって待機台802上に押し込まれたことが反射型フォトセンサ707によって検知されると、所定時間後(下側押し込み片710の運動時間を考慮した値)に駆動モータ815が起動されて待機台802が牌1個分下降する。フォトインタラプタ818bにて下降位置が検出されると駆動モータ815が停止されると共に、入り口の仕切片451が開状態とされて牌の汲み上げが再開されると、再び牌の整列動作が行われて2段目の整列牌が待機台802上に形成される。
そして入口センサ403によって34牌目が検知されると、仕切片451が制御されて牌の汲み上げが禁止される。34牌目の牌10が待機台802上に押し込まれたことが反射型フォトセンサ707で検知されると、下側押し込み片710の運動時間を考慮した時間である所定時間後に駆動モータ815が起動されて待機台802が上昇し、フォトインタラプタ818cが待機台802の上昇位置を検出すると駆動モータ815が停止する。このようにして、すべての2段積み牌が形成されると駆動モータ204が停止すると共にスタートスイッチ6A内のスタートランプ59が点灯され、待機状態であることが表示される。
天板4上において麻雀競技が終了し、スタートスイッチ6Aを操作して牌投入口4Aを開口し、牌10を牌投入口4Aから本体2内に投入した後、再度スタートスイッチ6Aを操作すると、牌投入口4Aが元位置に復帰されると共に、駆動モータ912が起動して昇降台901が下降し、押し板1004によって待機台802上の2段積み牌が昇降台901上に移載され、昇降台901が上昇して2段積み牌が天板4上に上昇した位置をフォトインタラプタ818aが検出すると駆動モータ912が停止する。
作動完了と共に駆動モータ815が作動し配牌台801及び待機台802は原点位置にて停止する。スタートスイッチ6A内のスタートランプ59が消灯され操作不能が表示されると共に仕切り片451が作動して汲み上げが可能になる。
上述の如くして2段積み牌が天板4上に押し出され、次の競技が開始される。
次に、上記条件にて懸賞牌を発生させて使用する場合について説明する。一連の動作は、上述した動作とほぼ同じなので、異なる部分についてのみ説明する。スタートスイッチ6Aを操作して待機中の2段積み牌を天板4上に押し出すまでは上述と全く同様である。仕切片451を解放して牌10の汲み上げを開始するのに先立ち、演算装置30は乱数を用いて懸賞牌の位置を決定する。なお、懸賞牌を発生しない箇所を決めることもできる。これは通常の麻雀ゲームが二つのサイコロの目によって懸賞牌の位置が決まるため、これに合わせて構成されているものである。本例の4人用136牌の場合懸賞牌の発生する箇所はそれぞれの場において1〜10番目及び17番目であって、懸賞牌の位置は44通りである。
麻雀卓の四辺は便宜的に決められた東、西、南、北という名称があり、例えばここでは東の5番目に懸賞牌を発生させることが制御装置により決定されたとする。懸賞牌の位置が決定されると、入り口に設けられている仕切片451が解放されて牌の汲み上げが開始され、2段積み牌の形成が開始される。懸賞牌の発生しない場、すなわち、南場、西場、北場については、前述の動作と同じことが行われる。
懸賞牌の発生する東場については、懸賞牌の発生するのは上段であるので、下段形成については上述と同じ動作によって行われる。待機台802上に1段目が形成され待機台802が牌1個分降下した後、仕切片451が解放されて牌の汲み上げが再開され、上段の形成が開始する。
入口センサ403が、21牌目の牌(17+4)を検出すると、仕切片451が一旦閉じて牌の汲み上げが禁止される。21牌目の牌10が下載置台702に到達したことを反射型フォトセンサ707によって確認されるとソレノイド614が作動して可動片601が後退すると共に、再び仕切片451を解放して22牌目の牌1個を汲み上げた後、再び仕切り片451を閉じ、牌の汲み上げを禁止する。
そして反転機構によって字面を上にした牌10(懸賞牌)が下載置台702に到達したことを反射型フォトセンサ707によって確認すると、ソレノイド614の作動を停止して可動片601を元位置に戻すと同時に、再び仕切片451を解放して牌の汲み上げを行う。そして34牌目の牌が入口センサ403によって検知されると、仕切片451を閉じて牌の汲み上げを禁止する。以降については前記と全く同様である。
図36は本実施例における配牌パターンを、図37は2段積み牌の配列パターンを示す平面図である。競技終了後は使用した牌は天板4上に散乱しており、もう1組の牌は配牌、及び2段積み牌の状態で卓内に待機している。この状態のときには、天板4中央にあるスタートスイッチ6A内のスタートランプ59は点灯しており、操作可能を表示している。
使用者がスタートスイッチ6Aを操作して、牌投入口4Aを開口し、使用済み牌を内部に投下する。再度、スタートスイッチ6Aを操作すると、駆動モータ912を起動して昇降台901を下降し、押し板1004によって配牌台801上の配牌を昇降台901上に移載した後、昇降台901を上昇させる。配牌が天板4上に上昇した位置をフォトインタラプタ139が検出すると駆動モータ912を停止させると共に、駆動モータ815を起動して待機台802を上昇し、フォトインタラプタ818cが上昇位置を検出すると駆動モータ815が停止する。この状態では、スタートスイッチ6A内のスタートランプ59が点灯していて、2段積み牌の天板4上への押し出し操作可能を表示する。
各競技者によって、すべての配牌が昇降台901上から取り除かれたのを確認して、再びスタートスイッチ6Aを操作すると、駆動モータ912が起動して昇降台901が下降し、押し板1004によって待機台802上の2段積み牌が昇降台901上に移載される。2段積牌が載せられた昇降台901が上昇し、2段積み牌が天板4上の位置に上昇したことをフォトインタラプタ139が検出すると駆動モータ912が停止する。この作動完了と共に駆動モータ815が作動し配牌台801及び待機台802は原点位置にて停止する。そしてスタートスイッチ6A内のスタートランプ59が消灯し操作不能が表示される。
また、演算装置30により乱数を用いて懸賞牌を出す場とどの時点から配牌を行うかとが決定される。この点について更に説明すると、例えば一般的な4人麻雀の使用牌数は136牌で、配牌数は13牌であり、図35に示される配牌パターンが適用される。配牌分を除いた2段積み牌の配列パターンは図36に示される如く予め決められているので、どの場に懸賞牌を出すかが決定される。そして南場が選択された場合、南場の右から6番目の位置に懸賞牌が発生するようになる。そして南場には8列の2段積み牌が、西場には17列の2段積み牌が、北場も同様17列の2段積み牌が形成され、東場には2段積み牌の形成が行われない。因みに東場が選択された場合は、配列パターンが90°時計方向に回転した形になる。
次に、どの時点で配牌を行うかについて説明する。例えば、N牌汲み上げ後に配牌を行うと乱数により決定された場合は、まず、南場、西場、北場の入り口にある仕切片451を解放して牌を汲み上げ、2段積牌の形成を開始する。東場の仕切片451は解放しない。汲み上げられた牌は、それぞれの入口センサ403によって計数され、そのトータル値がNになると、2段積み牌の形成を一旦止めて配牌が一斉に開始される。
なお、本実施例では13牌の配牌数であるが、本発明はこの数に限ったものではない。また、配牌パターン及び配牌形成のタイミング等、一例であってこの方法に限るものではなく、他の配牌パターン及び配牌形成のタイミングであってよいのは勿論である。
上述の如く、懸賞牌が南場で、配牌開始が30牌汲み上げ後と決定された場合の自動麻雀卓1の動作について以下に詳しく説明する。演算装置30が乱数を用いて懸賞牌を出す場とどの時点から配牌を行うかとを決定すると、東場を除いた場の仕切片451が一斉に解放される。
各場の汲上機構200により牌10は一斉に汲み上げが開始されると共に、それぞれの入口センサ403によって牌10が計数検知される。トータル値が30に達すると、汲み上げている場の仕切片451が一斉に閉塞状態にされると共に、東場の仕切片451が解放され、同時に振り分け板604が上側に作動される。このときの南場の計数値が8、西場の計数値が10、北場の計数値が12であったとすると、南場において8番目の牌が下載置台702に設けられた反射型フォトセンサ707によって検知されると、振り分け板604が上側に制御されると共に、仕切片451が解放されて牌の汲み上げが再開される。
他の場についても同様に、西場については10番目の牌が、北場においては12番目の牌がそれぞれの反射型フォトセンサ707によって検知されると、振り分け板604が上側に制御されると共に仕切片451が解放されて牌の汲み上げが再開する。
こうして、配牌台801上に配牌が次第に形成され、入口センサ403が配牌数13牌を検知、東場については13番目、南場については21番目、西場については23番目、北場については25番目を検知すると、それぞれ仕切片451が一旦閉塞される。そしてそれぞれの場において配牌台801に所定数の13牌が送り込まれたことが反射型フォトセンサ708によって検知されると、振り分け板604が下側に制御されると共に、仕切片451が解放されて牌の汲み上げが再開される。但し、東場については2段積み牌の形成が行われないため仕切片451の解放が行われない。仕切片451が解放された南場、西場、北場においては、一時休止していた2段積み牌の形成が前述と全く同様の手順で行われる。南場における懸賞牌発生についても同様である。なお、本例におけるトータル数30を検出したときの南場の8番目の牌は、1段目の所定数に相当するので、仕切片451の開放に先立ち待機台802の下降も、前記動作に並行して行われる。
上述の如くして、配牌形成、2段積み牌形成がすべて完了すると、スタートスイッチ6A内のランプが点灯され、操作可能が表示される。以上述べたように、本実施例における自動麻雀卓は、配牌、及び2段積み牌を天板4上に形成することができる。なお、先にトータル値Nを計数した時点で一斉に仕切片451を閉塞状態にして牌の進入を禁止すると述べたが、この時、トータル値Nを検出した場以外の場において既に後続の牌が進入していることが起きていて、進入してしまった牌はそのまま処理されるので、トータル値N以上(最大N+2)の計数が起きる。したがって、配牌数の不足が生じないように乱数によるNの決定はこれを考慮して行われるが、本発明の本質的意味が変わるわけでない。
なお、本実施例の牌10の汲み上げは、字面側を吸着して行われるが、関連する磁石の極性を変更し、常時反転機構を作動するようにすれば、竹面を吸着するようにできることは言うまでもない。
本発明による自動麻雀卓の実施の形態の一例を概略的に示す斜視図。 図1に示す自動麻雀卓において使用される牌の構成を示す図。 天板を取り外した場合の自動麻雀卓本体内の概略平面図。 図3に示すターンテーブル上の牌を汲み上げるための汲上機構を説明するための平面図。 図4の斜視図。 図4に示す円筒回転体の立面図。 図4に示す円筒回転体の平面図。 図4に示す進入口開閉機構の斜視図。 汲上機構の一連の動作について説明するための斜視図。 牌が整列機構により整列する動作の一例について説明するための図9の部分展開図。 牌が整列機構により整列する動作の他の例について説明するための図9の部分展開図。 図9に示す円盤回転体の正面図と側面図。 図9に示す振り分け板を説明するための図。 振り分け板が下載置台に向けられているときの牌の移送状態を説明する図。 振り分け板が上載置台に向けられているときの牌の移送状態を説明する図。 振り分け板が上載置台に向けられているときの牌の移送状態を説明する図。 牌反転機構により牌を反転させるときの動作について説明する図。 牌反転機構により牌を反転させるときの動作について説明する図。 牌反転機構により牌を反転させるときの動作について説明する図。 図19に示す押出機構の載置部の斜視図。 押出機構の斜視図。 押出機構の立面図。 図22に示す待機台を上下動させるための構成について説明する図。 待機機構、昇降台機構、押板機構を駆動させるための構成を説明する平面図。 図22に示す配牌台の回動運動について説明するための図。 配牌台、待機台と昇降台機構、押板機構との概略構成図。 図26に示す昇降台機構の斜視図。 昇降台機構の正面図。 図27に示す摺動部材の駆動機構を説明するための説明図。 図26に示す押し板機構について説明するための立面図。 自動麻雀卓の制御系統の構成を示すブロック図。 2段積牌ブロックの形成、天板上への押し出しについての制御動作を説明するためのフローチャート。 懸賞牌を形成した2段積牌ブロックの形成、天板上への押し出しの場合の制御動作を説明するためのフローチャート。 配牌ブロック及び2段積牌を天板上に順次押し上げる場合の動作を説明するためのフローチャート。 4人用(136牌)、懸賞牌なし、配牌なしに設定した場合の自動麻雀卓の動作について説明するための平面図。 配牌分を除いた2段積み牌の配列パターンを示す平面図。 2段積み牌の配列パターンを示す平面図。 3人用(108牌)の2段積み牌の配列パターンを示す平面図。
符号の説明
1 自動麻雀卓
2 本体
4 天板
4A 牌投入口
6 操作板
6A スタートスイッチ
10 牌
11 磁石
100 攪拌機構
200 汲上機構
450 進入口開閉機構
500 整列機構
600 振り分け機構
604 振り分け板
650 牌反転機構
700 押出機構
702 下載置台
703 上載置台
709 上側押込片
710 下側押込片
800 待機機構
801 配牌台
802 待機台
900 昇降台機構
901 昇降台
1000 押板機構
1004 押し板

Claims (4)

  1. 各場へ牌を供給するためのつの開口が設けられている天板を有する本体と、磁性体を埋設した牌を攪拌するため前記本体内に設けられた攪拌装置と、前記各場の開口に対応してそれぞれ前記攪拌装置から牌を取り上げる汲上機構と、該汲上機構によって取り上げられた牌を一方向に整列して送り出すための整列機構と、該整列機構から牌を受け取り所定の整列牌を形成して待機させるための形成・待機機構と、該形成・待機機構で形成され待機している前記整列牌を対応する開口から天板上に上昇させる機構とを備えた自動麻雀卓であって、
    前記攪拌装置は回転するターンテーブルと外壁とが設けられ、攪拌された牌は前記ターンテーブルの回転により外壁に向かって移動させ、
    前記牌を取り上げる汲上機構は円筒回転体が設けられ、該円筒回転体の周面部位には前記円筒回転体の一側端から牌の横幅ほどの幅をもつ吸着面を配設し、前記吸着面の中心には磁石を埋没し、前記吸着面に磁気力により牌を吸着して下方から上方に吸い上げるように円筒回転体を回転させ、
    前記整列機構は、前記円筒回転体に吸い上げられた牌の方向を揃えるため前記吸着面の外側の軌道に沿って配設した案内部材と、該案内部材の延長上であって前記円筒回転体の頂上付近には前記円筒回転体の吸着面から牌を剥離して前記形成・待機機構に導くための誘導路を設け、
    前記円筒回転体によって下方位置にて取り上げられた牌は、前記案内部材にそって牌の向きを揃えながら上方に移動するとともに前記誘導路の一端に捕捉されて前記円筒回転体から離脱するようにしたことを特徴とする自動麻雀卓。
  2. 前記形成・待機機構は、
    前記誘導路に捕捉された牌の進行方向の延長上に該牌を載置するための載置部を設け、前記誘導路に捕捉された牌を受け取り前記載置部に移送するための移送手段と、前記載置部の一方の側に整列牌を形成して待機させるための待機台を含む待機機構と、前記載置部を挟み前記待機台の反対側から前記載置部に移送された牌を前記待機台上に押し出して前記待機台上に所定数の整列牌を形成するための押出機構とを含み、
    前記円筒回転体の駆動機構と、前記移送手段の駆動機構と、前記押出機構の駆動機構は同一の駆動源に連結されているとともに、前記円筒回転体と、前記移送手段と、前記押出機構は所定の位相関係で協働していることを特徴とする請求項1に記載の自動麻雀卓。
  3. 前記待機機構には1段積の配牌ブロックが形成される第1の台と2段積牌ブロックが形成される第2の台が設けられ、
    前記載置部には前記第1の台と第2の台に対応する載置台が設けられ、
    前記整列機構から送り出される牌を、前記2つの載置台に選択的に送給するための選択送給手段とを備え、
    前記第1の台上に配牌ブロックとして形成・待機させるとともに、前記第2の台上に二段積み牌ブロックとして形成・待機させるようにしたことを特徴とする請求項2に記載の自動麻雀卓。
  4. 前記汲上機構と前記形成・待機機構との間に牌反転機構を備え、懸賞牌を形成できるようにしたことを特徴とする請求項1乃至3のいずれかに記載の自動麻雀卓。
JP2006205597A 2006-07-28 2006-07-28 自動麻雀卓 Expired - Fee Related JP4367956B2 (ja)

Priority Applications (1)

Application Number Priority Date Filing Date Title
JP2006205597A JP4367956B2 (ja) 2006-07-28 2006-07-28 自動麻雀卓

Applications Claiming Priority (1)

Application Number Priority Date Filing Date Title
JP2006205597A JP4367956B2 (ja) 2006-07-28 2006-07-28 自動麻雀卓

Related Parent Applications (1)

Application Number Title Priority Date Filing Date
JP2002232279A Division JP4000284B2 (ja) 2002-08-09 2002-08-09 自動麻雀卓

Publications (3)

Publication Number Publication Date
JP2006314830A JP2006314830A (ja) 2006-11-24
JP2006314830A5 JP2006314830A5 (ja) 2007-11-15
JP4367956B2 true JP4367956B2 (ja) 2009-11-18

Family

ID=37535966

Family Applications (1)

Application Number Title Priority Date Filing Date
JP2006205597A Expired - Fee Related JP4367956B2 (ja) 2006-07-28 2006-07-28 自動麻雀卓

Country Status (1)

Country Link
JP (1) JP4367956B2 (ja)

Cited By (1)

* Cited by examiner, † Cited by third party
Publication number Priority date Publication date Assignee Title
CN107890662A (zh) * 2016-06-14 2018-04-10 艾爵斯特有限公司 自动麻将桌

Families Citing this family (9)

* Cited by examiner, † Cited by third party
Publication number Priority date Publication date Assignee Title
CN101983745B (zh) * 2010-05-06 2012-09-19 江苏唐邦机电有限公司 一种接牌方法及其接牌装置
JP5784887B2 (ja) * 2010-09-01 2015-09-24 株式会社Nttファシリティーズ 太陽電池パネル架台、及び太陽電池装置
CN107320947B (zh) * 2017-07-06 2023-07-21 浙江宣和机电科技有限公司 麻将机及其斜坡出牌装置和上牌方法
CN109381854B (zh) * 2018-11-01 2021-12-24 宋拥良 一种麻将机上牌机构
CN109173237B (zh) * 2018-10-22 2024-05-14 浙江宣和机电科技有限公司 自动麻将机及其上牌组件、上牌方法
CN111888756B (zh) * 2020-04-23 2025-01-21 乐鑫智慧科技(浙江)有限公司 一种上牌装置、麻将机及上牌方法
CN112439187B (zh) * 2020-12-11 2024-08-02 四川汉鹰文体娱乐用品有限公司 一种麻将机输送机构
CN114404928A (zh) * 2021-12-24 2022-04-29 滁州市世丰电子有限公司 麻将机麻将牌自动清洗结构及麻将机
CN114769182A (zh) * 2022-03-28 2022-07-22 滁州市世丰电子有限公司 麻将牌机的麻将牌清洗结构及麻将牌机

Cited By (1)

* Cited by examiner, † Cited by third party
Publication number Priority date Publication date Assignee Title
CN107890662A (zh) * 2016-06-14 2018-04-10 艾爵斯特有限公司 自动麻将桌

Also Published As

Publication number Publication date
JP2006314830A (ja) 2006-11-24

Similar Documents

Publication Publication Date Title
JP5455127B2 (ja) 4人及び3人麻雀用の配牌と2段積牌ブロックとを形成する自動麻雀卓
CN211798743U (zh) 麻将机及其拾牌搬运系统
CN206924395U (zh) 麻将机及其上牌组件
JP4000284B2 (ja) 自動麻雀卓
JP4367956B2 (ja) 自動麻雀卓
JP2961399B2 (ja) 自動麻雀卓
CN107335216A (zh) 麻将机及其叠推麻将牌的方法
CN107661626A (zh) 麻将机的拾牌搬运系统及上牌方法
JP3135863B2 (ja) 自動麻雀卓
JP3996025B2 (ja) 自動麻雀卓
CN211798738U (zh) 一种麻将机及其拾牌搬运系统
JP3752584B2 (ja) 自動麻雀卓
CN106139583A (zh) 麻将机及其拾牌搬运系统、控制方法
JP2004242812A (ja) 自動麻雀卓の制御方法
CN107433034A (zh) 麻将机及其上牌方法
US6113100A (en) Device for arranging rectangular parallelepiped flat tiles used for tile games
CN210933740U (zh) 麻将机及其斜坡上牌机构
JP2004242804A (ja) 自動麻雀卓
JP5256497B2 (ja) 自動麻雀卓
JP2004242808A (ja) 自動麻雀卓における麻雀牌の積み替え手段
JP4381850B2 (ja) ドラ表示牌の反転装置
JP2912200B2 (ja) 自動麻雀卓
CN210813876U (zh) 麻将机及其拾牌搬运系统、平推上牌装置
CN210933737U (zh) 麻将机
JP2912201B2 (ja) 自動麻雀卓

Legal Events

Date Code Title Description
A521 Written amendment

Free format text: JAPANESE INTERMEDIATE CODE: A523

Effective date: 20071001

A131 Notification of reasons for refusal

Free format text: JAPANESE INTERMEDIATE CODE: A131

Effective date: 20090617

A521 Written amendment

Free format text: JAPANESE INTERMEDIATE CODE: A523

Effective date: 20090714

TRDD Decision of grant or rejection written
A01 Written decision to grant a patent or to grant a registration (utility model)

Free format text: JAPANESE INTERMEDIATE CODE: A01

Effective date: 20090821

A01 Written decision to grant a patent or to grant a registration (utility model)

Free format text: JAPANESE INTERMEDIATE CODE: A01

A61 First payment of annual fees (during grant procedure)

Free format text: JAPANESE INTERMEDIATE CODE: A61

Effective date: 20090824

R150 Certificate of patent or registration of utility model

Free format text: JAPANESE INTERMEDIATE CODE: R150

FPAY Renewal fee payment (event date is renewal date of database)

Free format text: PAYMENT UNTIL: 20120904

Year of fee payment: 3

FPAY Renewal fee payment (event date is renewal date of database)

Free format text: PAYMENT UNTIL: 20150904

Year of fee payment: 6

FPAY Renewal fee payment (event date is renewal date of database)

Free format text: PAYMENT UNTIL: 20150904

Year of fee payment: 6

S111 Request for change of ownership or part of ownership

Free format text: JAPANESE INTERMEDIATE CODE: R313117

R371 Transfer withdrawn

Free format text: JAPANESE INTERMEDIATE CODE: R371

S111 Request for change of ownership or part of ownership

Free format text: JAPANESE INTERMEDIATE CODE: R313117

R350 Written notification of registration of transfer

Free format text: JAPANESE INTERMEDIATE CODE: R350

S111 Request for change of ownership or part of ownership

Free format text: JAPANESE INTERMEDIATE CODE: R313117

R360 Written notification for declining of transfer of rights

Free format text: JAPANESE INTERMEDIATE CODE: R360

R360 Written notification for declining of transfer of rights

Free format text: JAPANESE INTERMEDIATE CODE: R360

R371 Transfer withdrawn

Free format text: JAPANESE INTERMEDIATE CODE: R371

S111 Request for change of ownership or part of ownership

Free format text: JAPANESE INTERMEDIATE CODE: R313117

R250 Receipt of annual fees

Free format text: JAPANESE INTERMEDIATE CODE: R250

R350 Written notification of registration of transfer

Free format text: JAPANESE INTERMEDIATE CODE: R350

S111 Request for change of ownership or part of ownership

Free format text: JAPANESE INTERMEDIATE CODE: R313113

R350 Written notification of registration of transfer

Free format text: JAPANESE INTERMEDIATE CODE: R350

R250 Receipt of annual fees

Free format text: JAPANESE INTERMEDIATE CODE: R250

LAPS Cancellation because of no payment of annual fees