JP4358193B2 - 画像対象の自動切抜き方法 - Google Patents

画像対象の自動切抜き方法 Download PDF

Info

Publication number
JP4358193B2
JP4358193B2 JP2006036461A JP2006036461A JP4358193B2 JP 4358193 B2 JP4358193 B2 JP 4358193B2 JP 2006036461 A JP2006036461 A JP 2006036461A JP 2006036461 A JP2006036461 A JP 2006036461A JP 4358193 B2 JP4358193 B2 JP 4358193B2
Authority
JP
Japan
Prior art keywords
group
merging
image
difference value
image object
Prior art date
Legal status (The legal status is an assumption and is not a legal conclusion. Google has not performed a legal analysis and makes no representation as to the accuracy of the status listed.)
Expired - Fee Related
Application number
JP2006036461A
Other languages
English (en)
Other versions
JP2006293991A (ja
Inventor
齊平 葉
志宗 江
Original Assignee
力新国際科技股▲ふん▼有限公司
Priority date (The priority date is an assumption and is not a legal conclusion. Google has not performed a legal analysis and makes no representation as to the accuracy of the date listed.)
Filing date
Publication date
Application filed by 力新国際科技股▲ふん▼有限公司 filed Critical 力新国際科技股▲ふん▼有限公司
Publication of JP2006293991A publication Critical patent/JP2006293991A/ja
Application granted granted Critical
Publication of JP4358193B2 publication Critical patent/JP4358193B2/ja
Expired - Fee Related legal-status Critical Current
Anticipated expiration legal-status Critical

Links

Images

Classifications

    • HELECTRICITY
    • H04ELECTRIC COMMUNICATION TECHNIQUE
    • H04NPICTORIAL COMMUNICATION, e.g. TELEVISION
    • H04N1/00Scanning, transmission or reproduction of documents or the like, e.g. facsimile transmission; Details thereof
    • H04N1/387Composing, repositioning or otherwise geometrically modifying originals
    • H04N1/3877Image rotation
    • H04N1/3878Skew detection or correction
    • GPHYSICS
    • G06COMPUTING OR CALCULATING; COUNTING
    • G06VIMAGE OR VIDEO RECOGNITION OR UNDERSTANDING
    • G06V30/00Character recognition; Recognising digital ink; Document-oriented image-based pattern recognition
    • G06V30/40Document-oriented image-based pattern recognition
    • G06V30/41Analysis of document content
    • G06V30/414Extracting the geometrical structure, e.g. layout tree; Block segmentation, e.g. bounding boxes for graphics or text

Landscapes

  • Engineering & Computer Science (AREA)
  • Multimedia (AREA)
  • Physics & Mathematics (AREA)
  • Computer Vision & Pattern Recognition (AREA)
  • Signal Processing (AREA)
  • Computer Graphics (AREA)
  • Geometry (AREA)
  • Artificial Intelligence (AREA)
  • General Physics & Mathematics (AREA)
  • Theoretical Computer Science (AREA)
  • Image Processing (AREA)
  • Image Analysis (AREA)

Description

本発明は、画像処理方法に関し、特に、画像対象の自動切抜き方法に関する。
現代の暮らしにおいて、スキャナはすでにかなり普及しており、企業での文書の整理や、個人が名刺や写真等を整理する際の重要なツールとなっている。しかし、目下のスキャナには、画像対象(走査済みの写真、文書、名刺など)を切り抜く際に、大部分のスキャナソフトが自動的に複数の画像対象を切り抜くことができず、単一の切抜き機能しか提供できないという大きな問題が存在する。
写真を例にあげると、ユーザが6枚の写真を走査してファイルしたい場合、一度に6枚の写真を走査すると(例えば、A4サイズの紙一枚に6枚の写真をおく)、システムは自動的に6枚の写真を6つの独立な画像ファイルとして切り抜くことができず、同時に6枚の写真を表示するしかない。ユーザが6枚の写真をそれぞれ表示したい場合は、手動で各写真を切抜くか、各写真を一枚ずつ走査するかの二つの方法しかなく、いずれの方法もかなり時間がかかり面倒である。
つまり、従来のスキャナソフトでは、単一の画像対象を自動切抜きするか、手動で複数の画像対象を切抜くかしかできず、かつ定義(画定)できる単一対象画像は四辺形、つまり4点で構成される包囲領域、もしくは4本の直線が構成する包囲領域でなければならない。
しかも、従来の自動切抜き方法は、その他の欠点があり、画像対象の色と背景の色が近い場合に、画像対象の縁部についての判断に誤差が生じるので、切抜かれた画像対象の大きさもしくは内容が、元のものと異なることがある。さらに、画像角度に傾きがあるときは、自動修正できないので、往々にして切抜きの後で手動で角度を修正する必要があるなど、かなり不便である。
そこで、新たな画像対象処理方法により上記の問題を解決する必要がある。
本発明は、上記の従来の欠点に鑑みてなされたものであり、複数の画像対象を自動切抜きできる画像対象の自動切抜き方法を提供することを目的とする。
本発明は、画像対象の色と背景の色の差異がある程度を超えないとき、画像対象が含む範囲をはっきりと判別して、誤判しない画像対象の自動切抜き方法を提供することをもう一つの目的とする。
本発明は、対象を走査する際に、傾きの角度を自動修正できる画像対象の自動切抜き方法を提供することを、さらに別の目的とする。
上記の目的を達成するために、本発明に係る画像対象の自動切抜き方法は、対象輪郭検出ステップと、画像分割ステップと、画像合併ステップと、を含む。このうち、上記の対象輪郭検出ステップは、モディファイラプラシアンコンツア検出器(Modified Laplacian Contour Detector)を利用して画像対象の輪郭を検出し、二値化画像を生成する。画像分割ステップは、コネクティドコンポーネンツアルゴリズム(Connected Components Algorithm)により前記二値化画像を、一つの背景領域と複数の非背景領域とに分ける。画像合併ステップは、これら非背景領域から距離が近いものを大から小の順に合併を行い、領域の合併が合理的であるか否か判断して画像対象を切抜く。
上記対象輪郭検出ステップは、(1)各画素点について、該画素点のグレースケールから隣接する8個の画素点のグレースケールを引いて該画素点と隣接する画素点のグレースケールの差異値を求め、(2)前ステップにおいて求められた差異値に基いて、全ての正の差異値を加算して「正差異値総和」を求め、かつ全ての負の差異値を加算して「負差異値総和」を求め、(3)前記画素点のグレースケールを、その正負が「正差異値総和」と「負差異値総和」の絶対値がより大きい方と同様であり、かつその大きさが「正差異値総和」と「負差異値総和」の両者の絶対値の和になるように調整する。
上記画像合併ステップは、非背景領域において互いの距離が所定の閾値より小さいものをそれぞれ第1群に合併する第1合併ステップと、距離がより近い上記第1群を大から小の順にそれぞれ第2群に合併する第2合併ステップとを含む。
上記画像合併ステップは、さらに前記第2群が画像対象であるか否かを決めるステップを含む。
上記第2合併ステップは、さらに(a)各第1群を未処理と標示し、(b)最大の第1群を選んで第3群とし、(c)その他未処理の第1群から一つを選んで第4群とし、(d)第3群と第4群を合併し、(e)判断ステップを実行して、上記第3群と第4群の合併が合理的であるか否かを判断し、(f)上記の合併が合理的であれば、第4群を第3群に編入して、かつ第4群を消去してステップ(c)へ戻り、不合理的であれば、直接ステップ(c)へ戻り、(g)第3群を処理済と標示してステップ(b)へ戻り、各第1群が全て処理されるまで繰り返す、などのサブステップを含む。
前段落のステップ(e)の判断ステップは、以下のサブステップを含む。第3群と第4群を合併して第5群を形成し、座標軸を回転して上記第5群を軸に対して投射し、異なる回転角度から最良の回転角度および最小の長方形を求め、この長方形の長さと幅が所定の長さおよび幅と符合しないときは、上記第3群と第4群の合併が不合理的であることを表す。
本発明は、画像対象の回転角度の修正方法であって、異なる回転角度で座標軸を回転させ、画像対象を軸に対して投射し、異なる回転角度から最良の回転角度および最小の長方形を求め、この最良の回転角度を画像対象の回転角度とする。
上記の方法により、複数の画像対象を自動切抜きできるだけでなく、従来と違って、背景の色と対象の色との差異がある程度超えなくてはならない必要がない。しかも、画像対象が傾斜に配置されるときでも、修正できる。したがって、本発明の画像対象の自動切抜き方法は、多くの優れた特徴を有し、この分野での先駆者とするに足る。
以下に、本発明を実施するための最良の形態について図面を参照して説明する。
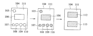
図1Aは、本発明に係る画像対象の自動切抜き方法のフローチャートである。図1Aに示すように、本発明に係る画像対象の自動切抜き方法は、対象輪郭検出ステップ101、画像分割ステップ102および画像合併ステップ103を含む。このうち、対象輪郭検出ステップ101は、モディファイラプラシアンコンツア検出器により画像対象の輪郭を検出して二値化画像を生成する。画像分割ステップ102は、コネクティドコンポーネンツアルゴリズム(CCA)により上記二値化画像を一つの背景領域と、複数の非背景領域とに分ける。画像合併ステップ103は、これら非背景領域において距離がより近いものを大から小の順に合併して合理的であるか否かを判断して画像対象を切抜く。
図1Bは、前述の方法を説明するための図である。図に示すように、画像104は複数の領域105〜111を含む。対象輪郭検出ステップ101の作用によって領域105〜111が二値化の方式で表示される。また、画像分割ステップ102の作用により、領域105〜110が非背景領域と定義され、領域111は背景領域と定義される。次に、画像合併ステップ103の作用により、領域105〜110が大から小の順に合併され、その合併が合理か不合理かを判断する。全ての非背景領域が合理的に合併されたのち、正確な画像が得られる。本実施例において、合併してから群105と106になる領域105と106は、最終的に元の画像対象に符合する画像対象と判断される群112になるよう合併され、合併してから群107〜110になる領域107〜110は、最終的に元の画像対象に符合する画像対象と判断される群113になるよう合併される。
以下、図面を参照して上記の対象輪郭検出ステップ101、画像分割ステップ102および画像合併ステップ103について、さらに詳細に説明をする。以下に述べる図面と図1Aおよび図1Bを交互に参照することで、本発明の技術特徴がよりはっきり理解できる。
図2は、本発明の対象輪郭検出ステップ101の詳細な手順を表す。図2に示すように、対象輪郭検出ステップ101は、各画素点について、該画素点のグレースケールから隣接の8個の画素点のグレースケールを引いて得られた該画素点と隣接の8個の画素点のグレースケールの差異値を求めるステップ201と、前ステップにおいて得られた差異値に基き、全ての正の差異値を加算して「正差異値総和」を求め、かつ全ての負の差異値を加算して「負差異値総和」を求めるステップ202と、該画素点のグレースケールを、その正負が「正差異値総和」と「負差異値総和」における絶対値がより大きい方と同じであり、かつその大きさが「正差異値総和」と「負差異値総和」の両者の絶対値の和となるよう調整するステップ203とを含む。このステップの目的は、画像を判別しやすいため、画像輪郭のエッジを強化することにある。
図3は、画像分割ステップ102の詳細な手順を表す。該画像分割ステップ102は、図1Bにおける画像の背景領域111を検出するステップ301と、図1Bにおける画像の非背景領域105〜110を検出するステップ302と、上記検出された背景領域および非背景領域をそれぞれ定義するステップ303と、を含む。注意すべきは、画像分割ステップ102は、従来の技術であるCCA処理により完成するが、CCA処理は周知技術であるのでここではその原理について特に述べない。
図4Aは、画像合併ステップ103の詳細な手順を表す。この詳細な手順は、非背景領域における互いの距離が所定の閾値より小さいものをそれぞれ第1群に編入するよう合併する第1合併ステップ401と、距離がより近い第1群をそれぞれ大から小の順で合併して第2群とし、かつ前述の合併が合理的であるか否かを判断して全ての第1群が合理的に合併されるまで繰り返される第2合併ステップ402とを含み、前記第1合併ステップ401と第2合併ステップ402の原理は後述する。
なお、前記第1合併ステップ401と第2合併ステップ402以外、前記第2群が画像対象であるか否かを決めるステップ403を含んでもよい。
図4Bは、上記ステップ401〜403の作用結果を説明するための図である。図に示すように、画像群404と画像群405はそれぞれ写真を走査してなる画像対象であるが、画像群404の領域は密集しており、画像群405の領域は分散している。従って、第1合併ステップ401の作用により、画像群404の複数の領域は一つの第1群412になるよう合併され、画像群405の複数の領域は複数の第1群406〜409になるよう合併される。
次に、第2合併ステップ402において、第1群406〜409と第1群412の合併を試み、かつその合併が合理的であるか否かを判断する。この合併過程は大から小の順に合併を行う。上記合併の過程および合理性についての判断の詳細な原理は後述する。本実施例において、第1群412自身が一つの完全な画像対象(一つの写真もしくは名刺)であるので、第1群412と他の第1群との合併が合理的でないと判断され、該第1群412を処理済みと標示して処理を行わないものとする。次に、第1群406および407を第2群410になるよう合併して、続いて第2群410を第1群408、409と合併する。このようにして、各第1群が全て合理的に合併されるまで繰り返す。最後に、完全な第2群411と第1群412(このときには、第2群となる)が生成され、この第2群411および第1群412がユーザが求める完全な対象である。そして、ステップ403において、各第2群は画像対象であるか否かを判断する。
図5は、本発明の第2合併ステップ402の好ましい実施例のフローチャートを示す。本発明をさらに詳細に理解するために、図4Bおよび図5を交互に参照されたい。
ステップ501において、図4Bにおける第1群406〜409および第1群412を全て未処理と標示する。ステップ502において、最大の第1群を選択して第3群とする。ステップ503において、その他の未処理の第1群から一つを選択して第4群とする。図4Bの例においては、第1群412を選択して第3群とし、第1群406を選択して第4群とする。
次に、ステップ504において第3群412と第4群406が合併される。続いて判断ステップ505において、第3群412と第4群406の合併が合理的であるか否かを判断する。その合併が合理的であれば、ステップ506に進み、第4群406を第3群412に編入して第2群とし、かつ第4群406を消去する。次にステップ507に進み、つまりステップ503に戻る。一方、その合併が不合理的であれば、直接ステップ505からステップ507に進み、つまりステップ503に戻る。第3群412が全てのその他第1群との合併を試みるまでこのサイクルを続ける。続いて、ステップ508に進み、第3群412を処理済みと標示して、ステップ502に戻り、全ての第1群の処理が完了するまで繰り返す。
つまり、図4Bの例において、まず最大の第1群412を選択して第3群とし、それからその他の第1群406〜409から一つ(仮に第1群406とする)を選んで第4群とし、さらに第3群412と合併して第5群とする。そして、第3群412と第4群406の合併が合理的であるか否かを判断する。その合併が合理的であれば、第4群406を第3群412に編入して、残りの第1群407〜409の中から一つを選んで第4群とし、そして第3群412と合併して第5群とする。一方、その合併が不合理的であれば、第4群406を処理せずに、残りの第1群407〜409から一を選択して第4群とし、第3群412と合併する。第3群となる第1群412を、順に第1群406〜409のそれぞれと合併を試みた後、第1群412を処理済みと標示する。そして、第1群406〜409からさらに一つを選択して第3群とし、上述のように合併および判断ステップを行う。
本実施例においては、第3群412と全てのその他第1群との合併が不合理的であるので、第3群412はそのまま変更しない。続いて、二番目に大きい第1群406を選択して第3群とする。そして、第1群407を選択して第4群とし、第3群406と合併する。その合併は合理的であると判断されるので、第4群407と第3群406は合併されて第2群410となる。そして、第2群410を第3群として、さらに第1群408との合併を試みる。以上のステップは、全ての第1群が合理的に第2群として合併されるまで繰り返し行われる。また、合併が合理的であるか否か判断する手順および原理は、後述する。
第2合併ステップ402の主要な目的は、適切に走査されなかった画像対象に対して完全な画像対象を形成するよう補償することである。上述のように、画像群404と画像群405は、本来二枚の完全な写真(または名刺)であるが、判読上のエラーにより、画像群405が不完全な画像群となる。本発明の第2合併ステップにより、前記画像群405は完全な画像対象に復元できる。
図6Aは、本発明による合併が合理的であるか否かを判断するための回転投射ステップの詳細な手順を表す。
図6Aに示すように、投射ステップは、異なる角度で座標軸を回転して画像対象、例えば上記第5群、を軸に対して投射するステップ601と、最小の投射長さと最小の長方形を得るステップ602と、最小の長方形と所定の長さおよび幅とを比較して、所定の長さおよび幅より大きければ、その合併は不合理であると判断し、所定の長さおよび幅と同じもしくは小さければ、その合併が合理的であると判断するステップ603とを含む。
図6Bは、図6Aに示す回転投射ステップを説明するための図である。軸607〜610は異なる回転角度で回転する座標軸を示している。画像群606の幅612は軸607〜610でそれぞれ異なる投射長さL1〜L5をもつ。このうち、幅612と平行な軸607上に最小の投射長さL1(つまり幅612と同じ長さ)を有する。このようにして、幅612の長さおよび画像対象の回転角度611を求めることができる。この方法で、画像対象の合併が合理的であるか否かが判断できるだけでなく、画像対象の回転角度を定義することができる。よって、対象を走査する際に、きっちり配置せずに傾きが生じても、修正することができる。
注意すべきは、上述の第2合併ステップおよび判断ステップは本発明が提示する実施例に限られない。この分野の通常の知識を有する者であれば、各種の周知技術を用いて同じ効果を得ることができるものは、本発明の範囲に属する。また、本発明はスキャナを利用して得られた画像対象に限らず、カメラもしくはその他機材により得られた画像対象にも応用できる。
以上、本発明の実施例を図面を参照して詳述してきたが、具体的な構成は、この実施例に限られるものではなく、本発明の要旨を逸脱しない範囲の設計変更等があっても、本発明に含まれる。
本発明に係る画像対象の自動切抜き方法を説明するフローチャートである。 図1Aに示す方法を説明するための図である。 本発明の対象輪郭検出ステップの詳細な手順を表すフローチャートである。 本発明の画像分割ステップの詳細な手順を表すフローチャートである。 本発明の画像合併ステップの詳細な手順を表すフローチャートである。 図4Aにおける各ステップの作用結果を説明するための図である。 本発明の第2合併ステップの実施例のフローチャートである。 本発明の回転投射ステップの詳細な手順を表すフローチャートである。 図6Aに示す回転投射ステップを説明するための図である。
符号の説明
104 画像
105〜110 非背景領域
111 背景領域
112,113 群
404,405 画像群
406 第1群、第3群、第4群
407 第1群、第4群
408〜409 第1群
410、411 第2群
412 第1群、第3群
606 画像群
607〜610 軸
611 回転角度
612 幅
613 長さ

Claims (10)

  1. モディファイラプラシアンコンツア検出器により画像対象の輪郭を検出して二値化画像を生成する対象輪郭検出ステップと、
    コネクティドコンポーネンツアルゴリズムにより前記二値化画像を一の背景領域と複数の非背景領域に分ける画像分割ステップと、
    前記複数の非背景領域において距離がより近いものを、大から小の順に合併して、画像の合併が合理的であるか否かを判断して画像対象を切抜く画像合併ステップと、
    を含む画像対象の自動切抜き方法において、
    前記対象輪郭検出ステップが、
    各画素点について、前記画素点のグレースケールから隣り合う8個の画素点のグレースケールを引いて前記画素点と隣り合う8個の画素点のグレースケールの差異を求め、
    前記グレースケールの差異値が正であるものを全て足して正差異値総和を求め、前記グレースケールの差異値が負であるものを全て足して負差異値総和を求め、
    前記画素点のグレースケールを、その正負が正差異値総和と負差異値総和における絶対値がより大きい方と同じく、その大きさが正差異値総和と負差異値総和の両者の絶対値の和になるよう調整する、
    ことを特徴とする画像対象の自動切抜き方法。
  2. 前記画像合併ステップが、
    前記非背景領域において互いの距離が所定の閾値より小さいものをそれぞれ第1群に合併する第1合併ステップと、
    距離がより近い前記第1群を大から小の順にそれぞれ第2群に合併する第2合併ステップと、
    を含むことを特徴とする請求項に記載の画像対象の自動切抜き方法。
  3. 前記画像合併ステップがさらに、前記第1合併ステップおよび前記第2合併ステップの後、前記第2群が画像対象であるか否かを決めるステップを含む、
    ことを特徴とする請求項に記載の画像対象の自動切抜き方法。
  4. 前記第2合併ステップが、
    (a)全ての前記第1群を未処理と標示し、
    (b)最大の前記第1群を選択して第3群とし、
    (c)その他未処理の前記第1群から一を選択して第4群とし、
    (d)前記第3群と前記第4群とを合併し、
    (e)前記第3群と前記第4群の合併が合理的であるか否かを判断する判断ステップを実行し、
    (f)ステップ(e)の合併が合理的であれば、前記第4群を前記第3群に編入し、かつ前記第4群を消去してステップ(c)に戻り、その合併が不合理的であれば、直接ステップ(c)に戻り、このステップは各第1群が前記第3群との合併を試みるまで繰り返し、
    (g)前記第3群を処理済と標示してステップ(b)に戻り、このステップは各第1群が処理されるまで繰り返す、
    ことを特徴とする請求項に記載の画像対象の自動切抜き方法。
  5. 前記判断ステップが、
    前記第3群と前記第4群を第5群に合併するステップと、
    座標軸を回転させて前記第5群を軸に対して投射するステップと、
    異なる回転角度から最良の回転角度および最小の長方形を求めるステップとを含み、前記長方形の長さと幅が所定の長さおよび幅に符合しないときは、前記第3群と前記第4群の合併が不合理的であること示す、
    ことを特徴とする請求項に記載の画像対象の自動切抜き方法。
  6. 前記画像合併ステップが、
    前記非背景領域において互いの距離が所定の閾値より小さいものをそれぞれ第1群に合併する第1合併ステップと、
    距離がより近い前記第1群を大から小の順にそれぞれ第2群に合併する第2合併ステップと、
    を含むことを特徴とする請求項1に記載の画像対象自動切抜き方法。
  7. 前記画像合併ステップがさらに、前記第1合併ステップおよび前記第2合併ステップの後、前記第2群が画像対象であるか否かを決めるステップを含む、
    ことを特徴とする請求項に記載の画像対象の自動切抜き方法。
  8. 前記第2合併ステップが、
    (a)全ての前記第1群を未処理と標示し、
    (b)最大の前記第1群を選択して第3群とし、
    (c)その他未処理の前記第1群から一を選んで第4群とし、
    (d)前記第3群と前記第4群とを合併し、
    (e)前記第3群と前記第4群の合併が合理的であるか否かを判断する判断ステップを実行し、
    (f)ステップ(e)の合併が合理的であれば、前記第4群を前記第3群に編入し、かつ前記第4群を消去してステップ(c)に戻り、その合併が不合理的であれば、直接ステップ(c)に戻り、このステップは各第1群が前記第3群との合併を試みるまで繰り返し、
    (g)前記第3群を処理済と標示してステップ(b)に戻り、このステップは各第1群が処理されるまで繰り返す、
    ことを特徴とする請求項に記載の画像対象の自動切抜き方法。
  9. 前記判断ステップが、
    前記第3群と前記第4群を第5群に合併するステップと、
    座標軸を回転させて前記第5群を軸に対して投射するステップと、
    異なる回転角度から最良の回転角度および最小の長方形を求めるステップと、
    を含み、前記長方形の長さと幅が所定の長さおよび幅に符合しないときは、前記第3群と前記第4群の合併が不合理的であること示す、
    ことを特徴とする請求項に記載の画像対象の自動切抜き方法。
  10. 各画素点について、前記画素点のグレースケールから隣接の8個の画素点のグレースケールを引いて前記画素点と隣接する8個の画素点とのグレースケールの差異を求め、
    前記グレースケールの差異値が正であるものを全て足して正差異値総和を求め、前記グレースケールの差異値が負であるものを全て足して負差異値総和を求め、
    前記画素点のグレースケールを、その正負が正差異値総和と負差異値総和における絶対値がより大きい方と同じく、その大きさが正差異値総和と負差異値総和の両者の絶対値の和になるよう調整する、
    ことを特徴とする画像対象の輪郭検出方法。
JP2006036461A 2005-04-12 2006-02-14 画像対象の自動切抜き方法 Expired - Fee Related JP4358193B2 (ja)

Applications Claiming Priority (1)

Application Number Priority Date Filing Date Title
TW94111552 2005-04-12

Publications (2)

Publication Number Publication Date
JP2006293991A JP2006293991A (ja) 2006-10-26
JP4358193B2 true JP4358193B2 (ja) 2009-11-04

Family

ID=37083236

Family Applications (1)

Application Number Title Priority Date Filing Date
JP2006036461A Expired - Fee Related JP4358193B2 (ja) 2005-04-12 2006-02-14 画像対象の自動切抜き方法

Country Status (3)

Country Link
US (1) US7542608B2 (ja)
JP (1) JP4358193B2 (ja)
TW (1) TWI309026B (ja)

Families Citing this family (19)

* Cited by examiner, † Cited by third party
Publication number Priority date Publication date Assignee Title
JP4341629B2 (ja) * 2006-01-27 2009-10-07 カシオ計算機株式会社 撮像装置、画像処理方法及びプログラム
US7751652B2 (en) * 2006-09-18 2010-07-06 Adobe Systems Incorporated Digital image drop zones and transformation interaction
US8098936B2 (en) 2007-01-12 2012-01-17 Seiko Epson Corporation Method and apparatus for detecting objects in an image
JP4857173B2 (ja) * 2007-04-25 2012-01-18 日立オムロンターミナルソリューションズ株式会社 画像処理装置、画像処理方法及び画像処理プログラム
US9189875B2 (en) 2007-08-06 2015-11-17 Apple Inc. Advanced import/export panel notifications using a presentation application
US8675241B2 (en) * 2008-05-17 2014-03-18 Konica Minolta Laboratory U.S.A., Inc. Method for printing oversized image data
US9547799B2 (en) * 2008-07-17 2017-01-17 Sharp Laboratories Of America, Inc. Methods and systems for content-boundary detection
US9165388B2 (en) * 2008-09-22 2015-10-20 International Business Machines Corporation Method of automatic cropping
CN102576412B (zh) 2009-01-13 2014-11-05 华为技术有限公司 图像处理以为图像中的对象进行分类的方法和系统
CN101930593B (zh) * 2009-06-26 2012-11-21 鸿富锦精密工业(深圳)有限公司 单一物体影像萃取系统及方法
US8873864B2 (en) * 2009-12-16 2014-10-28 Sharp Laboratories Of America, Inc. Methods and systems for automatic content-boundary detection
TWI395466B (zh) * 2010-08-13 2013-05-01 Primax Electronics Ltd 影像裁切方法
WO2012063107A1 (en) * 2010-11-08 2012-05-18 Manipal Institute Of Technology Automated tuberculosis screening
US9179035B2 (en) 2011-07-19 2015-11-03 Samsung Electronics Co., Ltd. Method of editing static digital combined images comprising images of multiple objects
RU2458396C1 (ru) * 2011-07-19 2012-08-10 Корпорация "САМСУНГ ЭЛЕКТРОНИКС Ко., Лтд." Способ редактирования статических цифровых комбинированных изображений, включающих в себя изображения нескольких объектов
CN102663397B (zh) * 2012-03-21 2014-05-07 华中科技大学 一种小麦出苗的自动检测方法
JP5882975B2 (ja) * 2012-12-26 2016-03-09 キヤノン株式会社 画像処理装置、撮像装置、画像処理方法、及び記録媒体
CN103971361B (zh) * 2013-02-06 2017-05-10 富士通株式会社 图像处理装置和方法
US9639788B2 (en) * 2015-07-29 2017-05-02 Xerox Corporation Raster image processor methods and systems

Family Cites Families (3)

* Cited by examiner, † Cited by third party
Publication number Priority date Publication date Assignee Title
US5056154A (en) * 1988-11-07 1991-10-08 Sharp Kabushiki Kaisha Text image data compression system
GB2370438A (en) * 2000-12-22 2002-06-26 Hewlett Packard Co Automated image cropping using selected compositional rules.
US7305131B2 (en) * 2002-10-01 2007-12-04 Hewlett-Packard Development Company, L.P. Extracting graphical bar codes from an input image

Also Published As

Publication number Publication date
TWI309026B (en) 2009-04-21
US20060228044A1 (en) 2006-10-12
TW200636609A (en) 2006-10-16
JP2006293991A (ja) 2006-10-26
US7542608B2 (en) 2009-06-02

Similar Documents

Publication Publication Date Title
JP4358193B2 (ja) 画像対象の自動切抜き方法
US8467606B2 (en) Method for segmenting a composite image
US9179035B2 (en) Method of editing static digital combined images comprising images of multiple objects
US6898316B2 (en) Multiple image area detection in a digital image
CN104079750B (zh) 图像处理装置及区域确定方法
CN101996392A (zh) 摄像图像处理系统以及图像输出方法
US7437002B2 (en) Image recognition system utilizing an edge image and a binary image
US8682080B2 (en) Image processing apparatus, image processing method, image processing program, and storage medium
CN101989349A (zh) 图像输出装置及方法、便携终端装置、拍摄图像处理系统
JP4095947B2 (ja) オーバスキャンされた画像中での文書のスキュー角及び位置を決定する方法
JP2018046360A (ja) 画像処理装置、方法およびプログラム
JP6953178B2 (ja) 画像処理装置、画像処理方法、プログラム
KR20120132314A (ko) 화상 처리 장치, 화상 처리 방법, 및 컴퓨터 판독 가능한 매체
US20160080602A1 (en) Image processing apparatus, image processing method, and non-transitory computer-readable storage medium
JP4502001B2 (ja) 画像処理装置および画像処理方法
JP2003259110A (ja) 画像結合装置、その方法、プログラム
JP2021039698A (ja) 画像処理装置、方法、および、コンピュータプログラム
TWI395466B (zh) 影像裁切方法
JP4454297B2 (ja) 2値化処理装置、および2値化処理方法
JP2004096435A (ja) 画像解析装置、画像解析方法、および画像解析プログラム
JPH10336428A (ja) 画像処理装置
US20240177516A1 (en) Image processing apparatus, image processing method, and non-transitory computer-executable medium
JPH11288453A (ja) 再生用のスキャン環境における原稿画像のスキュ―角度および黒い境界線を検出する方法およびシステム
JP3260891B2 (ja) エッジ抽出方法
JP2004048130A (ja) 画像処理方法、画像処理装置、および画像処理プログラム

Legal Events

Date Code Title Description
A977 Report on retrieval

Free format text: JAPANESE INTERMEDIATE CODE: A971007

Effective date: 20090304

A131 Notification of reasons for refusal

Free format text: JAPANESE INTERMEDIATE CODE: A131

Effective date: 20090311

A521 Request for written amendment filed

Free format text: JAPANESE INTERMEDIATE CODE: A523

Effective date: 20090511

TRDD Decision of grant or rejection written
A01 Written decision to grant a patent or to grant a registration (utility model)

Free format text: JAPANESE INTERMEDIATE CODE: A01

Effective date: 20090708

A01 Written decision to grant a patent or to grant a registration (utility model)

Free format text: JAPANESE INTERMEDIATE CODE: A01

A61 First payment of annual fees (during grant procedure)

Free format text: JAPANESE INTERMEDIATE CODE: A61

Effective date: 20090805

FPAY Renewal fee payment (event date is renewal date of database)

Free format text: PAYMENT UNTIL: 20120814

Year of fee payment: 3

R150 Certificate of patent or registration of utility model

Ref document number: 4358193

Country of ref document: JP

Free format text: JAPANESE INTERMEDIATE CODE: R150

Free format text: JAPANESE INTERMEDIATE CODE: R150

FPAY Renewal fee payment (event date is renewal date of database)

Free format text: PAYMENT UNTIL: 20130814

Year of fee payment: 4

R250 Receipt of annual fees

Free format text: JAPANESE INTERMEDIATE CODE: R250

R250 Receipt of annual fees

Free format text: JAPANESE INTERMEDIATE CODE: R250

R250 Receipt of annual fees

Free format text: JAPANESE INTERMEDIATE CODE: R250

R250 Receipt of annual fees

Free format text: JAPANESE INTERMEDIATE CODE: R250

R250 Receipt of annual fees

Free format text: JAPANESE INTERMEDIATE CODE: R250

R250 Receipt of annual fees

Free format text: JAPANESE INTERMEDIATE CODE: R250

R250 Receipt of annual fees

Free format text: JAPANESE INTERMEDIATE CODE: R250

R250 Receipt of annual fees

Free format text: JAPANESE INTERMEDIATE CODE: R250

R250 Receipt of annual fees

Free format text: JAPANESE INTERMEDIATE CODE: R250

R250 Receipt of annual fees

Free format text: JAPANESE INTERMEDIATE CODE: R250

R250 Receipt of annual fees

Free format text: JAPANESE INTERMEDIATE CODE: R250

LAPS Cancellation because of no payment of annual fees