JP4245397B2 - ロールスクリーンの運転方法及びロールスクリーン - Google Patents

ロールスクリーンの運転方法及びロールスクリーン Download PDF

Info

Publication number
JP4245397B2
JP4245397B2 JP2003100528A JP2003100528A JP4245397B2 JP 4245397 B2 JP4245397 B2 JP 4245397B2 JP 2003100528 A JP2003100528 A JP 2003100528A JP 2003100528 A JP2003100528 A JP 2003100528A JP 4245397 B2 JP4245397 B2 JP 4245397B2
Authority
JP
Japan
Prior art keywords
rotating
raw material
rolls
roll
disk
Prior art date
Legal status (The legal status is an assumption and is not a legal conclusion. Google has not performed a legal analysis and makes no representation as to the accuracy of the status listed.)
Expired - Fee Related
Application number
JP2003100528A
Other languages
English (en)
Other versions
JP2004305843A (ja
Inventor
貴之 友近
雅行 加納
文和 大槻
毅 田中
Current Assignee (The listed assignees may be inaccurate. Google has not performed a legal analysis and makes no representation or warranty as to the accuracy of the list.)
Earthtechnica Co Ltd
Original Assignee
Earthtechnica Co Ltd
Priority date (The priority date is an assumption and is not a legal conclusion. Google has not performed a legal analysis and makes no representation as to the accuracy of the date listed.)
Filing date
Publication date
Application filed by Earthtechnica Co Ltd filed Critical Earthtechnica Co Ltd
Priority to JP2003100528A priority Critical patent/JP4245397B2/ja
Publication of JP2004305843A publication Critical patent/JP2004305843A/ja
Application granted granted Critical
Publication of JP4245397B2 publication Critical patent/JP4245397B2/ja
Anticipated expiration legal-status Critical
Expired - Fee Related legal-status Critical Current

Links

Images

Landscapes

  • Combined Means For Separation Of Solids (AREA)

Description

【0001】
【発明の属する技術分野】
本発明は、粘性あるいは付着性のある原料であっても高い処理能力にて払い出しを行うことができるようにした、ロールスクリーンの運転方法及びロールスクリーンに関するものである。
【0002】
【従来の技術】
例えば製鉄所での鉄分含有粉塵(ダスト)を処理した際に発生する鉄分含有粉塵よりなる脱水ケーキや、土木・建設現場で副次的に発生した建設発生土などのような原料を篩い分けする設備として、ロールスクリーンが用いられている。ロールスクリーンで篩い分けされた篩下(アンダーサイズ品)は下流工程に供給され、篩上(オーバーサイズ品)はロールスクリーン外部に搬送され排出される。このようなロールスクリーンの一例が、特開2001−212516号公報に示されている。
【0003】
この従来のロールスクリーンは、所定間隔で配置された複数のディスク付き回転ロールを備えている。各ディスク付き回転ロールは、ロール軸線に対して直角をなす複数の中空円板状の回転ディスク(回転ローラ又はフランジとも呼ばれている)がロール軸線方向に間隔をおいてロール外周面に固着(嵌着)されている。これにより、各ディスク付き回転ロールの回転ディスク間に形成される円周溝が、原料の流れ方向に沿ってすなわちロール軸線に対して直角方向、かつ一直線上に整合配置されており、所定の間隔をおいて隣り合う回転ロール及び隣り合う回転ディスク間の円周溝で形成される隙間が「篩目」となっている。
【0004】
そして、原料のうちこの隙間より大きなものは、同一方向に回転する各ディスク付き回転ロールによって該回転ロール上を搬送されてオーバーサイズ品として排出される。一方、前記隙間(篩目)より小さなものは、この隙間を通って払い出されるようになっている。
【0005】
なお、この従来のロールスクリーンは、複数のディスク付き回転ロールにおける1つ置きのディスク付き回転ロール、つまり隣り合うディスク付き回転ロールが系列の異なる駆動装置によって回転駆動されるように構成されている。こうすることで、砕石などの硬い楔状の原料が前記間隙に挟まってロックしても、1系列を停止しても残りの系列が運転を続けることができ、ロールスクリーン全体を停止せずにすむようにしている。
【0006】
【特許文献1】
特開2001−212516号公報(第1図、第4図)
【0007】
【発明が解決しようとする課題】
しかし前述した従来のロールスクリーンでは、各ディスク付き回転ロールを同一方向に回転駆動するようにしたので、解砕作用がほとんど生じないから、粘性原料(例えば脱水ケーキ)、あるいは粘着性のある付着性原料のような、粘性あるいは付着性のある原料の場合には、原料の大部分はディスク付き回転ロール上を移動するだけ、もしくは滞留するだけでディスク付き回転ロール間の隙間に落し込んで払い出すことができないという問題があった。
【0008】
本発明はこのような事情に鑑みてなされたものであり、本発明の目的は、粘性あるいは付着性のある原料であっても高い処理能力にて払い出しを行うことができる、ロールスクリーンの運転方法及びロールスクリーンを提供することにある。
【0009】
【課題を解決するための手段】
前記目的を達成するために、本願発明は次のように構成されている。
【0010】
請求項1の発明は、各ディスク付き回転ロールが互いに所定間隔で配置され、奇数列目に配置された各ディスク付き回転ロール及び偶数列目に配置された各ディスク付き回転ロールを備えたロールスクリーンにより、粘性あるいは付着性のある原料を篩い分けするに際し、隣り合うディスク付き回転ロールを互いに反対方向に回転駆動し、かつ、定期的に回転方向を反転することを予め定められたタイムスケジュールに従って実施する原料挟み込み運転を行い、前記原料挟み込み運転を行った後、前記ディスク付き回転ロールを同一方向に回転駆動して、ロールスクリーン外部にオーバーサイズ品を排出することを特徴とするロールスクリーンの運転方法である。
【0011】
請求項2の発明は、各ディスク付き回転ロールが互いに所定間隔で配置され、奇数列目に配置された各ディスク付き回転ロール及び偶数列目に配置された各ディスク付き回転ロールを備えたロールスクリーンにより、粘性あるいは付着性のある原料を篩い分けするに際し、隣り合うディスク付き回転ロールを互いに反対方向に回転駆動し、かつ、時間をおいて回転方向を反転することを繰り返す原料挟み込み運転を行うことを特徴とするロールスクリーンの運転方法である。
【0012】
請求項3の発明は、請求項2記載のロールスクリーンの運転方法において、前記原料挟み込み運転を行った後、前記ディスク付き回転ロールを同一方向に回転駆動して、ロールスクリーン外部にオーバーサイズ品を排出することを特徴とするものである。
【0013】
請求項4の発明は、請求項1〜3のいずれか1項に記載のロールスクリーンの運転方法において、前記各ディスク付き回転ロールに付着する原料をスクレーパで掻き取りながら、前記各ディスク付き回転ロールを回転駆動することを特徴とするものである。
【0014】
請求項5の発明は、各ディスク付き回転ロールが互いに所定間隔で配置されており、奇数列目に配置された各ディスク付き回転ロール及び偶数列目に配置された各ディスク付き回転ロールと、前記各ディスク付き回転ロールの回転駆動源の回転方向を制御して、前記各ディスク付き回転ロールを互いに反対方向に回転させ、かつ、定期的に回転方向を反転させることを予め定められたタイムスケジュールに従って実施する原料挟み込み運転を行う回転方向制御手段とを備え、前記回転方向制御手段は、原料挟み込み運転を行った後にロールスクリーン外部にオーバーサイズ品を排出するに際し、前記ディスク付き回転ロールを同一方向に回転させる回転方向切替を行うことを特徴とするロールスクリーンである。
【0015】
請求項6の発明は、各ディスク付き回転ロールが互いに所定間隔で配置されており、奇数列目に配置された各ディスク付き回転ロール及び偶数列目に配置された各ディスク付き回転ロールと、前記各ディスク付き回転ロールの回転駆動源の回転方向を制御して、隣り合うディスク付き回転ロールを互いに反対方向に回転させ、かつ、時間をおいて回転方向を反転させることを繰り返す原料挟み込み運転を行う回転方向制御手段とを備えていることを特徴とするロールスクリーンである。
【0016】
請求項7の発明は、請求項6記載のロールスクリーンにおいて、前記回転方向制御手段は、原料挟み込み運転を行った後にロールスクリーン外部にオーバーサイズ品を排出するに際し、前記ディスク付き回転ロールを同一方向に回転させる回転方向切替を行うことを特徴とするものである。
【0017】
請求項8の発明は、請求項5〜7のいずれか1項に記載のロールスクリーンにおいて、前記各ディスク付き回転ロールに付着する原料を掻き取るスクレーパを備えていることを特徴とするものである。
【0018】
請求項9の発明は、所定間隔で配置された複数のディスク付き回転ロールを備えたロールスクリーンにより粘性あるいは付着性のある原料を篩い分けするに際し、隣り合うディスク付き回転ロールを原料を挟み込むべく互いに反対方向に回転駆動し、かつ、定期的に回転方向を反転することを予め定められたタイムスケジュールに従って実施する原料挟み込み運転を行うロールスクリーンの運転方法であって、前記原料挟み込み運転は、第1の駆動モータによって同一方向に一斉に回転する複数のディスク付き回転ロールに対して、当該複数のディスク付き回転ロールのそれぞれと交互に隣り合い、かつ、第2の駆動モータによって同一方向に一斉に回転する複数のディスク付き回転ロールを反対方向に回転駆動することを特徴とするロールスクリーンの運転方法である。請求項10の発明は、所定間隔で配置された複数のディスク付き回転ロールと、前記各ディスク付き回転ロールの回転駆動源である駆動モータの回転方向を制御して、隣り合うディスク付き回転ロールを原料を挟み込むべく互いに反対方向に回転させ、かつ、定期的に回転方向を反転させることを予め定められたタイムスケジュールに従って行う回転方向制御手段とを備え、前記回転方向制御手段は、第1の駆動モータによって同一方向に一斉に回転する複数のディスク付き回転ロールに対して、当該複数のディスク付き回転ロールのそれぞれと交互に隣り合い、かつ、第2の駆動モータによって同一方向に一斉に回転する複数のディスク付き回転ロールを反対方向に回転させるようにすることを特徴とするロールスクリーンである。請求項11の発明は、請求項5、6、7、8又は10に記載のロールスクリーンにおいて、鉄系材料からなる前記ディスク付き回転ロールの各ディスクが楕円板状であって、楕円の長径bと短径aの比(a/b)が0.63以上を満たす形状であることを特徴とするものである。
【0019】
本発明のロールスクリーンの運転方法、又はロールスクリーンでは、隣り合うディスク付き回転ロールを互いに反対方向に回転駆動するようにしたので、隣り合うディスク付き回転ロール間において粘性あるいは付着性のある原料の大塊を挟み込んで解砕する作用が生じる。これにより粘性あるいは付着性のある原料であってもスムーズにディスク付き回転ロール間の隙間(篩目)を通して払い出すことができ、従来に比べて高い処理能力にて短時間で払い出しを行うことができる。
【0020】
ここで、隣り合うディスク付き回転ロールを互いに反対方向に回転駆動することにより、原料の大塊は、回転ディスク円環状面に接する部分が挟み込まれ、切り取られるようにして解砕されて払い出される。このとき、特に粘性の高い高粘性の原料の場合、やがて、回転ディスクが高粘性の原料の大塊との接触部分でスリップし始め、高粘性の原料に回転ディスクの跡形が残るようになり、挟み込んで解砕する作用が低下して払い出し処理能力が大幅に低下する。
【0021】
そこで、本発明のロールスクリーンの運転方法、又はロールスクリーンでは、互いに反対方向に回転している隣り合うディスク付き回転ロールの回転方向を反転させるようにしたので、回転方向の反転時に原料の大塊を他のディスク付き回転ロール間へ移動させ、該原料の大塊と回転ディスクとの接触部分を更新し、該原料の大塊に対して新たな挟み込みによる解砕作用を生じさせうることで、払い出し処理能力を安定させることができる。その結果、高粘性の原料であっても高い処理能力にて払い出しを行うことができる。この場合、例えば、隣り合うディスク付き回転ロールを、互いに反対方向に10秒間回転駆動し(回転ディスクの周速度は、例えば0.3m/s)、次いで数秒間程度回転停止し、しかる後、回転方向を反転させて10秒間回転駆動する。ディスク付き回転ロール上に原料が投入されると、この投入された原料に対してこのような一連の動作が所定時間繰り返される。
【0022】
また、粘性あるいは付着性のある原料中にオーバーサイズ(スクリーンオーバー)の礫などが含まれる場合、原料挟み込み運転を行うことで隣り合うディスク付き回転ロールを互いに反対方向に回転駆動しているので、原料挟み込み運転時、オーバーサイズの礫などは、ロールスクリーンより排出されずディスク付き回転ロール上に残ることになる。
【0023】
そこで、原料挟み込み運転を行った後、ロールスクリーンに備えられた各ディスク付き回転ロールを同一方向に回転駆動することにより、ロールスクリーン外部へオーバーサイズの礫などを搬送し排出することができる。
【0024】
粘性あるいは付着性のある原料の篩い分けに際し、特に付着性(粘着性)の高い高付着性の原料の場合、処理時間の経過とともにディスク付き回転ロールに原料が付着堆積して、該ディスク付き回転ロールがプレーンロール状になることにより、挟み込んで解砕する作用が低下して払い出し処理能力が低下することになる。
【0025】
そこで、原料をスクレーパで掻き取りながら各ディスク付き回転ロールを回転駆動するようにしたものでは、高付着性の原料の場合でも挟み込んで解砕する作用の低下を防止して高い処理能力にて払い出しを行うことができる。
【0026】
また、鉄系材料からなるディスク付き回転ロールの各ディスクを、楕円板状であって、楕円の長径bと短径aの比が所定値を満たす形状にしたものでは、中空円板状の回転ディスクに比べて挟み込みによる解砕作用が顕著で払い出し処理能力を高めることができる。
【0027】
【発明の実施の形態】
以下、図面を参照して本発明の実施の形態について説明する。
【0028】
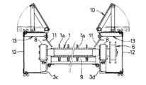
本発明の一実施形態によるロールスクリーンの構成を説明する。図1は本発明に係るロールスクリーンの構成を示す平面図である。なお、図1では理解を容易にするため、原料ホッパ10、原料案内板11、上部フレーム13及び側面カバー12については図示していない。
【0029】
図1に示すように、フレーム3は、前後のフレーム3a,3bと左右のフレーム3c,3dとがそれぞれ対向して矩形状をなしている。ここで、図1における右側(オーバーサイズ品の排出側であって、下流側)を前方し、前方に向かって平面視右側のフレームを右フレーム3dとする。また、左右のフレーム3c,3dの前部側を後部側よりも低位置に設定してあり、フレーム3は前方に向かって下り傾斜している。例えば、このフレーム3の下り傾斜角度は、水平に対して10°に設定されている。そして、左右のフレーム3c,3d間に複数本のディスク付き回転ロール1,1’が所定間隔で回転自在に配置されている。
【0030】
これらのディスク付き回転ロール1,1’は、後フレーム3b側(上流側)より奇数列目に配置されたディスク付き回転ロール1と、偶数列目に配置されたディスク付き回転ロール1’とからなっている。そして、ディスク付き回転ロール1,1’は、ロール軸線に対して直角をなす複数の中空円板状の回転ディスク1aがロール軸線方向に間隔をおいてロール外周面に固着(嵌着)されている。また、隣り合うディスク付き回転ロール1,1’ の回転ディスク1aは、互いの回転ディスク1aが千鳥配置となるように配置されている。
【0031】
4は第1の駆動モータ、5は第2の駆動モータである。後フレーム3b側(上流側)より奇数列目に配置された各ディスク付き回転ロール1は、その軸端部に軸着したスプロケット6に噛合・巻装されたチェーン7を介して第1の駆動モータ4から回転動力が与えられて、所定方向に一斉に回転されるようになっている。また、後フレーム3b側より偶数列目に配置された各ディスク付き回転ロール1’は、その軸端部に軸着したスプロケット6に噛合・巻装されたチェーン7を介して第2の駆動モータ5から回転動力が与えられて、所定方向に一斉に回転されるようになっている。第1の駆動モータ4、スプロケット6及びチェーン7は、奇数列目のディスク付き回転ロール1を回転駆動する駆動機構を構成している。また、第2の駆動モータ5、スプロケット6及びチェーン7は、偶数列目のディスク付き回転ロール1’を回転駆動する駆動機構を構成している。
【0032】
図2は図1のA−A線断面図である。
【0033】
図2に示すように、左右のフレーム3c,3dのそれぞれには、ディスク付き回転ロール1の軸端部を支持するための軸受8が固定されており、ディスク付き回転ロール1は、軸受8によって回転自在に支持されている。偶数列目に配置されたディスク付き回転ロール1’についても同様である。
【0034】
また、各ディスク付き回転ロール1,1’の直下には、図2に示すようにディスク付き回転ロール1,1’との間に櫛歯状をなして隙間を保持するスクレーパ9が配置されている。スクレーパ9は、ボルトにより左右のフレーム3c,3dに交換可能に取り付けられている。なお、スクレーパ9はディスク付き回転ロール1,1’との隙間を調整可能としてもよい。こうすることで、スクレーパ9の摩耗度合いに応じて隙間調整を行うことができ、また、回転ロール1,1’にスクレーパ9を軽く接触させて掻き取り能力を高くすることができる。
【0035】
また、ディスク付き回転ロール1,1’の上方には、図2に示すように、投入された粘性あるいは付着性のある原料をディスク付き回転ロール1,1’上に供給するための原料ホッパ10と、粘性あるいは付着性のある原料が各ディスク付き回転ロール1,1’の両側端部よりこぼれ落ちたり、軸受8にかかったりすることを防ぐための原料案内板11とが設けられている。12は安全用の側面カバーである。原料ホッパ10と原料案内板11は、上部フレーム13に支持されている。上部フレーム13は、左右のフレーム3c,3d上に設けられた上下方向に延びる図示しない垂直フレームに固定されるようになっている。なお、原料ホッパ10は、ロールスクリーンを車両に搭載した際に制限高さを満たすために、図2に示すように、上部フレーム13上に起倒可能に取り付けられている。原料ホッパ10には、例えば油圧ショベルによって粘性あるいは付着性のある原料が投入されるようになっている。
【0036】
また、本実施形態のロールスクリーンはシーケンサ(プログラマブルコントローラ)を備えており、第1の駆動モータ4と第2の駆動モータ5とは、その起動や停止、及び回転方向については、図示しない制御盤内に収納されたシーケンサによって制御されるようになっている。このシーケンサは、後述する第1の原料挟み込み運転に際し、2つの駆動モータ4,5の回転方向を制御して、隣り合うディスク付き回転ロール1,1’を互いに反対方向に回転させる回転方向制御手段を構成している。また、このシーケンサは、後述する第2の原料挟み込み運転に際し、駆動モータ4,5の回転方向を制御して、隣り合うディスク付き回転ロール1,1’を互いに反対方向に回転させ、かつ、時間をおいて回転方向を反転させる回転方向制御手段を構成している。さらに、このシーケンサ(回転方向制御手段)は、ロールスクリーン外部へオーバーサイズ品を搬送し排出するために、第1又は第2の原料挟み込み運転を行った後、各ディスク付き回転ロール1,1’を同一方向(図1において右フレーム3dの側から見て時計回り)に回転させる回転方向切替をも行うものである。
【0037】
このように構成されるロールスクリーンにより、礫を含有する粘性あるいは付着性のある原料を処理する方法について説明する。まず、第1の原料挟み込み運転について説明する。前記シーケンサによって駆動モータ4,5の回転方向を制御することにより、隣り合うディスク付き回転ロール1,1’を互いに反対方向に回転駆動する第1の原料挟み込み運転が行われる。これにより隣り合うディスク付き回転ロール1,1’によって粘性あるいは付着性のある原料の大塊を挟み込んで解砕する作用が生じるので、粘性あるいは付着性のある原料であってもスムーズに回転ロール1,1’間の隙間(篩目)を通して払い出すことができ、従来に比べて高い処理能力にて短時間で払い出しを行うことができる。
【0038】
この場合、特に付着性の高い高付着性の原料のときでも、各ディスク付き回転ロール1,1’に付着する原料をスクレーパ9で掻き取りながらディスク付き回転ロール1,1’を回転駆動するようにしたので、挟み込んで解砕する作用の低下を防止して高い処理能力にて払い出しを行うことができる。
【0039】
第1の原料挟み込み運転の後、各ディスク付き回転ロール1,1’を右フレーム3dの側から見て時計回りに回転駆動させることにより、粘性あるいは付着性のある原料中に含まれるオーバーサイズの礫を搬送して前フレーム3a側(下流側)より排出することができる。
【0040】
次に、第2の原料挟み込み運転について説明する。前記シーケンサによって駆動モータ4,5の回転方向を制御することにより、隣り合うディスク付き回転ロール1,1’を互いに反対方向に回転駆動し、かつ、定期的に回転方向を反転する第2の原料挟み込み運転が行われる。これにより回転方向の反転時に粘性あるいは付着性のある原料の大塊を他のディスク付き回転ロール1,1’間へ移動させ、該原料の大塊と回転ディスク1aとの接触部分を更新し、該原料の大塊に対して新たな挟み込みによる解砕作用を生じさせうることで、払い出し処理能力を安定させることができる。
【0041】
その結果、特に粘性の高い高粘性の原料であっても従来に比べて高い処理能力にて払い出しを行うことができる。この場合、例えば、隣り合うディスク付き回転ロール1,1’を、互いに反対方向に10秒間回転駆動し、次いで3秒間回転を一時停止し、しかる後、回転方向を反転させて10秒間回転駆動する。このように予め定められたタイムスケジュールに従って一連の動作が繰り返される。そして、この第2の原料挟み込み運転の後、各ディスク付き回転ロール1,1’を右フレーム3dの側から見て時計回りに回転駆動させることにより、原料中に含まれるオーバーサイズの礫を搬送して前フレーム3a側より排出することができる。なお、原料挟み込み運転にあたり、回転ロール1,1’を回転駆動する時間は原料性状などに応じて適宜決定することができ、また、繰り返し回数も処理量などに応じて適宜決定することができる。なお、挟み込み運転による原料の払い出しからオーバーサイズ品の排出までの動作を行うには、シーケンサによる自動の運転制御が望ましいものの、一部又は全ての動作についてオペレータの手動操作によって運転制御を行うようにしてもよい。
【0042】
図3は本発明に係るディスク付き回転ロールの他の実施形態を示す正面図、図4は図3のB矢視側面図である。
【0043】
図3及び図4に示すように、このディスク付き回転ロール2は、中空円板状の回転ディスク1aとは違って、ロール外周面に固着された中空楕円板状の回転ディスク2aを有している。また、ディスク付き回転ロール2における隣り合う回転ディスク2aの位相は、90度ずらしてある。このようなディスク付き回転ロール2を備えることにより、中空円板状の回転ディスク1aを有するものに比べて挟み込みによる解砕作用を高めることができ、より高い処理能力を得ることができる。
【0044】
この場合、回転ディスク2aにおける楕円の長径の値をb、短径の値をaとすると、回転ディスク2aの形状は(a/b)≧0.63となるように設定することがよい。こうすることで、隣り合うディスク付き回転ロール2におけるロール軸と回転ディスク2aとの双方に、隣り合う回転ロール2間の隙間(篩目)に相当する直径の球を接触させた場合のロール軸と回転ディスク2a上の接点に引いた両接線のなす角度α(ニップアングル、あるいは、くい込み角度と呼ばれる)が約25°以上となる。これにより、原料挟み込み運転を行う際に、篩目以上の礫を噛み込みにくくするという効果が得られる。礫が噛み込みにくい条件であるニップアングルα≧25°という値は、楕円板状の回転ディスク2aを有する回転ロール2が鉄系材料からなる場合において礫との摩擦係数を考慮して経験的に導き出した値である。なお、楕円板状の回転ディスク2aを有する回転ロール2を用いる場合、隣り合う回転ロール2における回転ディスク2aの位相を回転数により調整するようにすれば、隣り合う回転ロール2において回転ディスク2aを千鳥配置する必要はない。
【0045】
【発明の効果】
以上述べたように、本発明のロールスクリーンの運転方法又はロールスクリーンによれば、粘性あるいは付着性のある原料であってもスムーズにディスク付き回転ロール間の隙間を通して払い出すことができ、従来に比べて高い処理能力にて短時間で払い出しを行うことができる。
【図面の簡単な説明】
【図1】本発明に係るロールスクリーンの構成を示す平面図である。
【図2】図1のA−A線断面図である。
【図3】図3は本発明に係るディスク付き回転ロールの他の実施形態を示す正面図である。
【図4】図3のB矢視側面図である。
【符号の説明】
1,1’,2…ディスク付き回転ロール 1a,2a…回転ディスク 3…フレーム 3a…前フレーム 3b…後フレーム 3c…左フレーム 3d…右フレーム 4…第1の駆動モータ 5…第2の駆動モータ 6…スプロケット 7…チェーン 8…軸受 9…スクレーパ 10…原料ホッパ 11…原料案内板12…側面カバー 13…上部フレーム

Claims (7)

  1. 各ディスク付き回転ロールが互いに所定間隔で配置され、奇数列目に配置された各ディスク付き回転ロール及び偶数列目に配置された各ディスク付き回転ロールを備えたロールスクリーンにより、粘性あるいは付着性のある原料を篩い分けするに際し、隣り合うディスク付き回転ロールを互いに反対方向に回転駆動し、かつ、定期的に回転方向を反転することを予め定められたタイムスケジュールに従って実施する原料挟み込み運転を行い、前記原料挟み込み運転を行った後、前記各ディスク付き回転ロールを同一方向に回転駆動して、ロールスクリーン外部にオーバーサイズ品を排出することを特徴とするロールスクリーンの運転方法。
  2. 前記各ディスク付き回転ロールに付着する原料をスクレーパで掻き取りながら、前記各ディスク付き回転ロールを回転駆動することを特徴とする請求項1記載のロールスクリーンの運転方法。
  3. 各ディスク付き回転ロールが互いに所定間隔で配置されており、奇数列目に配置された各ディスク付き回転ロール及び偶数列目に配置された各ディスク付き回転ロールと、前記各ディスク付き回転ロールの回転駆動源の回転方向を制御して、前記各ディスク付き回転ロールを互いに反対方向に回転させ、かつ、定期的に回転方向を反転させることを予め定められたタイムスケジュールに従って実施する原料挟み込み運転を行う回転方向制御手段とを備え、前記回転方向制御手段は、原料挟み込み運転を行った後にロールスクリーン外部にオーバーサイズ品を排出するに際し、前記各ディスク付き回転ロールを同一方向に回転させる回転方向切替を行うことを特徴とするロールスクリーン。
  4. 前記各ディスク付き回転ロールに付着する原料を掻き取るスクレーパを備えていることを特徴とする請求項記載のロールスクリーン。
  5. 所定間隔で配置された複数のディスク付き回転ロールを備えたロールスクリーンにより粘性あるいは付着性のある原料を篩い分けするに際し、隣り合うディスク付き回転ロールを原料を挟み込むべく互いに反対方向に回転駆動し、かつ、定期的に回転方向を反転することを予め定められたタイムスケジュールに従って実施する原料挟み込み運転を行うロールスクリーンの運転方法であって、前記原料挟み込み運転は、第1の駆動モータによって同一方向に一斉に回転する複数のディスク付き回転ロールに対して、当該複数のディスク付き回転ロールのそれぞれと交互に隣り合い、かつ、第2の駆動モータによって同一方向に一斉に回転する複数のディスク付き回転ロールを反対方向に回転駆動することを特徴とするロールスクリーンの運転方法。
  6. 所定間隔で配置された複数のディスク付き回転ロールと、前記各ディスク付き回転ロールの回転駆動源である駆動モータの回転方向を制御して、隣り合うディスク付き回転ロールを原料を挟み込むべく互いに反対方向に回転させ、かつ、定期的に回転方向を反転させることを予め定められたタイムスケジュールに従って行う回転方向制御手段とを備え、前記回転方向制御手段は、第1の駆動モータによって同一方向に一斉に回転する複数のディスク付き回転ロールに対して、当該複数のディスク付き回転ロールのそれぞれと交互に隣り合い、かつ、第2の駆動モータによって同一方向に一斉に回転する複数のディスク付き回転ロールを反対方向に回転させるようにすることを特徴とするロールスクリーン。
  7. 鉄系材料からなる前記ディスク付き回転ロールの各ディスクが楕円板状であって、楕円の長径bと短径aの比(a/b)が0.63以上を満たす形状であることを特徴とする請求項3、4および6のいずれか1項に記載のロールスクリーン。
JP2003100528A 2003-04-03 2003-04-03 ロールスクリーンの運転方法及びロールスクリーン Expired - Fee Related JP4245397B2 (ja)

Priority Applications (1)

Application Number Priority Date Filing Date Title
JP2003100528A JP4245397B2 (ja) 2003-04-03 2003-04-03 ロールスクリーンの運転方法及びロールスクリーン

Applications Claiming Priority (1)

Application Number Priority Date Filing Date Title
JP2003100528A JP4245397B2 (ja) 2003-04-03 2003-04-03 ロールスクリーンの運転方法及びロールスクリーン

Publications (2)

Publication Number Publication Date
JP2004305843A JP2004305843A (ja) 2004-11-04
JP4245397B2 true JP4245397B2 (ja) 2009-03-25

Family

ID=33464637

Family Applications (1)

Application Number Title Priority Date Filing Date
JP2003100528A Expired - Fee Related JP4245397B2 (ja) 2003-04-03 2003-04-03 ロールスクリーンの運転方法及びロールスクリーン

Country Status (1)

Country Link
JP (1) JP4245397B2 (ja)

Families Citing this family (5)

* Cited by examiner, † Cited by third party
Publication number Priority date Publication date Assignee Title
JP2006247537A (ja) * 2005-03-11 2006-09-21 Raito Kogyo Co Ltd カッティングスクリーン装置
JP4889561B2 (ja) * 2007-05-10 2012-03-07 株式会社アーステクニカ ロールスクリーン
CN102950104B (zh) * 2011-08-31 2015-11-11 北京昊海天际科技有限公司 适用于城市生活垃圾和餐厨垃圾的圆盘筛
FI129310B (fi) * 2019-07-12 2021-11-30 Tana Oy Seula
CN117920582B (zh) * 2024-02-02 2026-01-30 中煤科工集团唐山研究院有限公司 一种筛分装置

Also Published As

Publication number Publication date
JP2004305843A (ja) 2004-11-04

Similar Documents

Publication Publication Date Title
JP6338891B2 (ja) 重機で動作するふるいスクリーンバケット
JP4245397B2 (ja) ロールスクリーンの運転方法及びロールスクリーン
JP4889561B2 (ja) ロールスクリーン
EP3500376B1 (en) Self-cleaning roller screen
CN109333747B (zh) 一种铺装机
JP4261314B2 (ja) ロールスクリーン
JP2016013556A (ja) 固液分離装置
RU2687666C1 (ru) Валковый грохот
JPH091071A (ja) 付着性原料用篩分機付払出し装置及び付着性原料篩分払出し方法
CN114985292B (zh) 一种物料处理设备
CN112170157B (zh) 一种不堵料筛分机
CN212702185U (zh) 一种石灰石筛分破碎系统
JP2004074056A (ja) ロールスクリーン及びその運転方法並びにそれを搭載した移動式発生土安定化処理装置
RU2711603C2 (ru) Устройство для очистки глины
GB1572464A (en) Apparatus for applying particulate material to food products
JP2684535B2 (ja) 原石回収プラント
RU2101098C1 (ru) Устройство для разделения потока материалов на размерные фракции
JPH0335992B2 (ja)
CN219135629U (zh) 一种半导电缓冲阻水带的理料设备
JP2001321724A (ja) 石類の分級フィーダ装置
CN221335195U (zh) 一种高效率滚轴式细粒度筛分机
CN111250206A (zh) 一种仿生破碎机构
CA2929712C (en) A self cleaning apparatus for a belt conveyor
RU2060017C1 (ru) Устройство для отделения примесей из листового табака
CN222447172U (zh) 一种用于样品破碎前置处理的滚筛装置及破碎系统

Legal Events

Date Code Title Description
A711 Notification of change in applicant

Free format text: JAPANESE INTERMEDIATE CODE: A712

Effective date: 20050613

A621 Written request for application examination

Free format text: JAPANESE INTERMEDIATE CODE: A621

Effective date: 20050916

RD02 Notification of acceptance of power of attorney

Free format text: JAPANESE INTERMEDIATE CODE: A7422

Effective date: 20050916

A521 Request for written amendment filed

Free format text: JAPANESE INTERMEDIATE CODE: A523

Effective date: 20050930

A977 Report on retrieval

Free format text: JAPANESE INTERMEDIATE CODE: A971007

Effective date: 20070717

A131 Notification of reasons for refusal

Free format text: JAPANESE INTERMEDIATE CODE: A131

Effective date: 20070724

A521 Request for written amendment filed

Free format text: JAPANESE INTERMEDIATE CODE: A523

Effective date: 20070910

A131 Notification of reasons for refusal

Free format text: JAPANESE INTERMEDIATE CODE: A131

Effective date: 20071009

A521 Request for written amendment filed

Free format text: JAPANESE INTERMEDIATE CODE: A523

Effective date: 20071210

A131 Notification of reasons for refusal

Free format text: JAPANESE INTERMEDIATE CODE: A131

Effective date: 20080108

A521 Request for written amendment filed

Free format text: JAPANESE INTERMEDIATE CODE: A523

Effective date: 20080306

A521 Request for written amendment filed

Free format text: JAPANESE INTERMEDIATE CODE: A821

Effective date: 20080630

RD02 Notification of acceptance of power of attorney

Free format text: JAPANESE INTERMEDIATE CODE: A7422

Effective date: 20080630

RD04 Notification of resignation of power of attorney

Free format text: JAPANESE INTERMEDIATE CODE: A7424

Effective date: 20080709

A131 Notification of reasons for refusal

Free format text: JAPANESE INTERMEDIATE CODE: A131

Effective date: 20081021

A521 Request for written amendment filed

Free format text: JAPANESE INTERMEDIATE CODE: A523

Effective date: 20081204

TRDD Decision of grant or rejection written
A01 Written decision to grant a patent or to grant a registration (utility model)

Free format text: JAPANESE INTERMEDIATE CODE: A01

Effective date: 20090106

A01 Written decision to grant a patent or to grant a registration (utility model)

Free format text: JAPANESE INTERMEDIATE CODE: A01

A61 First payment of annual fees (during grant procedure)

Free format text: JAPANESE INTERMEDIATE CODE: A61

Effective date: 20090106

R150 Certificate of patent or registration of utility model

Ref document number: 4245397

Country of ref document: JP

Free format text: JAPANESE INTERMEDIATE CODE: R150

Free format text: JAPANESE INTERMEDIATE CODE: R150

FPAY Renewal fee payment (event date is renewal date of database)

Free format text: PAYMENT UNTIL: 20120116

Year of fee payment: 3

FPAY Renewal fee payment (event date is renewal date of database)

Free format text: PAYMENT UNTIL: 20120116

Year of fee payment: 3

FPAY Renewal fee payment (event date is renewal date of database)

Free format text: PAYMENT UNTIL: 20130116

Year of fee payment: 4

FPAY Renewal fee payment (event date is renewal date of database)

Free format text: PAYMENT UNTIL: 20130116

Year of fee payment: 4

FPAY Renewal fee payment (event date is renewal date of database)

Free format text: PAYMENT UNTIL: 20140116

Year of fee payment: 5

FPAY Renewal fee payment (event date is renewal date of database)

Free format text: PAYMENT UNTIL: 20150116

Year of fee payment: 6

LAPS Cancellation because of no payment of annual fees