JP4198540B2 - 椅子用のシリンダ装置 - Google Patents

椅子用のシリンダ装置 Download PDF

Info

Publication number
JP4198540B2
JP4198540B2 JP2003172492A JP2003172492A JP4198540B2 JP 4198540 B2 JP4198540 B2 JP 4198540B2 JP 2003172492 A JP2003172492 A JP 2003172492A JP 2003172492 A JP2003172492 A JP 2003172492A JP 4198540 B2 JP4198540 B2 JP 4198540B2
Authority
JP
Japan
Prior art keywords
cylinder
chair
diameter portion
cylinder device
diameter
Prior art date
Legal status (The legal status is an assumption and is not a legal conclusion. Google has not performed a legal analysis and makes no representation as to the accuracy of the status listed.)
Expired - Fee Related
Application number
JP2003172492A
Other languages
English (en)
Other versions
JP2005009539A (ja
Inventor
健司 吉澤
Current Assignee (The listed assignees may be inaccurate. Google has not performed a legal analysis and makes no representation or warranty as to the accuracy of the list.)
Hitachi Ltd
Original Assignee
Hitachi Ltd
Priority date (The priority date is an assumption and is not a legal conclusion. Google has not performed a legal analysis and makes no representation as to the accuracy of the date listed.)
Filing date
Publication date
Application filed by Hitachi Ltd filed Critical Hitachi Ltd
Priority to JP2003172492A priority Critical patent/JP4198540B2/ja
Publication of JP2005009539A publication Critical patent/JP2005009539A/ja
Application granted granted Critical
Publication of JP4198540B2 publication Critical patent/JP4198540B2/ja
Anticipated expiration legal-status Critical
Expired - Fee Related legal-status Critical Current

Links

Images

Landscapes

  • Chairs Characterized By Structure (AREA)
  • Fluid-Damping Devices (AREA)

Description

【0001】
【発明の属する技術分野】
本発明は、特に、座り心地を良好にすると共に、回転位置を自動的に基準位置に復帰させる必要がある椅子に用いられて好適な、椅子用のシリンダ装置に関する。
【0002】
【従来の技術】
一般に、椅子に着座したときの座り心地を良好にするために、ガススプリングからなるシリンダ機構を設けた構成のシリンダ装置がある。このシリンダ装置は、シリンダ・ピストン機構を収納するシリンダ本体(支持筒体)が椅子の支柱として設けられ、椅子に着座する際にシリンダ機構のシリンダ室に充填された窒素ガスが圧縮されてクッションになると共に、ピストンにより画成されたシリンダ室間の連通孔を開放することによりピストンが圧力差により椅子を上昇させて椅子の高さ位置を調整できるように構成されている。
【0003】
また、椅子に体重をかけることによりシリンダ機構のピストンがガス圧に抗して摺動することにより椅子の高さ位置を下げることができる。そして、この種の高さ調整機構付きの椅子は、例えば、店舗などに多数設置される場合、椅子が使用された後の椅子の向きが後向きや横向きになっていることが多いので、椅子が基準位置を向くように店員が椅子の向きを戻していた。
【0004】
このような問題を解消するため、シリンダ機構の外周とシリンダ本体の内周との間に椅子の向きを基準位置に自動的に復帰させるオートリターン機構を設けたものが開発されている(例えば、特許文献1参照)。
【0005】
また、この種の椅子は、床に固定されるため、例えば、床にアンカーと呼ばれる固定部材の筒状に形成されたシリンダ保持部にシリンダ装置の下端を嵌合させることで床に固定される。また、オートリターン機構を内蔵したシリンダ装置は、外径がオートリターン機構なしのものよりも大径(例えば、直径が約55mm)となっている。
【0006】
【特許文献1】
特開平9−108062号公報
【0007】
【発明が解決しようとする課題】
ところが、オートリターン機構の無いシリンダ装置からオートリターン機構付きのシリンダ装置に交換する場合、オートリターン機構付きのシリンダ装置の外径が大径(例えば、直径が約55mm)であるので、シリンダ装置の外径に合わせてシリンダ保持部が大径とされた固定部材に交換する必要があり、シリンダ保持部が小径(例えば、直径が約38mm)とされた既存の固定部材をそのまま使用することができなかった。
【0008】
そのため、床に打ち込まれたボルトを抜いて床に固定されていた固定部材を外さなければならなかった。また、オートリターン機構付きのシリンダ装置を固定する固定部材は、床に当接する固定部も大径であるので、床に打ち込むボルトの位置も外側に変える必要があり、ボルトを打ち込む際に床パネルが割れてしまうおそれがあった。
【0009】
従って、オートリターン機構の無いシリンダ装置からオートリターン機構付きのシリンダ装置に交換する場合、床パネルの取り替え工事も行うことになり、その分工事費が高価になるばかりか、設置工事に要する時間が延長するという問題があった。
【0010】
そのため、例えば、新装開店する際に店舗内の全ての椅子を一斉にオートリターン機構付きのシリンダ装置に交換する場合、閉店後から翌日の開店時間までの一晩で交換工事を完了したいにも拘らず、設置工事が間に合わないという問題が生じる。
【0011】
そこで、本発明は上記課題を解決した椅子用のシリンダ装置を提供することを目的とする。
【0012】
【課題を解決するための手段】
本発明は上記課題を解決するため、以下のような特徴を有する。
【0013】
発明は、一端側が大径部、他端側が前記大径より小径の小径部となった支持筒体と、該支持筒体内に挿入され、一端側が前記大径部側から外部に突出し、他端側が前記支持筒体の他端側に固定されたシリンダ機構と、前記支持筒体の大径部と前記シリンダ機構との間に設けられ、前記シリンダ機構の前記支持筒体に対する回転に対して基準位置に復帰させるオートリターン機構と、前記シリンダ機構の一端側に座面が取り付けられ、前記支持筒体の小径部が床に固定された筒状の固定部材内に挿入される椅子用のシリンダ装置であって、前記支持筒体は、前記オートリターン機構がその内部に設けられる大径の金属パイプにより形成される第1の筒体と、一端は前記第1の筒体の他端に一体的に結合され、他端は前記小径部となる第2の筒体から構成され、前記第1の筒体と比して前記第2の筒体を肉厚とするものである。
【0015】
また、本発明は、シリンダ機構を、外部操作によって伸張長さを調整可能なロック機構付ガススプリングで構成したものであり、外部操作によって、シリンダ機構の長さを任意に調整することが可能になる。
【0017】
【発明の実施の形態】
以下、図面と共に本発明の一実施例について説明する。
図1は本発明になる椅子用のシリンダ装置の一実施例を示す縦断面図である。図2は本発明の要部を拡大して示す縦断面図である。
【0018】
図1及び図2に示されるように、椅子用のシリンダ装置(以下、「シリンダ装置」と称する)10は、図中上端側(一端側)が大径部15、図中下端側(他端側)が小径部26となった支持筒体16と、この支持筒体16の内部に挿入され、図中上端側が大径部15から外部に突出され、図中下端側が小径部26側の底部28に支持された、伸縮可能なシリンダ機構12と、支持筒体16の大径部15とシリンダ機構12のシリンダ本体14との間に設けられ、シリンダ本体14の支持筒体16に対する回転に対して基準位置に復帰させるオートリターン機構18とを備えている。
【0019】
シリンダ本体14の上端には、座部20の嵌合部20aに嵌合するテーパ部14aが設けられている。座部20の嵌合部20aは、内周面がテーパ部14aと同じテーパ形状に形成されており、内周面全体で座部20にかかる重量を支える。また、シリンダ本体14の上端には、座部20の高さ位置を調整する際にレバー機構(図示せず)により押圧操作されるキャップ22が突出している。
【0020】
シリンダ本体14は、外周が六角形状に形成された中空部材であり、内部にはピストンが摺動するシリンダ室(図示せず)が形成されている。また、シリンダ本体14の内部に形成されたシリンダ室には、例えば、窒素ガス等の圧縮気体が充填されている。そのため、シリンダ機構12は、ピストンの受圧面積の差によって生じる気体圧力による駆動力で座部20を上昇させるように構成されている。
【0021】
また、シリンダ機構12は、シリンダ本体14の上端に突出するキャップ22をレバー機構(図示せず)により下方へ押圧することにより、図示しないピストンに設けられた開閉弁が開弁され、ピストンによって画成されたシリンダ室の上室及び下室が連通状態になってピストンを上動させ、キャップ22への押圧を解除することで、図示しないピストンに設けられた開閉弁が閉弁され、シリンダ室の上室と下室との間の連通が遮断されて座部20の高さ位置(シリンダ機構12の伸縮長さ)が設定される。また、座部20に体重をかけることによりシリンダ室の圧縮気体がさらに圧縮されるため、これがクッションとして作用し、座り心地を良好にする。
【0022】
さらに、シリンダ本体14の下部には、ピストンロッド24が突出している。ピストンロッド24の下端は、支持筒体16の小径部26に設けられた底部28の貫通孔28aに挿通され、且つ貫通孔28aより大径なワッシャ29を底部28に当接させ、底部28の下側で軸方向と直交する向きに挿通された止めピン30により抜け防止される。
【0023】
支持筒体16の大径部15に収納されたオートリターン機構18は、外周が六角形のシリンダ本体14に外接する円形の貫通孔32aを有する案内部材32と、シリンダ本体14に外接する円形孔34aを有し、シリンダ本体14の外周に沿って昇降する昇降部材34と、シリンダ本体14の外周に嵌合する六角形の貫通孔36aを有し、昇降部材34の傾斜面34bに当接する傾斜面36bを有する回動部材36と、昇降部材34を上方に押圧するコイルバネ38と、から構成されている。
【0024】
昇降部材34は、内周側が円形孔34aであるので、シリンダ本体14の回動を規制しないが、外周側の突起34cが案内部材32の筒状本体32bに形成された溝40によって回動方向を規制される。
【0025】
さらに、回動部材36は、上端がスラスト軸受42により回転自在に支持されている。また、スラスト軸受42は、ワッシャ44と止め輪46により上方への抜けが防止される。
【0026】
回動部材36は、シリンダ本体14と共にピストンロッド24を軸として軸周りに回動可能に設けられているので、離席時に座部20が回動されると、座部20と一体的に回動する。回動部材36は、座部20と共に回動し、傾斜面36bが昇降部材34の傾斜面34bに対して回動しながら昇降部材34を下方に押し下げる。
【0027】
そして、座部20に着席していた人が座部20から立ち上がると、シリンダ装置10に作用していた荷重がゼロになるので、コイルバネ38のバネ力により昇降部材34が上昇すると共に、昇降部材34の傾斜面34aが回動部材36の傾斜面36aを押圧する。これにより、回動部材36は、傾斜面36aが昇降部材34の傾斜面34aと密着、すなわち、図1に示す状態となるようにシリンダ本体14と共に離席前と逆方向に回動する。
【0028】
そして、回動部材36は、傾斜面36aが昇降部材34の傾斜面34aと密着することで回動が停止される。このように、座部20は、シリンダ本体14の回動により基準位置に復帰する。
【0029】
上記オートリターン機構18は、支持筒体16の大径部15とシリンダ本体14との間に収納されるため、オートリターン機構18を覆う大径部15は、支持筒体16の小径部26よりも大径(例えば、直径が約55mm)な金属パイプにより形成されている。そして、支持筒体16の小径部26は、床48に固定された固定部材50のシリンダ保持部50aに嵌合されて保持されるように小径(例えば、直径が約38mm)なテーパ状に形成されている。
【0030】
支持筒体16は、上記大径部(第1の筒体)15と、小径部(第2の筒体)26と、結合部材52とが溶接により一体的に結合されたものである。結合部材52は、外周に大径部15が嵌合する第1の嵌合部52aを有し、内周に小径部26が嵌合する第2の嵌合部52bを有する。尚、第1の嵌合部52a及び第2の嵌合部52bには、大径部15の端部、小径部26の端部が当接する段差部52c,52dが設けられている。
【0031】
また、大径部15と小径部26との間を結合する結合部材52は、金属材を環状に切削加工により肉厚となるように加工したものであり、溶接による結合強度が確保されている。さらに、小径部26は、シリンダ本体14が挿入可能となる内径を有する直径の金属パイプにより形成されており、且つ大径部15よりも肉厚の金属パイプにより形成されている。これにより、小径部26は、大径部15よりも強度が高められており、座部20に着席した状態で水平方向の荷重が座部20に印加されても強度不足とならない。
【0032】
支持筒体16は、小径部26にシリンダ本体14を挿入できるので、軸方向(高さ方向)の長さ寸法が小径部26によって規制されないように構成されている。そのため、シリンダ装置10の基準設置寸法(軸方向寸法)を変えずに、後述するように床に設置することができる。
【0033】
また、固定部材50は、上記シリンダ保持部50aと、床48に載置固定される円盤状のフランジ部50bを有する。シリンダ保持部50aは、円筒形状に形成されているが、内周は、小径部26の外周と同じテーパに形成されている。
【0034】
フランジ部50bは、ボルト54が挿通されて床48に締結される取付面50cと、取付面50cの内側で床48より浮いた状態に上方に突出した支持部50dとを有する。シリンダ保持部50aは、支持部50dに対して溶接されており、上方に起立するように設けられている。
【0035】
床48は、例えば、コンクリートの表面に樹脂材により形成された床パネル等が貼着されており、ボルト54を挿入するためのボルト挿入用孔56が固定部材50のフランジ部50bの下方に設けられている。
【0036】
また、固定部材50は、フランジ部50bの外径やボルト挿通孔の位置、シリンダ保持部50aの内径(例えば、約38mm)や突出高さなどが規格化されており、予め決められた寸法、形状に加工されている。そして、固定部材50は、オートリターン機構18を有していない従前のシリンダ装置が取り付けられるように形成されている。そのため、店舗等に予めオートリターン機構18を有していないシリンダ装置を取り付けるための固定部材50が床48に固定されている場合には、既存の上記固定部材50をそのまま利用してシリンダ装置10を取り付けることが可能になる。
【0037】
ここで、既存のシリンダ装置からオートリターン機構付きシリンダ装置に交換する場合について、従来技術で述べたオートリターン機構付きシリンダ装置と本発明のシリンダ装置10の設置方法とを比較して説明する。
【0038】
図3は従来技術を述べたオートリターン機構付きシリンダ装置の設置方法の手順を示すフローチャートである。
図3に示されるように、従来のオートリターン機構付きシリンダ装置の設置する場合には、先ず、既存のオートリターン機構なしのシリンダ装置(図示せず)を固定部材50のシリンダ保持部50a(内径が約38mm)から取り外す(手順11)。次に締結部材54をゆるめて床48に固定された既存の固定部材50を取り外す(手順12)。
【0039】
続いて、床48の古い床パネルを剥がし、新しい床パネルに取り替える(手順13)。その後、従来のオートリターン機構付きシリンダ装置(直径が約55mm)を固定するため既存の固定部材50より大径(例えば、直径が約55mm)なシリンダ保持部を有する固定部材(図示せず)を床48に固定する。その際、ドリルで床48にボルト挿入用孔56を開けた後、取付ボルト54を大径固定部材に挿通して床48のボルト挿入用孔56に挿入して固定する(手順14)。
【0040】
この後、従来のオートリターン機構付きシリンダ装置(図示せず)の下端部を大径固定部材(図示せず)のシリンダ保持部(例えば、内径が約55mm)に嵌合させる(手順15)。このように、従来のオートリターン機構付きシリンダ装置を取り付ける場合は、固定部材50の取り替え作業と床取り替え作業とが必要なため、上記のような5段階の作業手順を行わなければならない。
【0041】
図4は本発明のシリンダ装置10の設置方法の手順を示すフローチャートである。
【0042】
本発明のシリンダ装置10を取り付ける場合は、図4に示されるように、既存のオートリターン機構なしのシリンダ装置(図示せず)を固定部材50のシリンダ保持部50a(例えば、内径が約38mm)から取り外す(手順21)。その後、シリンダ装置10の小径部26(直径が約38mm)を既存の固定部材50のシリンダ保持部50aに嵌合させる(手順22)。
【0043】
このように、本発明のシリンダ装置10を取り付ける場合には、既存の固定部材50及び床48の交換作業を不要にできるので、2段階の作業手順で済み、上記従来の方法(図3参照)よりも手間がかからず、より短時間でオートリターン機構付きのシリンダ装置10に交換することが可能になる。そのため、多数の椅子が設けられた店舗の全席をオートリターン機構付きのシリンダ装置10に交換する場合でも閉店時間後に作業開始してから開店時間までの間に全て交換することができる。
【0044】
しかも、床パネルの取り替え作業を省略することができるので、床48にボルト挿入用孔56を開ける作業がなくなり、工事中の騒音の低減及び床パネルの取り替えコストを考慮せずに済み、効率良く交換作業を進めることが可能になる。
【0045】
ここで、変形例について説明する。
図5は変形例1を示す縦断面図である。尚、図5において、上記実施例と同一部分には、同一符号を付してその説明を省略する。
【0046】
図5に示されるように、変形例1の結合部材52は、固定部材50のシリンダ保持部50aの上端部に当接する位置まで下方に延在する当接部52eが設けられている。
【0047】
この当接部52eは、作業者が、シリンダ保持部50aの上端部に当接させるようにすることで、固定部材50のシリンダ保持部50aに対する小径部26の正規な嵌合位置を容易に確認できるようにしている。
【0048】
また、当接部52eは、第2の嵌合部52bから下方に向かって延びて、その内周面で小径部26を全面で覆うので、小径部26を補強する役割も有している。
【0049】
特に座部20に着席した人が座部20を横方向に揺動させるように力を加えた場合でも小径部26に応力が集中することを防止して耐久性が高められている。
【0050】
図6は変形例2を示す縦断面図である。尚、図6において、上記実施例と同一部分には、同一符号を付してその説明を省略する。また、図6では、シリンダ本体14及びピストンロッド24を省略してある。
【0051】
図6に示されるように、変形例2の結合部材62は、金属パイプを絞り加工したものであり、大径部15の内周に嵌合する第1の嵌合部62aと、小径部26の外周が嵌合する第2の嵌合部62bと、第1の嵌合部62aと第2の嵌合部62bとの間で連続するように絞り加工された絞り部62cとを有する。
【0052】
この結合部材62は、金属パイプを絞り加工したものであり、切削加工のものよりも安価に製作することが可能になると共に、軽量化を図れる。
【0053】
図7は変形例3を示す縦断面図である。尚、図7において、上記実施例と同一部分には、同一符号を付してその説明を省略する。また、図7では、シリンダ本体14及びピストンロッド24を省略してある。
【0054】
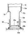
図7に示されるように、変形例3の結合部材72は、大径部15の内周に嵌合する嵌合部72aと、小径部72bと、嵌合部72aと小径部72bとの間で連続するように絞り加工された絞り部72cとを有する。
【0055】
従って、変形例3の結合部材72は、上記結合部62と小径部26とを一体化したものであり、変形例2のものよりも部品点数を削減して製造コストを安価にすることが可能になる。
【0056】
尚、上記説明では、オートリターン機構18を構成する回動部材36と昇降部材34とを、支持筒体16の図中上端側に設けたものを示したが、これに限らず、回動部材36と昇降部材34との設置箇所は、シリンダ本体14の摺動範囲内であれば良く、シリンダ装置10の軸方向中央部分側に設けても良い。
【0057】
また、上記説明では、シリンダ機構12を、外部操作によって伸張長さを調整可能なロック機構付ガススプリングであるものを示したが、本発明におけるシリンダ機構はこれに限らず、ロック機構を備えない通常のガススプリングであっても良い。この場合、伸張長さ調整はできないものの、着座時のばね性により、座り心地の良い椅子を提供できる。
【0058】
さらに、上記説明では、ガススプリングからなるシリンダ装置を一例として挙げたが、これに限らず、例えば、ガスの代わりに任意の粘性を有する油をシリンダ室に充填し、コイルバネを内蔵する構成としても良い。
【0059】
また、上記説明では、アンカーと呼ばれる固定部材を床に固定する設置方法を例に挙げたが、これに限らず、シリンダ装置の下部を嵌合させる円筒形状の保持部を有する固定部材であれば適用できるのは言うまでもない。
【0060】
【発明の効果】
上述の如く、発明によれば、一端側が大径部、他端側が前記大径より小径の小径部となった支持筒体と、該支持筒体内に挿入され、一端側が前記大径部側から外部に突出し、他端側が前記支持筒体の他端側に固定されたシリンダ機構と、前記支持筒体の大径部と前記シリンダ機構との間に設けられ、前記シリンダ機構の前記支持筒体に対する回転に対して基準位置に復帰させるオートリターン機構と、前記シリンダ機構の一端側に座面が取り付けられ、前記支持筒体の小径部が床に固定された筒状の固定部材内に挿入される椅子用のシリンダ装置であって、前記支持筒体は、前記オートリターン機構がその内部に設けられる大径の金属パイプにより形成される第1の筒体と、一端は前記第1の筒体の他端に一体的に結合され、他端は前記小径部となる第2の筒体から構成され、前記第1の筒体と比して前記第2の筒体を肉厚とするため、オートリターン機構付きのシリンダ装置における小径部を既存の固定部材に嵌合させて取り付けられるので、床の取り替え工事を行う必要がなく、その分工事費が安価になるばかりか、設置工事時間も短縮できる。さらに、第1の筒体と比して前記第2の筒体を肉厚とすることで、支持筒体における小径部の強度を高めることが可能になる。
【0062】
また、本発明によれば、シリンダ機構を、外部操作によって伸張長さを調整可能なロック機構付ガススプリングで構成したものであり、外部操作によって、シリンダ機構の長さを任意に調整することができる。
【図面の簡単な説明】
【図1】 本発明になる椅子用のシリンダ装置の一実施例を示す縦断面図である。
【図2】 本発明の要部を拡大して示す縦断面図である。
【図3】 従来のオートリターン機構付きシリンダ装置の設置方法の手順を示すフローチャートである。
【図4】 本発明の椅子用のシリンダ装置10の設置方法の手順を示すフローチャートである。
【図5】 変形例1を示す縦断面図である。
【図6】 変形例2を示す縦断面図である。
【図7】 変形例3を示す縦断面図である。
【符号の説明】
10 椅子用のシリンダ装置
12 シリンダ機構
14 シリンダ本体
16 支持筒体
18 オートリターン機構
20 座部
24 ピストンロッド
26 小径部
32 案内部材
34 昇降部材
36 回動部材
38 コイルバネ
48 床
50 固定部材
50a シリンダ保持部
52,62,72 結合部材
54 ボルト
56 ボルト挿入用孔

Claims (4)

  1. 一端側が大径部、他端側が前記大径より小径の小径部となった支持筒体と、
    該支持筒体内に挿入され、一端側が前記大径部側から外部に突出し、他端側が前記支持筒体の他端側に固定されたシリンダ機構と、
    前記支持筒体の大径部と前記シリンダ機構との間に設けられ、前記シリンダ機構の前記支持筒体に対する回転に対して基準位置に復帰させるオートリターン機構と、
    前記シリンダ機構の一端側に座面が取り付けられ、前記支持筒体の小径部が床に固定された筒状の固定部材内に挿入される椅子用のシリンダ装置であって、
    前記支持筒体は、
    前記オートリターン機構がその内部に設けられる大径の金属パイプにより形成される第1の筒体と、
    一端は前記第1の筒体の他端に一体的に結合され、他端は前記小径部となる第2の筒体から構成され、
    前記第1の筒体と比して前記第2の筒体を肉厚とすることを特徴とする椅子用のシリンダ装置。
  2. 前記第2の筒体の一端と前記第1の筒体の他端の結合は溶接により結合されていることを特徴とする請求項1に記載の椅子用のシリンダ装置。
  3. 前記第2の筒体は、前記第1の筒体と結合する結合部と前記小径部とを有する金属パイプで構成され、前記結合部と前記小径部との間に絞り加工された絞り部を有することを特徴とする請求項1または請求項2に記載の椅子用のシリンダ装置。
  4. 前記シリンダ機構は、外部操作によって伸張長さを調整可能なロック機構付ガススプリングであることを特徴とする請求項1または請求項2に記載の椅子用のシリンダ装置。
JP2003172492A 2003-06-17 2003-06-17 椅子用のシリンダ装置 Expired - Fee Related JP4198540B2 (ja)

Priority Applications (1)

Application Number Priority Date Filing Date Title
JP2003172492A JP4198540B2 (ja) 2003-06-17 2003-06-17 椅子用のシリンダ装置

Applications Claiming Priority (1)

Application Number Priority Date Filing Date Title
JP2003172492A JP4198540B2 (ja) 2003-06-17 2003-06-17 椅子用のシリンダ装置

Publications (2)

Publication Number Publication Date
JP2005009539A JP2005009539A (ja) 2005-01-13
JP4198540B2 true JP4198540B2 (ja) 2008-12-17

Family

ID=34096632

Family Applications (1)

Application Number Title Priority Date Filing Date
JP2003172492A Expired - Fee Related JP4198540B2 (ja) 2003-06-17 2003-06-17 椅子用のシリンダ装置

Country Status (1)

Country Link
JP (1) JP4198540B2 (ja)

Families Citing this family (1)

* Cited by examiner, † Cited by third party
Publication number Priority date Publication date Assignee Title
JP2015028360A (ja) * 2013-07-30 2015-02-12 日立オートモティブシステムズ株式会社 支持装置及び回動位置復帰装置

Also Published As

Publication number Publication date
JP2005009539A (ja) 2005-01-13

Similar Documents

Publication Publication Date Title
CA2656106C (en) Flush valve
US7134634B2 (en) Column unit
US4693442A (en) Variable length columns
JP2002195227A (ja) ボール繋止装置に基づくアセンブリ・システム
JPH01219287A (ja) ハンガおよびシール集合体
US7556237B2 (en) Flush valve
US20060260462A1 (en) Actuator having external load supporting member
JP2008254070A (ja) 圧延装置の油膜軸受をロールネックに取付ける及びロールネックから引離す装置
FR2608671A1 (fr) Ensemble a mandrin de blocage et outil de descente pour puits
JP4198540B2 (ja) 椅子用のシリンダ装置
US5620067A (en) Longitudinally adjustable gas spring with dual layered cylinder
JP3952370B2 (ja) 伸縮式の突っ張り型支柱
MXPA04010278A (es) Asiento de valvula para fluxometro tipo piston.
JP3795619B2 (ja) ガススプリング装置
US5692715A (en) Chair base having dual-tapered locking hub
JPH09225545A (ja) 管体成形方法
US4974676A (en) Ground subsiding wellhead
JP2614386B2 (ja) 分水栓、その取付方法及び装置
JP2005054481A (ja) 地下構造物用高さ調整装置
JP4677390B2 (ja) サポートパイプの支持装置
KR102812330B1 (ko) 고품위 가스 실린더
JPH1088857A (ja) 構造物の免震構造
KR200348804Y1 (ko) 가스 실린더용 밸브의 조립 구조물
JPH09291580A (ja) 便器洗浄タンク装置
CA1242634A (en) Variable length columns

Legal Events

Date Code Title Description
A711 Notification of change in applicant

Free format text: JAPANESE INTERMEDIATE CODE: A712

Effective date: 20041129

A621 Written request for application examination

Free format text: JAPANESE INTERMEDIATE CODE: A621

Effective date: 20050831

A521 Written amendment

Free format text: JAPANESE INTERMEDIATE CODE: A821

Effective date: 20050902

A977 Report on retrieval

Free format text: JAPANESE INTERMEDIATE CODE: A971007

Effective date: 20080130

A131 Notification of reasons for refusal

Free format text: JAPANESE INTERMEDIATE CODE: A131

Effective date: 20080311

A521 Written amendment

Free format text: JAPANESE INTERMEDIATE CODE: A523

Effective date: 20080512

TRDD Decision of grant or rejection written
A01 Written decision to grant a patent or to grant a registration (utility model)

Free format text: JAPANESE INTERMEDIATE CODE: A01

Effective date: 20080902

A01 Written decision to grant a patent or to grant a registration (utility model)

Free format text: JAPANESE INTERMEDIATE CODE: A01

A61 First payment of annual fees (during grant procedure)

Free format text: JAPANESE INTERMEDIATE CODE: A61

Effective date: 20081001

FPAY Renewal fee payment (event date is renewal date of database)

Free format text: PAYMENT UNTIL: 20111010

Year of fee payment: 3

R150 Certificate of patent or registration of utility model

Ref document number: 4198540

Country of ref document: JP

Free format text: JAPANESE INTERMEDIATE CODE: R150

Free format text: JAPANESE INTERMEDIATE CODE: R150

S111 Request for change of ownership or part of ownership

Free format text: JAPANESE INTERMEDIATE CODE: R313111

FPAY Renewal fee payment (event date is renewal date of database)

Free format text: PAYMENT UNTIL: 20111010

Year of fee payment: 3

R350 Written notification of registration of transfer

Free format text: JAPANESE INTERMEDIATE CODE: R350

FPAY Renewal fee payment (event date is renewal date of database)

Free format text: PAYMENT UNTIL: 20111010

Year of fee payment: 3

FPAY Renewal fee payment (event date is renewal date of database)

Free format text: PAYMENT UNTIL: 20121010

Year of fee payment: 4

FPAY Renewal fee payment (event date is renewal date of database)

Free format text: PAYMENT UNTIL: 20121010

Year of fee payment: 4

FPAY Renewal fee payment (event date is renewal date of database)

Free format text: PAYMENT UNTIL: 20131010

Year of fee payment: 5

FPAY Renewal fee payment (event date is renewal date of database)

Free format text: PAYMENT UNTIL: 20131010

Year of fee payment: 5

FPAY Renewal fee payment (event date is renewal date of database)

Free format text: PAYMENT UNTIL: 20141010

Year of fee payment: 6

LAPS Cancellation because of no payment of annual fees