JP4131981B2 - パターン予測方法およびプログラム - Google Patents
パターン予測方法およびプログラム Download PDFInfo
- Publication number
- JP4131981B2 JP4131981B2 JP2007038646A JP2007038646A JP4131981B2 JP 4131981 B2 JP4131981 B2 JP 4131981B2 JP 2007038646 A JP2007038646 A JP 2007038646A JP 2007038646 A JP2007038646 A JP 2007038646A JP 4131981 B2 JP4131981 B2 JP 4131981B2
- Authority
- JP
- Japan
- Prior art keywords
- pattern
- optical system
- projection optical
- photomask
- light
- Prior art date
- Legal status (The legal status is an assumption and is not a legal conclusion. Google has not performed a legal analysis and makes no representation as to the accuracy of the status listed.)
- Expired - Fee Related
Links
Images
Landscapes
- Exposure And Positioning Against Photoresist Photosensitive Materials (AREA)
- Exposure Of Semiconductors, Excluding Electron Or Ion Beam Exposure (AREA)
Description
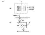
図1は、縮小投影露光装置の一例を示す概略構成図である。図において、1は照明光学系、2〜4はそれぞれ照明光学系1を構成するフライアレイレンズ、照明アパーチャ(二次光源面)およびコンデンサレンズを示している。
例えば、デューティ比が0.5の場合、C0:C1=1:0.64となる。
次に、第2の実施形態について説明する。なお、以下の実施形態では、第1の実施形態の図1の露光装置を用いたとして説明する。また、前述した図と同一符号は同一符号または相当部分を示し、詳細な説明は省略する。
図10は、本発明の第3の実施形態に係るフォトマスクの設計方法を示すフローチャートである。
次に、第4の実施形態について説明する。ここでは、感光基板上に形成される光学像の予想方法について説明する。
Z2 (ρ,φ)=ρcosφ
Z3 (ρ,φ)=ρsinφ
Z4 (ρ,φ)=2ρ2 −1
Z5 (ρ,φ)=ρ2 cos2φ
Z6 (ρ,φ)=ρ2 sin2φ
Zernike多項式を用いて、瞳内の任意の点における瞳透過率変動T(ρ,φ)は次式で表される。
a1 1
a2 0.0194
a3 −0.0054
a4 0.0040
a5 −0.0202
a6 0.0110
a7 −0.0019
a8 −0.0074
a9 −0.0215
上記入力ファイルから係数a1〜a9の数値情報を読み取ったシミュレータ(プログラム)は、後述するウインドウ関数を計算する際(図14のステップS14)に、数(1)に従って瞳透過率変動T(ρ,φ)を計算する。
図15は、第5の実施形態のマスクパターンの形成方法を示すフローチャートである。
P11’〜P13’…感光基板上の領域。
Claims (6)
- フォトマスクに二次光源から発した光を照射し、前記フォトマスクを通過した光を投影光学系を介して感光基板上に集光して形成される前記感光基板上のパターンを予測するパターン予測方法であって、
前記投影光学系を通過する光の前記投影光学系内の経路の違いに依存して変化する、前記投影光学系の透過率変動を、前記投影光学系の瞳座標で定義される直交多項式を用いて近似する第一工程と、
前記二次光源中の複数の点光源を決める第二工程と、
前記複数の点光源のうちの一つから発する光が前記フォトマスクに照射されて、前記マスクパターン通過後に発生する回折光の前記投影光学系内の経路を計算する第三工程と、
前記経路を通過する各々の回折光に関して、前記投影光学系の透過率変動を近似する前記直交多項式の展開係数に基づいて光強度の減衰を与える第四工程と、
前記各々の回折光が感光基板上に形成する像強度分布を計算する第五工程と、
前記複数の点光源の残りのすべての点光源に対して、前記第三工程から第五工程までを実施し、前記複数の点光源の各々から得られた像強度分布を足し合わせて一つの像強度分布を求める第六工程と、
前記第六工程で求めた像強度分布に基づいて、前記パターンを予測する第七工程と
を有することを特徴とするパターン予測方法。 - 前記直交多項式は、Zernike多項式であることを特徴とする請求項1に記載のパターン予測方法。
- 前記感光基板はレジストが塗布された基板であり、前記パターンは前記レジスト上に投影された前記フォトマスクのパターンの光学像、もしくは前記フォトマスクのパターンの光学像が投影されたレジストを現像して得られるレジストパターンであることを特徴とする請求項1または2に記載のパターン予測方法。
- コンピュータに、フォトマスクに二次光源から発した光を照射し、前記フォトマスクを通過した光を投影光学系を介して感光基板上に集光して形成される前記感光基板上のパターンを予測させる手順を実行させるためのプログラムであって、
前記投影光学系を通過する光の前記投影光学系内の経路の違いに依存して変化する、前記投影光学系の透過率変動を、前記投影光学系の瞳座標で定義される直交多項式を用いて近似させる第一手順と、
前記二次光源中の複数の点光源を決めさせる第二手順と、
前記複数の点光源のうちの一つから発する光が前記フォトマスクに照射されて、前記マスクパターン通過後に発生する回折光の前記投影光学系内の経路を計算させる第三手順と、
前記経路を通過する各々の回折光に関して、前記投影光学系の透過率変動を近似する前記直交多項式の展開係数に基づいて光強度の減衰を与えさせる第四手順と、
前記各々の回折光が感光基板上に形成する像強度分布を計算させる第五手順と、
前記複数の点光源の残りのすべての点光源に対して、前記第三手順から第五手順までを実施させ、前記複数の点光源の各々から得られた像強度分布を足し合わせて一つの像強度分布を求めさせる第六手順と、
前記第六手順で求めさせた像強度分布に基づいて、前記パターンを予測させる第七手順と
を実行させるためのプログラム。 - 前記直交多項式は、Zernike多項式であることを特徴とする請求項4に記載のプログラム。
- 前記感光基板はレジストが塗布された基板であり、前記パターンは前記レジスト上に投影された前記フォトマスクのパターンの光学像、もしくは前記フォトマスクのパターンの光学像が投影されたレジストを現像して得られるレジストパターンであることを特徴とする請求項4に記載のプログラム。
Priority Applications (1)
| Application Number | Priority Date | Filing Date | Title |
|---|---|---|---|
| JP2007038646A JP4131981B2 (ja) | 2007-02-19 | 2007-02-19 | パターン予測方法およびプログラム |
Applications Claiming Priority (1)
| Application Number | Priority Date | Filing Date | Title |
|---|---|---|---|
| JP2007038646A JP4131981B2 (ja) | 2007-02-19 | 2007-02-19 | パターン予測方法およびプログラム |
Related Parent Applications (1)
| Application Number | Title | Priority Date | Filing Date |
|---|---|---|---|
| JP2002287363A Division JP4077288B2 (ja) | 2002-09-30 | 2002-09-30 | フォトマスクの設計方法およびプログラム |
Publications (2)
| Publication Number | Publication Date |
|---|---|
| JP2007150354A JP2007150354A (ja) | 2007-06-14 |
| JP4131981B2 true JP4131981B2 (ja) | 2008-08-13 |
Family
ID=38211277
Family Applications (1)
| Application Number | Title | Priority Date | Filing Date |
|---|---|---|---|
| JP2007038646A Expired - Fee Related JP4131981B2 (ja) | 2007-02-19 | 2007-02-19 | パターン予測方法およびプログラム |
Country Status (1)
| Country | Link |
|---|---|
| JP (1) | JP4131981B2 (ja) |
Families Citing this family (2)
| Publication number | Priority date | Publication date | Assignee | Title |
|---|---|---|---|---|
| NL2003654A (en) | 2008-11-06 | 2010-05-10 | Brion Tech Inc | Methods and system for lithography calibration. |
| CN115271030B (zh) * | 2022-06-16 | 2025-11-07 | 西南交通大学 | 一种基于自然光与人工照明动态平衡的室内光疗方法 |
-
2007
- 2007-02-19 JP JP2007038646A patent/JP4131981B2/ja not_active Expired - Fee Related
Also Published As
| Publication number | Publication date |
|---|---|
| JP2007150354A (ja) | 2007-06-14 |
Similar Documents
| Publication | Publication Date | Title |
|---|---|---|
| KR100839972B1 (ko) | 리소그래피 장치 및 디바이스 제조 방법 | |
| KR100899359B1 (ko) | 이중 노광 리소그래피를 수행하는 장치, 프로그램물 및방법 | |
| CN106019850B (zh) | Euv焦点监控系统和方法 | |
| JP4102728B2 (ja) | 自動光近接補正(opc)ルール作成 | |
| US8365106B2 (en) | Method for optimization of light effective source while target pattern is changed | |
| EP1473596A2 (en) | Lithographic apparatus and method for optimizing an illumination source using photolithographic simulations | |
| US7927773B2 (en) | Memory medium storing original data generation program, memory medium storing illumination condition determination program, original data generation method, illumination condition determination method, and device manufacturing method | |
| US10545413B2 (en) | Evaluation method, exposure method, and method for manufacturing an article | |
| JP4398852B2 (ja) | プロセス・ラチチュードを向上させるためにマスク・パターンの透過率調整を行う方法 | |
| JP4425239B2 (ja) | リソグラフィ装置およびデバイス製造方法 | |
| US8247141B2 (en) | Method of generating reticle data, memory medium storing program for generating reticle data and method of producing reticle | |
| US8234600B2 (en) | Computer readable storage medium storing program for generating reticle data, and method of generating reticle data | |
| JP4077288B2 (ja) | フォトマスクの設計方法およびプログラム | |
| US20110122394A1 (en) | Computer readable storage medium including effective light source calculation program, and exposure method | |
| US8043797B2 (en) | Lithographic apparatus and device manufacturing method | |
| JP4804294B2 (ja) | 原版データ作成プログラム、原版データ作成方法、原版作成方法、露光方法及びデバイスの製造方法 | |
| JP4131981B2 (ja) | パターン予測方法およびプログラム | |
| CN107450277B (zh) | 确定方法、信息处理装置、曝光装置以及物品制造方法 | |
| JP5539140B2 (ja) | 決定方法、露光方法、プログラム及びコンピュータ |
Legal Events
| Date | Code | Title | Description |
|---|---|---|---|
| A131 | Notification of reasons for refusal |
Free format text: JAPANESE INTERMEDIATE CODE: A131 Effective date: 20080129 |
|
| A521 | Written amendment |
Free format text: JAPANESE INTERMEDIATE CODE: A523 Effective date: 20080328 |
|
| TRDD | Decision of grant or rejection written | ||
| A01 | Written decision to grant a patent or to grant a registration (utility model) |
Free format text: JAPANESE INTERMEDIATE CODE: A01 Effective date: 20080527 |
|
| A01 | Written decision to grant a patent or to grant a registration (utility model) |
Free format text: JAPANESE INTERMEDIATE CODE: A01 |
|
| A61 | First payment of annual fees (during grant procedure) |
Free format text: JAPANESE INTERMEDIATE CODE: A61 Effective date: 20080529 |
|
| FPAY | Renewal fee payment (event date is renewal date of database) |
Free format text: PAYMENT UNTIL: 20110606 Year of fee payment: 3 |
|
| FPAY | Renewal fee payment (event date is renewal date of database) |
Free format text: PAYMENT UNTIL: 20110606 Year of fee payment: 3 |
|
| FPAY | Renewal fee payment (event date is renewal date of database) |
Free format text: PAYMENT UNTIL: 20120606 Year of fee payment: 4 |
|
| FPAY | Renewal fee payment (event date is renewal date of database) |
Free format text: PAYMENT UNTIL: 20120606 Year of fee payment: 4 |
|
| FPAY | Renewal fee payment (event date is renewal date of database) |
Free format text: PAYMENT UNTIL: 20130606 Year of fee payment: 5 |
|
| LAPS | Cancellation because of no payment of annual fees |
