JP3993913B2 - Push-pull tablet - Google Patents

Push-pull tablet Download PDF

Info

Publication number
JP3993913B2
JP3993913B2 JP13612997A JP13612997A JP3993913B2 JP 3993913 B2 JP3993913 B2 JP 3993913B2 JP 13612997 A JP13612997 A JP 13612997A JP 13612997 A JP13612997 A JP 13612997A JP 3993913 B2 JP3993913 B2 JP 3993913B2
Authority
JP
Japan
Prior art keywords
handle
door
latch head
plate
engaging
Prior art date
Legal status (The legal status is an assumption and is not a legal conclusion. Google has not performed a legal analysis and makes no representation as to the accuracy of the status listed.)
Expired - Fee Related
Application number
JP13612997A
Other languages
Japanese (ja)
Other versions
JPH10311173A (en
Inventor
枚忠 阿部
Current Assignee (The listed assignees may be inaccurate. Google has not performed a legal analysis and makes no representation or warranty as to the accuracy of the list.)
Goal Co Ltd
Original Assignee
Goal Co Ltd
Priority date (The priority date is an assumption and is not a legal conclusion. Google has not performed a legal analysis and makes no representation as to the accuracy of the date listed.)
Filing date
Publication date
Application filed by Goal Co Ltd filed Critical Goal Co Ltd
Priority to JP13612997A priority Critical patent/JP3993913B2/en
Publication of JPH10311173A publication Critical patent/JPH10311173A/en
Application granted granted Critical
Publication of JP3993913B2 publication Critical patent/JP3993913B2/en
Anticipated expiration legal-status Critical
Expired - Fee Related legal-status Critical Current

Links

Images

Landscapes

  • Lock And Its Accessories (AREA)

Description

【0001】
【発明の属する技術分野】
本発明は、把手を扉に対して開扉方向への押し又は引き操作によりラッチヘッドを後退あるいは後退作動を許容して解錠すると同時にそのまま扉を開放することができる所謂ワンタッチ操作式のプッシュ・プル錠に関する。
【0002】
【従来の技術】
従来、この種のプッシュ・プル錠としては、
(イ) 本願出願人の出願に係る特願平7ー299277号(特開平9-112098号公報)の明細書及び図面に記載されているように、扉の室外側と室内側の扉面(扉の表面又は裏面の意味である。以下同じ)に縦向きに取り付けた把手を有するプッシュ・プル錠が知られている。
【0003】
すなわち、前記プッシュ・プル錠は、図17(a)、(b)に示す如く、扉aの開放端側に埋設したラッチ錠たる錠本体01と、扉aの室内外のそれぞれの扉面の上下に取り付けた一対の座02、02と、この一対の座02、02の上部または下部の一方の座(図17では下部の座)02に一端側を枢支された縦向きの一対の把手03、03とからなっている。また、把手03、03の他端側には、一端を前記上部または下部の他方の座(図17では上部の座)02の内部において作動板と連結した連結板の他端を連結しており、把手の開扉方向への押し又は引き動作により、ラッチヘッド04を後退または後退を許容させて解錠すると同時にそのまま扉aを開放できるようにしてある。なお、図17(a)で符号a1はヒンジ、bは扉枠である。
【0004】
(ロ) 実開平6ー6656号公報に示されているように、扉の室内側と室外側の扉面に横向きに取り付けた把手を有するプッシュ・プル錠も知られている。
【0005】
すなわち、このプッシュ・プル錠は、図18(a)、(b)に示す如く、扉aの開放端側に埋設したラッチ錠たる錠本体010と、扉aの室内外のそれぞれの扉面の左部(扉aの自由端側)と右部(扉aの枢支端側)に取り付けた一対の座012、012と、この一対の座012、012の左部または右部の一方の座(図18では右部の座)012に一端側を枢支された横向きの一対の把手013、013とからなっている。また、把手013、013の他端側には、一端を前記左部または右部の他方の座(図18では左部の座)012の内部において作動板015と連結した連結板016の他端を連結しており、把手013の開扉方向への押し又は引き動作により、ラッチヘッド014を後退または後退を許容させて解錠すると同時にそのまま扉aを開放できるようにしてある。
【0006】
【発明が解決しようとする課題】
以上のように、錠本体や把手及び座の取付位置が限定される扉の種類あるいは使用者の好み(意匠や操作性)に応じて、プッシュ・プル錠用の把手を扉の扉面に縦向きに取り付ける場合には、縦向き専用の錠本体と、縦向き専用の把手及び座を必要とした。また、把手を扉の扉面に横向きに取り付ける場合には、横向き専用の錠本体と、横向き専用の把手及び座を必要とした。ここで縦向き専用又は横向き専用の錠本体とは、錠ケースと該錠ケースに内蔵される錠機構部品も含む広義のものであり、本明細書で錠本体とは、上記意味で用いる。そのため、縦向き専用の錠本体と横向き専用の錠本体との間、縦向き専用の把手及び座と横向き専用の把手及び座との間に、それぞれ互換性がなく、これらの構成部品のいずれかを任意に組み替えするなどして把手を縦向きまたは横向きに選択して取り付けることができず、不便であるとともに、経済的にも高価となるという問題点があった。
【0007】
本発明は、上記問題点に着目してなされたものであって、一種類の錠本体(錠ケース及び該錠ケースに内蔵された錠機構部品を含む)と一種類の把手及び座で、扉の扉面に対して把手を縦向き又は横向きのどちらにでも取り付けできるとともに、一種類の錠本体を縦向き把手用または横向き把手用として互換性をもたせ使い勝手が良く全体として安価なプッシュ・プル錠を提供することを目的とする。
【0008】
【課題を解決するための手段】
上記目的を達成するため、本発明のプッシュ・プル錠は、扉の開放端側に設けた錠本体と、錠本体を構成する錠ケース内に配置されてラッチバネにより常時は錠ケースの出入口から出没可能に突出するように付勢され、かつ係合溝を有するラッチヘッドと、錠ケースに枢支されて前記ラッチヘッドの係合溝に係合片を常時はバネにより係合することにより該ラッチヘッドの没入を阻止するロッキングピースと、扉の扉面に座を介して可動に設けられかつ作動板が接続され開扉方向へ押し操作または引き操作する把手とを備え、この把手を開扉方向へ押し操作または引き操作することにより、前記作動板を作動して前記ラッチヘッドを後退又は後退を許容させて開扉できるようにしてあるとともに、前記把手は扉の扉面に対して縦向き又は横向きのいずれかに選択して取り付けできるようにしてなるプッシュ・プル錠であって、前記錠ケース内には前記ロッキングピースに対応して縦向き把手用係合解除手段と横向き把手用係合解除手段とを設け、扉の扉面に縦向きに又は横向きに取り付けた把手を押し又は引き操作することにより該把手に接続した作動板を作動するように設けると共に、該作動板を前記縦向き把手用係合解除手段または横向き把手用係合解除手段に係合させることにより、前記ロッキングピースを係合解除方向に回動させて該ロッキングピースの係合片を前記ラッチヘッドの係合溝から離脱させるようにしたことを特徴とする。
【0009】
ここで、「錠本体」とは、前述したように、錠機構部品を内蔵する錠ケースだけでなく、該錠ケースに内蔵される、ラッチヘッドやラッチバネやラッチヘッド施錠部材或いはラッチヘッド施錠解除部材等の錠機構部品も含む広義のものであり、本明細書ではこの意味で使用する。
【0010】
また、「扉の扉面」とは、本明細書では、室外側から見て扉の表面と裏面のどちらも含む。従って、本発明のプッシュ・プル錠に係る把手は、扉の室外側と室内側の両扉面に取り付ける場合と、一方の扉面だけに取り付ける場合とがある。
【0011】
「把手を扉の扉面に対して縦向き又は横向きに選択して取り付けできるようにする」とは、その具体的構成は後で明らかとなるが、錠ケースやその錠ケースに内蔵される錠機構部品からなる錠本体と、把手と、座とは、それぞれ寸法の異なる別種類のものを用いることなく、一種類のものでよく、把手の取り付け方向を縦方向にするか、横方向にするだけでよいことを意味する。
【0012】
上記の場合において、把手は扉の室内側と室外側の扉面の両方に設けることもできるし、片方だけに設けることもできる。
【0013】
把手を扉の扉面の両方に設ける場合には、ラッチヘッドの上下にそれぞれ係合溝を形成し;
ロッキングピースは前記ラッチヘッドを挟んだ状態で上下両方に一対設けるとともに、該ロッキングピースの略中央部を枢支するとともに互いの連結片を対向して回動可能に連結し;
把手に接続した作動板は第1作動板と第2作動板とで構成し;
縦向き把手用係合解除手段としては、把手に接続した第1作動板を上動することにより上動される第1仲介スライダーと、この第1仲介スライダーの上動により上動されて下部のロッキングピースの係合部を上動して、前記一対のロッキングピースの係合片がラッチヘッドの係合溝より離脱されるようにした第1スライダーと、第2作動板を下動することにより下動される第2仲介スライダーと、この第2仲介スライダーの下動により下動されて上部のロッキングピースの係合部を下動して、前記一対のロッキングピースの係合片がラッチヘッドの係合溝より離脱されるようにした第2スライダーとからなり;
横向き把手用係合解除手段としては、把手を横向きにして前記第1作動板と第2作動板を横向けに配置し、該第1作動板をラッチヘッドの突出方向に移動することにより一対のロッキングピースの係合片がラッチヘッドの係合溝より離脱されるようにした当接部材と,該第2作動板をラッチヘッドの没入方向に移動することにより一対のロッキングピースの係合片がラッチヘッドの係合溝より離脱するようにした揺動部材とからなる構成にするとよい。
【0014】
上記一対のロッキングピース、縦向き把手用係合解除手段、横向き把手用係合解除手段は、上記構成に限らず適宜設計変更することができる。
【0015】
【発明の実施の形態】
本発明の実施の形態例を図1〜図15に基づいて以下に説明する。
図1は本発明のプッシュ・プル錠の把手を扉に縦向けに取り付けた状態の概略正面図、図2は扉の開放端側から見た把手近傍の一部縦断側面図、図3は一部を破断して示したプッシュ・プル錠の正面図、図4は作動板を上動してラッチヘッドに対するロッキングピースによる係合を解除した状態を示す正面図、図5は作動板を下動してラッチヘッドに対するロッキングピースによる係合を解除した状態を示す正面図、図6は縦向き把手用係合解除手段である第1スライダーと第2スライダーの斜視図、図7は縦向き把手用係合解除手段である第1仲介スライダーと第2仲介スライダーの斜視図、図8は横向き把手用係合解除手段である揺動部材の斜視図、図9はラッチヘッドの斜視図、図10はラッチヘッドが反転する状態を示す概略平面図、図11は本発明のプッシュ・プル錠の把手を扉に横向けに取り付けた状態の概略正面図、図12は一部を破断して示したプッシュ・プル錠の正面図、図13は作動板を左へ移動してラッチヘッドに対するロッキングピースによる係合を解除した状態を示す正面図、図14は作動板を右へ移動してラッチヘッドに対するロッキングピースによる係合を解除した状態を示す正面図、図15は図11の把手近傍の一部を拡大して示した平面図、図16は扉の開放端側から見た変形例の一部縦断側面図である。なお、図17は縦型の把手を有する第1従来例を示し、(a)はその正面図、(b)は扉の開放端側から見た左側面図、図18は横型の把手を有する第2従来例を示し、(a)はその正面図、(b)はその平面図を示している。
【0016】
aは扉枠bにヒンジa1を介して蝶着された扉であって、この実施形態では外開きの扉を例示している。この扉aの開放端側(自由端側)には、錠ケース1A内にラッチヘッドやラッチバネ等のラッチ錠を内蔵した錠本体1が埋設されている。2は扉aの室内側と室外側の扉面(扉の裏面又は表面)に座3、3を介し、かつ錠ケース1Aを挟んで対称的に取り付けられた一対の把手であって、この把手2は後述するように、図1〜図10におけるように縦型として、あるいは図11〜図15におけるように横型として選択して取り付けられる。
なお、扉の扉面とは、扉の室外側から見て扉の表面または裏面のいずれか一方または両方をいう。
【0017】
錠本体1は、錠ケース1Aと、該錠ケース1A内に内蔵されるラッチ錠1Bと、デッドボルトよりなる本施錠機構部1Cとからなっている。錠ケース1Aは、図3に示す如く、錠ケース本体1aと錠ケース蓋1bと錠ケースの前板1cとフロント板1dからなり、扉aの開口部に該錠ケース1を埋設し、錠ケースの前板1cとフロント板1dとの上下両部を扉aの開口部前面にビス1eで固定する。
【0018】
錠ケース1A内には、ラッチ錠1Bをなす、ラッチヘッド4と、一対のロッキングピース10、10と、縦向き把手用係合解除手段20と、横向き把手用係合解除手段50等を設けている。
【0019】
ラッチヘッド4は、本発明では特に限定しないが、本実施形態では、いわゆる反転式のラッチヘッドを用いており、図9及び図3に示すように、前部には先端の扉閉じ方向の面を傾斜面4aとするとともに、扉枠bに取り付けた受部材(ストライキ)b1の係合孔b2に係合する面を係合面4bとした平面形状が略菱形で、後部の上下には対称的に一体形成した膨出部4c、4cに前後方向に係合溝4d、4dを形成し、後端部にはラッチバネ5の一端を嵌入するための傾斜した嵌合凹部4eを形成している。一方、錠ケースの前板1c及びフロント板1dの出入口1fを臨むように、該出入口1fから錠ケース1A内の後方には断面コ字状のバネ受6が設けられ、このバネ受6とラッチヘッド4の嵌合凹部4e間にはラッチバネ5を設けている。従って、このラッチバネ5の付勢力によって前記ラッチヘッド4の前部は、図3に示す如く、常時は錠ケース1Aの出入口1fから出没可能に突出されている。
【0020】
ロッキングピース10、10は、ラッチヘッド4を挟んだ状態で上下両方に一対設けており、いずれも断面が略コ字状であって、いずれも略中央部を錠ケース1の側板(1bとその背面の板)間に枢軸11、11で揺動自在に枢支し、前端部に突出形成した係合片12、12の一部がラッチヘッド4の係合溝4d、4dに常時係合するようにつる巻きバネ13で付勢されている。上記係合状態時にはラッチヘッド4は反転が阻止される。
【0021】
一方のロッキングピース10の係合片12が、該ロッキングピース10を解除方向に揺動(回動)することにより、ラッチヘッド4の係合溝4dから離脱されるときに、これに連動して他方のロッキングピース10の係合片12もラッチヘッド4の他方の係合溝4dから離脱され、該他方のロッキングピース10も解除方向に揺動されるように、前記一対のロッキングピース10、10の略中央部に対向して突設した連結片16、16をピン14で枢支連結してある。連結片16、16としては、上部ロッキングピース10の一辺を少し折り曲げ、該折り曲げ部を下部ロッキングピース10の断面コ字状部に嵌入して、両連結片16、16をピン14で枢支してある。
【0022】
両ロッキングピース10、10の後端部には係合部15、15が形成されており、この係合部15、15は、把手2、2を支持する座3、3の内部に枢支されたL字状の作動板9、9によって上下動する縦向き把手用係合解除手段20の一部に当接しており、把手2、2の操作により前記縦向き把手用係合解除手段20が上動または下動してロッキングピース10、10を揺動し、ロッキングピース10、10の係合片12、12をラッチヘッド4の係合溝4d、4dから離脱させるように構成してある。
【0023】
把手2、2は、扉aの室内側と室外側の扉面に対して、内側の座3、3又は外側の座3、3を介して一方側を枢支するとともに、他方側を作動板9を介して開扉方向へ押しまたは引き操作して扉を開放できるようにしたものであって、この内外2つの把手2、2は同一形状のものを用いている。
【0024】
より具体的に言うと、把手2は、図2に示されるように扉面との間で指が入るように弓形に膨らませた縦長のもので、図2において、該把手2の下部の一端側には下部の座3に枢支するための連結板7が、上部の他端側には上部の座3の内部にピン70で揺動自在に枢支したL字状の作動板9に連結するための連結板8が一体的に設けられ、把手2と座3、3が一体化される。なお、図2で、71は下部の座3の枢支部に把手2下部の連結板7を枢支するためのピン、73、74は凹部であって、上下両部の座3、3が正面から見えないように隠すようにしてある。
【0025】
各把手2と各座3、3とは、実際の製品化においては、両者を予め製造工場にて一体的に連結しているが、そこに達するまでの組付例を図2に基づいて以下に説明する。
【0026】
先ず、各把手2の両端に形成した凹部73、74には連結板7、8を螺子止めや鋳造などによって一体に結合する。次に、扉aの扉面に対面する側を開口した略箱状の各座3、3を前記把手2、2の凹部73、74に臨ませるとともに、該座3、3の空室内には、前記連結板7、8を臨ませるとともに、取付板76、76を嵌め込む。そして、把手2の下部側は、その側壁と下部の座3と取付板76とをネジ78で固定する。
【0027】
把手2の上部側は、上記と同様にして、該把手の側壁と上部の座3と取付板76とをネジ(図示せず)で固定する。そして、この把手2の上部側の場合には、前記連結板8は、座3の一部に穿設した挿通孔を経て座の空室に挿入され、該連結板8の先端部とL字状の作動板9の一部とをピン72で連結してある。
上記の如くして、各把手2、2と座3、3とは一体的に連結されており、従って、本錠の取付現場では先ず座3を扉aの扉面に取付固定してから、上記組付状態の把手2、2を座3に固定することによって扉aの扉面に取り付けることができる。
【0028】
すなわち、外側の座3と一体の取付柱75を内側の取付板76にネジ77で結合して外側の座3を扉面に取り付ける。その後に、内側の座3を扉面に当接させ座3の側面から前記取付板76にネジ78で結合することにより、上下の座3、3つまり把手2、2を内外の扉面の所定個所にそれぞれ対称的に取り付ける。なお、把手2の上部側は、座3より突出した取付柱75が錠ケース1Aに形成した貫通孔79を貫通して取り付けられる。
【0029】
把手2と座3の取付方法、座3と扉aの扉面との取付方法は、上述の取付方法に限らず適宜設計変更できる。また、把手2や座3の形状や構造は図示のものに限定されるものではなく、種々の公知のものでもよく任意である。
【0030】
図3や図12に示すように、ロッキングピース10、10や縦向き把手用係合解除手段20及び横向き把手用係合解除手段50で囲まれた位置に相当する個所の錠ケース1Aの側板には、図3〜図5、図12〜図14に示すように、作動板9の自由端が上動・下動又は左動・右動できるように貫通孔1g、1gが穿設されており、この貫通孔1g、1gに把手2、2を図1及び図2の如く縦型とした場合には、該作動板9の自由端は図3に示す如く該貫通孔1g、1gの右側の縦方向に上動可能に、また左側の縦方向に下動可能に挿通される。つまり、第1作動板9aの自由端は図4の如く貫通孔1gの右側に、第2作動板9bの自由端は図5の如く貫通孔1gの左側に、それぞれ挿通される。
【0031】
前記貫通孔1g、1gに把手2、2を図11及び図15の如く横型とした場合には、該作動板9の自由端は、図12の如く貫通孔1g、1gの上側の横方向に左動可能に(図13参照)、下側の横方向に右動可能に(図14参照)、それぞれ挿通される。
【0032】
前述したことから判るように、内外2つの把手2、2は、上記作動板9たる第1作動板9aと第2作動板9bの取り付け方向を変更するだけで、扉aの扉面に対して縦向き又は横向きのいずれかに選択して取り付けできるものである。
【0033】
縦向き把手用係合解除手段20としては、本発明では特に限定しないが、把手2に接続した第1作動板9aを上動することにより上動される第1仲介スライダー21と、この第1仲介スライダー21の上動により上動されて下部のロッキングピース10の係合部15を上動して、前記一対のロッキングピース10、10の係合片12、12がラッチヘッド4の係合溝4d、4dより離脱されるようにした第1スライダー22と、第2作動板9bを下動することにより下動される第2仲介スライダー23と、この第2仲介スライダー23の下動により下動されて上部のロッキングピース10の係合部15を下動して、前記一対のロッキングピース10、10の係合片12、12がラッチヘッド4の係合溝4d、4dより離脱されるようにした第2スライダー24とからなるものが好ましい。
【0034】
第1仲介スライダー21と第2仲介スライダー23とは、図3や図7に示すように、断面が略コ字状の同一構造のものを逆向き状態で180°反転したものである。すなわち、第1仲介スライダー21と第2仲介スライダー23とは、図7に示すように、断面が略コ字状の両水平板部25、26の両側壁には係合片25a、26aを突設している。一方、錠ケース1Aの両側板にはロッキングピース10、10の係合部15、15対応位置に長孔1h、1kを穿設している。また、前記貫通孔1g、1gには、それぞれ第1作動板9aが上動できるように長孔1mが、第2作動板9bが下動できるように長孔1nが連通して形成されている。第1作動板9a及び第2作動板9bを横向きに配置した場合には、図12に示す如く、貫通孔1g、1gには、それぞれ第1作動板9aが左動できるように長孔1pが、第2作動板9bが右動できるように長孔1rが連通して形成されている。
【0035】
従って、第1仲介スライダー21は、水平板部25の係合片25a、25aを錠ケース1Aの側板に形成した長孔1h、1hに係入し、水平板部26の係合片26a、26aを錠ケース1Aに形成した長孔1m、1mに係入して、上動できるようにしている。第2仲介スライダー23は、前述したように上記第1仲介スライダー21を逆向きにして180°反転した状態で、水平板部26の係合片26a、26aを錠ケース1Aに形成した長孔1n、1nに係入し、水平板部25の係合片25a、25aを錠ケース1Aに形成した長孔1k、1kに係入して、下動できるようにしている。
【0036】
第1スライダー22と第2スライダー24とは、図3や図6に示すように断面が略コ字状の同一構造のものを180°反転した状態で上下方向に位置ずれさせて錠ケース1A内に嵌装したものである。すなわち、第1スライダー22と第2スライダー24とは、図6に示すように、断面が略コ字状の両水平板部27、28の両側壁には係合片27a、28aを突設しているとともに、両水平板部27、28間には半割り状の縦板部29を形成している。
【0037】
そこで、第1スライダー22の上部の水平板部27を第1仲介スライダー21の上部の水平板部25の上方に配置するとともに、下部の水平板部28を第2仲介スライダー23の下部の水平板部25の上方に配置して、第1スライダー22の上部の水平板部27に形成した前記係合片27a、27aを錠ケース1Aの側板に形成した前記長孔1h、1hに係入し、第1スライダー22の下部の水平板部28に形成した前記係合片28a、28aを錠ケース1Aの側板に形成した前記長孔1k、1kに係入して、該第1スライダー22が上下動できるようにしてある。
【0038】
前記第1スライダー22と同様にして、第2スライダー24は、該第1スライダー22との間に第1仲介スライダー21及び第2仲介スライダー23の水平板部25、25を介在させた状態で組み付ける。すなわち、第2スライダー24の上部の水平板部28を第1仲介スライダー21の上部の水平板部25の下方に配置するとともに、下部の水平板部27を第2仲介スライダー23の下部の水平板部25の下方に配置して、第2スライダー24の上部の水平板部28に形成した前記係合片28a、28aを錠ケース1Aの側板に形成した前記長孔1h、1hに係入し、第2スライダー24の下部の水平板部27に形成した前記係合片27a、27aを錠ケース1Aの側板に形成した前記長孔1k、1kに係入して、該第2スライダー24が上下動できるようにしてある。
【0039】
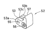
横向き把手用係合解除手段50としては、本発明では特に限定しないが、把手2を横向きにするだけで、前記第1作動板9aと第2作動板9bが横向けに配置される。このように、第1作動板9aを図12の如く横向けに配置した状態において、把手2を押し又は引くことによって該1作動板9aを図13の如くラッチヘッド4の突出方向に移動(つまり左動)することで、一対のロッキングピース10、10の係合片12、12がラッチヘッド4の係合溝4d、4dより離脱されるようにした当接部材51と,第2作動板9bを図12の如く横向けに配置した状態において、把手2を押し又は引くことによって該第2作動板9bを図14の如くラッチヘッド4の没入方向に移動(つまり右動)することで一対のロッキングピース10、10の係合片12、12がラッチヘッド4の係合溝4d、4dより離脱するようにした揺動部材52とからなるものが好ましい。
【0040】
当接部材51は、上部ロッキングピース10の略中央部の下面側に枢支片51aを嵌合して該枢支片51aと上部ロッキングピース10の連結片16とを前記枢軸11で枢支するとともに、該枢支片51aの後方には第1作動板9aが当接して上部ロッキングピース10と同体的に回動され該上部ロッキングピース10を施錠解除方向に回動する当接片51bが一体に形成されている(図3、図12、図13参照)。
【0041】
揺動部材52は、図3、図8、図12、図14に示す如く、前部に二股部53を有し、その脚部53a、53b間の嵌合溝53cに下部ロッキングピース10の後部に形成した係合部15を係合し、該二股部53と係合部15とをピン54で枢支している。この場合、二股部53には長孔55を形成しているので、該揺動部材52の上部の被係合部57が図14の如く第2作動板9bに右動され枢軸56を回動中心として時計方向に回動される際に、下部ロッキングピース10の係合部15が反時計方向に円滑に回動される。第2作動板9bを図12の如く原姿勢位置に戻す場合にも下部ロッキングピース10の係合部15が時計方向に円滑に回動される。
【0042】
本実施形態の概要を説明すれば、以上の説明から判るように、前記内外2つの把手2、2は扉aの扉面に対して縦向き又は横向きのいずれかに選択して取り付けできるとともに、錠ケース1A内には一対のロッキングピース10、10に対応して縦向き把手用係合解除手段20と横向き把手用係合解除手段50とを設け、扉aの扉面に縦向きに又は横向きに取り付けた把手2、2を押し又は引き操作することにより該把手2、2に接続した作動板9を作動するように設けるとともに、該作動板9を前記縦向き把手用係合解除手段20または横向き把手用係合解除手段50に係合させることにより、前記一対のロッキングピース10、10を係合解除方向に回動させて該ロッキングピース10、10の係合片12、12を前記ラッチヘッド4の係合溝4d、4dから離脱させるようにしたものであり、この係合解除状態で扉を開放することができる。
【0043】
【作用】
本実施形態例に基づいて本発明のプッシュ・プル錠の作用を以下に説明する。 本発明は、把手2、2に接続した作動板9の配置替えなど一切することなく、把手2を縦向きあるいは横向きに取付けるだけで、錠ケースと錠機構部品からなる錠本体及び把手自体は取り替えることなく同一のもので、図1〜図10に示す如く縦型把手のプッシュ・プル錠として、または図11〜15に示す如く横型把手のプッシュ・プル錠として選択使用できるものである。
【0044】
すなわち、縦型把手のプッシュ・プル錠としたい場合には、図1〜図3に示すように、把手を縦向きにし、作動板9たる第1作動板9aと第2作動板9bの自由端を、錠ケース1Aの両側板に穿った貫通孔1g、1gの左右両側に縦向きに挿通し、該把手2を扉aの扉面に前述したようにして組み付けるとよい。
【0045】
横型把手のプッシュ・プル錠としたい場合には、図11と図12に示すように、把手を横向きにし、即ち、作動板9たる第1作動板9aと第2作動板9bの自由端を、前記縦型把手状態から反時計方向へ90°回転することにより、前記貫通孔1g、1gの上下両側に横向きに挿通し、該把手2を扉aの扉面に前述したようにして組み付ける。
【0046】
把手を縦型とした場合と、横型とした場合について、以下に説明する。いずれの場合も、説明の便宜上、シリンダー90のキー孔にキー(図示せず)を差し込み本締りするためのデッドボルト91は後退して解錠状態であるとする。
(A) 把手を縦型とした場合(図1〜図10)
開扉状態から図1の如く扉aを閉めると、ラッチバネ5の復元力により常時は錠ケース1Aの出入口1fから突出しているラッチヘッド4は、扉枠b側のストライキb1の湾曲部に傾斜面4aが当接し、該傾斜面4aの作用によりラッチヘッド4はラッチバネ5の復元力に抗して一旦後退し、ストライキb1の係合孔b2に嵌入したときに再び突出し該係合孔b2に係入する。
【0047】
このとき、ラッチヘッド4の上下の係合溝4d、4dには、バネ13の復元力により上下両部のロッキングピース10、10の係合片12、12が係合してラッチヘッド4の反転を阻止しているので、扉aを開放方向へ押してもストライキb1の係合孔b2との係合状態が保持されており、ラッチは反転せず扉は開かない。即ち、風圧等で扉が開かない施錠状態となっている。
【0048】
上記状態において、室外側の把手2を握持するか又は指を掛けて開扉方向つまり手前に引くと、把手2は下部の座3の枢支部のピン71を支点として揺動し、把手2の上部に設けた連結板8に枢支されている作動板9たる第1作動板9aが、ピン70を支点として時計方向に揺動して、錠ケース1A内に挿通されている第1作動板9aの自由端が第1仲介スライダー21の下部の水平板部26と係合して該第1仲介スライダー21を上動する(図4参照)。この第1仲介スライダー21の上動に連動して第1スライダー22も所定距離上動し、第1スライダー22の下部の水平板部28が下部ロッキングピース10の後部の係合部15を上動するため、該下部ロッキングピース10の前部の係合片12は枢軸11を支点として反時計方向に揺動する結果、前記下部の係合片12はラッチヘッド4の下部の係合溝4dから離間して係合が解除される。それと同時に、ピン14で連結されている上部ロッキングピース10はバネ13の復元力に抗して時計方向に揺動して、その係合片12はラッチヘッド4の上部の係合溝4dから離間してラッチヘッド4の反転阻止作用が解除される(図4参照)。そのため、把手2を引く動作によりラッチヘッド4が反転し後退して解錠状態となり、扉aを開くことができるのである。
【0049】
デッドボルト91は後退され、かつラッチヘッド4は前進して施錠状態で閉扉状態において、室内側の把手2を開扉方向へ押すと、把手2は下部の座3の枢支部のピン71を支点として揺動し、把手2の上部に設けた連結板8に枢支されている作動板9たる第2作動板9bが、ピン70を支点として時計方向に揺動して、錠ケース1A内に挿通されている第2作動板9bの自由端が第2仲介スライダー23の上部の水平板部26と係合して該第2仲介スライダー23を下動する。この第2仲介スライダー23の下動に連動して水平板部25と水平板部27を介して第2スライダー24も所定距離下動し、第2スライダー24の上部の水平板部28が上部ロッキングピース10の後部の係合部15を下動するため、該上部ロッキングピース10の前部の係合片12は枢軸11を支点として時計方向に揺動する結果、前記上部の係合片12はラッチヘッド4の上部の係合溝4dから離間して係合が解除される(図5参照)。それと同時に、ピン14で連結されている下部ロッキングピース10はバネ13の復元力に抗して反時計方向に揺動して、その係合片12はラッチヘッド4の下部の係合溝4dから離間してラッチヘッド4の反転阻止作用が解除される(図5参照)。そのため、把手2を押す動作によりラッチヘッド4が反転し後退して解錠状態となり、扉aを開くことができるのである。
【0050】
(B) 把手を横型とした場合(図11〜図15)
この横型把手の場合も、開扉状態から図11の如く扉aを閉めると、前記(A)で説明したような理由で、風圧などで扉が開かない施錠状態となる。
【0051】
デッドボルト91は後退され、かつラッチヘッド4は前進されている施錠・閉扉状態において、室外側の把手2を開扉方向に引くと、把手2は扉蝶着部側の座3の枢支部のピン71を支点として水平方向に揺動し、把手2の自由端側に設けた連結板8に枢支されている作動板9たる第1作動板9aが、ピン70を支点として時計方向に揺動して、錠ケース1A内に挿通されている第1作動板9aの自由端が当接部材51の当接片51bを左方向に押し(左動という)て該当接部材51を図12で時計方向に揺動する。この当接部材51の揺動に連動して上部ロッキングピース10が時計方向に揺動するため、該上部ロッキングピース10の前部の係合片12は枢軸11を支点として時計方向に揺動する結果、前記上部ロッキングピース10の係合片12はラッチヘッド4の上部の係合溝4dから離間して係合が解除される。それと同時に、ピン14で連結されている下部ロッキングピース10はバネ13の復元力に抗して反時計方向に揺動して、その係合片12はラッチヘッド4の下部の係合溝4dから離間してラッチヘッド4の反転阻止作用が解除される(図13参照)。そのため、把手2を引く動作によりラッチヘッド4が反転し後退して解錠状態となり、扉aを開くことができるのである。
【0052】
デッドボルト91は後退され、かつラッチヘッド4は前進されている施錠・閉扉状態において、室内側の把手2を開扉方向へ押すと、把手2は扉蝶着部側の座3の枢支部のピン71を支点として水平方向に揺動し、把手2の自由端側に設けた連結板8に枢支されている作動板9たる第2作動板9bが、ピン70を支点として反時計方向に揺動して、錠ケース1A内に挿通されている第2作動板9bの自由端が揺動部材52の上部の被係合部57を右方向に揺動(右動)する。この揺動部材52の揺動に連動して下部ロッキングピース10も枢軸11を支点として反時計方向に揺動するため、該下部ロッキングピース10の前部の係合片12は枢軸11を支点として反時計方向に揺動する結果、前記下部の係合片12はラッチヘッド4の下部の係合溝4dから離間して係合が解除される。それと同時に、ピン14で連結されている上部ロッキングピース10はバネ13の復元力に抗して時計方向に揺動して、その上部の係合片12はラッチヘッド4の上部の係合溝4dから離間してラッチヘッド4の反転阻止作用が解除される(図14参照)。そのため、把手2を押す動作によりラッチヘッド4が反転し後退して解錠状態となり、扉aを開くことができるのである。
【0053】
なお、図3〜図5及び図12〜図14で、6aはロッキングピース10、10の係合片12、12が、ラッチヘッド4の係合溝4d、4dに出没できるようにするためのバネ受6に形成したガイド孔である。
図3、図12で92、93は扉枠b等に取り付けたストライキb1(受部材)に形成した受孔である。図2で94はサムターン、95は把手2を平常位置に戻すための復帰バネである。
【0054】
本実施形態のプッシュ・プル錠は、デッドボルト91とシリンダー90とサムターン94等の本締り錠用の構成部品を有しているが、これらの本締り錠用の構成部品を省略した純正なラッチ錠にのみにも適用することができる。
【0055】
本発明は、図1〜図15に示した如く、扉の扉面の表裏両面に一対の把手2、2を設けたものに限定されるものではなく、扉の扉面の片側だけに把手2を1つ取り付けたものにも適用できる。この後者の場合の実施形態を挙げると、上記図1〜図15において、把手2を1つとし、それに伴って、ロッキングピース10と係合溝4dとはそれぞれ1つずつとするとともに、作動板9たる第1作動板9aと第2作動板9bもどちらか1つとし、さらに縦向き把手用係合解除手段20及び横向き把手用係合解除手段50も適宜選んで組合わせるとよい。
【0056】
ラッチヘッド4は、前記実施形態では反転式のものを用いたが、本発明では反転しない構造で、作動板の作動によってラッチを摺動後退させる構造のものを用いることもできる。
【0057】
扉aの扉面に対して把手2を取り付ける方式としては、前記実施形態では、把手2の一端側は座3を介して扉aの扉面に枢支するとともに、他端側は上記枢支部を支点にして回動できるように、扉aの扉面に座3を介して回動自在に設けているが、本発明ではこのような取付方式に限定されない。
【0058】
例えば、図16に示す如く、把手2のどの位置を押し又は引き操作した時でも、該把手2が扉aの扉面(座)に対して平行に変位する方式でもよい。すなわち、扉aの扉面に固定した座3、3と把手2の一端側又は他端側間に第1アーム80又は第2アーム81を可動に設け、この第1アーム80又は第2アーム81が座3と把手2に対して枢着される各枢軸82、83、84、85を順次結ぶ線が平行四辺形のリンク機構86を形成するものである。このような平行リンク機構方式としては、実開平3ー128177号公報や特開平8ー260772号公報記載のものを適用することもできる。
【0059】
その他に、前記実施形態では、図2や図15に示すように、把手2の一端側を座3を介して扉aの扉面に枢支しているが、この把手2の一端側の枢支構造を省略して、該把手2の他端側を扉面に回動自在に設けた構造のものを実施することもできる。
【0060】
【発明の効果】
本発明の請求項1記載のプッシュ・プル錠によれば、一種類の錠本体と、一種類の把手及び座で、取り付けしようとする扉の種類に応じて、同じ把手を縦向き又は横向きのどちらにでも自由に選んで取り付けすることができる。しかも一種類の錠本体及び座並びに把手を縦向き把手用又は横向き把手用として兼用できるため、従来例の如く縦向きか横向きかの用途に応じてそれぞれ別異の錠本体等の構成部品を使う必要がなく、構成部品が少なくでき安価となり、使い勝手がよいばかりか、一種類の錠本体及び座と一種類の把手で、同じ把手を縦向き又は横向きに選択して取り付けするため、簡単な構成で容易に取り付けできる。
【0061】
本発明の請求項2記載のプッシュ・プル錠によれば、請求項1記載の効果に加え、扉の扉面の両側に一対の把手を確実にかつ容易に取り付けできる。
【図面の簡単な説明】
【図1】 本発明のプッシュ・プル錠の把手を扉に縦向けに取り付けた状態の概略正面図である。
【図2】 扉の開放端側から見た把手近傍の一部縦断側面図である。
【図3】 一部を破断して示したプッシュ・プル錠の正面図である。
【図4】 作動板を上動してラッチヘッドに対するロッキングピースによる係合を解除した状態を示す正面図である。
【図5】 作動板を下動してラッチヘッドに対するロッキングピースによる係合を解除した状態を示す正面図である。
【図6】 縦向き把手用係合解除手段である第1スライダーと第2スライダーの斜視図である。
【図7】 縦向き把手用係合解除手段である第1仲介スライダーと第2仲介スライダーの斜視図である。
【図8】 横向き把手用係合解除手段である揺動部材の斜視図である。
【図9】 ラッチヘッドの斜視図である。
【図10】 本発明のプッシュ・プル錠のラッチヘッドが反転する状態を示す概略平面図である。
【図11】 本発明のプッシュ・プル錠の把手を扉に横向けに取り付けた状態の概略正面図である。
【図12】 一部を破断して示したプッシュ・プル錠の正面図である。
【図13】 作動板を左へ移動してラッチヘッドに対するロッキングピースによる係合を解除した状態を示す正面図である。
【図14】 作動板を右へ移動してラッチヘッドに対するロッキングピースによる係合を解除した状態を示す正面図である。
【図15】 図11の把手近傍の一部を拡大して示した平面図である。
【図16】 把手を扉の扉面に取り付けた他の変形例を示し、扉の開放端側から見た把手近傍の一部縦断側面図である。
【図17】 縦型の把手を有する第1従来例を示し、
(a)はその正面図である。
(b)は扉の開放端側から見た左側面図である。
【図18】 横型の把手を有する第2従来例を示し、
(a)はその正面図である。
(b)はその平面図である。
【符号の説明】
1 錠本体
1A 錠ケース
2 把手
3 座
4 ラッチヘッド
4a 傾斜面
4b 係合面
4d 係合溝
5 ラッチバネ
7 連結板
8 連結板
9 作動板
9a 第1作動板
9b 第2作動板
10 ロッキングピース
11 枢軸
12 係合片
13 バネ
14 ピン
15 係合部
16 連結片
20 縦向き把手用係合解除手段
21 第1仲介スライダー
22 第1スライダー
23 第2仲介スライダー
24 第2スライダー
25 水平板部
25a 係合片
26 水平板部
26a 係合片
27 水平板部
27a 係合片
28 水平板部
28a 係合片
50 横向き把手用係合解除手段
51 当接部材
52 揺動部材
53 二股部
57 被係合部
70 ピン
80 第1アーム
81 第2アーム
86 リンク機構
a 扉
b 扉枠
[0001]
BACKGROUND OF THE INVENTION
  The present invention is a so-called one-touch operation type push / push type that allows the door to be opened at the same time as the latch head is unlocked by allowing the handle to push or pull in the door opening direction or pulling operation, and at the same time unlocking. It relates to pull tablets.
[0002]
[Prior art]
  Conventionally, as this kind of push-pull tablet,
  (A) As described in the specification and drawings of Japanese Patent Application No. 7-299277 (Japanese Patent Laid-Open No. 9-112298) relating to the application of the present applicant, A push-pull lock having a handle vertically attached to the front or back surface of the door (the same applies hereinafter) is known.
[0003]
  That is, as shown in FIGS. 17 (a) and 17 (b), the push-pull lock includes a lock body 01 which is a latch lock embedded on the open end side of the door a, and the door surfaces of the door a inside and outside the door. A pair of seats 02, 02 attached vertically, and a pair of vertically oriented handles pivotally supported at one end by one of the upper seats or lower seats (lower seat in FIG. 17) 02 of the pair of seats 02, 02 03, 03. Further, the other end of the handle 03, 03 is connected to the other end of the connecting plate, one end of which is connected to the operation plate inside the other upper seat or the lower seat (upper seat in FIG. 17) 02. By pushing or pulling the handle in the door opening direction, the latch head 04 is allowed to retreat or retreat and unlocked, and at the same time, the door a can be opened as it is. In FIG. 17A, reference numeral a1 is a hinge, and b is a door frame.
[0004]
  (B) As shown in Japanese Utility Model Laid-Open No. 6-6656, a push-pull lock having a handle attached sideways to the door surface on the indoor side and the outdoor side of the door is also known.
[0005]
  That is, as shown in FIGS. 18 (a) and 18 (b), this push-pull lock has a lock body 010 which is a latch lock embedded on the open end side of the door a, and the door surfaces of the door a inside and outside the door. A pair of seats 012 and 012 attached to the left part (the free end side of the door a) and the right part (the pivot end side of the door a), and one of the left part and the right part of the pair of seats 012 and 012 It consists of a pair of horizontal handles 013 and 013 pivotally supported at one end by 012 (the right seat in FIG. 18). Further, at the other end of the grips 013 and 013, the other end of the connecting plate 016 is connected to the operating plate 015 at one end inside the other seat of the left or right portion (left seat in FIG. 18) 012. The latch a 014 is allowed to move backward or backward by being pushed or pulled in the opening direction of the handle 013, and the door a can be opened as it is.
[0006]
[Problems to be solved by the invention]
  As described above, the push-pull lock handle can be placed vertically on the door surface of the door depending on the type of door or the user's preference (design and operability) where the lock body, handle, and seat mounting position are limited. When mounting in the orientation, a lock body dedicated to the portrait orientation and a handle and seat dedicated to the portrait orientation were required. Moreover, when attaching a handle to the door surface of a door sideways, the lock main body only for sideways, the handle and seat only for sideways were required. Here, the lock body for exclusive use in the vertical direction or the lock body for horizontal use is a broad meaning including a lock case and a lock mechanism part incorporated in the lock case, and the lock body is used in the present specification in the above-mentioned meaning. Therefore, there is no compatibility between the lock body dedicated to the vertical orientation and the lock body dedicated to the horizontal orientation, and between the handle and seat dedicated to the vertical orientation and the handle and seat dedicated to the horizontal orientation. As a result, it is not possible to attach the handle in a vertical or horizontal direction by arbitrarily rearranging the handle, which is inconvenient and economically expensive.
[0007]
  The present invention has been made paying attention to the above-mentioned problems, and includes one type of lock body (including a lock case and a lock mechanism part built in the lock case), one type of handle and seat, and a door. The handle can be attached either vertically or horizontally to the door surface of the door, and one type of lock body can be used for either a vertical handle or a horizontal handle, making it easy to use and inexpensive as a whole. The purpose is to provide.
[0008]
[Means for Solving the Problems]
  In order to achieve the above object, the push-pull lock of the present invention includes a lock body provided on the open end side of the door, and a lock spring that is disposed in the lock case constituting the lock body. A latch head that is urged so as to protrude and has an engaging groove, and the latch head is pivotally supported by a lock case and the engaging piece is normally engaged with the engaging groove of the latch head by a spring. A locking piece that prevents the head from entering, and a handle that is movably provided on the door surface of the door via a seat and that is connected to the operation plate and that is pushed or pulled toward the door opening direction. By pushing or pulling up, the operating plate is operated to retract the latch head.Or retreatLet it open and allow it to openIn addition, the handle can be selected and installed either vertically or horizontally on the door surface of the door.A push-pull tabletSaidThe lock case is provided with a vertical handle disengagement means and a horizontal handle disengagement means corresponding to the locking piece, and pushes or pulls the handle attached vertically or horizontally to the door surface of the door. The operating piece connected to the handle is operated to be operated, and the operating piece is engaged with the longitudinal handle disengaging means or the lateral handle disengaging means, thereby the locking piece. Is rotated in the disengagement direction to disengage the engaging piece of the locking piece from the engaging groove of the latch head.
[0009]
  Here, as described above, the “lock body” is not only a lock case incorporating a lock mechanism part, but also a latch head, a latch spring, a latch head locking member, or a latch head unlocking member incorporated in the lock case. It is a broad term including parts such as a locking mechanism, and is used in this sense in this specification.
[0010]
  In addition, the “door surface of the door” in this specification means the outdoor side.From the doorsurfaceAnd backIncludes both faces. Therefore, the handle according to the push-pull lock of the present invention may be attached to both the door exterior and interior door surfaces, or may be attached to only one door surface.
[0011]
  “The handle can be selected and attached to the door face in the vertical or horizontal orientation” means that the specific configuration will be clarified later, but the lock case and the lock built in the lock case The lock body consisting of mechanical parts, the handle, and the seat can be of one type without using different types of different dimensions, and the handle can be mounted vertically or horizontally. Just means that
[0012]
  In the above case, the handle can be provided on both the indoor side of the door and the door surface on the outdoor side, or can be provided on only one side.
[0013]
  When the handle is provided on both the door surfaces of the door, engaging grooves are formed on the top and bottom of the latch head, respectively;
  A pair of locking pieces is provided on both the upper and lower sides with the latch head sandwiched therebetween, pivotally supports a substantially central portion of the locking piece, and connects the connecting pieces to each other so as to be rotatable;
  The actuating plate connected to the handle comprises a first actuating plate and a second actuating plate;
  As the engagement release means for the vertical handle, the first intermediate slider that is moved upward by moving the first operating plate connected to the handle upward, and the upper intermediate slider that is moved upward by the upward movement of the first intermediate slider. By moving up the engaging portion of the locking piece and moving down the first slider and the second operating plate so that the engaging piece of the pair of locking pieces is separated from the engaging groove of the latch head The second intermediate slider to be moved downward, and the second intermediate slider is moved downward to move down the engaging portion of the upper locking piece. A second slider adapted to be disengaged from the engaging groove;
  As the lateral handle disengagement means, the first actuating plate and the second actuating plate are disposed sideways with the handle facing sideways, and the first actuating plate is moved in the protruding direction of the latch head. An abutting member in which the engaging piece of the locking piece is detached from the engaging groove of the latch head, and the engaging piece of the pair of locking pieces is moved by moving the second operating plate in the retracting direction of the latch head. It is good to comprise the rocking | swiveling member made to detach | leave from the engagement groove | channel of a latch head.
[0014]
  The pair of locking pieces, the vertical handle disengagement means, and the lateral handle disengagement means are not limited to the above-described configuration, and can be appropriately changed in design.
[0015]
DETAILED DESCRIPTION OF THE INVENTION
  Embodiments of the present invention will be described below with reference to FIGS.
  FIG. 1 is a schematic front view of a push-pull lock handle according to the present invention vertically attached to a door, FIG. 2 is a partially longitudinal side view of the vicinity of the handle as viewed from the open end side of the door, and FIG. 4 is a front view of the push-pull lock shown with the part cut away, FIG. 4 is a front view showing a state in which the operating plate is moved upward to release the engagement with the latch head by the locking piece, and FIG. FIG. 6 is a perspective view of the first slider and the second slider which are the engagement release means for the vertical handle, and FIG. 7 is for the vertical handle. FIG. 8 is a perspective view of a swinging member that is a disengagement means for lateral handles, FIG. 9 is a perspective view of a latch head, and FIG. 10 is a perspective view of a first mediation slider and a second mediation slider that are disengagement means. Schematic plan view showing a state in which the latch head is reversed 11 is a schematic front view of the push-pull lock according to the present invention attached to the door sideways, FIG. 12 is a front view of the push-pull lock partially cut away, and FIG. 13 is an operation plate. FIG. 14 is a front view showing a state in which the engagement of the locking head with the latch head is released by moving the operating plate to the right. 15 is an enlarged plan view showing a part near the handle in FIG. 11, and FIG. 16 is a partially longitudinal side view of a modification as viewed from the open end side of the door. 17 shows a first conventional example having a vertical handle, (a) is a front view thereof, (b) is a left side view as viewed from the open end side of the door, and FIG. 18 has a horizontal handle. A 2nd prior art example is shown, (a) is the front view, (b) has shown the top view.
[0016]
  a is a door hinged to the door frame b via a hinge a1, and an open door is illustrated in this embodiment. On the open end side (free end side) of the door a, a lock body 1 containing a latch lock such as a latch head or a latch spring is embedded in a lock case 1A. Reference numeral 2 denotes a pair of handles which are symmetrically attached to the indoor and outdoor door surfaces (the back or front surface of the door a) through seats 3 and 3 and sandwiching the lock case 1A. 2 is selected and attached as a vertical type as in FIGS. 1 to 10 or as a horizontal type as in FIGS.
  In addition, the door surface of the door is the outdoor side of the doorFrom the door surface orIt refers to either one or both of the back side.
[0017]
  The lock body 1 includes a lock case 1A, a latch lock 1B built in the lock case 1A, and a lock mechanism 1C made of a dead bolt. As shown in FIG. 3, the lock case 1A includes a lock case body 1a, a lock case lid 1b, a front plate 1c of the lock case, and a front plate 1d. The lock case 1 is embedded in the opening of the door a. The upper and lower parts of the front plate 1c and the front plate 1d are fixed to the front surface of the opening of the door a with screws 1e.
[0018]
  In the lock case 1A, there are provided a latch head 4, a pair of locking pieces 10, 10, a vertical handle disengagement means 20, a lateral handle disengagement means 50, etc., which constitute the latch lock 1B. Yes.
[0019]
  The latch head 4 is not particularly limited in the present invention, but in the present embodiment, a so-called reversing type latch head is used, and as shown in FIGS. Of the receiving member (strike) b1 attached to the door frame b.Engagement hole b2The engagement surface 4b is formed in a substantially rhombus shape with the engagement surface 4b as the engagement surface 4b, and the engagement grooves 4d and 4d are formed in the front and rear direction in the bulging portions 4c and 4c formed symmetrically and integrally on the upper and lower sides of the rear part, An inclined fitting recess 4e for fitting one end of the latch spring 5 is formed at the rear end. On the other hand, a spring receiver 6 having a U-shaped cross section is provided at the rear of the lock case 1A from the entrance / exit 1f so as to face the front plate 1c of the lock case and the entrance / exit 1f of the front plate 1d. A latch spring 5 is provided between the fitting recesses 4 e of the head 4. Therefore, as shown in FIG. 3, the front portion of the latch head 4 protrudes from the doorway 1f of the lock case 1A so as to be able to protrude and retract by the urging force of the latch spring 5.
[0020]
  A pair of locking pieces 10 and 10 are provided on both the upper and lower sides with the latch head 4 sandwiched therebetween, both of which have a substantially U-shaped cross section, and both have a substantially central portion at the side plate (1b and its side) of the lock case 1. A part of the engagement pieces 12, 12 that are pivotably supported by the pivot shafts 11, 11 between the rear plates) and project at the front end portion are always engaged with the engagement grooves 4 d, 4 d of the latch head 4. It is urged by the helical spring 13. In the engaged state, the latch head 4 is prevented from being reversed.
[0021]
  When the engagement piece 12 of one locking piece 10 is released from the engagement groove 4d of the latch head 4 by swinging (turning) the locking piece 10 in the releasing direction, The pair of locking pieces 10, 10 are arranged so that the engaging piece 12 of the other locking piece 10 is also detached from the other engaging groove 4 d of the latch head 4 and the other locking piece 10 is also swung in the releasing direction. The connecting pieces 16, 16 projecting substantially from the center of each are pivotally connected by pins 14. As the connecting pieces 16, 16, one side of the upper locking piece 10 is slightly bent, the bent portion is fitted into a U-shaped section of the lower locking piece 10, and both connecting pieces 16, 16 are pivotally supported by pins 14. It is.
[0022]
  Engaging portions 15, 15 are formed at the rear ends of the locking pieces 10, 10. The engaging portions 15, 15 are pivotally supported inside seats 3, 3 that support the handles 2, 2. The L-shaped actuating plates 9 and 9 are in contact with a part of the vertical handle disengaging means 20 that moves up and down, and the vertical handle disengaging means 20 is operated by operating the handles 2 and 2. The locking pieces 10 and 10 are swung up and down to disengage the engaging pieces 12 and 12 of the locking pieces 10 and 10 from the engaging grooves 4 d and 4 d of the latch head 4.
[0023]
  The handles 2 and 2 pivot on one side via the inner seats 3 and 3 or the outer seats 3 and 3 with respect to the indoor side and outdoor door surfaces of the door a, and the other side is an operating plate. 9, the door can be opened by pushing or pulling in the opening direction, and the two inner and outer handles 2 and 2 have the same shape.
[0024]
  More specifically, the handle 2 is a vertically long one that is inflated in a bow shape so that a finger can enter between the door surface as shown in FIG. 2, and in FIG. Is connected to an L-shaped actuating plate 9 pivotally supported by a pin 70 inside the upper seat 3 at the other end of the upper portion. The connecting plate 8 is integrally provided, and the handle 2 and the seats 3 and 3 are integrated. In FIG. 2, 71 is a pin for pivotally supporting the connecting plate 7 at the lower part of the handle 2 at the pivotal support part of the lower seat 3, 73 and 74 are concave parts, and the seats 3 and 3 at both upper and lower parts are front faces. It hides so that it cannot be seen from.
[0025]
  Each handle 2 and each seat 3 and 3 are integrally connected in advance at the manufacturing factory in actual production, but an assembly example up to this is shown below with reference to FIG. Explained.
[0026]
  First, connecting plates 7 and 8 are integrally coupled to recesses 73 and 74 formed at both ends of each handle 2 by screwing or casting. Next, the substantially box-shaped seats 3 and 3 opened on the side facing the door surface of the door a are made to face the concave portions 73 and 74 of the grips 2 and 2, The connecting plates 7 and 8 are faced, and the mounting plates 76 and 76 are fitted. The lower side of the handle 2 fixes its side wall, the lower seat 3 and the mounting plate 76 with screws 78.
[0027]
  On the upper side of the handle 2, the side wall of the handle 2, the upper seat 3, and the mounting plate 76 are fixed with screws (not shown) in the same manner as described above. In the case of the upper side of the handle 2, the connecting plate 8Is inserted into the vacant space of the seat through an insertion hole drilled in a part of the seat 3,L-shaped working plate 9Part ofAre connected by a pin 72.
  As described above, the grips 2 and 2 and the seats 3 and 3 are integrally connected. Therefore, at the installation site of the lock, the seat 3 is first attached and fixed to the door surface of the door a. By fixing the grips 2 and 2 in the assembled state to the seat 3, they can be attached to the door surface of the door a.
[0028]
  That is, the mounting post 75 integral with the outer seat 3 is coupled to the inner mounting plate 76 with the screw 77 to mount the outer seat 3 to the door surface. After that, the inner seat 3 is brought into contact with the door surface and is joined to the mounting plate 76 from the side surface of the seat 3 with a screw 78, whereby the upper and lower seats 3, 3, that is, the grips 2, 2 are fixed to the inner and outer door surfaces. Attach them symmetrically at each location. Note that, on the upper side of the handle 2, an attachment column 75 protruding from the seat 3 is attached through a through hole 79 formed in the lock case 1 </ b> A.
[0029]
  The attachment method of the handle 2 and the seat 3 and the attachment method of the seat 3 and the door surface of the door a are not limited to the above-described attachment methods, and can be appropriately changed in design. Further, the shape and structure of the handle 2 and the seat 3 are not limited to those shown in the drawings, and various known ones may be used.
[0030]
  As shown in FIGS. 3 and 12, on the side plate of the lock case 1A at the position corresponding to the position surrounded by the locking pieces 10, 10 and the engagement release means 20 for the vertical handle and the engagement release means 50 for the horizontal handle. As shown in FIGS. 3 to 5 and FIGS. 12 to 14, through holes 1 g and 1 g are formed so that the free end of the working plate 9 can move up and down, or left and right. When the handles 2 and 2 are made vertical in the through holes 1g and 1g as shown in FIGS. 1 and 2, the free end of the operating plate 9 is located on the right side of the through holes 1g and 1g as shown in FIG. It is inserted so that it can move up in the vertical direction and down in the vertical direction on the left side. That is, the free end of the first operating plate 9a is inserted to the right side of the through hole 1g as shown in FIG. 4, and the free end of the second operating plate 9b is inserted to the left side of the through hole 1g as shown in FIG.
[0031]
  When the grips 2 and 2 are made horizontal in the through holes 1g and 1g as shown in FIGS. 11 and 15, the free end of the operating plate 9 is in the lateral direction above the through holes 1g and 1g as shown in FIG. It is inserted through the left side (see FIG. 13) and the lower side in the right direction (see FIG. 14).
[0032]
  As can be seen from the foregoing, the inner and outer grips 2 and 2 can be attached to the door surface of the door a only by changing the mounting direction of the first operating plate 9a and the second operating plate 9b. It can be selected and installed either vertically or horizontally.
[0033]
  Although the engagement release means 20 for the vertical handle is not particularly limited in the present invention, the first intermediate slider 21 that is moved upward by moving the first operating plate 9a connected to the handle 2 and the first intermediate slider 21 are provided. When the intermediate slider 21 is moved upward, the engagement portion 15 of the lower locking piece 10 is moved upward, and the engagement pieces 12, 12 of the pair of locking pieces 10, 10 become the engagement grooves of the latch head 4. The first slider 22 that is separated from 4d and 4d, the second mediating slider 23 that is moved down by moving down the second operating plate 9b, and the moving down by the downward movement of the second mediating slider 23 Then, the engaging portion 15 of the upper locking piece 10 is moved downward so that the engaging pieces 12, 12 of the pair of locking pieces 10, 10 are disengaged from the engaging grooves 4 d, 4 d of the latch head 4. The second Those composed of the slider 24. Preferably.
[0034]
  As shown in FIGS. 3 and 7, the first mediation slider 21 and the second mediation slider 23 are obtained by inverting the same structure having a substantially U-shaped cross section by 180 ° in the reverse direction. That is, as shown in FIG. 7, the first mediating slider 21 and the second mediating slider 23 have engaging pieces 25a and 26a projecting on both side walls of both horizontal plates 25 and 26 having a substantially U-shaped cross section. Has been established. On the other hand, long holes 1h and 1k are formed in positions corresponding to the engaging portions 15 and 15 of the locking pieces 10 and 10 on both side plates of the lock case 1A. Further, in the through holes 1g and 1g, a long hole 1m is formed so as to communicate with the first working plate 9a, and a long hole 1n is formed so as to communicate with the second working plate 9b. . When the first working plate 9a and the second working plate 9b are disposed sideways, as shown in FIG. 12, the through holes 1g and 1g have elongated holes 1p so that the first working plate 9a can move to the left. The long hole 1r is formed in communication so that the second operating plate 9b can move to the right.
[0035]
  Accordingly, the first intermediate slider 21 engages the engagement pieces 25a, 25a of the horizontal plate portion 25 into the long holes 1h, 1h formed in the side plate of the lock case 1A, and the engagement pieces 26a, 26a of the horizontal plate portion 26. Is inserted into the long holes 1m and 1m formed in the lock case 1A so that it can move upward. As described above, the second mediating slider 23 is a long hole 1n in which the engagement pieces 26a, 26a of the horizontal plate portion 26 are formed in the lock case 1A in a state where the first mediating slider 21 is reversed and inverted by 180 °. 1n, and the engaging pieces 25a, 25a of the horizontal plate portion 25 are engaged with the long holes 1k, 1k formed in the lock case 1A so that they can be moved downward.
[0036]
  As shown in FIGS. 3 and 6, the first slider 22 and the second slider 24 are displaced in the vertical direction in a state where the same structure having a substantially U-shaped cross section is turned 180 °, and the inside of the lock case 1A. It is fitted in. That is, as shown in FIG. 6, the first slider 22 and the second slider 24 are provided with engaging pieces 27a and 28a on both side walls of both horizontal plate portions 27 and 28 having a substantially U-shaped cross section. In addition, a halved vertical plate portion 29 is formed between the horizontal plate portions 27 and 28.
[0037]
  Accordingly, the upper horizontal plate portion 27 of the first slider 22 is disposed above the upper horizontal plate portion 25 of the first intermediate slider 21, and the lower horizontal plate portion 28 is disposed below the second intermediate slider 23. The engagement pieces 27a and 27a formed on the horizontal plate portion 27 on the upper portion of the first slider 22 are inserted into the elongated holes 1h and 1h formed on the side plate of the lock case 1A, arranged above the portion 25, The engaging pieces 28a, 28a formed on the horizontal plate portion 28 below the first slider 22 are engaged with the elongated holes 1k, 1k formed on the side plate of the lock case 1A, so that the first slider 22 moves up and down. I can do it.
[0038]
  Similarly to the first slider 22, the second slider 24 is assembled with the horizontal plates 25 and 25 of the first mediation slider 21 and the second mediation slider 23 interposed between the first slider 22 and the second slider 24. . That is, the upper horizontal plate portion 28 of the second slider 24 is disposed below the upper horizontal plate portion 25 of the first intermediate slider 21, and the lower horizontal plate portion 27 is disposed below the second intermediate slider 23. The engaging pieces 28a, 28a formed on the horizontal plate portion 28 on the upper side of the second slider 24 are disposed below the portion 25 and engaged with the elongated holes 1h, 1h formed on the side plate of the lock case 1A, The engaging pieces 27a and 27a formed on the horizontal plate portion 27 below the second slider 24 are engaged with the elongated holes 1k and 1k formed on the side plate of the lock case 1A, so that the second slider 24 moves up and down. I can do it.
[0039]
  The lateral handle disengaging means 50 is not particularly limited in the present invention, but the first actuating plate 9a and the second actuating plate 9b are arranged laterally only by turning the handle 2 sideways. In this way, in a state where the first operating plate 9a is disposed sideways as shown in FIG. 12, the first operating plate 9a is moved in the protruding direction of the latch head 4 as shown in FIG. And the second actuating plate 9b. The contact member 51 is configured such that the engagement pieces 12 and 12 of the pair of locking pieces 10 and 10 are separated from the engagement grooves 4d and 4d of the latch head 4 by moving to the left. 12 is moved sideways as shown in FIG. 12 to move or move the second operating plate 9b in the immersion direction of the latch head 4 as shown in FIG. It is preferable that the engaging pieces 12 and 12 of the locking pieces 10 and 10 include a swing member 52 that is disengaged from the engaging grooves 4 d and 4 d of the latch head 4.
[0040]
  The abutting member 51 is fitted with a pivot piece 51 a on the lower surface side of the substantially central portion of the upper locking piece 10, and pivotally supports the pivot piece 51 a and the connecting piece 16 of the upper locking piece 10 on the pivot 11. In addition, the first operating plate 9a is in contact with the rear of the pivot piece 51a and is integrally rotated with the upper locking piece 10 so that the contact piece 51b that rotates the upper locking piece 10 in the unlocking direction is integrated. (See FIGS. 3, 12, and 13).
[0041]
  As shown in FIGS. 3, 8, 12, and 14, the swing member 52 has a bifurcated portion 53 at the front portion, and a rear portion of the lower locking piece 10 in the fitting groove 53c between the leg portions 53a and 53b. The forked portion 53 and the engaging portion 15 are pivotally supported by a pin 54. In this case, since the elongated hole 55 is formed in the bifurcated portion 53, the engaged portion 57 at the upper portion of the swinging member 52 is moved right by the second operating plate 9b as shown in FIG. When rotating clockwise about the center, the engaging portion 15 of the lower locking piece 10 is smoothly rotated counterclockwise. Even when the second operating plate 9b is returned to the original posture position as shown in FIG. 12, the engaging portion 15 of the lower locking piece 10 is smoothly rotated clockwise.
[0042]
  If the outline of the present embodiment is described, as can be understood from the above description, the two inner grips 2 and 2 can be selected and attached to the door surface of the door a in either the vertical direction or the horizontal direction, In the lock case 1A, there are provided a vertical handle disengaging means 20 and a horizontal handle disengaging means 50 corresponding to the pair of locking pieces 10 and 10, and the door a of the door a is oriented vertically or horizontally. The operating plate 9 connected to the grips 2, 2 is operated by pushing or pulling the handles 2, 2 attached to the handle 2, and the operating plate 9 is connected to the vertical handle disengaging means 20 or By engaging with the disengaging means 50 for the lateral handle, the pair of locking pieces 10 and 10 are rotated in the disengaging direction, and the engaging pieces 12 and 12 of the locking pieces 10 and 10 are moved to the latch head. Four Groove 4d, is obtained by so as to disengage from 4d, it is possible to open the door in this disengaged.
[0043]
[Action]
  The operation of the push-pull lock of the present invention will be described below based on this embodiment. In the present invention, the lock body and the handle itself, which are composed of the lock case and the lock mechanism parts, are replaced only by attaching the handle 2 vertically or horizontally without changing the position of the operation plate 9 connected to the handles 2 and 2. It can be selectively used as a vertical pull push-pull lock as shown in FIGS. 1 to 10 or as a horizontal pull push-pull lock as shown in FIGS.
[0044]
  That is, when it is desired to use a push / pull lock of a vertical handle, as shown in FIGS. 1 to 3, the handle is turned vertically and the free ends of the first operating plate 9a and the second operating plate 9b serving as the operating plates 9 are used. Is inserted vertically in the left and right sides of the through holes 1g and 1g formed in both side plates of the lock case 1A, and the handle 2 is preferably assembled to the door surface of the door a as described above.
[0045]
  When it is desired to use a push-pull lock of a horizontal handle, as shown in FIGS. 11 and 12, the handle is turned sideways, that is, the free ends of the first operating plate 9a and the second operating plate 9b, which are the operating plates 9, By rotating 90 ° counterclockwise from the vertical handle state, the through holes 1g and 1g are inserted horizontally into the upper and lower sides, and the handle 2 is assembled to the door surface of the door a as described above.
[0046]
  A case where the handle is a vertical type and a case where the handle is a horizontal type will be described below. In any case, for convenience of explanation, it is assumed that a dead bolt 91 for inserting and tightening a key (not shown) into the key hole of the cylinder 90 is retracted and unlocked.
(A) When the handle is a vertical type (FIGS. 1 to 10)
    When the door a is closed as shown in FIG. 1 from the opened state, the latch head 4 that normally protrudes from the entrance 1f of the lock case 1A by the restoring force of the latch spring 5 is inclined to the curved portion of the strike b1 on the door frame b side. 4a abuts, and the action of the inclined surface 4a causes the latch head 4 to retract once against the restoring force of the latch spring 5, and when it is inserted into the engagement hole b2 of the strike b1, it protrudes again and engages with the engagement hole b2. Enter.
[0047]
  At this time, the upper and lower engagement grooves 4d and 4d of the latch head 4 are engaged with the engagement pieces 12 and 12 of the locking pieces 10 and 10 at both upper and lower portions by the restoring force of the spring 13, and the latch head 4 is reversed. Therefore, even if the door a is pushed in the opening direction, the engagement state with the engagement hole b2 of the strike b1 is maintained, the latch is not reversed and the door is not opened. That is, the door is not locked due to wind pressure or the like.
[0048]
    In the above state, when the outdoor handle 2 is gripped or a finger is applied and pulled in the door opening direction, that is, toward the front, the handle 2 swings around the pin 71 of the pivot portion of the lower seat 3, and the handle 2 The first operation plate 9a which is the operation plate 9 pivotally supported by the connecting plate 8 provided on the upper part of the first rocker swings clockwise around the pin 70 and is inserted into the lock case 1A. The free end of the plate 9a engages with the horizontal plate portion 26 below the first mediation slider 21, and moves up the first mediation slider 21 (see FIG. 4). In conjunction with the upward movement of the first mediating slider 21, the first slider 22 also moves upward by a predetermined distance, and the horizontal plate portion 28 below the first slider 22 moves up the engaging portion 15 at the rear of the lower rocking piece 10. Therefore, the engagement piece 12 at the front of the lower locking piece 10 swings counterclockwise with the pivot 11 as a fulcrum, so that the lower engagement piece 12 is disengaged from the engagement groove 4d at the lower part of the latch head 4. The engagement is released after separation. At the same time, the upper locking piece 10 connected by the pin 14 swings clockwise against the restoring force of the spring 13, and the engagement piece 12 is separated from the engagement groove 4 d at the upper part of the latch head 4. Thus, the reversal prevention action of the latch head 4 is released (see FIG. 4). Therefore, the latch head 4 is reversed and retracted by the operation of pulling the handle 2 to be unlocked, and the door a can be opened.
[0049]
      When the dead bolt 91 is retracted and the latch head 4 moves forward and is locked and closed, when the handle 2 on the indoor side is pushed in the door opening direction, the handle 2 supports the pin 71 of the pivot portion of the lower seat 3. The second operating plate 9b, which is the operating plate 9 pivotally supported by the connecting plate 8 provided on the upper portion of the handle 2, swings clockwise with the pin 70 as a fulcrum, and enters the lock case 1A. The free end of the inserted second actuating plate 9b engages with the horizontal plate portion 26 on the upper part of the second mediating slider 23 to move the second mediating slider 23 downward. In conjunction with the downward movement of the second mediating slider 23, the second slider 24 is also moved downward by a predetermined distance via the horizontal plate portion 25 and the horizontal plate portion 27, and the horizontal plate portion 28 above the second slider 24 is locked upward. In order to move down the engaging portion 15 at the rear part of the piece 10, the engaging piece 12 at the front portion of the upper locking piece 10 swings clockwise with the pivot 11 as a fulcrum, so that the upper engaging piece 12 is The engagement is released away from the engagement groove 4d at the top of the latch head 4 (see FIG. 5). At the same time, the lower locking piece 10 connected by the pin 14 swings counterclockwise against the restoring force of the spring 13, and the engagement piece 12 is disengaged from the engagement groove 4 d below the latch head 4. The latch head 4 is released from the reverse blocking action (see FIG. 5). Therefore, when the handle 2 is pushed, the latch head 4 is reversed and retracted to be unlocked, and the door a can be opened.
[0050]
  (B) When the handle is a horizontal type (FIGS. 11 to 15)
      Also in the case of this horizontal handle, when the door a is closed as shown in FIG. 11 from the open state, the door is not locked due to wind pressure or the like for the reason described in (A) above.
[0051]
      When the dead bolt 91 is retracted and the latch head 4 is in the locked / closed state where the handle 2 on the outdoor side is pulled in the door opening direction, the handle 2 is attached to the pivot of the seat 3 on the door hinge part side. The first actuating plate 9a which is the actuating plate 9 pivoting on the connecting plate 8 provided on the free end side of the handle 2 is swung in the horizontal direction with the pin 71 as a fulcrum, and is swung in the clockwise direction with the pin 70 as a fulcrum. The free end of the first actuating plate 9a inserted into the lock case 1A pushes the contact piece 51b of the contact member 51 leftward (referred to as leftward movement), and the corresponding contact member 51 is shown in FIG. Swings clockwise. Since the upper locking piece 10 swings in the clockwise direction in conjunction with the swing of the abutting member 51, the front engaging piece 12 of the upper locking piece 10 swings in the clockwise direction with the pivot 11 as a fulcrum. As a result, the engagement piece 12 of the upper locking piece 10 is separated from the engagement groove 4d on the upper portion of the latch head 4 and is disengaged. At the same time, the lower locking piece 10 connected by the pin 14 swings counterclockwise against the restoring force of the spring 13, and the engagement piece 12 is disengaged from the engagement groove 4 d below the latch head 4. The latch head 4 is released from the reverse blocking action (see FIG. 13). Therefore, the latch head 4 is reversed and retracted by the operation of pulling the handle 2 to be unlocked, and the door a can be opened.
[0052]
      When the dead bolt 91 is retracted and the latch head 4 is in the locked / closed state, when the indoor handle 2 is pushed in the door opening direction, the handle 2 is attached to the pivot of the seat 3 on the door hinge part side. The second actuating plate 9b, which is the actuating plate 9 pivoting on the connecting plate 8 provided on the free end side of the handle 2 and swinging in the horizontal direction with the pin 71 as a fulcrum, is counterclockwise with the pin 70 as a fulcrum The free end of the second operating plate 9b inserted into the lock case 1A swings (to the right) the engaged portion 57 at the top of the swing member 52 in the right direction. In conjunction with the swing of the swing member 52, the lower locking piece 10 also swings counterclockwise with the pivot 11 as a fulcrum, so the engaging piece 12 at the front of the lower locking piece 10 has the pivot 11 as a fulcrum. As a result of swinging in the counterclockwise direction, the lower engaging piece 12 is separated from the lower engaging groove 4d of the latch head 4 to be disengaged. At the same time, the upper locking piece 10 connected by the pin 14 is swung clockwise against the restoring force of the spring 13, and the upper engagement piece 12 is engaged with the engagement groove 4 d at the upper part of the latch head 4. The inversion prevention action of the latch head 4 is released at a distance from (see FIG. 14). Therefore, when the handle 2 is pushed, the latch head 4 is reversed and retracted to be unlocked, and the door a can be opened.
[0053]
  3 to 5 and 12 to 14, reference numeral 6 a denotes a spring for allowing the engagement pieces 12 and 12 of the locking piece 10 and 10 to appear and retract in the engagement grooves 4 d and 4 d of the latch head 4. A guide hole formed in the receiver 6.
  In FIGS. 3 and 12, reference numerals 92 and 93 denote receiving holes formed in the strike b1 (receiving member) attached to the door frame b or the like. In FIG. 2, 94 is a thumb turn, and 95 is a return spring for returning the handle 2 to the normal position.
[0054]
  The push-pull lock of this embodiment has the components for the final lock such as the dead bolt 91, the cylinder 90, and the thumb turn 94, but the genuine latch in which the components for the final lock are omitted. It can be applied only to locks.
[0055]
  As shown in FIGS. 1 to 15, the present invention is not limited to the case where the pair of handles 2 and 2 are provided on the front and back surfaces of the door surface of the door, and the handle 2 is provided only on one side of the door surface of the door. It can also be applied to one with one attached. In the case of the latter case, in FIG. 1 to FIG. 15, there is one handle 2, and accordingly, one locking piece 10 and one engagement groove 4 d, respectively, and an operation plate One of the first actuating plate 9a and the second actuating plate 9b may be one, and the vertical handle disengagement means 20 and the lateral handle disengagement means 50 may be appropriately selected and combined.
[0056]
  The latch head 4 is a reversible type in the above-described embodiment, but in the present invention, a structure that does not reverse, and a structure that slides and retreats the latch by operation of the actuating plate can be used.
[0057]
  As a method of attaching the handle 2 to the door surface of the door a, in the embodiment, one end side of the handle 2 is pivotally supported on the door surface of the door a via the seat 3, and the other end side is the pivot portion. Is pivotally provided on the door surface of the door a via the seat 3 so as to be pivotable about the fulcrum, but the present invention is not limited to such an attachment method.
[0058]
  For example, as shown in FIG. 16, the handle 2 may be displaced in parallel with the door surface (seat) of the door a, regardless of which position of the handle 2 is pushed or pulled. That is, the first arm 80 or the second arm 81 is movably provided between the seats 3 and 3 fixed to the door surface of the door a and one end side or the other end side of the handle 2. A line connecting the pivots 82, 83, 84, 85 that are pivotally attached to the seat 3 and the handle 2 forms a parallelogram link mechanism 86. As such a parallel link mechanism system, those described in Japanese Utility Model Laid-Open No. 3-128177 and Japanese Patent Laid-Open No. 8-260772 can be applied.
[0059]
  In addition, in the said embodiment, as shown in FIG.2 and FIG.15, although the one end side of the handle 2 is pivotally supported by the door surface of the door a via the seat 3, the pivot of one end side of this handle 2 is supported. It is possible to implement a structure in which the support structure is omitted and the other end side of the handle 2 is rotatably provided on the door surface.
[0060]
【The invention's effect】
  According to the push-pull lock according to claim 1 of the present invention, the same handle is vertically or horizontally oriented with one type of lock body and one type of handle and seat depending on the type of door to be attached. Either can be chosen and attached freely. In addition, since one type of lock body and seat and handle can be used as a vertical handle or a horizontal handle, different components such as a lock body are used depending on whether it is vertical or horizontal as in the conventional example. There is no need, the number of components can be reduced, the price is low, and it is convenientNot only oneSince the same type of lock body and seat and one type of handle are selected and mounted in the vertical or horizontal direction, they can be easily mounted with a simple configuration.
[0061]
  Claim of the present inventionItem 2According to the described push-pull lock,In addition to the effect of claim 1A pair of grips can be reliably and easily attached to both sides of the door surface of the door.
[Brief description of the drawings]
FIG. 1 is a schematic front view showing a state in which a handle of a push-pull lock of the present invention is vertically attached to a door.
FIG. 2 is a partially longitudinal side view of the vicinity of the handle as viewed from the open end side of the door.
FIG. 3 is a front view of a push-pull lock shown partially broken.
FIG. 4 is a front view showing a state in which the operating plate is moved upward to release the engagement with the latch head by the locking piece.
FIG. 5 is a front view showing a state in which the operating plate is moved down to disengage the latch head from the locking piece.
FIG. 6 is a perspective view of a first slider and a second slider which are disengaging means for a vertical handle.
FIG. 7 is a perspective view of a first mediation slider and a second mediation slider that are engaging release means for a vertical handle.
FIG. 8 is a perspective view of a swing member that is a disengaging means for a lateral handle.
FIG. 9 is a perspective view of a latch head.
FIG. 10 is a schematic plan view showing a state in which the latch head of the push-pull lock of the present invention is reversed.
FIG. 11 is a schematic front view of the push-pull lock handle of the present invention attached to the door sideways.
FIG. 12 is a front view of a push-pull lock shown partially broken.
FIG. 13 is a front view showing a state in which the operating plate is moved to the left to disengage the latch head from the locking piece.
FIG. 14 is a front view showing a state where the operating plate is moved to the right and the engagement with the latch head by the locking piece is released.
15 is an enlarged plan view showing a part near the handle of FIG. 11. FIG.
FIG. 16 is a partially longitudinal side view of the vicinity of the handle as seen from the open end side of the door, showing another modification in which the handle is attached to the door surface of the door.
FIG. 17 shows a first conventional example having a vertical handle;
  (A) is the front view.
  (B) is the left view seen from the open end side of the door.
FIG. 18 shows a second conventional example having a horizontal handle,
  (A) is the front view.
  (B) is a plan view thereof.
[Explanation of symbols]
  1 lock body
  1A lock case
  2 Handle
  3 seats
  4 Latch head
  4a Inclined surface
  4b engagement surface
  4d engagement groove
  5 Latch spring
  7 Connecting plate
  8 connecting plate
  9 Actuation plate
  9a First operating plate
  9b Second operating plate
  10 Locking piece
  11 Axis
  12 Engagement piece
  13 Spring
  14 pin
  15 Engagement part
  16 connecting pieces
  20 Longitudinal handle disengaging means
  21 First mediation slider
  22 First slider
  23 Second mediation slider
  24 Second slider
  25 Horizontal plate
  25a engagement piece
  26 Horizontal plate
  26a engagement piece
  27 Horizontal plate
  27a engagement piece
  28 Horizontal plate
  28a engagement piece
  50 Disengaging means for lateral handle
  51 Contact member
  52 Swing member
  53 Fork
  57 engaged parts
  70 pins
  80 First arm
  81 Second arm
  86 Link mechanism
  a Door
  b Door frame

Claims (2)

扉の開放端側に設けた錠本体と、錠本体を構成する錠ケース内に配置されてラッチバネにより常時は錠ケースの出入口から出没可能に突出するように付勢され、かつ係合溝を有するラッチヘッドと、錠ケースに枢支されて前記ラッチヘッドの係合溝に係合片を常時はバネにより係合することにより該ラッチヘッドの没入を阻止するロッキングピースと、扉の扉面に座を介して可動に設けられかつ作動板が接続され開扉方向へ押し操作または引き操作する把手とを備え、この把手を開扉方向へ押し操作または引き操作することにより、前記作動板を作動して前記ラッチヘッドを後退又は後退を許容させて開扉できるようにしてあるとともに、前記把手は扉の扉面に対して縦向き又は横向きのいずれかに選択して取り付けできるようにしてなるプッシュ・プル錠であって、
前記錠ケース内には前記ロッキングピースに対応して縦向き把手用係合解除手段と横向き把手用係合解除手段とを設け、扉の扉面に縦向きに又は横向きに取り付けた把手を押し又は引き操作することにより該把手に接続した作動板を作動するように設けると共に、該作動板を前記縦向き把手用係合解除手段または横向き把手用係合解除手段に係合させることにより、前記ロッキングピースを係合解除方向に回動させて該ロッキングピースの係合片を前記ラッチヘッドの係合溝から離脱させるようにしたことを特徴とするプッシュ・プル錠。
A lock main body provided on the open end side of the door, and a lock spring disposed in the lock case constituting the lock main body, and is always urged by a latch spring so as to protrude from the entrance / exit of the lock case, and has an engaging groove. A latch head, a locking piece pivotally supported by a lock case and preventing engagement of the latch head by engaging an engagement piece with the engagement groove of the latch head by a spring at all times; and a seat on the door surface of the door And a handle that is movably provided through the door and is connected to the operation plate and is operated to push or pull in the opening direction, and the operation plate is operated by pushing or pulling the handle in the opening direction. with a backward or retracted is permitted is allowed to be open door the latch head Te, becomes the handle is allowed to be attached by selecting either portrait or landscape with respect to the door plane of the door-flop A Xu pull tablets,
In the lock case, there are provided a vertical handle disengagement means and a horizontal handle disengagement means corresponding to the locking piece, and the handle attached to the door surface of the door vertically or horizontally is pushed or The operating plate connected to the handle is operated by pulling, and the operating plate is engaged with the longitudinal handle disengaging means or the lateral handle disengaging means, thereby locking the locking plate. A push-pull lock, wherein the piece is rotated in the disengagement direction to disengage the engaging piece of the locking piece from the engaging groove of the latch head.
ラッチヘッドの上下にそれぞれ係合溝を形成し;
ロッキングピースは前記ラッチヘッドを挟んだ状態で上下両方に一対設けるとともに、該ロッキングピースの略中央部を枢支するとともに互いの連結片を対向して回動可能に連結し;
把手に接続した作動板は第1作動板と第2作動板とで構成し;
縦向き把手用係合解除手段としては、把手に接続した第1作動板を上動することにより上動される第1仲介スライダーと、この第1仲介スライダーの上動により上動されて下部のロッキングピースの係合部を上動して、前記一対のロッキングピースの係合片がラッチヘッドの係合溝より離脱されるようにした第1スライダーと、第2作動板を下動することにより下動される第2仲介スライダーと、この第2仲介スライダーの下動により下動されて上部のロッキングピースの係合部を下動して、前記一対のロッキングピースの係合片がラッチヘッドの係合溝より離脱されるようにした第2スライダーとからなり;
横向き把手用係合解除手段としては、把手を横向きにして前記第1作動板と第2作動板を横向けに配置し、該第1作動板をラッチヘッドの突出方向に移動することにより一対のロッキングピースの係合片がラッチヘッドの係合溝より離脱されるようにした当接部材と,該第2作動板をラッチヘッドの没入方向に移動することにより一対のロッキングピースの係合片がラッチヘッドの係合溝より離脱するようにした揺動部材とからなる請求項1のプッシュ・プル錠。
Forming engaging grooves respectively on the top and bottom of the latch head;
A pair of locking pieces is provided on both the upper and lower sides with the latch head sandwiched therebetween, pivotally supports a substantially central portion of the locking piece, and connects the connecting pieces to each other so as to be rotatable;
The actuating plate connected to the handle comprises a first actuating plate and a second actuating plate;
As the engagement release means for the vertical handle, the first intermediate slider that is moved upward by moving the first operating plate connected to the handle upward, and the upper intermediate slider that is moved upward by the upward movement of the first intermediate slider. By moving up the engaging portion of the locking piece and moving down the first slider and the second operating plate so that the engaging piece of the pair of locking pieces is separated from the engaging groove of the latch head The second intermediate slider to be moved downward, and the second intermediate slider is moved downward to move down the engaging portion of the upper locking piece. A second slider adapted to be disengaged from the engaging groove;
As the lateral handle disengagement means, the first actuating plate and the second actuating plate are disposed sideways with the handle facing sideways, and the first actuating plate is moved in the protruding direction of the latch head. An abutting member in which the engaging piece of the locking piece is detached from the engaging groove of the latch head, and the engaging piece of the pair of locking pieces is moved by moving the second operating plate in the retracting direction of the latch head. The push-pull lock according to claim 1 , further comprising a swinging member that is disengaged from the engaging groove of the latch head.
JP13612997A 1997-05-09 1997-05-09 Push-pull tablet Expired - Fee Related JP3993913B2 (en)

Priority Applications (1)

Application Number Priority Date Filing Date Title
JP13612997A JP3993913B2 (en) 1997-05-09 1997-05-09 Push-pull tablet

Applications Claiming Priority (1)

Application Number Priority Date Filing Date Title
JP13612997A JP3993913B2 (en) 1997-05-09 1997-05-09 Push-pull tablet

Publications (2)

Publication Number Publication Date
JPH10311173A JPH10311173A (en) 1998-11-24
JP3993913B2 true JP3993913B2 (en) 2007-10-17

Family

ID=15167996

Family Applications (1)

Application Number Title Priority Date Filing Date
JP13612997A Expired - Fee Related JP3993913B2 (en) 1997-05-09 1997-05-09 Push-pull tablet

Country Status (1)

Country Link
JP (1) JP3993913B2 (en)

Families Citing this family (5)

* Cited by examiner, † Cited by third party
Publication number Priority date Publication date Assignee Title
KR100873402B1 (en) 2007-05-10 2008-12-11 주식회사 수퍼락 2-way push-pull door lock body
KR100873401B1 (en) 2007-05-10 2008-12-11 주식회사 수퍼락 Mortis for Push Pull Door Lock
KR200458133Y1 (en) 2009-06-30 2012-01-20 임국건 Front windshield handle for heavy equipment and switchgear using the same
CN202023432U (en) * 2010-10-14 2011-11-02 山东科技大学 Push-pull lock with handle
JP7191372B2 (en) * 2018-11-16 2022-12-19 株式会社WEST inx door structure

Also Published As

Publication number Publication date
JPH10311173A (en) 1998-11-24

Similar Documents

Publication Publication Date Title
JPH03107082A (en) Latch structure of sliding type pateio door
JP3993913B2 (en) Push-pull tablet
JP4253050B2 (en) Handle lock
JP4566225B2 (en) Door lock
JP3340207B2 (en) Latch lock
JP4165790B2 (en) Latch lock for door
JP3647555B2 (en) Door lock handle device
JP2004137841A (en) Handle lock
JPS6140860Y2 (en)
JP4514076B2 (en) Sickle tablets
JPS6012849Y2 (en) Door latch device for furniture, etc.
JP2000291308A (en) Handle lock
JP4150775B2 (en) Locking and holding device for sliding door
JPH07100986B2 (en) Latch guide device for lock, latch retracting device, and latch release device
JP2002250189A (en) Locking device for shutter
JP5134840B2 (en) Doors and door locks
JP2004278246A (en) Locking structure of sliding door
JP2594321Y2 (en) Door lock handle device
JP3245636B2 (en) Door locking device
JPH0539170Y2 (en)
JP2532978B2 (en) Vehicle door lock device
JPH061021B2 (en) Opening and closing device for vehicle doors
JP2000234463A (en) Cab of construction machinery
JP3981470B2 (en) Emergency bathroom doors
JP3624934B2 (en) Vehicle door lock mechanism

Legal Events

Date Code Title Description
A621 Written request for application examination

Free format text: JAPANESE INTERMEDIATE CODE: A621

Effective date: 20040506

A131 Notification of reasons for refusal

Free format text: JAPANESE INTERMEDIATE CODE: A131

Effective date: 20070410

A521 Written amendment

Free format text: JAPANESE INTERMEDIATE CODE: A523

Effective date: 20070611

TRDD Decision of grant or rejection written
A01 Written decision to grant a patent or to grant a registration (utility model)

Free format text: JAPANESE INTERMEDIATE CODE: A01

Effective date: 20070703

A61 First payment of annual fees (during grant procedure)

Free format text: JAPANESE INTERMEDIATE CODE: A61

Effective date: 20070730

R150 Certificate of patent or registration of utility model

Free format text: JAPANESE INTERMEDIATE CODE: R150

FPAY Renewal fee payment (event date is renewal date of database)

Free format text: PAYMENT UNTIL: 20100803

Year of fee payment: 3

FPAY Renewal fee payment (event date is renewal date of database)

Free format text: PAYMENT UNTIL: 20110803

Year of fee payment: 4

LAPS Cancellation because of no payment of annual fees