JP3946292B2 - 炭素素材の製造装置 - Google Patents
炭素素材の製造装置 Download PDFInfo
- Publication number
- JP3946292B2 JP3946292B2 JP28359496A JP28359496A JP3946292B2 JP 3946292 B2 JP3946292 B2 JP 3946292B2 JP 28359496 A JP28359496 A JP 28359496A JP 28359496 A JP28359496 A JP 28359496A JP 3946292 B2 JP3946292 B2 JP 3946292B2
- Authority
- JP
- Japan
- Prior art keywords
- unit
- chamber
- thermal decomposition
- gas
- cooling
- Prior art date
- Legal status (The legal status is an assumption and is not a legal conclusion. Google has not performed a legal analysis and makes no representation as to the accuracy of the status listed.)
- Expired - Fee Related
Links
- 239000003575 carbonaceous material Substances 0.000 title claims description 30
- 238000004519 manufacturing process Methods 0.000 title description 4
- 239000007789 gas Substances 0.000 claims description 65
- 238000005979 thermal decomposition reaction Methods 0.000 claims description 50
- 238000001816 cooling Methods 0.000 claims description 45
- IJGRMHOSHXDMSA-UHFFFAOYSA-N Atomic nitrogen Chemical compound N#N IJGRMHOSHXDMSA-UHFFFAOYSA-N 0.000 claims description 43
- 238000002360 preparation method Methods 0.000 claims description 29
- 238000002485 combustion reaction Methods 0.000 claims description 24
- 229910001873 dinitrogen Inorganic materials 0.000 claims description 24
- 238000000354 decomposition reaction Methods 0.000 claims description 21
- 238000010438 heat treatment Methods 0.000 claims description 21
- 239000005416 organic matter Substances 0.000 claims description 15
- 238000011282 treatment Methods 0.000 claims description 12
- 229910052757 nitrogen Inorganic materials 0.000 claims description 11
- 238000002347 injection Methods 0.000 claims description 7
- 239000007924 injection Substances 0.000 claims description 7
- 238000000197 pyrolysis Methods 0.000 claims description 6
- 230000000903 blocking effect Effects 0.000 claims description 4
- 238000007599 discharging Methods 0.000 claims description 3
- 230000003796 beauty Effects 0.000 claims description 2
- 238000000034 method Methods 0.000 description 9
- 239000002699 waste material Substances 0.000 description 8
- 238000012545 processing Methods 0.000 description 7
- 239000002994 raw material Substances 0.000 description 7
- 239000000126 substance Substances 0.000 description 7
- OKTJSMMVPCPJKN-UHFFFAOYSA-N Carbon Chemical compound [C] OKTJSMMVPCPJKN-UHFFFAOYSA-N 0.000 description 6
- 229910052799 carbon Inorganic materials 0.000 description 6
- 239000002440 industrial waste Substances 0.000 description 6
- QVGXLLKOCUKJST-UHFFFAOYSA-N atomic oxygen Chemical compound [O] QVGXLLKOCUKJST-UHFFFAOYSA-N 0.000 description 5
- 239000002184 metal Substances 0.000 description 5
- 229910052751 metal Inorganic materials 0.000 description 5
- 239000001301 oxygen Substances 0.000 description 5
- 229910052760 oxygen Inorganic materials 0.000 description 5
- 230000008569 process Effects 0.000 description 5
- 241000196324 Embryophyta Species 0.000 description 4
- 238000009413 insulation Methods 0.000 description 4
- 239000000463 material Substances 0.000 description 4
- 239000011368 organic material Substances 0.000 description 4
- 238000003763 carbonization Methods 0.000 description 3
- 239000007788 liquid Substances 0.000 description 3
- 238000012423 maintenance Methods 0.000 description 3
- 230000007246 mechanism Effects 0.000 description 3
- 230000008439 repair process Effects 0.000 description 3
- 238000000926 separation method Methods 0.000 description 3
- 238000003860 storage Methods 0.000 description 3
- 229920003002 synthetic resin Polymers 0.000 description 3
- 239000000057 synthetic resin Substances 0.000 description 3
- 235000021419 vinegar Nutrition 0.000 description 3
- 239000000052 vinegar Substances 0.000 description 3
- ATUOYWHBWRKTHZ-UHFFFAOYSA-N Propane Chemical compound CCC ATUOYWHBWRKTHZ-UHFFFAOYSA-N 0.000 description 2
- 239000000498 cooling water Substances 0.000 description 2
- 230000003247 decreasing effect Effects 0.000 description 2
- 239000002737 fuel gas Substances 0.000 description 2
- 238000002309 gasification Methods 0.000 description 2
- 238000009434 installation Methods 0.000 description 2
- 239000000203 mixture Substances 0.000 description 2
- QJGQUHMNIGDVPM-UHFFFAOYSA-N nitrogen group Chemical group [N] QJGQUHMNIGDVPM-UHFFFAOYSA-N 0.000 description 2
- 235000019645 odor Nutrition 0.000 description 2
- 239000000779 smoke Substances 0.000 description 2
- 238000009423 ventilation Methods 0.000 description 2
- 235000017166 Bambusa arundinacea Nutrition 0.000 description 1
- 235000017491 Bambusa tulda Nutrition 0.000 description 1
- 244000025254 Cannabis sativa Species 0.000 description 1
- 229920000742 Cotton Polymers 0.000 description 1
- 244000082204 Phyllostachys viridis Species 0.000 description 1
- 235000015334 Phyllostachys viridis Nutrition 0.000 description 1
- 239000011425 bamboo Substances 0.000 description 1
- 235000013405 beer Nutrition 0.000 description 1
- 238000010000 carbonizing Methods 0.000 description 1
- 230000008859 change Effects 0.000 description 1
- 239000003638 chemical reducing agent Substances 0.000 description 1
- 235000016213 coffee Nutrition 0.000 description 1
- 235000013353 coffee beverage Nutrition 0.000 description 1
- 238000005336 cracking Methods 0.000 description 1
- 238000004090 dissolution Methods 0.000 description 1
- 230000000694 effects Effects 0.000 description 1
- 238000000605 extraction Methods 0.000 description 1
- 235000011389 fruit/vegetable juice Nutrition 0.000 description 1
- 239000000295 fuel oil Substances 0.000 description 1
- 239000006148 magnetic separator Substances 0.000 description 1
- 238000002844 melting Methods 0.000 description 1
- 230000008018 melting Effects 0.000 description 1
- 150000002739 metals Chemical class 0.000 description 1
- 239000010813 municipal solid waste Substances 0.000 description 1
- 150000002829 nitrogen Chemical class 0.000 description 1
- 230000009965 odorless effect Effects 0.000 description 1
- 239000010893 paper waste Substances 0.000 description 1
- 238000012805 post-processing Methods 0.000 description 1
- 230000002035 prolonged effect Effects 0.000 description 1
- 239000001294 propane Substances 0.000 description 1
- 238000010298 pulverizing process Methods 0.000 description 1
- 235000020083 shōchū Nutrition 0.000 description 1
- 238000003756 stirring Methods 0.000 description 1
- 238000006467 substitution reaction Methods 0.000 description 1
- 238000001149 thermolysis Methods 0.000 description 1
- 239000002341 toxic gas Substances 0.000 description 1
- XLYOFNOQVPJJNP-UHFFFAOYSA-N water Substances O XLYOFNOQVPJJNP-UHFFFAOYSA-N 0.000 description 1
- 239000002023 wood Substances 0.000 description 1
Images
Landscapes
- Carbon And Carbon Compounds (AREA)
- Processing Of Solid Wastes (AREA)
- Coke Industry (AREA)
Description
【発明の属する技術分野】
本発明は例えば産業廃棄物や自然界に植生する草木などにより各種の産業用原料となる炭素素材の製造装置に関するものである。
【0002】
【従来の技術】
現在、産業廃棄物を含む不用有機物の再利用について種々検討されているが、その大部分は相変わらず、焼却処理又は埋立処理によって処分されている。
【0003】
【発明が解決しようとする課題】
しかしながら、これら焼却処理又は埋立処理において、近年は紙おむつやパチンコ台などのような合成樹脂と他の有機物又は無機物とが混合しているものが大量に排出されるようになり、これに伴いそれらの分別作業も必要になり、分別作業後において、焼却処理又は埋立処理をしなければならず、それだけ処理作業が困難となっており、しかも焼却処理場の増設や埋立処理地の確保が困難となってきており、社会的に大きな問題となっている。
【0005】
【課題を解決するための手段】
請求項1記載の装置の発明は、有機物が収納されたコンテナを搬送可能な搬送部と、上記コンテナの搬送経路の手前側位置に配置された作動準備部と、上記コンテナの搬送経路中の作動準備部の後続位置に配置された加熱分解部と、上記コンテナの搬送経路中の加熱分解部の後続位置に配置された冷却待機部と、少なくとも上記加熱分解部に接続された分解ガス液化部と、少なくとも上記分解ガス液化部に接続された排ガス処理部とを備えてなり、上記加熱分解部は上記コンテナで搬送されてくる有機物を無酸素閉鎖密閉雰囲気下において360℃〜450℃の低温間接加熱により熱分解して炭素素材を製造可能な構造に構成され、上記作動準備部には窒素ガスを注入して該作動準備部の空気を強制的に排出する窒素置換が行われ、上記加熱分解部には窒素ガスを注入する窒素ガス注入管と、該熱分解部のガスを前記分解ガス液化部に排出する排気管を備え、該窒素ガス注入管から窒素ガスを該加熱分解部に注入し、該加熱分解部の空気を該排気管を介して強制的に排出する窒素置換によって上記無酸素閉鎖密閉雰囲気を形成し、上記加熱分解部は相互に分離可能な独立した複数の加熱分解室により構成され、上記冷却待機部は上記コンテナで搬送されてくる炭素素材を注入される窒素ガスによって冷却する冷却室と搬出待機室とにより構成され、上記作動準備部、上記加熱分解部の各加熱分解室及び上記冷却待機部の上記冷却室と上記搬出待機室は、各々開閉可能な遮断扉により閉鎖密閉構造に構成され、上記搬送部は上記作動準備部、上記加熱分解部の各加熱分解室及び上記冷却待機部ごとに分離可能な独立構造とし、上記排ガス処理部に第一、第二排ガス燃焼室を備え、上記分解ガス液化部からのガスを該第一排ガス燃焼室に導入し、上記冷却室及び上記搬出待機室からのガスを該第二排ガス燃焼室に導入し、該第一排ガス燃焼室と該第二排ガス燃焼室にてガスを燃焼させて共通の排ガス排出管より外に排出する構成としたことを特徴とするものである。
【0007】
【発明の実施の形態】
図1乃至図4は本発明の装置の実施の形態例を示し、大別すると、有機物が収納されたコンテナWを搬送可能な搬送部Aと、このコンテナWの搬送経路Rの手前側位置に配置された作動準備部Bと、コンテナWの搬送経路R中の作動準備部Bの後続位置に配置された加熱分解部Cと、コンテナWの搬送経路中の加熱分解部Cの後続位置に配置された冷却待機部Dと、加熱分解部Cに接続された分解ガス液化部Eと、分解ガス液化部Eに接続された排ガス処理部Fとから構成されている。
【0008】
ここに、上記搬送部Aは、有機物が収納されたコンテナWを作動準備部Bから加熱分解部Cを経て冷却待機部Dに至るまでの搬送経路Rにおいて搬送させる構造となっており、減速機付モータA1により駆動されるローラーコンベヤA2やチェーンコンベヤ等により構成され、特に、搬送部Aは、作動準備部B、加熱分解部C及び冷却待機部D毎に分離可能な内部搬送独立構造となっている。
【0009】
又、作動準備部Bは、コンテナWの搬送経路Rの手前側位置に配置されたコンテナ受入部B1及び空気と窒素ガスの入れ替え、即ち、窒素置換が行われる耐熱、断熱、閉鎖密閉構造のプリペレーション室B2と、予備加熱に使用する遠赤外線ヒータや電磁波を利用した加熱体B3とにより構成され、この窒素置換は窒素貯蔵ボンベTより複数個の窒素ガス注入管T1を介して窒素ガスをプリペレーション室B2に注入し、空気は排気管M1を介して強制的に室外へ排出することによりなされ、このプリペレーション室B2の入口部分及び加熱分解部Cに接続される出口部分に遮断扉Nが上下開閉機構N1のコンプレッサN2及びシリンダN3により開閉自在に配設され、しかして、プリペレーション室B1の遮断扉以外の上面、両側面及び底面に加熱体B3を配置し、かつ、この場合、コンテナ受入部B1とプリペレーション室B2とは、分離可能な独立構造となっている。
【0010】
又、加熱分解部Cは、コンテナWに収納されて搬送されてくる有機物を無酸素閉鎖密閉雰囲気下において低温間接加熱により熱分解可能な構造に構成され、複数個、この場合二個の加熱分解室C1・C1により構成され、このそれぞれの加熱分解室C1・C1にあっても、耐熱、断熱、閉鎖密閉構造に構成されると共に窒素貯蔵ボンベTより複数個の窒素ガス注入管T1を介して窒素ガスが注入され、室内の空気は排気管M1を介して強制的に室外へ排出され、又、加熱分解室C1・C1の間及び冷却待機部Dに接続される出口部分に遮断扉Nが上下開閉機構N1により開閉自在に配設され、加熱分解室C1・C1の遮断扉N以外の上面、両側面及び底面に加熱分解に使用する遠赤外線ヒータや電磁波を利用した加熱体C2を配置し、この場合加熱分解室C1・C1は相互に分離可能な独立構造となっている。
【0011】
又、冷却待機部Dは、コンテナW内の有機物が加熱分解部Cにより無酸素閉鎖密閉条件下において低温間接加熱により熱分解されて製造された炭素素材を冷却する冷却室D1と、搬出待機室D2とにより構成され、このそれぞれの冷却室D1及び搬出待機室D2にあっても、耐熱、断熱、閉鎖密閉構造に構成されると共に冷却室D1には窒素貯蔵ボンベTより複数個の窒素ガス注入管T1を介して炭素素材を冷却する窒素ガスが注入され、室内の空気は排気管M1を介して強制的に室外へ排出され、この場合、搬出待機室Dにも必要に応じて窒素ガスにより炭素素材を追加冷却可能に窒素ガス注入管T1が設けられ、室内の空気は排気管M1を介して強制的に室外へ排出され、又、冷却室D1と搬出待機室D2との間及び外につらなる出口部分に遮断扉Nが上下開閉機構N1により開閉自在に配設され、この場合、加熱分解室C1・C1と異なり、加熱体C2は配置されておらず、かつ、この場合冷却室D1と搬出待機室D2は相互に分離可能な独立構造となっている。
【0012】
又、分解ガス液化部Eは、冷却水タンクE1及び冷却塔E2からなり、この冷却塔E2内には分解ガスが通過する螺旋通気管が内蔵されると共にその周囲に冷却水が満たされ、冷却塔E2にドレン口が設けられている。
【0013】
又、排ガス処理部Fは、燃料ガスタンクF1及び二個の第一、第二排ガス燃焼室F2を備えてなり、燃料ガスタンクF1内のプロパンガス等により排ガス燃焼室F2内において排ガスを燃焼させて排ガス排出管F3より無臭、無害な排ガスを外に排出するように構成されている。
【0014】
この場合の管路系統にあっては、上記作動準備部Bのうちのプリペレーション室B2の排気管M1及び加熱分解部Cの二個の加熱分解室C1・C1の排気管M1は分解ガス液化部Eの冷却塔E2に管路L1により接続され、又、冷却待機部Dの冷却室D1及び搬出待機室D2は排ガス処理部Fの一方の第二排ガス燃焼室F2に管路L2により接続され、又、分解ガス液化部Eの冷却塔E2内の螺旋通気管の出口と排ガス処理部Fの他方の第一排ガス燃焼室F2に管路L3により接続されている。
【0015】
又、この場合、冷却待機部Dの搬出待機室D2の後続位置にコンテナ荷出部Gが配置されている。
【0016】
この実施の形態例は上記構成であるから、前処理作業として、有機物の種類や大きさにより圧潰や破砕を行うこともあり、この有機物が収納されたコンテナWは搬送部Aにより作動準備部Bから加熱分解部Cを経て冷却待機部Dに至る搬送経路Rに沿って搬送され、先ず、作動準備部Bにあって、このコンテナW内の有機物は耐熱、断熱、閉鎖密閉構造にして窒素置換により無酸素閉鎖密閉雰囲気としたプリペレーション室B2内において、加熱体B3により例えば360℃〜450℃程度の低温度条件で予備間接加熱され、次に、加熱分解部Cにあって、コンテナWの有機物は耐熱、断熱、閉鎖密閉構造にして窒素置換により無酸素閉鎖密閉雰囲気とした加熱分解室C1・C1内において、加熱体C2により、同じく、例えば360℃〜450℃程度の低温度条件で間接加熱され、これによりコンテナW内の有機物は熱分解されて炭素素材が製造され、次いで、冷却待機部Dにあって、コンテナWの炭素素材は耐熱、断熱、閉鎖密閉構造の冷却室D1内において、窒素ガスにより冷却され、搬出待機室D2において、取出待機することになり、そしてコンテナ荷出部Gより随時搬出される。必要に応じて、後処理作業として、磁選機により有機物と金属との分別作業を行うこともある。
【0017】
又、加熱分解部Cの加熱分解室C1・C1及びプリペレーション室B2内に発生したガスは分解ガス液化部Eにより液化され、排ガス処理部Fを介して外に排気され、又、冷却待機部Dの冷却室D1及び搬出待機部D2内のガスも排ガス処理部Fを介して外に排気されることになる。
【0018】
このようにして不用有機物を含む有機物を燃焼を伴わずに無酸素閉鎖密閉雰囲気下において低温間接加熱により熱分解させて炭素素材を製造することができ、生成炭素率が高く、炭素素材中の固定炭素量が75%以上のものも可能となって良質な炭素素材を製造することができ、しかも製造中の熱効率が非常に良く、悪臭や黒煙の大気中への排出も少なくすることができ、更に少数の人員で装置を稼働することができ、装置の耐用年数が長くなってメンテナンスも容易であり、又、連続的に炭素素材を製造することが可能であり作業能力も大きく、しかも有機物の粉砕や燃えるものと燃えないものとの分別作業などの前工程は必要なく、混在したまま用いることができる。
【0019】
ここに、無酸素閉鎖密閉雰囲気下での炭素化は製造された炭素素材を様々な用途に利用するためであり、不用有機物に混合しているであろう金属や無機物を取り除くことを容易にするためであり、またその金属等を再利用することも可能とする目的もある。金属は無酸素の状態であるので酸化はされず、間接加熱時の温度が360℃―450℃で低温のために金属の組成変化も起きず、更に無酸素状態での炭素化の折、生ガスが発生するが、この発生ガスも酸化されていないため、使用する原料の種類が、植物の場合は木酢、竹酢、草酢など良質なものを分解ガス液化部Eのドレン口より採取することができ、又、プラスチックやタイヤを原料とした場合に生成される炭素素材の他に熱分解させる時に発生する生ガスは分解温度設定の変更により、ナフサと同等の液体やA重油相当の液体を採取回収することができ、採取回収される液体の用途別に分解温度を変化させればよいのである。
【0020】
又、製造された炭素素材は炭素を含めて殆どが産業上の原料となるものであり、この炭素素材を産業上の原料として利用することにより、焼却場や埋立処分場の増設は必要最小限で良く、更には処分場に埋立てされている有機物を炭素化することにより、埋立処分場の延命もはかることができ、資源の浪費を防ぐこともできる。この焼却や埋立て処分されてきたものには、生ゴミや紙ゴミ、剪定枝、河川敷の雑草、道路脇の雑草、建築廃材、焼酎粕、ビール、ジュース、コーヒー粕、などがあり、またプラスチックは焼却の際に高発熱量のため焼却炉を痛めやすいことや有毒ガスが発生しやすいことなどからもっぱら埋立て処分されてきているが、これにより炭素素材を製造することにより、一つの資源を再度、再再度利用することになり、従って、炭素素材の製造という分野のみならず、産業廃棄物処理方法としても用いることができる。又、産業廃棄物の種類によっては、製造された炭素素材を殆ど利用できるものもあり、例えば、実施例として、現在廃棄されている紙おむつの場合では、焼却か埋立てであり、燃焼を伴うことになる焼却の際には高温と有害ガスが発生するし、焼却の過程で一次溶解し、塊となって燃焼の支えとする酸素源の供給口をふさぎ、装置の故障の原因を作り燃えにくくなる等が起きるが、上記の如く、熱分解することにすれば、紙おむつの中に混じり込んでいるであろうものはそのまま炭素化し、水分は蒸発し、紙おむつ本体も合成樹脂の部分は分解しガス化し、コットンなどは炭素化する。又、合成樹脂は分解ガス化する過程で一時的に溶解するが、燃焼工程における溶解と違い、熱が伝導するままに分解していく。焼却処理の場合は燃焼するために酸素が必要であり、また酸素と結合して燃焼が進むものであり、酸素と接触した部分のみが燃焼する。表面から順に燃焼が進む。すなわち、撹拌などの方法を用いらなければ燃焼時間の短縮は計れず、さらに酸素の供給のしかたによっては非常な高温になる場合もあるが、この方法にあっては、熱が伝わったところ、つまり分解するに必要な温度になった場合は、その温度になった場所から分解が進んで行き、空気などの対流が無くても分解は進み、溶解して塊になったとしても内部から分解が進む場合もあり、分解速度を焼却と比較して非常に早くできる。
【0021】
又、加熱分解部Cにおいて、有機物を熱分解させるための時間を消化するためと分解ガスの再利用の際の取り出し時期の決定、分解ガスの処理の時間、安全性、炭素化の程度の把握、管理の簡潔さ、メンテナンスの安易さなどを考慮し、更に作業能力に応じて複数個の加熱分解室C1を設けて構成され、又、搬送構造も各加熱分解室C1ごとに独立構造となっており、勿論この加熱分解室C1はそれぞれ密閉性、断熱、耐熱の構造であり、更に各加熱分解室ごとに分離できる構造とすることにより、修理などの際はその加熱分解室C1ごとに交換をするだけで良く修理による時間の浪費を無くして素早く対応することができ、また設置稼働後において、需要に応じて作業能力を増減させる場合は、この加熱分解室部C1の増減を行うだけで対応することができる。
【0022】
又、冷却待機部Dの冷却室D1は空気接触によっての燃焼を未然に防ぐために必要であり、窒素ガスによる急激な冷却は炭素の塊の中のミクロ気孔を発達させるために行うものであり、冷却の際に窒素ガスを使用することは炭素素材が乾燥した状態で取り出せるようにしたものであり、又、搬出待機室D2は炭素素材を再加工するために行うコンテナ荷出部G上の準備の完了を待つためと空気接触が起きても燃焼が起きない状態を確認するために設けてあり、冷却室D1同様に追加冷却可能に構成され、しかして、プリペレーション室B2、加熱分解室C1・C1、搬出待機室D2に至るまで外気に触れることなく無酸素の状態に保持するように構成している。
【0023】
又、搬送経路Rを通過する時間の設定は有機物の種類や再利用の方法によって決定することとし、又、装置一式を小型化し、車載化することにより原料発生場所、炭素素材の使用場所での炭素化も可能となり、機動力のある装置とすることが望ましく、これにより収集運搬費の軽減を図ることができる。
【0024】
尚、本発明は上記実施の形態例に限られるものではなく、搬送部A、作動準備部B、加熱分解部C、冷却待機部D、分解ガス液化部E及び排ガス処理部Fの構造や材質等は適宜変更して設計される。
【0025】
【発明の効果】
本発明は上述の如く、請求項1記載の発明にあっては、有機物を無酸素閉鎖密閉雰囲気下において低温間接加熱により熱分解させて炭素素材を製造することにより、産業廃棄物を含む有機物を原料として、固定炭素量の高い良質な炭素素材を製造することができ、しかも製造中の熱効率が非常に良く、悪臭や黒煙の大気中への排出も少なくすることができ、更に少数の人員で装置を稼働することができ、装置の耐用年数が長くなってメンテナンスも容易であり、又、連続的に炭素素材を製造することが可能であり作業能力も大きく、しかも有機物の粉砕や燃えるものと燃えないものとの分別作業などの前工程は必要なく、混在したまま用いることができ、焼却処理や埋立て処分していた廃棄物や、草木をも無駄無く利用することができるため資源の浪費を大幅に減少することができ、更に産業廃棄物の処理施設等の増設も必要なく、生成された炭素素材を産業上利用することにより多方面への経済効果が期待でき、資源保護にも大いに寄与することができる。
【0026】
又、請求項1記載の発明にあっては、上記加熱分解部は相互に分離可能な独立した複数個の加熱分解室により構成することにより、修理などの際はその加熱分解室ごとに交換をするだけで良く修理による時間の浪費を無くして素早く対応することができ、また設置稼働後において、需要に応じて作業能力を増減させる場合は、この加熱分解室部の増減を行うだけで対応することができる。
【0027】
以上所期の目的を充分達成することができる。
【図面の簡単な説明】
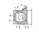
【図1】本発明の実施の形態例の全体説明平面図である。
【図2】本発明の実施の形態例の部分説明側断面図である。
【図3】本発明の実施の形態例の部分説明平断面図である。
【図4】本発明の実施の形態例の部分説明横断面図である。
【符号の説明】
W コンテナ
R 搬送経路
A 搬送部
B 作動準備部
C 加熱分解部
C1 加熱分解室
D 冷却待機部
E 分解ガス液化部
F 排ガス処理部
Claims (1)
- 有機物が収納されたコンテナを搬送可能な搬送部と、上記コンテナの搬送経路の手前側位置に配置された作動準備部と、上記コンテナの搬送経路中の作動準備部の後続位置に配置された加熱分解部と、上記コンテナの搬送経路中の加熱分解部の後続位置に配置された冷却待機部と、少なくとも上記加熱分解部に接続された分解ガス液化部と、少なくとも上記分解ガス液化部に接続された排ガス処理部とを備えてなり、上記加熱分解部は上記コンテナで搬送されてくる有機物を無酸素閉鎖密閉雰囲気下において360℃〜450℃の低温間接加熱により熱分解して炭素素材を製造可能な構造に構成され、
上記作動準備部には窒素ガスを注入して該作動準備部の空気を強制的に排出する窒素置換が行われ、
上記加熱分解部には窒素ガスを注入する窒素ガス注入管と、該熱分解部のガスを前記分解ガス液化部に排出する排気管を備え、該窒素ガス注入管から窒素ガスを該加熱分解部に注入し、該加熱分解部の空気を該排気管を介して強制的に排出する窒素置換によって上記無酸素閉鎖密閉雰囲気を形成し、
上記加熱分解部は相互に分離可能な独立した複数の加熱分解室により構成され、
上記冷却待機部は上記コンテナで搬送されてくる炭素素材を注入される窒素ガスによって冷却する冷却室と搬出待機室とにより構成され、
上記作動準備部、上記加熱分解部の各加熱分解室及び上記冷却待機部の上記冷却室と上記搬出待機室は、各々開閉可能な遮断扉により閉鎖密閉構造に構成され、
上記搬送部は上記作動準備部、上記加熱分解部の各加熱分解室及び上記冷却待機部ごとに分離可能な独立構造とし、
上記排ガス処理部に第一、第二排ガス燃焼室を備え、上記分解ガス液化部からのガスを該第一排ガス燃焼室に導入し、上記冷却室及び上記搬出待機室からのガスを該第二排ガス燃焼室に導入し、該第一排ガス燃焼室と該第二排ガス燃焼室にてガスを燃焼させて共通の排ガス排出管より外に排出する構成としたことを特徴とする炭素素材の製造装置。
Priority Applications (2)
| Application Number | Priority Date | Filing Date | Title |
|---|---|---|---|
| JP28359496A JP3946292B2 (ja) | 1996-10-25 | 1996-10-25 | 炭素素材の製造装置 |
| TW086114928A TW345503B (en) | 1996-10-25 | 1997-10-13 | Production of carbon material and device therefor |
Applications Claiming Priority (1)
| Application Number | Priority Date | Filing Date | Title |
|---|---|---|---|
| JP28359496A JP3946292B2 (ja) | 1996-10-25 | 1996-10-25 | 炭素素材の製造装置 |
Publications (2)
| Publication Number | Publication Date |
|---|---|
| JPH10130007A JPH10130007A (ja) | 1998-05-19 |
| JP3946292B2 true JP3946292B2 (ja) | 2007-07-18 |
Family
ID=17667532
Family Applications (1)
| Application Number | Title | Priority Date | Filing Date |
|---|---|---|---|
| JP28359496A Expired - Fee Related JP3946292B2 (ja) | 1996-10-25 | 1996-10-25 | 炭素素材の製造装置 |
Country Status (2)
| Country | Link |
|---|---|
| JP (1) | JP3946292B2 (ja) |
| TW (1) | TW345503B (ja) |
Families Citing this family (8)
| Publication number | Priority date | Publication date | Assignee | Title |
|---|---|---|---|---|
| JP3621053B2 (ja) * | 2000-06-21 | 2005-02-16 | 株式会社エイティ−ン・パートナーズ | ゴミ処理システム及びゴミ炭化処理方法 |
| US7604791B2 (en) | 2002-07-25 | 2009-10-20 | Kunimichi Sato | Recycling method system and container |
| AU2002368188A1 (en) * | 2002-08-26 | 2004-03-11 | Mamoru Itoh | Method and device for producing carbon material |
| KR100473763B1 (ko) * | 2002-09-28 | 2005-03-10 | 천지득 | 폐타이어 자동연속식 유화,카본블랙,와이어코어 재생장치 |
| JP5277370B2 (ja) * | 2006-11-17 | 2013-08-28 | 廣太郎 土本 | 有機廃棄物炭化処理用連続加熱炉 |
| JP2008222901A (ja) * | 2007-03-14 | 2008-09-25 | Kayaba System Machinery Kk | 炭素化装置 |
| JP2009144120A (ja) * | 2007-12-18 | 2009-07-02 | Ss Kenkyusho:Kk | 有機質固形廃棄物の処理装置及び処理方法 |
| WO2018070031A1 (ja) * | 2016-10-14 | 2018-04-19 | 鈴木 利昭 | 組成分離式炭素化システム |
-
1996
- 1996-10-25 JP JP28359496A patent/JP3946292B2/ja not_active Expired - Fee Related
-
1997
- 1997-10-13 TW TW086114928A patent/TW345503B/zh not_active IP Right Cessation
Also Published As
| Publication number | Publication date |
|---|---|
| JPH10130007A (ja) | 1998-05-19 |
| TW345503B (en) | 1998-11-21 |
Similar Documents
| Publication | Publication Date | Title |
|---|---|---|
| KR101910750B1 (ko) | 플라스틱의 열분해유화시스템 | |
| JP3946292B2 (ja) | 炭素素材の製造装置 | |
| KR20140016451A (ko) | 열분해장치 | |
| CN105385465B (zh) | 一种垃圾热解装置与方法 | |
| CN104987871A (zh) | 生活垃圾小型化连续式自加热可移动卧式干馏机 | |
| CN109052889A (zh) | 间接加热可移动式工业污泥连续热解方法及碳化装置 | |
| CN115875678B (zh) | 一种厨余垃圾原位化热解车 | |
| WO2007014489A1 (fr) | Procédé de pyrolyse pour le traitement des déchets de caoutchouc et de plastique et des matériaux contenant des résines | |
| CN107781824A (zh) | 一种高效低污染农村垃圾处置方法及其装置 | |
| KR101964127B1 (ko) | 철도 폐목침목을 재활용한 저탄소 친환경 소재 제조 방법 및 이를 위한 간접 가열 방식의 마이크로파 다단로 발열설비 | |
| FR2654112A1 (fr) | Procede et installation de traitement de dechets urbains et/ou industriels. | |
| ES2243132B1 (es) | Proceso para el reciclado de caucho de neumatico en desuso, instalacion para llevarlo a cabo. | |
| CN112032735A (zh) | 一种采用燃气动力汽车的移动式垃圾处理系统及方法 | |
| WO1998053251A1 (fr) | Procede et dispositif de recuperation de l'energie tiree de l'incineration et du tri des dechets | |
| US11111439B1 (en) | Microwave apparatus for pyrolyzing carbonaceous material and related method | |
| CN212227043U (zh) | 一种固体危险废物资源化利用系统 | |
| WO2004018591A1 (ja) | 炭素素材の製造方法及びその装置 | |
| NZ253249A (en) | Generating electricity from combustible gas produced by compressed and heated waste materials | |
| CN112393247B (zh) | 一种低温薄层速热梯级绝氧热解系统及基于该系统的固废热解系统 | |
| KR100492670B1 (ko) | 생활폐기물용 열분해 탄화장치 | |
| KR100853557B1 (ko) | 석유계분해물을 연료로 사용하는 농축유기성폐기물의 연속탄화방법과 설비 | |
| CH720234A2 (fr) | Un système de pyrolyse économe en énergie pour le traitement des déchets organiques solides | |
| KR102503144B1 (ko) | 혼합 폐기물을 이용하는 열재생 에너지 생성 장치 | |
| KR20230006750A (ko) | 분해로와 연소로 및 이를 이용한 폐기물의 열분해 시스템 | |
| JP2007216204A (ja) | 廃棄物熱分解処理装置 |
Legal Events
| Date | Code | Title | Description |
|---|---|---|---|
| A711 | Notification of change in applicant |
Free format text: JAPANESE INTERMEDIATE CODE: A712 Effective date: 20050314 |
|
| A521 | Request for written amendment filed |
Free format text: JAPANESE INTERMEDIATE CODE: A821 Effective date: 20050316 |
|
| A977 | Report on retrieval |
Free format text: JAPANESE INTERMEDIATE CODE: A971007 Effective date: 20050902 |
|
| A131 | Notification of reasons for refusal |
Free format text: JAPANESE INTERMEDIATE CODE: A131 Effective date: 20060613 |
|
| A521 | Request for written amendment filed |
Free format text: JAPANESE INTERMEDIATE CODE: A523 Effective date: 20060814 |
|
| A131 | Notification of reasons for refusal |
Free format text: JAPANESE INTERMEDIATE CODE: A131 Effective date: 20061024 |
|
| A521 | Request for written amendment filed |
Free format text: JAPANESE INTERMEDIATE CODE: A523 Effective date: 20061225 |
|
| TRDD | Decision of grant or rejection written | ||
| A01 | Written decision to grant a patent or to grant a registration (utility model) |
Free format text: JAPANESE INTERMEDIATE CODE: A01 Effective date: 20070313 |
|
| A61 | First payment of annual fees (during grant procedure) |
Free format text: JAPANESE INTERMEDIATE CODE: A61 Effective date: 20070411 |
|
| R150 | Certificate of patent or registration of utility model |
Free format text: JAPANESE INTERMEDIATE CODE: R150 |
|
| A711 | Notification of change in applicant |
Free format text: JAPANESE INTERMEDIATE CODE: A711 Effective date: 20070405 |
|
| R154 | Certificate of patent or utility model (reissue) |
Free format text: JAPANESE INTERMEDIATE CODE: R154 |
|
| FPAY | Renewal fee payment (event date is renewal date of database) |
Free format text: PAYMENT UNTIL: 20100420 Year of fee payment: 3 |
|
| FPAY | Renewal fee payment (event date is renewal date of database) |
Free format text: PAYMENT UNTIL: 20100420 Year of fee payment: 3 |
|
| FPAY | Renewal fee payment (event date is renewal date of database) |
Free format text: PAYMENT UNTIL: 20100420 Year of fee payment: 3 |
|
| R360 | Written notification for declining of transfer of rights |
Free format text: JAPANESE INTERMEDIATE CODE: R360 |
|
| FPAY | Renewal fee payment (event date is renewal date of database) |
Free format text: PAYMENT UNTIL: 20100420 Year of fee payment: 3 |
|
| R370 | Written measure of declining of transfer procedure |
Free format text: JAPANESE INTERMEDIATE CODE: R370 |
|
| FPAY | Renewal fee payment (event date is renewal date of database) |
Free format text: PAYMENT UNTIL: 20100420 Year of fee payment: 3 |
|
| FPAY | Renewal fee payment (event date is renewal date of database) |
Free format text: PAYMENT UNTIL: 20100420 Year of fee payment: 3 |
|
| FPAY | Renewal fee payment (event date is renewal date of database) |
Free format text: PAYMENT UNTIL: 20100420 Year of fee payment: 3 |
|
| FPAY | Renewal fee payment (event date is renewal date of database) |
Free format text: PAYMENT UNTIL: 20110420 Year of fee payment: 4 |
|
| FPAY | Renewal fee payment (event date is renewal date of database) |
Free format text: PAYMENT UNTIL: 20110420 Year of fee payment: 4 |
|
| FPAY | Renewal fee payment (event date is renewal date of database) |
Free format text: PAYMENT UNTIL: 20120420 Year of fee payment: 5 |
|
| FPAY | Renewal fee payment (event date is renewal date of database) |
Free format text: PAYMENT UNTIL: 20120420 Year of fee payment: 5 |
|
| R350 | Written notification of registration of transfer |
Free format text: JAPANESE INTERMEDIATE CODE: R350 |
|
| S111 | Request for change of ownership or part of ownership |
Free format text: JAPANESE INTERMEDIATE CODE: R313113 |
|
| FPAY | Renewal fee payment (event date is renewal date of database) |
Free format text: PAYMENT UNTIL: 20120420 Year of fee payment: 5 |
|
| S111 | Request for change of ownership or part of ownership |
Free format text: JAPANESE INTERMEDIATE CODE: R313113 |
|
| R350 | Written notification of registration of transfer |
Free format text: JAPANESE INTERMEDIATE CODE: R350 |
|
| FPAY | Renewal fee payment (event date is renewal date of database) |
Free format text: PAYMENT UNTIL: 20130420 Year of fee payment: 6 |
|
| FPAY | Renewal fee payment (event date is renewal date of database) |
Free format text: PAYMENT UNTIL: 20130420 Year of fee payment: 6 |
|
| FPAY | Renewal fee payment (event date is renewal date of database) |
Free format text: PAYMENT UNTIL: 20140420 Year of fee payment: 7 |
|
| R250 | Receipt of annual fees |
Free format text: JAPANESE INTERMEDIATE CODE: R250 |
|
| R250 | Receipt of annual fees |
Free format text: JAPANESE INTERMEDIATE CODE: R250 |
|
| LAPS | Cancellation because of no payment of annual fees |